Manutenzione
Note: Stabilite i lati sinistro e destro della macchina dalla normale posizione di guida.
Accesso all’apparato di taglio
Accedete alla controlame e al cilindro per eseguire la manutenzione come segue:
-
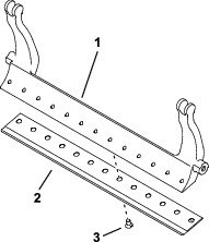
Con l’apparato di taglio rimosso dalla macchina, sostenete la parte posteriore dell'elemento per garantire che i dadi sul retro delle viti di regolazione della barra di appoggio non poggino sul piano di lavoro (Figura 11).

-
Con l’apparato di taglio collegato alla macchina, abbassate la stegola dell’apparato di taglio al suolo (Figura 12).

Controllo del punto di ingrassaggio dell’albero di trasmissione del cilindro
| Cadenza di manutenzione | Procedura di manutenzione |
|---|---|
| Ogni anno |
|
-
Rimuovete la bulloneria che fissa il gruppo trasmissione del cilindro alla piastra laterale (Figura 13).

-
Rimuovete i dadi dalla parte interna della piastra laterale (Figura 13).
-
Controllate la parte interna dell’albero di trasmissione del cilindro (Figura 14) per verificare l’eventuale presenza di grasso residuo.
Se non vedete una quantità sufficiente di grasso, aggiungete ulteriore grasso all’albero scanalato maschio e femmina

-
Utilizzate le viti a brugola e i dadi rimossi in precedenza per fissare il gruppo trasmissione del cilindro alla piastra laterale.
-
Montate l’apparato di taglio sul trattorino; fate riferimento al Manuale dell’operatore del vostro trattorino.
Regolazione della tensione della cinghia della trasmissione del cilindro
| Cadenza di manutenzione | Procedura di manutenzione |
|---|---|
| Ogni anno |
|
-
Rimuovete la copertura dall'alloggiamento della trasmissione del cilindro rimuovendo le 4 viti che la fissano.
-
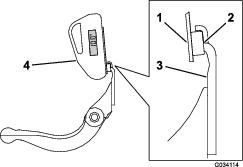
Allentate il bullone del braccio di rinvio e ruotate il braccio di rinvio per rilasciare la tensione della cinghia.
-
Utilizzate una chiave torsiometrica lunga per applicare da 6 a 7 N∙m sulla vite interna del braccio di rinvio superiore (Figura 15).

-
Serrate il bullone del braccio di rinvio per fissare il braccio di rinvio.
-
Montate la copertura con le 4 viti corrispondenti.
Regolazione della velocità di taglio
La velocità di taglio è determinata dalle seguenti impostazioni della macchina:
-
Velocità del cilindro: la velocità del cilindro può essere regolata a un valore basso o alto; fate riferimento al Manuale dell’operatore del vostro trattorino.
-
Posizione della puleggia di trasmissione del cilindro: le pulegge di trasmissione del cilindro (22 denti e 24 denti) può essere impostata in 2 posizioni:
Note: La posizione della puleggia è impostata su BASSA in fabbrica.

Fate riferimento ai seguenti passaggi per regolare la posizione delle pulegge.
-
Rimuovete il copricinghia per lasciare esposta la cinghia (Figura 17).

-
Allentate il bullone del braccio di rinvio e ruotate il braccio di rinvio (Figura 17) per rilasciare la tensione sulla cinghia.
-
Togliete la cinghia (Figura 17).
-
Allentate il dado su ogni puleggia, rimuovete le pulegge e utilizzate i dadi per montare le pulegge nella vostra configurazione desiderata.

-
Serrate i dadi della puleggia a 37–45 N∙m.
-
Montate la cinghia e mettetela in tensione applicando una coppia compresa tra 6 e 7 N∙m sull’esagono interno del braccio di rinvio come illustrato nella Figura 17.
-
Serrate il bullone del braccio di rinvio e montate il copricinghia.
Specifiche della controlama
Manutenzione della controlama
Solo un meccanico correttamente addestrato deve effettuare la manutenzione della barra di appoggio e della controlama, al fine di evitare danni a cilindro, barra di appoggio o controlama. Idealmente, portate l'apparato di taglio dal vostro Centro assistenza Toro per la manutenzione. Fate riferimento al Manuale di manutenzione del trattore per istruzioni complete, attrezzi speciali e schemi per la manutenzione della controlama. Se dovesse essere necessario rimuovere o montare la barra di appoggio da soli, di seguito sono riportate le istruzioni, così come le specifiche per la manutenzione della controlama.
Important: Seguite sempre le procedure relative alla controlama indicate nel vostro Manuale di manutenzione durante gli interventi di manutenzione della controlama. Un montaggio o un'affilatura non corretti della controlama possono comportare danni a cilindro, barra di appoggio o controlama.
Rimozione del gruppo della barra di appoggio/controlama
-
Ruotate la vite di regolazione della barra di appoggio in senso antiorario per allontanare la controlama dal cilindro (Figura 19).

-
Allentate il dado di tensione della molla finché la rondella non sarà più in tensione contro la barra di appoggio (Figura 19).
-
Su ciascun lato della macchina, allentate il dado di bloccaggio come illustrato nella Figura 20.

-
Togliete ciascun bullone della barra di appoggio consentendo alla barra di appoggio di essere tirata verso il basso e rimossa dall'apparato di taglio (Figura 20).
Considerate 2 rondelle di plastica e 1 rondella in acciaio su ciascun lato della barra di appoggio (Figura 20).
-
Rimuovete la controlama dalla barra di appoggio rimuovendo tutte le viti che la fissano. Utilizzate una chiave a cricchetto con l'utensile per viti da controlama (n. cat. TOR510880).
Note: Potete utilizzare un avvitatore a impulsi meccanico o pneumatico per allentare le viti della controlama.
Note: Smaltite la controlama e le viti.
Montaggio della nuova controlama
-
Selezionate una nuova controlama in base alle Tabelle di selezione altezza di taglio e controlama.
-
Eliminate ruggine, incrostazioni e corrosione dalla superficie della barra di appoggio e applicate un sottile strato d'olio.
Important: Non rimuovete materiale di colata dalla barra di appoggio. La barra di appoggio è concava nel mezzo per progettazione; non rettificatela.
-
Pulite le filettature della barra di appoggio.
-
Applicate del composto antigrippaggio sulle viti della controlama e montate la controlama sulla barra di appoggio.
Important: Utilizzate solo viti per controlama nuove.
Note: La quantità di viti dipende dalla barra di appoggio.

-
Serrate le 2 viti esterne a 1 N∙m.
-
Partendo dal centro della controlama, serrate le viti a 25,9 +/- 1,4 N∙m.
Important: Non serrate le viti della controlama utilizzando un avvitatore a impulsi meccanico o pneumatico.

-
Affilate la nuova controlama; fate riferimento a Specifiche di affilatura della controlama.
Specifiche di affilatura della controlama

| Angolo di scarico controlama (superiore) | Vedere Tabelle di selezione altezza di taglio e controlama. |
| Intervallo angolo anteriore | 13° a 17° |
| Angolo anteriore controlama per fairway | 10° |
Verifica dell'angolo di affilatura superiore
L'angolo che utilizzate per affilare le vostre controlame è molto importante.
Utilizzate il goniometro (n. cat. Toro 131-6828) e il relativo supporto (n. cat. Toro 131-6829) per verificare l'angolo prodotto dalla vostra mola e poi rettificatelo in caso di eventuali imprecisioni.
-
Posizionate il goniometro sul lato inferiore della controlama, come illustrato nella Figura 24.

-
Premete il pulsante Alt Zero sul goniometro.
-
Posizionate il supporto del goniometro sul bordo della controlama, in modo che il bordo del magnete corrisponda a quello della controlama (Figura 25).
Note: Durante questa fase il display digitale deve essere visibile dallo stesso lato della fase 1.

-
Posizionate il goniometro sul supporto, come illustrato nella Figura 25.
Note: Questo è l'angolo prodotto dalla vostra mola e dovrebbe rientrare entro 2 gradi dall'angolo di affilatura superiore raccomandato.
Montaggio del gruppo della barra di appoggio/controlama
-
Montate il gruppo della barra di appoggio/controlama, posizionando gli attacchi di montaggio tra le rondelle e la vite di regolazione della barra di appoggio (Figura 26).
Important: Centrate i regolatori DPA tra gli attacchi della barra di appoggio come illustrato nella Figura 26.Se i regolatori DPA vengono montati a contatto con gli attacchi della barra di appoggio, ciò potrebbe influenzare negativamente il contatto tra la controlama e il rullo.

-
Fissate la barra di appoggio su ciascuna piastra laterale mediante gli appositi bulloni (dadi sui bulloni) e 3 rondelle (6 in tutto).
-
Collocate una rondella in nylon su ciascun lato della flangia di estremità della piastra laterale. Posizionate una rondella in acciaio all’esterno di ciascuna rondella in nylon (Figura 27).
-
Serrate i bulloni della barra di appoggio a un valore compreso tra 27 e 36 N∙m.
-
Serrate i dadi di bloccaggio fino a eliminare il gioco di estremità dalle rondelle in acciaio, ma in modo che sia possibile ruotarli manualmente. Le rondelle all’interno possono avere del gioco.
Important: Non serrate eccessivamente i dadi di bloccaggio o deviate le piastre laterali.
-
Serrate il dado di tensione della molla finché la molla non si schiaccia, quindi allentate di 1/2 giro (Figura 27).

-
Regolate la controlama rispetto al cilindro; fate riferimento a Regolazione della controlama rispetto al cilindro.
Specifiche del cilindro
Preparazione alla rettifica del cilindro
-
Accertatevi che tutti i componenti dell’apparato di taglio siano in buone condizioni e correggete eventuali problemi prima della rettifica.
-
Attenetevi alle istruzioni del costruttore della mola del cilindro per molare il cilindro di taglio alle seguenti specifiche.
Specifiche di affilatura del cilindro Nuovo diametro cilindro 128,5 mm Limite di esercizio del diametro del cilindro 114,3 mm Angolo di spoglia della lama 30° ± 5° Intervallo larghezza della superficie della lama Da 0,8 mm a 1,2 mm Limite di esercizio della rastrematura del diametro del cilindro 0,25 mm
Rettifica del cilindro
Il nuovo cilindro ha una larghezza a terra tra 0,8 e 1,2 mm e una rettifica di 30°.
Quando la larghezza a terra supera i 3 mm, effettuate quanto segue:
-
Applicate una rettifica di scarico di 30° su tutte le lame del cilindro in modo da ottenere una larghezza a terra di 0,8 mm.

-
Molate per rotazione il cilindro per ottenere una sporgenza dei cilindri di <0,025 mm.
Note: Ciò fa sì che la larghezza a terra aumenti leggermente.
-
Regolate l'apparato di taglio; fate riferimento al Manuale dell'operatore dell'apparato di taglio.
Note: Per estendere la durata di affilatura del bordo del cilindro e della controlama, dopo la molatura del cilindro e/o della controlama, controllate nuovamente il contatto tra cilindro e controlama dopo aver tosato 2 green, dal momento che saranno rimosse eventuali bavature. Le bavature potrebbero creare un gioco inadatto tra cilindro e controlama, che può accelerare l’usura.
Lappatura dell'apparato di taglio
Per lappare l’apparato di taglio, utilizzate il kit lappatura di accesso (n. modello 139-4342); fate riferimento alle istruzioni operative contenute nelle Istruzioni per l’installazione del kit. Per acquistare il kit, rivolgetevi al distributore Toro autorizzato.


che riporta l’indicazione di Attenzione,
Avvertenza o Pericolo – norme di sicurezza personali. Il mancato
rispetto di queste istruzioni può provocare infortuni o la
morte.









