Održavanje
Note: Odredite lijevu i desnu stranu uređaja s uobičajenog vozačeva položaja.
Provjera mjesta za podmazivanje na pogonskom vratilu cilindra
| Interval servisa održavanja | Postupak održavanja |
|---|---|
| Godišnje |
|
-
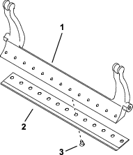
Uklonite opremu s pomoću koje je sklop pogona cilindra pričvršćen na bočnu ploču (Slika 12).

-
Uklonite sklop pogona cilindra, ravne podloške, opružne podloške i odstojnike s bočne ploče (Slika 12).
-
Provjerite nalazi li se u unutrašnjosti pogonskog vratila cilindra (Slika 13) preostalo mazivo.
Ako ne vidite dovoljnu količinu maziva, dodajte mazivo na muški i ženski žlijeb osovine.

-
Upotrijebite imbus-vijke, podloške i odstojnike koje ste prethodno uklonili da biste pričvrstili sklop pogona cilindra na bočnu ploču.
-
Postavite jedinicu za rezanje na vučnu jedinicu; pogledajte Upute za upotrebu vučne jedinice.
Podešavanje napetosti pogonskog remena cilindra
| Interval servisa održavanja | Postupak održavanja |
|---|---|
| Godišnje |
|
-
Uklonite poklopac s kućišta pogona cilindra tako da izvadite tri vijka kojima je pričvršćen.
-
Otpustite vijak spojne poluge i okrenite spojnu polugu da biste otpustili napetost remena.
-
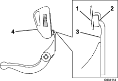
Unutarnji vijak gornje spojne poluge pritegnite na 6 do 7 Nm s pomoću momentnog ključa s kazaljkom (Slika 14).

-
Zategnite vijak spojne poluge kako biste je učvrstili.
-
Postavite poklopac s 3 pripadajuća vijka.
Podešavanje brzine rezanja
Brzinu rezanja određuju sljedeće postavke uređaja:
-
Brzina cilindra: Brzina cilindra može se postaviti na visoku ili nisku postavku; pogledajte Upute za upotrebu vučne jedinice.
-
Položaj remenice pogona cilindra: Remenice pogona cilindra (22 zupca i 24 zupca) mogu se postaviti u 2 položaja:
Note: Položaj remenice tvornički je postavljen na NISKI položaj.

Da biste podesili položaj remenica, pogledajte sljedeće korake:
-
Uklonite poklopac remena kako biste mogli pristupiti remenu (Slika 16).

-
Otpustite vijak spojne poluge i okrenite spojnu polugu (Slika 16) da biste otpustili napetost remena.
-
Skinite remen (Slika 16).
-
Otpustite maticu na svakoj remenici, skinite remenice i upotrijebite matice da biste postavili remenice u željenoj konfiguraciji.

-
Zategnite matice remenica na 37 do 45 Nm
-
Postavite remen i napnite remen primjenom 6 do 7 Nm na unutarnju šesterokutnu maticu spojne poluge kako prikazuje Slika 16.
-
Zategnite vijak spojne poluge i postavite poklopac remena.
Podešavanje štitnika za travu
Podesite štitnik za travu kako biste osigurali besprijekorno izbacivanje pokošene trave iz područja cilindra na sljedeći način:
Note: Štitnik se može podešavati ovisno o različitim uvjetima na travnjaku. Podesite štitnik bliže cilindru kad je teren izrazito suh. Suprotno tome, podesite štitnik dalje od cilindra u mokrim uvjetima na travnjaku. Štitnik bi trebao biti paralelan s cilindrom radi optimalnih performansi. Podesite ga nakon oštrenja cilindra upotrebom alata za brušenje cilindra.
-
Otpustite vijke koji pričvršćuju štitnik za travu (Slika 18) na jedinicu za rezanje.

-
Umetnite mjerni listić od 1,5 mm između gornje strane cilindra i štitnika, a zatim zategnite vijke.
Important: Provjerite jesu li štitnik i cilindar jednako udaljeni cijelom dužinom cilindra.
Note: Prema potrebi podesite razmak ovisno o uvjetima na travnjaku.
Specifikacije noža ležišta
Servisiranje noža ležišta
Nosač noža ležišta i noževe ležišta smije servisirati isključivo primjereno obučen mehaničar kako bi se spriječila oštećenja cilindra, nosača noža ležišta ili noža ležišta. Najbolje bi bilo dati jedinicu za rezanje na servis ovlaštenom distributeru tvrtke Toro. Pogledajte Priručnik za održavanje vučne jedinice za potpune upute, posebne alate i dijagrame za servisiranje noža ležišta. U nastavku su navedene upute za uklanjanje ili postavljanje nosača noža ležišta, ako to nekad budete morali učiniti sami, kao i specifikacije za servisiranje noža ležišta.
Important: Pri servisiranju noža ležišta uvijek primijenite postupke koji se odnose na nož ležišta navedene u Priručniku za održavanje. U slučaju neispravnog postavljanja i brušenja noža ležišta može doći do oštećenja cilindra, nosača noža ležišta ili noža ležišta.
Uklanjanje nosača noža ležišta/ sklopa noža ležišta
-
Okrenite vijak za podešavanje nosača noža ležišta u smjeru suprotnom od kazaljki na satu kako biste nož ležišta odmaknuli od cilindra (Slika 19).

-
Izvlačite maticu za zatezanje opruge sve dok podloška više ne bude napeta uz nosač noža ležišta (Slika 19).
-
Na svakoj strani uređaja otpustite sigurnosnu maticu kako prikazuje Slika 20.

-
Uklonite vijke nosača noža ležišta kako biste mogli povući nosač noža ležišta prema dolje i ukloniti ga iz jedinice za rezanje (Slika 20).
Pripazite na 2 čelične podloške i 1 plastičnu podlošku sa svake strane nosača noža ležišta (Slika 20).
-
Uklonite nož ležišta s nosača noža ležišta tako da izvadite sve vijke kojim je pričvršćen. Upotrijebite nasadni ključ s alatom za vijke noža ležišta (dio br. TOR510880).
Note: Za otpuštanje vijaka noža ležišta možete upotrijebiti mehanički ili pneumatski udarni ključ.
Note: Nož ležišta i vijke bacite.
Postavljanje novog noža ležišta
-
Odaberite novi nož ležišta prema Tablice visine košnje i odabira noža ležišta.
-
Uklonite hrđu, strugotine i koroziju s površine nosača noža ležišta i nanesite tanak sloj ulja na površinu nosača noža ležišta.
Important: Ne uklanjajte lijevani materijal s nosača noža ležišta. Nosač noža ležišta konkavan je u sredini; nemojte ga brusiti.
-
Očistite navoje na nosaču noža ležišta.
-
Nanesite sredstvo protiv zaribavanja na vijke novog noža ležišta i postavite nož ležišta na nosač noža ležišta.
Important: Upotrijebite samo vijke novog noža ležišta.
Note: Broj vijaka ovisi o nosaču noža ležišta.

-
Pritegnite 2 vanjska vijka na 1 Nm.
-
Počevši od središta noža ležišta, pritegnite vijke na 25,9 +/- 1,4 Nm.
Important: Ne pritežite vijke noža ležišta s pomoću mehaničkog ili pneumatskog udarnog ključa.

-
Izbrusite novi nož ležišta; pogledajte Specifikacije za brušenje noža ležišta.
Specifikacije za brušenje noža ležišta

| (Gornji) kut brušenja noža ležišta | Pogledajte Tablice visine košnje i odabira noža ležišta. |
| Raspon prednjeg kuta | 13° do 17° |
| Prednji kut noža ležišta za fairway | 10° |
Provjera gornjeg kuta brušenja
Kut koji primjenjujete pri brušenju noževa ležišta vrlo je važan.
Upotrijebite indikator nagiba (Toro dio br. 131-6828) i nosač indikatora nagiba (Toro dio br. 131-6829) da biste provjerili kut brušenja, a zatim ispravite kut ako je brušenje neprecizno.
-
Postavite indikator nagiba na donju stranu noža ležišta kako prikazuje Slika 24.

-
Pritisnite gumb Alt Zero (Nulta točka) na indikatoru nagiba.
-
Postavite nosač indikatora nagiba na rub noža ležišta tako da je rub magneta priljubljen uz rub noža ležišta (Slika 25).
Note: Digitalni zaslon trebao bi biti vidljiv na istoj strani u tom koraku kao i u koraku 1.

-
Postavite indikator nagiba na nosač kako prikazuje Slika 25.
Note: To je kut koji dobivate brušenjem, a mora biti unutar 2 stupnja od preporučenog gornjeg kuta brušenja noža ležišta.
Postavljanje sklopa nosača noža ležišta / noža ležišta
-
Postavite sklop nosača noža ležišta / noža ležišta postavljanjem krilca za montažu između podložaka i vijka za podešavanje nosača noža ležišta (Slika 19).
Important: Postavite DPA podešivače centralno između krilca nosača noža ležišta kako prikazuje Slika 26.Ako se DPA podešivače postavi uz krilca nosača noža ležišta, to može negativno utjecati na dodirne točke noža ležišta i cilindra.

-
Pričvrstite nosač noža ležišta na svaku bočnu ploču upotrebom vijaka nosača noža ležišta (matice na vijcima) i 3 podloške (ukupno 6).
-
Postavite najlonsku podlošku na svaku stranu izdignute površine na bočnoj ploči. Postavite čeličnu podlošku s vanjske strane svake najlonske podloške (Slika 27).
-
Pritegnite vijke nosača noža ležišta na 27 do 36 Nm.
-
Pritegnite sigurnosne matice sve dok se čelične podloške ne prestanu okretati, ali ih možete okretati rukom. Kod podloški s unutarnje strane moguć je razmak.
Important: Nemojte prejako zategnuti sigurnosne matice jer će doći do savijanja bočnih ploča.
-
Pritegnite maticu za pritezanje opruge sve dok opruga nije u potpunosti skupljena, a zatim vratite za 1/2 okreta (Slika 27).

-
Podesite nož ležišta na cilindar; pogledajte Podešavanje noža ležišta na cilindar.
Specifikacije cilindra
Priprema cilindra za brušenje
-
Provjerite jesu li svi dijelovi jedinice za rezanje u ispravnom stanju i ispravite eventualne probleme prije brušenja.
-
Slijedite upute proizvođača alata za brušenje cilindra da biste izbrusili cilindar jedinice za rezanje u skladu sa sljedećim specifikacijama.
Specifikacije za brušenje cilindra Promjer novog cilindra 128,5 mm Promjer cilindra – ograničenje za servis 114,3 mm Kut brušenja oštrice 30° ± 5° Raspon širine oboda oštrice 0,8 do 1,2 mm Razlika u promjeru cilindra – ograničenje za servis 0,25 mm
Natražno brušenje cilindra
Novi cilindar ima širinu oboda od 1,3 do 1,5 mm i kut brušenja od 30°.
Kad širina oboda postane veća od 3 mm, učinite sljedeće:
-
Pod kutom od 30° izbrusite sve noževe cilindra dok širina dodirne površine ne bude 0,8 mm (Slika 28).

-
Metodom ravnog brušenja izbrusite cilindar kako bi odstupanje cilindra bilo <0,025 mm.
Note: Pritom dolazi do blagog povećanja oboda.
-
Podesite jedinicu za rezanje; pročitajte Upute za upotrebu jedinice za rezanje.
Note: Da bi rub cilindra i nož ležišta bili što dulje oštri, kad dovršite brušenje cilindra i/ili noža ležišta, ponovno provjerite dodirnu točku cilindra i noža ležišta nakon košnje 2 greena jer će se pritom otkloniti eventualni grubi rubovi. Grubi rubovi mogu dovesti do pojave neispravnog razmaka između cilindra i noža ležišta te ubrzati trošenje.
Oštrenje jedinice za rezanje
Za oštrenje jedinice za rezanje upotrijebite komplet za oštrenje Access (model br. 139-4342) ili komplet za oštrenje (model br. 04800); pogledajte upute za upotrebu u Uputama za postavljanje kompleta. Obratite se ovlaštenom distributeru tvrtke Toro radi nabave jednog od navedenih kompleta.


, koji označava Oprez,
Upozorenje ili Opasnost – upute za osobnu sigurnost. Nepridržavanje
uputa može dovesti do tjelesnih ozljeda ili smrti.








