Întreţinere
Note: Determinați partea stângă și dreaptă a mașinii din poziția de operare normală.
Verificarea punctului de lubrifiere al arborelui de acționare
| Interval de întreţinere şi service | Procedură de întreţinere |
|---|---|
| Anual |
|
-
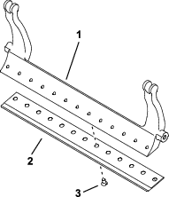
Îndepărtați elementele care fixează ansamblul de acționare a cilindrului pe placa laterală (Figura 12).

-
Îndepărtați ansamblul de acționare a cilindrului, șaibele plate, șaibele elastice și distanțierele de pe placa laterală (Figura 12).
-
Verificați interiorul arborelui de acționare al cilindrului (Figura 13) în privința lubrifiantului rămas.
Dacă nu observați o cantitate suficientă de lubrifiant, adăugați mai mult lubrifiant pe arborele canelat tată și mamă.

-
Utilizați șuruburile cu cap imbus, șaibele și distanțierele îndepărtate anterior pentru a fixa ansamblul cilindrului pe placa laterală.
-
Instalați unitatea de tăiere pe unitatea de tracțiune; consultați Manualul utilizatorului al unității dumneavoastră de tracțiune.
Reglarea tensionării curelei acționării cilindrului
| Interval de întreţinere şi service | Procedură de întreţinere |
|---|---|
| Anual |
|
-
Îndepărtați capacul de la nivelul carcasei acționării cilindrului prin îndepărtarea celor 3 șuruburi care îl fixează.
-
Slăbiți șurubul brațului de ghidare și rotiți brațul de ghidare pentru a elimina tensiunea de pe curea.
-
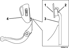
Utilizați o cheie dinamometrică cu tijă pentru a aplica 6 – 7 N∙m de forță la nivelul șurubului interior al brațului de ghidare superior (Figura 14).

-
Strângeți șurubul brațului de ghidare pentru a fixa brațul de ghidare.
-
Instalați capacul cu cele 3 șuruburi corespunzătoare.
Reglarea ratei de tăiere
Rata de tăiere este determinată de următoarele setări ale mașinii:
-
Viteza cilindrului: viteza cilindrului poate fi reglată la o setare ridicată sau scăzută; consultați Manualul utilizatorului al unității de tracțiune.
-
Poziția fuliei de acționare a cilindrului: fuliile de acționare a cilindrului (22 dinți și 24 dinți) pot fi reglate în 2 poziții:
Note: Poziția fuliei este setată la poziția COBORâTă din fabrică.

Pentru a ajusta poziția fuliilor, consultați următorii pași:
-
Îndepărtați capacele curelei pentru a expune cureaua (Figura 16).

-
Slăbiți șurubul brațului de ghidare și rotiți brațul de ghidare (Figura 16) pentru a elibera tensiunea de pe curea.
-
Îndepărtați cureaua (Figura 16).
-
Slăbiți piulița de pe fiecare fulie, îndepărtați fuliile și utilizați piulițele pentru a monta fuliile în configurația dorită.

-
Strângeți piulițele fuliei la un cuplu de 37 - 45 N∙m
-
Instalați cureaua și tensionați cureaua prin aplicarea a 6 - 7 N∙m la nivelul capului hexagonal intern al brațului de ghidare indicat în Figura 16.
-
Strângeți șurubul brațului de ghidare și montați capacul de curea.
Reglarea scutului pentru iarbă
Reglați scutul pentru iarbă pentru a asigura faptul că resturile sunt ușor evacuate din zona cilindrului, după cum urmează:
Note: Scutul este reglabil pentru a compensa schimbările în condițiile specifice gazonului. Apropiați scutul de cilindru când gazonul este extrem de uscat. În schimb, depărtați scutul de cilindru când gazonul este ud. Scutul trebuie să fie paralel cu cilindrul pentru a asigura o performanță optimă. Reglați-l după ascuțirea cilindrului pe un rectificator pentru cilindru.
-
Slăbiți șuruburile care fixează scutul pentru iarbă (Figura 18) de unitatea de tăiere.

-
Inserați un calibru de 1,5 mm între partea superioară a cilindrului și scut, apoi strângeți șuruburile.
Important: Asigurați-vă că scutul și cilindrul se află la aceeași distanță pe întreaga lungime a cilindrului.
Note: Reglați spațiul după nevoie, în funcție de starea gazonului.
Specificații privind contracuțitul
Lucrări de service pentru contracuțit
Doar un mecanic instruit corespunzător poate realiza lucrări de service pentru bara de cadru și contracuțit, pentru a preveni deteriorarea cilindrului, barei de cadru sau contracuțitului. Se recomandă transportarea unității de tăiere la distribuitorul autorizat Toro pentru realizarea lucrărilor de service. Consultați Manual de service al unității de tracțiune pentru instrucțiuni complete, unelte speciale și diagrame pentru lucrările de service pentru contracuțit. În cazul în care trebuie să îndepărtați sau să montați bara de cadru pe cont propriu, instrucțiunile se regăsesc mai jos, alături de specificațiile privind lucrările de service pentru contracuțit.
Important: Respectați întotdeauna procedurile privind contracuțitul, detaliate în Manual de service, atunci când efectuați lucrări de service pentru contracuțit. Montarea și ascuțirea necorespunzătoare a contracuțitului poate duce la deteriorarea cilindrului, barei de cadru sau contracuțitului.
Îndepărtarea barei de cadru/contracuțit
-
Rotiți șurubul de reglare pentru bara de cadru în sens invers acelor de ceasornic, pentru a îndepărta contracuțitul de cilindru (Figura 19).

-
Deșurubați piulița pentru tensionarea arcului până când șaiba nu mai este lipită de bara de cadru (Figura 19).
-
Pe fiecare latură a mașinii, slăbiți contrapiulița indicată în Figura 20.

-
Îndepărtați fiecare șurub al barei de cadru, permițând tragerea în jos și îndepărtarea acesteia de pe unitatea de tăiere (Figura 20).
Asigurați-vă că la capătul barei de cadru există 2 șaibe din oțel și 1 șaibă din plastic (Figura 20).
-
Îndepărtați contracuțitul de la nivelul barei de cadru prin eliminarea tuturor șuruburilor care îl fixează. Utilizați o cheie tubulară cu unealta pentru înșurubarea contracuțitului (nr. piesă TOR510880).
Note: Puteți utiliza o cheie de impact mecanică sau pneumatică pentru a slăbi șuruburile contracuțitului.
Note: Eliminați contracuțitul și șuruburile.
Instalarea contracuțitului nou
-
Selectați un contracuțit nou în conformitate cu Diagrame de selectare a înălțimii de tăiere și a contracuțitului.
-
Îndepărtați urmele de rugină și de coroziune și depunerile de pe suprafața barei de cadru și aplicați un strat subțire de ulei pe suprafața barei de cadru.
Important: Nu îndepărtați materialul turnat de la nivelul barei de cadru. Prin concept, bara de cadru este concavă în centru; nu rectificați.
-
Curățați filetele de la nivelul barei de cadru.
-
Aplicați agent anti-blocare pe șuruburile noi ale contracuțitului și montați contracuțitul pe bara de cadru.
Important: Utilizați numai șuruburi noi pentru contracuțit.
Note: Cantitatea de șuruburi variază în funcție de bara de cadru.

-
Strângeți cele 2 șuruburi exterioare la un cuplu de 1 N∙m.
-
Începând din centrul contracuțitului, strângeți șuruburile la un cuplu de 25,9 +/- 1,4 N∙m.
Important: Nu strângeți șuruburile contracuțitului cu ajutorul unei chei de impact mecanice sau pneumatice.

-
Rectificați contracuțitul, consultați Specificații pentru rectificarea contracuțitului.
Specificații pentru rectificarea contracuțitului

| Unghi de aşezare pentru contracuțit (superior) | Consultați Diagrame de selectare a înălțimii de tăiere și a contracuțitului. |
| Interval unghi frontal | 13° - 17° |
| Unghi de așezare pentru contracuțit Fairway | 10° |
Verificarea unghiului de rectificare superior
Unghiul folosit pentru ascuțirea contracuțitelor este foarte important.
Folosiți indicatorul de unghi (nr. piesă Toro 131-6828) și suportul indicatorului de unghi (nr. piesă Toro 131-6829) pentru a verifica unghiul produs de rectificator și corectați orice eroare a acestuia.
-
Amplasați indicatorul de unghi în partea inferioară a contracuțitului, conform indicațiilor din Figura 24.

-
Apăsați butonul Alt Zero de pe indicatorul de unghi.
-
Amplasați suportul indicatorului de unghi pe marginea contracuțitului, astfel încât marginea magnetului să se îmbine cu marginea contracuțitului (Figura 25).
Note: La acest pas, afișajul digital trebuie să fie vizibil din aceeași parte ca la pasul 1.

-
Amplasați indicatorul de unghi pe suport, conform indicațiilor din Figura 25.
Note: Acesta este unghiul rectificatorului și trebuie să fie într-o marjă de 2 de grade față de unghi de rectificare superior recomandat.
Instalarea ansamblului bară de cadru/contracuțit
-
Instalați ansamblul bară de cadru/contracuțit, poziționând urechile de montare între șaibe și șurubul de reglare pentru bara de cadru (Figura 19).
Important: Centrați șuruburile de reglare DPA în urechile barei de cadru, așa cum se arată în Figura 26.Dacă șuruburile de reglare DPA sunt instalate lipite de urechile barei de cadru, acest lucru poate avea un efect negativ asupra contactului între contracuțit și cilindru.

-
Fixați bara de cadru de fiecare placă laterală, cu ajutorul șuruburilor barei de cadru (piulițe pe șuruburi) și 3 șaibe (6 în total).
-
Amplasați o șaibă din nailon pe fiecare parte a butucului plăcii laterale. Amplasați o șaibă din oțel în afara fiecărei șaibe din nailon (Figura 27).
-
Strângeți șuruburile barei de cadru la un cuplu de 27 – 36 N∙m.
-
Strângeți piulița până când eliminați jocul șaibelor din oțel, dar astfel încât acestea să poată fi rotite manual. Șaibele din interior pot lăsa un spațiu.
Important: Nu strângeţi excesiv contrapiuliţele, deoarece vor încovoia plăcile laterale.
-
Strângeți piulița pentru tensionarea arcului până când arcul este pliat, apoi deșurubați-o jumătate de rotație (Figura 27).

-
Reglați contracuțitul pe cilindru; consultați Reglarea contracuțitului pe cilindru.
Specificații pentru cilindru
Pregătirea cilindrului pentru rectificare
-
Asigurați-vă că toate componentele unității de tăiere sunt în stare bună și rectificați orice problemă înainte de rectificare.
-
Respectați instrucțiunile producătorului rectificatorului pentru cilindru, în vederea rectificării cilindrului de tăiere conform specificațiilor de mai jos.
Specificații pentru rectificarea cilindrului Diametru cilindru nou 128,5 mm Limită pentru reparații privind diametrul cilindrului 114,3 mm Unghi de aşezare a lamei 30° ± 5° Intervalul de lățime la sol a lamei 0,8 – 1,2 mm Limită pentru reparații privind diametrul conic al cilindrului 0,25 mm
Rectificarea cilindrului
Noul cilindru are o lățime la sol între 1,3 și 1,5 mm și un unghi de rectificare de 30°.
Când lățimea la sol depășește 3 mm, luați următoarele măsuri:
-
Aplicați un unghi de rectificare 30° pentru toate lamele cilindrului, până când lățimea la sol atinge 0,8 mm (Figura 28).

-
Învârtiți cilindrul pentru a obține o bătaie a cilindrului de <0,025 mm.
Note: Acest lucru duce la o ușoară creștere a lățimii la sol.
-
Reglați unitatea de tăiere; consultați Manualul utilizatorului al unității de tăiere.
Note: Pentru a prelungi durata de timp în care marginea cilindrului și contracuțitului rămân ascuțite după operația de ascuțire a cilindrului și/sau a contracuțitului, verificați contactul dintre cilindru și contracuțit după ce tundeți iarba de pe 2 spații verzi, deoarece se vor îndepărta orice bavuri. Bavurile pot crea un spațiu inadecvat între cilindru și contracuțit, lucru care poate accelera uzura.
Suprapunerea inversă unității de tăiere
Pentru a suprapune invers unitatea de tăiere, utilizați setul Access Backlap (nr. Model 139-4342) sau setul Backlap (nr. Model 04800); consultați instrucțiunile de utilizare din instrucțiunile de utilizare ale setului. Contactați distribuitorul autorizat Toro pentru a achiziționa unul dintre aceste seturi.


, care înseamnă
Atenţie, Avertisment sau Pericol – instrucţiune
privind siguranţa personală. Nerespectarea acestor instrucţiuni
poate cauza vătămări corporale sau moartea.








