Údržba
Note: Levá a pravá strana stroje se určuje z pohledu obsluhy v běžné pracovní pozici.
Přístup k žací jednotce
Chcete-li provést údržbu plochého nože a vřetena, přístup k nim získáte následovně:
Kontrola místa mazání hnacího hřídele vřetena
| Servisní interval | Postup při údržbě |
|---|---|
| Každý rok |
|
-
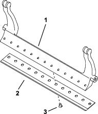
Demontujte upevňovací prvky, jež zajišťují montážní celek pohonu vřetena k boční desce (Obrázek 13).

-
Demontujte matice z vnitřní strany boční desky (Obrázek 13).
-
Uvnitř hnacího hřídele vřetena (Obrázek 14) zkontrolujte množství zbývajícího maziva.
Pokud není jeho množství dostatečné, doplňte jej do vnitřního a vnějšího hřídele s drážkou.

-
Pomocí dříve demontovaných imbusových šroubů a matic připevněte sestavu pohonu vřetena k boční desce.
-
Namontujte žací jednotku na hnací jednotku; viz provozní příručka k hnací jednotce.
Nastavení napnutí hnacího řemene vřetena
| Servisní interval | Postup při údržbě |
|---|---|
| Každý rok |
|
-
Demontujte kryt ze skříně pohonu vřetena tak, že demontujete 4 upevňovací šrouby krytu.
-
Povolte šroub ramena napínací řemenice a otočením ramena napínací řemenice povolte řemen.
-
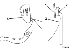
Pomocí tyčového momentového klíče utáhněte vnitřní šroub horního ramene (Obrázek 15) napínací řemenice momentem 6–7 Nm.

-
Utažením šroubu ramena napínací řemenice připevněte rameno napínací řemenice.
-
Namontujte kryt pomocí 4 příslušných šroubů.
Nastavení rychlosti sekání
Rychlost sekání je podmíněna následujícími aspekty nastavení stroje:
-
Otáčky vřetena: Otáčky vřetena lze nastavit na vysoké nebo nízké; viz provozní příručka k hnací jednotce.
-
Poloha řemenice pohonu vřetena: Řemenici pohonu vřetena (22 zubů a 24 zubů) lze nastavit do 2 poloh:
Note: Řemenice je z výrobního závodu nastavena v NíZKé poloze.

Chcete-li nastavit polohu řemenic, postupujte následovně:
-
Sejměte kryt řemene. Tím získáte přístup k řemenu (Obrázek 17).

-
Povolte šroub ramene napínací řemenice a otočením ramene (Obrázek 17) povolte řemen.
-
Demontujte řemen (Obrázek 17).
-
Povolte matici na každé řemenici, sejměte řemenice a pomocí matic namontujte řemenice do požadovaného nastavení.

-
Matice řemenice utáhněte na utahovací moment 37 až 45 Nm (27 až 33 ft-lb).
-
Nasaďte řemen a napněte jej vyvinutím síly 6 až 7 Nm (55 až 60 in-lb) na vnitřní šestihran ramene napínací řemenice, viz Obrázek 17.
-
Utáhněte šroub ramene napínací řemenice a namontujte kryt řemene.
Specifikace plochého nože
Údržba plochého nože
Údržbu držáku plochého nože a plochého nože smí provádět pouze řádně školený technik, aby nedošlo k poškození vřetena, držáku plochého nože nebo plochého nože. V ideálním případě nechejte údržbu žací jednotky provést u autorizovaného prodejce Toro. Úplné pokyny, potřebné zvláštní nářadí a obrázky pro údržbu držáku plochého nože naleznete v servisní příručce. Pokud budete demontovat nebo montovat držák plochého nože svépomocí, pokyny a specifikace pro údržbu držáku plochého nože jsou uvedeny níže.
Important: Při údržbě plochého nože se vždy řiďte postupy uvedenými v servisní příručce. V případě nesprávné montáže a zabroušení plochého nože hrozí nebezpečí poškození vřetene, držáku plochého nože nebo plochého nože.
Demontáž držáku plochého nožeMontážní celek plochého nože
-
Otočením seřizovacího šroubu držáku plochého nože proti směru hodinových ručiček posuňte plochý nůž dále od vřetena (Obrázek 19).

-
Vyšroubujte matici pro napnutí pružiny, aby pružina netlačila podložku k držáku plochého nože (Obrázek 19).
-
Na obou stranách stroje povolte pojistnou matici, viz Obrázek 20.

-
Demontujte jednotlivé šrouby držáku plochého nože, aby bylo možné stáhnout držák dolů a sejmout jej z žací jednotky (Obrázek 20).
Neztraťte 2 plastové a jednu ocelovou podložku z obou konců držáku plochého nože (Obrázek 20).
-
Demontujte plochý nůž z držáku plochého nože tak, že demontujete všechny jeho upevňovací šrouby. Použijte nástrčný klíč a šroubový nástroj na plochý nůž (č. dílu TOR510880).
Note: K povolení šroubů plochého nože můžete použít mechanický nebo pneumatický rázový utahovák.
Note: Plochý nůž a šrouby zlikvidujte.
Montáž nového plochého nože
-
Vyberte správný nový nůž, viz Tabulky pro výběr výšky sekání a plochého nože.
-
Z povrchu plochého nože odstraňte korozi a usazeniny a aplikujte na něj tenkou vrstvu oleje.
Important: Neodstraňujte nálitky z držáku plochého nože. Držák plochého nože je z výroby uprostřed prohnutý – nezabrušujte ho.
-
Vyčistěte závity v plochém noži.
-
Na šrouby plochého nože aplikujte přípravek proti zadírání a namontujte plochý nůž na držák plochého nože.
Important: Používejte pouze nové šrouby plochého nože.
Note: Počet šroubů se liší v závislosti na držáku plochého nože.

-
Dva vnější šrouby utáhněte na utahovací moment 1 Nm.
-
Utáhněte šrouby na utahovací moment 25,9 +/- 1,4 Nm, přičemž postupujte od středu plochého nože.
Important: Šrouby plochého nože neutahujte mechanickým nebo pneumatickým rázovým utahovákem.

-
Nabruste nový plochý nůž; viz Pokyny k broušení plochého nože.
Pokyny k broušení plochého nože

| Úhel podbroušení plochého nože (horní) | Viz Tabulky pro výběr výšky sekání a plochého nože. |
| Rozsah předního úhlu | 13° až 17° |
| Úhel podbroušení plochého nože Fairway | 10° |
Kontrola úhlu horního zbroušení
Velmi důležitý je úhel, pod kterým zabrušujete své ploché nože.
Použitím ukazatele úhlu (číslo dílu Toro 131-6828) a držáku ukazatele úhlu (číslo dílu Toro 131-6829) zkontrolujte úhel své brusky a následně správně upravte veškeré nepřesné nastavení brusky.
-
Umístěte ukazatel úhlu na spodní stranu plochého nože, viz Obrázek 24.

-
Stiskněte tlačítko Alt Zero“ na ukazateli úhlu.
-
Umístěte držák ukazatele úhlu na hranu plochého nože tak, aby hrana magnetu lícovala s okrajem plochého nože (Obrázek 25).
Note: Digitální displej by měl být vidět ze stejné strany během tohoto kroku, stejně, jako v kroku 1.

-
Umístěte ukazatel úhlu na držák, viz Obrázek 25.
Note: To je úhel vaší brusky, jenž by měl být v rozmezí 2 stupňů doporučeného horního zbroušení.
Montáž montážního celku držáku plochého nože / plochého nože
-
Namontujte montážní celek držáku plochého nože / plochého nože – montážní výstupky umístěte mezi podložky a seřizovací šroub držáku plochého nože (Obrázek 26).
Important: Vycentrujte seřizovací prvky DPA ve výstupcích plochého nože, viz Obrázek 26.Pokud jsou seřizovací prvky DPA namontovány proti výstupkům plochého nože, může to negativně ovlivnit kontakt plochého nože s vřetenem.

-
Upevněte držák plochého nože k oběma bočním deskám pomocí šroubů držáku plochého nože (matice na šroubech) a 3 podložek (celkem 6).
-
Umístěte nylonovou podložku na obě strany výčnělku boční desky. Na vnější stranu nylonových podložek umístěte ocelovou podložku (Obrázek 27).
-
Šrouby držáku plochého nože utáhněte na utahovací moment 27 až 36 N (20 až 27 ft-lb).
-
Utáhněte pojistné matice tak, abyste eliminovali koncovou vůli na ocelových podložkách; je však třeba, aby s nimi bylo možné ručně otáčet. U podložek uvnitř může vzniknout mezera.
Important: Pojistné matice nadměrně neutahujte, jinak vychýlí boční desky.
-
Utáhněte matici pro napnutí pružiny, až dojde ke stlačení pružiny, a poté ji povolte o ½ otáčky (Obrázek 27).

-
Seřiďte plochý nůž na vřetenu, viz Seřízení plochého nože k vřetenu.
Specifikace vřetena
Příprava vřetena na zabroušení
-
Před zabrušováním se přesvědčte, zda jsou všechny součásti žací jednotky v dobrém stavu, a odstraňte veškeré závady.
-
Zabroušení žacího vřetena na následující specifikace proveďte podle pokynů výrobce vřetenové brusky.
Pokyny k broušení vřetena Nový průměr vřetena 128,5 mm Provozní limit průměru vřetena 114,3 mm Úhel podbroušení nože 30° ± 5° Šířka krajní plochy nožeRozsah 0,8 až 1,2 mm Provozní limit průměru kuželu vřetena 0,25 mm
Podbrušování vřetena
Nové vřeteno má šířku krajní plochy 0,8 až 1,2 mm a 30° podbroušení.
Pokud se šířka krajní plochy zvětší nad 3 mm, postupujte následovně:
-
Všechny nože vřetena podbruste na 30° tak, aby byla krajní plocha široká 0,8 mm.

-
Rotačně zabruste vřeteno tak, aby byla zajištěna házivost vřetena menší než 0,025 mm.
Note: Tím dojde k mírnému zvětšení šířky krajní plochy.
-
Nastavte žací jednotku (viz provozní příručka k žací jednotce).
Note: Chcete-li po zabroušení vřetena a/nebo plochého nože zvýšit životnost ostří jejich hrany, po posečení 2 greenů znovu zkontrolujte správný kontakt plochého nože a vřetena. Dojde tak k odstranění veškerých otřepů. Otřepy mohou způsobit nesprávnou vzdálenost mezi vřetenem a plochým nožem a tím rychlejší opotřebení.
Přelapování žací jednotky
K přelapování žací jednotky použijte soupravu pro přelapování Access (č. modelu 139-4342); viz provozní pokyny v montážních pokynech k soupravě. Tuto sadu vám poskytne autorizovaný distributor Toro.


, který znamená
Upozornění, Výstrahu nebo Nebezpečí
– pokyny k zajištění osobní
bezpečnosti. Nedodržení těchto pokynů
může mít za následek zranění
osob nebo jejich usmrcení.











