Karbantartás
Note: A gép jobb és bal oldalát normál üzemeltetési helyzetben határozza meg.
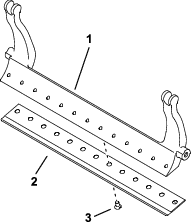
A dob-hajtótengely zsírzási pontjának ellenőrzése
| Karbantartási időköz | Karbantartási intézkedés |
|---|---|
| Évente |
|
-
Távolítsa el a kötőelemeket, amik a dob-hajtás egységet az oldalsó lemezhez rögzítik (Ábra 12).

-
Távolítsa el a dob-hajtás egységet, a lapos alátéteket, a rugós alátéteket és a távtartókat az oldalsó lemezről (Ábra 12).
-
Ellenőrizze a dob hajtótengelyének a belsejét (Ábra 13), hogy mennyi zsír maradt benne.
Ha nem lát elegendő mennyiségű zsírt, zsírozza meg a tengely bordáit és a bordás hüvelyt.

-
Szerelje fel a dob-hajtás egységet a korábban eltávolított imbuszcsavarokkal, alátétekkel és távtartókkal az oldalsó lemezhez.
-
Szerelje fel a nyíróegységet a vontatóegységre; lásd a vontatóegység Kezelői kézikönyvét.
A hengert meghajtó ékszíj feszességének beállítása
| Karbantartási időköz | Karbantartási intézkedés |
|---|---|
| Évente |
|
-
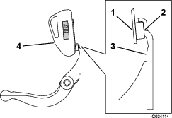
Távolítsa el a burkolatot a dob-hajtás házáról az azt rögzítő 3 csavar kihajtásával.
-
Lazítsa meg a feszítőkar csavarját, majd fordítsa el a feszítőkart az ékszíj meglazításához.
-
Ingatechnológiát használó nyomatékkulcs segítségével fejtsen ki 6-7 Nm nyomatékot a felső feszítőkar belső csavarjára (Ábra 14).

-
Húzza meg a feszítőkar csavarját a feszítőkar rögzítéséhez.
-
Szerelje vissza a burkolatot a 3 megfelelő csavarral.
A vágási sebesség beállítása
A vágási sebességet az alábbi gépbeállítások befolyásolják:
-
A hengerkés fordulatszáma: A hengerkés fordulatszáma lehet magas és alacsony; lásd a vontatóegység Kezelői kézikönyvét.
-
A hengerkés-hajtótárcsa helyzete: A hengerkés-hajtótárcsák (22 fogas és 24 fogas) két helyzetbe állíthatók:
Note: A hajtótárcsa gyárilag az ALACSONY helyzetben van.

A hajtótárcsák helyzetének beállításához tekintse meg a következő lépéseket:
-
Távolítsa el a szíjburkolatot, hogy hozzáférjen a bordásszíjhoz (Ábra 16).

-
Lazítsa meg a feszítőkar csavarját, majd fordítsa el a feszítőkart (Ábra 16) az ékszíj meglazításához.
-
Távolítsa el az ékszíjat (Ábra 16).
-
Lazítsa meg az anyát a szíjtárcsákon, távolítsa el a szíjtárcsákat, és az anyák segítségével szerelje fel őket a kívánt konfigurációban.

-
Húzza meg a szíjtárcsaanyákat 37–45 Nm nyomatékkal
-
Szerelje fel a bordásszíjat, és állítsa be a szíjfeszességet 6–7 Nm nyomatékot kifejtve a belső hatlapú feszítőkarra, lásd Ábra 16.
-
Húzza meg a feszítőkar csavarját, és szerelje fel a szíjburkolatot.
A fűterelő lemez beállítása
Állítsa be a fűterelő lemezt az alábbi módon úgy, hogy a nyesedék megfelelően leváljon a hengerkésről:
Note: A fűterelő lemez helyzete módosítható, hogy alkalmazkodhasson a gyepfeltételekhez. Állítsa közelebb a fűterelő lemezt a hengerkéshez, ha a gyep rendkívül száraz. Ha viszont a gyep nedves, a fűterelő lemezt távolabbra kell állítani a hengerkéstől. Az optimális teljesítmény biztosítása érdekében a fűterelő lemeznek párhuzamosan kell állnia a hengerkéssel. A beállítás végezze el azután, hogy a hengerkést megélezte hengerkésköszörűvel.
-
Lazítsa meg a fűterelő lemezt (Ábra 18) a nyíróegységhez rögzítő csavarokat.

-
Illesszen egy 1,5 mm vastag hézagmérőt a hengerkés teteje és a fűterelő lemez közé, majd húzza meg a csavarokat.
Important: A fűterelő lemez és a hengerkés a teljes hosszon legyenek azonos távolságra egymástól.
Note: Állítsa be a légrést a gyepfeltételekhez.
A fenékkés műszaki adatai
A fenékkés szervizelése
A fenékkésrúd és a hengerkés szervizelését csak megfelelően képzett szerelő végezze, nehogy károsodjon a hengerkés, a fenékkésrúd vagy a fenékkés. A legjobb megoldás, ha eljuttatja a nyíróegységet a hivatalos Toro-márkakereskedőhöz szervizelésre. A fenékkés szervizeléséhez szükséges teljes utasítással, célszerszámokkal és ábrákkal kapcsolatban lásd a vontatóegység Szervizkézikönyvét. Ha bármikor saját kezűleg kellene le- vagy felszerelnie a fenékkésrudat, alább megtalálja az utasításokat, amelyek egyben a fenékkés szervizelési előírásai is.
Important: A fenékkés szervizelésekor kövesse mindig a Szervizkézikönyvben részletezett eljárásokat. A fenékkés nem megfelelő felszerelése és köszörülése a hengerkés, a fenékkésrúd vagy a fenékkés károsodásához vezethet.
A fenékkésrúd/fenékkés szerelvény eltávolítása
-
A fenékkésrúd-állító csavart az óra járásával ellentétesen elforgatva távolítsa el a fenékkést a hengerkéstől (Ábra 19).

-
Lazítson annyit a rugófeszítő anyán, hogy az alátét már ne szoruljon a fenékkésrúdnak (Ábra 19).
-
Lazítsa meg a fenékkésrúdcsavart rögzítő anyát a gép mindkét oldalán (Ábra 20).

-
Szerelje ki mindkét fenékkésrúdcsavart, hogy a fenékkésrúd lefelé húzva eltávolítható legyen a nyíróegységről (Ábra 20).
Ügyeljen a 2 acél alátétre és az 1 műanyag alátétre a fenékkésrúd két oldalán (Ábra 20).
-
Távolítsa el a fenékkést a fenékkésrúdról az azt rögzítő összes csavar eltávolításával. Használjon dugókulcsot a fenékkéscsavar-szerszámmal (cikksz. TOR510880).
Note: A fenékkéscsavarok meglazításához mechanikus és pneumatikus ütvecsavarozót is használhat.
Note: A fenékkéseket és a csavarokat selejtezze.
Az új fenékkések felszerelése
-
Válasszon ki egy új fenékkést a Vágásmagasság- és fenékkés-kiválasztó táblázatok alapján.
-
Távolítsa el a rozsdát és egyéb lerakódásokat a fenékkésről, és vonja be vékony réteg olajjal a felületét.
Important: Ne távolítsa el az öntvényanyagot a fenékkésrúdról. A fenékkés középen eleve homorú; ne köszörülje.
-
Tisztítsa meg a fenékkésrúdban a meneteket.
-
Kenjen beragadásgátló pasztát az új fenékkéscsavarokra, majd szerelje fel a fenékkést a fenékkésrúdra.
Important: Csak új fenékkéscsavarokat használjon.
Note: A csavarok mennyisége a fenékkés függvényében eltérő.

-
Húzza meg a 2 külső csavart 1 N·m nyomatékkal.
-
A fenékkés közepétől kezdve húzza meg a csavarokat 25,9 +/– 1,4 Nm nyomatékkal.
Important: Ne mechanikus vagy pneumatikus ütvecsavarozóval húzza meg a fenékkéscsavarokat.

-
Köszörülje meg az új fenékkést; lásd Fenékkés-köszörülési előírások.
Fenékkés-köszörülési előírások

| Fenékkés hátraköszörülési (felső) szöge | Lásd: Vágásmagasság- és fenékkés-kiválasztó táblázatok. |
| Elülső szögtartomány | 13° – 17° |
| Fairway fenékkés elülső szöge | 10° |
A felső köszörülési szög ellenőrzése
A fenékkés élezésénél nagyon fontos a köszörülési szög szerepe.
A szögmérő (Toro-cikkszám: 131-6828) és a szögmérőtartó (Toro-cikkszám: 131-6829) segítségével ellenőrizheti a köszörült szöget, és helyesbítheti az esetleges pontatlanságot.
-
Helyezze a szögmérőt a fenékkés aljára a Ábra 24 szerint.

-
Nyomja meg a szögmérő nullázógombját.
-
Helyezze a szögmérőtartót a fenékkés aljára úgy, hogy a mágnes széle a fenékkés élére feküdjön fel (Ábra 25).
Note: A digitális kijelzőnek ugyanarról az oldalról kell láthatónak lennie, mint az 1. lépésnél.

-
Helyezze a szögmérőt a tartóra a Ábra 25 szerint.
Note: Ez az a szög, amelyet a köszörűgép hoz létre, és amely a javasolt értéktől legfeljebb 2°-kal térhet el.
A fenékkésrúd/fenékkés szerelvény felszerelése
-
Szerelje fel a fenékkésrúd/fenékkés szerelvényt az alátétek és a fenékkésrúd-beállító csavar közé illesztve (Ábra 19).
Important: Igazítsa középre a fenékkésrúd fülein lévő DPA-beállítókat a Ábra 26 szerint.Ha a DPA-beállítók a fenékkésrúd fülei mellé vannak szerelve, az negatívan érintheti a fenékkés-hengerkés kapcsolatot.

-
Rögzítse a fenékkésrudat az oldalsó lemezekhez a fenékkésrúdcsavarok (anyákkal a csavarokon) és az oldalanként 3 (összesen 6) alátét segítségével.
-
Tegyen nejlon alátétet az oldalsó lemez nyúlványának mindkét oldalára. Tegyen acél alátétet a nejlon alátétek külső oldalára (Ábra 27).
-
Húzza meg a fenékkésrúdcsavarokat 27–36 N·m nyomatékkal.
-
Húzza meg annyira a rögzítőanyákat, hogy megszűnjön az acél alátéteknél a játék, de kézzel még el tudja forgatni azokat. A belső alátéteknél hézag is lehet.
Important: Ne húzza meg túlságosan a rögzítőanyákat, mert meggörbíthetik az oldalsó lemezeket.
-
Húzza meg a rugófeszítőanyát annyira, hogy a rugó teljesen összenyomódjon, majd engedjen vissza ½ menetet (Ábra 27).

-
A fenékkés beállítása a hengerkéshez; lásd: A fenékkés beállítása a hengerkéshez.
A hengerkés műszaki adatai
A hengerkés előkészítése köszörüléshez
-
A köszörülés megkezdése előtt győződjön meg arról, hogy a nyíróegység minden alkatrésze jó állapotban van, és javítsa ki az esetleges problémákat.
-
Kövesse a hengerkés-köszörű gyártójának utasításait, hogy a hengerkést az alábbi előírások szerint köszörülje meg.
Hengerkés-köszörülési előírások Új hengerkés átmérője 128,5 mm Hengerkés szervizelési határértéke 114,3 mm Kés hátraköszörülési szöge 30° ± 5° Kés profilszélesség-tartománya 0,8–1,2 mm Hengerkés letörésének szervizelési határértéke 0,25 mm
A hengerkés hátraköszörülése
Új hengerkésnél a profilszélesség 1,3–1,5 mm, a hátraköszörülési szög pedig 30°-os.
Ha a profilszélesség 3 mm-nél nagyobbra nő, végezze el az alábbi eljárást:
-
Végezzen 30°-os hátraköszörülést az összes hengerkéspengén, amíg ki nem alakul az 0,8 mm profilszélesség (Ábra 28).

-
Köszörülje meg forgatva a hengerkést, hogy az ütése < 0,025 mm legyen.
Note: Ettől a profilszélesség kissé megnő.
-
Állítsa be a nyíróegységet; lásd a nyíróegység Kezelői kézikönyvét.
Note: A hengerkés és a fenékkés élességének minél hosszabb megőrzése érdekében – a hengerkés és/vagy a fenékkés megköszörülése után – 2 zöldterület lenyírását követően ellenőrizze újra a hengerkés és a fenékkés érintkezésének beállítását, és gondoskodjon arról, hogy minden sorját eltávolítson. A sorják helytelen érintkezési hézagot eredményezhetnek és ezért felgyorsíthatják a kopást.
A nyíróegység fenése visszaforgatással
A nyíróegység fenése visszaforgatással, használja a hozzáférési hátraköszörülő készletet (modellsz. 139-4342) vagy a hátraköszörülő készletet (modellsz. 04800); lásd a készlet használati utasítását a felszerelési utasításban. A készletek beszerzése kapcsán forduljon hivatalos Toro-forgalmazójához.


), amelynek jelentése lehet Figyelem, Vigyázat
vagy Veszély – személyes biztonsági utasítások.
Az utasítások be nem tartása személyi
sérülést vagy halált okozhat.








