Bảo trì
Note: Xác định các mặt bên trái và bên phải của máy từ vị trí vận hành bình thường.
Tiếp cận Dao xoắn
Kiểm tra Điểm Tra dầu mỡ Trục truyền động Guồng xoắn
| Khoảng thời gian Dịch vụ Bảo trì | Quy trình Bảo trì |
|---|---|
| Hàng năm |
|
-
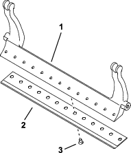
Tháo phụ kiện đang siết chặt cụm truyền động guồng xoắn vào tấm bên (Hình 13).

-
Tháo các đai ốc ra khỏi mặt trong của tấm bên (Hình 13).
-
Kiểm tra mặt trong trục truyền động guồng xoắn (Hình 14) xem có dính dầu mỡ còn lại không.
Nếu bạn không thấy đủ lượng dầu mỡ, hãy tra thêm dầu mỡ vào trục then đực và cái.

-
Sử dụng các vít và đai ốc đã tháo trước đó của đầu ổ cắm để siết chặt cụm truyền động guồng xoắn vào tấm bên.
-
Lắp dao xoắn vào bộ kéo; tham khảo Hướng dẫn Vận hành bộ kéo của bạn.
Điều chỉnh độ căng của dây đai truyền động guồng xoắn
| Khoảng thời gian Dịch vụ Bảo trì | Quy trình Bảo trì |
|---|---|
| Hàng năm |
|
-
Tháo nắp ra khỏi vỏ truyền động guồng xoắn bằng cách tháo 4 vít giữ nắp ở đúng chỗ.
-
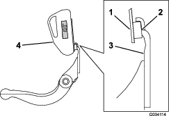
Nới lỏng bu lông tay đòn cần căng và xoay tay đòn cần căng để loại bỏ sức căng khỏi dây đai.
-
Sử dụng cờ lê mô-men xoắn kiểu chùm để tác dụng lực 6 đến 7 N∙m (55 đến 60 in-lb) vào vít bên trong tay đòn cần căng trên (Hình 15).

-
Siết chặt bu lông tay đòn cần căng để cố định tay đòn cần căng.
-
Lắp nắp bằng 4 vít tương ứng.
Điều chỉnh Tốc độ Xén
Tốc độ xén được xác định theo cài đặt máy sau đây:
-
Tốc độ Guồng xoắn: Tốc độ guồng xoắn có thể được điều chỉnh theo cài đặt cao hoặc thấp; tham khảo Hướng dẫn Vận hành bộ kéo của bạn.
-
Vị trí ròng rọc truyền động guồng xoắn: Các ròng rọc truyền động guồng xoắn (22 răng và 24 răng) có thể được cài đặt ở 2 vị trí:
Note: Vị trí ròng rọc được nhà máy cài đặt ở vị trí THấP.

Để điều chỉnh vị trí của ròng rọc, hãy tham khảo các bước sau:
-
Tháo vỏ dây đai để lộ dây đai (Hình 17).

-
Nới lỏng bu lông tay đòn cần căng và xoay tay đòn cần căng (Hình 17) để giải phóng sức căng trên dây đai.
-
Tháo dây đai (Hình 17).
-
Nới lỏng đai ốc trên mỗi ròng rọc, tháo ròng rọc và sử dụng đai ốc để lắp các ròng rọc theo cấu hình mong muốn của bạn.

-
Tạo mô-men xoắn cho đai ốc ròng rọc từ 37 đến 45 N∙m (27 đến 33 ft-lb)
-
Lắp dây đai và căng dây đai bằng cách tác dụng từ 6 đến 7 N∙m (55 đến 60 in-lb) vào lục giác bên trong tay đòn cần căng được minh họa trong Hình 17.
-
Siết chặt bu lông tay đòn cần căng và lắp vỏ dây đai.
Thông số kỹ thuật của Dao bụng
Bảo dưỡng Dao bụng
Chỉ có thợ cơ khí được đào tạo bài bản mới được bảo dưỡng thanh dưới và dao bụng để tránh làm hỏng guồng xoắn, thanh dưới hoặc dao bụng. Tốt nhất là mang dao xoắn đến nhà phân phối Toro được ủy quyền của bạn để bảo dưỡng. Tham khảo Hướng dẫn Bảo dưỡng cho bộ kéo của bạn để biết cách thực hiện đầy đủ, các dụng cụ đặc biệt và sơ đồ bảo dưỡng dao bụng. Nếu bạn cần tự tháo hoặc lắp ráp thanh dưới, hãy xem hướng dẫn được cung cấp dưới đây, theo các thông số kỹ thuật để bảo dưỡng dao bụng.
Important: Luôn tuân thủ quy trình về dao bụng được trình bày chi tiết trong Hướng dẫn Bảo dưỡng khi bảo dưỡng dao bụng. Không lắp đặt và mài dao bụng đúng cách có thể dẫn đến hỏng guồng xoắn, thanh dưới hoặc dao bụng.
Tháo Thanh dưới/Cụm dao bụng
-
Xoay vít điều chỉnh thanh dưới ngược chiều kim đồng hồ để lùi dao bụng ra khỏi guồng xoắn (Hình 19).

-
Rút đai ốc căng lò xo ra, cho đến khi vòng đệm không còn căng so với thanh dưới (Hình 19).
-
Trên mỗi mặt bên của máy, nới lỏng êcu hãm được minh họa trong Hình 20.

-
Tháo từng bu lông của thanh dưới, cho phép thanh dưới được kéo xuống và tháo ra khỏi dao xoắn (Hình 20).
Cho phép 2 vòng đệm bằng nhựa và 1 vòng đệm bằng thép trên mỗi đầu của thanh dưới (Hình 20).
-
Tháo dao bụng ra khỏi thanh dưới bằng cách tháo tất cả các vít đang giữ dao bụng ở đúng vị trí. Sử dụng chìa vặn đầu ống với Dụng cụ vặn vít dao bụng (Số bộ phận TOR510880).
Note: Bạn có thể sử dụng chìa vặn tác động cơ học hoặc khí nén để nới lỏng các vít của dao bụng.
Note: Vứt bỏ dao bụng và các vít.
Lắp dao bụng mới
-
Chọn dao bụng mới theo Biểu đồ lựa chọn độ cao mặt cắt và dao bụng.
-
Loại bỏ rỉ, cáu cặn và ăn mòn khỏi bề mặt thanh dưới và bôi một lớp dầu mỏng lên bề mặt thanh dưới.
Important: Không tháo vật liệu đúc ra khỏi thanh dưới. Thanh dưới được thiết kế lõm ở giữa; không mài.
-
Làm sạch các ren trong thanh dưới.
-
Bôi hợp chất chống kẹt trên các vít của dao bụng mới và lắp dao bụng trên thanh dưới.
Important: Chỉ sử dụng các vít của dao bụng mới.
Note: Số lượng vít thay đổi tùy thuộc vào thanh dưới.

-
Xoay mô-men xoắn của 2 vít ngoài đến 1 N∙m.
-
Làm việc từ tâm của dao bụng, tạo mô-men xoắn cho vít từ 25,9 +/- 1,4 N∙m (19 +/- 1 ft-lb).
Important: Không siết chặt các vít của dao bụng bằng chìa vặn tác động cơ học hoặc khí nén.

-
Mài dao bụng mới; tham khảo Thông số kỹ thuật Mài Dao bụng.
Thông số kỹ thuật Mài Dao bụng

| Góc khe hở (trên cùng) của dao bụng | Xem Biểu đồ lựa chọn độ cao mặt cắt và dao bụng. |
| Phạm vi góc trước | 13° đến 17° |
| Góc trước của dao bụng Fairway | 10° |
Kiểm tra Góc Mài Trên cùng
Góc mà bạn sử dụng để mài dao bụng của mình rất quan trọng.
Sử dụng bộ chỉ báo góc (Số Bộ phận Toro 131-6828) và giá gắn bộ chỉ báo góc (Số Bộ phận Toro 131-6829) để kiểm tra góc mà máy mài của bạn tạo ra, sau đó chỉnh sửa bất kỳ chi tiết không chính xác nào của máy mài.
-
Đặt bộ chỉ báo góc ở mặt dưới cùng của dao bụng như được minh họa trong Hình 24.

-
Nhấn nút Alt 0 trên bộ chỉ báo góc.
-
Đặt giá gắn bộ chỉ báo góc lên mép của dao bụng sao cho mép của nam châm tiếp xúc với mép của dao bụng (Hình 25).
Note: Màn hình kỹ thuật số phải được nhìn thấy từ cùng một phía trong bước này giống như ở bước 1.

-
Đặt bộ chỉ báo góc trên giá gắn như được minh họa trong Hình 25.
Note: Đây là góc mà máy mài của bạn tạo ra, và phải nằm trong phạm vi 2 độ so với góc mài trên cùng được khuyến nghị.
Lắp cụm thanh dưới/dao bụng
-
Lắp cụm thanh dưới/dao bụng, định vị các tai gắn giữa vòng đệm và vít điều chỉnh thanh dưới (Hình 26).
Important: Căn giữa bộ điều chỉnh DPA vào tai thanh dưới như được minh họa trong Hình 26.Nếu bộ điều chỉnh DPA được lắp vào tai thanh dưới, điều này có thể ảnh hưởng tiêu cực đến tiếp xúc giữa dao bụng và guồng xoắn.

-
Siết chặt thanh dưới vào mỗi tấm bên bằng các bu lông của thanh dưới (đai ốc trên bu lông) và 3 vòng đệm (tổng cộng 6 cái).
-
Đặt một vòng đệm bằng nylon trên mỗi bên của vấu lồi tấm bên. Đặt một vòng đệm bằng thép bên ngoài mỗi vòng đệm bằng nylon (Hình 27).
-
Tạo mô-men xoắn của bu lông thanh dưới đến 27 đến 36 N∙m (20 đến 27 ft-lb).
-
Siết chặt các êcu hãm cho đến khi không còn khe hở hướng trục ở vòng đệm bằng thép, nhưng bạn có thể xoay các êcu hãm bằng tay. Vòng đệm ở mặt trong có thể có khe hở.
Important: Đừng siết quá chặt các êcu hãm, nếu không, chúng sẽ làm lệch tấm bên.
-
Siết chặt đai ốc căng lò xo cho đến khi lò xo bị nén, sau đó lùi lại 1/2 vòng (Hình 27).

-
Cân chỉnh dao bụng theo guồng xoắn; tham khảo Cân chỉnh Dao bụng theo Guồng xoắn.
Thông số kỹ thuật của Guồng xoắn
Chuẩn bị Guồng xoắn để Mài
-
Đảm bảo tất cả các bộ phận của dao xoắn ở tình trạng tốt và khắc phục mọi vấn đề trước khi mài.
-
Làm theo hướng dẫn của nhà sản xuất máy mài guồng xoắn để mài guồng xoắn cắt theo các thông số kỹ thuật sau.
Thông số kỹ thuật Mài Guồng xoắn Đường kính Guồng xoắn Mới 128,5 mm Giới hạn Dịch vụ Đường kính Guồng xoắn 114,3 mm Góc Khe hở Lưỡi cắt 30° ± 5° Phạm vi Bề rộng Tiếp xúc với Đất của Lưỡi cắt 0,8 đến 1,2 mm (0,03 đến 0,05 inches) Giới hạn Dịch vụ Côn Đường kính Guồng xoắn 0,25 mm
Mài hớt lưng Guồng xoắn
Guồng xoắn mới có bề rộng tiếp xúc với đất từ 0,8 đến 1,2 mm và mài hớt lưng 30°.
Khi bề rộng tiếp xúc của đất lớn hơn 3 mm, hãy thực hiện như sau:
-
Áp dụng mài hớt lưng 30° trên tất cả các lưỡi cắt của guồng xoắn cho đến khi bề rộng tiếp xúc với đất rộng 0,8 mm

-
Mài quanh trụ tròn đối với guồng xoắn để đạt được độ chạy lệch tâm của guồng xoắn < 0,025 mm.
Note: Điều này làm cho bề rộng tiếp xúc của đất tăng lên một chút.
-
Điều chỉnh dao xoắn; tham khảo Hướng dẫn Vận hành dao xoắn của bạn.
Note: Để kéo dài thời hạn sử dụng độ sắc bén của mép guồng xoắn và dao bụng - sau khi mài guồng xoắn và/hoặc dao bụng - hãy kiểm tra lại tiếp xúc của guồng xoắn với dao bụng sau khi cắt 2 mặt cỏ, vì mọi đường gờ sẽ bị loại bỏ. Các đường gờ có thể tạo ra khoảng sáng không phù hợp từ guồng xoắn đến dao bụng, có thể làm tăng tốc độ mài mòn.
Mài bột đá Dao Xoắn
Để mài rà ngược dao xoắn, hãy sử dụng Bộ Tiếp cận Mài rà ngược (Kiểu model số 139-4342); tham khảo hướng dẫn vận hành trong Hướng dẫn Lắp đặt. Liên hệ với nhà phân phối Toro được ủy quyền của bạn để mua bộ này.


, cụ thể là Thận
trọng, Cảnh báo hoặc Nguy hiểm — hướng dẫn an toàn
cá nhân. Việc không tuân thủ hướng dẫn này
có thể dẫn đến thương tích cá nhân
hoặc tử vong.











