Wartung
Abstützen der Schneideinheit
Wenn Sie die Schneideinheit kippen müssen, um das Untermesser bzw. die Spindel zugänglich zu machen, stützen Sie das Heck des Mähwerks mit dem Ständer (wird mit der Zugmaschine geliefert) ab, um sicherzustellen, dass die Muttern hinten an den Einstellschrauben des Untermesserträgers nicht auf der Arbeitsfläche aufliegen (Bild 21).

Einfetten der Schneideinheiten
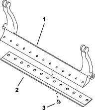
Fetten Sie die fünf Schmiernippel an jede Schneideinheit (Bild 22) regelmäßig mit Nr. 2 Schmierfett auf Lithiumbasis ein.
Die Frontrolle und Heckrolle haben zwei Schmierstellen und die Spindelmotorwelle hat eine Schmierstelle.
Note: Fetten Sie die Schneideinheiten sofort nach dem Waschen ein, damit noch verbleibendes Wasser aus den Lagern entfernt wird. Auf diese Weise erhöht sich die Lebensdauer der Lager.
-
Wischen Sie jeden Schmiernippel mit einem sauberen Lappen ab.
-
Tragen Sie Schmiermittel auf, bis sauberes Schmiermittel aus den Dichtungen der Rolle und dem Überdruckventil des Lagers austritt.
-
Entfernen Sie überschüssiges Fett mit einem Tuch.

Technische Daten für das Untermesser
Warten des Untermessers
Abnehmen der Untermesserträger/Untermesser-Baugruppe
-
Drehen Sie die Einstellschrauben des Untermesserträgers nach links, um den Abstand zwischen Untermesser und Spindel zu vergrößern (Bild 23).

-
Drehen Sie die Federspannungsmutter so weit hinaus, bis die Scheibe nicht mehr gegen den Untermesserträger angespannt ist (Bild 23).
-
Lösen Sie an jeder Seite der Maschine die Sicherungsmutter, mit der die Schraube des Untermesserträgers befestigt ist (Bild 24).

-
Nehmen Sie jede Schraube des Untermesserträgers ab, damit der Untermesserträger nach unten gezogen und von der Schneideinheit entfernt werden kann (Bild 24).
Bewahren Sie die beiden Nylonscheiben und die Stahlscheibe von den beiden Enden des Untermesserträgers auf (Bild 25).

-
Entfernen Sie sämtliche Schrauben mit denen das Untermesser am Untermesserträger befestigt ist. Verwenden Sie einen Steckschlüssel mit dem Untermesser-Schraubwerkzeug (Bestell-Nr. TOR510880).
Note: Sie können einen mechanischen oder pneumatischen Schlagschrauber verwenden, um die Schrauben des Untermessers zu lösen.
Note: Entsorgen Sie das Untermesser und die Schrauben.
Einbau des neuen Untermessers
-
Wählen Sie ein neues Untermesser gemäß Auswahltabellen für Schnitthöhe und Untermesser aus.
-
Entfernen Sie Rost, Kalk oder Korrosion von der Oberseite des Untermesserträgers und tragen Sie einen dünnen Ölfilm auf die Oberfläche des Untermesserträgers auf.
Important: Entfernen Sie kein Gussmaterial vom Untermesserträger. Der Untermesserträger ist in der Mitte konkav und darf nicht geschliffen werden!
-
Reinigen Sie die Schraubengewinde im Untermesserträger.
-
Tragen Sie Gewindeschmiermittel auf die neuen Schrauben des Untermessers auf und befestigen Sie das Untermesser am Untermesserträger.
Important: Verwenden Sie nur neue Schrauben am Untermesser.
Note: Die Anzahl der Schrauben variiert je nach Untermesserträger.

-
Ziehen Sie die zwei äußeren Schrauben mit 1 N∙m an.
-
Arbeiten Sie von der Mitte des Untermessers aus und ziehen Sie die Schrauben auf ein Anzugsmoment von 29,8 +/- 1 N∙m an.
Important: Ziehen Sie die Schrauben des Untermessers nicht mit einem mechanischen oder pneumatischen Schlagschrauber an.

-
Schleifen Sie das neue Untermesser, siehe Tabelle für das Untermesserwartungslimit.
Tabelle für das Untermesserwartungslimit
Die Wartungslimits für das Untermesser werden in der folgenden Tabelle aufgeführt.
Important: Wenn Sie die Schneideinheit mit einem Untermesser einsetzen, das unter dem Wartungslimit liegt, erhalten Sie ggf. ein schlechtes Schnittbild, und das Untermesser hat bei Aufprallungen eine geringere strukturelle Integrität.
| Tabelle für das Untermesserwartungslimit | ||||
| Untermesser | Bestellnummer | Höhe der Untermesserlippe | Wartungslimit* | SchleifwinkelWinkel oben, vorne |
| Tournament (optional) | 147-1257 | 4,3 mm | 3,4 mm | 5/5° |
| Niedrige Schnitthöhe (Modell 03624) | 147-1244 | 5,6 mm | 4,8 mm | 10/5° |
| EdgeMax® niedrige Schnitthöhe (Modell 03623) | 137-6093 | 5,6 mm | 4,8 mm | 10/5° |
| Erweiterte niedrige Schnitthöhe (optional) | 147-1243 | 5,6 mm | 4,8 mm | 10/10° |
| Erweiterte EdgeMax® niedrige Schnitthöhe (optional) | 119-4280 | 5,6 mm | 4,8 mm | 10/10° |
| EdgeMax® (Modell 03621) | 137-6094 | 6,9 mm | 4,8 mm | 10/5° |
| Standard (optional) | 147-1245 | 6,9 mm | 4,8 mm | 10/5° |
| Heavy-Duty (optional) | 147-1246 | 9,3 mm | 4,8 mm | 10/5° |
Empfohlene Schleifwinkel für das Untermesser oben und vorne (Bild 28)

Note: Alle Werte für das Untermesserwartungslimit beziehen sich auf die Unterseite des Untermessers (Bild 29)

Prüfen der oberen Schleifneigung
Die Neigung, den Sie zum Schleifen der Untermesser verwenden, spielt eine große Rolle.
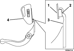
Prüfen Sie mit dem Neigungsmesser (Toro Bestellnummer 131-6828) und der Neigungsmesserbefestigung (Toro Bestellnummer 131-6829) die von der Schleifmaschine erstellte Neigung und korrigieren Sie dann mögliche Ungenauigkeiten der Schleifmaschine.
-
Positionieren Sie den Neigungsmesser an der Unterseite des Untermessers, wie in Bild 30 abgebildet.

-
Drücken Sie die Taste Alt Zero“ auf dem Neigungsmesser.
-
Legen Sie die Neigungsmesserbefestigung an die Kante des Untermessers, sodass die Kante des Magnets bündig mit der Kante des Untermessers ist (Bild 31).
Note: Die digitale Anzeige sollte in diesem Schritt von der gleichen Seite wie in Schritt 1 sichtbar sein.

-
Legen Sie den Neigungsmesser auf die Befestigung, wie in Bild 31 abgebildet.
Note: Dies ist die Neigung, die die Schleifmaschine erstellt; sie sollte innerhalb von 2° der empfohlenen oberen Schleifneigung sein.
Einbau der Untermesserträger/Untermesser-Baugruppe
-
Montieren Sie die Untermesserträger/Untermesser-Baugruppe. Positionieren Sie die Befestigungslaschen zwischen den Scheiben und der Untermesserträger-Stellschraube.
Important: Zentrieren Sie die DPA-Einsteller in die Ösen der Untermesserträger, wie in Bild 32 dargestellt.Wenn die DPA-Einsteller an den Ösen der Untermesserträger angebracht werden, kann dies den Kontakt zwischen Untermesser und Spindel beeinträchtigen.

-
Befestigen Sie den Untermesserträger mit den Untermesserträgerschrauben (Muttern an den Schrauben) und den drei Scheiben (6 insgesamt) an jeder Seitenplatte.
-
Legen Sie eine Nylonscheibe auf jede Seite des Seitenplattenansatzes. Legen Sie eine Stahlscheibe außen auf jede Nylonscheibe (Bild 25).
-
Ziehen Sie die Schrauben des Untermesserträgers mit 37-45 N·m an.
-
Ziehen Sie die Sicherungsmuttern des Untermesserträgers langsam an, bis sich die äußeren Stahlscheiben gerade noch von Hand drehen lassen.
Important: Ziehen Sie die Sicherungsmuttern nicht zu fest an, da sich sonst die Seitenplatten verformen können.
Note: Die Nylonscheibe zwischen dem Untermesserträger und der Gleitplatte wird einen kleinen Spalt haben.
-
Ziehen Sie die Federspannungsmutter an, bis die Feder zusammengedrückt ist, drehen Sie sie dann um eine halbe Umdrehung heraus (Bild 33).

Technische Daten der Spindel
Hinterschleifen der Spindel
Die neue Spindel hat eine Kante von 1,3 mm bis 1,5 mm und einen Hinterschliff von 30°.
Wenn die Kante breiter als 3 mm ist, führen Sie folgende Schritte aus:
-
Führen Sie einen Hinterschliff von 30° auf alle Messerspindeln aus, bis die Kante 1,3 mm breit ist (Bild 34 und Bild 35).


-
Fräsen Sie die Spindeln, um einen Spindelauslauf von <0,025 mm zu erzielen.
Note: Dies verursacht eine geringe Zunahme der Kante.
Note: Um die Kante der Spindel und des Untermessers länger scharf zu halten, prüfen Sie nach dem Fräsen der Spindel und/oder des Untermessers nach dem Mähen von zwei Fairways den Kontakt zwischen Spindel und Untermesser erneut, da alle Grate entfernt sind und dies zu einem falschen Abstand zwischen Spindel und Untermesser führen kann; dies beschleunigt die Abnutzung.
-
Messen Sie mit einem Durchmesser-Messband den Außendurchmesser der Spindel an beiden Enden (Bild 36); der Unterschied im Außendurchmesser zwischen den Enden sollte weniger als 0,250 mm betragen. Wenn die Differenz größer ist, schleifen Sie die Spindel, um die Differenz zu korrigieren.
Note: Das Messband für den Außendurchmesser ist bei Ihrem Toro Vertragshändler erhältlich.

Warten der HD-DPAs (Dual Point Adjuster)
-
Entfernen Sie alle Teile (siehe Installationsanleitung für das HD-DPA-Kit und Bild 37).
-
Tragen Sie ein Gleitmittel innen im Büchsenbereich am mittleren Schneideinheitsrahmen auf (Bild 37).
-
Fluchten Sie die Keile an den Flanschbüchsen mit den Schlitzen im Rahmen aus und setzen Sie die Büchsen ein (Bild 37).
-
Legen Sie eine Wellenscheibe auf die Einstellerwelle und schieben Sie die Einstellerwelle auf die Flanschbüchsen im Rahmen der Schneideinheit (Bild 37).
-
Befestigen Sie die Einstellerwelle mit einer Flachscheibe und einer Sicherungsmutter (Bild 37).
-
Ziehen Sie die Sicherungsmutter mit 20-27 N·m an.
Note: Die Einstellerwelle des Untermesserträgers hat ein Linksgewinde.

-
Tragen Sie ein Gleitmittel auf das Gewinde der Einstellschraube für den Untermesserträger auf, die in die Einstellerwelle passt.
-
Schrauben Sie die Einstellschraube für den Untermesserträger in die Einstellerwelle.
-
Befestigen Sie die gehärtete Scheibe, Feder und Federspannungsmutter lose auf der Einstellerschraube.
-
Montieren Sie den Untermesserträger. Positionieren Sie die Befestigungsohren zwischen der Druckscheibe und dem Einsteller für den Untermesserträger.
-
Befestigen Sie den Untermesserträger mit den Untermesserträgerschrauben (Muttern an den Schrauben) und den sechs Scheiben an jeder Seitenplatte.
Note: Legen Sie eine Nylonscheibe auf jede Seite des Seitenplattenansatzes.
-
Legen Sie eine Stahlscheibe außen auf jede Nylonscheibe (Bild 37).
-
Ziehen Sie die Schrauben des Untermesserträgers mit 37-45 N·m an.
-
Ziehen Sie die Sicherungsmuttern an, bis sich die Stahlscheibe außen nicht mehr dreht und kein Spiel am Ende vorhanden ist, ziehen Sie jedoch nicht zu stark an oder verbiegen Sie die Seitenplatten.
Note: Die Scheiben innen können einen Abstand aufweisen (Bild 37).
-
Ziehen Sie die Mutter an jedem Untermesserträgereinsteller an, bis die Druckfeder ganz zusammengedrückt ist, lösen Sie die Mutter dann um eine halbe Umdrehung (Bild 37).
-
Wiederholen Sie die Schritte an der anderen Seite der Schneideinheit.
-
Stellen Sie das Untermesser zur Spindel ein, siehe Einstellen des Untermessers auf die Spindel.
Warten der Rolle
Für das Warten der Rolle ist ein Kit zum Überholen der Rolle, Bestellnummer 114-5430 und ein Werkzeugkasten, Bestellnummer 115-0803 (Bild 38) erhältlich. Das Kit zum Überholen der Rolle enthält alle Lager, Lagermuttern, inneren und äußeren Dichtungen, die für eine Überholung der Rolle benötigt werden. Der Werkzeugkasten zum Überholen der Rolle enthält alle Werkzeuge und die Installationsanweisungen, die für eine Überholung der Rollen mit dem Kit zum Überholen der Rollen benötigt werden. Weitere Informationen finden Sie im Ersatzteilkatalog oder wenden Sie sich an den Vertragshändler.



, es bedeutet Vorsicht,
Warnung oder Gefahr – Sicherheitshinweis“. Wenn
diese Hinweise nicht beachtet werden, kann es zu schweren bis tödlichen
Verletzungen kommen.
















