Konserwacja
Note: Określ lewą i prawą stronę maszyny ze standardowego stanowiska operatora.
Uzyskiwanie dostępu do jednostki tnącej
Dostęp do noża dolnego i wrzeciona w celu przeprowadzenia konserwacji można uzyskać następująco:
-
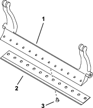
Przy demontażu jednostki tnącej z maszyny tył jednostki tnącej należy podeprzeć w taki sposób, aby nakrętki śrub regulujących na tylnej części listwy noża dolnego nie opierały się na powierzchni roboczej (Rysunek 11).

-
Przy jednostce tnącej zamocowanej na maszynie opuść uchwyt zespołu jezdnego na podłoże (Rysunek 12).

Sprawdzanie punktu smarowania wału napędowego wrzeciona
| Częstotliwość serwisowania | Procedura konserwacji |
|---|---|
| Co rok |
|
-
Odkręć elementy mocujące zespół napędu wrzeciona do płyty bocznej (Rysunek 13).

-
Odkręć nakrętki od wewnętrznej strony płyty (Rysunek 13).
-
Sprawdź ilość smaru pozostałą na wewnętrznej stronie wału napędowego wrzeciona (Rysunek 14).
Jeżeli zauważysz, że smaru jest zbyt mało, nałóż więcej smaru na gniazdo i bolec złącza wielopustowego.

-
Zamocuj zespół napędu wrzeciona do płyty bocznej z wykorzystaniem odkręconych wcześniej śrub imbusowych, podkładek i nakrętek.
-
Zamontuj jednostkę tnącą na zespole jezdnym zgodnie ze wskazówkami zawartymi w Instrukcji obsługi.
Regulacja napięcia paska napędowego wrzeciona
| Częstotliwość serwisowania | Procedura konserwacji |
|---|---|
| Co rok |
|
-
Zdejmij pokrywę z obudowy napędu wrzeciona, odkręcając 4 mocujące ją śruby.
-
Poluzuj śrubę ramienia koła pasowego luźnego i obróć ramię koła pasowego luźnego, aby poluzować pasek.
-
Używając klucza dynamometrycznego, przyłóż siłę od 6 do 7 N∙m do górnej wewnętrznej śruby ramienia koła pasowego luźnego (Rysunek 15).

-
Dokręć śrubę ramienia koła pasowego luźnego, aby je zamocować.
-
Zamontuj pokrywę, używając 4 przeznaczonych do tego śrub.
Regulacja tempa przycinania
Następujące ustawienia maszyny określają tempo przycinania:
-
Prędkość wrzeciona: prędkość wrzeciona można ustawić na szybką lub wolną, patrz instrukcja obsługi zespołu jezdnego.
-
Położenie rolek napędu wrzeciona: rolki napędu wrzeciona (22- i 24‑zębową) można ustawić w dwóch pozycjach:
Note: Fabrycznie rolki są ustawione w położeniu NISKIM.

W celu regulacji położenia rolek wykonaj następujące czynności:
-
Zdejmij pokrywę paska, aby uzyskać do niego dostęp (Rysunek 17).

-
Poluzuj śrubę ramienia koła pasowego luźnego i obróć ramię koła pasowego luźnego (Rysunek 17), aby poluzować pasek.
-
Zdejmij pasek (Rysunek 17).
-
Poluzuj nakrętkę na każdej rolce, zdejmij rolki i za pomocą tych samych nakrętek zamontuj rolki w żądanym ustawieniu.

-
Dokręć nakrętki rolek z momentem od 37 do 45 N∙m
-
Załóż pasek i naciągnij go, dokręcając imbus ramienia koła pasowego luźnego z momentem od 6 do 7 N∙m, jak pokazano na Rysunek 17.
-
Dokręć śrubę ramienia koła pasowego luźnego i zamontuj osłonę paska.
Specyfikacja noża dolnego
Serwisowanie noża dolnego
Aby zapobiec uszkodzeniu wrzeciona, listwy lub noża dolnego, listwa i nóż dolny muszą być serwisowane wyłącznie przez odpowiednio przeszkolonego mechanika. Najlepszym rozwiązaniem jest oddanie zespołu tnącego do serwisowania u autoryzowanego dystrybutora firmy Toro. Kompletne instrukcje, narzędzia specjalne i schematy dotyczące serwisowania noża dolnego można znaleźć w Instrukcji serwisowej do posiadanego zespołu jezdnego. Na wypadek konieczności samodzielnego zdemontowania lub zamontowania listwy noża dolnego poniżej podane są instrukcje oraz opis serwisowania noża dolnego.
Important: Przy serwisowaniu noża dolnego należy zawsze przestrzegać procedur opisanych w Instrukcji serwisowej. Nieprawidłowe zamontowanie lub przeszlifowanie noża dolnego może doprowadzić do uszkodzenia wrzeciona, listwy lub noża dolnego.
Demontaż listwy noża dolnego/noża dolnego
-
Obróć śruby regulacyjne listwy noża dolnego w lewo w celu odsunięcia noża dolnego od wrzeciona (Rysunek 19).

-
Odkręcaj nakrętkę naciągu sprężyny do momentu, gdy podkładka nie będzie już dociśnięta do listwy noża dolnego (Rysunek 19).
-
Poluzuj nakrętki po obu stronach maszyny, pokazane na Rysunek 20.

-
Zdemontuj każdą śrubę listwy noża dolnego, umożliwiając tym samym usunięcie i demontaż noża dolnego z jednostki tnącej (Rysunek 20).
Pozostaw 2 podkładki plastikowe i 1 podkładkę stalową na każdym końcu noża dolnego (Rysunek 20).
-
Zdemontuj nóż dolny z listwy noża dolnego, wykręcając wszystkie mocujące go śruby. Użyj klucza nasadowego z narzędziem do śrub noża dolnego (numer części TOR510880).
Note: Do poluzowania śrub noża dolnego można użyć mechanicznego lub pneumatycznego klucza udarowego.
Note: Wyrzuć nóż dolny i śruby.
Montaż nowego noża dolnego
-
Dobierz nowy nóż dolny zgodnie z Tabele wyboru wysokości koszenia i noża dolnego.
-
Usuń rdzę, osady i korozję z powierzchni listwy noża dolnego i nałóż na nią cienką warstwę oleju.
Important: Nie usuwaj materiału odlewniczego z listwy noża dolnego. Listwa noża dolnego jest konstrukcyjnie wklęsła po środku; nie szlifuj jej.
-
Oczyść gwinty w listwie noża dolnego.
-
Nałóż preparat zapobiegający zapiekaniu na nowy nóż dolny i zamontuj nóż dolny na listwie noża dolnego.
Important: Użyj wyłącznie nowych śrub noża dolnego.
Note: Liczba śrub różni się w zależności od listwy noża dolnego.

-
Dokręć 2 śruby zewnętrzne z momentem 1 N∙m.
-
Postępując od środka noża dolnego, dokręcaj śruby z momentem 25,9 +/- 1,4 N∙m.
Important: Nie dokręcaj śrub noża dolnego za pomocą mechanicznego ani pneumatycznego klucza udarowego.

-
Naostrz nowy nóż dolny; patrz Specyfikacja ostrzenia noża dolnego.
Specyfikacja ostrzenia noża dolnego

| Kąt przyłożenia (góra) dla noża dolnego | Patrz Tabele wyboru wysokości koszenia i noża dolnego. |
| Zakres kąta szlifowania przedniej krawędzi | Od 13° do 17° |
| Kąt przyłożenia dla noża dolnego Fairway | 10° |
Sprawdzanie kąta zeszlifowania górnej krawędzi.
Niezmiernie ważny jest właściwy dobór kąta szlifowania noży dolnych.
Aby sprawdzić kąt uzyskiwany za pomocą danej szlifierki, użyj wskaźnika nachylenia (numer części Toro 131-6828) oraz wspornika wskaźnika nachylenia (numer części Toro 131-6829); w razie potrzeby skoryguj niedokładności ustawienia szlifierki.
-
Umieść wskaźnik nachylenia na dolnej powierzchni noża dolnego w sposób pokazany na Rysunek 24.

-
Naciśnij przycisk Alt Zero (Ustaw zero) na wskaźniku nachylenia.
-
Przyłóż wspornik wskaźnika nachylenia na krawędzi noża dolnego w taki sposób, aby krawędź magnesu zrówna się z krawędzią noża dolnego (Rysunek 25).
Note: Na tym etapie wyświetlacz cyfrowy powinien być widziany z tej samej strony co w kroku 1.

-
Przyłóż wskaźnik nachylenia do wspornika w sposób podany na Rysunek 25.
Note: Wyświetlana wartość to kąt wytwarzany przez daną szlifierkę, powinien on różnić się od zalecanego kąta szlifowania górnej krawędzi o maksymalnie 2 stopnie.
Montaż zespołu listwy/noża dolnego
-
Zamontuj zespół listwy/noża dolnego, ustawiając ucha mocujące między podkładką a śrubą regulacyjną listwy noża dolnego (Rysunek 26).
Important: Wyśrodkuj regulatory DPA w uchach noża dolnego w sposób pokazany na Rysunek 26.Jeżeli regulatory DPA nie są wyśrodkowane względem uch noża dolnego, może to negatywnie wpływać na kontakt noża dolnego z wrzecionem.

-
Zamocuj listwę noża dolnego do każdej płyty bocznej za pomocą śrub noża dolnego (nakrętki na śrubach) i 3 podkładek (łącznie 6).
-
Załóż po jednej podkładce nylonowej po każdej stronie wypukłości płyty bocznej. Umieść podkładkę stalową na zewnątrz każdej z podkładek nylonowych (Rysunek 27).
-
Dokręć śruby listwy noża dolnego z momentem od 27 do 36 N∙m.
-
Dokręcaj nakrętki zabezpieczające do momentu zlikwidowania luzu na podkładkach stalowych, jednak nie na tyle mocno, żeby nie dało się ich przekręcić ręką. Przy podkładkach po wewnętrznej stronie może być niewielki odstęp.
Important: Nie dokręcaj nakrętek zbyt mocno, gdyż może dojść do wygięcia płyt bocznych.
-
Dokręć nakrętkę regulacyjną naprężenia sprężyny do momentu ściśnięcia sprężyny, a następnie cofnij ją o ½ obrotu (Rysunek 27).

-
Wyreguluj nóż dolny względem bębna, patrz rozdział Regulacja noża dolnego względem bębna.
Dane techniczne wrzeciona
Przygotowanie wrzeciona do szlifowania
-
Przed szlifowaniem upewnij się, że wszystkie elementy zespołu tnącego są w dobrym stanie i usuń wszelkie usterki.
-
Postępuj zgodnie z instrukcjami producenta szlifierki do wrzecion i przeszlifuj wrzeciono tnące zgodnie z poniższymi parametrami.
Specyfikacja ostrzenia wrzeciona Średnica nowego wrzeciona 128,5 mm Minimalna dopuszczalna średnica zużytego wrzeciona 114,3 mm Kąt przyłożenia ostrza 30° ± 5° Szerokość powierzchni czołowej ostrzaZakres od 0,8 do 1,2 mm Minimalna dopuszczalna różnica średnic po obu stronach wrzeciona 0,25 mm
Szlifowanie profilujące wrzeciona
Nowe wrzeciono ma szerokość powierzchni czołowej od 0,8 mm do 1,2 mm i kąt profilu szlifowania 30°.
Gdy powierzchnia czołowa krawędzi zwiększy się powyżej 3 mm, należy wykonać następujące czynności:
-
Przeprowadź szlifowanie profilujące wszystkich ostrzy wrzeciona pod kątem 30°, aż szerokość powierzchni czołowej wyniesie 0,8 mm.

-
Przeprowadzić szlifowanie obrotowe wrzeciona w celu uzyskania bicia promieniowego na poziomie poniżej 0,025 mm.
Note: Spowoduje to nieznaczne zwiększenie szerokości powierzchni czołowej ostrzy.
-
Wyreguluj zespół tnący, patrz instrukcja obsługi zespołu tnącego.
Note: W celu dłuższego zachowania ostrości krawędzi tnących wrzeciona i noża dolnego należy po szlifowaniu wrzeciona lub noża dolnego ponownie sprawdzić docisk wrzeciona do noża dolnego po skoszeniu dwóch (2) obszarów green i usunąć ewentualne zadziory. Zadziory mogą powodować nieprawidłowy dystans pomiędzy wrzecionem a nożem dolnym skutkujący przyspieszonym zużyciem.
Ostrzenie zespołu tnącego na obrotach wstecznych
W celu naostrzenia jednostki tnącej na obrotach wstecznych użyj zestawu do ostrzenia na obrotach wstecznych (Model 139-4342); zapoznaj się z informacjami zawartymi w Instrukcji montażu zestawu. Skontaktuj się z autoryzowanym dystrybutorem firmy Toro, aby zakupić zestaw.


, który oznacza:
uwaga, ostrzeżenie lub niebezpieczeństwo – instrukcja
dotycząca bezpieczeństwa osobistego. Nieprzestrzeganie
powyższych zasad może doprowadzić do obrażeń
ciała lub śmierci.









