Συντήρηση
Note: Καθορίστε την αριστερή και δεξιά πλευρά του μηχανήματος από την κανονική θέση χειρισμού.
Έλεγχος γρασαρίσματος κυλίνδρου κοπής-άξονα κίνησης
| Περιοδικότητα εργασιών συντήρησης | Διαδικασία συντήρησης |
|---|---|
| Κάθε χρόνο |
|
-
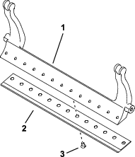
φαιρέστε στα συνδετικά εξαρτήματα που στερεώνουν το συγκρότημα κίνησης του κυλίνδρου κοπής στην πλευρική πλάκα (Σχήμα 12).

-
φαιρέστε το συγκρότημα κίνησης του κυλίνδρου κοπής, τις επίπεδες ροδέλες, τις ροδέλες ασφαλείας και τους αποστάτες από την πλευρική πλάκα (Σχήμα 12).
-
Ελέγξτε το εσωτερικό του άξονα κίνησης του κυλίνδρου κοπής (Σχήμα 13) για την ύπαρξη γράσου.
Εάν η ποσότητα του γράσου δεν είναι επαρκής, τότε προσθέστε γράσο στο αρσενικό και θηλυκό πολύσφηνο του άξονα.

-
Χρησιμοποιήστε τις βίδες άλλεν, τις ροδέλες και τους αποστάτες που αφαιρέσατε προηγουμένως για να στερεώσετε το συγκρότημα κίνησης του κυλίνδρου κοπής στην πλευρική πλάκα.
-
Εγκαταστήστε τη μονάδα κοπής στον ελκυστήρα· ανατρέξτε στο Εγχειρίδιο Χειριστή του ελκυστήρα.
Προσαρμογή τάνυσης του ιμάντα κίνησης του κυλίνδρου κοπής
| Περιοδικότητα εργασιών συντήρησης | Διαδικασία συντήρησης |
|---|---|
| Κάθε χρόνο |
|
-
φαιρέστε το κάλυμμα του περιβλήματος του συγκροτήματος κίνησης του κυλίνδρου κοπής, αφαιρώντας τις 3 βίδες που το συγκρατούν.
-
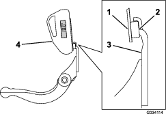
Ξεσφίξτε το μπουλόνι του βραχίονα της ελεύθερης τροχαλίας και περιστρέψτε τον βραχίονα για να χαλαρώσετε τον ιμάντα.
-
Χρησιμοποιώντας μηχανικό ροπόκλειδο εφαρμόστε ροπή 6 έως 7 N∙m στην επάνω εσωτερική βίδα του βραχίονα της ελεύθερης τροχαλίας (Σχήμα 14).

-
Σφίξτε το μπουλόνι του βραχίονα της ελεύθερης τροχαλίας για να τον στερεώσετε.
-
Τοποθετήστε το κάλυμμα χρησιμοποιώντας τις 3 αντίστοιχες βίδες.
Ρύθμιση του ρυθμού κοπής
Ο ρυθμός κοπής καθορίζεται από τις εξής ρυθμίσεις του μηχανήματος:
-
Ταχύτητα κυλίνδρου κοπής: Μπορείτε να επιλέξετε υψηλή ή χαμηλή ταχύτητα κυλίνδρου κοπής· ανατρέξτε στο Εγχειρίδιο Χειριστή του ελκυστήρα σας.
-
Θέση τροχαλίας κίνησης κυλίνδρου κοπής: Οι τροχαλίες κίνησης του κυλίνδρου κοπής (με 22 και 24 δόντια) ρυθμίζονται σε 2 θέσεις:
Note: πό το εργοστάσιο η τροχαλία είναι ρυθμισμένη στη Χαμηλή θέση.

Για να ρυθμίσετε τη θέση των τροχαλιών, ακολουθήστε τα παρακάτω βήματα:
-
φαιρέστε το κάλυμμα του ιμάντα για να εμφανιστεί ο ιμάντας (Σχήμα 16).

-
Ξεσφίξτε το μπουλόνι του βραχίονα της ελεύθερης τροχαλίας και περιστρέψτε τον (Σχήμα 16) για να χαλαρώσετε τον ιμάντα.
-
φαιρέστε τον ιμάντα (Σχήμα 16).
-
Ξεσφίξτε το παξιμάδι κάθε τροχαλίας, αφαιρέστε τες και χρησιμοποιήστε τα παξιμάδια για να τις τοποθετήσετε με τη διαμόρφωση που θέλετε.

-
Σφίξτε τα παξιμάδια των τροχαλιών με ροπή 37 έως 45 N∙m.
-
Εγκαταστήστε τον ιμάντα και τεντώστε τον εφαρμόζοντας ροπή 6 έως 7 N∙m στο εσωτερικό εξάγωνο του βραχίονα της ελεύθερης τροχαλίας που φαίνεται στο Σχήμα 16.
-
Σφίξτε το μπουλόνι του βραχίονα της ελεύθερης τροχαλίας και τοποθετήστε το κάλυμμα του ιμάντα.
Ρύθμιση του προστατευτικού καλύμματος γρασιδιού
Ρυθμίστε το προστατευτικό κάλυμμα γρασιδιού έτσι ώστε να εξασφαλίσετε την απόρριψη του κομμένου γρασιδιού μακριά από την περιοχή του κυλίνδρου κοπής, ως εξής:
Note: Το προστατευτικό κάλυμμα ρυθμίζεται για να αντισταθμίζει τυχόν αλλαγές στις συνθήκες του χλοοτάπητα. Εάν το γρασίδι είναι στεγνό, τότε μετακινήστε το προστατευτικό κάλυμμα πιο κοντά στον κύλινδρο κοπής. ντίστοιχα, εάν το γρασίδι είναι υγρό μετακινήστε το προστατευτικό κάλυμμα πιο μακριά από τον κύλινδρο κοπής. Για να εξασφαλίσετε τη βέλτιστη απόδοση, το προστατευτικό κάλυμμα πρέπει να είναι παράλληλο με τον κύλινδρο κοπής. Ρυθμίστε το αφού ακονίσετε τον κύλινδρο κοπής με το αντίστοιχο εργαλείο.
-
Ξεσφίξτε τις βίδες που συγκρατούν το προστατευτικό κάλυμμα γρασιδιού (Σχήμα 18) στη μονάδα κοπής.

-
Τοποθετήστε μια λεπίδα φίλερ πάχους 1,5 mm (0,060") μεταξύ της άνω πλευράς του κυλίνδρου κοπής και του προστατευτικού καλύμματος και έπειτα σφίξτε τις βίδες.
Important: εβαιωθείτε ότι το προστατευτικό κάλυμμα και ο κύλινδρος κοπής απέχουν ομοιόμορφα σε όλο το μήκος του κυλίνδρου κοπής.
Note: Ρυθμίστε το κενό με τον κατάλληλο τρόπο για τις συνθήκες του χλοοτάπητά σας.
Προδιαγραφές μαχαιριού κλίνης
Σέρβις του μαχαιριού κλίνης
Για να αποφύγετε την πρόκληση βλάβης στον κύλινδρο κοπής, την μπάρα κλίνης και το μαχαίρι κλίνης, μόνο κατάλληλα εκπαιδευμένοι τεχνικοί πρέπει να κάνουν σέρβις στην μπάρα και το μαχαίρι κλίνης. Η ιδανική λύση για το σέρβις της μονάδας κοπής είναι να την μεταφέρετε σε έναν εξουσιοδοτημένο διανομέα Toro. νατρέξτε στο Εγχειρίδιο σέρβις του ελκυστήρα σας για πλήρεις οδηγίες, ειδικά εργαλεία και διαγράμματα που χρειάζονται για το σέρβις του μαχαιριού κλίνης. Παρακάτω δίνονται οδηγίες, αν ποτέ χρειαστεί να αφαιρέσετε ή να συναρμολογήσετε μόνοι σας τη μπάρα κλίνης, καθώς και οι προδιαγραφές για το σέρβις του μαχαιριού κλίνης.
Important: Όταν κάνετε σέρβις στο μαχαίρι κλίνης να ακολουθείτε πάντα τις διαδικασίες που αναφέρονται στο Εγχειρίδιο σέρβις. Η λανθασμένη εγκατάσταση και ακόνισμα του μαχαιριού κλίνης μπορεί να οδηγήσει σε βλάβη του κυλίνδρου κοπής, της μπάρας κλίνης ή του μαχαιριού κλίνης.
φαίρεση της μπάρας κλίνης/του συγκροτήματος του μαχαιριού κλίνης
-
Στρίψτε αριστερόστροφα τη βίδα ρύθμισης της μπάρας κλίνης για να απομακρύνετε το μαχαίρι κλίνης από τον κύλινδρο κοπής (Σχήμα 19).

-
Ξεβιδώστε το παξιμάδι τάνυσης ελατηρίου μέχρι η ροδέλα να μην εφαρμόζει με πίεση στην μπάρα κλίνης (Σχήμα 19).
-
Σε κάθε πλευρά ξεσφίξτε το παξιμάδι ασφάλισης που φαίνεται στο Σχήμα 20.

-
φαιρέστε κάθε μπουλόνι της μπάρας κλίνης ώστε να μπορείτε να την τραβήξετε προς τα κάτω και να την αφαιρέσετε από τη μονάδα κοπής (Σχήμα 20).
Προσέξτε τις 2 ροδέλες από χάλυβα και τη 1 πλαστική ροδέλα που υπάρχουν σε κάθε άκρο της μπάρας κλίνης (Σχήμα 20).
-
φαιρέστε το μαχαίρι κλίνης από την μπάρα κλίνης, αφαιρώντας όλες τις βίδες που το συγκρατούν. Χρησιμοποιήστε μια καστάνια με το εργαλείο βιδώματος μαχαιριού κλίνης (κωδ. εξαρτήματος TOR510880).
Note: Μπορείτε να χρησιμοποιήσετε μηχανικό ή πνευματικό μπουλονόκλειδο για να ξεσφίξετε τις βίδες του μαχαιριού κλίνης.
Note: πορρίψτε το μαχαίρι κλίνης και τις βίδες.
Εγκατάσταση του νέου μαχαιριού κλίνης
-
Επιλέξτε ένα νέο μαχαίρι κλίνης σύμφωνα με τους Πίνακες επιλογής ύψους κοπής και μαχαιριών κλίνης
-
πομακρύνετε τυχόν σκουριά ή ίχνη οξείδωσης ή διάβρωσης από την επιφάνεια της μπάρας κλίνης και εφαρμόστε μια λεπτή στρώση λαδιού στην επιφάνεια.
Important: Μην αφαιρείτε το υλικό χύτευσης από την μπάρα κλίνης. Η μπάρα κλίνης είναι κοίλη στο μέσο εκ κατασκευής· μην τροχίζετε.
-
Καθαρίστε τα σπειρώματα στην μπάρα κλίνης.
-
Εφαρμόστε αντιμπλοκαριστική ουσία (anti-seize) στις βίδες του νέου μαχαιριού κλίνης και τοποθετήστε το μαχαίρι κλίνης στην μπάρα κλίνης.
Important: Χρησιμοποιήστε μόνο καινούργιες βίδες για το μαχαίρι κλίνης.
Note: Ο αριθμός βιδών διαφέρει ανάλογα με την μπάρα κλίνης.

-
Σφίξτε τις 2 εξωτερικές βίδες με ροπή 1 N∙m.
-
Ξεκινώντας από το κέντρο του μαχαιριού κλίνης, σφίξτε τις βίδες με ροπή 25,9 +/- 1,4 N∙m.
Important: Μη σφίγγετε τις βίδες του μαχαιριού κλίνης με μηχανικό ή πνευματικό μπουλονόκλειδο.

-
Τροχίστε το νέο μαχαίρι κλίνης· ανατρέξτε στην ενότητα Προδιαγραφές τροχίσματος μαχαιριού κλίνης.
Προδιαγραφές τροχίσματος μαχαιριού κλίνης

| Γωνία (άνω) εκτόνωσης μαχαιριού κλίνης | νατρέξτε στην ενότητα Πίνακες επιλογής ύψους κοπής και μαχαιριών κλίνης. |
| Εύρος εμπρός γωνίας | 13° έως 17° |
| Εμπρός γωνία μαχαιριού κλίνης διαδρομής (fairway). | 10° |
Έλεγχος της επάνω γωνίας λείανσης
Η γωνία που χρησιμοποιείτε για τη λείανση των μαχαιριών κλίνης είναι πολύ σημαντική.
Χρησιμοποιήστε τον ενδείκτη γωνίας (κωδ. προϊόντος Toro 131-6828) και το στήριγμα του ενδείκτη γωνίας (κωδ. προϊόντος Toro 131-6829) για να ελέγξετε τη γωνία στην οποία λειτουργεί το εξάρτημα τροχισμού σας και, στη συνέχεια, διορθώστε τυχόν σημεία με μη ακριβή τροχισμό.
-
Τοποθετήστε τον ενδείκτη γωνίας στην κάτω πλευρά του μαχαιριού κλίνης, όπως φαίνεται στο Σχήμα 24.

-
Πατήστε το πλήκτρο Alt Zero του ενδείκτη γωνίας.
-
Τοποθετήστε το στήριγμα του ενδείκτη γωνίας στο άκρο του μαχαιριού κλίνης έτσι ώστε το άκρο του μαγνήτη να εφάπτεται στο άκρο του μαχαιριού κλίνης (Σχήμα 25).
Note: Σε αυτό το βήμα, η ψηφιακή ένδειξη θα πρέπει να είναι ορατή από την ίδια πλευρά όπως και στο βήμα 1.

-
Τοποθετήστε τον ενδείκτη γωνίας στο στήριγμα όπως φαίνεται στο Σχήμα 25.
Note: Πρόκειται για τη γωνία στην οποία λειτουργεί το εξάρτημα τροχισμού σας, και θα πρέπει να είναι εντός 2 μοιρών από τη συνιστώμενη επάνω γωνία λείανσης.
Εγκατάσταση της μπάρας κλίνης/του συγκροτήματος του μαχαιριού κλίνης
-
Εγκαταστήστε την μπάρα κλίνης/το συγκρότημα του μαχαιριού κλίνης, τοποθετώντας τα αυτιά στερέωσης μεταξύ των ροδελών και της βίδας ρύθμισης της μπάρας κλίνης (Σχήμα 19).
Important: Κεντράρετε τους ρυθμιστές DPA μέσα στα αυτιά της μπάρας κλίνης, όπως φαίνεται στο Σχήμα 26.Εάν οι ρυθμιστές DPA τοποθετηθούν κόντρα στα αυτιά της μπάρας κλίνης, μπορεί να επηρεαστεί αρνητικά η επαφή μαχαιριού κλίνης - κυλίνδρου κοπής.

-
Στερεώστε την μπάρα κλίνης σε κάθε πλευρική πλάκα με τα μπουλόνια μπάρας κλίνης (με τα παξιμάδια πάνω στα μπουλόνια) και τις 3 ροδέλες (6 συνολικά).
-
Τοποθετήστε μία ροδέλα με νάιλον σε κάθε πλευρά της πλήμνης της πλευρικής πλάκας. Τοποθετήστε μία ροδέλα από χάλυβα στην εξωτερική πλευρά κάθε ροδέλας με νάιλον (Σχήμα 27).
-
Σφίξτε τα μπουλόνια της μπάρας κλίνης με ροπή 27 έως 36 N∙m.
-
Σφίξτε τα παξιμάδια ασφάλισης μέχρι να μηδενιστεί ο τζόγος στις ροδέλες από χάλυβα αλλά να μπορείτε να τα στρίψετε με το χέρι. Οι εσωτερικές ροδέλες μπορεί να έχουν τζόγο.
Important: Μη σφίξετε υπερβολικά τα παξιμάδια ασφάλισης, διαφορετικά μπορεί να παραμορφωθούν οι πλευρικές πλάκες.
-
Σφίξτε το παξιμάδι τάνυσης ελατηρίου μέχρι το ελατήριο να συμπτυχθεί και, στη συνέχεια, ξεσφίξτε το κατά μισή στροφή (Σχήμα 27).

-
Ρυθμίστε το μαχαίρι κλίνης στον κύλινδρο κοπής· ανατρέξτε στην ενότητα Ρύθμιση του μαχαιριού κλίνης στον κύλινδρο κοπής.
Προδιαγραφές κυλίνδρου κοπής
Προετοιμασία του κυλίνδρου κοπής για τρόχισμα
-
Πριν το τρόχισμα, βεβαιωθείτε ότι όλα τα εξαρτήματα της μονάδας κοπής βρίσκονται σε καλή κατάσταση και διορθώστε τυχόν προβλήματα.
-
κολουθήστε τος οδηγίες του κατασκευαστή του εργαλείου τροχίσματος για να τροχίσετε τον κύλινδρο κοπής στις παρακάτω προδιαγραφές.
Προδιαγραφές τροχίσματος κυλίνδρου κοπής Διάμετρος καινούριου κυλίνδρου κοπής 128,5 mm (5,06") Όριο διαμέτρου κυλίνδρου κοπής 114,3 mm (4,50") Γωνία εκτόνωσης λεπίδας 30° ± 5° Πλάτος επιφάνειας λεπίδας 0,8 έως 1,2 mm (0,03" έως 0,05") Όριο ωφέλιμης απόκλισης κυλίνδρου κοπής 0,25 mm (0,010")
Λείανση του κυλίνδρου κοπής
Ένας καινούριος κύλινδρος κοπής έχει πλάτος πρόσοψης από 1,3 έως 1,5 mm (0,030" έως 0,050") και γωνία εκτόνωσης 30°.
Όταν το πλάτος επιφάνειας ξεπεράσει τα 3 mm (0,120"), εκτελέστε τις ακόλουθες ενέργειες:
-
Τροχίστε όλες τις λεπίδες του κυλίνδρου κοπής με γωνία εκτόνωσης 30° μέχρι το πλάτος επιφάνειας να γίνει ίσο με 0,8 mm (0,03").Σχήμα 28

-
Τροχίστε με περιστροφή τον κύλινδρο κοπής ώστε να επιτευχθεί απόκλιση <0,025mm (0,001") του κυλίνδρου κοπής.
Note: υτό προκαλεί ελαφριά αύξηση του πλάτους επιφάνειας.
-
Ρυθμίστε τη μονάδα κοπής· ανατρέξτε στο Εγχειρίδιο Χειριστή του ελκυστήρα σας.
Note: Για να παρατείνετε τη διάρκεια αιχμηρότητας του χείλους του κυλίνδρου κοπής και του μαχαιριού κλίνης —μετά το τρόχισμα του κυλίνδρου κοπής ή/και του μαχαιριού κλίνης— ελέγξτε ξανά την επαφή κυλίνδρου - μαχαιριού κλίνης αφού προχωρήσετε σε κοπή 2 λωρίδων, και αφαιρέσετε τις εγκοπές. Οι εγκοπές μπορεί να προκαλέσουν λανθασμένο διάκενο μεταξύ κυλίνδρου κοπής και μαχαιριού κλίνης και να επιταχυνθεί η φθορά.
νάστροφη κίνηση της μονάδας κοπής
Για ανάστροφη κίνηση της μονάδας κοπής, χρησιμοποιήστε το Κιτ πρόσβασης ανάστροφης κίνησης (κωδ. μοντέλου 139-4342) ή το Κιτ ανάστροφης κίνησης (κωδ. μοντέλου 04800)· ανατρέξτε στις οδηγίες χειρισμού που υπάρχουν στις Οδηγίες εγκατάστασης του κιτ. Για να προμηθευτείτε κάποιο από τα συγκεκριμένα κιτ επικοινωνήστε με τον εξουσιοδοτημένο αντιπρόσωπο της Toro.


, το οποίο
συνοδεύει οδηγίες
για την προσωπική ασφάλεια
με τις ενδείξεις
Προσοχή, Προειδοποίηση
ή Κίνδυνος. Η μη
συμμόρφωση με αυτές
τις οδηγίες μπορεί
να προκαλέσει
σωματικές βλάβες
ή θάνατο.








