Bakım
Note: Makinenin sağ ve sol taraflarını, normal çalışma konumuna göre belirleyin.
Kesim Ünitesine Erişim
Bakım için alt bıçak ve silindire şöyle erişebilirsiniz:
Silindir Tahrik Mili Gres Noktasının Kontrol Edilmesi
| Bakım Servisi Aralıkları | Bakım Prosedürü |
|---|---|
| Yıllık |
|
-
Silindir tahrik grubunu yan plakaya sabitleyen donanımı sökün (Şekil 13).

-
Yan plakanın iç kısmındaki somunları sökün (Şekil 13).
-
Silindir tahrik milinin iç kısmında kalan gres miktarını kontrol edin (Şekil 14).
Yeterli miktarda gres görmüyorsanız, erkek ve dişi kamalı mile gres ekleyin.

-
Daha önce söktüğünüz düz başlı vida ve somunları kullanarak silindir tahrik grubunu yan plakaya sabitleyin.
-
Kesim ünitesini çekiş ünitesine takın; bkz. çekiş ünitesi Kullanım Kılavuzu.
Silindir Tahrik Kayışı Gerginliğinin Ayarlanması
| Bakım Servisi Aralıkları | Bakım Prosedürü |
|---|---|
| Yıllık |
|
-
Kapağı yerinde tutan 4 vidayı sökün ve kapağı silindir tahrik muhafazasından çıkarın.
-
Avara kolu cıvatasını gevşetin ve kayışın gerginliğini almak için avara kolunu döndürün.
-
Kiriş tipi bir tork anahtarı kullanarak, üst avara kolu iç vidasına (Şekil 15) 6 ila 7 N∙m kuvvet uygulayın.

-
Avara kolu cıvatasını sıkarak avara kolunu sabitleyin.
-
Kapağı, uygun 4 vida ile takın.
Kırpma Oranının Ayarlanması
Kırpma oranı şu makine ayarlarına göre belirlenir:
-
Silindir hızı: Silindir hızı yüksek veya düşük bir değere ayarlanabilir; bkz. çekiş ünitesi Kullanım Kılavuzu.
-
Silindir tahrik kasnağı konumu: Silindir tahrik kasnakları (22 dişli ve 24 dişli) 2 konuma ayarlanabilir:
Note: Kasnak konumu fabrikada ALçAK konum olarak ayarlanır.

Kasnakların konumunu ayarlamak için şu adımları uygulayın:
-
Kayışı ortaya çıkarmak için kayış kapağını çıkarın (Şekil 17).

-
Avara kolu cıvatasını gevşetin ve avara kolunu (Şekil 17) döndürerek kayışın üzerindeki gergiyi alın.
-
Kayışı yerinden çıkarın (Şekil 17).
-
Her bir kasnağın somununu gevşetin, kasnakları yerinden çıkarın ve somunları kullanarak kasnakları istediğiniz konfigürasyona takın.

-
Kasnak somunlarını 37 ila 45 N·m torkla sıkın.
-
Kayışı takın ve Şekil 17 ile gösterildiği gibi avara kolu iç altıgen cıvatasına 6 ila 7 N∙m kuvvet uygulayarak kayışı gerdirin.
-
Avara kolu cıvatasını sıkın ve kayış kapağını takın.
Alt Bıçak Özellikleri
Alt Bıçağın Bakımı
Silindirin, alt bıçak yatağının veya alt bıçağın hasar görmemesi için, alt bıçağa ve alt bıçak yatağına sadece eğitimli bir teknisyen bakım yapmalıdır. Tercihen, kesim ünitenizi bakım için yetkili Toro distribütörüne götürün. Tüm talimatlar, özel aletler ve alt bıçak bakım şemaları için bkz. çekiş ünitesi Bakım Kılavuzu. Alt bıçak yatağını kendi başınıza sökmeniz gerekirse, alt bıçak bakım talimatlarını da içeren aşağıdaki talimatları uygulayın.
Important: Alt bıçağa bakım yaparken, Bakım Kılavuzunda detaylı olarak açıklanan alt bıçak prosedürlerini mutlaka uygulayın. Alt bıçağın doğru takılmaması ve bileylenmemesi silindire, alt bıçak yatağına veya alt bıçağa hasar verebilir.
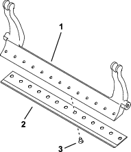
Alt Bıçak Yatağının Çıkarılması/Alt Bıçak Grubu
-
Alt bıçak yatağı ayar vidasını saatin aksi yönünde döndürerek alt bıçağı silindirden uzaklaştırın (Şekil 19).

-
Yay gergisi somununu, rondelanın alt bıçak yatağına karşı gerginliği ortadan kalkana kadar geriye doğru döndürüp çıkarın (Şekil 19).
-
Makinenin her bir tarafında, kilit somununu Şekil 20 şeklinde gösterildiği gibi gevşetin.

-
Alt bıçak yatağının aşağı doğru çekilebilmesini ve kesim ünitesinden çıkarılabilmesini sağlamak için her bir alt bıçak yatağı cıvatasını sökün (Şekil 20).
Alt bıçak yatağının her iki ucundaki 2 plastik rondela ile 1 çelik rondelayı da hesaba katın (Şekil 20).
-
Alt bıçağı yerinde tutan tüm vidaları sökerek alt bıçak yatağından çıkarın. Alt Bıçak Vida Aleti (Parça No. TOR510880) ile bir lokma anahtar kullanın.
Note: Alt bıçak vidalarını gevşetmek için mekanik veya pnömatik darbeli anahtar kullanabilirsiniz.
Note: Alt bıçağı ve vidaları atın.
Yeni Alt Bıçağın Takılması
-
Kesim Yüksekliği ve Alt Bıçak Seçim Tabloları bölümüne bakarak yeni bir alt bıçak seçin.
-
Alt bıçak yatağı yüzeyindeki pas, döküntü ve korozyonu giderin ve alt bıçak yatağı yüzeyine ince bir tabaka yağ sürün.
Important: Alt bıçak yatağından döküm malzemesini çıkarmayın. Alt bıçak yatağının orta kısmı tasarımı gereği içbükeydir; bu kısmı bileylemeyin.
-
Alt bıçak yatağındaki dişleri temizleyin.
-
Yeni alt bıçak vidalarına yağlayıcı madde sürün ve alt bıçağı alt bıçak yatağına takın.
Important: Sadece yeni alt bıçak vidaları kullanın.
Note: Vida miktarı alt bıçak yatağına bağlı olarak değişir.

-
2 dış vidayı 1 N∙m torkla sıkın.
-
Alt bıçağın tam ortasından çalışarak, vidaları 25,9 +/- 1,4 N∙m torkla sıkın.
Important: Alt bıçak vidalarını mekanik veya pnömatik darbeli anahtar kullanarak sıkmayın.

-
Yeni alt bıçağı bileyin; bkz. Alt Bıçak Bileme Özellikleri.
Alt Bıçak Bileme Özellikleri

| Alt bıçak boşluk (üst) açısı | Bkz. Kesim Yüksekliği ve Alt Bıçak Seçim Tabloları. |
| Ön Açı Aralığı | 13° ila 17° |
| Fairway alt bıçak ön açısı | 10° |
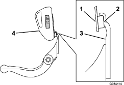
Üst Bileme Açısının Kontrol Edilmesi
Alt bıçaklarınızı bilemek için kullandığınız açı çok önemlidir.
Bileme makinenizin ürettiği açıyı kontrol etmek için açı göstergesini (Toro Parça No. 131-6828) ve açı göstergesi montaj elemanını (Toro Parça No. 131-6829) kullanın ve varsa bileme makinesi hatalarını düzeltin.
-
Açı göstergesini, Şekil 24'de gösterildiği gibi alt bıçağın en alt kısmına yerleştirin.

-
Açı göstergesinde Alt Zero düğmesine basın.
-
Açı göstergesi montaj elemanını, mıknatısın kenarı alt bıçağın kenarıyla eşleşecek biçimde alt bıçağın kenarına yerleştirin (Şekil 25).
Note: Bu adımda, dijital gösterge 1 adımındaki ile aynı taraftan görülebiliyor olmalıdır.

-
Açı göstergesini, Şekil 25'de gösterildiği gibi montaj elemanına yerleştirin.
Note: Bu, bileme makinenizin ürettiği açıdır ve tavsiye edilen üst bileme açısının 2 derece içinde olmalıdır.
Alt Bıçak / Alt Bıçak Yatağı Grubunun Takılması
-
Montaj kulaklarını rondelalar ile alt bıçak yatağı ayar vidasının arasına yerleştirerek alt bıçak / alt bıçak yatağı grubunu takın (Şekil 26).
Important: DPA ayarlayıcılarını, Şekil 26 ile gösterildiği gibi, alt bıçak yatağı kulaklarında ortalayın.DPA ayarlayıcıları alt bıçak yatağı kulaklarının karşısına monte edilirse, bu durum alt bıçak-silindir temasını olumsuz etkileyebilir.

-
Alt bıçak yatağı cıvatalarını (cıvatalardaki somunlarla birlikte) ve 3 rondelayı (toplam 6 adettir) kullanarak alt bıçağı yatağını her bir yan plaka sabitleyin.
-
Yan plaka çıkıntısının her bir tarafına birer naylon rondela yerleştirin. Her bir naylon rondelanın dış kısmına birer adet çelik rondela yerleştirin (Şekil 27).
-
Alt bıçak yatağı cıvatalarını 27 ila 36 N∙m torkla sıkın.
-
Kilit somunlarını, çelik rondelaların uç boşluğunu alana fakat rondelaları elinizle döndüremeyene kadar sıkın. İç kısımdaki rondelalarda bir boşluk olabilir.
Important: Kilit somunlarını aşırı sıkmayın, aksi takdirde yan plakaları deforme edebilirler.
-
Yay gergisi somununu yay çökene kadar sıkın, ardından tekrar 1/2 tur gevşetin (Şekil 27).

-
Alt bıçağı silindire göre ayarlayın; bkz. Alt Bıçağın Silindire Göre Ayarlanması.
Silindir Özellikleri
Silindirin Bileme için Hazırlanması
-
Bileme işleminden önce, tüm kesim ünitesi bileşenlerinin iyi durumda olduğunu kontrol edin ve varsa sorunları giderin.
-
Kesim silindirini aşağıdaki teknik özelliklere göre bilemek için, silindir bileme makinesi üreticisinin talimatlarını uygulayın.
Silindir Bileme Özellikleri Yeni Silindir Çapı 128,5 mm Silindir Çapı Servis Limiti 114,3 mm Bıçak Destek Bilemesi Açısı 30° ± 5° Bıçak Taban Genişliği Aralığı 0,8 ila 1,2 mm Silindir Çapı Konikliği Servis Limiti 0,25 mm
Silindire Destek Bilemesi Yapılması
Yeni silindirin taban genişliği 0,8 ila 1,2 mm, destek bilemesi açısı ise 30° derecedir.
Taban genişliği 3 mm'yi aşınca şunları yapın:
-
Taban genişliği 0,8 mm olana kadar tüm silindir bıçaklarına 30° derece destek bilemesi yapın

-
Silindire, <0,025 mm silindir taşması elde edilecek biçimde dairesel bileme yapın.
Note: Bu, taban genişliğinin biraz artmasına neden olacaktır.
-
Kesim ünitesini ayarlayın; bkz. kesim ünitesi Kullanma Kılavuzu.
Note: Silindir kenarı keskinliğinin ve alt bıçağın ömrünü uzatmak için, silindiri ve/veya alt bıçağı biledikten sonra 2 green kesin ve silindir-alt bıçak temasını tekrar kontrol edin (varsa çapaklar bu şekilde giderilecektir). Çapaklar silindir ile alt bıçak arasındaki mesafeyi bozabilir, bu da aşınmayı hızlandırabilir.
Kesim Ünitesine Ters Bileyleme Yapılması
Kesin ünitesine ters bileyleme yapmak için Access Ters Bileyleme Setini (Model No.: 139-4342) kullanın; setin Montaj Talimatlarında belirtilen talimatlara bakın. Bu seti almak için yetkili Toro distribütörünüze danışın.


çok dikkat edin. Bu talimatlara uyulmaması,
yaralanma veya ölümle sonuçlanabilir.











