Onderhoud
Note: Bepaal vanuit de normale bedieningspositie de linker- en rechterzijde van de machine.
Toegang verkrijgen tot de maai-eenheid
Verkrijg als volgt toegang tot het ondermes en de messenkooi voor onderhoud:
-
Met de maai-eenheid verwijderd van de machine, ondersteunt u de achterkant van de maai-eenheid zodat de moeren op het achtereind van de stelschroeven van de snijbalk niet op het werkvlak rusten (Figuur 11).

-
Met de maai-eenheid bevestigd aan de machine, brengt u de handgreep van de tractie-eenheid naar de grond (Figuur 12).

Het smeerpunt van de messenkooiaandrijfas controleren
| Onderhoudsinterval | Onderhoudsprocedure |
|---|---|
| Jaarlijks |
|
-
Verwijder het bevestigingsmateriaal waarmee de aandrijving van de messenkooi aan de zijplaat is bevestigd (Figuur 13).

-
Verwijder de moeren van de binnenkant van de zijplaat (Figuur 13).
-
Controleer of er nog vet zit aan de binnenkant van de aandrijfas van de messenkooi (Figuur 14).
Als u niet voldoende vet ziet, moet u meer vet toevoegen aan de mannelijke en vrouwelijke sleufas.

-
Gebruik de eerder verwijderde inbusschroeven en moeren om de messenkooiaandrijving te bevestigen aan de zijplaat.
-
Monteer de maai-eenheid aan de tractie-eenheid; raadpleeg de Gebruikershandleiding van uw tractie-eenheid.
Spanning van de drijfriem van de messenkooi afstellen
| Onderhoudsinterval | Onderhoudsprocedure |
|---|---|
| Jaarlijks |
|
-
Verwijder de kap van de behuizing van de messenkooiaandrijving door de 4 schroeven te verwijderen waarmee de kap bevestigd is.
-
Maak de bout van de arm van de spanpoelie los en draai de arm van de spanpoelie om spanning van de riem te nemen.
-
Gebruik een aandrijfbalktype momentsleutel om 6 tot 7 N·m kracht uit te oefenen op de interne schroef van de bovenste arm van de spanpoelie (Figuur 15).

-
Draai de bout van de arm van de spanpoelie vast om de arm van de spanpoelie te bevestigen.
-
Monteer de kap met de 4 bijbehorende schroeven.
De maaisnelheid afstellen
De maaisnelheid wordt bepaald door de volgende machine-instellingen:
-
Messenkooitoerental: Het messenkooitoerental kan worden afgesteld naar een hoge of lage stand; raadpleeg de Gebruikershandleiding van uw tractie-eenheid.
-
Stand aandrijfpoelie van messenkooi: de aandrijfpoelies van messenkooi (met 22 tanden en 24 tanden) hebben 2 standen:
Note: De stand van de poelie is in de fabriek ingesteld op de LAGE stand.

Raadpleeg de volgende stappen om de stand van de poelie aan te passen:
-
Verwijder de kap van de riem om bij de riem te kunnen komen (Figuur 17).

-
Maak de bout van de arm van de spanpoelie los en draai de arm van de spanpoelie (Figuur 17) om spanning van de riem te nemen.
-
Verwijder de riem (Figuur 17).
-
Draai de moeren van de poelies los, verwijder de poelies en monteer deze met behulp van de moeren naargelang de gewenste configuratie.

-
Draai de moeren van de poelie vast met een torsie van 37 tot 45 N·m.
-
Monteer de riem en span de riem door de inbusbout van de arm van de spanpoelie aan te draaien met 6 tot 7 N·m (zie afbeelding Figuur 17).
-
Draai de bout van de arm van de spanpoelie vast en monteer de kap van de riem.
Specificaties van het ondermes
Onderhoud van het ondermes
Om schade aan de messenkooi, snijbalk en het ondermes te voorkomen mag onderhoud aan de snijbalk en het ondermes alleen door een speciaal opgeleide technicus worden uitgevoerd. Het beste is om de maai-eenheid naar een erkende Toro distributeur te brengen voor onderhoud. De Onderhoudshandleiding van uw tractie-eenheid bevat volledige instructie, informatie over speciale gereedschappen en tekeningen voor het onderhoud van het ondermes. Mocht het nodig zijn dat u de snijbalk zelf verwijderd of monteert volg dan de onderstaande aanwijzingen. De specificaties voor het onderhoud van het ondermes zijn daar ook opgenomen.
Important: Volg altijd de aanwijzingen in de Onderhoudshandleiding voor onderhoud van het ondermes. Als het ondermes niet correct wordt gemonteerd of geslepen, kan dit leiden tot schade aan de messenkooi, snijbalk of het ondermes.
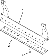
De snijbalk/het ondermes verwijderen
-
Draai de stelschroef van de snijbalk linksom om het ondermes weg te trekken van de messenkooi (Figuur 19).

-
Draai de veerspanningsmoer uit totdat de ring niet meer tegen de snijbalk is geklemd (Figuur 19).
-
Draai de borgmoer getoond in Figuur 20 los aan beide zijden van de machine.

-
Verwijder beide snijbalkbouten zodat de snijbalk omlaag kan worden getrokken en uit de maai-eenheid kan worden verwijderd (Figuur 20).
Bewaar de 2 plastic ringen en de stalen ring op beide uiteinden van de snijbalk (Figuur 20)
-
Verwijder het ondermes van de snijbalk door alle schroeven die het ondermes op zijn plaats houden te verwijderen. Gebruik een dopsleutel en het schroefgereedschap voor het ondermes (onderdeelnr. TOR510880).
Note: U kunt een mechanische of pneumatische slagsleutel gebruiken om de schroeven van het ondermes los te draaien.
Note: Gooi het ondermes en de schroeven weg.
Het nieuwe ondermes monteren
-
Selecteer een nieuw ondermes volgens de Selectieschema’s voor de maaihoogte en het ondermes.
-
Verwijder roest, aanslag en corrosie van het oppervlak van de snijbalk en breng er een laagje olie op aan.
Important: Verwijder geen gietmateriaal van de snijbalk. De snijbalk is in het midden concaaf; niet slijpen.
-
Reinig de schroefdraad in de snijbalk.
-
Breng anti-seizemiddel aan op de schroeven van het nieuwe ondermes en monteer het ondermes op de snijbalk.
Important: Gebruik enkel nieuwe ondermesschroeven.
Note: Het aantal schroeven varieert afhankelijk van de snijbalk.

-
Draai de 2 buitenste schroeven vast met een torsie van 1 N·m.
-
Draai de schroeven vast met een torsie van 25,9 +/- 1,4 N·m; werk van het midden van het ondermes naar buiten toe.
Important: Draai de schroeven van het ondermes niet vast met een mechanische of pneumatische slagsleutel.

-
Slijp het nieuwe ondermes; zie Specificaties voor het slijpen van het ondermes.
Specificaties voor het slijpen van het ondermes

| Vrijloophoek (bovenaan) van ondermes | Zie Selectieschema’s voor de maaihoogte en het ondermes. |
| Bereik van de voorhoek | 13 tot 17° |
| Vrijloophoek, Fairway ondermes | 10° |
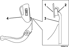
De slijphoek aan de bovenkant controleren
De slijphoek voor de ondermessen is zeer belangrijk.
Gebruik de hoekindicator (Toro onderdeelnummer. 131-6828) en de steun van de hoekindicator (Toro onderdeelnummer. 131-6829) om de hoek die uw slijpmachine produceert te controleren en corrigeer vervolgens de onnauwkeurigheid van de slijpmachine.
-
Plaats de hoekindicator op de onderkant van het ondermes, zoals getoond in Figuur 24.

-
Druk op de Alt Zero knop op de hoekindicator.
-
Plaats de steun van de hoekindicator op de rand van het ondermes zodat de rand van de magneet past op de rand van het ondermes (Figuur 25).
Note: Gedurende deze stap moet de digitale uitlezing zichtbaar zijn van dezelfde kant als in stap 1.

-
Plaats de hoekindicator op de steun zoals getoond in Figuur 25.
Note: Dit is de hoek die uw slijpmachine produceert en deze moet binnen twee graden van de aanbevolen slijphoek aan de bovenkant zijn.
De snijbalk/het ondermes monteren
-
Plaats de snijbalk/het ondermes en zorg ervoor dat de montagelippen zich tussen de onderlegringen en de stelschroef van de snijbalk bevinden (Figuur 26).
Important: Centreer de DPA-verstellers in de oren van de snijbalk zoals getoond in Figuur 26.Als DPA-verstellers tegen de oren van de snijbalk zijn gemonteerd, kan dit het contact tussen het ondermes en de messenkooi negatief beïnvloeden.

-
Zet de snijbalk vast aan beide zijplaten met de snijbalkbouten (moeren op de bouten) en 3 ringen (6 in totaal).
-
Plaats een nylon ring aan elke zijde van de naaf van de zijplaat. Plaats een stalen ring op de buitenkant van beide nylon ringen (Figuur 27).
-
Draai de bouten van de snijbalk vast met een koppel van 27 tot 36 N·m.
-
Draai de borgmoeren vast tot de stalen onderlegringen geen speling meer hebben, maar u ze nog wel met de hand kunt ronddraaien. De ringen aan de binnenkant mogen speelruimte hebben.
Important: Draai de borgmoeren niet te hard aan, anders kunnen de zijplaten vervormen.
-
Draai de veerspanningsmoer vast totdat de veer is ingedrukt; draai deze vervolgens een 1/2 slag terug (Figuur 27).

-
Stel het contact tussen ondermes en messenkooi af; zie Contact tussen ondermes en messenkooi afstellen.
Specificaties van de messenkooi
De messenkooi voorbereiden om te slijpen
-
Zorg ervoor dat alle onderdelen van de maai-eenheid in goede staat zijn en herstel problemen voordat u gaat slijpen.
-
Volg de instructies van de fabrikant van de messenkooislijper om de messenkooi te slijpen volgens de volgende specificaties.
Specificaties voor het slijpen van de messenkooi Nieuwe diameter messenkooi 128,5 mm Onderhoudslimiet diameter messenkooi 114,3 mm Vrijloophoek van mes 30° ± 5° Bereik van breedte mesvlak 0,8 tot 1,2 mm Onderhoudslimiet versmalling diameter messenkooi 0,25 mm
Hoekslijpen van de messenkooi
De nieuwe messenkooi heeft een platte zijkant van 0,8 tot 1,2 mm en een hoek van 30 graden.
Wanneer de platte zijkant groter dan 3 mm wordt, doe dan het volgende:
-
Slijp alle messen onder een hoek van 30 graden tot de platte zijkant 0,8 mm breed is.

-
Draaislijp de messenkooi tot de onregelmatigheid van de messen niet meer dan 0,025 mm bedraagt.
Note: Hierdoor wordt de platte zijkant een beetje groter.
-
Stel de maai-eenheid in; raadpleeg de Gebruikershandleiding van uw maai-eenheid.
Note: Om de messenkooi en het ondermes langer scherp te houden – na het slijpen van de messenkooi en/of het ondermes – controleert u het contact tussen de messenkooi en het ondermes opnieuw nadat u 2 greens gemaaid hebt; bramen zullen immers worden verwijderd. Bramen kunnen onjuiste speling tussen de messenkooi en het ondermes tot gevolg hebben, wat de slijtage kan versnellen.
Wetten van het maaidek
Gebruik de Toegangswetset (modelnr. 139-4342); raadpleeg de bedieningsinstructies in de Montage-instructies van de set. Neem contact op met uw erkende Toro verdeler om deze set aan te schaffen.


te letten, dat betekent Voorzichtig, Waarschuwing
of Gevaar – instructie voor persoonlijke veiligheid. Niet-naleving
van deze instructies kan leiden tot lichamelijk of dodelijk letsel.









