Vedligeholdelse
Note: Maskinens venstre og højre side er som set fra den normale betjeningsposition.
Understøttelse af klippeenheden
Når det er nødvendigt at vippe klippeenheden, så bundkniven/knivcylinderen kommer til syne, skal bagenden af klippeenheden understøttes for at sikre, at møtrikkerne på den bageste del af bundtværstangens justeringsbolte ikke hviler på arbejdsfladen (Figur 16).

Specifikationer for bundkniven
Serviceeftersyn af bundkniven
Bundtværstangen og bundkniven må kun efterses af en korrekt uddannet mekaniker for at forhindre beskadigelse af knivcylinderen, bundtværstangen eller bundkniven. Ideelt set bør du få klippeenheden efterset hos en autoriseret Toro-forhandler. Du kan finde de fuldstændige anvisninger, oplysninger om særlige redskaber og diagrammer vedrørende serviceeftersyn af bundtværstangen i servicevejledningen for din traktionsenhed. Hvis du på et tidspunkt får brug for selv at fjerne eller montere bundtværstangen, er der anvisninger og specifikationer vedrørende serviceeftersyn af bundkniven herunder.
Important: Følg altid procedurerne for bundkniven, der er beskrevet i servicevejledningen, når du efterser bundkniven. Hvis bundkniven ikke monteres og slibes på korrekt vis, kan det beskadige knivcylinderen, bundtværstangen eller bundkniven.
Afmontering af bundtværstangs-/bundknivsmodul
-
Drej bundtværstangens justeringsskrue mod uret for at føre bundkniven væk fra knivcylinderen (Figur 17).

-
Før fjederspændingsmøtrikken bagud, indtil spændeskiven ikke længere sidder stramt mod bundtværstangen (Figur 17).
-
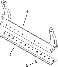
Løsn den låsemøtrik, som fastgør bundtværstangens bolt, på hver side af maskinen (Figur 18).

-
Afmonter bundtværstangens bolte, så bundtværstangen kan trækkes nedad og fjernes fra klippeenheden (Figur 18).
Der skal være to nylonspændeskiver og en stålspændeskive på hver ende af bundtværstangen (Figur 19).

-
Fjern bundkniven fra bundtværstangen ved at fjerne alle skruer, der holder den på plads. Brug en topnøgle med bundknivskrueværktøjet (delnr. TOR510880).
Note: Du kan bruge en mekanisk eller trykluftsslagnøgle til at løsne bundknivsskruerne.
Note: Kassér bundkniven og skruerne.
Montering af den nye bundkniv
-
Vælg en ny bundkniv iht. Skemaer til valg af klippehøjde og bundkniv.
-
Fjern rust, afskallet materiale og korrosion fra bundtværstangens overflade, og påfør et tyndt lag olie på bundtværstangens overflade.
Important: Fjern ikke støbemateriale fra bundtværstangen. Bundtværstangen er udformet konkav i midten; må ikke slibes.
-
Rengør gevindene i bundtværstangen.
-
Påfør anti-seize-middel på de nye bundknivskruer, og monter bundkniven på bundtværstangen.
Important: Brug kun nye bundknivsskruer.
Note: Mængden af skruer varierer afhængigt af bundtværstangen.

-
Tilspænd de 2 udvendige skruer til et moment på 1 Nm.
-
Start fra midten af bundkniven, og tilspænd skruerne til et moment på 25,9 +/- 1,4 Nm.
Important: Spænd ikke bundknivsskruerne med en mekanisk eller trykluftsslagnøgle.

-
Slib den nye bundkniv; se Specifikationer for slibning af bundkniven.
Specifikationer for slibning af bundkniven

| Bundkniv, frigangsvinkel (top) | Se Skemaer til valg af klippehøjde og bundkniv. |
| Frontvinkels område | 13° til 17° |
| Fairway-bundkniv, frontvinkel | 10° |
Kontrol af slibevinkel for den øverste bundkniv
Vinklen, som du bruger til at slibe bundknivene med, er meget vigtig.
Brug vinkelindikatoren (Toro delnr. 131-6828) og vinkelindikatorbeslaget (Toro delnr. 131-6829) til at kontrollere og eventuelt rette vinklen.
-
Placer vinkelindikator på undersiden af bundkniven som vist i Figur 23.

-
Tryk på Alt Zero-knappen på vinkelindikatoren.
-
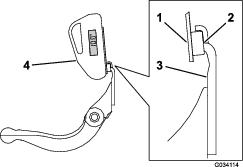
Placer vinkelindikatorbeslaget på kanten af bundkniven, så kanten af magneten er afstemt i forhold til kanten af bundkniven (Figur 24).
Note: Det digitale display skal kunne aflæses fra samme side under dette trin, som i trin 1.

-
Placer vinkelindikatoren på beslaget som vist i Figur 24.
Note: Dette er vinklen, som din slibemaskine producerer, og den bør være inden for 2 grader af den anbefalede slibevinkel for den øverste bundkniv.
Montering af bundtværstangs-/bundknivmodul
-
Monter bundtværstangs-/bundknivmodulet, idet monteringsørerne placeres mellem spændeskiverne og bundtværstangens justeringsskrue (Figur 17).
Important: Centrer DPA-justeringsanordningerne i bundtværstangens ører som vist i Figur 25.Hvis DPA-justeringsanordningerne er monteret mod bundtværstangens ører, kan det have en negativ indvirkning på kontakten mellem bundkniv og knivcylinder.

-
Fastgør bundtværstangen på hver sideplade med bundtværstangens bolte (møtrikker på bolte) og tre skiver (seks i alt).
-
Placer en nylonspændeskive på hver side af sidepladens nav. Anbring en stålspændeskive på ydersiden af hver nylonspændeskive (Figur 19).
-
Tilspænd bundtværstangens bolte til et moment på 27 til 36 Nm.
-
Stram låsemøtrikkerne, indtil endesløret er fjernet fra spændeskiverne af stål, men du stadig kan dreje dem med hånden. Indvendige skiver har muligvis et mellemrum.
Important: Overspænd ikke låsemøtrikkerne, da du risikerer, at de bøjer sidepladerne.
-
Tilspænd fjederspændingsmøtrikken, indtil fjederen er trykket sammen, skru derefter igen møtrikken ud med en halv omgang (Figur 26).

-
Juster bundkniven mod knivcylinderen. Se Justering af bundkniven mod knivcylinderen.
Specifikationer for knivcylinder
Klargøring af knivcylinder til slibning
-
Sørg for, at alle klippeenhedens komponenter er i god stand, og løs eventuelle problemer inden slibning.
-
Følg producenten af cylinderslibemaskinens anvisninger, og slib knivcylinderen til følgende specifikationer.
Specifikationer for knivcylinderslibning Ny knivcylinderdiameter 128,5 mm Knivcylinderdiameterens servicegrænse 114,3 mm Skæreknivens frigangsvinkel 30° ± 5° Skæreknivens gængebreddeOmråde 0,8 til 1,2 mm Servicegrænse for knivcylinderdiameterens konus 0,25 mm
Bagslibning af knivcylinderen
Den nye knivcylinder har en gængebredde på 0,8 til 1,2 mm og en 30 graders bagslibning.
Hvis gængebredden overskrider 3 mm i bredden, skal følgende udføres:
-
Foretag en 30 graders bagslibning på alle knivcylinderens skæreknive, indtil gængebredden er 0,8 mm (Figur 27).

-
Vinkelslib knivcylinderne for at opnå <0,025 mm cylinderudløb.
Note: Dette vil udvide gængebredden en smule.
-
Juster klippeenheden. Se klippeenhedens betjeningsvejledning.
Note: For at forlænge knivcylinderens og bundknivens skarphed – efter slibning af knivcylinderen og/eller bundkniven – skal du efterse knivcylinderens kontakt med bundkniven igen efter klipning af 2 greens, eftersom eventuelle grater fjernes. Grater kan forårsage forkert afstand mellem knivcylinder og bundkniv, hvilket kan fremskynde nedslidningen.
Baglapning af klippeenheden
Fare
Berøring af knivcylinderen eller andre bevægelige dele kan medføre personskader.
Hold fingre, hænder og beklædningsgenstande væk fra knivcylindrene eller andre bevægelige dele.
-
Hold afstand til knivcylinderen under baglapningen.
-
Der må under ingen omstændigheder bruges en kortskaftet børste til baglapning. Langskaftede børster kan fås hos din lokale autoriserede Toro-forhandler.
-
Placer maskinen på en ren, plan flade, sænk klippeenhederne, stop motoren, aktiver parkeringsbremsen, og tag nøglen ud af tændingen.
-
Fjern cylindermotorerne fra klippeenhederne, kobl klippeenhederne fra løftearmene, og fjern dem.
-
Slut baglapningsmaskinen til klippeenheden ved at indsætte en kvadratisk blok på 9,5 mm i notkoblingen i klippeenhedens ende.
Note: Der findes yderligere instruktioner om og fremgangsmåder for baglapning i betjeningsvejledningen til din traktionsenhed og Toro-manualen vedr. slibning af knivcylindere og rotorplæneklippere, formularnr. 80-300PT.
Note: For at få et bedre skær skal der føres en fil hen over forsiden af bundkniven og knivcylinderen, når baglapningen er afsluttet. Derved fjernes eventuel grat eller ru kanter, som kan være blevet dannet på skæret.
Serviceeftersyn af rullen
Til service af rullen fås sæt til genmontering af rullen (delnr. 140-5552) og værktøjssæt til genmontering af rullen (delnr. 140-5553) (Figur 28). Sættet til genmontering af rullen indeholder lejer, lejemøtrikker, indvendige og udvendige pakninger til genmontering af en rulle. Værktøjssættet til genmontering af rullen indeholder alt det værktøj og alle de monteringsvejledninger, der er nødvendige til genmontering af rullen med sættet. Se reservedelskataloget, eller kontakt din autoriserede Toro-forhandler, hvis du har brug for hjælp.



, der betyder Forsigtig,
Advarsel eller Fare – personlig sikkerhedsanvisning, for at
nedsætte risikoen for personskade. Hvis disse forskrifter ikke
følges, kan det medføre personskade eller død.













