Onderhoud
Note: Bepaal vanuit de normale bedieningspositie de linker- en rechterzijde van de machine.
Ondersteunen van het maaidek
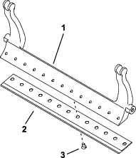
Als u de maai-eenheid moet kantelen om bij het ondermes/de messenkooi te kunnen komen, moet u de achterkant van de maai-eenheid ondersteunen zodat de moeren op het achtereind van de stelbouten van de snijbalk niet op het werkvlak rusten (Figuur 16).

Specificaties van het ondermes
Onderhoud van het ondermes
Om schade aan de messenkooi, snijbalk en het ondermes te voorkomen mag onderhoud aan de snijbalk en het ondermes alleen door een speciaal opgeleide technicus worden uitgevoerd. Het beste is om de maai-eenheid naar een erkende Toro distributeur te brengen voor onderhoud. De Onderhoudshandleiding van uw tractie-eenheid bevat volledige instructie, informatie over speciale gereedschappen en tekeningen voor het onderhoud van het ondermes. Mocht het nodig zijn dat u de snijbalk zelf verwijderd of monteert volg dan de onderstaande aanwijzingen. De specificaties voor het onderhoud van het ondermes zijn daar ook opgenomen.
Important: Volg altijd de aanwijzingen in de Onderhoudshandleiding voor onderhoud van het ondermes. Als het ondermes niet goed wordt gemonteerd en geslepen kan dit leiden tot schade aan de messenkooi, snijbalk of snijplaat.
De snijbalk/het ondermes verwijderen
-
Draai de stelschroef van de snijbalk linksom om de snijbalk weg te trekken van de messenkooi (Figuur 17).

-
Draai de veerspanningsmoer uit totdat de ring niet meer tegen de snijbalk is geklemd (Figuur 17).
-
Draai de borgmoer van de snijbalkbout op beide zijden van de machine los (Figuur 18).

-
Verwijder beide snijbalkbouten zodat de snijbalk omlaag kan worden getrokken en uit de machine worden verwijderd (Figuur 18).
Bewaar de 2 nylon ringen en de stalen ring op beide uiteinden van het ondermes (Figuur 19).

-
Verwijder het ondermes van de snijbalk door alle schroeven die het ondermes op zijn plaats houden te verwijderen. Gebruik een dopsleutel en het schroefgereedschap voor het ondermes (onderdeelnr. TOR510880).
Note: U kunt een mechanische of pneumatische slagsleutel gebruiken om de schroeven van het ondermes los te draaien.
Note: Gooi het ondermes en de schroeven weg.
Het nieuwe ondermes monteren
-
Selecteer een nieuw ondermes volgens de Selectieschema’s voor de maaihoogte en het ondermes.
-
Verwijder roest, aanslag en corrosie van het oppervlak van de snijbalk en breng er een laagje olie op aan.
Important: Verwijder geen gietmateriaal van de snijbalk. De snijbalk is in het midden concaaf; niet slijpen.
-
Reinig de schroefdraad in de snijbalk.
-
Breng anti-seizemiddel aan op de schroeven van het nieuwe ondermes en monteer het ondermes op de snijbalk.
Important: Gebruik enkel nieuwe ondermesschroeven.
Note: Het aantal schroeven varieert afhankelijk van de snijbalk.

-
Draai de 2 buitenste schroeven vast met een torsie van 1 N·m.
-
Draai de schroeven vast met een torsie van 25,9 +/- 1,4 N·m; werk van het midden van het ondermes naar buiten toe.
Important: Draai de schroeven van het ondermes niet vast met een mechanische of pneumatische slagsleutel.

-
Slijp het nieuwe ondermes; zie Specificaties voor het slijpen van het ondermes.
Specificaties voor het slijpen van het ondermes

| Vrijloophoek (bovenaan) van ondermes | Zie Selectieschema’s voor de maaihoogte en het ondermes. |
| Bereik van de voorhoek | 13 tot 17° |
| Vrijloophoek, Fairway ondermes | 10° |
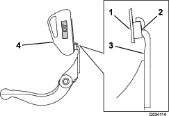
De slijphoek aan de bovenkant controleren
De slijphoek voor de ondermessen is zeer belangrijk.
Gebruik de hoekindicator (Toro onderdeelnummer. 131-6828) en de steun van de hoekindicator (Toro onderdeelnummer. 131-6829) om de hoek die uw slijpmachine produceert te controleren en corrigeer vervolgens de onnauwkeurigheid van de slijpmachine.
-
Plaats de hoekindicator op de onderkant van het ondermes, zoals getoond in Figuur 23.

-
Druk op de Alt Zero knop op de hoekindicator.
-
Plaats de steun van de hoekindicator op de rand van het ondermes zodat de rand van de magneet past op de rand van het ondermes (Figuur 24).
Note: Gedurende deze stap moet de digitale uitlezing zichtbaar zijn van dezelfde kant als in stap 1.

-
Plaats de hoekindicator op de steun zoals getoond in Figuur 24.
Note: Dit is de hoek die uw slijpmachine produceert en deze moet binnen twee graden van de aanbevolen slijphoek aan de bovenkant zijn.
De snijbalk/het ondermes monteren
-
Plaats de snijbalk/het ondermes en zorg ervoor dat de montagelippen zich tussen de onderlegringen en de stelschroef van de snijbalk bevinden (Figuur 17).
Important: Centreer de DPA-verstellers in de oren van de snijbalk zoals getoond in Figuur 25.Als DPA-verstellers tegen de oren van de snijbalk zijn gemonteerd, kan dit het contact tussen het ondermes en de messenkooi negatief beïnvloeden.

-
Zet de snijbalk vast aan beide zijplaten met de snijbalkbouten (moeren op de bouten) en 3 ringen (6 in totaal).
-
Plaats een nylon ring aan elke zijde van de naaf van de zijplaat. Plaats een stalen ring op de buitenkant van beide nylon ringen (Figuur 19).
-
Draai de bouten van de snijbalk vast met een koppel van 27 tot 36 N·m.
-
Draai de borgmoeren vast tot de stalen onderlegringen geen speling meer hebben, maar u ze nog wel met de hand kunt ronddraaien. De ringen aan de binnenkant mogen speelruimte hebben.
Important: Draai de borgmoeren niet te hard aan, anders kunnen de zijplaten vervormen.
-
Draai de veerspanningsmoer vast totdat de veer is ingedrukt; draai deze vervolgens een 1/2 slag terug (Figuur 26).

-
Stel het contact tussen ondermes en messenkooi af; zie Contact tussen ondermes en messenkooi afstellen.
Specificaties van de messenkooi
De messenkooi voorbereiden om te slijpen
-
Zorg ervoor dat alle onderdelen van de maai-eenheid in goede staat zijn en herstel problemen voordat u gaat slijpen.
-
Volg de instructies van de fabrikant van de messenkooislijper om de messenkooi te slijpen volgens de volgende specificaties.
Specificaties voor het slijpen van de messenkooi Nieuwe diameter messenkooi 128,5 mm Onderhoudslimiet diameter messenkooi 114,3 mm Vrijloophoek van mes 30° ± 5° Bereik van breedte mesvlak 0,8 tot 1,2 mm Onderhoudslimiet versmalling diameter messenkooi 0,25 mm
Hoekslijpen van de messenkooi
De nieuwe messenkooi heeft een platte zijkant van 0,8 tot 1,2 mm en een hoek van 30 graden.
Wanneer de platte zijkant groter dan 3 mm wordt, doe dan het volgende:
-
Slijp alle messen onder een hoek van 30 graden tot de platte zijkant 0,8 mm breed is (Figuur 27).

-
Draaislijp de messenkooi tot de onregelmatigheid van de messen niet meer dan 0,025 mm bedraagt.
Note: Hierdoor wordt de platte zijkant een beetje groter.
-
Stel de maai-eenheid in; raadpleeg de Gebruikershandleiding van uw maai-eenheid.
Note: Om de messenkooi en het ondermes langer scherp te houden – na het slijpen van de messenkooi en/of het ondermes – controleert u het contact tussen de messenkooi en het ondermes opnieuw nadat u 2 greens gemaaid hebt; bramen zullen immers worden verwijderd. Bramen kunnen onjuiste speling tussen de messenkooi en het ondermes tot gevolg hebben, wat de slijtage kan versnellen.
Wetten van het maaidek
Gevaar
Contact met de messenkooi of andere bewegende onderdelen kan lichamelijk letsel veroorzaken.
Houd uw vingers, handen en kleding uit de buurt van de messenkooien of andere bewegende onderdelen.
-
Blijf tijdens het wetten uit de buurt van de messenkooi.
-
U wordt geadviseerd bij het wetten geen borstel met een korte steel te gebruiken. Borstels met een lange steel zijn beschikbaar bij uw plaatselijke erkende Toro verdeler.
-
Plaats de machine op een schoon, horizontaal oppervlak, laat de maaidekken neer, zet de motor af, stel de parkeerrem in werking en verwijder het sleuteltje uit het contact.
-
Verwijder de messenkooimotoren van de maaidekken, koppel de maaidekken los en verwijder deze van de hefarmen.
-
Sluit de wetmachine aan op het maaidek door een stuk van ⅜ vierkante" in de gesleufde koppeling aan het uiteinde van het maaidek te steken.
Note: Aanvullende instructies en procedures met betrekking tot het wetten kunt u vinden in de Gebruikershandleiding van uw tractie-eenheid en de Toro handleiding Slijpen van maaimachines met messenkooien en roterende messen, documentnummer 80-300PT.
Note: Voor een betere snijrand moet u de voorkant van het ondermes en de messenkooi bijvijlen als u klaar bent met wetten. Hiermee verwijdert u bramen of ruwe randen die kunnen zijn ontstaan op de snijrand.
Onderhoud van de rol
Er zijn een revisieset voor de rol (onderdeelnr. 140-5552) en een gereedschapsset voor revisie van de rol (onderdeelnr. 140-5553) (Figuur 28) verkrijgbaar om de rol een onderhoudsbeurt te geven. De revisieset omvat alle lagers, lagermoeren en binnen- en buitenpakkingen die nodig zijn om een rol te reviseren. De gereedschapsset omvat alle werktuigen en montage-instructies die nodig zijn om een rol aan te reviseren met de revisieset. Zie de onderdelencatalogus of neem contact op met uw erkende Toro distributeur als u hulp nodig heeft.



te letten, dat betekent Voorzichtig, Waarschuwing
of Gevaar – instructie voor persoonlijke veiligheid. Niet-naleving
van deze instructies kan leiden tot lichamelijk of dodelijk letsel.













