维护
Note: 请根据正常操作位置来判定机器的左侧和右侧。
检修滚刀组
检查滚刀驱动轴润滑点
调节滚刀驱动皮带张紧力
| 维护间隔时间 | 维护程序 |
|---|---|
| 每年一次 |
|
-
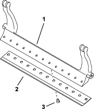
拆除固定盖子的 4 个螺丝,将盖子从滚刀驱动总成壳体上取下。
-
拧松怠轮臂螺栓,并旋转怠轮臂以释放皮带的张紧力。
-
使用梁式扭矩扳手向上怠轮臂内螺丝施加 6~7 N∙m 的力(图 15)。

-
拧紧怠轮臂螺栓以固定怠轮臂。
-
用 4 个相应的螺丝安装盖子。
调节剪草速率
剪草速率由以下机器设置确定:
-
滚刀速度:滚刀速度可调节至高或低设置;请参阅主机操作员手册。
-
滚刀驱动皮带轮位置:滚刀驱动皮带轮(22 齿和 24 齿)有 2 个设置位置:
Note: 皮带轮位置在出厂时设定为低位置。

要调整皮带轮位置,请参阅以下步骤:
底刀规格
维护底刀
只有受过正确培训的机械师才可以维修底刀架和底刀,以防止损坏滚刀、底刀架或底刀。理想情况下,应携带滚刀组到您的 Toro 授权经销商处进行维修。请参阅您的主机维修手册,了解有关维修底刀的完整说明、专用工具及图纸。如果您需要自行拆卸或组装底刀架,请使用以下提供的说明,此规范同样适用于维修底刀。
Important: 当维修底刀时,请始终遵循您的维修手册中详细描述的底刀程序。未能正确安装和研磨底刀,可能导致损坏滚刀、底刀架或底刀。
卸下底刀架/底刀总成
安装新底刀
-
根据 剪草高度和底刀选择表选择新底刀。
-
清除底刀架表面的所有铁锈、水垢和腐蚀物,然后在底刀架表面抹上一层薄薄的油。
Important: 不要拆下底刀架上的铸造材料。底刀架中间设计为凹形;切勿研磨。
-
清洁底刀架上的螺纹。
-
在新底刀螺丝上涂抹防粘剂,将底刀安装到底刀架上。
Important: 仅使用新底刀螺丝。
Note: 螺丝的数量变化取决于底刀架。

-
将 2 个外部螺丝的扭矩上紧至 1N·m。
-
按照从底刀中间向两端的顺序,上紧螺丝扭矩至 25.9 +/- 1.4 N∙m。
Important: 请勿使用机械或气动冲击扳手紧固底刀螺丝。

-
研磨新底刀;请参阅 底刀研磨规格。
底刀研磨规格

| 底刀后(顶)角 | 参见 剪草高度和底刀选择表。 |
| 前角范围 | 13~17° |
| 球道底刀前角 | 10° |
检查顶面研磨角度
安装底刀架/底刀总成
-
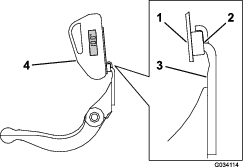
安装底刀架/底刀总成,将安装吊耳固定在垫圈与底刀架调节螺丝之间(图 26)。
Important: 将 DPA 调节器置于底刀架吊耳的中央,如 图 26所示。如果 DPA 调节器安装在底刀架吊耳上,可能会对底刀与滚刀的接触产生不利影响。

-
使用底刀架螺栓(螺栓上带螺母)和 3 个垫圈(共 6 个)将底刀架固定在两个侧板上。
-
将尼龙垫圈放在侧板凸起的一侧。在两个尼龙垫圈的外侧各放一个钢垫圈(图 27)。
-
上紧底刀架螺栓扭矩至 27~36 N·m。
-
拧紧锁紧螺母,直至钢垫圈停止旋转,但却能够用手旋转。内侧的垫圈可能有空隙。
Important: 切勿过度旋紧锁紧螺母,否则会导致侧板变形。
-
旋紧弹簧加压螺母,直到弹簧完全压紧,然后往回松开 ½ 圈(图 27)。

-
调节底刀与滚刀,请参阅 调节底刀与滚刀。
滚刀规格
准备滚刀进行研磨
-
确保所有滚刀组组件都处于良好状况,并在研磨之前纠正任何问题。
-
按照滚刀研磨机制造商的说明,将滚刀研磨至以下规格。
滚刀研磨规格 新滚刀直径 128.5mm 滚刀直径维修限值 114.3mm 刀片铲磨角度 30° ± 5° 刀片棱面宽度范围 0.8~1.2 mm(0.03~0.05 inches) 滚刀直径锥体维修限值 0.25mm
铲磨滚刀
新滚刀的棱面宽度为 0.8~1.2mm,铲磨角度为 30°。
当棱面宽度大于 3mm 时,请执行以下步骤:
-
对所有滚刀棱面进行 30°铲磨,直至棱面宽度达到 0.8mm。

-
旋转打磨滚刀直至达到 <0.025mm 滚刀跳动。
Note: 这可能导致棱面宽度轻微增加。
-
调节滚刀组;请参阅滚刀组《操作员手册》。
Note: 为了使滚刀和底刀刀刃的锋利更加持久——打磨滚刀和/或底刀之后——在修剪 2 个果岭后应再次检查滚刀到底刀的接触,因为任何毛刺都要去除。毛刺可能导致滚刀与底刀之间产生不当的空隙,从而加速磨损。
倒磨滚刀组
要倒磨滚刀组,请使用 Access 倒磨套件(型号 139-4342);请参阅套件安装说明中的操作说明。请联系 Toro 授权经销商以获得本套件。


,即小心、警告或危险等个人安全指示。不遵循这些说明可能导致人身伤害甚至死亡事故。


















