ການບຳລຸງຮັກສາ
Note: ກໍານົດດ້ານຊ້າຍ ແລະ ຂວາຂອງເຄື່ອງຈາກຕໍາແຫນ່ງປະຕິບັດງານປົກກະຕິ.
ການຄ້ຳໜ່ວຍຕັດ
ເມື່ອໃດກໍ່ຕາມທີ່ທ່ານຕ້ອງສຽບໜ່ວຍຕັດໃຫ້ຖືກມີດນອນ/ກົງໝູນ, ໃຫ້ຄ້ຳດ້ານຫຼັງຂອງໜ່ວຍຕັດເພື່ອຮັບປະກັນວ່ານັອດແມ່ຢູ່ດ້ານຫຼັງຂອງສະລັກກຽວປັບຄານຮອງບໍ່ໄດ້ວາງຢູ່ເທິງພື້ນທີ່ເຮັດວຽກ (ຮູບສະແດງ 16).

ຂໍ້ມູນສະເພາະຂອງມີດນອນ
ການບຳລຸງຮັກສາມີດນອນ
ມີພຽງແຕ່ຊ່າງກົນຈັກທີ່ໄດ້ຮັບການຝຶກອົບຮົມຢ່າງຖືກຕ້ອງເທົ່ານັ້ນທີ່ຄວນຈະໃຫ້ບໍລິການຄານຮອງ ເພື່ອປ້ອງກັນຄວາມເສຍຫາຍຂອງກົງໝູນ, ຄານຮອງ ຫຼື ມີດນອນ. ຕາມຫລັກການແລ້ວ, ເອົາໜ່ວຍຕັດໄປຫາຜູ້ຈັດຈຳໜ່າຍ Toro ທີ່ໄດ້ຮັບອະນຸຍາດສຳລັບການບໍລິການສ້ອມບຳລຸງ. ໃຫ້ເບິ່ງ ປຶ້ມຄູ່ມືການບໍລິການ ສຳລັບລົດຕັດຫຍ້າຂອງທ່ານກ່ຽວກັບຄຳແນະນຳທີ່ຄົບຖ້ວນ, ເຄື່ອງມືພິເສດ ແລະ ແຜນວາດສຳລັບການສ້ອມບຳລຸງມີດນອນ. ທ່ານຕ້ອງການຍ້າຍ ຫລື ປະກອນມີດນອນດ້ວຍຕົນເອງ, ຄຳແນະນຳແມ່ນມີຢູ່ດ້ານລຸ່ມ, ຄືກັບຂໍ້ກຳນົດສະເພາະຂອງສ້ອມບຳລຸງມີດນອນ.
Important: ໃຫ້ປະຕິບັດຕາມຂັ້ນຕອນລາຍລະອຽດກ່ຽວກັບມີດນອນຢູ່ໃນ ປຶ້ມຄູ່ມືການບໍລິການ ຂອງທ່ານຢູ່ສະເໝີເມື່ອສ້ອມບຳລຸງມີດນອນ. ການຕິດຕັ້ງ ແລະ ເຈຍມີດນອນຢ່າງບໍ່ຖືກຕ້ອງສາມາດນຳໄປສູ່ຄວາມເສຍຫາຍຂອງກົງໝູນ, ຄານຮອງ ຫຼື ມີດນອນ.
ການຍົກຍ້າຍຄານຮອງ/ຊຸດໃບມີດນອນ
-
ໝູນນັອດກຽວປັບຄານຮອງໄປທິດທາງທວນເຂັມໂມງ, ເພື່ອຖອດມີດນອນອອກຈາກກົງໝູນ (ຮູບສະແດງ 17).

-
ດຶງນັອດສະປິງອອກຈົນກວ່າແຫວນແປບໍ່ມີຄວາມເຄັ່ງຕຶງອີກຕໍ່ໄປກັບຄານຮອງ (ຮູບສະແດງ 17).
-
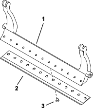
ຢູ່ແຕ່ລະຂ້າງຂອງເຄື່ອງ, ມາຍນັອດລັອກແມ່ທີ່ຕິດກັບສະລັກກຽວຄານຮອງ (ຮູບສະແດງ 18).

-
ຖອດສະຫຼັກຄານຮອງແຕ່ລະອັນອອກເພື່ອໃຫ້ຄານຮອງຖືກດຶງລົງມາ ແລະ ເອົາອອກຈາກໜ່ວຍຕັດ (ຮູບສະແດງ 18).
ເອົາໃຈໃສ່ຕໍ່ແຫວນແປໄນລ້ອນ 2 ອັນ ແລະ ແຫວນແປເຫຼັກ 1 ອັນໃນແຕ່ລະດ້ານຂອງຄານຮອງ (ຮູບສະແດງ 19).

-
ຖອດໃບມີດນອນອອກຈາກຄານຮອງໂດຍການຖອດນັອດກຽວທີ່ຈັບມັນໄວ້ກັບທີ່ອອກທັງໝົດ. ໃຊ້ກະແຈະປາກຊຸດທີ່ມີເຄື່ອງມືນັອດກຽວໃບມີດນອນ (ອາໄຫຼ່ເບີ TOR510880).
Note: ທ່ານອາດຈະໃຊ້ກະແຈປາກບິດ ຫຼື ໃຊ້ລົມເພື່ອມາຍນັອດກຽວໃບມີດນອນ.
Note: ກຳຈັດໃບມີດນອນ ແລະ ນັອດກຽວຖິ້ມ.
ການຕິດຕັ້ງໃບມີດນອນໃໝ່
-
ເລືອກໃບມີດນອນໃໝ່ຕາມ ຕາຕະລາງຄວາມສູງຂອງການຕັດ ແລະ ການເລືອກໃບມີດນອນ.
-
ກຳຈັດຂີ້ໝ້ຽງ, ຄາບເກາະຕິດ ແລະ ການກັດກ່ອນອອກຈາກພື້ນຜີວຂອງຄານຮອງ ແລະ ທານ້ຳມັນບາງໆໃສ່ພື້ນຜິວຂອງຄານຮອງ.
Important: ຢ່າຖອດວັດສະດຸຫຸ້ມອອກຈາກຄານຮອງ. ຄານຮອງຫຼຸບເຂົ້າຢູ່ເຄິ່ງກາງໂດຍການອອກແບບ, ຢ່າບົດ.
-
ທຳຄວາມສະອາດກຽວຢູ່ໃນຄານຮອງ.
-
ທາສ່ວນປະສົມທີ່ກັນຍຶດຕິດຢູ່ໃນນັອດກຽວໃບມີດນອນໃໝ່ ແລະ ຕິດຕັ້ງມີດນອນຢູ່ໃນຄານຮອງ.
Important: ໃຊ້ນັອດກຽວໃບມີດນອນໃໝ່ເທົ່ານັ້ນ.
Note: ຈຳນວນຂອງນັອດກຽວແຕກຕ່າງກັນຂຶ້ນກັບຄານຮອງ.

-
ບິດນັອດກຽວດ້ານນອກ 2 ອັນເຖິງ 1 N∙m (10 inch-lb).
-
ການເຮັດວຽກຈາກສູນກາງຂອງມີດນອນ, ໃຊ້ແຮງບິດນັອດກຽວໃຫ້ໄດ້ 25.9 +/- 1.4 N∙m (19 +/- 1 ft-lb).
Important: ຢ່າຮັດນັອດກຽວໃບມີດນອນດ້ວຍການໃຊ້ກະແຈປາກບິດ ຫຼື ທີ່ໃຊ້ລົມ.

-
ບົດມີດນອນໃໝ່, ໃຫ້ເບິ່ງ ຂໍ້ມູນສະເພາະຂອງການເຈຍມີດນອນ.
ຂໍ້ມູນສະເພາະຂອງການເຈຍມີດນອນ

| ມູມຜ່ອນໃບມີດນອນ (ດ້ານເທິງສຸດ) | ໃຫ້ເບິ່ງ ຕາຕະລາງຄວາມສູງຂອງການຕັດ ແລະ ການເລືອກໃບມີດນອນ. |
| ລະດັບມູມດ້ານໜ້າ | 13° ເຖິງ 17° |
| ມູມດ້ານໜ້າຂອງມີດນອນທາງຍ່າງ | 10° |
ການກວດສອບມູມເຈຍດ້ານເທິງສຸດ
ມູມທີ່ທ່ານໃຊ້ໃນການເຈຍມີດນອນຂອງທ່ານແມ່ນມີຄວາມສຳຄັນຫຼາຍ.
ໃຊ້ຕົວຊີ້ວັດມູມ (ອາໄຫຼ່ Toro ເລກທີ 131-6828) ແລະ ມູມຊີ້ບອກການຕິດ (ອາໄຫຼ່ Toro ເລກທີ 131-6829) ເພື່ອກວດກາມູມທີ່ເຄື່ອງເຈຍຂອງທ່ານຜະລິດ ແລະ ຫຼັງຈາກນັ້ນແກ້ໄຂໃຫ້ຖືກຕ້ອງສຳລັບຄວາມບໍ່ຖືກຕ້ອງຂອງເຄື່ອງເຈຍ.
-
ວາງຕົວຊີ້ວັດມູມຢູ່ທາງລຸ່ມຂອງມີດນອນຕາມທີ່ສະແດງຢູ່ໃນ ຮູບສະແດງ 23.

-
ກົດປຸ່ມ Alt Zero ເທິງຕົວຊີ້ວັດມູມ.
-
ວາງຕົວຊີ້ວັດມູມທີ່ຕັ້ງຢູ່ເທິງຂອບຂອງມີດນອນເພື່ອໃຫ້ຂອບຂອງແມ່ເຫຼັກຂະໜານກັບຂອບຂອງມີດນອນ (ຮູບສະແດງ 24).
Note: ຈໍສະແດງຜົນດິຈິຕອນຄວນຈະສາມາດເບິ່ງເຫັນໄດ້ຈາກຂ້າງດຽວກັນໃນລະຫວ່າງຂັ້ນຕອນນີ້ຄືກັບວ່າມັນຢູ່ໃນຂັ້ນຕອນ 1.

-
ວາງຕົວຊີ້ບອກມູມຢູ່ບ່ອນທີ່ຕິດດັ່ງທີ່ສະແດງຢູ່ໃນ ຮູບສະແດງ 24.
Note: ນີ້ແມ່ນມູມທີ່ເຄື່ອງເຈຍຂອງທ່ານຜະລິດ ແລະ ຄວນຢູ່ພາຍໃນ 2 ອົງສາຂອງມູມເຈຍ ດ້ານເທິງສຸດທີ່ໄດ້ແນະນຳ.
ການຕິດຕັ້ງຄານຮອງ/ຊຸດໃບມີດນອນ
-
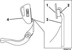
ຕິດຕັ້ງຄານຮອງ/ຊຸດໃບມີດນອນ, ວາງຕຳແໜ່ງຫູລະຫວ່າງແຫວນແປ ແລະ ນັອດກຽວປັບຄານຮອງ (ຮູບສະແດງ 17).
Important: ວາງຕົວປັບ DPA ໄວ້ເຄິ່ງກາງຢູ່ໃນຫູຄານຈັບດັ່ງສະແດງຢູ່ໃນ ຮູບສະແດງ 25.ຖ້າຕົວປັບ DPA ຖືກຕິດຕັ້ງໃສ່ຫູຄານຈັບ, ອັນນີ້າດຈະສົ່ງຜົນກະທົບບໍ່ດີໃສ່ການສຳຜັດຂອງໃບມີດນອນຫາແກນໝູນ.

-
ຕິດຄານຮອງໃນແຕ່ລະແຜ່ນດ້ານຂ້າງທີ່ມີສະລັກກຽວຄານຮອງ (ນັອດແມ່ເທິງສະລັກກຽວ) ແລະ ແຫວນແປ 3 ອັນ (ລວມ 6 ອັນ).
-
ວາງຕຳແໜ່ງແຫວນແປໄນລ້ອນຢູ່ແຕ່ລະຂ້າງຂອງປຸ່ມແຜ່ນດ້ານຂ້າງ. ວາງແຫວນແປເຫຼັກຢູ່ດ້ານນອກຂອງແຫວນແປໄນລ້ອນ (ຮູບສະແດງ 19).
-
ບິດນັອດກຽວມີຫົວໃຫ້ໄດ້ 27 ຫາ 36 N∙m (20 ເຖິງ 27 ft-lb).
-
ຫັນນັອດລັອກແມ່ໃຫ້ແໜ້ນຈົນກ່ວາທ່ານຈະເອົາການເຄື່ອນສຸດທ້າຍອອກຈາກແຫວແປເຫຼັກ, ແຕ່ທ່ານສາມາດໝູນພວກມັນດ້ວຍມື. ແຫວນແປຢູ່ທາງໃນອາດມີຊ່ອງຫວ່າງ.
Important: ຢ່າຫັນນັອດລັອກແມ່ແໜ້ນເກີນໄປ, ບໍ່ດັ່ງນັ້ນພວກມັນຈະເຮັດໃຫ້ແຜ່ນຂ້າງບິດງໍ.
-
ຫັນນັອດສະປຣິງໃຫ້ແໜ້ນຈົນກ່ວາສະປຣິງຍຸບລົງ, ຫຼັງຈາກນັ້ນໝູນກັບຄືນ ½ ຄັ້ງ (ຮູບສະແດງ 26).

-
ປັບມີດນອນຫາກົງໝູນ; ໃຫ້ເບິ່ງ ການປັບມີດນອນກັບກົງໝູນ .
ຂໍ້ກຳນົດສະເພາະກຽວໝູນ
ການກະກຽມກົງໝູນສຳລັບການເຈຍ
-
ໃຫ້ແນ່ໃຈວ່າທຸກສ່ວນປະກອບຂອງໜ່ວຍຕັດແມ່ນຢູ່ໃນສະພາບດີ ແລະ ແກ້ໄຂບັນຫາໃດ ໜຶ່ງທີ່ມີໃຫ້ແລ້ວກ່ອນທີ່ຈະເຈຍ.
-
ປະຕິບັດຕາມຄຳແນະນຳຂອງຜູ້ຜະລິດເຄື່ອງເຈຍກົງໝູນເພື່ອເຈຍກົງໝູນຕັດໄປຕາມຂໍ້ມູນສະເພາະດັ່ງຕໍ່ໄປນີ້.
ຂໍ້ມູນສະເພາະຂອງການເຈຍກົງໝູນ ເສັ້ນຜ່າສູນກາງຂອງກົງໝູນໃຫມ່ 128.5 ມມ (5.06 ນິ້ວ) ຂີດຈຳກັດການສ້ອມບໍລິການເສັ້ນຜ່າສູນກາງກົງໝູນ 114.3 ມິນລີແມັດມມ (4.50 ນິ້ວ) ມູມສ່ວນນູນອອກມາຂອງໃບມີດ 30° ± 5° ໜ້າກວ້າງຂອງໃບມີດຂອບເຂດ 0.8 ຫາ 1.2 ມມ (0.03 ຫາ 0.05 ນິ້ວ) ຂີດຈຳກັດການສ້ອມບໍລິການແທ່ງນ້ອຍເສັ້ນຜ່າສູນກາງກົງໝູນ 0.25 ມິນລີແມັດມມ (0.010 ນິ້ວ)
ການເຈຍສ່ວນນູນອອກມາຂອງກົງໝູນ
ກົງໝູນໃໝ່ມີໜ້າກວ້າງ 0.8 ເຖິງ 1.2 ມມ (0.03 ເຖິງ 0.05 ນິ້ວ) ແລະ ການເຈຍສ່ວນນູນອອກມາ 30°.
ເມື່ອໜ້າກວ້າງກວ້າງກວ່າ 3 ມມ (0.120 ນິ້ວ), ໃຫ້ເຮັດດັ່ງຕໍ່ໄປນີ້:
-
ນຳໃຊ້ການເຈຍສ່ວນນູນອອກມາ 30° ໃນໃບມີດກົງໝູນທຸກໃບຈົນກ່ວາໜ້າກວ້າງເປັນ 0.8 ມມ (ຮູບສະແດງ 27.

-
ໝູນການເຈຍກົງໝູນໃຫ້ບັນລຸກົງໝູນໝົດ <0.025 ມມ (0.001 ນິ້ວ).
Note: ນີ້ເຮັດໃຫ້ໜ້າກວ້າງເພີ່ມຂຶ້ນເລັກນ້ອຍ.
-
ປັບໜ່ວຍຕັດ; ໃຫ້ເບິ່ງ ຄູ່ມືຜູ້ໃຊ້ ຂອງໜ່ວຍຕັດຂອງທ່ານ.
Note: ເພື່ອຍືດອາຍຸການໃຊ້ງານຂອງຄວາມຄົມຂອງຂອບຂອງກົງໝູນ ແລະ ມີດນອນ, ຫຼັງຈາກໄດ້ເຈຍກົງໝູນ ແລະ/ຫຼື ມີດນອນ, ໃຫ້ກວດເບິ່ງການສຳຜັດຂອງກົງໝູນຫາມີດນອນອີກຄັ້ງຫຼັງຈາກການຕັດຫຍ້າ 2 ຄັ້ງ, ເພາະວ່າຈະມີການລົບສ້ຽນອອກ. ສ້ຽນອາດຈະສ້າງໃຫ້ມີກົງໝູນບໍ່ເໝາະສົມໃສ່ໄລຍະຫ່າງມີດນອນ, ເຊິ່ງສາມາດເລັ່ງການຫຼຸ້ຍຫ້ຽນໄວຂຶ້ນ.
ການຍ້ອນກັບຂອງໜ່ວຍຕັດ
ອັນຕະລາຍ
ການສຳຜັດກັບກົງໝູນ ຫຼື ສ່ວນທີ່ເຄື່ອນໄຫວອື່ນໆສາມາດເຮັດໃຫ້ເກີດການບາດເຈັບສ່ວນຕົວໄດ້.
ກັນນິ້ວມື, ມື ແລະ ເຄື່ອງນຸ່ງຂອງທ່ານໃຫ້ຢູ່ຫ່າງຈາກກຽວ ຫຼື ສ່ວນທີ່ເຄື່ອນໄຫວອື່ນໆ.
-
ໃຫ້ຢູ່ຫ່າງຈາກກົງໝູນໃນຂະນະທີ່ມີການຍ້ອນກັບ.
-
ຢ່າໃຊ້ແປງທາສີມີດ້າມຈັບສັ້ນໆສຳລັບການຍ້ອນກັບ. ແປງມີດ້າມຈັບຍາວໆແມ່ນມີໃຫ້ຈາກຜູ້ແທນຈຳຫນ່າຍ Toro ທີ່ໄດ້ຮັບອະນຸຍາດໃນທ້ອງຖິ່ນຂອງທ່ານ.
-
ວາງຕຳແໜ່ງເຄື່ອງຈັກທີ່ຢູ່ເທິງພື້ນທີ່ສະອາດ, ໄດ້ລະດັບ, ຢ່ອນຫົວໜ່ວຍຕັດລົງ, ມອດເຄື່ອງຈັກ, ໃສ່ເບຣກມື ແລະ ຖອດກະສະຕາດເຄື່ອງອອກ.
-
ຖອດມໍເຕີ້ກົງໝູນອອກຈາກໜ່ວຍຕັດ ແລະ ບໍ່ເຊື່ອມຕໍ່ ແລະ ຖອດໜ່ວຍຕັດອອກຈາກແຂນຍົກ.
-
ເຊື່ອມຕໍ່ເຄື່ອງຈັກທີ່ຍ້ອນກັບກັບໜ່ວຍຕັດໂດຍການເອົາຊິ້ນສ່ວນຂະໜາດ ⅜ ນິ້ວເຂົ້າໄປໃນຂໍ້ຕໍ່ແບບມີດໃນຕອນທ້າຍຂອງໜ່ວຍຕັດ.
Note: ຄຳແນະນຳ ແລະ ຂັ້ນຕອນເພີ່ມເຕີມກ່ຽວກັບການຍ້ອນກັບແມ່ນມີຢູ່ໃນ ຄູ່ມືຜູ້ໃຊ້ ຂອງລົດຕັດຫຍ້າ ແລະ ຄູ່ມືການນຳໃຊ້ຂອງ Toro ການເຈຍກົງໝູນ ແລະ ເຄືອງຕັດຫຍ້າ, ແບບຟອມເລກທີ 80-300PT.
Note: ສຳລັບຂອບການຕັດທີ່ດີກວ່າ, ໃຫ້ເປີດຕະໄບໄປດ້ານໜ້າຂອງມີດນອນ ແລະ ກົງໝູນເມື່ອການປະຕິບັດງານຂອງຮອບສຳເລັດແລ້ວ. ສິ່ງນີ້ຈະກຳຈັດສ້ຽນ ຫຼື ຂອບທີ່ຫຍາບທີ່ອາດຈະສ້າງຂຶ້ນໃນຂອບຕັດ.
ການບຳລຸງຮັກສາລູກກິ້ງ
ອຸປະກອນປະກອບລູກກິ້ງ (ອາໄຫຼ່ເລກທີ 140-5552) ແລະ ອຸປະກອນເຄື່ອງມືປະກອບລູກກິ້ງ (ອາໄຫຼ່ເລກທີ 140-5553) (ຮູບສະແດງ 28) ແມ່ນມີໃຫ້ສຳລັບການບຳລຸງຮັກສາລູກກິ້ງ. ອຸປະກອນປະກອບລູກກິ້ງລວມມີຝາຮອງ, ນັອດຝາຮອງ, ຕົວກັນຊຶມດ້ານໃນ ແລະ ດ້ານນອກທຸກຢ່າງເພື່ອປະກອບກົງໝູນ. ຊຸດອຸປະກອນເຄື່ອງມືປະກອບລູກກິ້ງລວມມີເຄື່ອງມືທັງໝົດ ແລະ ຄຳແນະນຳການຕິດຕັ້ງທີ່ຈຳເປັນຕໍ່ກັບການປະກອບກົງໝູນດ້ວຍຊຸດອຸປະກອນປະກອບກົງໝູນ. ເບິ່ງລາຍການອາໄຫຼ່ຂອງທ່ານ ຫຼື ຕິດຕໍ່ຫາຕົວແທນ Toro ທີ່ໄດ້ຮັບອະນຸຍາດຂອງທ່ານເພື່ອຂໍຄວາມຊ່ວຍເຫຼືອ.



, ຊຶ່ງໝາຍເຖິງຂໍ້ຄວນລະວັງ,
ຄຳເຕືອນ ຫຼື ອັນຕະລາຍ, ເຊິ່ງກໍ່ແມ່ນຄຳແນະນຳຄວາມປອດໄພສ່ວນບຸກຄົນ. ການບໍ່ປະຕິບັດຕາມຄຳແນະນຳເຫຼົ່ານີ້ອາດຈະເຮັດໃຫ້ມີການບາດເຈັບສ່ວນຕົວ
ຫຼື ເສຍຊີວິດ.













