Mantenimiento
Note: Los lados derecho e izquierdo de la máquina se determinan desde la posición normal del operador.
Apoyo de la unidad de corte
Cuando sea necesario inclinar la unidad de corte para tener acceso a la contracuchilla/el molinete, apoye la parte trasera de la unidad de corte para asegurarse de que las tuercas de los extremos de los pernos de ajuste de la barra de asiento no estén apoyadas en la superficie de trabajo (Figura 16).

Especificaciones de la contracuchilla
Mantenimiento de la contracuchilla
Solo deberá realizar tareas de mantenimiento en la barra de asiento y en la contracuchilla un mecánico con la formación pertinente, para evitar daños en el molinete, la barra de asiento o la contracuchilla. Lo ideal es que lleve la unidad de corte a su distribuidor autorizado Toro para que realicen las tareas de mantenimiento. Consulte las instrucciones del Manual de mantenimiento de la unidad de tracción para obtener instrucciones completas, conocer las herramientas especiales y los diagramas para realizar tareas de mantenimiento en la contracuchilla. En caso de que necesite retirar o montar usted mismo la barra de asiento, a continuación se indican las instrucciones, así como las especificaciones para realizar tareas de mantenimiento en la contracuchilla.
Important: Siga siempre los procedimientos de la contracuchilla detallados en el Manual de mantenimiento al realizar tareas de mantenimiento en la contracuchilla. Si no se instala y se afila correctamente la contracuchilla, se pueden producir daños en el molinete, la barra de asiento o la contracuchilla.
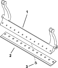
Retirada del conjunto de barra de asiento/contracuchilla
-
Gire el tornillo de ajuste de la barra de asiento en el sentido contrario a las agujas del reloj para alejar la contracuchilla del molinete (Figura 17).

-
Afloje la tuerca de tensado del muelle hasta que el muelle deje de presionar la arandela contra la barra de asiento (Figura 17).
-
En cada lado de la máquina, afloje la contratuerca que fija el perno de la barra de asiento (Figura 18).

-
Retire todos los pernos de la barra de asiento, para poder tirar de la barra hacia abajo y retirarla de la unidad de corte (Figura 18).
Guarde las 2 arandelas de nylon y la arandela de acero de cada extremo de la barra de asiento (Figura 19).

-
Retire la contracuchilla de la barra de asiento retirando todos los tornillos que la sujetan. Utilice una llave de carraca con la Herramienta para los tornillos de la contracuchilla (Pieza n.º TOR510880).
Note: Puede utilizar una llave de impacto mecánica o neumática para aflojar los tornillos de la contracuchilla.
Note: Deseche la contracuchilla y los tornillos.
Instalación de la contracuchilla nueva
-
Seleccione una contracuchilla nueva siguiendo las indicaciones de Tablas de selección de alturas de corte y contracuchillas.
-
Elimine el óxido, las incrustaciones y la corrosión de la superficie de la barra de asiento y aplique una capa fina de aceite sobre ella.
Important: No retire material de fundición de la barra de asiento. La barra de asiento es cóncava en el centro por diseño; no la rectifique.
-
Limpie las roscas de la barra de asiento.
-
Aplique compuesto antigripante a los tornillos de la contracuchilla nueva e instale la contracuchilla en la barra de asiento.
Important: Utilice solamente tornillos nuevos para la contracuchilla.
Note: La cantidad de tornillos varía dependiendo de la barra de asiento.

-
Apriete los 2 tornillos exteriores a 1 N∙m.
-
Trabajando desde el centro de la contracuchilla, apriete los tornillos a 25,9 +/- 1,4 N·m.
Important: No utilice una llave de impacto mecánica o neumática para apretar los tornillos de la contracuchilla.

-
Rectifique la contracuchilla nueva; consulte las Especificaciones de amolado de la contracuchilla.
Especificaciones de amolado de la contracuchilla

| Ángulo de rebajo (superior) de la contracuchilla | Consulte Tablas de selección de alturas de corte y contracuchillas. |
| Intervalo de ángulo delantero | de 13° a 17° |
| Ángulo delantero de la contracuchilla para calles | 10° |
Comprobación del ángulo de rectificado superior
El ángulo de rectificado de las contracuchillas es muy importante.
Utilice el indicador de ángulo (Pieza Toro N° 131-6828) y el soporte del indicador de ángulo (Pieza Toro N° 131-6829) para comprobar el ángulo producido por su muela, y corrija cualquier falta de precisión.
-
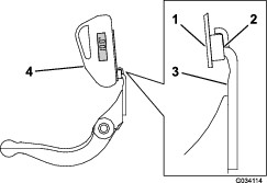
Coloque el indicador de ángulo en el lado inferior de la contracuchilla, según se muestra en Figura 23.

-
Pulse el botón Alt Zero del indicador de ángulo.
-
Coloque el soporte del indicador de ángulo sobre el filo de la contracuchilla de manera que el borde del imán esté enrasado con el filo de la contracuchilla (Figura 24).
Note: La pantalla digital debe estar visible desde el mismo lado durante este paso que durante el paso 1.

-
Coloque el indicador de ángulo en el soporte, según se muestra en Figura 24.
Note: Este es el ángulo que produce su muela, y no debe variar en más de 2 grados del ángulo de amolado superior recomendado.
Instale el conjunto de barra de asiento/contracuchilla
-
Instale el conjunto de barra de asiento/contracuchilla, colocando las pestañas de montaje entre las arandelas y el tornillo de ajuste de la barra de asiento (Figura 17).
Important: Centre los mecanismos de ajuste DPA en las pestañas de la barra de asiento, como se muestra en la Figura 25.Si se instalan los mecanismos de ajuste DPA contra las pestañas de la barra de asiento, puede afectar negativamente al contacto entre la contracuchilla y el molinete.

-
Sujete la barra de asiento a cada placa lateral con los pernos de la barra (con tuercas en los pernos) y 3 arandelas (6 en total).
-
Coloque una arandela de nylon en cada lado del saliente de la placa lateral. Coloque una arandela de acero por fuera de cada arandela de nylon (Figura 19).
-
Apriete los pernos de la barra de asiento a 27-36 N·m.
-
Apriete las contratuercas hasta eliminar la holgura de las arandelas de acero, pero que pueda seguir girándolas con la mano. Las arandelas del interior pueden tener cierta holgura.
Important: No apriete demasiado las contratuercas o desviarán las chapas laterales.
-
Apriete la tuerca de tensado del muelle hasta que el muelle esté comprimido del todo, luego aflójela 1/2 vuelta (Figura 26).

-
Ajuste la contracuchilla contra el molinete; consulte Ajuste de la contracuchilla contra el molinete.
Especificaciones del molinete
Preparación del molinete para el afilado
-
Asegúrese de que todos los componentes de la unidad de corte están en buenas condiciones y corrija cualquier problema antes de afilar.
-
Siga las instrucciones del fabricante del afilador del molinete para afilar el molinete según las especificaciones siguientes.
Especificaciones de afilado del molinete Diámetro del molinete nuevo 128,5 mm Límite de ajuste del diámetro del molinete 114,3 mm Ángulo de rebajo de la cuchilla 30° ± 5° Rango de superficie de incidencia de la cuchilla 0,8-1,2 mm Límite de ajuste de la conicidad del diámetro del molinete 0,25 mm
Afilado del molinete con rebajo
El molinete nuevo tiene una superficie de incidencia de 8 a 1,2 mm de anchura, y un rebajo de 30°.
Si la anchura de la superficie de incidencia es superior a 3 mm, haga lo siguiente:
-
Afile todas las cuchillas con un rebajo de 30° hasta que la anchura de la superficie de incidencia sea de 0,8 mm (Figura 27).

-
Afile el molinete con muela, sin rebajo, hasta que la excentricidad del molinete sea inferior a 0,025 mm.
Note: Esto hace que la superficie de incidencia se ensanche ligeramente.
-
Ajuste la unidad de corte; consulte el Manual del operador de la unidad de corte.
Note: Para que los filos del molinete y de la contracuchilla duren más, tras amolar el molinete y/o la contracuchilla, vuelva a comprobar el contacto entre el molinete y la contracuchilla después de segar 2 greens, porque esto eliminará la rebaba. La rebaba puede crear un espacio incorrecto entre el molinete y la contracuchilla, lo que puede acelerar el desgaste.
Autoafilado de la unidad de corte
Peligro
El contacto con los molinetes u otras piezas en movimiento puede causar lesiones personales.
Mantenga las manos, los pies y la ropa alejados de los molinetes u otras piezas en movimiento.
-
Manténgase alejado del molinete durante el afilado.
-
No utilice nunca una brocha de mango corto para el afilado. Las brochas de mango largo se encuentran disponibles a través de su distribuidor Toro autorizado.
-
Coloque la máquina en una superficie nivelada y limpia, baje las unidades de corte, pare el motor, ponga el freno de estacionamiento y retire la llave de contacto.
-
Retire los motores del molinete de las unidades de corte y desconecte y retire las unidades de corte de los brazos de elevación.
-
Conecte la máquina de autoafilado a la unidad de corte insertando una barra cuadrada de metal de 9,5 x 9,5 mm en el acoplamiento acanalado del extremo de la unidad de corte.
Note: Encontrará instrucciones y procedimientos adicionales sobre el autoafilado en el Manual del operador de la unidad de tracción y en el Manual de afilado para segadoras de molinete y giratorias de Toro, Impreso N.º 80-300PT.
Note: Para obtener un filo de corte mejor, pase una lima por la cara delantera de la contracuchilla y del molinete cuando se termine la operación de afilado. Esto eliminará cualquier rebaba o aspereza que pueda haber aparecido en el filo de corte.
Mantenimiento del rodillo
Para facilitar el mantenimiento del rodillo están disponibles el kit de reacondicionamiento de rodillo, pieza N.º 140-5552 y el kit de herramientas para el reacondicionamiento de rodillo, pieza N.º 140-5553 (Figura 28). El Kit de reacondicionamiento de rodillo incluye todos los cojinetes, tuercas de cojinetes, juntas y retenes necesarios para reacondicionar un rodillo. El Kit de herramientas para el reacondicionamiento del rodillo incluye todas las herramientas e instrucciones de instalación necesarias para reacondicionar un rodillo con el kit de reacondicionamiento de rodillos. Consulte el catálogo de piezas o póngase en contacto con su Distribuidor Autorizado Toro si necesita ayuda.



, que significa: Cuidado, Advertencia o Peligro
– instrucción relativa a la seguridad personal. El incumplimiento
de estas instrucciones puede dar lugar a lesiones personales o la
muerte.













