Karbantartás
Note: A gép jobb és bal oldalát normál üzemeltetési helyzetben határozza meg.
A nyíróegység alátámasztása
Amikor a nyíróegységet fel kell billenteni a fenékkéshez/hengerkéshez való hozzáféréshez, támassza alá a nyíróegység hátulját úgy, hogy a fenékkésrúd-állító csavar hátsó végén az anyák ne érjenek a munkafelülethez (Ábra 16).

A fenékkés műszaki adatai
A fenékkés szervizelése
A fenékkésrúd és a hengerkés szervizelését csak megfelelően képzett szerelő végezze, nehogy károsodjon a hengerkés, a fenékkésrúd vagy a fenékkés. A legjobb megoldás, ha eljuttatja a nyíróegységet a hivatalos Toro-márkakereskedőhöz szervizelésre. A fenékkés szervizeléséhez szükséges teljes utasítással, célszerszámokkal és ábrákkal kapcsolatban lásd a vontatóegység Szervizkézikönyvét. Ha bármikor saját kezűleg kellene le- vagy felszerelnie a fenékkésrudat, alább megtalálja az utasításokat, amelyek egyben a fenékkés szervizelési előírásai is.
Important: A fenékkés szervizelésekor kövesse mindig a Szervizkézikönyvben részletezett eljárásokat. A fenékkés nem megfelelő felszerelése és köszörülése a hengerkés, a fenékkésrúd vagy a fenékkés károsodásához vezethet.
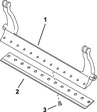
A fenékkésrúd/fenékkés szerelvény eltávolítása
-
A fenékkésrúd-állító csavart az óra járásával ellentétesen elforgatva távolítsa el a fenékkést a hengerkéstől (Ábra 17).

-
Lazítson annyit a rugófeszítő anyán, hogy az alátét már ne szoruljon a fenékkésrúdnak (Ábra 17).
-
Lazítsa meg a fenékkésrúdcsavart rögzítő anyát a gép mindkét oldalán (Ábra 18).

-
Szerelje ki mindkét fenékkésrúdcsavart, hogy a fenékkésrúd lefelé húzva eltávolítható legyen a nyíróegységről (Ábra 18).
Ügyeljen a 2 nejlon alátétre és az 1 acél alátétre a fenékkésrúd két oldalán (Ábra 19).

-
Távolítsa el a fenékkést a fenékkésrúdról az azt rögzítő összes csavar eltávolításával. Használjon dugókulcsot a fenékkéscsavar-szerszámmal (cikksz. TOR510880).
Note: A fenékkéscsavarok meglazításához mechanikus és pneumatikus ütvecsavarozót is használhat.
Note: A fenékkéseket és a csavarokat selejtezze.
Az új fenékkések felszerelése
-
Válasszon ki egy új fenékkést a Vágásmagasság- és fenékkés-kiválasztó táblázatok alapján.
-
Távolítsa el a rozsdát és egyéb lerakódásokat a fenékkésről, és vonja be vékony réteg olajjal a felületét.
Important: Ne távolítsa el az öntvényanyagot a fenékkésrúdról. A fenékkés középen eleve homorú; ne köszörülje.
-
Tisztítsa meg a fenékkésrúdban a meneteket.
-
Kenjen beragadásgátló pasztát az új fenékkéscsavarokra, majd szerelje fel a fenékkést a fenékkésrúdra.
Important: Csak új fenékkéscsavarokat használjon.
Note: A csavarok mennyisége a fenékkés függvényében eltérő.

-
Húzza meg a 2 külső csavart 1 Nm nyomatékkal.
-
A fenékkés közepétől kezdve húzza meg a csavarokat 25,9 +/– 1,4 Nm nyomatékkal.
Important: Ne mechanikus vagy pneumatikus ütvecsavarozóval húzza meg a fenékkéscsavarokat.

-
Köszörülje meg az új fenékkést; lásd Fenékkés-köszörülési előírások.
Fenékkés-köszörülési előírások

| Fenékkés hátraköszörülési (felső) szöge | Lásd: Vágásmagasság- és fenékkés-kiválasztó táblázatok. |
| Elülső szögtartomány | 13° – 17° |
| Fairway fenékkés elülső szöge | 10° |
A felső köszörülési szög ellenőrzése
A fenékkés élezésénél nagyon fontos a köszörülési szög szerepe.
A szögmérő (Toro-cikkszám: 131-6828) és a szögmérőtartó (Toro-cikkszám: 131-6829) segítségével ellenőrizheti a köszörült szöget, és helyesbítheti az esetleges pontatlanságot.
-
Helyezze a szögmérőt a fenékkés aljára a Ábra 23 szerint.

-
Nyomja meg a szögmérő nullázógombját.
-
Helyezze a szögmérőtartót a fenékkés aljára úgy, hogy a mágnes széle a fenékkés élére feküdjön fel (Ábra 24).
Note: A digitális kijelzőnek ugyanarról az oldalról kell láthatónak lennie, mint az 1. lépésnél.

-
Helyezze a szögmérőt a tartóra a Ábra 24 szerint.
Note: Ez az a szög, amelyet a köszörűgép hoz létre, és amely a javasolt értéktől legfeljebb 2°-kal térhet el.
A fenékkésrúd/fenékkés szerelvény felszerelése
-
Szerelje fel a fenékkésrúd/fenékkés szerelvényt az alátétek és a fenékkésrúd-beállító csavar közé illesztve (Ábra 17).
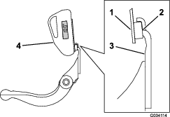
Important: Igazítsa középre a fenékkésrúd fülein lévő DPA-beállítókat a Ábra 25 szerint.Ha a DPA-beállítók a fenékkésrúd fülei mellé vannak szerelve, az negatívan érintheti a fenékkés-hengerkés kapcsolatot.

-
Rögzítse a fenékkésrudat az oldalsó lemezekhez a fenékkésrúdcsavarok (anyákkal a csavarokon) és az oldalanként 3 (összesen 6) alátét segítségével.
-
Tegyen nejlon alátétet az oldalsó lemez nyúlványának mindkét oldalára. Tegyen acél alátétet a nejlon alátétek külső oldalára (Ábra 19).
-
Húzza meg a fenékkésrúdcsavarokat 27–36 N·m nyomatékkal.
-
Húzza meg annyira a rögzítőanyákat, hogy megszűnjön az acél alátéteknél a játék, de kézzel még el tudja forgatni azokat. A belső alátéteknél hézag is lehet.
Important: Ne húzza meg túlságosan a rögzítőanyákat, mert meggörbíthetik az oldalsó lemezeket.
-
Húzza meg a rugófeszítőanyát annyira, hogy a rugó teljesen összenyomódjon, majd engedjen vissza ½ menetet (Ábra 26).

-
A fenékkés beállítása a hengerkéshez; lásd: A fenékkés beállítása a hengerkéshez.
A hengerkés műszaki adatai
A hengerkés előkészítése köszörüléshez
-
A köszörülés megkezdése előtt győződjön meg arról, hogy a nyíróegység minden alkatrésze jó állapotban van, és javítsa ki az esetleges problémákat.
-
Kövesse a hengerkés-köszörű gyártójának utasításait, hogy a hengerkést az alábbi előírások szerint köszörülje meg.
Hengerkés-köszörülési előírások Új hengerkés átmérője 128,5 mm Hengerkés szervizelési határértéke 114,3 mm Kés hátraköszörülési szöge 30° ± 5° Kés profilszélesség-tartománya 0,8–1,2 mm Hengerkés letörésének szervizelési határértéke 0,25 mm
A hengerkés hátraköszörülése
Új hengerkésnél a profilszélesség 0,8–1,2 mm, a hátraköszörülési szög pedig 30°-os.
Ha a profilszélesség 3 mm-nél nagyobbra nő, végezze el az alábbi eljárást:
-
Végezzen 30°-os hátraköszörülést az összes hengerkéspengén, amíg ki nem alakul az 0,8 mm profilszélesség (Ábra 27).

-
Köszörülje meg forgatva a hengerkést, hogy az ütése < 0,025 mm legyen.
Note: Ettől a profilszélesség kissé megnő.
-
Állítsa be a nyíróegységet; lásd a nyíróegység Kezelői kézikönyvét.
Note: A hengerkés és a fenékkés élességének minél hosszabb megőrzése érdekében – a hengerkés és/vagy a fenékkés megköszörülése után – 2 zöldterület lenyírását követően ellenőrizze újra a hengerkés és a fenékkés érintkezésének beállítását, és gondoskodjon arról, hogy minden sorját eltávolítson. A sorják helytelen érintkezési hézagot eredményezhetnek és ezért felgyorsíthatják a kopást.
A nyíróegység fenése visszaforgatással
Veszély
A hengerkés vagy más mozgó alkatrészek érintése személyi sérülést okozhat.
Tartsa távol ujjait, kezét és ruházatát a hengerkéstől és más mozgó alkatrészektől.
-
Maradjon távol a hengerkéstől annak fenése során.
-
Soha ne használjon rövid nyelű ecsetet a fenés során. Hosszú nyelű ecseteket a helyi hivatalos Toro-forgalmazónál vásárolhat.
-
Parkolja le a gépet egy tiszta és vízszintes felületre, engedje le a nyíróegységeket, állítsa le a motort, húzza be a rögzítőféket és vegye ki az indítókulcsot.
-
Szerelje le a hengerkésmotorokat a nyíróegységekről, majd válassza le és távolítsa el a nyíróegységeket az emelőkarokról.
-
Csatlakoztassa a fenőgépet a nyíróegységre, becsúsztatva a ⅜"-os négyzetes hajtócsonkot a nyíróegység bordás hüvelyébe.
Note: A fenéssel kapcsolatos további utasításokért és eljárásokért lásd a vontatóegység Kezelői kézikönyvét és a Hengerkéses és forgókéses fűnyírók élezésének Toro-kézikönyvét, dok. sz. 80-300PT.
Note: A vágóél további javítása érdekében a fenést követően simítsa át reszelővel a fenékkés és a hengerkés homlokfelületét. Ezzel eltávolítja a vágóélről a rajta esetleg kialakult sorját és durva éleket.
A henger szervizelése
A henger szervizeléséhez hengerfelújító készlet (cikkszám: 140-5552) és hengerfelújító szerszámkészlet (cikkszám: 140-5553) (Ábra 28) kapható. A hengerfelújító készlet tartalmazza a henger felújításához szükséges összes csapágyat, csapágyanyát, belső tömítést és külső tömítést. A hengerfelújító szerszámkészlet minden szerszámot és szerelési utasítást tartalmaz a hengernek a hengerfelújító készlettel történő felújításához. Segítségért tekintse át az alkatrész-katalógust vagy forduljon a hivatalos Toro-forgalmazóhoz.



), amelynek jelentése lehet Figyelem, Vigyázat
vagy Veszély – személyes biztonsági utasítások.
Az utasítások be nem tartása személyi
sérülést vagy halált okozhat.













