维护
Note: 请根据正常操作位置来判定机器的左侧和右侧。
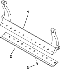
支撑滚刀组
当您需要翻转滚刀组以露出底刀/滚刀时,应支撑住滚刀组的后部,确保底刀架调节螺栓后端的螺母不会接触工作表面(图 16)。

底刀规格
维护底刀
只有受过正确培训的机械师才可以维修底刀架和底刀,以防止损坏滚刀、底刀架或底刀。理想情况下,应携带滚刀组到您的 Toro 授权经销商处进行维修。请参阅您的主机维修手册,了解有关维修底刀的完整说明、专用工具及图纸。如果您需要自行拆卸或组装底刀架,请使用以下提供的说明,此规范同样适用于维修底刀。
Important: 当维修底刀时,请始终遵循您的维修手册中详细描述的底刀程序。未能正确安装和研磨底刀,可能导致损坏滚刀、底刀架或底刀。
卸下底刀架/底刀总成
安装新底刀
-
根据 剪草高度和底刀选择表选择新底刀。
-
清除底刀架表面的所有铁锈、水垢和腐蚀物,然后在底刀架表面抹上一层薄薄的油。
Important: 不要拆下底刀架上的铸造材料。底刀架中间设计为凹形;切勿研磨。
-
清洁底刀架上的螺纹。
-
在新底刀螺丝上涂抹防粘剂,将底刀安装到底刀架上。
Important: 仅使用新底刀螺丝。
Note: 螺丝的数量变化取决于底刀架。

-
将 2 个外部螺丝的扭矩上紧至 1N·m。
-
按照从底刀中间向两端的顺序,上紧螺丝扭矩至 25.9 +/- 1.4 N∙m。
Important: 请勿使用机械或气动冲击扳手紧固底刀螺丝。

-
研磨新底刀;请参阅 底刀研磨规格。
底刀研磨规格

| 底刀后(顶)角 | 请参阅剪草高度和底刀选择表。 |
| 前角范围 | 13~17° |
| 球道底刀前角 | 10° |
检查顶面研磨角度
安装底刀架/底刀总成
-
安装底刀架/底刀总成,将安装吊耳固定在垫圈与底刀架调节螺丝之间(图 17)。
Important: 将 DPA 调节器置于底刀架吊耳的中央,如 图 25所示。如果 DPA 调节器安装在底刀架吊耳上,可能会对底刀与滚刀的接触产生不利影响。

-
使用底刀架螺栓(螺栓上带螺母)和 3 个垫圈(共 6 个)将底刀架固定在两个侧板上。
-
将尼龙垫圈放在侧板凸起的一侧。在两个尼龙垫圈的外侧各放一个钢垫圈(图 19)。
-
上紧底刀架螺栓扭矩至 27~36 N·m。
-
拧紧锁紧螺母,直至钢垫圈停止旋转,但却能够用手旋转。内侧的垫圈可能有空隙。
Important: 切勿过度旋紧锁紧螺母,否则会导致侧板变形。
-
旋紧弹簧加压螺母,直到弹簧完全压紧,然后往回松开 ½ 圈(图 26)。

-
调节底刀与滚刀,请参阅 调节底刀与滚刀。
滚刀规格
准备滚刀进行研磨
-
确保所有滚刀组组件都处于良好状况,并在研磨之前纠正任何问题。
-
按照滚刀研磨机制造商的说明,将滚刀研磨至以下规格。
滚刀研磨规格 新滚刀直径 128.5mm 滚刀直径维修限值 114.3mm 刀片铲磨角度 30° ± 5° 刀片棱面宽度范围 0.8~1.2 mm(0.03~0.05 inches) 滚刀直径锥体维修限值 0.25mm
铲磨滚刀
新滚刀的棱面宽度为 0.8~1.2mm,铲磨角度为 30°。
当棱面宽度大于 3mm 时,请执行以下步骤:
-
对所有滚刀棱面进行 30°铲磨,直至棱面宽度达到 0.8 mm(图 27)。

-
旋转打磨滚刀直至达到 <0.025mm 滚刀跳动。
Note: 这可能导致棱面宽度轻微增加。
-
调节滚刀组;请参阅滚刀组《操作员手册》。
Note: 为了使滚刀和底刀刀刃的锋利更加持久——打磨滚刀和/或底刀之后——在修剪 2 个果岭后应再次检查滚刀到底刀的接触,因为任何毛刺都要去除。毛刺可能导致滚刀与底刀之间产生不当的空隙,从而加速磨损。
倒磨滚刀组
危险
接触滚刀或其他活动件可能造成人身伤害。
确保手指、双手和衣服远离滚刀或其他活动件。
-
倒磨时远离滚刀。
-
倒磨时切勿使用短柄油漆刷。您可从当地的 Toro 授权经销商处购买长把刷子。
-
将机器停放在干净的水平地面上,降低滚刀组,关闭发动机,刹好手刹,然后拔下点火钥匙。
-
将滚刀马达从滚刀组中拆下,然后从提升臂上拆开并取下滚刀组。
-
将一件 9.5mm 方形连接杆插入滚刀组末端的花键联轴器,将倒磨机连接至滚刀组。
Note: 有关倒磨的其他说明和程序,请参阅您的主机操作员手册和 Toro 滚刀和旋刀剪草机磨刀手册,手册号为 80-300PT。
Note: 为了获得状态更好的刀刃,可以在完成倒磨操作时用锉刀打磨底刀和滚刀的前面。这将去除刀刃上可能累积的任何毛刺或粗糙边缘。
维护滚筒
维护滚筒可以使用滚筒翻新套件(零件号 140-5552)和滚筒翻新工具套件(零件号 140-5553)(图 28)。滚筒翻新套件包括翻新滚筒所需的所有轴承、轴承螺母、内密封件和外密封件。滚筒翻新工具套件包括使用滚筒翻新套件翻新滚筒所需的所有工具和安装说明。请参阅您的零件目录,或联系您的 Toro 授权经销商寻求帮助。



,即小心、警告或危险等个人安全指示。不遵循这些说明可能导致人身伤害甚至死亡事故。


















