Údržba
Note: Levá a pravá strana stroje se určuje z pohledu obsluhy v běžné pracovní pozici.
Podepření žací jednotky
Kdykoli potřebujete žací jednotku naklopit a získat tak přístup k plochému noži nebo vřetenu, podepřete zadní stranu žací jednotky tak, aby matice na zadním konci seřizovacích šroubů držáku plochého nože nespočívaly na pracovním povrchu (Obrázek 16).

Specifikace plochého nože
Údržba plochého nože
Údržbu držáku plochého nože a plochého nože smí provádět pouze řádně školený technik, aby nedošlo k poškození vřetena, držáku plochého nože nebo plochého nože. V ideálním případě nechejte údržbu žací jednotky provést u autorizovaného prodejce Toro. Úplné pokyny, potřebné zvláštní nářadí a obrázky pro údržbu držáku plochého nože naleznete v servisní příručce. Pokud budete demontovat nebo montovat držák plochého nože svépomocí, pokyny a specifikace pro údržbu držáku plochého nože jsou uvedeny níže.
Important: Při údržbě plochého nože se vždy řiďte postupy uvedenými v servisní příručce. V případě nesprávné montáže a zabroušení plochého nože hrozí nebezpečí poškození vřetena, držáku plochého nože nebo plochého nože.
Demontáž držáku plochého nožeMontážní celek plochého nože
-
Otočením seřizovacího šroubu držáku plochého nože proti směru hodinových ručiček posuňte plochý nůž dále od vřetena (Obrázek 17).

-
Vyšroubujte matici pro napnutí pružiny, aby pružina netlačila podložku k držáku plochého nože (Obrázek 17).
-
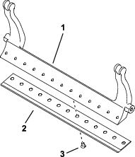
Na obou stranách stroje povolte pojistnou matici zajišťující šroub držáku plochého nože (Obrázek 18).

-
Demontujte jednotlivé šrouby držáku plochého nože, aby bylo možné stáhnout držák dolů a sejmout jej z žací jednotky (Obrázek 18).
Na každém konci držáku plochého nože by měly být dvě nylonové a jedna ocelová podložka (Obrázek 19).

-
Demontujte plochý nůž z držáku plochého nože tak, že demontujete všechny jeho upevňovací šrouby. Použijte nástrčný klíč a šroubový nástroj na plochý nůž (č. dílu TOR510880).
Note: K povolení šroubů plochého nože můžete použít mechanický nebo pneumatický rázový utahovák.
Note: Plochý nůž a šrouby zlikvidujte.
Montáž nového plochého nože
-
Vyberte správný nový nůž, viz Tabulky pro výběr výšky sekání a plochého nože.
-
Z povrchu plochého nože odstraňte korozi a usazeniny a aplikujte na něj tenkou vrstvu oleje.
Important: Neodstraňujte nálitky z držáku plochého nože. Držák plochého nože je z výroby uprostřed prohnutý – nezabrušujte ho.
-
Vyčistěte závity v plochém noži.
-
Na šrouby plochého nože aplikujte přípravek proti zadírání a namontujte plochý nůž na držák plochého nože.
Important: Používejte pouze nové šrouby plochého nože.
Note: Počet šroubů se liší v závislosti na držáku plochého nože.

-
Dva vnější šrouby utáhněte na utahovací moment 1 Nm.
-
Utáhněte šrouby na utahovací moment 25,9 +/- 1,4 Nm, přičemž postupujte od středu plochého nože.
Important: Šrouby plochého nože neutahujte mechanickým nebo pneumatickým rázovým utahovákem.

-
Nabruste nový plochý nůž; viz Pokyny k broušení plochého nože.
Pokyny k broušení plochého nože

| Úhel podbroušení plochého nože (horní) | Viz část Tabulky pro výběr výšky sekání a plochého nože. |
| Rozsah předního úhlu | 13° až 17° |
| Úhel podbroušení plochého nože Fairway | 10° |
Kontrola úhlu horního zbroušení
Velmi důležitý je úhel, pod kterým zabrušujete své ploché nože.
Použitím ukazatele úhlu (číslo dílu Toro 131-6828) a držáku ukazatele úhlu (číslo dílu Toro 131-6829) zkontrolujte úhel své brusky a následně správně upravte veškeré nepřesné nastavení brusky.
-
Umístěte ukazatel úhlu na spodní stranu plochého nože, viz Obrázek 23.

-
Stiskněte tlačítko Alt Zero“ na ukazateli úhlu.
-
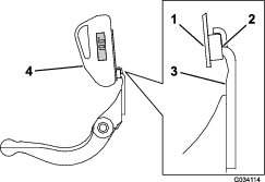
Umístěte držák ukazatele úhlu na hranu plochého nože tak, aby hrana magnetu lícovala s okrajem plochého nože (Obrázek 24).
Note: Digitální displej by měl být vidět ze stejné strany během tohoto kroku, stejně, jako v kroku 1.

-
Umístěte ukazatel úhlu na držák, viz Obrázek 24.
Note: To je úhel vaší brusky, jenž by měl být v rozmezí 2 stupňů doporučeného horního zbroušení.
Montáž montážního celku držáku plochého nože / plochého nože
-
Namontujte montážní celek držáku plochého nože / plochého nože – montážní výstupky umístěte mezi podložky a seřizovací šroub držáku plochého nože (Obrázek 17).
Important: Vycentrujte seřizovací prvky DPA ve výstupcích plochého nože, viz Obrázek 25.Pokud jsou seřizovací prvky DPA namontovány proti výstupkům plochého nože, může to negativně ovlivnit kontakt plochého nože s vřetenem.

-
Upevněte držák plochého nože k oběma bočním deskám pomocí šroubů držáku plochého nože (matice na šroubech) a 3 podložek (celkem 6).
-
Umístěte nylonovou podložku na obě strany výčnělku boční desky. Na vnější stranu nylonových podložek umístěte ocelovou podložku (Obrázek 19).
-
Šrouby držáku plochého nože utáhněte na utahovací moment 27 až 36 N (20 až 27 ft-lb).
-
Utáhněte pojistné matice tak, abyste eliminovali koncovou vůli na ocelových podložkách; je však třeba, aby s nimi bylo možné ručně otáčet. U podložek uvnitř může vzniknout mezera.
Important: Pojistné matice nadměrně neutahujte, jinak vychýlí boční desky.
-
Utáhněte matici pro napnutí pružiny, až dojde ke stlačení pružiny, a poté ji povolte o ½ otáčky (Obrázek 26).

-
Seřiďte plochý nůž na vřetenu, viz Seřízení plochého nože k vřetenu.
Specifikace vřetena
Příprava vřetena na zabroušení
-
Před zabrušováním se přesvědčte, zda jsou všechny součásti žací jednotky v dobrém stavu, a odstraňte veškeré závady.
-
Zabroušení žacího vřetena na následující specifikace proveďte podle pokynů výrobce vřetenové brusky.
Pokyny k broušení vřetena Nový průměr vřetena 128,5 mm Provozní limit průměru vřetena 114,3 mm Úhel podbroušení nože 30° ± 5° Rozmezí šířky krajní plochy nože 0,8 až 1,2 mm Provozní limit průměru kuželu vřetena 0,25 mm
Podbrušování vřetena
Nové vřeteno má šířku krajní plochy 0,8 až 1,2 mm a 30° podbroušení.
Pokud se šířka krajní plochy zvětší nad 3 mm, postupujte následovně:
-
Všechny nože vřetena podbruste na 30° tak, aby byla krajní plocha široká 0,8 mm (Obrázek 27).

-
Rotačně zabruste vřeteno tak, aby byla zajištěna házivost vřetena menší než 0,025 mm.
Note: Tím dojde k mírnému zvětšení šířky krajní plochy.
-
Nastavte žací jednotku (viz provozní příručka k žací jednotce).
Note: Chcete-li po zabroušení vřetena a/nebo plochého nože zvýšit životnost ostří jejich hrany, po posečení 2 greenů znovu zkontrolujte správný kontakt plochého nože a vřetena. Dojde tak k odstranění veškerých otřepů. Otřepy mohou způsobit nesprávnou vzdálenost mezi vřetenem a plochým nožem a tím rychlejší opotřebení.
Přelapování žací jednotky
Nebezpečí
Při styku s vřetenem nebo jinými pohyblivými díly může dojít ke zranění osob.
Nepřibližujte prsty, ruce ani oděv k vřetenům ani jiným pohyblivým dílům.
-
Během přelapování se k vřetenu nepřibližujte.
-
K přelapování nepoužívejte štětec s krátkou rukojetí. Štětce s dlouhou násadou jsou k dispozici od autorizovaného distributora Toro.
-
Umístěte stroj na čistý rovný povrch, spusťte žací jednotky na zem, vypněte motor, zatáhněte parkovací brzdu a vyjměte klíček ze zapalování.
-
Demontujte motory vřeten ze žacích jednotek a žací jednotky odpojte a sundejte ze zvedacích ramen.
-
Připojte nástroj pro přelapování k žací jednotce tak, že zasunete část 9,5mm čtvercové tyče do drážkového spojení na konci žací jednotky.
Note: Další pokyny a postupy při přelapování jsou popsány v provozní příručce k hnací jednotce a návodu na broušení vřeten a rotačních sekaček Toro, formulář č. 80-300PT.
Note: Chcete-li dosáhnout dokonalejšího ostří, přejeďte po dokončení přelapování brouskem přes přední stranu plochého nože a vřetena. Odstraníte tak otřepy a nerovnosti, které mohly na ostří vzniknout.
Údržba válce
Pro údržbu válce je k dispozici Sada pro opravu válce (objednací číslo 140-5552) a Sada nástrojů pro opravu válce (objednací číslo 140-5553) (Obrázek 28). Sada pro opravu válce obsahuje všechna ložiska, matice ložisek, vnitřní a vnější těsnění nutné k opravě válce. Sada nástrojů pro opravu válce obsahuje všechny nástroje a montážní pokyny nutné pro opravu válce pomocí sady pro opravu. Informace najdete v katalogu dílů nebo se obraťte na autorizovaného distributora Toro a vyžádejte si další podporu.



, který znamená
Upozornění, Výstrahu nebo Nebezpečí
– pokyny k zajištění osobní
bezpečnosti. Nedodržení těchto pokynů
může mít za následek zranění
osob nebo jejich usmrcení.













