Penyelenggaraan
Note: Tentukan sisi kiri dan kanan mesin dari kedudukan pengendalian yang biasa.
Menyokong Unit Pemotongan
Apabila anda perlu menjongketkan unit pemotongan untuk mendedahkan bilah dasar/gelendong, angkat bahagian belakang unit pemotongan untuk memastikan nat di hujung belakang bolt pelarasan bar dasar tidak menyentuh permukaan kerja (Rajah 16).

Spesifikasi Bilah Dasar
Menservis Bilah Dasar
Hanya mekanik yang dilatih sewajarnya boleh menservis bar dasar dan bilah dasar untuk mengelakkan kerosakan pada gelendong, bar dasar atau bilah dasar. Anda disyorkan untuk membawa unit pemotongan ke pengedar Toro dibenarkan anda untuk diservis. Rujuk Manual Servis unit cengkaman anda untuk mendapatkan arahan lengkap, alatan khas dan gambar rajah untuk menservis bilah dasar. Sekiranya anda sendiri perlu menanggalkan atau memasangkan bar dasar, arahan diberikan seperti berikut, disertakan juga spesifikasi untuk menservis bilah dasar.
Important: Sentiasa ikuti prosedur bilah dasar yang diperincikan dalam Manual Servis anda ketika menservis bilah dasar. Kegagalan untuk memasangkan dan mengisar bilah dasar dengan betul boleh merosakkan gelendong, bar dasar atau bilah dasar.
Menanggalkan Bar Dasar/Pemasangan Bilah Dasar
-
Putarkan skru pelarasan bar dasar melawan arah jam untuk menjauhkan bilah dasar dari gelendong (Rajah 17).

-
Keluarkan nat ketegangan spring sehingga sesendal tidak lagi ditegangkan pada bar dasar (Rajah 17).
-
Pada setiap sisi mesin, longgarkan nat kunci yang mengunci bolt bar dasar (Rajah 18).

-
Tanggalkan setiap bolt bar dasar untuk membolehkan bar dasar ditarik ke bawah dan ditanggalkan dari unit pemotongan (Rajah 18).
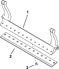
Tentukan tempat untuk 2 sesendal nilon dan 1 sesendal keluli pada setiap hujung bar dasar (Rajah 19).

-
Tanggalkan bilah dasar dari bar dasar dengan menanggalkan semua skru yang menguncinya. Gunakan perengkuh soket dengan Alat Skru Bilah Dasar (No. Bahagian TOR510880).
Note: Anda boleh menggunakan perengkuh impak mekanikal atau pneumatik untuk melonggarkan skru bilah dasar.
Note: Buang bilah dasar dan skru.
Memasangkan Bilah Dasar Baharu
-
Pilih bilah dasar baharu menurut Carta Pemilihan Ketinggian Pemotongan dan Bilah Dasar.
-
Singkirkan karat, kerak dan kakisan dari permukaan bar dasar dan sapukan satu lapisan minyak yang tipis pada permukaan bar dasar.
Important: Jangan tanggalkan bahan tuangan dari bar dasar. Bar dasar cengkung di bahagian tengah dengan sengaja, jangan kisar.
-
Bersihkan ulir di dalam bar dasar.
-
Sapukan sebatian cegah karat pada skru bilah dasar baharu dan pasangkan bilah dasar pada bar dasar.
Important: Hanya gunakan skru bilah dasar yang baharu.
Note: Kuantiti skru berbeza-beza bergantung pada bar dasar.

-
Tork 2 skru luar kepada 1N∙m (10 inci-lb).
-
Dengan mengendalikan dari bahagian tengah bilah dasar, tork skru kepada 25.9 +/- 1.4N∙m (19 +/- 1 kaki-lb).
Important: Jangan ketatkan skru bilah dasar menggunakan perengkuh impak mekanikal atau pneumatik.

-
Kisar bilah dasar baharu; rujuk Spesifikasi Pengisaran Bilah Dasar.
Spesifikasi Pengisaran Bilah Dasar

| Sudut lega (atas) bilah dasar | Rujuk Carta Pemilihan Ketinggian Pemotongan dan Bilah Dasar. |
| Julat Sudut Hadapan | 13°~17° |
| Sudut hadapan bilah dasar lintasan | 10° |
Memeriksa Sudut Kisar Atas
Sudut yang anda gunakan untuk mengisar bilah dasar anda adalah sangat penting.
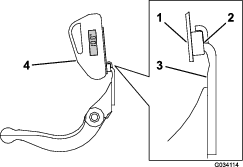
Gunakan penunjuk sudut (No. Bahagian Toro 131-6828) dan lekapan penunjuk sudut (No. Bahagian Toro 131-6829) untuk menyemak sudut yang dihasilkan oleh pengisar anda, betulkan mana-mana pengisar yang tidak tepat.
-
Letakkan penunjuk sudut pada bahagian bawah bilah dasar seperti yang ditunjukkan dalam Rajah 23.

-
Tekan butang Alt Zero pada penunjuk sudut.
-
Letakkan lekapan penunjuk sudut pada mata bilah dasar agar tepi magnet melekat dengan mata bilah dasar (Rajah 24).
Note: Paparan digital seharusnya dapat dilihat dari sisi yang sama pada langkah ini seperti paparan pada langkah 1.

-
Letakkan penunjuk sudut pada lekapan seperti yang ditunjukkan dalam Rajah 24.
Note: Ini ialah sudut yang pengisar anda hasilkan dan seharusnya dalam julat 2 darjah bagi sudut kisar atas yang disyorkan.
Memasangkan Pemasangan Bar Dasar/Bilah Dasar
-
Pasangkan pemasangan bar dasar/bilah dasar, letakkan telinga lekapan di antara sesendal dengan skru pelarasan bar dasar (Rajah 17).
Important: Letakkan pelaras DPA di bahagian tengah di dalam telinga bar dasar seperti yang ditunjukkan dalam Rajah 25.Jika pelaras DPA dipasangkan pada telinga bar dasar, ini mungkin menjejaskan sentuhan bilah dasar dengan gelendong.

-
Kuncikan bar dasar pada setiap plat sisi menggunakan bolt bar dasar (nat pada bolt) dan 3 sesendal (jumlah 6).
-
Letakkan sesendal nilon pada setiap sisi tombol plat sisi. Letakkan sesendal keluli di bahagian luar setiap sesendal nilon (Rajah 19).
-
Tork bolt bar dasar kepada 27~36N∙m (20~27 kaki-lb).
-
Ketatkan nat kunci sehingga tiada kelonggaran pada sesendal keluli hujung tetapi anda masih boleh memutarkan sesendal menggunakan tangan. Mungkin ada ruang pada sesendal di bahagian dalam.
Important: Jangan kunci nat kunci terlampau ketat kerana ini akan memesongkan plat sisi.
-
Ketatkan nat ketegangan spring sehingga spring dilipat, kemudian undur balik sebanyak ½ putaran (Rajah 26).

-
Laraskan bilah dasar pada gelendong; rujuk Melaraskan Bilah Dasar pada Gelendong.
Spesifikasi Gelendong
Menyediakan Gelendong untuk Pengisaran
-
Pastikan semua komponen unit pemotongan dalam keadaan baik dan betulkan sebarang masalah sebelum pengisaran.
-
Ikuti arahan daripada pengilang pengisar gelendong untuk mengisar gelendong pemotongan kepada spesifikasi berikut.
Spesifikasi Pengisaran Gelendong Diameter Gelendong Baharu 128.5mm (5.06 inci) Had Servis Diameter Gelendong 114.3mm (4.50 inci) Sudut Lega Bilah 30° ± 5° Julat Lebar Tanah Bilah 0.8~1.2mm (0.03~0.05 inci) Had Servis Tirusan Diameter Gelendong 0.25mm (0.010 inci)
Pengisaran Lega pada Gelendong
Gelendong baharu mempunyai lebar tanah 0.8~1.2 mm (0.03~0.050 inci) dan pengisaran lega 30°.
Apabila lebar tanah melebihi 3mm (0.120 inci), lakukan perkara berikut:
-
Gunakan pengisaran lega 30° pada semua bilah gelendong sehingga lebar tanah mencapai 0.8 mm (0.03 inci) (Rajah 27).

-
Kisar gelendong dengan memutar untuk mencapai penyingkiran gelendong <0.025mm (0.001 inci).
Note: Ini menyebabkan lebar tanah bertambah sedikit.
-
Laraskan unit pemotongan; rujuk Manual Pengendaliunit pemotongan anda.
Note: Untuk melanjutkan kekekalan ketajaman mata gelendong dan bilah dasar—selepas mengisar gelendong dan/atau bilah dasar—periksa sentuhan gelendong dengan bilah dasar sekali lagi selepas memotong 2 kawasan rumput kerana mana-mana gerigis akan disingkirkan. Gerigis akan mewujudkan ruang lega dari gelendong ke bilah dasar yang tidak sesuai, yang boleh mempercepat kehausan.
Menindih Kembali Unit Pemotongan
Bahaya
Kecederaan diri boleh berlaku jika tersentuh gelendong atau bahagian bergerak yang lain.
Jauhkan jari, tangan dan pakaian anda daripada gelendong atau bahagian bergerak yang lain.
-
Jauhi gelendong ketika penindihan kembali.
-
Jangan gunakan berus cat dengan pemegang pendek untuk penindihan kembali. Berus dengan pemegang panjang boleh didapatkan daripada pengedar Toro dibenarkan setempat anda.
-
Letakkan mesin di atas permukaan yang bersih dan rata, turunkan unit pemotongan, hentikan enjin, gunakan brek henti dan keluarkan kunci pencucuhan.
-
Keluarkan motor gelendong dari unit pemotongan, dan tanggalkan dan keluarkan unit pemotongan dari lengan angkat.
-
Pasangkan mesin penindihan kembali pada unit pemotongan dengan memasukkan satu penyangga segi empat ⅜ inci ke dalam gandingan gelugur pada hujung unit pemotongan.
Note: Arahan dan prosedur tambahan tentang Penindihan Kembali boleh didapati dalam Manual Pengendali unit cengkaman anda dan Manual Toro untuk Mengasah Gelendong dan Mesin Rumput Putar, Nombor Borang 80-300PT.
Note: Untuk mendapatkan mata pemotongan yang lebih baik, kikir merentas muka hadapan bilah dasar dan gelendong apabila pengendalian penindihan dilengkapkan. Ini akan menyingkirkan gerigis atau gerigi yang mungkin membentuk pada mata memotong.
Menservis Penggelek
Kit Pembinaan Semula Penggelek (No. Bahagian 140-5552) dan Kit Alatan Pembinaan Semula Penggelek (No. Bahagian 140-5553) (Rajah 28) tersedia untuk menservis penggelek. Kit Pembinaan Semula Penggelek termasuk semua bearing, nat bearing, pengedap dalam dan pengedap luar untuk membina semula penggelek. Kit Pembinaan Semula Penggelek merangkumi semua alat dan arahan pemasangan yang diperlukan untuk membina semula penggelek menggunakan kit pembinaan semula penggelek. Rujuk katalog bahagian anda atau hubungi pengedar Toro dibenarkan anda untuk mendapatkan bantuan.



, yang bermaksud Awas, Amaran atau Bahaya –
arahan keselamatan diri. Kegagalan untuk mematuhi arahan ini mungkin
menyebabkan kecederaan diri atau kematian.













