Bảo trì
Note: Xác định các mặt bên trái và bên phải của máy từ vị trí vận hành bình thường.
Hỗ trợ Dao xoắn
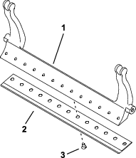
Bất cứ khi nào bạn phải nghiêng dao xoắn để dao bụng/guồng xoắn lộ ra, hãy sử dụng thiết bị chống đỡ phía sau dao xoắn để đảm bảo các đai ốc ở đầu sau của vít điều chỉnh thanh dưới không dựa lên bề mặt làm việc (Hình 16).

Thông số kỹ thuật của Dao bụng
Bảo dưỡng Dao bụng
Chỉ có thợ cơ khí được đào tạo bài bản mới được bảo dưỡng thanh dưới và dao bụng để tránh làm hỏng guồng xoắn, thanh dưới hoặc dao bụng. Tốt nhất là mang dao xoắn đến nhà phân phối Toro được ủy quyền của bạn để bảo dưỡng. Tham khảo Hướng dẫn Bảo dưỡng cho bộ kéo của bạn để biết cách thực hiện đầy đủ, các dụng cụ đặc biệt và sơ đồ bảo dưỡng dao bụng. Nếu bạn cần tự tháo hoặc lắp ráp thanh dưới, hãy xem hướng dẫn được cung cấp dưới đây, theo các thông số kỹ thuật để bảo dưỡng dao bụng.
Important: Luôn tuân thủ quy trình về dao bụng được trình bày chi tiết trong Hướng dẫn Bảo dưỡng khi bảo dưỡng dao bụng. Không lắp đặt và mài dao bụng đúng cách có thể dẫn đến hỏng guồng xoắn, thanh dưới hoặc dao bụng.
Tháo Thanh dưới/Cụm dao bụng
-
Xoay vít căn chỉnh thanh dưới ngược chiều kim đồng hồ để đẩy dao bụng ra khỏi guồng xoắn (Hình 17).

-
Rút đai ốc căng lò xo ra, cho đến khi vòng đệm không còn căng so với thanh dưới (Hình 17).
-
Trên mỗi mặt bên của máy, nới lỏng êcu hãm đang siết chặt bu lông của thanh dưới (Hình 18).

-
Tháo từng bu lông của thanh dưới để kéo thanh dưới xuống và tháo thanh dưới ra khỏi dao xoắn (Hình 18).
Cho phép 2 vòng đệm bằng nylon và 1 vòng đệm bằng thép trên mỗi đầu của thanh dưới (Hình 19).

-
Tháo dao bụng ra khỏi thanh dưới bằng cách tháo tất cả các vít đang giữ dao bụng ở đúng vị trí. Sử dụng chìa vặn đầu ống với Dụng cụ vặn vít dao bụng (Số bộ phận TOR510880).
Note: Bạn có thể sử dụng chìa vặn tác động cơ học hoặc khí nén để nới lỏng các vít của dao bụng.
Note: Vứt bỏ dao bụng và các vít.
Lắp dao bụng mới
-
Chọn dao bụng mới theo Biểu đồ lựa chọn độ cao mặt cắt và dao bụng.
-
Loại bỏ rỉ, cáu cặn và ăn mòn khỏi bề mặt thanh dưới và bôi một lớp dầu mỏng lên bề mặt thanh dưới.
Important: Không tháo vật liệu đúc ra khỏi thanh dưới. Thanh dưới được thiết kế lõm ở giữa; không mài.
-
Làm sạch các ren trong thanh dưới.
-
Bôi hợp chất chống kẹt trên các vít của dao bụng mới và lắp dao bụng trên thanh dưới.
Important: Chỉ sử dụng các vít của dao bụng mới.
Note: Số lượng vít thay đổi tùy thuộc vào thanh dưới.

-
Xoay mô-men xoắn của 2 vít ngoài đến 1 N∙m.
-
Làm việc từ tâm của dao bụng, tạo mô-men xoắn cho vít từ 25,9 +/- 1,4 N∙m (19 +/- 1 ft-lb).
Important: Không siết chặt các vít của dao bụng bằng chìa vặn tác động cơ học hoặc khí nén.

-
Mài dao bụng mới; tham khảo Thông số kỹ thuật Mài Dao bụng.
Thông số kỹ thuật Mài Dao bụng

| Góc khe hở (trên cùng) của dao bụng | Tham khảo Biểu đồ lựa chọn độ cao mặt cắt và dao bụng. |
| Phạm vi góc trước | 13° đến 17° |
| Góc trước của dao bụng Fairway | 10° |
Kiểm tra Góc Mài Trên cùng
Góc mà bạn sử dụng để mài dao bụng của mình rất quan trọng.
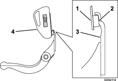
Sử dụng bộ chỉ báo góc (Số Bộ phận Toro 131-6828) và giá gắn bộ chỉ báo góc (Số Bộ phận Toro 131-6829) để kiểm tra góc mà máy mài của bạn tạo ra, sau đó chỉnh sửa bất kỳ chi tiết không chính xác nào của máy mài.
-
Đặt bộ chỉ báo góc ở mặt dưới cùng của dao bụng như được minh họa trong Hình 23.

-
Nhấn nút Alt 0 trên bộ chỉ báo góc.
-
Đặt giá gắn bộ chỉ báo góc lên mép của dao bụng sao cho mép của nam châm tiếp xúc với mép của dao bụng (Hình 24).
Note: Màn hình kỹ thuật số phải được nhìn thấy từ cùng một phía trong bước này giống như ở bước 1.

-
Đặt bộ chỉ báo góc trên giá gắn như được minh họa trong Hình 24.
Note: Đây là góc mà máy mài của bạn tạo ra, và phải nằm trong phạm vi 2 độ so với góc mài trên cùng được khuyến nghị.
Lắp cụm thanh dưới/dao bụng
-
Lắp cụm thanh dưới/dao bụng, định vị các tai gắn giữa vòng đệm và vít điều chỉnh thanh dưới (Hình 17).
Important: Căn giữa bộ điều chỉnh DPA vào tai thanh dưới như được minh họa trong Hình 25.Nếu bộ điều chỉnh DPA được lắp vào tai thanh dưới, điều này có thể ảnh hưởng tiêu cực đến tiếp xúc giữa dao bụng và guồng xoắn.

-
Siết chặt thanh dưới vào mỗi tấm bên bằng các bu lông của thanh dưới (đai ốc trên bu lông) và 3 vòng đệm (tổng cộng 6 cái).
-
Đặt một vòng đệm bằng nylon trên mỗi bên của vấu lồi tấm bên. Đặt một vòng đệm bằng thép bên ngoài mỗi vòng đệm bằng nylon (Hình 19).
-
Tạo mô-men xoắn của bu lông thanh dưới đến 27 đến 36 N∙m (20 đến 27 ft-lb).
-
Siết chặt các êcu hãm cho đến khi không còn khe hở hướng trục ở vòng đệm bằng thép, nhưng bạn có thể xoay các êcu hãm bằng tay. Vòng đệm ở mặt trong có thể có khe hở.
Important: Đừng siết quá chặt các êcu hãm, nếu không, chúng sẽ làm lệch tấm bên.
-
Siết chặt đai ốc căng lò xo cho đến khi lò xo bị nén, sau đó lùi lại 1/2 vòng (Hình 26).

-
Cân chỉnh dao bụng theo guồng xoắn; tham khảo Cân chỉnh Dao bụng theo Guồng xoắn.
Thông số kỹ thuật của Guồng xoắn
Chuẩn bị Guồng xoắn để Mài
-
Đảm bảo tất cả các bộ phận của dao xoắn ở tình trạng tốt và khắc phục mọi vấn đề trước khi mài.
-
Làm theo hướng dẫn của nhà sản xuất máy mài guồng xoắn để mài guồng xoắn cắt theo các thông số kỹ thuật sau.
Thông số kỹ thuật Mài Guồng xoắn Đường kính Guồng xoắn Mới 128,5 mm Giới hạn Dịch vụ Đường kính Guồng xoắn 114,3 mm Góc Khe hở Lưỡi cắt 30° ± 5° Bề rộng Tiếp xúc với Đất của Lưỡi cắtPhạm vi 0,8 đến 1,2 mm (0,03 đến 0,05 inches) Giới hạn Dịch vụ Côn Đường kính Guồng xoắn 0,25 mm
Mài hớt lưng Guồng xoắn
Guồng xoắn mới có bề rộng tiếp xúc với đất từ 0,8 đến 1,2 mm và mài hớt lưng 30°.
Khi bề rộng tiếp xúc của đất lớn hơn 3 mm, hãy thực hiện như sau:
-
Áp dụng mài hớt lưng 30° trên tất cả các lưỡi cắt của guồng xoắn cho đến khi bề rộng tiếp xúc với đất rộng 0,8 mm (Hình 27).

-
Mài quanh trụ tròn đối với guồng xoắn để đạt được độ chạy lệch tâm của guồng xoắn < 0,025 mm.
Note: Điều này làm cho bề rộng tiếp xúc của đất tăng lên một chút.
-
Điều chỉnh dao xoắn; tham khảo Hướng dẫn Vận hành dao xoắn của bạn.
Note: Để kéo dài thời hạn sử dụng độ sắc bén của mép guồng xoắn và dao bụng - sau khi mài guồng xoắn và/hoặc dao bụng - hãy kiểm tra lại tiếp xúc của guồng xoắn với dao bụng sau khi cắt 2 mặt cỏ, vì mọi đường gờ sẽ bị loại bỏ. Các đường gờ có thể tạo ra khoảng sáng không phù hợp từ guồng xoắn đến dao bụng, có thể làm tăng tốc độ mài mòn.
Mài bột đá Dao Xoắn
Nguy hiểm
Tiếp xúc với guồng xoắn hoặc các bộ phận đang chuyển động khác có thể gây thương tích cá nhân.
Không để ngón tay, bàn tay và quần áo của bạn lại gần guồng xoắn và các bộ phận đang chuyển động khác.
-
Tránh xa guồng xoắn trong khi mài bột đá.
-
Không bao giờ sử dụng chổi sơn có cán ngắn để mài bột đá. Chổi cán dài có sẵn từ nhà phân phối Toro được ủy quyền tại địa phương của bạn.
-
Đặt máy trên bề mặt bằng phẳng, sạch sẽ, hạ các dao xoắn, tắt động cơ, gài phanh tay và rút chìa khóa.
-
Tháo mô-tơ trục guồng xoắn ra khỏi các dao xoắn, ngắt kết nối và tháo các dao xoắn ra khỏi tay đòn nâng.
-
Kết nối máy mài bột đá với dao xoắn bằng cách lắp miếng cán vuông 9,6 mm vào khớp nối có rãnh then ở đầu dao xoắn.
Note: Các hướng dẫn và quy trình bổ sung về Mài bột đá có sẵn trong Hướng dẫn Vận hành bộ kéo của bạn và Hướng dẫn Sử dụng Mài Guồng xoắn và Máy cắt cỏ Xoay của Toro, Mẫu số 80-300PT.
Note: Để có mép cắt tốt hơn, hãy chạy một đường giũa trên mặt trước của dao bụng và guồng xoắn sau khi mài rà. Thao tác này sẽ loại bỏ bất kỳ đường gờ hoặc mép gồ ghề nào có thể tích tụ trên mép cắt.
Bảo dưỡng Roller
Bộ Sửa chữa Roller (Số Bộ phận 140-5552) và Bộ Dụng cụ Sửa chữa Roller (Số Bộ phận 140-5553) (Hình 28) đều có sẵn để bảo dưỡng roller. Bộ Sửa chữa Roller bao gồm tất cả các vòng bi, đai ốc vòng bi, phớt dầu trong và phớt dầu ngoài để dựng lại roller. Bộ Dụng cụ Sửa chữa Roller bao gồm tất cả các dụng cụ và hướng dẫn lắp đặt cần thiết để dựng lại roller bằng bộ sửa chữa roller. Tham khảo danh mục bộ phận hoặc liên hệ với nhà phân phối Toro được ủy quyền của bạn để được hỗ trợ.



, cụ thể là Thận
trọng, Cảnh báo hoặc Nguy hiểm — hướng dẫn an toàn
cá nhân. Việc không tuân thủ hướng dẫn này
có thể dẫn đến thương tích cá nhân
hoặc tử vong.













