| Périodicité d'entretien | Procédure d'entretien |
|---|---|
| Après chaque utilisation |
|
Cette tondeuse autotractée à lame rotative est destinée au grand public. Elle est principalement conçue pour tondre les pelouses entretenues régulièrement dans les terrains privés. Elle n'est pas conçue pour couper les broussailles ni pour un usage agricole. Elle est conçue pour utiliser les batteries ion-lithium Toro de 60 V. Ces batteries sont conçues pour être chargées uniquement avec les chargeurs de batteries ion-lithium Toro de 60 V. L'utilisation de ces produits à d'autres fins que celles prévues peut être dangereuse pour vous-même et toute personne à proximité.
Le modèle 21467T ne comprend pas de batterie ni de chargeur.
Lisez attentivement cette notice pour apprendre comment utiliser et entretenir correctement votre produit, et éviter ainsi de l'endommager ou de vous blesser. Vous êtes responsable de l'utilisation sûre et correcte du produit.
Pour plus d'information, y compris des conseils de sécurité, des documents de formation, des renseignements concernant un accessoire, pour obtenir l'adresse d'un dépositaire ou pour enregistrer votre produit, rendez-vous sur le site www.Toro.com.
Pour obtenir des prestations de service, des pièces Toro d'origine ou des renseignements complémentaires, munissez-vous des numéros de modèle et de série du produit et contactez un dépositaire-réparateur ou le service client Toro agréé. La Figure 1 indique l'emplacement des numéros de modèle et de série du produit. Inscrivez les numéros dans l'espace réservé à cet effet.
Important: Avec votre appareil mobile, vous pouvez scanner le code QR sur l'autocollant du numéro de série (le cas échéant) pour accéder à l'information sur la garantie, les pièces détachées et autres renseignements concernant le produit.

Le symbole de sécurité (Figure 2) utilisé dans ce manuel et sur la machine identifie d'importants messages de sécurité dont vous devez tenir compte pour éviter des accidents.

Le symbole de sécurité apparaît au-dessus de toute information signalant des actions ou des situations dangereuses. Il est suivi de la mention DANGER, ATTENTION ou PRUDENCE.
DANGER signale un danger immédiat qui, s'il n'est pas évité, entraînera obligatoirement des blessures graves ou mortelles.
ATTENTION signale un danger potentiel qui, s'il n'est pas évité, risque d'entraîner des blessures graves ou mortelles.
PRUDENCE signale un danger potentiel qui, s'il n'est pas évité, peut éventuellement entraîner des blessures légères ou modérées.
Ce manuel utilise également deux autres termes pour faire passer des renseignements essentiels. Important, pour attirer l'attention sur une information d'ordre mécanique spécifique, et Remarque, pour souligner une information d'ordre général méritant une attention particulière.
![]() |
Si vous avez besoin d'aide, visionnez les vidéos d'instruction sur www.Toro.com/support ou appelez le 1-888-384-9939 avant de renvoyer ce produit. |
CALIFORNIE
Proposition 65 - Avertissement
Le cordon d'alimentation de cette machine contient du plomb, une substance chimique considérée par l'état de Californie comme susceptible de provoquer des malformations congénitales et autres troubles de la reproduction. Lavez-vous les mains après avoir manipulé la batterie.
L'utilisation de ce produit peut entraîner une exposition à des substances chimiques considérées pas l'état de Californie comme capables de provoquer des cancers, des anomalies congénitales ou d'autres troubles de la reproduction.
IMPORTANTES CONSIGNES
DE SÉCURITÉ
L'utilisation de tondeuses électriques exige d'observer certaines précautions élémentaires pour réduire le risque d'incendie, de choc électrique et de dommage corporel, y compris ce qui suit :
Lire toutes les instructions
I. Formation à l'utilisation
L'utilisateur de la machine est responsable des accidents et dommages causés aux autres personnes et à leurs possessions.
N'autorisez pas les enfants à utiliser ou jouer avec la machine, la batterie ou le chargeur de batterie; certaines législations imposent un âge minimum pour l'utilisation de ce type de machine.
Ne confiez pas l'utilisation ou l'entretien de la machine à des enfants ou à des personnes non compétentes. Seules les personnes responsables, formées à l'utilisation de l'appareil, ayant lu et compris les instructions et physiquement aptes sont autorisées à utiliser l'appareil ou à en faire l'entretien.
Avant d'utiliser la machine, la batterie et le chargeur de batterie, lisez toutes les instructions et mises en garde qui figurent sur ces produits.
Familiarisez-vous avec les commandes et le maniement correct de la machine, de la batterie et du chargeur de batterie.
II. Avant l'utilisation
Tenez tout le monde, notamment les enfants et les animaux, à l'écart de la zone de travail.
N'utilisez pas la machine s'il manque des capots ou des dispositifs de protection tels que déflecteurs et bacs à herbe, ou s'ils sont en mauvais état.
Examinez la zone de travail et débarrassez-la de tout objet pouvant gêner le fonctionnement de la machine ou être projeté pendant son utilisation.
Avant d'utiliser la machine, vérifiez que la lame, le boulon de la lame et l'ensemble ne sont pas usés ni endommagés. Remplacez toutes les étiquettes endommagées ou illisibles.
Utilisez uniquement la batterie spécifiée par Toro. L'utilisation d'autres accessoires et outils peut accroître le risque de blessure et d'incendie.
Vous pouvez causer un incendie ou un choc électrique si vous branchez le chargeur de batterie à une prise qui n'est pas de 120 V. Ne branchez pas le chargeur de batteries à une prise autre que 120 V. Pour un autre mode de connexion, vous pouvez, au besoin, utiliser un adaptateur configuré correctement pour la prise.
N'utilisez pas la batterie ou le chargeur de batterie s'ils sont endommagés ou modifiés, car ils pourraient se comporter de manière imprévisible et causer un incendie, une explosion ou des blessures.
Si le cordon d'alimentation relié au chargeur de batterie est endommagé, contactez un dépositaire-réparateur agréé pour le faire remplacer.
Chargez la batterie uniquement avec le chargeur spécifié par Toro. Un chargeur convenant à un certain type de batterie peut créer un risque d'incendie s'il est utilisé avec une autre batterie.
Ne chargez la batterie que dans un endroit bien aéré.
Suivez toutes les instructions de charge et ne chargez pas la batterie hors de la plage de température spécifiée dans les instructions. Vous risquez sinon d'endommager la batterie et d'accroître le risque d'incendie.
Portez une tenue adéquate – Portez une tenue appropriée, y compris une protection oculaire, un pantalon, des bottes en caoutchouc solides à semelle antidérapante (ne travaillez pas pieds nus ou en sandales) et des protecteurs d'oreilles. Si vos cheveux sont longs, attachez-les et ne portez pas de vêtements amples ou de bijoux pendants qui pourraient se prendre dans les pièces mobiles. Portez un masque antipoussière si l'atmosphère est poussiéreuse. Il est recommandé de porter des gants de caoutchouc.
III. Utilisation
Le contact avec la lame en mouvement entraîne des blessures graves. Gardez les mains et les pieds à l'écart de la zone de coupe et de toutes les pièces mobiles de la machine. Ne vous tenez pas devant l'ouverture d'éjection.
L'utilisation de cette machine à d'autres fins que celle prévue peut être dangereuse pour vous-même et toute personne à proximité.
Désengagez l'autopropulsion (selon l'équipement) avant de démarrer la machine.
N'inclinez pas la machine quand vous démarrez le moteur.
Évitez les démarrages accidentels – vérifiez que le bouton de démarrage électrique est retiré du commutateur de démarrage électrique avant de brancher la batterie et de manipuler la machine.
Accordez toute votre attention à l'utilisation de la machine. Ne vous livrez à aucune activité risquant de vous distraire, au risque de causer des dommages corporels ou matériels.
Arrêtez la machine, retirez le bouton de démarrage électrique, enlevez la batterie de la machine et attendez l'arrêt de tout mouvement avant de régler, réviser, nettoyer ou remiser la machine.
Enlevez la batterie et le bouton de démarrage électrique de la machine chaque fois que vous la laissez sans surveillance ou avant de changer d'accessoires.
Ne faites pas forcer la machine – elle donnera de bien meilleurs résultats et sera plus sûre si vous l'utilisez à la vitesse pour laquelle elle est prévue.
Restez alerte – concentrez-vous sur votre tâche et faites preuve de bon sens lorsque vous utilisez la machine. N'utilisez pas la machine si vous êtes malade ou fatigué(e), ni sous l'emprise de l'alcool, de drogues ou de médicaments.
N'utilisez pas une tondeuse alimentée par batterie sous la pluie.
N'utilisez la machine que si la visibilité est suffisante et dans de bonnes conditions météorologiques. N'utilisez pas la machine si la foudre menace.
Redoublez de prudence lorsque vous faites marche arrière ou que vous tirez la machine vers vous.
Gardez toujours les pieds bien posés à terre et maintenez votre équilibre, en particulier sur les pentes. Travaillez transversalement à la pente, jamais en montant ou descendant. Changez de direction avec la plus grande prudence sur les terrains en pente. Ne tondez pas de pentes trop raides. Avancez toujours à une allure normale avec la machine, ne courez pas.
Ne dirigez pas l'éjection vers qui que ce soit. N'éjectez pas l'herbe coupée contre un mur ou un obstacle, car elle pourrait ricocher dans votre direction. Arrêtez la ou les lames avant de traverser des surfaces non recouvertes d'herbe.
Méfiez-vous des trous, ornières, bosses, rochers ou autres obstacles cachés. Les irrégularités du terrain peuvent vous faire déraper ou perdre l'équilibre.
En travaillant sur l'herbe ou les feuilles humides, vous risquez de glisser et de vous blesser gravement si vous touchez la lame en tombant. Ne tondez pas quand l'herbe est humide. Ne tondez pas sous la pluie.
Si la machine heurte un objet ou se met à vibrer, arrêtez-la immédiatement, enlevez le bouton de démarrage électrique, enlevez la batterie et attendez l'arrêt complet de tout mouvement avant de vérifier l'état de la machine. Effectuez toutes les réparations nécessaires avant de réutiliser la machine.
Arrêtez la machine et enlevez le bouton de démarrage électrique avant de charger la machine pour le transport.
Dans des conditions d'utilisation abusive, du liquide peut jaillir hors de la batterie; évitez tout contact. En cas de contact accidentel avec le liquide, rincez à l'eau. En cas de contact du liquide avec les yeux, consultez un médecin. Le liquide éjecté de la batterie peut causer des irritations ou des brûlures.
IV. Entretien et remisage
Arrêtez la machine, retirez le bouton de démarrage électrique, enlevez la batterie de la machine et attendez l'arrêt de tout mouvement avant de régler, réviser, nettoyer ou remiser la machine.
N'essayez pas de réparer la machine sauf en suivant les instructions. Confiez l'entretien de la machine à un dépositaire-réparateur agréé qui utilise des pièces de rechange identiques.
Portez des gants et une protection oculaire pour faire l'entretien de la machine.
Aiguisez les lames émoussées de chaque côté pour les maintenir équilibrées. Nettoyez la lame et vérifiez qu'elle est équilibrée.
Remplacez la lame si elle est faussée, usée ou fissurée. Une lame mal équilibrée provoque des vibrations qui risquent d'endommager le moteur ou de causer des blessures.
Quand vous faites l'entretien de la lame, n'oubliez pas qu'elle peut encore bouger même si l'alimentation électrique est coupée.
Vérifiez fréquemment que le bac de ramassage n'est pas détérioré ou usé; remplacez un bac usé par un bac Toro.
Pour obtenir des résultats optimaux, utilisez uniquement des pièces de rechange et des accessoires Toro d'origine. Les pièces de rechange et accessoires d'une autre marque peuvent être dangereux et leur utilisation risque d'annuler la garantie de la machine.
Maintenez la machine en bon état – Pour obtenir des performances optimales et sûres, conservez le tranchant des lames propre et bien affûté. Gardez les poignées propres et sèches, et exemptes d'huile et de graisse. Gardez toujours les protections en place et en bon état. Maintenez les lames bien aiguisées. Utilisez uniquement des lames de rechange identiques.
Vérifiez l'état des pièces de la machine – si vous constatez que des protections ou d'autres pièces sont endommagées, déterminez si la machine peut fonctionner correctement. Vérifiez qu'aucune pièce mobile n'est mal alignée ou grippée, et qu'aucune pièce n'est cassée, mal fixée ou présente tout autre défaut susceptible d'en affecter le fonctionnement. Sauf indication contraire dans les instructions, faites réparer ou remplacer les protections ou les pièces endommagées par un dépositaire-réparateur agréé.
Lorsque la batterie ne sert pas, rangez-la à l'écart d'objets métalliques tels que trombones, pièces de monnaie, clés, clous et vis qui pourraient relier les bornes entre elles. Un court-circuit aux bornes de la batterie peut causer des brûlures ou un incendie.
Vérifiez fréquemment le serrage des boulons de montage de la lame et du moteur.
Lorsque vous n'utilisez pas la machine, remisez-la dans un local sec et sécurisé et hors de la portée des enfants.
N'exposez pas la batterie ou la machine au feu ou à une température excessive. L'exposition au feu ou à une température supérieure à 130 °C (265 °F) peut provoquer une explosion.
PRUDENCE – la batterie peut présenter un risque d'incendie, d'explosion ou de brûlure chimique en cas de mauvais traitement.
Ne démontez pas la batterie.
Remplacez toujours la batterie par une batterie Toro d'origine; l'utilisation de tout autre type de batterie peut entraîner un incendie ou un risque de de blessure.
Conservez les batteries hors de la portée des enfants et dans leur emballage d'origine jusqu'au dernier moment avant de les utiliser.
CONSERVEZ CES
INSTRUCTIONS
![]() |
Des autocollants de sécurité et des instructions bien visibles par l'opérateur sont placés près de tous les endroits potentiellement dangereux. Remplacez tout autocollant endommagé ou manquant. |


Modèle 88660








Important: La batterie n'est pas complètement chargée à l'achat. Avant la toute première utilisation de la machine, voir Charge de la batterie.
Si vous le souhaitez, vous pouvez fixer le chargeur de batteries solidement sur un mur à l'aide des fentes situées au dos.
Montez-le à l'intérieur (par exemple dans un garage ou tout autre endroit à l'abri de l'humidité), à proximité d'une prise de courant et hors de la portée des enfants.
Pour vous aider à monter le chargeur, voir la Figure 3.
Pour fixer le chargeur en place, insérez-le sur les fixations installées à la bonne position (fixations non incluses).

Vous risquez d'endommager les câbles et de rendre l'utilisation de la machine dangereuse si vous ne pliez ou ne dépliez pas le guidon correctement.
Veillez à ne pas endommager le(s) câble(s) en pliant ou dépliant le guidon.
Vérifiez que le(s) câble(s) passe(nt) bien à l'extérieur du guidon.
Si un câble est endommagé, adressez-vous à un dépositaire-réparateur agréé.
Note: Vérifiez que les câbles passent bien à l'extérieur du guidon et ne sont pas coincés (D de Figure 4).




| Modèle | 88660 | ||
| Capacité de la batterie | 6 Ah | ||
| 324 Wh | |||
|
Tension batterie selon le fabricant = 60 V max., 54 V nominale. La tension réelle varie en fonction de la charge. |
|||
| Modèle | 88602 | |
| Type | Chargeur de batterie lithium-ion 60 V MAX | |
| Entrée | 120 V CA ~2 A, 60 Hz | |
| Sortie | 60 V CC 2 A MAX |
|
| Charger/ranger la batterie entre | 5 °C (41 °F) et 40 °C (104 °F)* |
| Utiliser la batterie entre | -30 °C (-22 °F) et 49 °C (120 °F)* |
| Utiliser la machine entre | 0 °C (32 °F) et 49 °C (120 °F)* |
*Le temps de charge sera plus long en dehors de cette plage de température.
Rangez la machine, la batterie et le chargeur de batterie dans un local fermé, propre et sec.
Une sélection d'outils et accessoires agréés par Toro est disponible pour augmenter et améliorer les capacités de la machine. Pour obtenir la liste de tous les accessoires et outils agréés, contactez votre dépositaire-réparateur ou votre distributeur Toro agréé, ou rendez-vous sur www.Toro.com.
Pour garantir un rendement optimal et conserver la certification de sécurité de la machine, utilisez uniquement des pièces de rechange et accessoires Toro d'origine. Les pièces de rechange et accessoires d'autres constructeurs peuvent être dangereux.
Important: Utilisez la batterie uniquement à des températures comprises dans la plage adéquate; voir Caractéristiques techniques.
Vérifiez que les évents de la batterie sont exempts de poussière et de débris.
Appuyez sur le couvercle du compartiment de la batterie pour l'ouvrir (A de Figure 8).
Alignez le creux dans la batterie et la languette sur la machine, et glissez la batterie dans le compartiment jusqu'à ce qu'elle s'enclenche en position (B de la Figure 8).
Appuyez sur le couvercle du compartiment de la batterie jusqu'à ce qu'il s'enclenche en place (C de Figure 8).
Note: Si le couvercle du compartiment de la batterie ne se ferme pas complètement, cela signifie que la batterie n'est pas parfaitement insérée.

Lors du réglage de la hauteur de coupe, vous risquez de vous blesser gravement si vos mains touchent une lame en mouvement.
Coupez le moteur, retirez la batterie et attendez l'arrêt complet de toutes les pièces mobiles avant de régler la hauteur de coupe.
Ne mettez pas les doigts sous le carter du tablier de coupe quand vous réglez la hauteur de coupe.
Choisissez la hauteur de coupe voulue. Réglez toutes les roues à la même hauteur de coupe (Figure 9).

Vérifiez que la batterie est installée dans la machine; voir Installation de la batterie.
Note: Si le couvercle du compartiment de la batterie ne se ferme pas complètement, cela signifie que la batterie n'est pas parfaitement insérée.
Insérez le bouton de démarrage électrique dans le commutateur de démarrage électrique (A de Figure 10).
Serrez et maintenez la barre de commande de la lame contre le guidon (B de la Figure 10).
Maintenez le bouton de démarrage électrique enfoncé jusqu’à ce que le moteur démarre (C de la Figure 10).

Avancez simplement avec les mains posées sur la barre supérieure du guidon et les coudes serrés; la machine avance automatiquement à votre rythme (Figure 11).

Note: Si vous avez des difficultés à faire reculer la machine après avoir utilisé l'autopropulsion, immobilisez-vous, laissez vos mains en place et laissez la machine avancer de quelques centimètres (pouces) pour désengager la transmission aux roues. Vous pouvez aussi essayer d'atteindre la barre en métal, située juste sous la partie supérieure du guidon, et de pousser la machine en avant sur quelques centimètres (pouces). Si la machine a toujours des difficultés à reculer, contactez un dépositaire-réparateur agréé.
À la livraison, votre machine est prête à recycler l'herbe et les feuilles coupées pour nourrir votre pelouse.
Si le bac à herbe est monté sur la machine et si le levier de ramassage sur demande est en position de ramassage, placez le levier en position de recyclage; voir Utilisation du levier de ramassage sur demande.
Utilisez le bac à herbe pour recueillir l'herbe et les feuilles coupées à la surface de la pelouse.
Si le levier de ramassage sur demande est en position de recyclage, placez-le en position de ramassage; voir Utilisation du levier de ramassage sur demande.
Pour retirer le bac à herbe, inversez la procédure de montage décrite dans Installation du bac à herbe.
La fonction de ramassage sur demande vous permet de ramasser ou de recycler les déchets d'herbe et de feuilles quand le bac à herbe est monté sur la machine.
Pour ramasser les déchets d'herbe et de feuilles, appuyez sur le bouton du levier de ramassage sur demande et déplacez le levier complètement en avant jusqu'à ce que le bouton ressorte (Figure 13).

Pour recycler les déchets d'herbe et de feuilles, appuyez sur le bouton du levier et déplacez le levier en arrière jusqu'à ce que le bouton ressorte.
Important: Pour que le ramassage s'effectue correctement, enlevez les déchets d'herbe et autres qui se trouvent sur le volet de ramassage sur demande et l'ouverture (Figure 14) avant de changer la position du levier de ramassage sur demande.

Relâchez la barre de commande de la lame (A de la Figure 15).
Retirez le bouton de démarrage électrique de l'interrupteur du démarreur électrique (B de la Figure 15).
Enlevez la batterie; voir Retrait de la batterie de la machine.
Note: Enlevez la batterie chaque fois que vous n'utilisez pas la machine.

Soulevez le couvercle du compartiment de la batterie.
Appuyez sur le verrou de la batterie pour la débloquer et l'enlever.
Refermez le couvercle du compartiment de la batterie.
Évitez de heurter des obstacles avec la lame. Ne passez jamais intentionnellement sur un objet quel qu'il soit.
Pour obtenir des résultats optimaux, installez une lame Toro au début de la saison de tonte ou quand cela est nécessaire.
Ne tondez l'herbe que sur un tiers de sa hauteur à chaque fois. Pour une plus grande durée de fonctionnement, augmentez la hauteur de coupe.
N'utilisez pas une hauteur de coupe inférieure à 51 mm (2 po), sauf si l'herbe est clairsemée ou à la fin de l'automne quand la pousse commence à ralentir.
Si l'herbe fait plus de 15 cm (6 po), effectuez d'abord un premier passage à vitesse réduite à la hauteur de coupe la plus haute. Effectuez ensuite un deuxième passage à une hauteur de coupe inférieure pour obtenir une coupe plus esthétique. L'herbe trop haute risque d'obstruer la machine et de faire caler le moteur.
L'herbe et les feuilles humides ont tendance à s'agglomérer sur la pelouse et peuvent obstruer la machine et faire caler le moteur. Évitez de tondre quand l'herbe est humide.
Soyez conscient des risques d'incendie par temps très sec, respectez tous les avertissements locaux relatifs aux incendies, et ne laissez pas l'herbe et les feuilles sèches s'accumuler sur la machine.
Alternez la direction de la tonte. Cela permet de disperser les déchets plus uniformément et d'obtenir une fertilisation plus homogène.
Si l'aspect de la pelouse tondue n'est pas satisfaisant, essayez une ou plusieurs des solutions suivantes :
Remplacez la lame ou faites-la aiguiser.
Tondez en avançant plus lentement.
Augmentez la hauteur de coupe.
Tondez plus souvent.
Empiétez sur les passages précédents pour tondre une largeur de bande réduite.
Après la tonte, 50 % de la pelouse doit être visible sous la couche de feuilles hachées. À cet effet, vous devrez peut-être repasser plusieurs fois sur les feuilles.
Si la couche de feuilles sur la pelouse fait plus de 13 cm (5 po) d'épaisseur, utilisez une hauteur de coupe plus élevée, puis faites un second passage à la hauteur de coupe désirée.
Ralentissez la vitesse de déplacement si les feuilles ne sont pas hachées assez menues.
Important: La batterie n'est pas complètement chargée à l'achat. Avant d'utiliser l'outil pour la première fois, placez la batterie dans le chargeur et chargez-la jusqu'à ce que les DEL indiquent que la batterie est complètement chargée. Lisez toutes les consignes de sécurité.
Important: Chargez la batterie uniquement à des températures comprises dans la plage adéquate; voir Caractéristiques techniques.
Note: À tout moment, appuyez sur le bouton indicateur de charge de la batterie pour afficher la charge actuelle (DEL).
Vérifiez que les évents de la batterie et du chargeur sont exempts de poussière et de débris.

Placez le creux de la batterie (Figure 16) en face de la languette du chargeur.
Glissez la batterie dans le chargeur jusqu'à ce qu'elle soit complètement enclenchée (Figure 16).
Pour retirer la batterie du chargeur, faites-la glisser vers l'arrière.
Reportez-vous au tableau ci-dessous pour interpréter les indications de la DEL le chargeur de batteries.
| DEL | Indication |
| Éteinte | Pas de batterie présente |
| Clignotement vert | Batterie en charge |
| Verte | Batterie chargée |
| Rouge | La température du chargeur et/ou de la batterie est supérieure ou inférieure à la plage appropriée. |
| Clignotement rouge | Anomalie de charge de la batterie* |
*Voir pour tout renseignement complémentaire.
Important: Vous pouvez laisser la batterie dans le chargeur pendant une courte période entre deux utilisations.Si la batterie ne doit pas servir pendant une période prolongée, retirez-la du chargeur; voir Avant le remisage.
| Périodicité d'entretien | Procédure d'entretien |
|---|---|
| Après chaque utilisation |
|
Pour obtenir des résultats optimaux, nettoyez rapidement la machine après la tonte.
Placez la machine sur une surface plane et revêtue.
Avant de quitter la position d'utilisation, retirez le bouton de démarrage électrique et attendez l'arrêt complet de toutes les pièces mobiles.
Enlevez la batterie; voir Retrait de la batterie de la machine.
Lavez le dessous du volet arrière au point où l'herbe coupée passe de la face inférieure de la machine au bac de ramassage.
Note: Lavez la zone autour du levier de ramassage sur demande (selon l'équipement) aux positions avant et arrière maximales.
Mettez le moteur en marche et laissez-le tourner quelques minutes pour sécher le dessous de la machine afin de l'empêcher de rouiller.
Coupez le moteur, enlevez le bouton de démarrage électrique et remisez la machine; voir Avant le remisage.
Placez la machine en position verticale; voir Remisage de la machine en position verticale.
Lavez le dessous de la machine pour éliminer les débris d'herbe.
Vous risquez d'endommager les câbles et de rendre l'utilisation de la machine dangereuse si vous ne pliez ou ne dépliez pas le guidon correctement.
Veillez à ne pas endommager le(s) câble(s) en pliant ou dépliant le guidon.
Vérifiez que le(s) câble(s) passe(nt) bien à l'extérieur du guidon.
Si un câble est endommagé, adressez-vous à un dépositaire-réparateur agréé.
Tenez le guidon pendant que vous désengagez les verrous pour éviter de vous coincer les mains.
Déverrouillez le guidon jusqu'à ce que la moitié supérieure bouge librement (A de la Figure 17).
Rabattez le guidon complètement en avant (B de Figure 17).
Important: Faites passer les câbles à l'extérieur des dispositifs de verrouillage quand vous pliez le guidon.

Pour déplier le guidon; voir Dépliage du guidon.
Vous pouvez ranger votre machine en position verticale pour minimiser l'encombrement.
La position verticale expose le dessous de la machine.
Retirez la batterie et le bouton de démarrage électrique avant de placer la machine en position verticale.
Ne transportez pas la machine en position verticale.
Ne tentez pas de démarrer la machine en position verticale.
Retirez le bouton de démarrage électrique et la batterie de la machine.
Vérifiez que la hauteur de coupe de la machine est réglée à 92 mm (3⅝ po) ou moins; si ce n'est pas le cas, ajustez-la; voir Réglage de la hauteur de coupe.
Déverrouillez le guidon (Figure 18).

Rabattez le guidon complètement en avant; voir Pliage du guidon.
Important: Faites passer les câbles à l'extérieur des boutons quand vous pliez le guidon.
Verrouillez le guidon.
Levez l'avant de la machine par le guidon et amenez-la dans un lieu de remisage (Figure 19).

Enlevez le bouton de démarrage électrique et la batterie de la machine avant d'en faire l'entretien ou de la nettoyer.
Utilisez uniquement les pièces et accessoires de rechange recommandés par le constructeur.
Inspectez et faites l'entretien de la machine régulièrement. Ne confiez la réparation de la machine qu'à un dépositaire-réparateur agréé.
La machine ne nécessite aucune lubrification, car tous les roulements sont lubrifiés à vie en usine.
| Périodicité d'entretien | Procédure d'entretien |
|---|---|
| Une fois par an |
|
Important: Vous aurez besoin d'une clé dynamométrique pour monter la lame correctement. Si vous n'en possédez pas ou si vous ne vous sentez pas capable d'effectuer cette procédure, adressez-vous à un dépositaire-réparateur agréé.
Si la lame est endommagée ou fêlée, remplacez-la immédiatement. Si la lame est émoussée ou ébréchée, faites-la aiguiser et équilibrer ou remplacez-la.
Quand vous faites l'entretien de la lame, celle-ci peut encore bouger même si l'alimentation électrique est coupée. La lame est tranchante et vous pouvez vous blesser gravement à son contact.
N'approchez jamais les mains ou les pieds d'une lame en mouvement.
Portez des gants pour effectuer l'entretien de la lame.
Retirez le bouton de démarrage électrique et la batterie de la machine.
Immobilisez la lame avec un morceau de bois (Figure 20).
Déposez la lame mais conservez les fixations (Figure 20).

Montez la nouvelle lame et toutes les fixations (Figure 21).

Important: Dirigez les ailettes de la lame vers le haut, vers le carter de la machine.
À l'aide d'une clé dynamométrique, serrez le boulon de la lame à 68 N·m (50 pi-lb).
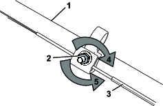
Lorsque vous remplacez un câble de commande d'autopropulsion ou que l'autopropulsion est déréglée, vous devez régler l'autopropulsion.
Tournez l'écrou de réglage dans le sens antihoraire pour desserrer le réglage du câble (Figure 22).

Ajustez la tension du câble (Figure 22) en le tirant en arrière ou en le poussant en avant puis en le maintenant à cette position.
Note: Poussez le câble vers le moteur pour accroître la traction et éloignez-le du moteur pour réduire la traction.
Tournez l'écrou de réglage dans le sens horaire pour serrer le réglage du câble.
Note: Serrez l'écrou fermement avec une clé à douille ou à molette.
Important: Après avoir retiré la batterie, recouvrez les bornes de ruban adhésif épais. N'essayez pas de détruire ou de démonter la batterie ni de déposer aucun de ses composants.
![]() |
Les batteries ion-lithium avec le label Call2Recycle peuvent être recyclées dans n'importe quel centre de recyclage participant au programme Call2Recycle (États-Unis et Canada seulement). Pour trouver le revendeur ou le centre participant le plus proche, appelez le 1-800-822-8837 ou rendez-vous sur www.call2recycle.org. Si vous ne trouvez pas de revendeur ou de centre à proximité, ou si votre batterie rechargeable ne porte pas le label Call2Recycle, contactez votre municipalité pour vous renseigner sur le recyclage responsable de la batterie. Hors des États-Unis et du Canada, veuillez contacter votre dépositaire Toro agréé. |
Important: Remisez la machine, la batterie et le chargeur uniquement à des températures comprises dans la plage adéquate; voir Caractéristiques techniques.
Important: Si vous remisez la batterie à la fin de la saison, chargez-la jusqu'à ce que 2 ou 3 de ses diodes deviennent vertes. Ne remisez pas une batterie complètement chargée ou complètement déchargée. Avant de remettre la machine en service, chargez la batterie jusqu'à ce que la diode gauche du chargeur devienne verte, ou que les 4 diodes de la batterie deviennent vertes.
Débranchez le produit de l'alimentation (autrement dit, retirez la batterie) et recherchez tout dommage éventuel après utilisation.
Ne remisez pas la machine en laissant la batterie dessus.
Nettoyez les corps étrangers sur la machine.
Lorsque la machine ne sert pas, rangez-la ainsi que le bouton de démarrage électrique, la batterie et le chargeur de batterie hors de la portée des enfants.
Gardez la machine, la batterie et le chargeur à l'écart des agents corrosifs, tels que produits chimiques de jardinage et sels de dégivrage.
Pour réduire les risques de blessures graves, ne rangez pas la batterie à l'extérieur ou dans un véhicule.
Rangez la machine, la batterie et le chargeur de batterie dans un local fermé, propre et sec.
Effectuez uniquement les opérations décrites dans ces instructions. Tout autre contrôle, entretien ou réparation doit être réalisé par un centre d'entretien agréé ou un spécialiste qualifié si vous n'arrivez pas à résoudre le problème vous-même.
Avant de dépanner ou réparer, de contrôler, de nettoyer, ou de faire l'entretien de la machine, retirez toujours la batterie de la machine.
| Problem | Possible Cause | Corrective Action |
|---|---|---|
| La machine ne démarre pas. |
|
|
| La machine fonctionne par intermittence. |
|
|
| La machine n'atteint pas sa pleine puissance. |
|
|
| La batterie se décharge rapidement. |
|
|
| Le chargeur de batteries est défectueux. |
|
|
| La diode du chargeur de batteries est rouge. |
|
|
| La DEL du chargeur de batterie clignote en rouge. |
|
|
| La machine émet un bip sonore. |
|
|
| La qualité de coupe se dégrade ou est insatisfaisante. |
|
|
| La tonte n'est pas uniforme. |
|
|
| La machine vibre. |
|
|