Rafmagns slöngukeflissett er sérhannaður aukabúnaður til að úða á gras og er ætlað fyrir fagfólk og verktaka til atvinnunota. Hann er fyrst og fremst hannaður til að úða á vel hirtum grasflötum í almenningsgörðum, golfvöllum, íþróttavöllum og á atvinnusvæðum
Lesið þessar upplýsingar vandlega til að læra að stjórna og sinna réttu viðhaldi á vörunni og til að koma í veg fyrir meiðsl og skemmdir á vörunni. Eigandi ber ábyrgð á réttri og öruggri notkun vörunnar.
Á www.Toro.com er að finna frekari upplýsingar, þar á meðal öryggisupplýsingar, kennsluefni, upplýsingar um aukabúnað, upplýsingar um söluaðila og vöruskráningu.
Þegar þörf er á þjónustu, varahlutum frá Toro eða frekari upplýsingum skal hafa samband við viðurkenndan þjónustu- og söluaðila eða þjónustuver Toro og hafa tegundar- og raðnúmer vörunnar við höndina. Mynd 1 sýnir hvar tegundar- og raðnúmerin eru á vörunni. Skrifið númerin í kassann hér á síðunni.
Important: Hægt er nálgast upplýsingar um ábyrgð, varahluti og aðrar vöruupplýsingar með því að skanna QR-kóðann á raðnúmersmerkingunni (ef hann er til staðar) með fartæki.

Note: Þessi vara uppfyllir allar viðeigandi evrópskar tilskipanir. Frekari upplýsingar er að finna í yfirlýsingu um ísetningu í aftasta hluta þessarar handbókar.Miðið vinstri og hægri hlið vinnuvélarinnar út frá hefðbundinni vinnustöðu.
Important: Teflon-límband er nauðsynlegt fyrir uppsetningu á þessu setti. Límbandið eru notað til að vefja skrúfganga á tengjum fyrir samsetningu. Skrúfganga ætt að vefja frá botni og að enda tengisins til að tryggja vatnshelda þéttingu.
Important: Smurefni sem ekki er byggt á jarðolíu, svo sem jurtaolíu, þarf fyrir uppsetningu þessa setts.
Hætta er á meiðslum við ranga
notkun eða rangt viðhald af hendi stjórnanda eða
eiganda. Til að draga úr slysahættu skal fara eftir
þessum öryggisleiðbeiningum og vera ávallt vakandi
fyrir öryggistákninu
, sem merkir Aðgát, Viðvörun
eða Hætta – öryggisleiðbeiningar. Ef ekki
er farið eftir þessum leiðbeiningum er hætta á
meiðslum á fólki eða dauða.
Lesið einnig öryggis- og notkunarleiðbeiningar í notendahandbók ökutækisins.
Beinið ekki handúðranum að fólki eða dýrum. Vökvar undir miklum þrýstingi geta komist inn í húðina og valdið alvarlegum meiðslum, hugsanlega leitt til aflimunar eða dauða. Heitir vökvar og efni geta einnig valdið brunasárum eða meiðslum. Ef einhver hluti líkamans kemst í snertingu við úðarastrauminn skal tafarlaust leita til læknis sem þekkir til meiðsla af völdum sprautaðs vökva.
Setjið ekki höndina eða annan líkamshluta fyrir framan úðarastútinn.
Skiljið ekki búnaðinn eftir undir þrýstingi þegar ekki er verið við.
Notið ekki handúðarann ef slangan, gikklásinn, stúturinn eða einhver annar hluti er skemmdur eða vantar.
Notið ekki handúðarann ef leki er í slöngum, tengjum eða öðrum íhlutum.
Úðið ekki nærri rafmagnsleiðslum.
Akið ekki meðan úðað er með handúðara.
Notið efnabúning, hlífðargleraugu, öndunargrímu, gúmmískó og hlífðarhanska þegar þið úðið efnum með handúðaranum.
Vinnið eingöngu á vinnuvélinni með góða yfirsýn og við viðeigandi veðurskilyrði. Notið ekki tækið þegar hætta er á eldingum.
Íðefni eru hættuleg og geta valdið meiðslum á fólki.
Lesið leiðbeiningarnar á merkimiðum íðefna áður en þau eru meðhöndluð og fylgið öllum ráðleggingum og varúðarráðstöfunum framleiðenda.
Látið íðefni ekki komast í snertingu við húð. Ef slíkt gerist skal þvo viðkomandi svæði vel með sápu og hreinu vatni.
Notið hlífðargleraugu og annan hlífðarbúnað sem framleiðandi viðkomandi íðefnis mælir með.
Tæmið úðarageyminn.
Hreinsið og skolið úðarageyminn; sjá notendahandbók vinnuvélarinnar.
Leggið vinnuvélinni á slétt yfirborð, setjið stöðuhemilinn á, slökkvið á dælunni, slökkvið á vélinni, fjarlægið lykilinn og bíðið eftir að allir hreyfanlegir hlutar hafi stöðvast.
Aftengið neikvæðu rafgeymissnúruna.
Aftengið jákvæðu rafgeymissnúruna.
Hlutar sem þarf fyrir þetta verk:
| Rafleiðsluknippi | 1 |
| Rofi | 1 |
| Veðurheld hetta og ró | 1 |
| Lítil R-klemma | 1 |
| Sjálflæsandi ró (3/8) | 1 |
| Burðarbolti | 1 |
| Rafleiðsluknippi með öryggjatengi (108-9455) | 1 |
| Rafliði (99-7435) | 1 |
| Þrýstifesting | 1 |
Fjarlægið festingarnar sem halda fremri geymisólinni efst á geyminum.
Note: Geymið alla hluti.
Setjið burðarbolta í neðra innra gatið á hægri geymisólinni.
Setjið festingarnar fyrir geymisólarnar sem voru fjarlægðar aftur á til að festa ólarnar við geyminn.
Note: Gangið úr skugga um ólin sé tryggilega fest við geyminn. Herðið hana ekki of mikið.
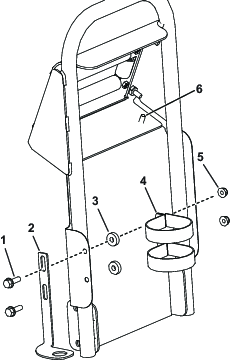
Festið litla R-klemmu við burðarboltann með sjálflæsandi ró (3/8 tommu) eins og sýnt er á Mynd 2.
Leiðið slöngukeflisenda rafleiðsluknippis í gegnum R-klemmuna eins og sýnt er á Mynd 2.

Fjarlægið 4 sexkantsskrúfurnar sem festa stjórnborðshlífina við stjórnborðið og lyftið stjórnborðinu örlítið.
Note: Ef þörf krefur, fjarlægið hnúðinn af mismunadrifslásstönginni.

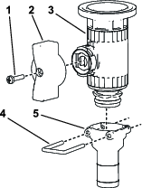
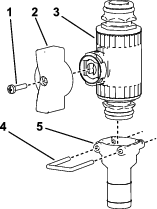
Fjarlægið hringlaga tappann af stjórnborðshlífinni (Mynd 4).

Setjið rofann saman við stjórnborðshlífina með festirónni og herðið festiróna með höndunum (Mynd 5).

Setjið hnappahlífina á rofann (Mynd 6).

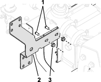
Tengið tenglana 2 á rafleiðsluknippinu við tvíblaða tengilinn á rofanum (Mynd 7).
Festið stjórnborðshlífina við stjórnborðsarminn með boltunum sem áður voru fjarlægðar.
Note: Setjið hnúðinn á driflásstöngina ef hann var fjarlægður áður.
Tengið nálæga tengilinn við slöngukeflið á aðalrafleiðsluknippinu, sem er staðsett undir fremri hluta stjórnarmsins.
Stingið næsta tengli í rafliðann (Mynd 7) og festið rafliðann við ytra gatið á grindinni nálægt núverandi rafliðum.
Tengið öryggjatengið við rauða vírinn sem er festur við jákvæða (+) rafgeymisskautið (Mynd 7).
Tengið neikvæðu (-) tenginguna á rafleiðsluknippinu við neikvæða (-) rafgeymisskautið.
Tengið fjær enda rafleiðsluknippisins við jarðtengingu öryggjablokkarinnar (Mynd 7).

Hlutar sem þarf fyrir þetta verk:
| Slöngukeflisgrind | 1 |
| Bolti(5/16) | 10 |
| Sjálflæsandi ró (5/16 to.) | 10 |
| Snúningsplata | 1 |
| Slangakefli | 1 |
| Stór burðarbolti | 4 |
| Sjálflæsandi ró (⅜ to.) | 4 |
| Handfang | 1 |
| Aurhlíf | 1 |
| Fjaðurklemma | 1 |
| Lásró | 2 |
| Lítill burðarbolti | 2 |
| Stór R-klemma | 2 |
| Festing úðabyssu | 1 |
| Stöðuhólkur | 2 |
| Borskrúfur | 2 |
| Endaslagsskífa | 1 |
| Smellihringur | 1 |
Festið slöngukeflisgrindina við hlið vélarinnar með 4 boltum (5/16 tommu) og 4 sjálflæsandi róm (5/16 tommu) eins og sýnt er á Mynd 8.

Festið snúningsplötuna við botn slöngukeflisins með 4 burðarboltum og 4 sjálflæsandi róm (3/8 tommu) (Mynd 9).

Setjið snúningsplötuna í gatið á slöngukeflisgrindinni (Mynd 9).
Note: Færið snúningslásinn til vinstri til að auðveldauppsetningu.
Á neðri hlið slöngukeflisgrindarinnar skal festa endaslagsskífuna og smelluhringinn við stöngina á snúningsplötunni (Mynd 10).

Festið handfangið lauslega við snúningsplötuna með 4 boltum (5/16 tommu) (Mynd 11).

Festið aurhlífina og handfangið á snúningsplötuna með boltunum sem voru uppsettir í skrefi 5 og 4 sjálflæsandi róm (5/16 tommu) (Mynd 11).
Festið efsta hluta aurhlífarinnar við handfangið með 2 borskrúfum (Mynd 12).

Festið úðabyssuhaldarann við leðjuhlífina eins og sýnt er á Mynd 12.
Tengið rafleiðsluknippið við slöngukeflið.
Note: Geymið alla hluta sem eru fjarlægðir til uppsetningar síðar nema annað sé tekið fram.
Fjarlægið splittið sem festir hreyfiliðann við soggreinarlokann fyrir hlutalokann eða hreyfilokann (Mynd 13).
Note: Þrýstið báðum leggjum geymisins saman þegar þeim er ýtt niður.
Note: Geymið hreyfiliðann og splittið.

Fjarlægið hreyfiliðann frá soggreinarlokanum.
Fjarlægið splittin sem halda samsetningu hjáveitulokaklasa arms, endalokinu og tengis- og slöngusamstæðu eins og sýnt er á Mynd 14.
Important: Ef vinnuvélin þín er með GeoLink uppsett skal gera þetta fyrir lokaklasana báðum megin.
Note: Karlkyns lokið verður ekki notað, en geymið O-hringinn sem er á lokinu.

Athugið og skráið núverandi stillingar vinstri og hægri hnúðsins.
Important: Ef vinnuvélin þín er með GeoLink uppsett skal skrá allar hnúðastillingarnar.
Snúið hjáveitulokaklasa arms um 180° eins og sýnt er á Mynd 15.

Stillið vinstri og hægri hnúðana á fyrri stillingar.
Important: Ef vinnuvélin er með GeoLink uppsett skal stilla alla hnúðana á fyrri stillingar.
Setjið upp lokaklasa arms með því að nota splittin sem áður voru fjarlægð eins og sýnt er á Mynd 16.

Hlutar sem þarf fyrir þetta verk:
| Kragastjórnloki | 1 |
| Vænghandfang | 2 |
| Handfangaskrúfa (6-32 x 5/8 tommu) | 2 |
| Lokafesting | 2 |
| 90° hné | 1 |
| Kragaklemma | 1 |
| Pakkning | 1 |
| Tengilok (1/2 tommu) | 2 |
| Beint tengi | 1 |
| Splitti | 3 |
| Beinn stjórnloki | 2 |
| Stjórnlokafesting (raðnúmer 415399999 og eldri) | 1 |
| Flansbolti (1/4 x 5/8 tommu) | 2 |
| Lásró (¼ tomma) | |
| Stjórnlokafesting (raðnúmer 415400000 og nýrri) | 1 |
| Stjórnlokafesting (raðnúmer 415400000 og nýrri með GeoLink) | 1 |
| T-soggrein | 1 |
| Burðarbolti (1/4 x 5/8 tommu) | 2 |
| Bolti (M6 x 12 mm) | 8 |
| Aðveituslanga af slöngukefli | 1 |
| Hosuklemma | 1 |
Note: Geymið alla hluta sem eru fjarlægðir til uppsetningar síðar nema annað sé tekið fram.
Setjið stjórnlokafestingu á lokafestingargrindina með tveimur flansboltum (1/4 x 5/8 tommu) eins og sýnt er á Mynd 17.

Setjið rauða vænghandfangið á stjórnlokann eins og sýnt er á Mynd 18.

Setjið lokafestinguna á stjórnlokann eins og sýnt er í A á Mynd 19.

Festið lokafestinguna við stjórnlokann með flansboltanum (#6) og herðið hana í höndunum (B á Mynd 19).
Setjið stjórnlokasamstæðuna á stjórnlokafestinguna með 4 boltum (M6) eins og sýnt er á Mynd 20.

Festið stjórnlokasamstæðuna við armlokann með O-hringnum og splittinu sem áður var fjarlægt (Mynd 21).
Setjið lokið (1/2 tommu), O-hringina, tengið og slöngusamstæðuna á stjórnlokann með splittunum sem áður voru fjarlægð eins og sýnt er á Mynd 21.

Setjið hreyfiliðann sem fjarlægður er á Mynd 13 á soggreinalokann með splittunum sem áður voru fjarlægð.
Fjarlægið þrýstiskynjunarslönguna af tenginu.
Setjið græna vænghandfangið og beina tengið á kragastjórnlokann með því að nota splittið eins og sýnt er á Mynd 22.

Aftengið lokið og tengið frá þrýstimælisopinu (Mynd 23).

Setjið stjórnlokasamstæðuna upp lóðrétt eins og sýnt er á Mynd 23.
Setjið tengið í opna opið á 90° tenginu (Mynd 23).
Note: Farga má lokinu.
Tengið þrýstiskynjunarslönguna við tengið.
Tengið aðveituslöngu geymis við lárétta stjórnlokann með hosuklemmu.
Festið opna endann á aðveituslöngu slöngukeflis við beina tengið með hosuklemmu.
Leiðið aðveituslönguna eins og sýnt er á Mynd 24 og festið hana við slöngukeflið með hosuklemmu.
Note: Ef geymishreinsibúnaðurinn er uppsettur, leiðið slönguna á bak við skoldæluna.

Setjið hreyfiliðann sem fjarlægður er á Mynd 13 á soggreinalokann með splittunum sem áður voru fjarlægð.
Setjið stjórnlokafestingu á lokafestingargrindina með tveimur flansboltum (1/4 x 5/8 tommu) og lásró (1/4 tommu) eins og sýnt er á Mynd 25.

Setjið rauða vænghandfangið á beina stjórnlokann.

Setjið ventlafestinguna á beinan stjórnloka eins og sýnt er í A á Mynd 27.
Festið lokafestinguna við stjórnlokann með flansboltanum (#6) og herðið hana í höndunum (B á Mynd 27).

Setjið stjórnlokasamstæðuna upp efst á stjórnlokafestinguna með 4 skrúfum (M6) eins og sýnt er á Mynd 28.

Festið stjórnlokasamstæðuna við armlokann með O-hringnum og splittinu sem áður var fjarlægt eins og sýnt er á Mynd 29.
Setjið lokið (1/2 tommu), O-hringina, tengið og slöngusamstæðuna á stjórnlokann með splittunum sem áður voru fjarlægð eins og sýnt er á Mynd 29.

Fjarlægið splittið sem festir tengilokið og tengið frá enda lokahlutans (Mynd 30).
Setjið upp meðfylgjandi T-soggrein á enda lokahlutans með því að nota splittið sem notað er í skrefi 9.
Setjið upp tengilokið á hlið T-soggreinarinnar sem sett er upp í skrefi 9.

Setjið beina tengið á hinn beina stjórnlokann með því að nota splittið eins og sýnt er á Mynd 31.

Tengið aðveituslöngu slöngukeflis við neðri hlutann á beina tenginu.
Tengið stjórnlokasamstæðuna með beina tenginu við neðri hluta T-soggreinarinnar með meðfylgjandi splitti (Mynd 32).
Setjið stjórnlokasamstæðuna upp neðst á stjórnlokafestinguna með 4 boltum (M6) eins og sýnt er á Mynd 32.

Tengið aðveituslöngu geymis við lárétta stjórnlokann með hosuklemmu.
Festið opna endann á aðveituslöngu slöngukeflis við beina tengið með hosuklemmu.
Leiðið aðveituslönguna eins og sýnt er á Mynd 33 og festið hana við slöngukeflið með hosuklemmu.
Note: Ef geymishreinsibúnaðurinn er uppsettur, leiðið slönguna á bak við skoldæluna.

Setjið hreyfiliðann sem fjarlægður er á Mynd 13 á soggreinalokann með splittunum sem áður voru fjarlægð.
Setjið stjórnlokafestingu á lokafestingargrindina með tveimur burðarboltum (1/4-20 x 5/8 tommu) og tveimur lásróm (1/4-20 tommu) eins og sýnt er á

Fjarlægið splittið sem festir tengilokið og tengið frá enda lokahlutans (Mynd 35).
Setjið upp T-soggrein settsins á enda lokahlutans með því að nota splittið sem fjarlægt er í skrefi 3.

Setjið græna vænghandfangið á beina stjórnlokann Mynd 36.

Setjið ventlafestinguna á beinan stjórnloka eins og sýnt er í A á Mynd 37.
Festið lokafestinguna við stjórnlokann með flansboltanum (#6) og herðið hana í höndunum (B á Mynd 37).

Festið aðveituslöngu slöngukeflis við beina tengið með hosuklemmu.
Festið stjórnlokasamstæðuna við T-soggreinina með splitti eins og sýnt er á Mynd 38.

Setjið lokafestinguna saman við stjórnlokafestingu með 4 flansboltum (M6 x 12 mm); herðið boltana með 10 til 12 N∙m (86 til 106 in-lb).

Setjið ventlafestinguna á stjórnlokann eins og sýnt er í A.
Festið lokafestinguna við stjórnlokann með flansboltanum (#6) og herðið hana í höndunum eins og sýnt er í B.

Setjið upp stjórnlokasamstæðuna á lokaklasann eins og sýnt er á Mynd 41.

Setjið stjórnlokasamstæðuna upp efst á stjórnlokafestinguna með 4 skrúfum (M6) eins og sýnt er á Mynd 42.

Setjið lokin (1/2 tommu), O-hringina, tengin og slöngusamstæðurnar á stjórnlokana með splittunum sem áður voru fjarlægð.
Fjarlægði splittin sem halda slöngunni við enda soggreinarinnar.

Setjið upp afsláttarlokann á slönguna og vinnivélina. Festið þá með splittum.

Tengið aðveituslöngur geymis við lárétta stjórnlokann með hosuklemmu.
Leiðið aðveituslönguna eins og sýnt er á og festið hana við slöngukeflið með hosuklemmu.

Note: Ef geymishreinsibúnaðurinn er uppsettur, leiðið slönguna á bak við skoldæluna.
Hlutar sem þarf fyrir þetta verk:
| Löng slanga með tengi | 1 |
| Úðabyssa | 1 |
| Hosuklemma úr plasti | 1 |
Tengið rafleiðsluknippið við aðveituslönguna með tveimur plastböndum.
Vefjið Teflon®-límbandi um skrúfganga slöngutengis á löngu slöngunni og setjið tengið í tengirörið á keflinu (Mynd 46).

Tengið lausa enda löngu slöngunnar á úðabyssuna (Mynd 47).

Festið enda slöngunnar með hosuklemmu úr plasti.
Tengið jákvæða rafgeymiskapalinn við rafgeyminn.
Tengið neikvæða rafgeymiskapalinn við rafgeyminn.
Ýtið á vinduhnappinn fyrir slönguna og stýrið slöngunni varlega á keflið og færið hana til hliðar til að dreifa henni jafnt.
Hendur, laus föt, sítt hár og skartgripir gætu fest sig í slöngunni og keflinu við upprúllun og valdið meiðslum.
Haldið höndunum frá keflinu og slöngunni við upprúllun.
Verið ekki í lausum fötum eða með skartgripi og bindið upp sítt hár.
Vökvi undir þrýstingi getur komist í gegnum húð og valdið alvarlegum meiðslum.
Haldið líkama og höndum frá stútum sem sprauta út háþrýstingsvökva.
Ekki beina úðaranum að öðru fólki eða dýrum.
Gangið úr skugga um að allar vökvaslöngur og -leiðslur séu í góðu ástandi og að allar tengingar og tengi séu þétt áður en þrýstingur er settur á kerfið.
Notið bylgjupappa eða pappír til að finna leka.
Losið allan þrýsting af kerfinu áður en unnið er við það.
Leitið tafarlaust læknisaðstoðar ef vökva er sprautað inn í húð.
Heitir vökvar og íðefni geta valdið brunasárum eða öðrum skaða.
Important: Alltaf verður að tæma og þrífa úðarann strax eftir hverja notkun. Ef það er ekki gert geta efnin þornað eða þykknað í leiðslunum, sem stíflar dæluna og aðra íhluti.
Hreinsið úðarakerfið eftir hverja úðunarlotu. Til að þrífa úðarakerfið rétt:
Notið 3 aðskildar skolanir.
Notið að lágmarki 190 lítrar fyrir hverja skolun.
Notið hreinsiefni og hlutleysandi efni eins ogframleiðendur efna mæla með.
Notið hreint vatn (engin hreinsiefni eða hlutleysandi efni) í síðustu skolunina.
Stöðvið vinnuvélina, slökkvið á örmunum og setjið stöðuhemilinn á.
Akstur meðan á handúðun stendur getur valdið stjórnmissi og leitt til meiðsla á fólki eða dauða. Notið ekki handúðarann við akstur.
Tryggið að gikklásinn á úðabyssunni aftan á vinnuvélinni sé læstur.
Snúið græna handfanginu á stjórnlokanum um 90°.
Kveiktu á dælunni í vinnustöðu.
Snúið rofa aðalarmsins í KVEIKTA stöðu.
Stillið vélina á æskilegan hraða og setjið svo hlutlausa hraðalæsingu á.
Important: Stillið ekki á hærri þrýsting en 1034 kPa (150 psi) þegar handúðarinn er notaður.
Dragið út æskilegt magn af slöngu af keflinu.
Important: Ekki toga í slönguna með úðabyssunni. Haldið alltaf í slönguna og togið beint í hana. Að toga í slönguna með byssunni gæti brotið tengið á byssunni eða skemmt slönguna.
Losið gikklásinn.
Beinið stút úðabyssunnar að svæðinu sem á að úða og takið í gikkinn.
Sleppið gikknum og setjið gikklásinn á þegar úðun er lokið.
Ýtið á innspóluhnappinn á slöngukeflinu þar til aðeins nokkrir metrar af slöngunni eru út af keflinu.
Note: Innspóluhnappinn á slöngukeflinu er aðeins hægt að nota þegar stjórnunarlykillinn á stjórnborði úðarans er í ólæstri stöðu.
Hendur, laus föt, sítt hár og skartgripir gætu fest sig í slöngunni og keflinu við upprúllun og valdið meiðslum.
Haldið höndunum frá keflinu og slöngunni við upprúllun.
Verið ekki í lausum fötum eða með skartgripi og bindið upp sítt hár.
Snúið græna handfanginu á stjórnlokanum um 90°.
Beinið stút úðabyssunnar að svæði sem óhætt er að úða á, losið gikklásinn og haldið gikknum inni þar til allur vökvi er tæmdur úr slöngunni. Setjið gikklásinn aftur á.
Setjið úðabyssuna aftur í festinguna á bakhlið keflisins.
Stillið vélina aftur á lausagangshraða.
Stöðvið dæluna.
Important: Tryggið að úðabyssan sé skoluð með hreinu vatni við dagleg þrif (sjá notendahandbók úðarans). Ef úðabyssan er ekki þrifin rétt getur það dregið úr afköstum og áreiðanleika slöngukeflisins og úðabyssunnar.
Notið hraðarofann til að stilla æskilegt kPa (psi).