| Wartungsintervall | Wartungsmaßnahmen |
|---|---|
| Nach 20 Betriebsstunden |
|
| Bei jeder Verwendung oder täglich |
|
Diese Maschine ist ein Aufsitznutzfahrzeug und sollte nur von geschulten Lohnarbeitern in gewerblichen Anwendungen eingesetzt werden. Sie ist hauptsächlich für das Konditionieren von Sandbunkern auf gepflegten Golfplätzen und öffentlichen Anlagen gedacht.
Important: Zur Maximierung der Sicherheit, Leistung und des richtigen Betriebs dieser Maschine müssen Sie den Inhalt dieser Bedienungsanleitung sorgfältig lesen und verstehen. Wenn Sie diese Betriebsanleitungen nicht einhalten oder nicht richtig geschult sind, können Sie Verletzungen erleiden. Weitere Informationen zur sicheren Betriebspraxis, u. a. Sicherheitstipps und Schulungsunterlagen finden Sie unter www.toro.com.
Wenden Sie sich für Unterlagen zur Produktsicherheit und der Bedienerschulung, für Zubehörinformationen, für den örtlichen Vertragshändler oder für die Registrierung des Produkts direkt an Toro unter www.Toro.com.
Wenden Sie sich an Ihren Toro-Vertragshändler oder Kundendienst, wenn Sie eine Serviceleistung, Originalersatzteile von Toro oder zusätzliche Informationen benötigen. Halten Sie hierfür die Modell- und Seriennummern Ihres Produkts griffbereit. In Bild 1 ist angegeben, wo an dem Produkt die Modell- und die Seriennummer angebracht sind. Tragen Sie hier die Modell- und Seriennummern des Geräts ein.
Important: Scannen Sie mit Ihrem Mobilgerät den QR-Code (falls vorhanden) auf dem Seriennummernaufkleber, um auf Garantie-, Ersatzteil- oder andere Produktinformationen zuzugreifen.

Dieses Sicherheitswarnsymbol (Bild 2) in diesem Handbuch und an der Maschine kennzeichnet wichtige Sicherheitshinweise , die Sie beachten müssen, um Unfälle zu vermeiden.

Das Sicherheitssymbol wird oberhalb von Informationen angezeigt, die Sie vor unsicheren Handlungen oder Situationen warnen, gefolgt von dem Wort GEFAHR, WARNUNG oder VORSICHT.
GEFAHR: bezeichnet eine unmittelbar drohende Gefahr. Wenn sie nicht gemieden wird, sind Tod oder schwerste Verletzungen die Folge.
WARNUNG: bezeichnet eine möglicherweise drohende Gefahr. Wenn sie nicht gemieden wird, können Tod oder schwerste Verletzungen die Folge sein.
VORSICHT: bezeichnet eine möglicherweise drohende Gefahr. Wenn sie nicht gemieden wird, können leichte oder geringfügige Verletzungen die Folge sein.
In dieser Anleitung werden zwei weitere Begriffe zur Hervorhebung von Informationen verwendet. WICHTIG weist auf spezielle technische Informationen hin, und HINWEIS hebt allgemeine Informationen hervor, die Ihre besondere Beachtung verdienen.
Dieses Produkt entspricht allen relevanten europäischen Richtlinien. Weitere Angaben finden Sie in der separaten produktspezifischen Konformitätsbescheinigung.
Entsprechend dem California Public Resource Code Section 4442 oder 4443 ist der Einsatz des Motors in bewaldeten oder bewachsenen Gebieten ohne richtig gewarteten und funktionsfähigen Funkenfänger, wie in Section 4442 definiert, oder ohne einen Motor verboten, der nicht für die Brandvermeidung konstruiert, ausgerüstet und gewartet ist.
Die beiliegende Motoranleitung enthält Angaben zu den Emissionsbestimmungen der US Environmental Protection Agency (EPA) und den Kontrollvorschriften von Kalifornien zu Emissionsanlagen, der Wartung und Garantie. Sie können einen Ersatz beim Motorhersteller anfordern.
KALIFORNIEN
Warnung zu Proposition 65
Die Motorauspuffgase dieses Produkts enthalten Chemikalien wirken laut den Behörden des Staates Kalifornien krebserregend, verursaschen Geburtsschäden oder andere Defekte des Reproduktionssystems.
Batteriepole, -klemmen und -zubehör enthalten Blei und Bleibestandteile. Dies sind Chemikalien, die laut den Behörden des Staates Kalifornien krebserregend sind und zu Erbschäden führen können. Waschen Sie sich nach dem Umgang mit diesen Materialien die Hände.
Bei Verwendung dieses Produkts sind Sie ggf. Chemikalien ausgesetzt, die laut den Behörden des Staates Kalifornien krebserregend wirken, Geburtsschäden oder andere Defekte des Reproduktionssystems verursachen.
Für zusätzliche Traktion kann das Ballastkit 100-6442 an der Vorderseite der Maschine angebracht werden.
Note: Wenn die Maschine mit einem Fronthub- oder einem Schneepfluganbaugerät ausgestattet ist, kann das Ballastkit aufgrund physischer Beeinträchtigungen nicht verwendet werden.
Dieses Produkt kann Verletzungen verursachen. Befolgen Sie zum Vermeiden von schweren Verletzungen immer alle Sicherheitshinweise.
Der zweckfremde Einsatz dieser Maschine kann für Sie und Unbeteiligte gefährlich sein.
Lesen und verstehen Sie vor dem Anlassen des Motors den Inhalt dieser Bedienungsanleitung. Stellen Sie sicher, dass jeder, der das Produkt nutzt, weiß, wie er es benutzen muss und die Warnhinweise versteht.
Konzentrieren Sie sich immer bei der Verwendung des Fahrzeugs. Tun Sie nichts, was Sie ablenken könnte, sonst können Verletzungen oder Sachschäden auftreten.
Halten Sie Hände und Füße von beweglichen Teilen fern.
Bedienen Sie die Maschine niemals, wenn nicht alle Schutzvorrichtungen und Abdeckungen angebracht und funktionstüchtig sind.
Halten Sie Unbeteiligte in einem sicheren Abstand zur Maschine, wenn sie bewegt wird.
Halten Sie Kinder aus dem Arbeitsbereich fern. Die Maschine darf niemals von Kindern betrieben werden.
Halten Sie die Maschine an und stellen Sie den Motor ab, bevor Sie Wartungsarbeiten durchführen oder die Maschine auftanken.
Der unsachgemäße Einsatz oder die falsche Wartung dieser Maschine kann zu Verletzungen führen. Befolgen Sie zur Verringerung des Verletzungsrisikos diese Sicherheitshinweise und beachten Sie das Warnsymbol (Bild 2) mit der Bedeutung Achtung, Warnung oder Gefahr – Sicherheitsrisiko. Wenn diese Hinweise nicht beachtet werden, kann es zu schweren bis tödlichen Verletzungen kommen.
Sie finden weitere Sicherheitsinformationen bei Bedarf in dieser Bedienungsanleitung.
![]() |
Die Sicherheits- und Bedienungsaufkleber sind für den Bediener gut sichtbar und befinden sich in der Nähe der möglichen Gefahrenbereiche. Tauschen Sie beschädigte oder verloren gegangene Aufkleber aus. |








Note: Bestimmen Sie die linke und rechte Seite der Maschine anhand der normalen Sitz- und Bedienposition.
Note: Nehmen Sie alle Versandhalterungen und -befestigungen ab und werfen Sie diese weg.
Für diesen Arbeitsschritt erforderliche Teile:
| Lenkrad | 1 |
| Schaumkragen | 1 |
| Scheibe | 1 |
| Sicherungsmutter | 1 |
| Abdeckung für Lenkrad | 1 |
Drehen Sie das Vorderrad, sodass es geradeaus zeigt.
Schieben Sie den Schaumkragen auf die Lenkwelle (Bild 3).

Schieben Sie das Lenkrad auf die Lenkwelle (Bild 3).
Befestigen Sie das Lenkrad mit einer Scheibe und Sicherungsmutter an der Lenkwelle (Bild 3).
Ziehen Sie die Sicherungsmutter mit 27-35 N·m an.
Drücken Sie die Abdeckung für das Lenkrad in der richtigen Position auf das Lenkrad (Bild 3).
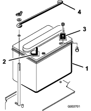
Nehmen Sie die zwei Flügelmuttern und die Scheiben ab, mit denen die obere Batteriebefestigungsplatte an den seitlichen Batteriebefestigungsplatten befestigt ist (Bild 4). Nehmen Sie die obere Batteriebefestigungsplatte ab. Nehmen Sie dann die Batterie heraus.

Für diesen Arbeitsschritt erforderliche Teile:
| Massenelektrolyt, 1,260 spezifisches Gewicht (nicht enthalten) | – |
Wenn die Batterie nicht mit Elektrolyt gefüllt oder aktiviert ist, füllen Sie die Batterie mit Elektrolyt mit einem spezifischen Gewicht von 1.260.
Note: Sie erhalten Massenelektrolyt von einem örtlichen Batterielieferanten.
Die Batterieflüssigkeit enthält Schwefelsäure, die ein tödliches Gift ist und starke chemische Verbrennungen verursacht.
Trinken Sie nie Batteriesäure und vermeiden Sie den Kontakt mit Haut, Augen und Kleidungsstücken. Tragen Sie eine Schutzbrille, um Ihre Augen zu schützen sowie Gummihandschuhe, um Ihre Hände zu schützen.
Befüllen Sie die Batterie an einem Ort, an dem immer reines Wasser zum Spülen der Haut verfügbar ist.
Entfernen Sie die Zellenfülldeckel von der Batterie und füllen jede Zelle langsam, bis die Batteriesäure die Fülllinie erreicht.
Setzen Sie die Fülldeckel wieder auf die Zellen auf und schließen ein 3- bis 4-A-Batterieladegerät an die Batteriepole an. Laden Sie die Batterie mit drei bis vier Ampere für vier bis acht Stunden auf.
Beim Laden der Batterie werden Gase erzeugt, die explodieren können.
Rauchen Sie nie in der Nähe der Batterie und halten Sie Funken und offenes Feuer von der Batterie fern.
Ziehen Sie, wenn die Batterie voll geladen ist, den Netzstecker des Ladegeräts und klemmen dieses von den Batteriepolen ab. Lassen Sie die Batterie für 5 bis 10 Minuten ruhen.
Entfernen Sie die Fülldeckel.
Füllen Sie langsam Batteriesäure bis zum Füllring in alle Zellen nach.
Important: Füllen Sie die Batterie nicht zu voll. Sonst strömt Batteriesäure auf andere Fahrzeugteile aus, was zu schwerer Korrosion und Beschädigung führt.
Bringen Sie die Fülldeckel wieder an.
Für diesen Arbeitsschritt erforderliche Teile:
| Schraube (¼" x ⅝") | 2 |
| Sicherungsmutter (¼") | 2 |
Setzen Sie die Batterie ein. Die Minusklemme befindet sich hinten an der Maschine (Bild 5).

Das unsachgemäße Verlegen der Batteriekabel kann zu Schäden an der Maschine führen, und die Kabel können Funken erzeugen. Funken können zum Explodieren der Batteriegase führen, was Verletzungen zur Folge haben kann.
Trennen Sie immer das Minuskabel (Schwarz) ab, bevor Sie das Pluskabel (Rot) abtrennen.
Schließen Sie immer das Pluskabel (Rot) an, bevor Sie das Minuskabel (Schwarz) anschließen.
Batteriepole und Metallwerkzeuge können an metallischen Teilen Kurzschlüsse verursachen, was Funken erzeugen kann. Funken können zum Explodieren der Batteriegase führen, was Verletzungen zur Folge haben kann.
Vermeiden Sie, wenn Sie eine Batterie ein- oder ausbauen, dass die Batteriepole mit metallischen Maschinenteilen in Berührung kommen.
Vermeiden Sie Kurzschlüsse zwischen metallischen Werkzeugen, den Batteriepolen und metallischen Maschinenteilen.
Befestigen Sie das Pluskabel (rot) mit einer Schraube (¼" x ⅝") und einer Sicherungsmutter am Pluspol (+) (Bild 6).

Befestigen Sie den kleinen schwarzen Draht und das Minuskabel (schwarz) mit einer Schraube (¼" x ⅝") und einer Sicherungsmutter (¼") an der Minusklemme (-) der Batterie (Bild 6).
Schmieren Sie die Klemmen und Befestigungshalterungen mit Vaseline ein, um einer Korrosion vorzubeugen.
Ziehen Sie den Gummischuh über die Plusklemme (+), um Kurzschlüssen vorzubeugen.
Befestigen Sie die obere Batteriebefestigungsplatte mit den Scheiben und Flügelmuttern an den seitlichen Befestigungsplatten.
Für diesen Arbeitsschritt erforderliche Teile:
| Frontballast | – |
Diese Maschine erfüllt ANSI B71.4-2017. Wenn Anbaugeräte jedoch an der Maschine montiert sind, wird ggf. zusätzlicher Ballast benötigt, um diese Standards zu erfüllen.
Beziehen Sie sich beim Bestimmen der erforderlichen zusätzlichen Ballastkombination auf die nachstehende Liste. Bestellen Sie Ersatzteile und Zubehör bei Ihrem lokalen Toro-Vertragshändler.
| Anbaugerät | Zusätzlicher Frontballast erforderlich | Ballast, Bestellnummer | Ballastbezeichnung | Menge |
|---|---|---|---|---|
| Lüfter (08755) | 23 kg | 100-6442 | 8 x 3 kg Plattenballast | 1 |
| Rahn Groomer | 23 kg | 100-6442 | 8 x 3 kg Plattenballast | 1 |
| QAS-Werkzeugträger | 23 kg | 100-6442 | 8 x 3 kg Plattenballast | 1 |
Note: Zusätzlicher Ballast ist nicht erforderlich, wenn die Maschine mit dem vorderen Hydraulikhub, Modell 08712, ausgerüstet ist.
Für diesen Arbeitsschritt erforderliche Teile:
| Herstellungsjahr-Aufkleber | 1 |
Bringen Sie den Herstellungsjahr-Aufkleber im abgebildeten Bereich der Maschine an (Bild 7).

Für diesen Arbeitsschritt erforderliche Teile:
| Warnaufkleber | 1 |
Bringen Sie an CE-konformen Maschinen den CE-Warnaufkleber (Teilenummer 136-6164) über den unteren Bereich des Armaturenbrett-Aufklebers (Teilenummer 132-4422) an.

Das Fahrpedal (Bild 9) hat drei Funktionen: Die Vorwärts- und die Rückwärtsbewegung und das Stoppen der Maschine. Drücken Sie den oberen Teil des Pedals mit den Zehen des rechten Fußes durch, um nach vorne zu fahren, und drücken Sie mit der Ferse auf den unteren Teil, um rückwärts zu fahren oder das Anhalten beim Vorwärtsfahren zu verkürzen (Bild 10). Lassen Sie das Pedal in die NEUTRAL-Stellung zurückgehen oder stellen Sie es auf Neutral, um die Maschine anzuhalten. Legen Sie aus Komfortgründen die Ferse des Fußes nicht auf dem Rückwärtspedal ab, wenn Sie vorwärts fahren.


Die Fahrgeschwindigkeit hängt davon ab, wie weit Sie das Fahrpedal durchtreten. Treten Sie für die maximale Fahrgeschwindigkeit das Pedal ganz durch, während die Gasbedienung in der SCHNELL-Stellung ist. Stellen Sie zum Erreichen der Maximalleistung oder beim Hochfahren einer Hanglage die Gasbedienung in die SCHNELL-Stellung und treten Sie gleichzeitig etwas auf das Pedal, um die Motordrehzahl hoch zu halten. Reduzieren Sie den Druck auf das Fahrpedal geringfügig, wenn die Motordrehzahl zu sinken beginnt, damit die Motordrehzahl wieder steigen kann.
Important: Stellen Sie die Gasbedienung in die SCHNELL-Stellung und treten Sie leicht auf das Fahrpedal, um die maximale Zugkraft zu erreichen.
Setzen Sie die maximale Fahrgeschwindigkeit nur ein, wenn Sie von einem Bereich zu einem anderen fahren.
Verwenden Sie nicht die Höchstgeschwindigkeit, wenn Sie ein montiertes oder geschlepptes Anbaugerät verwenden.
Important: Fahren Sie nicht rückwärts, wenn das Anbaugerät abgesenkt ist (Einsatzstellung), sonst kann das Anbaugerät schwer beschädigt werden.
Das Zündschloss (Bild 11), mit dem der Motor angelassen und abgestellt wird, hat drei Stellungen: AUS, LAUF und START. Drehen Sie den Zündschlüssel nach rechts auf die START-Stellung, um den Anlasser zu aktivieren. Lassen Sie den Schlüssel los, wenn der Motor anspringt; der Schlüssel geht in die EIN-Stellung zurück. Drehen Sie zum Abstellen des Motors den Schlüssel nach links in die AUS-Stellung.

Schieben Sie zum Anlassen eines kalten Motors den Chokehebel (Bild 11) nach oben in die GESCHLOSSENE Stellung. Stellen Sie nach dem Anlassen des Motors den Choke so ein, dass der Motor ruhig läuft. Öffnen Sie den Choke so bald wie möglich, d. h. schieben Sie ihn nach unten in die GEöFFNETE Stellung. Ein bereits warmer Motor erfordert keinen oder fast keinen Choke.
Der Gasbedienungshebel (Bild 11) ist mit dem Gasbedienungsgestänge zum Vergaser verbunden und aktiviert dies. Das Bedienelement hat zwei Stellungen: LANGSAM und SCHNELL. Die Motordrehzahl kann zwischen den zwei Einstellungen variiert werden.
Note: Sie können den Motor nicht mit dem Gasbedienungshebel abstellen.
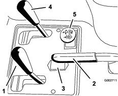
Ziehen Sie den Hubhebel (Bild 12) zurück, um das Anbaugerät anzuheben. Schieben Sie den Hebel nach vorne, um das Anbaugerät abzusenken. Stellen Sie den Hebel für die SCHWEBEN-Stellung in die arretierte Stellung. Lassen Sie den Hebel los, wenn Sie die gewünschte Stellung erreicht haben. Der Hebel geht in die Neutral-Stellung zurück.

Note: Die Maschine hat einen Hubzylinder mit Doppelfunktion. Sie können für bestimmte Einsatzbedingungen einen Niederhaltedruck auf das Anbaugerät ausüben.
Ziehen Sie zum Aktivieren der Feststellbremse (Bild 12) den Feststellbremshebel zurück. Schieben Sie zum Auskuppeln den Hebel nach vorne.
Note: Sie müssen das Fahrpedal ggf. langsam nach vorne und hinten drehen, um die Feststellbremse zu lösen.
Der Betriebsstundenzähler (Bild 12) zeigt die Stunden an, die der Motor gelaufen hat. Der Betriebsstundenzähler wird aktiviert, wenn das Zündschloss in die EIN-Stellung gedreht wird oder der Motor läuft.
Bewegen Sie den Hebel links am Sitz (Bild 13) nach vorne, schieben den Sitz in die gewünschte Stellung und lassen den Hebel zum Arretieren des Sitzes in dieser Position wieder los.

Schließen Sie vor der Einlagerung der Maschine oder vor dem Transport der Maschine auf einem Anhänger den Kraftstoffhahn (Bild 14).

Note: Technische und konstruktive Änderungen vorbehalten.
| Breite ohne Anbaugerät | 148 cm |
| Breite mit Rechen, Modell 08751 | 191 cm |
| Länge ohne Anbaugerät | 164 cm |
| Höhe | 115 cm |
| Radstand | 109 cm |
| Nettogewicht | |
| Modell 08703 | 452 kg |
| Modell 08705 | 461 kg |
Ein Sortiment an Originalanbaugeräten und -zubehör von Toro wird für dieses Fahrzeug angeboten, um den Funktionsumfang des Geräts zu erhöhen und zu erweitern. Wenden Sie sich an Ihren offiziellen Toro-Vertragshändler oder navigieren Sie auf www.Toro.com für eine Liste der zugelassenen Anbaugeräte und des Zubehörs.
Verwenden Sie, um die optimale Leistung und Sicherheit zu gewährleisten, nur Originalersatzteile und -zubehörteile von Toro. Ersatzteile und Zubehör anderer Hersteller können gefährlich sein und eine Verwendung könnte die Garantie ungültig machen.
Note: Bestimmen Sie die linke und rechte Seite der Maschine anhand der normalen Sitz- und Bedienposition.
Kinder oder nicht geschulte Personen dürfen die Maschine weder verwenden noch warten. Örtliche Vorschriften bestimmen u. U. das Mindestalter von Benutzern. Der Besitzer ist für die Schulung aller Bediener und Mechaniker verantwortlich.
Machen Sie sich mit dem sicheren Betrieb der Maschine sowie den Bedienelementen und Sicherheitssymbolen vertraut.
Sie müssen wissen, wie Sie die Maschine und den Motor schnell stoppen können.
Prüfen Sie, ob alle elektronischen Sicherheiten, Sicherheitsschalter und Schutzbleche montiert und funktionsfähig sind. Nehmen Sie die Maschine nur in Betrieb, wenn diese richtig funktionieren.
Überprüfen Sie die Maschine vor jedem Einsatz, um sicherzustellen, dass die Teile und Befestigungen funktionsfähig sind. Tauschen Sie abgenutzte und beschädigte Teile und Befestigungen aus.
Prüfen Sie den Arbeitsbereich gründlich und entfernen Sie alle Objekte, die von der Maschine aufgeschleudert werden könnten.
Seien Sie besonders vorsichtig beim Umgang mit Kraftstoff. Kraftstoff ist brennbar und die Dämpfe sind explosiv.
Machen Sie alle Zigaretten, Zigarren, Pfeifen und andere Zündquellen aus.
Verwenden Sie nur einen vorschriftsmäßigen Benzinkanister.
Entfernen Sie nie den Tankdeckel oder füllen den Kraftstofftank, wenn der Motor läuft oder heiß ist.
Füllen Sie Kraftstoff nicht in einem geschlossenen Raum auf oder lassen ihn ab.
Lagern Sie die Maschine oder den Benzinkanister nie an Orten mit offener Flamme, Funken oder Zündflamme, z. B. Warmwasserbereiter, oder anderen Geräten.
Versuchen Sie niemals, bei Kraftstoffverschüttungen den Motor anzulassen. Vermeiden Sie Zündquellen, bis die Verschüttung verdunstet ist.
| Wartungsintervall | Wartungsmaßnahmen |
|---|---|
| Nach 20 Betriebsstunden |
|
| Bei jeder Verwendung oder täglich |
|
Der Motor wird vom Werk mit Öl im Kurbelgehäuse ausgeliefert. Überprüfen Sie jedoch den Ölstand, bevor Sie den Motor zum ersten Mal anlassen und dann danach.
Das Kurbelgehäuse fasst ungefähr 1,66 l mit Filter.
Verwenden Sie qualitativ hochwertiges Öl, dass die folgenden Spezifikationen erfüllt:
API-Klassifizierung: SL oder höher.
Bevorzugte Ölsorte: SAE 30 (über 4°C)
Parken Sie die Maschine auf einer ebenen Fläche, stellen Sie den Motor ab, aktivieren Sie die Feststellbremse und ziehen Sie den Schlüssel ab.
Drehen Sie den Sitz vorwärts.
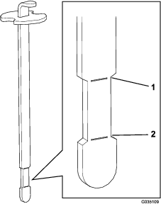
Ziehen Sie den Peilstab heraus (Bild 15) und wischen Sie ihn mit einem sauberen Lappen ab.

Stecken Sie den Peilstab in das Rohr und stellen Sie sicher, dass er vollständig eingeführt ist. Entfernen Sie den Peilstab und prüfen den Ölstand. Nehmen Sie bei einem niedrigen Ölstand den Fülldeckel von der Ventilabdeckung ab und gießen Sie genug Öl in die Öffnung, bis der Ölstand die Vollmarke am Peilstab erreicht.
Important: Achten Sie darauf, dass der Motorölstand zwischen den unteren und oberen Markierungen an der Ölmessanzeige liegt. Wenn Sie zu viel oder zu wenig Öl einfüllen, kann der Motor beschädigt werden.
Stecken Sie den Peilstab wieder fest ein.
Important: Der Ölpeilstab muss ganz in das Rohr eingesteckt werden, um das Motorkurbelgehäuse richtig abzudichten. Wenn das Kurbelgehäuse nicht abgedichtet ist, kann der Motor beschädigt werden.
Drehen Sie den Sitz nach unten.
Fassungsvermögen des Kraftstofftanks: 25 Liter
Empfohlener Kraftstoff:
Die besten Ergebnisse erhalten Sie, wenn Sie sauberes, frisches (höchstens 30 Tage alt), bleifreies Benzin mit einer Mindestoktanzahl von 87 (R+M)/2 verwenden.
Ethanol: Kraftstoff, der mit 10 % Ethanol oder 15 % MTBE (Methyl-tertiär-Butylether) per Volumenanteil angereichert ist, ist auch geeignet. Ethanol und MTBE sind nicht dasselbe. Benzin mit 15 % Ethanol (E15) per Volumenanteil kann nicht verwendet werden. Verwenden Sie nie Benzin, das mehr als 10 % Ethanol per Volumenanteil enthält, z. B. E15 (enthält 15 % Ethanol), E20 (enthält 20 % Ethanol) oder E85 (enthält 85 % Ethanol). Die Verwendung von nicht zugelassenem Benzin kann zu Leistungsproblemen und/oder Motorschäden führen, die ggf. nicht von der Garantie abgedeckt sind.
Verwenden Sie kein Benzin mit Methanol.
Lagern Sie keinen Kraftstoff im Kraftstofftank oder in Kraftstoffbehältern über den Winter, wenn Sie keinen Kraftstoffstabilisator verwenden.
Vermischen Sie nie Benzin mit Öl.
Important: Verwenden Sie, abgesehen von Kraftstoffstabilisator, keine weiteren Kraftstoffzusätze. Verwenden Sie keine Kraftstoffstabilisatoren auf Alkoholbasis wie Ethanol, Methanol oder Isopropanol.
Reinigen Sie den Bereich um den Tankdeckel (Bild 16).
Entfernen Sie den Tankdeckel.
Füllen Sie den Tank bis ungefähr 25 mm unter der Tankoberseite (der Unterseite des Füllstutzens). Füllen Sie nicht zu viel ein.

Schrauben Sie den Deckel wieder auf.
Wischen Sie verschütteten Kraftstoff immer auf, um einer Brandgefahr vorzubeugen.
Important: Verwenden Sie nie Methanol, methanolhaltiges Benzin oder Gasohol mit mehr als 10 % Ethanol, weil die Kraftstoffanlage dadurch beschädigt werden kann. Vermischen Sie nie Benzin mit Öl.
| Wartungsintervall | Wartungsmaßnahmen |
|---|---|
| Bei jeder Verwendung oder täglich |
|
Der Ölbehälter wird im Werk mit ca. 18.9 l Qualitätshydrauliköl gefüllt. Prüfen Sie den Stand des Hydrauliköls, wenn das Öl kalt ist. Die Maschine sollte in der Transportkonfiguration sein. Wenn der Ölstand unter der Nachfüll-Markierung am Peilstab liegt, füllen Sie Öl auf, bis der Ölstand in der Mitte des akzeptablen Stands liegt. Füllen Sie die Behälter nicht zu voll. Wenn der Ölstand zwischen der Voll- und Nachfüllen-Markierung liegt, muss kein Öl nachgefüllt werden. Prüfen Sie den Stand des Hydrauliköls vor dem ersten Anlassen des Motors und dann täglich.
Verwenden Sie die folgenden Flüssigkeiten zum Auffüllen:
| Toro Premium All Season-Hydrauliköl: (erhältlich in Behältern mit 19 Litern oder Fässern mit 208 Litern. Die Bestellnummern finden Sie in der Ersatzteildokumentation oder wenden Sie sich an den Toro Vertragshändler) |
Empfohlene Hydraulikölsorte: Toro Premium Ganzjahres Hydrauliköl
Ersatzölsorten: Wenn das Öl von Toro nicht erhältlich ist, können Sie andere konventionelle Ölsorten auf Petroleumbasis verwenden, solange die folgenden Materialeigenschaften und Industriestandards erfüllt werden. Wenden Sie sich an den Öllieferanten, um zu erfahren, ob das Flüssigkeit diese technischen Daten erfüllt.
Note: Toro haftet nicht für Schäden, die aus einer unsachgemäßen Substitution entstehen. Verwenden Sie also nur Erzeugnisse namhafter Hersteller, die für die Qualität ihrer Produkte garantieren.
| Hydrauliköl (hoher Viskositätsindex, niedriger Stockpunkt, abnutzungshemmend, ISO VG 46, mehrgradig | |
| Materialeigenschaften: | |
| Viskosität, ASTM D445 | cSt @ 40 °C 44 bis 48cSt @ 100°C 7,9 bis 9,1 |
| Viskositätsindex ASTM D2270 | 140 oder höher |
| Stockpunkt, ASTM D97 | -34 °C bis -45 °C |
| FZG, Defektphase | 11 oder höher |
| Wasseranteil (neue Flüssigkeit): | 500 ppm (Maximum) |
| Branchenspezifikationen: | |
| Vickers I-286-S, Vickers M-2950-S, Denison HF-0, Vickers 35 VQ 25 (Eaton ATS373-C) | |
Die richtigen Hydrauliköle müssen für Mobilgeräte (im Gegensatz zur industriellen Werksnutzung) angegeben werden, mehrgewichtiger Typ, mit abnutzungshemmenden ZnDTP- oder ZDDP-Paket (kein aschenloses Öl).
Important: Viele Hydraulikölsorten sind fast farblos, was das Erkennen von undichten Stellen erschwert. Als Beimischmittel für die Hydraulikanlage können Sie ein rotes Färbmittel in 20 ml Flaschen kaufen. Eine Flasche reicht für 15-22l Hydrauliköl. Sie können es mit der Bestellnummer 44-2500 über den Toro-Vertragshändler beziehen.
Synthetisches, biologisch abbaubares Hydrauliköl
(erhältlich in Behältern mit 19 Litern oder Fässern mit 208 Litern. Die Bestellnummern finden Sie in der Ersatzteildokumentation oder wenden Sie sich an den Toro-Vertragshändler)
Dieses synthetische, biologisch abbaubares Qualitätsöl wurde von Toro getestet und für dieses Modell zugelassen. Andere synthetische Ölsorten haben Abdichtungskompatibilitätsprobleme, und Toro übernimmt keine Verantwortung für nicht zugelassene Ersatzölsorten.
Note: Dieses synthetische Öl ist nicht mit den biologisch abbaubaren Ölsorten von Toro, die vorher verkauft wurden, kompatibel. Wenden Sie sich an den offiziellen Toro-Vertragshändler für weitere Informationen.
Ersatzöle:
Mobil EAL Envirosyn H 46 (USA)
Mobil EAL-Hydrauliköl 46 (international)
Parken Sie die Maschine auf einer ebenen Fläche, stellen Sie den Motor ab, aktivieren Sie die Feststellbremse und ziehen Sie den Schlüssel ab.
Reinigen Sie den Bereich um den Deckel des Hydraulikbehälters, damit keine Rückstände in den Behälter gelangen (Bild 17).

Nehmen Sie den Deckel vom Behälter ab.
Entfernen Sie den Peilstab aus dem Füllstutzen und wischen ihn mit einem sauberen Lappen ab.
Stecken Sie den Peilstab in den Einfüllstutzen und ziehen ihn dann heraus, um den Ölstand zu prüfen.
Note: Der Ölstand muss zwischen der oberen und unteren Markierung (eingeengter Bereich) am Peilstab liegen (Bild 18).

Wenn der Ölstand niedrig ist, füllen Sie langsam das entsprechende Hydrauliköl ein, bis der Ölstand am eingeengten Bereich am Peilstab liegt.
Note: Füllen Sie die Behälter nicht zu voll.
Schrauben Sie den Behälterdeckel wieder auf.
Important: Reinigen Sie die Oberseiten der Hydraulikölbehälter, bevor Sie diese durchstechen, um eine Systemverunreinigung zu vermeiden. Achten Sie darauf, dass der Einfüllstutzen und der Trichter sauber sind.
| Wartungsintervall | Wartungsmaßnahmen |
|---|---|
| Bei jeder Verwendung oder täglich |
|
Prüfen Sie vor dem Einsetzen der Maschine den Reifendruck (Bild 19). Der korrekte Reifendruck für die Vorder- und Hinterreifen beträgt:
Profilreifen: 0,69 bar
Note: Wenn zusätzlicher Antrieb für das Messer benötigt wird, verringern Sie den Reifendruck auf 0,55 bar.
Rasenreifen: 0,55-0,69 bar

| Wartungsintervall | Wartungsmaßnahmen |
|---|---|
| Nach acht Betriebsstunden |
|
| Alle 100 Betriebsstunden |
|
Ziehen Sie die Radmuttern mit 95-122 N·m an.
Der Besitzer bzw. Bediener ist für Unfälle oder Verletzungen von Dritten sowie Sachschäden verantwortlich und kann diese verhindern.
Tragen Sie geeignete Kleidung, u. a. eine Schutzbrille, rutschfeste Arbeitsschuhe, lange Hosen und einen Gehörschutz. Binden Sie lange Haare hinten zusammen und tragen Sie keinen herunterhängenden Schmuck.
Setzen Sie die Maschine nicht ein, wenn Sie müde oder krank sind oder unter Alkohol- oder Drogeneinfluss stehen.
Nehmen Sie nie Passagiere auf der Maschine mit und halten Sie alle Unbeteiligte und Haustiere von der verwendeten Maschine fern.
Setzen Sie die Maschine nur bei guten Sichtverhältnissen ein, um Löcher sowie andere verborgene Gefahren zu vermeiden.
Vermeiden Sie einen Einsatz auf nassem Gras. Bei reduzierter Bodenhaftung kann die Maschine ins Rutschen geraten.
Stellen Sie vor dem Anlassen des Motors sicher, dass alle Antriebe in der Neutral-Stellung sind, dass die Feststellbremse aktiviert ist und Sie in die Bedienungsposition sind.
Schauen Sie hinter sich und nach unten, um vor dem Rückwärtsfahren sicherzustellen, dass der Weg frei ist.
Seien Sie vorsichtig, wenn Sie sich unübersichtlichen Kurven, Sträuchern, Bäumen und anderen Objekten nähern, die Ihre Sicht behindern können.
Setzen Sie die Maschine nie in der Nähe von steilen Gefällen, Gräben oder Böschungen ein. Die Maschine könnte plötzlich umkippen, wenn ein Rad über den Rand fährt oder die Böschung nachgibt.
Stellen Sie die Maschine ab und prüfen Sie das Anbaugerät, wenn Sie auf ein Objekt aufgeprallt sind oder die Maschine ungewöhnlich vibriert. Führen Sie alle erforderlichen Reparaturen durch, ehe Sie die Maschine wieder in Gebrauch nehmen.
Fahren Sie beim Wenden und beim Überqueren von Straßen und Gehsteigen mit der Maschine langsam und vorsichtig. Geben Sie immer Vorfahrt.
Lassen Sie den Motor nie in einem geschlossenen Raum laufen, wo die Auspuffgase nicht entweichen können.
Lassen Sie niemals eine laufende Maschine unbeaufsichtigt zurück.
Vor dem Verlassen der Bedienposition:
Stellen Sie die Maschine auf einer ebenen Fläche ab.
Absenken der Anbaugeräte.
Aktivieren Sie die Feststellbremse.
Stellen Sie den Motor ab und ziehen Sie den Zündschlüssel ab.
Warten Sie, bis alle beweglichen Teile zum Stillstand gekommen sind.
Fahren Sie die Maschine nie bei Gewitter, bzw. wenn Gefahr durch Blitzschlag besteht.
Nutzen Sie die Maschine nicht als Zugfahrzeug.
Befeuchten Sie ggf. Oberflächen vor dem Konditionieren, um die Staubentwicklung zu verringern.
Verwenden Sie nur von The Toro® Company zugelassenes Zubehör, zugelassene Anbaugeräte und Ersatzteile.
Erstellen Sie Ihre eigenen Schritte und Regeln für das Arbeiten an Hanglagen. Diese Schritte müssen eine Ortsbegehung beinhalten, um die Hanglagen für einen sicheren Betrieb der Maschine zu bestimmen. Setzen Sie immer gesunden Menschenverstand ein, wenn Sie diese Ortsbegehung durchführen.
Hanglagen sind eine wesentliche Ursache für den Verlust der Kontrolle und Umkippunfälle, die zu schweren ggf. tödlichen Verletzungen führen können. Der Bediener ist für den sicheren Einsatz an Hanglagen verantwortlich. Das Einsetzen der Maschine an jeder Hanglage erfordert große Vorsicht.
Hanglagen sind eine wesentliche Ursache für den Verlust der Kontrolle und Umkippunfälle, die zu schweren oder tödlichen Verletzungen führen können. Das Einsetzen der Maschine an jeder Hanglage erfordert große Vorsicht.
Setzen Sie die Maschine auf einer Hanglage mit einer niedrigeren Geschwindigkeit ein.
Wenn Sie sich auf einer Hanglage unsicher fühlen, arbeiten Sie dort nicht.
Achten Sie auf Löcher, Rillen, Bodenwellen, Steine oder andere verborgene Objekte. Die Maschine könnte sich in unebenem Terrain überschlagen. Hohes Gras kann Hindernisse verdecken.
Wählen Sie eine langsame Fahrgeschwindigkeit, damit Sie an Hanglagen nicht schalten oder anhalten müssen.
Ein Überschlagen kann auftreten, bevor die Reifen die Bodenhaftung verlieren.
Vermeiden Sie einen Einsatz der Maschine auf nassem Gras. Die Reifen können die Bodenhaftung verlieren, unabhängig davon, ob die Bremsen vorhanden sind und funktionieren.
Vermeiden Sie das Starten, Anhalten oder Wenden an Hanglagen.
Führen Sie alle Bewegungen an Hängen langsam und schrittweise durch. Ändern Sie nicht plötzlich die Geschwindigkeit oder Richtung der Maschine.
Setzen Sie die Maschine nicht in der Nähe von Abhängen, Gräben oder Böschungen oder Gewässern ein. Die Maschine kann sich plötzlich überschlagen, wenn ein Rad über den Rand fährt oder die Böschung nachgibt. Halten Sie stets einen Sicherheitsabstand (zwei Maschinenbreiten) von der Maschine zur Gefahrenstelle ein.
Nehmen Sie den Fuß vom Fahrpedal und stellen sicher, dass es in die NEUTRAL-Stellung ist. Aktivieren Sie die Feststellbremse.
Schieben Sie den Chokehebel vorwärts auf die EIN-Stellung (beim Anlassen eines kalten Motors) und die Gasbedienung auf die LANGSAM-Stellung.
Important: Wenn Sie die Maschine in Temperaturen unter 0 °C einsetzen, sollten Sie die Maschine erst aufwärmen lassen. Dies verhindert eine Beschädigung des Hydrostat- und Antriebskreislaufes.
Stecken Sie den Schlüssel in das Zündschloss und drehen Sie ihn nach rechts, um den Motor anzulassen. Lassen Sie den Schlüssel los, wenn der Motor anspringt.
Note: Stellen Sie den Choke ein, damit der Motor gleichmäßig läuft.
Important: Aktivieren Sie den Anlasser nicht für mehr als 10 Sekunden, um ein Überhitzen zu vermeiden. Warten Sie 60 Sekunden ab, nachdem Sie den Anlasser 10 Sekunden lang betätigt haben, bevor Sie einen erneuten Startversuch unternehmen.
Schieben Sie zum Abstellen des Motors die Gasbedienung in die LANGSAM-Stellung und drehen Sie den Zündschlüssel in die AUS-Stellung.
Note: Ziehen Sie den Zündschlüssel ab, um einem versehentlichen Anlassen vorzubeugen.
Schließen Sie vor der Einlagerung der Maschine den Kraftstoffhahn.
Wenn Sie die Maschine bei laufendem Motor prüfen, können Sie verletzt werden.
Stellen Sie den Motor ab und warten, bis alle beweglichen Bauteile zum Stillstand gekommen sind, bevor Sie Öllecks, lockeren Teilen oder anderen Defekten nachgehen.
Wenn die Sicherheitsschalter abgeklemmt oder beschädigt werden, setzt sich die Maschine möglicherweise von alleine in Bewegung, was Verletzungen verursachen kann.
An den Sicherheitsschaltern dürfen keine Veränderungen vorgenommen werden.
Prüfen Sie deren Funktion täglich und tauschen Sie alle defekten Schalter vor der Inbetriebnahme der Maschine aus.
Der Sicherheitsschalter stellt sicher, dass der Motor nur anspringt oder läuft, wenn das Fahrpedal in der NEUTRAL-Stellung ist. Der Motor sollte auch abstellen, wenn Sie das Fahrpedal nach vorne oder hinten bewegen, ohne dass ein Bediener auf dem Sitz sitzt.
Fahren Sie die Maschine auf einen offenen Bereich ohne Rückstände und Unbeteiligte. Stellen Sie den Motor ab.
Setzen Sie sich auf den Sitz und aktivieren Sie die Feststellbremse.
Treten Sie das Fahrpedal nach vorne und hinten; versuchen Sie gleichzeitig, den Motor anzulassen.
Note: Wenn der Motor anspringt, besteht u. U. eine Fehlfunktion bei den Sicherheitsschaltern. Führen Sie sofort eine Reparatur aus. Wenn der Motor nicht anspringt, sind die Sicherheitsschalter in Ordnung.
Bleiben Sie auf dem Sitz, wenn das Fahrpedal in der NEUTRAL-Stellung und die Feststellbremse aktiviert ist, und lassen Sie den Motor an.
Stehen Sie vom Sitz auf und treten Sie das Fahrpedal langsam durch.
Note: Der Motor sollte innerhalb von einer bis drei Sekunden abstellen. Beheben Sie das Problem, wenn das System nicht einwandfrei funktioniert.
Neue Motoren brauchen etwas Zeit, bevor sie die ganze Leistung erbringen. Neue Antriebssysteme haben einen höheren Abrieb und belasten den Motor mehr.
Die Einfahrzeit beträgt 8 Betriebsstunden.
Da die ersten Betriebsstunden für die zukünftige Zuverlässigkeit der Maschine sehr wichtig sind, überwachen Sie die Funktionen und die Leistung sorgfältig, damit Sie kleine Fehler, die zu großen Reparaturen führen können, erkennen und beheben. Prüfen Sie die Maschine in der Einfahrzeit oft auf Öllecks, lose Schrauben oder andere Fehlfunktionen.
Parken Sie die Maschine auf einer ebenen Fläche, aktivieren Sie die Feststellbremse, stellen Sie den Motor ab, ziehen Sie den Schlüssel ab und warten Sie, bis alle beweglichen Teile zum Stillstand gekommen sind, bevor Sie die Maschine verlassen.
Entfernen Sie Gras und Schmutz vom Auspuff und vom dem Motorraum, um einem Brand vorzubeugen. Wischen Sie Öl- und Kraftstoffverschüttungen auf.
Lassen Sie den Motor abkühlen, bevor Sie die Maschine in einem geschlossenen Raum abstellen.
Schließen Sie den Kraftstoffhahn, bevor Sie die Maschine einlagern oder transportieren.
Lagern Sie die Maschine oder den Benzinkanister nie an Orten mit offener Flamme, Funken oder Zündflamme, z. B. Warmwasserbereiter, oder anderen Geräten.
Halten Sie alle Teile der Maschine in gutem Betriebszustand und alle Befestigungen angezogen.
Ersetzen Sie alle abgenutzten oder fehlenden Aufkleber.
Im Notfall lässt sich die Maschine über kürzere Strecken abschleppen. Toro kann dies jedoch nicht als normale Vorgehensweise empfehlen.
Important: Schleppen Sie die Maschine höchstens mit 1,6 km/h ab, sonst kann der Antrieb beschädigt werden. Verwenden Sie einen Pritschenwagen oder Anhänger, wenn Sie die Maschine mehr als 50 m transportieren möchten. Die Reifen können blockieren, wenn Sie die Maschine zu schnell abschleppen. Sollte dies auftreten, halten Sie das Abschleppen der Maschine an und warten Sie, bis sich der Druck im Antriebskreislauf stabilisiert hat, bevor Sie das Abschleppen mit einer niedrigeren Geschwindigkeit fortsetzen.
Verwenden Sie Rampen über die ganze Breite für das Verladen der Maschine auf einen Anhänger oder Pritschenwagen.
Vergurten Sie die Maschine.
In der Bedienungsanleitung für das Anbaugerät finden Sie relevante Anweisungen für das Anbaugerät.
Üben Sie das Fahren mit der Maschine, da sich die Einsatzmerkmale von anderen Nutzfahrzeugen unterscheiden. Sie sollten beim Einsatz des Fahrzeugs zwei Punkte berücksichtigen: Das Getriebe und die Motordrehzahl.
Treten Sie das Fahrpedal langsam durch, um eine ungefähr konstante Motordrehzahl zu erhalten. Der Motor kann dann mit der Fahrgeschwindigkeit des Fahrzeugs Schritt halten. Wenn Sie dagegen das Fahrpedal schnell durchtreten, wird die Motordrehzahl verringert, und das Drehmoment reicht nicht zum Bewegen des Fahrzeugs aus. Wenn Sie daher die maximale Leistung auf die Räder transferieren möchten, schieben Sie die Gasbedienung in die SCHNELL-Stellung und treten Sie leicht auf das Fahrpedal. Ohne Last erreichen Sie dagegen die höchste Fahrgeschwindigkeit, wenn die Gasbedienung in der SCHNELL-Stellung ist, und das Fahrpedal langsam ganz durchgetreten wird. Halten Sie daher die Motordrehzahl immer hoch genug, um den Rädern den höchsten Drehmoment bereitzustellen.
Beim Einsatz der Maschine müssen Sie aufpassen, um ein Umkippen oder einen Verlust der Fahrzeugkontrolle zu vermeiden.
Passen Sie auf, wenn Sie in Sandkuhlen einfahren oder aus ihnen herausfahren.
Passen Sie besonders in der Nähe von Gräben, Bächen oder anderen Gefahrenstellen auf.
Passen Sie besonders auf, wenn Sie die Maschine auf steilen Hängen einsetzen.
Verringern Sie die Geschwindigkeit, wenn Sie scharf oder auf Hangseiten wenden.
Vermeiden Sie es, unvermittelt abzubremsen oder loszufahren.
Schalten Sie nur bei komplettem Stillstand von Vorwärts auf Rückwärts oder umgekehrt.
Note: Wenn der Adapter für das Anbaugerät am Adapter der Zugmaschine feststeckt, stecken Sie einen Schraubenzieher oder eine Brechstange in den Schlitz, um die Teile zu trennen (Bild 20).

Note: Bestimmen Sie die linke und rechte Seite der Maschine anhand der normalen Sitz- und Bedienposition.
Wenn Sie den Zündschlüssel im Zündschloss stecken lassen, könnte eine andere Person den Motor versehentlich anlassen und Sie und Unbeteiligte schwer verletzen.
Ziehen Sie vor jeglichen Wartungsarbeiten den Zündschlüssel ab.
| Wartungsintervall | Wartungsmaßnahmen |
|---|---|
| Nach acht Betriebsstunden |
|
| Nach 20 Betriebsstunden |
|
| Bei jeder Verwendung oder täglich |
|
| Alle 25 Betriebsstunden |
|
| Alle 100 Betriebsstunden |
|
| Alle 200 Betriebsstunden |
|
| Alle 400 Betriebsstunden |
|
| Alle 800 Betriebsstunden |
|
| Alle 1500 Betriebsstunden |
|
Important: Beachten Sie für weitere Wartungsmaßnahmen die Motorbedienungsanleitung.
Note: Ein Elektroschaltbild oder ein Hydraulikschaltbild für Ihre Maschine finden Sie unter www.Toro.com.
Kopieren Sie diese Seite für regelmäßige Verwendung.
| Wartungsprüfpunkt | Für KW: | ||||||
|---|---|---|---|---|---|---|---|
| Mo | Di | Mi | Do | Fr | Sa | So | |
| Prüfen Sie die Funktion der Sicherheitsschalter. | |||||||
| Prüfen Sie die Lenkfunktion. | |||||||
| Prüfen Sie den Kraftstoffstand. | |||||||
| Prüfen Sie den Stand des Motoröls. | |||||||
| Prüfen Sie den Zustand des Luftfilters. | |||||||
| Reinigen Sie die Kühlrippen am Motor. | |||||||
| Stellen Sie fest, ob der Motor abnormale Geräusche von sich gibt. | |||||||
| Achten Sie auf ungewöhnliche Betriebsgeräusche. | |||||||
| Prüfen Sie den Hydraulikölstand. | |||||||
| Prüfen Sie die Hydraulikschläuche auf Defekte. | |||||||
| Prüfen Sie die Dichtheit. | |||||||
| Prüfen Sie den Reifendruck. | |||||||
| Prüfen Sie die Funktion der Instrumente. | |||||||
| Bessern Sie alle Lackschäden aus. | |||||||
| Aufzeichnungen irgendwelcher Probleme | ||
| Inspiziert durch: | ||
| Punkt | Datum | Informationen |
Important: Die Befestigungen an den Abdeckungen dieser Maschine bleiben nach dem Entfernen an der Abdeckung. Lösen Sie alle Befestigungen an jeder Abdeckung um ein paar Umdrehungen, sodass die Abdeckungen lose aber noch verbunden sind; lösen Sie dann alle Befestigungen, bis die Abdeckung nicht mehr befestigt ist. Dies verhindert, dass die Schrauben aus Versehen aus den Haltern herausgeschraubt werden.
Führen Sie folgende Schritte vor dem Einstellen, Reinigen, Reparieren oder Verlassen der Maschine aus:
Stellen Sie die Maschine auf einer ebenen Fläche ab.
Stellen Sie die Gasbedienung in die niedrige Leerlauf-Stellung.
Absenken des Anbaugeräts
Stellen Sie sicher, dass der Antrieb in der Neutral-Stellung ist.
Aktivieren Sie die Feststellbremse.
Stellen Sie den Motor ab und ziehen Sie den Zündschlüssel ab.
Warten Sie, bis alle beweglichen Teile zum Stillstand gekommen sind.
Lassen Sie alle Maschinenteile abkühlen, ehe Sie mit Wartungsarbeiten beginnen.
Führen Sie Wartungsarbeiten möglichst nicht bei laufendem Motor durch. Fassen Sie keine beweglichen Teile an.
Stützen Sie die Maschine oder Komponenten bei Bedarf mit Achsständern ab.
Lassen Sie den Druck aus Maschinenteilen mit gespeicherter Energie vorsichtig ab.
Mechanische oder hydraulische Wagenheber können u. U. ausfallen und zu schweren Verletzungen führen.
Stützen Sie die Maschine mit Stützböcken ab.
Hebestellen:
Die Maschine hat Schmiernippel, die regelmäßig nach jeweils 100 Betriebsstunden mit Nr. 2 Schmierfett auf Lithiumbasis eingefettet werden müssen.
Schmieren Sie die folgenden Lager und Büchsen ein:
Vorderradlager (1) (Bild 23)

Fahrpedal-Drehzapfen (1) (Bild 24)

Hintere Anbauvorrichtung (5) (Bild 25)

Ende der Lenkzylinderstange (1), nur Modell 08705 (Bild 26)

Lenkzapfen (Bild 27)
Note: Für den bündigen Nippel am Lenkzapfen (Bild 27) benötigen Sie einen Fettspritzenadapter. Erhältlich unter der Bestellnummer 107-1998 vom Toro-Vertragshändler.

| Wartungsintervall | Wartungsmaßnahmen |
|---|---|
| Alle 100 Betriebsstunden |
|
Wischen Sie die Schmiernippel ab, um das Eindringen von Fremdkörpern in die Lager oder Büchsen zu vermeiden.
Pressen Sie Fett in die Lager und Büchsen.
Wischen Sie überflüssiges Fett ab.
Stellen Sie den Motor grundsätzlich vor dem Prüfen des Ölstands oder Auffüllen des Kurbelgehäuses mit Öl ab.
Ändern Sie nicht die Geschwindigkeit des Drehzahlreglers und überdrehen Sie den Motor.
| Wartungsintervall | Wartungsmaßnahmen |
|---|---|
| Nach 20 Betriebsstunden |
|
| Alle 100 Betriebsstunden |
|
Parken Sie die Maschine auf einer ebenen Fläche, stellen Sie den Motor ab, aktivieren Sie die Feststellbremse und ziehen Sie den Schlüssel ab.
Entfernen Sie die Ablassschraube (Bild 28) und lassen Sie das Öl in die Auffangwanne ab. Schrauben Sie die Ablassschraube wieder ein, nachdem das Öl abgelaufen ist.

Entfernen Sie den Ölfilter (Bild 28).
Ölen Sie die neue Dichtung am Ölfilter leicht mit frischem Öl ein.
Drehen Sie den Filter per Hand ein, bis die Dichtung die Ansatzfläche berührt; ziehen Sie ihn dann um eine weitere 1/2 bis 3/4 Umdrehung fest.
Important: Ziehen Sie den Filter nicht zu fest.
Füllen Sie Öl in das Kurbelgehäuse, siehe Prüfen des Motorölstands.
Entsorgen Sie Altöl vorschriftsmäßig.
| Wartungsintervall | Wartungsmaßnahmen |
|---|---|
| Alle 200 Betriebsstunden |
|
Prüfen Sie das Gehäuse des Luftfilters auf Schäden, die eventuell zu einem Luftleck führen könnten. Tauschen Sie beschädigte Teile aus. Prüfen Sie die ganze Ansauganlage auf Lecks, Beschädigungen oder lose Schlauchklemmen.
Das frühzeitige Auswechseln des Luftfilters erhöht nur die Gefahr, dass Schmutz in den Motor gelangt, wenn Sie den Filter entfernen.
Stellen Sie sicher, dass die Abdeckung richtig angebracht ist und das Luftfiltergehäuse abdichtet.
| Wartungsintervall | Wartungsmaßnahmen |
|---|---|
| Alle 200 Betriebsstunden |
|
Lösen Sie die Riegel, mit denen die Abdeckung des Luftfilters am Luftfiltergehäuse befestigt ist (Bild 29).

Nehmen Sie die Abdeckung vom Luftfiltergehäuse ab.
Bevor Sie den Filter entfernen, sollten Sie mit geringer Druckluft (2,76 bar, sauber und trocken) große Ablagerungen entfernen, die sich zwischen der Außenseite des Filters und dem Kanister befinden.
Important: Verwenden Sie keine hohe Druckluft, da Schmutz durch den Filter in den Einlass gedrückt werden könnte. Diese Reinigung verhindert, dass Rückstände in den Ansaugfilter gelangen, wenn Sie den Hauptfilter entfernen.
Nehmen Sie den Filter heraus und wechseln Sie ihn.
Note: Prüfen Sie den neuen Filter auf Versandschäden, prüfen Sie das Dichtungsende des Filters und des Körpers. Verwenden Sie nie beschädigte Filter. Setzen Sie den neuen Filter ein. Drücken Sie auf den äußeren Rand des Elements, um es im Kanister zu platzieren. Drücken Sie nie auf die flexible Mitte des Filters.
Note: Reinigen Sie keinen gebrauchten Einsatz, da die Gefahr einer Beschädigung des Filtermediums besteht.
Reinigen Sie den Schmutzauswurfanschluss in der abnehmbaren Abdeckung.
Nehmen Sie das Gummiablassventil von der Abdeckung ab, reinigen Sie den Hohlraum und wechseln Sie das Ablassventil aus.
Setzen Sie die Abdeckung ein, richten Sie das Gummiablassventil nach unten, ungefähr zwischen 17.00 Uhr und 19.00 Uhr (vom Ende her gesehen).
Befestigen Sie die Laschen.
| Wartungsintervall | Wartungsmaßnahmen |
|---|---|
| Alle 800 Betriebsstunden |
|
Typ: Champion RC14YC (oder gleichwertige)
Abstand: 0,76 mm
Note: Zündkerzen halten normalerweise lange. Prüfen Sie jedoch die Kerzen, wenn Motorprobleme auftreten.
Reinigen Sie den Bereich um die Zündkerzen, sodass keine Fremdkörper in den Zylinder fallen, wenn die Kerze entfernt wird.
Ziehen Sie die Zündkerzenstecker von den Zündkerzen ab und entfernen die Kerzen aus dem Zylinderkopf.
Überprüfen Sie den Zustand der Seitenelektrode, der mittleren Elektrode und der Isolierung, um sicherzustellen, dass keine Beschädigung besteht.
Important: Tauschen Sie angerissene, verrußte, verschmutzte oder auf eine andere Art problematische Zündkerzen aus. Elektroden dürfen nicht sandgestrahlt, abgekratzt oder mit einer Drahtbürste gereinigt werden, da sich Grobstaub so nach und nach von der Zündkerze lösen könnte und in den Zylinder fallen würde. Dies führt normalerweise zu Motorschäden.
Stellen Sie den Elektrodenabstand zwischen der mittleren und der Seitenelektrode auf 0,76 mm ein (Bild 30). Setzen Sie eine Zündkerze mit korrektem Elektrodenabstand und der Dichtung ein und ziehen Sie sie mit 23 N·m an. Wenn Sie keinen Drehmomentschlüssel benutzen, ziehen Sie die Kerze fest an.

| Wartungsintervall | Wartungsmaßnahmen |
|---|---|
| Alle 800 Betriebsstunden |
|
Ein Inlinefilter ist in die Kraftstoffleitung integriert. Wenn ein Austausch erforderlich ist, führen Sie die folgenden Schritte durch:
Schließen Sie den Kraftstoffhahn, lockern die Schlauchklemme an der Vergaserseite des Filters und ziehen die Kraftstoffleitung vom Filter ab (Bild 31).

Stellen Sie eine Auffangwanne unter den Filter, lockern Sie die verbleibende Schlauchklemme und entfernen den Filter.
Setzen Sie den neuen Filter so ein, dass der Pfeil am Filtergehäuse vom Kraftstofftank weg zeigt (auf den Vergaser).
Schieben Sie die Schlauchklemmen auf die Enden der Kraftstoffleitungen.
Schieben Sie die Kraftstoffleitungen an den Kraftstofffilter heran und befestigen Sie sie mit Schlauchklemmen.
Note: Stellen Sie sicher, dass der Pfeil an der Seite des Filters auf den Vergaser zeigt.
Klemmen Sie vor dem Durchführen von Reparaturen an der Maschine die Batterie ab. Klemmen Sie immer zuerst die Minusklemme und dann die Plusklemme ab. Schließen Sie immer zuerst den Pluspol und dann den Minuspol an.
Laden Sie die Batterie in offenen, gut gelüfteten Bereichen und nicht in der Nähe von Funken und offenem Feuer. Stecken Sie das Ladegerät aus, ehe Sie die Batterie anschließen oder abklemmen. Tragen Sie Schutzkleidung und verwenden Sie isoliertes Werkzeug.
Wenn Sie die Maschine mit Starthilfe anlassen müssen, können Sie den zusätzlichen Pluspol (an der Anlasserstromspule) statt des Pluspols an der Batterie verwenden (Bild 32).

Der Sicherungsblock (Bild 33) befindet sich unter dem Sitz.

| Wartungsintervall | Wartungsmaßnahmen |
|---|---|
| Alle 25 Betriebsstunden |
|
Stellen Sie einen richtigen Stand der Elektrolytflüssigkeit in der Batterie sicher, und reinigen Sie die Oberseite der Batterie. Die Batterie entleert sich schneller, wenn die Maschine an sehr heißen Orten statt bei kühleren Umgebungstemperaturen gelagert wird.
Halten Sie die Oberseite der Batterie durch regelmäßiges Reinigen mit einer in Ammoniak oder Natronlauge getauchten Bürste sauber. Spülen Sie die Oberseite der Batterie nach der Reinigung mit Wasser. Entfernen Sie während der Reinigung nicht den Verschlussdeckel.
Um einen guten elektrischen Kontakt sicherzustellen, müssen die Batteriekabel fest mit den Polen verbunden sein.
Klemmen Sie, wenn die Batteriepole korrodieren, zuerst das Minuskabel (-) ab und kratzen die Klemmen und Pole getrennt ab. Klemmen Sie die Kabel wieder an (Pluskabel (+) zuerst) und überziehen die Pole mit Vaseline.
Prüfen Sie den Batteriefüllstand alle 25 Betriebsstunden oder, wenn die Maschine eingelagert wird, alle 30 Tage.
Halten Sie den Füllstand in den Zellen mit destilliertem oder entmineralisiertem Wasser aufrecht. Füllen Sie die Zellen nicht über der Fülllinie.
Wenn sich die Maschine bewegt, wenn das Fahrpedal in der Neutralstellung ist, müssen Sie die Antriebsnocke einstellen.
Parken Sie die Maschine auf einer ebenen Fläche, stellen Sie den Motor ab, aktivieren Sie die Feststellbremse und ziehen Sie den Schlüssel ab.
Lösen Sie die zwei Schrauben, mit denen die mittlere Haube an der Maschine befestigt ist, und nehmen Sie die Haube ab (Bild 34).

Heben Sie das Vorderrad und ein Hinterrad vom Boden ab und stellen Sie Stützblöcke unter den Rahmen.
Ein Vorderrad und ein Hinterrad müssen aufgebockt sein, sonst bewegt sich die Maschine während der Einstellung. Dies kann dazu führen, dass die Maschine fällt und eine Person unter der Maschine verletzt.
Stellen Sie sicher, dass die Maschine richtig abgestützt ist, und dass das Vorderrad und ein Hinterrad Bodenfreiheit haben.
Lockern Sie die Sicherungsmutter an der Fahrantriebs-Einstellnocke (Bild 35).

Der Motor muss für die endgültige Einstellung der Fahrantriebs-Einstellnocke laufen. Der Kontakt mit beweglichen Teilen oder heißen Oberflächen kann zu Verletzungen führen.
Berühren Sie sich bewegende Teile, den Auspuff und andere heiße Oberflächen nicht mit den Händen, Füßen, dem Gesicht und anderen Körperteilen.
Lassen Sie den Motor an und drehen das Sechskant (Bild 35) der Nocke in beide Richtungen, um die zentrale Stellung im Neutralbereich ausfindig zu machen.
Ziehen Sie die Sicherungsmutter fest, um die Einstellung zu arretieren.
Stellen Sie den Motor ab.
Setzen Sie die mittlere Haube auf.
Entfernen Sie die Stützböcke und senken Sie die Maschine auf den Boden ab.
Machen Sie eine Testfahrt, um sicherzustellen, dass sich die Maschine nicht bewegt, wenn das Fahrpedal in der Neutral-Stellung ist.
Stellen Sie das Getriebe auf Neutral, siehe Einstellen der Leerlaufstellung für den Fahrantrieb.
Betätigen Sie den Pumphebel, um sicherzustellen, dass alle Teile ordnungsgemäß funktionieren und richtig positioniert sind.
Stellen Sie die Schraube ein, bis der Abstand ± 0,8-2,3 mm beträgt, siehe Bild 35.
Prüfen Sie die richtige Funktion.
Das Fahrpedal wird im Werk auf die maximale Transport- und Rückwärtsgeschwindigkeit eingestellt. Eine Einstellung ist jedoch erforderlich, wenn das Pedal Vollgas erreicht, bevor der Pumphebel den ganzen Hub durchlaufen hat, oder wenn Sie eine verminderte Transportgeschwindigkeit wünschen.
Treten Sie das Fahrpedal durch, um die maximale Transportgeschwindigkeit zu erhalten. Wenn das Pedal den Anschlag erreicht (Bild 36), bevor der Pumphebel den ganzen Hub durchläuft, müssen Sie die Einstellung ändern:

Parken Sie die Maschine auf einer ebenen Fläche, stellen Sie den Motor ab, aktivieren Sie die Feststellbremse und ziehen Sie den Schlüssel ab.
Lösen Sie die Mutter, mit der der Pedalanschlag befestigt ist.
Ziehen Sie den Pedalanschlag fest, bis er das Fahrpedal nicht mehr berührt.
Üben Sie weiterhin leichten Druck auf das Transportpedal aus und stellen Sie den Pedalanschlag so ein, dass er gerade berührt oder so, dass ein Abstand von 2,5 mm zwischen der Pedalstange und dem Anschlag besteht.
Ziehen Sie die Muttern fest.
Parken Sie die Maschine auf einer ebenen Fläche, stellen Sie den Motor ab, aktivieren Sie die Feststellbremse und ziehen Sie den Schlüssel ab.
Lösen Sie die Mutter, mit der der Pedalanschlag befestigt ist.
Drehen Sie den Pedalanschlag heraus, bis die gewünschte Transportgeschwindigkeit erreicht ist.
Ziehen Sie die Mutter an, mit der der Pedalanschlag befestigt ist.
Die Arretierungsplatte des Hubhebels (Bild 38) kann eingestellt werden, wenn das Anbaugerät beim Einsatz nicht richtig schwebt (d. h. der Bodenkontur folgt).
Parken Sie die Maschine auf einer ebenen Fläche, stellen Sie den Motor ab, aktivieren Sie die Feststellbremse und blockieren die Räder.
Nehmen Sie die vier 4 Schrauben ab, mit denen das Armaturenbrett am Rahmen befestigt ist (Bild 37).

Lösen Sie die zwei Schrauben, mit denen die Arretierungsplatte am Kotflügel und Rahmen befestigt ist.

Der Motor muss zum Einstellen der Arretierungsplatte laufen. Der Kontakt mit beweglichen Teilen oder heißen Oberflächen kann zu Verletzungen führen.
Berühren Sie sich bewegende Teile, den Auspuff und andere heiße Oberflächen nicht mit den Händen, Füßen, dem Gesicht und anderen Körperteilen.
Lassen Sie den Motor an.
Wenn der Motor läuft und der Hubhebel in der SCHWEBEN-Stellung ist, schieben Sie die Detentplatte, bis der Hubzylinder mit der Hand aus- und eingefahren werden kann.
Ziehen Sie die zwei Befestigungsschrauben an, um die Einstellung zu arretieren.
Die Gasbedienung nur ordnungsgemäß, wenn der Gasbedienungshebel korrekt eingestellt ist. Stellen Sie sicher, dass der Gasbedienungshebel einwandfrei funktioniert, bevor Sie versuchen, den Vergaser einzustellen.
Drehen Sie den Sitz nach oben.
Lockern Sie die Klemmschraube des Bowdenzugs, mit der dieser am Motor befestigt ist (Bild 39).

Stellen Sie den Gasbedienungshebel nach vorne in die SCHNELL-Stellung.
Ziehen Sie fest am Bowdenzug, bis die Rückseite des Drehzapfens den Anschlag berührt (Bild 39).
Ziehen Sie Klemmschraube an und prüfen die Motordrehzahl.
Hoher Leerlauf: 3.350-3.450 U/min
Niedriger Leerlauf: 1.650-1.850 U/min
Drehen Sie den Sitz nach oben.
Lockern Sie die Klemmschraube des Chokezugs, mit der dieser am Motor befestigt ist (Bild 39).
Stellen Sie den Chokehebel im Bedienfeld nach vorne in die GESCHLOSSENE Stellung.
Ziehen Sie fest am Chokezug (Bild 39), bis die Choke-Drosselklappe ganz geschlossen ist; ziehen Sie dann die Klemmschraube des Chokezugs fest.
Important: Stellen Sie vor dem Einstellen der Geschwindigkeitsregelung des Motordrehzahlreglers sicher, dass die Gasbedienungs- und Chokehebel einwandfrei eingestellt sind.
Während der Einstellung des Geschwindigkeitsbedienelements des Motordrehzahlreglers muss der Motor laufen. Der Kontakt mit beweglichen Teilen oder heißen Oberflächen kann zu Verletzungen führen.
Stellen Sie vor dem Durchführen der Schritte sicher, dass das Fahrpedal in Neutral und die Feststellbremse aktiviert ist.
Berühren Sie sich bewegende Teile, den Auspuff und andere heißen Oberflächen nicht mit den Händen, Füßen, Kleidung und anderen Körperteilen.
Note: Führen Sie alle Schritte durch, wenn der langsame Leerlauf eingestellt werden muss. Wenn nur der schnelle Leerlauf eingestellt werden muss, gehen Sie direkt auf Schritt 5.
Lassen Sie den Motor an und lassen Sie ihn ca. fünf Minuten lang mit halbem Vollgas warmlaufen.
Stellen Sie die Gasbedienung in die LANGSAM-Stellung. Drehen Sie die Leerlauf-Anschlagschraube entgegen dem Uhrzeigersinn, bis sie nicht mehr den Gasbedienungshebel berührt.
Biegen Sie den Anker-Federmitnehmer (Bild 40), um eine Leerlaufgeschwindigkeit von 1.675 U/min bis 1.175 U/min zu erzielen.
Note: Prüfen Sie die Motordrehzahl mit einem Drehzahlmesser.

Stellen Sie die Anschlagschraube für den Leerlauf ein, bis die Leerlaufgeschwindigkeit 25-50 U/min über der Leerlaufgeschwindigkeit liegt, die Sie in Schritt 3 eingestellt haben.
Note: Die endgültige Leerlaufgeschwindigkeit muss zwischen 1,650 U/min bis 1,850 U/min betragen.
Stellen Sie den Gasbedienungshebel in die SCHNELL-Stellung.
Biegen Sie den Federankermitnehmer in der Vollgaseinstellung (Bild 40), bis Sie eine Vollgasdrehzahl von 3.350 U/min bis 3.450 U/min erzielen.
Suchen Sie beim Einspritzen unter die Haut sofort einen Arzt auf. In die Haut eingedrungene Flüssigkeit muss sie innerhalb weniger Stunden von einem Arzt entfernt werden.
Stellen Sie sicher, dass alle Hydraulikschläuche und -leitungen in gutem Zustand sind, und dass alle Hydraulikverbindungen und -anschlussstücke fest angezogen sind, bevor Sie die Hydraulikanlage unter Druck setzen.
Halten Sie Ihren Körper und Ihre Hände von Nadellöchern und Düsen fern, aus denen Hydrauliköl unter hohem Druck ausgestoßen wird.
Gehen Sie hydraulischen Undichtheiten nur mit Pappe oder Papier nach.
Lassen Sie den Druck in der Hydraulikanlage auf eine sichere Art und Weise ab, bevor Sie irgendwelche Arbeiten an der Anlage durchführen.
| Wartungsintervall | Wartungsmaßnahmen |
|---|---|
| Nach acht Betriebsstunden |
|
| Alle 400 Betriebsstunden |
|
Verwenden Sie nur Originalfilter von Toro als Ersatz.
Parken Sie die Maschine auf einer ebenen Fläche, stellen Sie den Motor ab, aktivieren Sie die Feststellbremse und ziehen Sie den Schlüssel ab.
Lösen Sie die zwei Schrauben, mit denen die mittlere Haube an der Maschine befestigt ist, und nehmen Sie die Haube ab (Bild 41).

Stellen Sie eine Auffangwanne unter den Hydraulikfilter, der sich links an der Maschine befindet (Bild 42).

Reinigen Sie den Anbaubereich des Filters.Stellen Sie eine Auffangwanne unter den Filter.Lösen Sie den Hydraulikfilter langsam (nehmen Sie ihn nicht ab), bis das Öl am Vergaser entlang fließt und an einer Seite des Filters ausläuft.
Note: Wenn die Maschine mit einer Remotehydraulik ausgestattet ist, können Sie den Ansaugschlauch von der Pumpe abnehmen, um das Hydrauliköl abzulassen.
Nehmen Sie den Filter ab, wenn das Öl langsam fließt.
Schmieren Sie die Dichtung am Ersatzfilter mit Hydrauliköl ein und schrauben Sie ihn mit der Hand ein, bis die Dichtung den Filterkopf berührt. Ziehen Sie ihn dann um 3/4 Umdrehung weiter fest.
Note: Jetzt müsste der Filter dicht sein.
Füllen Sie den Hydraulikbehälter mit Hydrauliköl, bis der Stand an den unteren Rand des Einfüllstutzens am Peilstab reicht. Überfüllen Sie den Tank nicht. Siehe Prüfen des Hydraulikölstands.
Lassen Sie den Motor an und lassen Sie ihn laufen. Betätigen Sie den Hubzylinder, bis er sich ausstreckt und einzieht und der Vor- und Rückwärtsantrieb herbeigeführt ist.
Stellen Sie den Motor ab und prüfen den Ölstand im Behälter; füllen Sie bei Bedarf Öl nach.
Prüfen Sie alle Verbindungen auf Dichtheit.
Setzen Sie die mittlere Haube auf.
Entsorgen Sie Altöl vorschriftsmäßig.
| Wartungsintervall | Wartungsmaßnahmen |
|---|---|
| Bei jeder Verwendung oder täglich |
|
Prüfen Sie die Hydraulikleitungen und -schläuche täglich auf Dichtheit, abgeknickte Leitungen, lockere Befestigungsstützen, lose Anschlussstücke, Witterungseinflüsse und chemische Schäden. Führen Sie alle erforderlichen Reparaturen vor der Inbetriebnahme durch.
Wenn ein Bestandteil der Hydraulikanlage repariert oder ausgetauscht wurde, sollten Sie den Hydraulikfilter wechseln und die Hydraulikanlage laden.
Stellen Sie sicher, dass der Hydraulikbehälter und der Filter immer mit Öl gefüllt sind, wenn Sie die Hydraulikanlage laden.
Parken Sie die Maschine auf einer ebenen Fläche, stellen Sie den Motor ab, aktivieren Sie die Feststellbremse und ziehen Sie den Schlüssel ab.
Lösen Sie die zwei Schrauben, mit denen die mittlere Haube an der Maschine befestigt ist, und nehmen Sie die Haube ab (Bild 43).

Heben Sie das Vorderrad und ein Hinterrad vom Boden ab und stellen Sie Stützblöcke unter den Rahmen.
Ein Vorderrad und ein Hinterrad müssen aufgebockt sein, sonst bewegt sich die Maschine während der Einstellung. Dies kann dazu führen, dass die Maschine fällt und eine Person unter der Maschine verletzt.
Stellen Sie sicher, dass die Maschine richtig abgestützt ist, und dass das Vorderrad und ein Hinterrad Bodenfreiheit haben.
Lassen Sie den Motor an und stellen die Gasbedienung so ein, dass der Motor mit ungefähr 1.800 U/min läuft.
Betätigen Sie den Hebel des Hubventils, bis die Hubzylinderstange mehrmals ein- und ausgefahren ist. Wenn sich die Zylinderstange nach 10 bis 15 Sekunden nicht bewegt, oder die Pumpe ungewöhnliche Geräusche macht, stellen Sie sofort den Motor ab und ermitteln Sie die Ursache oder das Problem. Prüfen Sie Folgendes:
Loser Filter oder lose Saugleitungen
Lose oder defekte Kupplung an der Pumpe
Verstopfte Saugleitung
Defektes Ladeentlastungsventil
Defekte Ladepumpe
Wenn sich der Zylinder innerhalb von 10 bis 15 Sekunden bewegt, gehen Sie auf Schritt 6.
Betätigen Sie das Fahrpedal im Vorwärts- und Rückwärtsgang. Die Räder, die Bodenfreiheit haben, sollten sich in der richtigen Richtung drehen.
Wenn sich die Räder in der falschen Richtung drehen, stellen Sie den Motor ab, nehmen Sie die Leitungen hinten an der Pumpe ab und drehen Sie die Anschlussstellen um.
Wenn sich die Räder in der richtigen Richtung bewegen, stellen Sie den Motor ab und stellen die Sicherungsmutter des Federeinstellungsstifts ein (Bild 44). Stellen Sie die Neutral-Stellung des Getriebes ein, siehe Einstellen der Leerlaufstellung für den Fahrantrieb.

Prüfen Sie die Einstellung des Fahrantrieb-Sicherheitsschalters, siehe Einstellen des Fahrantriebs-Sicherheitsschalters.
Setzen Sie die mittlere Haube auf.
| Wartungsintervall | Wartungsmaßnahmen |
|---|---|
| Bei jeder Verwendung oder täglich |
|
Reinigen Sie die Maschine nach dem Einsatz gründlich mit einem Gartenschlauch ohne Sprühdüse. Dadurch vermeiden Sie, dass ein zu hoher Wasserdruck zur Verunreinigung und Beschädigung der Dichtungen und Lager führt.
Achten Sie darauf, dass die Kühlrippen und der Bereich um das Ansauggitter keine Fremdkörper aufweisen.
Important: Das Reinigen des Ölkühlers mit Wasser kann zu frühzeitigem Verrosten, einer Beschädigung der Bauteile und einem Verdichten der Ablagerungen führen, siehe Reinigen des Ölkühlers.
Nach dem Reinigen sollten Sie die Maschine auf mögliche Öllecks und Beschädigungen oder Abnutzung der hydraulischen und mechanischen Komponenten prüfen.
| Wartungsintervall | Wartungsmaßnahmen |
|---|---|
| Alle 400 Betriebsstunden |
|
Reinigen Sie die Zugmaschine, Anbaugeräte und den Motor gründlich.
Überprüfen Sie den Reifendruck.
Prüfen Sie auf lockere Befestigungsteile und ziehen diese bei Bedarf fest.
Fetten und ölen Sie alle Schmiernippel und Drehpunkte. Wischen Sie überflüssiges Schmiermittel ab.
Schmirgeln Sie alle Lackschäden leicht und bessern Bereiche aus, die angekratzt, abgesprungen oder verrostet sind.
Warten Sie die Batterie und -kabel wie folgt:
Entfernen Sie die Batterieklemmen von den -polen.
Reinigen Sie die Batterie, -klemmen und -pole mit einer Drahtbürste und Natronlauge.
Überziehen Sie die Kabelklemmen und Batteriepole mit Grafo 112X-Fett (Toro-Bestellnummer 505-47) oder mit Vaseline, um einer Korrosion vorzubeugen.
Laden Sie die Batterie alle 60 Tage 24 Stunden lang langsam auf, um einer Bleisulfatierung der Batterie vorzubeugen.
Note: Das spezifische Gewicht einer voll geladenen Batterie beträgt 1,250.
Note: Lagern Sie die Batterie an einem kühlen Ort ein, um ein zu schnelles Entladen der Batterie zu vermeiden. Stellen Sie sicher, um einem Einfrieren der Batterie vorzubeugen, dass sie voll aufgeladen ist.
Wechseln Sie das Motoröl und den -filter. Siehe Wechseln des Motoröls und -filters.
Starten Sie den Motor, und lassen Sie ihn ca. zwei Minuten lang im Leerlauf laufen.
Reinigen und warten Sie den Luftfilter gründlich. Siehe Warten des Luftfilters.
Dichten Sie den Zulauf des Luftfilters sowie das Auspuffrohr mit witterungsbeständigem Band ab.
Prüfen Sie den Ölfüll- und den Tankdeckel auf festen Verschluss.