| Vedligeholdelsesintervaller | Vedligeholdelsesprocedure |
|---|---|
| Efter de første 20 timer |
|
| Hver anvendelse eller dagligt |
|
Denne maskine er et arbejdskøretøj med førersæde, der er beregnet til brug af professionelle, ansatte operatører i kommercielle anvendelsesområder. Det er primært beregnet til vedligeholdelse af sandbunkere og velholdte golfbaner og kommercielle områder.
Important: For at sikre maksimal sikkerhed, ydeevne og korrekt betjening af denne maskine skal du omhyggeligt læse og forstå indholdet i denne betjeningsvejledning. Manglende overholdelse af anvisningerne i betjeningsvejledningen eller manglende grundig undervisning kan medføre personskade. For nærmere oplysninger om sikker driftspraksis, herunder sikkerhedstip og uddannelsesmateriale, henvises til www.Toro.com.
Du kan kontakte Toro direkte på www.Toro.com for at få materialer om produktsikkerhed og oplæring i betjening, oplysninger om tilbehør, hjælp til at finde en forhandler eller for at registrere dit produkt.
Når du har brug for service, originale Toro-dele eller yderligere oplysninger, bedes du kontakte en autoriseret serviceforhandler eller Toros kundeservice samt have produktets model- og serienummer parat. Figur 1 viser model- og serienummerets placering på produktet. Skriv numrene, hvor der er gjort plads til dette.
Important: Scan QR-koden (hvis der er en) på serienummermærkaten med din mobilenhed for at få adgang til oplysninger om garanti, reservedele og andre produktoplysninger.

Advarselssymbolet (Figur 2), der vises i denne betjeningsvejledning og på maskinen, identificerer vigtige sikkerhedsmeddelelser, som du skal følge for at forhindre ulykker.

Advarselssymbolet vises over oplysninger, der advarer dig om farlige handlinger eller situationer og efterfølges af ordet DANGER (fare), WARNING (advarsel) eller CAUTION (forsigtig).
DANGER (fare) angiver en overhængende farlig situation, som, hvis den ikke undgås, vil medføre dødsfald eller alvorlig personskade.
WARNING (advarsel) angiver en potentielt farlig situation, som, hvis den ikke undgås, kan medføre dødsfald eller alvorlig personskade.
CAUTION (forsigtig) angiver en potentielt farlig situation, som, hvis den ikke undgås, kan medføre mindre eller moderat personskade.
Denne betjeningsvejledning bruger yderligere to ord til at fremhæve oplysninger. Vigtigt henleder opmærksomheden på særlige mekaniske oplysninger, og Bemærk angiver generel information, som det er værd at lægge særligt mærke til.
Dette produkt overholder alle relevante EU-direktiver. Yderligere oplysninger fås på den separate produktspecifikke overensstemmelseserklæring.
Det er en overtrædelse af §4442 eller §4443 i California Public Resource Code at bruge eller betjene denne motor på et skovklædt, busk- eller græsbegroet område, medmindre motoren er forsynet med en gnistskærm som defineret i §4442, der holdes i god driftsmæssig stand, eller medmindre motoren er bygget, udstyret og vedligeholdt med henblik på brandforebyggelse.
Den medfølgende motorvejledning indeholder information om U.S. Environmental Protection Agency (EPA) og California Emission Control Regulation for emissionssystemer, vedligeholdelse og garanti. Nye eksemplarer kan bestilles via motorfabrikanten.
CALIFORNIEN
Advarsel i henhold til erklæring nr. 65
Udstødningsgassen fra dette produkt indeholder kemikalier, der ifølge staten Californien er kræftfremkaldende samt giver fødselsskader eller andre forplantningsskader.
Batteripoler og tilbehør indeholder bly og blysammensætninger, som ifølge staten Californien er kræftfremkaldende og forårsager forplantningsskader. Vask hænder efter håndtering.
Brug af dette produkt kan medføre eksponering over for kemikalier, der ifølge staten Californien er kræftfremkaldende og giver medfødte defekter eller andre forplantningsskader.
Vægtsættet 100-6442 kan monteres foran på maskinen med henblik på bedre vejgreb.
Note: Hvis maskinen er udstyret med redskaber som en frontmonteret løfteenhed eller plov, kan vægtsættet ikke monteres på grund af fysiske begrænsninger.
Dette produkt kan forårsage personskade. Følg altid sikkerhedsforskrifterne for at undgå alvorlig personskade.
Brug af dette produkt til andre end det tiltænkte formål kan udsætte dig selv og omkringstående for fare.
Læs og forstå indholdet i denne betjeningsvejledning, før du starter motoren. Sørg for, at alle produktets brugere er fortrolige med betjeningen af det og forstår advarslerne.
Betjening af maskinen kræver din fulde opmærksomhed. Giv dig ikke i kast med aktiviteter, der afleder opmærksomheden, da dette kan medføre person- eller tingsskade.
Hold hænder og fødder væk fra bevægelige maskinkomponenter.
Betjen ikke maskinen, uden at alle værn og øvrige sikkerhedsanordninger sidder korrekt på plads og virker på maskinen.
Hold omkringstående på afstand af maskinen, når den er i bevægelse.
Hold børn væk fra arbejdsområdet. Lad aldrig børn betjene maskinen.
Stop maskinen, og sluk for motoren, før maskinen efterses eller fyldes med brændstof.
Hvis maskinen betjenes eller vedligeholdes forkert, kan der være risiko for personskade. For at nedsætte risikoen for personskade skal operatøren altid følge sikkerhedsforskrifterne og være opmærksom på advarselssymbolet (Figur 2), der betyder Forsigtig, Advarsel eller Fare – ”personlig sikkerhedsanvisning”. Hvis disse forskrifter ikke følges, kan det medføre personskade eller død.
Du kan finde yderligere sikkerhedsoplysninger i denne betjeningsvejledning.
![]() |
Sikkerheds- og instruktionsmærkaterne kan nemt ses af operatøren og er placeret tæt på potentielle risikoområder. Udskift eventuelle beskadigede eller manglende mærkater. |








Note: Maskinens venstre og højre side er som set fra den normale betjeningsposition.
Note: Fjern og kasser alle leveringsbeslag og fastgørelsesbolte.
Dele, der skal bruges til dette trin:
| Rat | 1 |
| Skumkrave | 1 |
| Spændeskive | 1 |
| Låsemøtrik | 1 |
| Ratovertræk | 1 |
Stil forhjulet, så det peger lige fremad.
Sæt skumkraven (med den smalle ende først) på ratakslen (Figur 3).

Sæt rattet på styretøjsakslen (Figur 3).
Fastgør rattet til ratstammen med en spændingsskive og låsemøtrik (Figur 3).
Tilspænd låsemøtrikken med et moment på 27 til 35 N·m.
Tryk ratdækslet på plads på rattet (Figur 3).
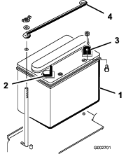
Fjern de 2 vingemøtrikker og skiver, der fastgør øverste batteritilholder til side batteritilholdere (Figur 4). Fjern den øverste batteritilholder, og fjern batteriet.

Dele, der skal bruges til dette trin:
| Elektrolyt med en densitet på 1,260 (følger ikke med) | – |
Hvis batteriet ikke er aktiveret eller fyldt med elektrolyt, skal batteriet påfyldes elektrolyt med en densitet på 1,260.
Note: Du kan købe elektrolyt i store partier hos en lokal batterileverandør.
Batterielektrolyt indeholder svovlsyre, der er dødbringende, hvis det indtages, og forårsager alvorlige forbrændinger.
Drik ikke elektrolyt og undgå kontakt med hud, øjne og tøj. Brug sikkerhedsbriller for at beskytte øjnene og gummihandsker for at beskytte hænderne.
Fyld batteriet op på et sted, hvor der altid er rent vand i nærheden til at skylle huden med.
Fjern påfyldningsdækslerne fra batteriet, og fyld langsomt hver enkelt celle, indtil elektrolytstanden når op til opfyldningslinjen.
Sæt påfyldningsdækslerne på plads, og slut en 3-4 A batterioplader til batteripolerne. Oplad batteriet ved 3-4 A i 4-8 timer.
Opladning af batteriet producerer gasser, der kan eksplodere.
Der må aldrig ryges i nærheden af batteriet, og gnister og åben ild skal holdes væk fra batteriet.
Når batteriet er opladet, tages opladeren ud af stikkontakten og frakobles batteripolerne. Lad batteriet hvile i 5–10 minutter.
Fjern påfyldningsdækslerne.
Tilfør langsomt elektrolyt til hver enkelt celle, indtil elektrolytstanden når op til påfyldningsgrænsen.
Important: Fyld ikke for meget på batteriet. Elektrolyt vil løbe over, ramme andre dele af maskinen og medføre alvorlig korrosion og beskadigelse.
Sæt påfyldningsdækslerne på.
Dele, der skal bruges til dette trin:
| Bolt (1/4 x 5/8 tomme) | 2 |
| Låsemøtrik (¼") | 2 |
Sæt batteriet på plads med de negative poler placeret bagud på maskinen (Figur 5).

Forkert batterikabelføring kan danne gnister og beskadige maskinen og kablerne. Gnister kan få batterigasserne til at eksplodere og medføre personskade.
Frakobl altid batteriets (sorte) minuskabel, før du frakobler det (røde) pluskabel.
Tilslut altid batteriets røde pluskabel, før du tilslutter det sorte minuskabel.
Batteripoler eller metalværktøj kan kortslutte mod maskinens metaldele og forårsage gnister. Gnister kan få batterigasserne til at eksplodere og medføre personskade.
Når batteriet skal fjernes eller monteres, må batteriets poler ikke berøre nogen metaldele på maskinen.
Metalværktøj må ikke kortslutte mellem batteripolerne og maskinens metaldele.
Fastgør pluskablet (rød) til den positive (+) pol med en bolt (1/4 x 5/8") og en låsemøtrik (Figur 6).

Fastgør den lille sorte ledning og det negative kabel (sort) til den negative (-) batteripol med en bolt (1/4 x 5/8") og en låsemøtrik (1/4") (Figur 6).
Smør polerne og monteringsskruerne med vaseline for at forebygge korrosion.
Skyd gummikappen ind over pluspolen (+) for at forhindre eventuel kortslutning.
Monter den øverste batteritilholder på batteritilholderne i siden, og fastgør den med spændeskiver og vingemøtrikker.
Dele, der skal bruges til dette trin:
| Forvægtsæt efter behov | – |
Denne maskine er designet i overensstemmelse med ANSI B71.4-2017. Når der er monteret redskaber på maskinen, kan der dog kræves yderligere vægt for at overholde standarderne.
Brug dette diagram til at fastlægge kombinationerne af yderligere påkrævet vægt. Du kan bestille dele hos din autoriserede Toro-forhandler.
| Redskab | Yderligere påkrævet forvægt | Vægtsæt, reservedelsnummer | Vægtbeskrivelse | Antal |
|---|---|---|---|---|
| Pigsæt (08755) | 23 kg | 100-6442 | 8 x 3 kg pladevægt | 1 |
| Rahn-trimmer | 23 kg | 100-6442 | 8 x 3 kg pladevægt | 1 |
| Værktøjskasse til QAS (lynkoblingssystem) | 23 kg | 100-6442 | 8 x 3 kg pladevægt | 1 |
Note: Yderligere vægt er ikke påkrævet, hvis maskinen er udstyret med hydraulisk forløftesæt (model 08712).
Dele, der skal bruges til dette trin:
| Mærkat med produktionsår | 1 |
Sæt mærkaten med produktionsår på maskinen i det viste område (Figur 7).

Dele, der skal bruges til dette trin:
| Advarselsmærkat | 1 |
På maskiner, der kræver CE-overensstemmelse, skal CE-advarselsmærkaten (delnr. 136-6164) påsættes over konsollens mærkat (delnr. 132-4422).

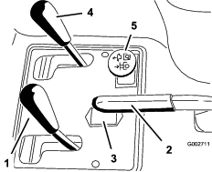
Traktionspedalen (Figur 9) har tre funktioner: at få maskinen til at køre fremad, bakke og stoppe. Brug højre fods hæl og tå til at trykke den øverste del af pedalen ned for at køre fremad, og den nederste del af pedalen til at bakke eller for at hjælpe med at stoppe, når der køres fremad (Figur 10). Lad pedalen bevæge sig, eller flyt den til NEUTRAL position for at stoppe maskinen. Af hensyn til førerkomforten skal du ikke hvile hælen på bakpedalen, når du kører maskinen fremad.


Kørehastigheden er proportional med, hvor langt du træder traktionspedalen ned. Hvis der skal køres med maksimal hastighed, skal pedalen trykkes helt ned, mens gashåndtaget står i positionen FAST (hurtig). For at opnå maksimal kraft eller ved kørsel op ad en bakke skal gashåndtaget stå i positionen FAST (hurtig), og pedalen skal trykkes let ned for at holde en høj motorhastighed. Når motorhastigheden begynder at falde, skal du slippe pedalen en anelse for at lade motorhastigheden stige.
Important: For at opnå maksimal trækkraft skal du flytte gashåndtaget til positionen FAST (hurtig) og trykke let på traktionspedalen.
Brug kun maksimal fart, når der køres fra et område til et andet.
Brug ikke den maksimale hastighed, når der anvendes et monteret eller bugseret redskab.
Important: Kør ikke maskinen baglæns med redskabet nede (driftstilstand), da redskabet kan blive alvorligt beskadiget.
Tændingskontakten (Figur 11), der bruges til at starte og slukke motoren, har tre positioner: OFF (fra), RUN (kør) og START. Drej nøglen med uret til positionen START for at aktivere startmotoren. Slip nøglen, når motoren starter, så nøglen vender tilbage til positionen ON (til). Drej nøglen mod uret til positionen OFF (fra) for at slukke motoren.

Hvis du skal starte en kold motor, skal du lukke karburatorchokeren ved at flytte chokerhåndtaget (Figur 11) op til positionen CLOSED (lukket). Når motoren starter, skal du regulere chokeren for at holde motoren jævnt kørende. Chokeren skal hurtigst muligt åbnes ved at trække den nedad til positionen OPEN(åben). En varm motor kræver ingen eller kun lidt choker.
Gashåndtaget (Figur 11) er forbundet til og styrer gashåndtagets forbindelse til karburatoren. Håndtaget har to indstillinger: SLOW (langsom) og FAST (hurtig). Motorhastigheden kan varieres mellem de to indstillinger.
Note: Du kan ikke slukke motoren ved at bruge gashåndtaget.
Hvis du vil hæve redskabet, skal du trække løftearmen (Figur 12) tilbage. Hvis du vil bugsere redskabet, skal du skubbe armen frem. Til positionen FLOAT (flydende) flyttes armen til låst position. Når du har opnået den ønskede position, slippes armen, og den vender tilbage til neutral.

Note: Maskinen har en dobbeltvirkende løftecylinder. Du kan trykke nedad på redskabet i visse brugssituationer.
Træk parkeringsbremsehåndtaget tilbage for at aktivere parkeringsbremsen (Figur 12). Den deaktiveres ved at skubbe håndtaget frem.
Note: Du skal muligvis dreje traktionspedalen langsomt frem og tilbage for at deaktivere parkeringsbremsen.
Timetælleren (Figur 12) angiver samlet antal timer af maskinbrug. Timetælleren starter, når du drejer tændingsnøglen til positionen TIL.
Flyt håndtaget på venstre side af sædet (Figur 13) frem, skub sædet til den ønskede position, og slip håndtaget for at låse sædet på plads.

Luk brændstofafbryderventilen (Figur 14), når maskinen opbevares eller transporteres på en trailer.

Note: Specifikationer og design kan ændres uden forudgående varsel.
| Bredde uden redskaber | 148 cm |
| Bredde med rive, model 08751 | 191 cm |
| Længde uden redskaber | 164 cm |
| Højde | 115 cm |
| Akselafstand | 109 cm |
| Nettovægt | |
| Model 08703 | 452 kg |
| Model 08705 | 461 kg |
Der kan fås en række forskelligt Toro-godkendt udstyr og tilbehør til brug sammen med maskinen, som gør den bedre og mere alsidig. Kontakt en autoriseret serviceforhandler eller autoriseret Toro-distributør, eller gå ind på www.Toro.com for at få en fortegnelse over alle godkendte redskaber og alt godkendt tilbehør.
Brug kun originale Toro-reservedele og tilbehør for at sikre optimal ydelse og sikre, at maskinen fortsat overholder sikkerhedscertificeringen. Reservedele og tilbehør, der er fremstillet af andre producenter, kan være farlige, og brug heraf kan gøre garantien ugyldig.
Note: Maskinens venstre og højre side er som set fra den normale betjeningsposition.
Maskinen må aldrig betjenes eller vedligeholdes af børn eller utrænet personale. Vær opmærksom på, at lokale forskrifter kan angive en mindstealder for operatøren. Ejeren er ansvarlig for at træne alle operatører og mekanikere.
Bliv fortrolig med anvisningerne for sikker betjening af udstyret samt med betjeningsanordningerne og sikkerhedssymbolerne.
Du skal vide, hvordan man standser maskinen og motoren hurtigt.
Kontroller, at dødemandsgrebene, sikkerhedskontakterne og afskærmningerne er korrekt påmonteret og fungerer korrekt. Betjen ikke maskinen, hvis disse ikke fungerer korrekt.
Før betjening skal du altid efterse maskinen for at sikre, at komponenterne og fastgørelsesanordningerne er i god driftsmæssig stand. Udskift slidte eller defekte komponenter og fastgørelsesanordninger.
Efterse området, hvor maskinen skal bruges, og fjern alle objekter, som maskinen kan risikere at udslynge.
Vær yderst forsigtig, når du håndterer brændstof. Det er letantændeligt, og dampene kan eksplodere.
Sluk alle cigaretter, cigarer, piber og andre antændingskilder.
Brug kun en godkendt brændstofbeholder.
Fjern ikke brændstofdækslet, og fyld ikke brændstoftanken, mens motoren kører eller er varm.
Du må ikke påfylde eller tømme brændstof i et lukket rum.
Opbevar ikke maskinen eller brændstofbeholdere, hvor der er åben ild, gnister eller vågeblus som f.eks. på en vandvarmer eller andre apparater.
Hvis du spilder brændstof, må du ikke forsøge at starte motoren. Foretag dig ikke noget, der kan antænde brændstoffet, før dampene er spredt.
| Vedligeholdelsesintervaller | Vedligeholdelsesprocedure |
|---|---|
| Efter de første 20 timer |
|
| Hver anvendelse eller dagligt |
|
Motoren sendes med olie i krumtaphuset, men du skal alligevel kontrollere oliestanden, før og efter motoren startes første gang.
Krumtaphusets oliekapacitet er ca. 1,66 l med filteret monteret.
Brug motorolie af høj kvalitet, der overholder følgende specifikationer:
API-klassifikationsniveau: SL eller derover
Foretrukken olie: SAE 30 – over 4 °C
Parker maskinen på en plan overflade, sluk for motoren, aktiver parkeringsbremsen, og fjern nøglen.
Drej sæde fremad.
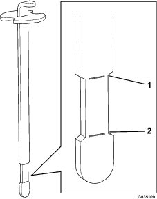
Træk målepinden op (Figur 15), og tør den af med en ren klud.

Sæt målepinden i røret, og sørg for, at den er helt i bund. Tag målepinden ud af røret, og kontroller oliestanden. Hvis oliestanden er lav, skal påfyldningsdækslet tages af ventildækslet og tilstrækkeligt olie hældes på til at hæve niveauet til full-mærket på målepinden.
Important: Sørg for at holde oliestanden mellem den øvre og nedre grænse på oliemåleren. Motorsammenbrud kan opstå som resultat af for meget eller for lidt motorolie.
Sæt målepinden helt på plads.
Important: Målepinden skal være helt i bund i røret for at sikre behørig forsegling af motorens krumtaphus. Hvis ikke krumtaphuset forsegles, kan det resultere i motorskade.
Drej sædet ned.
Brændstoftankens kapacitet: 25 l
Anbefalet brændstof:
Du opnår de bedste resultater ved kun at bruge ren og frisk (højst 30 dage gammel) blyfri benzin med et oktantal på 87 eller højere ((R+M)/2-ratingmetode).
Ethanol: Benzin med op til 10 % ethanol (gasohol) eller 15 % MTBE (metyl-tertiær-butylæter) pr. volumen accepteres. Ethanol og MTBE er ikke det samme. Benzin med 15 % ethanol (E15) pr. volumen godkendes ikke til brug. Brug aldrig benzin, der indeholder mere end 10 % ethanol pr. volumen, som f.eks. E15 (indeholder 15 % ethanol), E20 (indeholder 20 % ethanol) eller E85 (indeholder op til 85 % ethanol). Hvis der anvendes ikke-godkendt benzin, kan det medføre driftsproblemer og/eller beskadigelse af motoren, som muligvis ikke er dækket af garantien.
Anvend ikke benzin, der indeholder metanol.
Opbevar ikke brændstof i hverken brændstoftanken eller brændstofbeholdere hen over vinteren, medmindre du anvender en brændstofstabilisator.
Fyld ikke olie i benzin.
Important: Brug ikke andre brændstofadditiver end en brændstofstabilisator. Brug ikke alkoholbaserede brændstofstabilisatorer som f.eks. ethanol, metanol eller isopropanol.
Rengør området omkring brændstoftankens dæksel (Figur 16).
Fjern brændstofdækslet.
Fyld tanken til ca. 25 mm under tankens kant (nederst på påfyldningsstudsen). Fyld ikke for meget på.

Sæt dækslet på.
Tør eventuel benzin op, som kan være blevet spildt, for at undgå brandfare.
Important: Der må aldrig anvendes metanol, benzin indeholdende metanol eller gasohol, der indeholder mere end 10% ethanol, da dette kan beskadige motorens brændstofsystem. Bland ikke olie i benzinen.
| Vedligeholdelsesintervaller | Vedligeholdelsesprocedure |
|---|---|
| Hver anvendelse eller dagligt |
|
Beholderen fyldes på fabrikken med ca. 18,9 l hydraulikvæske af høj kvalitet. Det bedste tidspunkt at kontrollere hydraulikvæsken på er, når den er kold. Maskinen skal være i transportkonfigurationen. Hvis væskestanden befinder sig under mærket "Add" (tilføj) på målepinden, skal du tilsætte væske for at bringe væskestanden op på midten af det acceptable område. Fyld ikke for meget i beholderen. Hvis væskestanden er mellem mærket "Full" (fuld) og "Add" (tilføj), skal der ikke fyldes mere væske på. Kontrollér hydraulikvæskens niveau, før du starter motoren første gang, og dagligt derefter.
Følgende udskiftningsvæske anbefales:
| Toro Premium All Season-hydraulikvæske (fås i beholdere på 19 l eller tromler på 208 l – reservedelsnumrene kan findes i reservedelsdokumentationen eller hos din Toro-forhandler) |
Anbefalet hydraulikvæske: Toro Premium All Season-hydraulikvæske
Alternative væsker: Såfremt Toro-væsken ikke kan fås, kan der anvendes andre gængse mineraloliebaserede væsker, forudsat at de overholder alle følgende materialeegenskaber og branchespecifikationer. Spørg din væskeleverandør, om væsken overholder specifikationerne.
Note: Toro påtager sig intet ansvar for skader forårsaget af forkerte erstatningsprodukter. Brug derfor kun produkter fra producenter med et godt omdømme, som står bag deres anbefaling.
| Slidhæmmende Multigrade-hydraulikvæske med højt viskositetsindeks/lavt flydepunkt, ISO VG 46 | |
| Materialeegenskaber: | |
| Viskositet, ASTM D445 | cSt ved 40° C 44 til 48cSt ved 100° C 7,9 til 9,1 |
| Viskositetsindeks ASTM D2270 | 140 eller højere |
| Flydepunkt, ASTM D97 | -37° C til -45° C |
| FZG, belastningstrin | 11 eller højere |
| Vandindhold (ny væske): | 500 ppm (maksimum) |
| Branchespecifikationer: | |
| Vickers I-286-S, Vickers M-2950-S, Denison HF-0, Vickers 35 VQ 25 (Eaton ATS373-C) | |
De rette hydraulikvæsker skal angives for mobile maskiner (dvs. maskiner, der ikke bruges i industrielle anlæg), multivægttype, med slidbeskyttende ZnDTP- eller ZDDP-tilsætningsstoffer (ikke en askefri væsketype).
Important: Mange hydraulikvæsker er næsten farveløse, og det kan derfor være svært at få øje på lækager. Der kan fås et rødt tilsætningsstof til hydraulikvæsken i flasker med 20 ml. 1 flaske er nok til 15 til 22l hydraulikvæske. Bestil delnr. 44-2500 fra en autoriseret Toro-forhandler.
Syntetisk, bionedbrydelig hydraulikvæske
(fås i beholdere på 19 l eller tromler på 208 l – reservedelsnumrene kan findes i reservedelsdokumentationen eller hos din Toro-forhandler)
Denne syntetiske, bionedbrydelige væske af høj kvalitet er blevet testet og fundet forenelig med denne Toro-model. Syntetisk væske af andre mærker kan give kompatibilitetsproblemer i forhold til forsegling, og Toro kan ikke påtage sig ansvaret for uautoriserede erstatningsprodukter.
Note: Den syntetiske væske er ikke forenelig med den tidligere solgte bionedbrydelige væske fra Toro. Tal med en Toro-forhandler for at få flere oplysninger.
Alternative væsker:
Mobil EAL Envirosyn H 46 (USA)
Mobil EAL Hydraulic Oil 46 (internationalt)
Parker maskinen på en plan overflade, sluk for motoren, aktiver parkeringsbremsen, og fjern nøglen.
Rengør området omkring hydraulikoliebeholderens hætte for at forhindre snavs i at komme ned i tanken (Figur 17).

Fjern hætten fra beholderen.
Fjern målepinden fra påfyldningsstudsen, og tør den af med en ren klud.
Indfør oliemålepinden i påfyldningshalsen, tag den op igen, og kontroller væskestanden.
Note: Væskestanden skal være mellem det øvre og nedre mærke (indsnøringsområdet) på målepinden (Figur 18).

Hvis væskestanden er lav, skal beholderen langsomt fyldes med passende hydraulikvæske, indtil niveauet når indsnøringsområdet på målepinden.
Note: Fyld ikke for meget i beholderen.
Sæt beholderens dæksel på.
Important: Du kan forhindre forurening i systemet ved at rense hydraulikvæskebeholdernes låg, før de punkteres. Sørg for, at hældetuden og tragten er rene.
| Vedligeholdelsesintervaller | Vedligeholdelsesprocedure |
|---|---|
| Hver anvendelse eller dagligt |
|
Kontroller dæktrykket, før maskinen tages i brug (Figur 19). Det korrekte lufttryk i for- og bagdæk er følgende:
Slidbanedæk: 0,70 bar
Note: Hvis der påkræves yderligere traktion i forbindelse med skæreknivsbetjening, skal trykket reduceres til 0,55 bar.
Glatte dæk: 0,55 til 0,70 bar

| Vedligeholdelsesintervaller | Vedligeholdelsesprocedure |
|---|---|
| Efter de første 8 timer |
|
| For hver 100 timer |
|
Tilspænd låsemøtrikkerne med et moment på 95 til 122 N·m.
Ejeren/operatøren kan forhindre og er ansvarlig for ulykker, der kan forårsage personskade eller tingsskade.
Bær korrekt beklædning, herunder beskyttelsesbriller, skridsikker, kraftig fodbeskyttelse, lange bukser og høreværn. Sæt langt hår op, og bær ikke løsthængende smykker.
Betjen ikke maskinen, hvis du er syg, træt eller påvirket af alkohol eller medicin.
Medtag aldrig passagerer på maskinen, og hold omkringstående og kæledyr væk fra maskinen under drift.
Betjen kun maskinen i god sigtbarhed for at undgå huller eller skjulte farer.
Undgå drift på vådt græs. Nedsat traktion kan få maskinen til at skride ud.
Før du starter motoren, skal du sørge for, at alle drev er i neutral, at parkeringsbremsen er aktiveret, og at du sidder i betjeningspositionen.
Se bagud og ned for at sikre, at der er fri bane, før du bakker.
Vær forsigtig, når du nærmer dig blinde hjørner, buske, træer eller andre genstande, der kan blokere for udsynet.
Brug ikke maskinen i nærheden af bratte afsatser, grøfter eller volde. Maskinen kan pludselig vælte, hvis et hjul kører over kanten, eller hvis en kant giver efter.
Stop maskinen, og efterse redskabet, når du har ramt en genstand, eller hvis der opstår en unormal vibration i maskinen. Foretag alle nødvendige reparationer, inden driften genoptages.
Sænk farten, og vær forsigtig, når du vender og krydser veje og fortove med maskinen. Hold altid tilbage for andre.
Lad aldrig motoren køre i et område, hvor udstødningsgasser er lukket inde.
Efterlad aldrig en kørende maskine uden opsyn.
Før du forlader betjeningspositionen, skal du gøre følgende:
Parker maskinen på en plan flade.
Sænk redskaberne.
Aktiver parkeringsbremsen.
Sluk motoren, og tag nøglen ud.
Vent, til alle bevægelige dele er standset.
Betjen ikke maskinen, når der er risiko for lynnedslag.
Anvend ikke maskinen som bugseringskøretøj.
Gør om nødvendigt kørefladerne våde før klargøring for at minimere mængden af støv.
Brug kun tilbehør, redskaber og reservedele, der er godkendt af Toro® Company.
Fastlæg dine egne procedurer og regler i forbindelse med arbejde på skråninger. Disse procedurer bør inkludere en besigtigelse af stedet for at fastslå, hvilke skråninger der er sikre at betjene maskinen på. Brug altid sund fornuft og god dømmekraft, når du foretager denne besigtigelse.
Skråninger er en væsentlig årsag til, at føreren mister herredømmet, eller at maskinen vælter. Sådanne ulykker kan medføre alvorlige personskader, i værste tilfælde med døden til følge. Operatøren er ansvarlig for sikker betjening på skråninger. Det kræver ekstra forsigtighed at betjene maskinen på alle former for skråninger.
Skråninger er væsentlige årsager til, at føreren mister herredømmet, eller at maskinen vælter. Sådanne ulykker kan medføre alvorlige personskader, i værste tilfælde med døden til følge. Det kræver ekstra forsigtighed at betjene maskinen på alle former for skråninger.
Betjen maskinen ved en lavere hastighed, når du arbejder på en skråning.
Hvis du føler dig utryg ved det, skal du undlade at betjene maskinen på en skråning.
Vær opmærksom på huller, hjulspor, bump, sten eller andre skjulte genstande. Ujævnt terræn kan få maskinen til at vælte. Højt græs kan skjule forhindringer.
Vælg en lav kørehastighed, så du ikke behøver at standse eller skifte gear, når du kører på en skråning.
Maskinen kan vælte, inden dækkene mister traktion.
Undgå at betjene maskinen på vådt græs. Dæk kan miste traktion, uanset om bremserne er tilgængelige og fungerer eller ej.
Undlad at starte, standse eller vende maskinen på en skråning.
Udfør al bevægelse på skråninger langsomt og gradvist. Undlad pludseligt at ændre maskinens hastighed eller retning.
Betjen ikke maskinen i nærheden af bratte afsatser, grøfter, volde eller vandområder. Maskinen kan pludselig vælte, hvis et hjul kører over kanten eller hvis kanten giver efter. Fastlæg et sikkerhedsområde mellem maskinen og alle eventuelle faremomenter (2 x maskinens bredde).
Fjern foden fra traktionspedalen, sørg for, at pedalen er i positionen NEUTRAL, og aktiver parkeringsbremsen.
Skub chokerhåndtaget frem til positionen TIL (ved start af kold motor) og gashåndtaget til positionen LANGSOM.
Important: Når maskinen anvendes i temperaturer under 0° C, skal maskinen have tid til at varme op før brug. Dette forhindrer skader på hydrostaten og traktionssløjfen.
Sæt nøglen i tændingen, og drej den med uret for at starte motoren. Slip nøglen, når motoren starter.
Note: Juster chokeren for at sørge for, at motoren kører uden problemer.
Important: Aktiver ikke starteren længere end 10 sekunder for at forhindre overophedning af startermotoren. Efter 10 sekunders konstant tørning skal du vente i 60 sekunder, før startermotoren indkobles igen.
Sluk for motoren ved at flytte gashåndtaget til positionen SLOW (langsom) og dreje tændingsnøglen til OFF (fra).
Note: Fjern nøglen fra tændingen for at forhindre utilsigtet start.
Luk brændstofafbryderventilen før opbevaring af maskinen.
Eftersyn af maskinen, mens motoren kører, kan medføre personskade.
Sluk for motoren, og vent, til alle bevægelige dele er standset, før du efterser maskinen for olielækager, løse dele eller andre fejl.
Hvis kontakterne til sikkerhedslåsesystemet frakobles eller beskadiges, kan maskinen reagere uventet og forårsage personskade.
Pil ikke ved sikkerhedskontakterne.
Kontroller dagligt, at sikkerhedskontakterne fungerer, og udskift eventuelle beskadigede kontakter, før du betjener maskinen.
Formålet med sikkerhedslåsesystemet er at forhindre motoren i at tørne eller starte, medmindre traktionspedalen er i NEUTRAL position. Der bør også slukkes for motoren, hvis traktionspedalen flyttes enten fremad eller bagud uden en operatør i sædet.
Anbring maskinen i et åbent område ryddet for snavs og omkringstående personer. Sluk for motoren.
Tag plads i sædet, og aktiver parkeringsbremsen.
Tryk traktionspedalen ned i fremadgående og baglæns retning, mens motoren forsøges startet.
Note: Hvis motoren tørner, kan der være en fejl i låsesystemet. Det skal omgående repareres.Hvis motoren ikke tørner, fungerer systemet korrekt.
Bliv siddende i sædet med traktionspedalen i NEUTRAL position og parkeringsbremsen aktiveret, og start motoren.
Løft dig fra sædet, og tryk langsomt traktionspedalen ned.
Note: Motoren bør slukkes efter 1 til 3 sekunder. Afhjælp problemet, hvis systemet ikke fungerer korrekt.
Det tager tid, før nye motorer kommer op på fuld kraft. Drivsystemer har større friktion, når de er nye, hvilket betyder større motorbelastning.
Afsæt de første otte timers drift til indkøringsperiode.
Eftersom de første timers drift er afgørende for maskinens fremtidige pålidelighed, skal funktioner og ydelse overvåges nøje, så du kan opdage og udbedre mindre vanskeligheder, der kan føre til større problemer. Efterse maskinen hyppigt i indkøringsperioden for at opdage tegn på olietab, løse monteringsskruer eller andre fejl.
Parker maskinen på en plan overflade, aktiver parkeringsbremsen, sluk motoren, tag nøglen ud, og vent, til alle bevægelige dele er standset, før du forlader maskinen.
Fjern græs og andet affald fra lydpotte- og motorrummet for at forhindre brand. Tør spildt olie eller brændstof op.
Lad motoren køle af, før du opbevarer maskinen på et lukket sted.
Luk for brændstoftilførslen, før maskinen opbevares eller transporteres.
Opbevar aldrig maskinen eller brændstofbeholderen i nærheden af åben ild, gnister eller vågeblus som f.eks på en vandvarmer eller på andre apparater.
Hold alle dele af maskinen i god driftsmæssig stand og alle fastgørelsesdele tilspændt.
Udskift alle slidte, beskadigede eller manglende mærkater.
I nødstilfælde kan maskinen bugseres over en kort afstand. Vi anbefaler imidlertid ikke dette som standardprocedure.
Important: Træk ikke maskinen hurtigere end 1,6 km/t, da drivsystemet kan blive beskadiget. Hvis maskinen skal flyttes mere end 50 meter, skal den transporteres på en lastbil eller anhænger. Hjulene kan låse, hvis maskinen bugseres for hurtigt. Hvis dette sker, skal du stoppe med at trække maskinen og vente, indtil traktionskredsløbspresset stabiliseres, før trækning af maskinen genoptages ved langsommere hastighed.
Brug ramper i fuld bredde, når maskinen læsses i en anhænger eller lastbil.
Fastgør maskinen forsvarligt.
Læs redskabets betjeningsvejledning for at få specifikke anvisninger i at betjene redskabet.
Kørsel med maskinen skal øves, da dens køreegenskaber er anderledes end visse andre køretøjers. Der er to ting at være opmærksom på ved kørsel af maskinen, og det er transmissionshastighed og motorhastighed.
Du kan opretholde en nogenlunde konstant motorhastighed ved at trykke traktionspedalen langsomt ned. Dette gør det muligt for motoren at holde trit med køretøjets hastighed. Hvis du derimod trykker hurtigt ned på traktionspedalen, nedsættes motorens motorhastighed, og derfor vil der ikke være nok moment til at flytte køretøjet. Derfor skal gashåndtaget flyttes til HURTIG, og traktionspedalen skal derefter trykkes let ned, for at overføre maksimal kraft til hjulene. Til sammenligning opnås maksimal kørehastighed uden læs, når gashåndtaget er i positionen HURTIG, og traktionspedalen langsomt trykkes helt ned. Sørg altid for, at motorens hastighed er høj nok til at levere maksimalt moment til hjulene.
Brug af maskinen kræver opmærksomhed for at forhindre tipning eller manglende kontrol.
Vær forsigtig, når du kører ind og ud af bunkere.
Vær meget forsigtig ved grøfter, vandløb eller andre farer.
Vær forsigtig, når du betjener maskinen på en stejl skråning.
Reducer hastigheden, når du drejer skarpt eller vender på skråninger.
Undgå at stoppe og starte pludseligt.
Gå ikke fra bakgear til fuld fart frem, uden at først stoppe helt.
Note: Hvis redskabsadapteren sætter sig fast i traktionsenhedens adapter, indsættes et koben eller en skruetrækker i vristerillen for at skille delene ad (Figur 20).

Note: Maskinens venstre og højre side er som set fra den normale betjeningsposition.
Hvis du lader nøglen sidde i tændingen, kan andre personer utilsigtet komme til at starte motoren og forårsage alvorlig personskade på dig eller andre omkringstående personer.
Fjern nøglen fra tændingen, før vedligeholdelsesarbejde påbegyndes.
| Vedligeholdelsesintervaller | Vedligeholdelsesprocedure |
|---|---|
| Efter de første 8 timer |
|
| Efter de første 20 timer |
|
| Hver anvendelse eller dagligt |
|
| For hver 25 timer |
|
| For hver 100 timer |
|
| For hver 200 timer |
|
| For hver 400 timer |
|
| For hver 800 timer |
|
| For hver 1500 timer |
|
Important: Se betjeningsvejledningen til motoren for at få yderligere oplysninger om procedurer for vedligeholdelse.
Note: Du kan finde et ledningsdiagram eller et hydraulikdiagram til din maskine på www.Toro.com.
Kopier denne side til rutinemæssig brug.
| Vedligeholdelsespunkter | I ugen: | ||||||
|---|---|---|---|---|---|---|---|
| Man. | Tirs. | Ons. | Tors. | Fre. | Lør. | Søn. | |
| Kontrol af sikkerhedslåsesystemets funktion. | |||||||
| Kontroller styrefunktionen. | |||||||
| Kontroller brændstofstanden. | |||||||
| Kontrollér motoroliestanden. | |||||||
| Kontroller luftfilterets tilstand. | |||||||
| Rengør motorens køleribber. | |||||||
| Kontroller for usædvanlige motorlyde. | |||||||
| Kontroller for usædvanlige driftslyde. | |||||||
| Kontrollér hydraulikvæskestanden. | |||||||
| Kontroller, om hydraulikslangerne er beskadigede. | |||||||
| Kontrol for væskelækager. | |||||||
| Kontroller dæktrykket. | |||||||
| Kontrol af instrumenternes funktion. | |||||||
| Reparation af beskadiget maling. | |||||||
| Bemærkninger om problemområder | ||
| Eftersyn foretaget af: | ||
| Punkt | Dato | Oplysninger |
Important: Fastgørelsesanordningerne på dækslerne til denne maskine er designet til at blive på dækslet, når det fjernes. Løsn alle fastgørelsesanordningerne på hvert dæksel et par omgange, så dækslet sidder løst, men ikke falder af, og start derefter forfra, og løsn dem, indtil dækslet kan komme af. På denne måde kommer du ikke til at trække boltene fri af holderne.
Gør følgende før justering, rengøring eller reparation af maskinen, eller før maskinen forlades:
Parker maskinen på en plan flade.
Indstil gasreguleringskontakten til den lave tomgangsposition.
Sænk redskabet.
Sørg for, at traktionen er i neutral.
Aktiver parkeringsbremsen.
Sluk motoren, og tag nøglen ud.
Vent, til alle bevægelige dele er standset.
Vent, til maskinens komponenter er kølet ned, før du udfører vedligeholdelse.
Udfør så vidt muligt ikke vedligeholdelse, mens motoren kører. Hold afstand til bevægelige dele.
Brug donkrafte til at understøtte maskinen eller komponenter efter behov.
Tag forsigtigt trykket af komponenter, hvori der er oplagret energi.
Maskinen har smørenipler, som skal smøres jævnligt med litiumfedt nr. 2. efter hver 100 driftstimer.
Smør følgende lejer og bøsninger:
Forreste hjulleje (1) (Figur 23)

Traktionspedalens drejeled (1) (Figur 24)

Bagtræk (5) (Figur 25)

Styretøjsstangenden (1) – Kun model 08705 (Figur 26)

Styretap (Figur 27)
Note: For at kunne smøre de indfalsede fittinger på rullerne (Figur 27) skal der monteres en adapter på fedtpistolens dyse. Bestil Toro-reservedelsnr. 107-1998 hos din autoriserede Toro-forhandler.

| Vedligeholdelsesintervaller | Vedligeholdelsesprocedure |
|---|---|
| For hver 100 timer |
|
Tør smøreniplen ren, så der ikke kan komme fremmedlegemer ind i lejet eller bøsningen.
Pump fedt ind i lejer eller bøsninger.
Tør overskydende fedt af.
Sluk for motoren, før du kontrollerer oliestanden eller hælder olie i krumtaphuset.
Lav ikke om på regulatorindstillingerne, og kør ikke motoren med for høj hastighed.
| Vedligeholdelsesintervaller | Vedligeholdelsesprocedure |
|---|---|
| Efter de første 20 timer |
|
| For hver 100 timer |
|
Parker maskinen på en plan overflade, sluk for motoren, aktiver parkeringsbremsen, og fjern nøglen.
Fjern aftapningsproppen (Figur 28), og lad olien flyde over i aftapningsbeholderen. Monter aftapningsproppen igen, når olien holder op med at løbe.

Fjern oliefilteret (Figur 28).
Påfør et let lag ren olie på den nye filterpakning.
Skru filteret på i hånden, indtil pakningen møder filteradapteren. Stram dernæst 1/2 til 3/4 gang mere.
Important: Stram ikke filteret for hårdt.
Fyld olie på krumtaphuset. Se Kontrol af motoroliestanden.
Brugt olie skal bortskaffes på forsvarlig vis.
| Vedligeholdelsesintervaller | Vedligeholdelsesprocedure |
|---|---|
| For hver 200 timer |
|
Kontroller luftfilterhuset for beskadigelser, som kan medføre en luftlækage. Udskift beskadigede komponenter. Kontroller hele indsugningssystemet for lækager, beskadigelse eller løse slangeklemmer.
Udskift ikke luftfilteret, før det er nødvendigt. Hvis du gør det, øger du blot risikoen for, at der kommer snavs ind i motoren, når filteret afmonteres.
Sørg for, at dækslet sidder korrekt og slutter tæt til luftfilterhuset.
| Vedligeholdelsesintervaller | Vedligeholdelsesprocedure |
|---|---|
| For hver 200 timer |
|
Åbn låsene, der fastgør luftfilterdækslet til luftfilterhuset (Figur 29).

Fjern dækslet fra luftfilterhuset.
Før du afmonterer filteret, skal du ved hjælp af trykluft med lavt tryk (276 kPa (40 psi), ren og tør luft) fjerne større ansamlinger af snavs, der har hobet sig op mellem ydersiden af primærfilteret og filterdåsen.
Important: Undgå at bruge trykluft med højt tryk, som evt. kan presse snavs gennem filteret og ind i indsugningsrøret. Denne rengøringsmetode forhindrer, at der kommer snavs ind i indsugningen, når primærfilteret afmonteres.
Afmonter og udskift filteret.
Note: Efterse det nye filter for forsendelsesskader, og kontroller filterets forseglingsende og selve filterelementet. Benyt ikke et beskadiget filter. Isæt det nye filter ved at trykke på den udvendige kant af filterelementet og skubbe det på plads i filterskålen. Tryk ikke på den bløde del i midten af filteret.
Note: Det anbefales ikke at rengøre det brugte element, da der er risiko for at beskadige filtermediet.
Rengør åbningen til udblæsning af snavs i det aftagelige dæksel.
Afmonter gummiudløbsventilen i dækslet, rengør fordybningen, og udskift udløbsventilen.
Monter dækslet således, at gummiudløbsventilen vender nedad – i en position mellem ca. klokken 5 og klokken 7 set fra enden.
Fastgør låsene.
| Vedligeholdelsesintervaller | Vedligeholdelsesprocedure |
|---|---|
| For hver 800 timer |
|
Type: Champion RC14YC (eller tilsvarende)
Gnistgab: 0,76 mm
Note: Tændrørene holder som regel længe, men du skal dog fjerne og efterse dem, hvis der er problemer med motoren.
Rengør området omkring alle tændrørene, så fremmedlegemer ikke kan falde ned i cylinderen, når tændrøret fjernes.
Træk tændrørsledningerne af tændrørene, og fjern tændrørene fra topstykket.
Kontroller sideelektrodens, midterelektrodens og isolatorens tilstand for at sikre, at disse ikke er beskadiget.
Important: Et revnet, snavset eller på anden måde fejlbehæftet tændrør skal udskiftes. Elektroderne må ikke sandblæses, skrabes eller renses med en stålbørste, fordi partikler kan komme fra tændrøret og falde ned i cylinderen. Resultatet er som regel en beskadiget motor.
Indstil gnistgabet mellem den midterste elektrode og sideelektroderne til 0,76 mm. Se Figur 30. Fastgør tændrøret med korrekt gnistgab med pakningsforseglingen, og stram tændrøret til 23 N·m. Hvis der ikke anvendes en momentnøgle, skal tændrøret strammes godt til.

| Vedligeholdelsesintervaller | Vedligeholdelsesprocedure |
|---|---|
| For hver 800 timer |
|
Et linjefilter er inkorporeret i brændstofledningen. Brug følgende procedurer, når udskiftning er nødvendig:
Luk brændstofafbryderventilen, løsn slangeklemmen på karburatorsiden af filteret, og fjern brændstofledningen fra filteret (Figur 31).

Placer en aftapningsbakke under filteret, løsn den tilbageværende slangeklemme og fjern filteret.
Monter det nye filter med pilen på filterhuset pegende væk fra brændstoftanken (mod karburatoren).
Skub slangeklemmerne over på brændstofslangernes ender.
Skub brændstofslangerne over på brændstoffilteret, og fastgør dem med slangeklemmerne.
Note: Sørg for, at pilen på siden af filteret peger mod karburatoren.
Frakobl batteriet, før maskinen repareres. Frakobl minuspolen først og pluspolen sidst. Tilslut pluspolen først og minuspolen sidst.
Oplad batteriet på et åbent sted med god ventilation, væk fra gnister og åben ild. Træk stikket til opladeren ud af stikkontakten, før du slutter den til eller kobler den fra batteriet. Brug beskyttelsesdragt og isoleret værktøj.
Hvis maskinen skal chokstartes, kan du bruge den alternative pluspol (placeret på startermagnetventilen) i stedet for batteriets pluspol (Figur 32).

Sikringsblokken (Figur 33) er placeret under sædet.

| Vedligeholdelsesintervaller | Vedligeholdelsesprocedure |
|---|---|
| For hver 25 timer |
|
Oprethold den rette batterielektrolytstand, og hold den øverste del af batteriet ren. Hvis maskinen opbevares på et sted, hvor temperaturerne er ekstremt høje, aflader batteriet hurtigere, end hvis maskinen opbevares på et sted med kølige temperaturer.
Hold batteriet rent øverst oppe ved at vaske det periodisk med en børste dyppet i ammoniak eller en opløsning af tvekulsurt natron. Skyl overfladen med vand efter rengøring. Fjern ikke påfyldningsdækslet under rengøring.
Batteriledningerne skal være strammet til på polerne for at sikre god elektrisk kontakt.
Hvis der opstår korrosion på batteripolerne, skal ledningerne fjernes, minuskablet (-) først, og klemmerne og polerne skal skrabes separat. Tilslut ledningerne, pluskablet (+) først, og smør polerne med vaseline.
Kontroller elektrolytniveauet efter hver 25 timers brug, eller efter hver 30 dage hvis maskinen opbevares.
Vedligehold celleniveauet med destilleret eller demineraliseret vand. Fyld ikke cellerne over påfyldningslinjen.
Hvis maskinen bevæger sig, når traktionspedalen er i neutral position, skal traktionsknasten justeres.
Parker maskinen på en plan overflade, sluk for motoren, aktiver parkeringsbremsen, og fjern nøglen.
Løsn de to skruer, der fastgør den midterste afskærmning til maskinen, og fjern afskærmningen (Figur 34).

Hæv forhjulet og et baghjul fra gulvet, og anbring støtteblokke under stellet.
Forhjulet og et baghjul skal være hævet fra jorden, da maskinen ellers vil bevæge sig under justeringen. Dette kan forårsage, at maskinen vælter og kvæster nogen under maskinen.
Sørg for, at maskinen er tilstrækkelig understøttet med forhjulet og et baghjul hævet fra jorden.
Løsn låsemøtrikken på traktionsjusteringsknasten (Figur 35).

Motoren skal køre, så du kan udføre den endelige justering af traktionsjusteringsknasten. Kontakt med bevægelige dele eller varme overflader kan forårsage personskader.
Hold hænder, fødder, ansigt og andre kropsdele væk fra roterende dele, lydpotten og andre varme overflader.
Start motoren, og drej den sekskantede justeringsknast (Figur 35) i begge retninger for at finde frem til neutralområdets midterposition.
Stram låsemøtrikken, der fastgør justeringen.
Sluk for motoren.
Monter den midterste afskærmning.
Fjern donkraftene, og sænk maskinen ned på gulvet.
Prøvekør maskinen for at sikre, at den ikke bevæger sig, når traktionspedalen er i neutral.
Juster gearkassen til neutral. Se Justering af traktionsdrevet til neutral.
Aktiver pumpearmen for at sikre, at alle dele fungerer frit og er fastgjort korrekt.
Juster skruen, indtil gnistgabet er 0,8 til 2,3 mm. Se Figur 35.
Kontroller, at det fungerer korrekt.
Traktionspedalen er justeret til maksimal transporthastighed og bak på fabrikken, men en justering kan være nødvendig, hvis pedalen når fuld vandringslængde, før pumpearmen når fuld vandringslængde, eller hvis en reduktion af transporthastigheden ønskes.
Tryk ned på traktionspedalen for at opnå maksimal transporthastighed. Hvis pedalen når stoppet (Figur 36), før pumpearmen når fuld vandringslængde, skal den justeres:

Parker maskinen på en plan overflade, sluk for motoren, aktiver parkeringsbremsen, og fjern nøglen.
Løsn møtrikken, der fastgør pedalstop.
Stram pedalstop, indtil den ikke længere er i kontakt med traktionspedalen.
Fortsæt med at trykke let på transportpedalen, og juster pedalstoppet, så det netop berører, eller der er en afstand på 2,5 mm mellem pedalstangen og stoppet.
Stram møtrikkerne.
Parker maskinen på en plan overflade, sluk for motoren, aktiver parkeringsbremsen, og fjern nøglen.
Løsn møtrikken, der fastgør pedalstop.
Skru pedalstoppet, indtil den ønskede transporthastighed opnås.
Løsn møtrikken, der fastgør pedalstoppet.
Juster løftearmens låseplade (Figur 38), hvis redskabet ikke flyder korrekt (følger jordens overflade) under brug.
Parker maskinen på en plan overflade, sluk for motoren, aktiver parkeringsbremsen, og bloker hjulene.
Fjern de 4 skruer, der fastgør kontrolpanelet på stellet (Figur 37).

Løsn de to bolte, der fastgør låsepladen til to skærmen og rammen.

Motoren skal køre, således at du kan justere låsepladen. Kontakt med bevægelige dele eller varme overflader kan forårsage personskader.
Hold hænder, fødder, ansigt og andre kropsdele væk fra roterende dele, lydpotten og andre varme overflader.
Start motoren.
Med kørende motor og løftearmen i positionen FLOAT (flydende) skubbes låsepladen, indtil løftecylinderen kan trækkes ud og skubbes ind manuelt.
Tilspænd begge monteringsskruer for at fastgøre justeringen.
Korrekt brug af gashåndtaget afhænger af korrekt justering af gashåndtaget. Før justering af karburatoren skal du sørge for, at gashåndtaget fungerer korrekt.
Drej sædet opad.
Løsn gaskablets tilspændingsskrue, som fastgør kablet til motoren (Figur 39).

Flyt fjerngashåndtaget frem til positionen FAST (hurtig).
Hiv bestemt i gashåndtagskablet, indtil bagsiden af drej er i kontakt med stop (Figur 39).
Stram kabeltilspændingsskruen, og kontroller motorens hastighed:
Høj tomgang: 3.350 til 3.450 o/min.
Lav tomgang: 1.650 til 1.850 o/min.
Important: Før du justerer motorens fartreguleringsindstilling, skal du sørge for, at gashåndtaget og chokeren er korrekt indstillet.
Motoren skal køre under justering af motorens fartregulatorindstilling. Kontakt med bevægelige dele eller varme overflader kan forårsage personskader.
Sørg for, at traktionspedalen er i neutral, og aktiver parkeringsbremsen, før denne procedure udføres.
Hold hænder, fødder, tøj og andre kropsdele væk fra roterende dele, lydpotten og andre varme overflader.
Note: Justering af lav tomgang udføres med følgende trin. Hvis kun høj tomgang skal justeres, skal du gå direkte til trin 5.
Start motoren, og lad den køre ved halv gas i ca. fem minutter for at varme op.
Flyt gashåndtaget til positionen SLOW (langsom). Juster tomgangsstopskruen mod uret, indtil den ikke længere er i kontakt med gashåndtaget.
Bøj den regulerede styrefjeders ankertap (Figur 40) for at opnå en tomgangshastighed på 1.675 til 1.175 o/min.
Note: Kontroller farten med en omdrejningstæller.

Juster tomgangsstopskruen, indtil tomgangshastigheden øges med 25 til 50 o/min. over den tomgangshastighed, der er anført i trin 3.
Note: Den endelige tomgangshastighed skal være 1.650 til 1.850 o/min.
Flyt gashåndtaget til positionen FAST (hurtig).
Bøj højhastighedsfjederens ankertap (Figur 40) for at opnå en høj hastighed på 3.350 til 3.450 o/min.
Søg straks lægehjælp, hvis der sprøjtes væske ind under huden. Væske, der er sprøjtet ind under huden, skal fjernes kirurgisk af en læge inden for få timer.
Sørg for, at alle slanger og rør til hydraulikvæske er i god stand, og at alle hydrauliske forbindelser og fittings slutter tæt, før der sættes tryk på hydrauliksystemet.
Hold din krop og dine hænder væk fra splithulslækager eller dyser, der sprøjter højtrykshydraulikvæske ud.
Brug pap eller papir til at finde eventuelle hydrauliklækager.
Tag hele trykket af det hydrauliske system, før der udføres arbejde på det.
| Vedligeholdelsesintervaller | Vedligeholdelsesprocedure |
|---|---|
| Efter de første 8 timer |
|
| For hver 400 timer |
|
Udskift med et ægte Toro-filter.
Parker maskinen på en plan overflade, sluk for motoren, aktiver parkeringsbremsen, og fjern nøglen.
Løsn de to skruer, der fastgør den midterste afskærmning til maskinen, og fjern afskærmningen (Figur 41).

Placer en drænbakke under hydraulikfilteret, som er placeret på maskinens venstre side (Figur 42).

Rengør det område, hvor filteret monteres.Placer en drænbakke under filteret.Løsn langsomt hydraulikfilteret, men det skal ikke fjernes, indtil olien flyder forbi pakningen og drypper ned langs filterets side.
Note: Hvis maskinen er udstyret med et fjernhydrauliksæt, kan sugeslangen fjernes fra pumpen for at dræne hydraulikvæsken.
Fjern filteret, når væskestrømmen stopper.
Smør forseglingspakningen på det nye filter med ren hydraulikvæske, og monter det med hånden, indtil pakningen berører filterhovedet. Stram dernæst endnu 3/4 omgang.
Note: Filteret skulle nu være forseglet.
Fyld hydrauliktanken med hydraulikvæske, indtil standen når op til indsnøringsområdet på målepinden. Fyld ikke for meget på tanken. Se Kontrol af hydraulikvæskestanden.
Start og kør motoren. Brug løftecylinderen, indtil den kan trækkes ud og skubbes ind, og fremadgående og baglæns hjulbevægelse opnås.
Sluk for motoren, og kontroller væskestanden i beholderen. Tilføj eventuelt mere væske.
Kontroller alle forbindelser for lækager.
Monter den midterste afskærmning.
Brugt olie skal bortskaffes på forsvarlig vis.
| Vedligeholdelsesintervaller | Vedligeholdelsesprocedure |
|---|---|
| Hver anvendelse eller dagligt |
|
Efterse dagligt hydraulikrør og -slanger for lækager, bøjede rør, løse monteringsholdere, slid, løse fittings, forringelser på grund af vejrlig og kemisk forringelse. Foretag alle nødvendige udbedringer før drift.
Når en hydraulikkomponent repareres eller udskiftes, skal hydraulikfilteret udskiftes, og hydrauliksystemet oplades.
Sørg for, at hydraulikbeholderen og filteret altid er fyldt med væske, når hydrauliksystemet oplades.
Parker maskinen på en plan overflade, sluk for motoren, aktiver parkeringsbremsen, og fjern nøglen.
Løsn de to skruer, der fastgør den midterste afskærmning til maskinen, og fjern afskærmningen (Figur 43).

Hæv forhjulet og et af baghjulene fra gulvet, og anbring støtteblokke under stellet.
Forhjulet og et baghjul skal være hævet fra jorden, da maskinen ellers vil bevæge sig under justeringen. Dette kan forårsage, at maskinen vælter og kvæster nogen under maskinen.
Sørg for, at maskinen er tilstrækkelig understøttet med forhjulet og et baghjul hævet fra jorden.
Start motoren, og indstil gashåndtaget for at lade motoren køre ved ca. 1.800 o/min.
Aktiver løfteventilarmen, indtil løftecylinderstangen bevæger sig ind og ud flere gange. Hvis cylinderstangen ikke bevæger sig efter 10–15 sekunder, eller pumpen udsender mærkelige lyde, skal der slukkes for motoren øjeblikkeligt, så årsagen til problemet kan findes. Kontroller for følgende:
Løse filtre eller sugelinjer
Løs eller fejlbehæftet kobling på pumpen
Blokeret sugelinje
Fejlbehæftet opladningsudløsningsventil
Fejlbehæftet opladningspumpe
Hvis cylinderen bevæger sig i løbet af 10-15 sekunder, skal du fortsætte til trin 6.
Bevæg traktionspedalen fremad og baglæns. Hjulene, der er hævet fra gulvet, bør rotere i den rette retning.
Hvis hjulene roterer i den forkerte retning, skal du slukke for motoren, fjerne linjerne fra pumpens bagside og bytte om på placeringerne.
Hvis hjulene roterer i den rigtige retning, skal du slukke for motoren og justere fjederjusteringslåsemøtrikken (Figur 44). Juster traktionens neutrale position. Se Justering af traktionsdrevet til neutral.

Kontroller justeringen af traktionssikkerhedskontakten. Se Justering af traktionssikkerhedskontakten.
Monter den midterste afskærmning.
| Vedligeholdelsesintervaller | Vedligeholdelsesprocedure |
|---|---|
| Hver anvendelse eller dagligt |
|
Efter brug skal maskinen vaskes grundigt med en haveslange uden tud for at undgå, at et for højt vandtryk forårsager forurening og beskadiger pakninger og lejer.
Sørg for, at køleribberne og området omkring luftkøleindtaget er fri for snavs.
Important: Rengøring af oliekøleren med vand medvirker til, at der for tidligt opstår korrosionsskader på komponenterne, og at der ophober sig snavs. Se Rengøring af oliekøleren.
Efter rengøring skal maskinen efterses for eventuelle hydraulikvæskelækager, skader eller slitage på hydrauliske og mekaniske komponenter.
Rengør maskinen, redskaberne og motoren grundigt.
Kontroller dæktrykket.
Kontroller, at der ikke er løse dele, som skal være fastspændte, og efterspænd dem om nødvendigt.
Smør alle fittings og drejepunkter med fedt eller olie. Tør overskydende smøremiddel af.
Slib let med sandpapir og benyt pletreparationslak på lakerede områder, som er blevet ridsede, har været udsat for stenslag eller har rustpletter.
Udfør eftersyn på batteriet og kablerne som beskrevet herunder:
Fjern batteripolerne fra batterierne.
Rengør batteriet, klemmerne og polerne med en stålbørste og en opløsning med tvekulsurt natron.
For at forebygge korrosion skal batteriets poler og kabelforbindelserne smøres med Grafo 112X-fedt (Toro delnr. 505-47) eller vaseline.
Genoplad langsomt batteriet efter hver 60 dage i 24 timer for at forhindre blysulfatering af batteriet.
Note: Densiteten på et fuldt opladet batteri er 1,250.
Note: Opbevar batteriet et køligt sted for at undgå hurtig afladning af batteriet. For at forhindre at batteriet fryser til, skal du sørge for, at det er fuldt opladet.
Skift motorolie og filter. Se Udskiftning af motorolie og filter.
Start motoren, og lad den køre i tomgang i to minutter.
Rengør og efterse luftfilterenheden grundigt. Se Eftersyn af luftfilteret.
Forsegl luftfilterindtaget og udstødningsåbningen med vejrbestandig tape.
Kontroller oliepåfyldningsdækslet og brændstofstankdækslet for at sikre, at de sidder godt fast.