| Underhållsintervall | Underhållsförfarande |
|---|---|
| Efter de första 20 timmarna |
|
| Varje användning eller dagligen |
|
Maskinen är en åkarbetsutrustning som är avsedd att användas av yrkesförare som har anlitats för kommersiellt arbete. Den är främst konstruerad för att underhålla sandgropar på väl underhållna golfbanor och kommersiella anläggningar.
Läs den här informationen noga så att du lär dig att använda och underhålla produkten på rätt sätt, och för att undvika person- och produktskador. Du är ansvarig för att produkten används på ett korrekt och säkert sätt.
Om du behöver utbildningsmaterial för säkerhet och drift, information om tillbehör, hjälp med att hitta en återförsäljare eller om du vill registrera din produkt kan du kontakta Toro via www.toro.com.
Kontakta en auktoriserad återförsäljare eller Toros kundservice och ha produktens modell- och serienummer till hands om du har behov av service, Toro originaldelar eller ytterligare information. De här numren är instansade i en plåt som sitter på vänster ramskena. Skriv numren i det tomma utrymmet.
I den här bruksanvisningen anges potentiella risker och alla säkerhetsmeddelanden har markerats med en varningssymbol (Figur 1), som anger fara som kan leda till allvarliga personskador eller dödsfall om föreskrifterna inte följs.

Två ord används också i den här bruksanvisningen för att markera information. Viktigt anger speciell teknisk information och Observera anger allmän information värd att notera.
Denna produkt uppfyller kraven i alla relevanta europeiska direktiv. Mer information finns i den separata produktspecifika försäkran om överensstämmelse.
Det är ett brott mot avsnitt 4442 eller 4443 i Kaliforniens Public Resource Code att använda eller köra motorn på skogs-, busk- eller grästäckt mark om motorn inte är utrustad med en gnistsläckare som är i fullgott skick, vilket anges i avsnitt 4442, eller utan att motorn är konstruerad, utrustad och underhållen för att förhindra brand.
Detta tändningssystem överensstämmer med bestämmelserna i kanadensiska ICES-002
Den bifogade bruksanvisningen till motorn tillhandahålls för information om den amerikanska miljömyndigheten EPA:s (US Environmental Protection Agency) och Kaliforniens lagstiftning om utsläppskontroll för utsläppssystem, underhåll och garanti. Extra bruksanvisningar kan beställas från motortillverkaren.
KALIFORNIEN
Proposition 65 Varning
Motoravgaserna från denna produkt innehåller kemikalier som av den amerikanska delstaten Kalifornien anses orsaka cancer, fosterskador eller andra fortplantningsskador.
För ytterligare hjuldrivning kan viktsatsen 100-6442 fästas framtill på maskinen.
Note: Om en främre lyft eller plog är monterade på maskinen kommer viktsatsen inte att rymmas eftersom delarna tar i varandra.
Det kan medföra fara för dig och kringstående om maskinen används i andra syften än vad som avsetts.
Läs och förstå innehållet i denna bruksanvisning innan du startar motorn.
Håll händer och fötter på avstånd från maskinens rörliga delar.
Kör endast maskinen om skydd och andra säkerhetsanordningar sitter på plats och fungerar.
Håll avstånd till utkastaröppningen. Håll kringstående och husdjur borta från maskinen.
Håll barn på säkert avstånd från arbetsområdet. Låt aldrig barn köra maskinen.
Stanna maskinen och stäng av motorn innan du utför service på, tankar eller rensar maskinen.
Felaktigt bruk eller underhåll av maskinen kan leda till personskador. Följ dessa säkerhetsanvisningar för att minska risken för skada och uppmärksamma varningssymbolerna, som innebär ”Var försiktig”, ”Varning” eller ”Fara” – anvisning om personsäkerhet. Underlåtenhet att följa anvisningarna kan leda till personskador eller dödsfall.
Ytterligare säkerhetsinformation finns i den här bruksanvisningen.
Läs bruksanvisningen och annat utbildningsmaterial noga. Bekanta dig med reglage, säkerhetsskyltar och lär dig hur maskinen ska användas.
Om förare eller mekaniker inte kan läsa texten i bruksanvisningen är det ägarens ansvar att förklara innehållet i materialet för dem.
Låt aldrig barn eller personer som inte har bekantat sig med instruktionerna använda eller underhålla maskinen. Lokala föreskrifter kan begränsa användarens ålder.
Klipp aldrig om människor, särskilt barn, eller sällskapsdjur befinner sig i närheten.
Skjutsa inte passagerare.
Alla förare och mekaniker ska skaffa sig yrkesmässig och praktisk utbildning. Det är ägaren som ansvarar för att utbilda användarna. Utbildningen ska särskilt framhålla:
vikten av omsorg och koncentration vid arbete med åkmaskiner
att kontrollen över en förarmaskin som glider nerför en sluttning inte kommer att återvinnas genom att bromsen läggs i. Huvudanledningarna till att man förlorar kontrollen är:
otillräckligt däckgrepp
för hög hastighet
otillräcklig inbromsning
att maskintypen är olämplig för uppgiften
omedvetenhet om markbetingelsernas betydelse, särskilt i slänter
felaktig inställning och lastfördelning.
Ägaren/användaren kan förebygga och ansvarar för olyckor och skador som andra människor och egendom utsätts för.
Använd lämpliga kläder, inklusive ögonskydd, rejäla och halkfria skor samt hörselskydd. Sätt upp långt hår. Använd inte smycken.
Undersök terrängen för att avgöra vilka tillbehör och redskap som krävs för att utföra arbetet på ett bra och säkert sätt. Använd endast tillbehör och redskap som har godkänts av tillverkaren.
Fukta ytorna vid behov före behandling för att minimera dammspridning.
Kontrollera att förarkontroller, säkerhetsbrytare och skydd sitter fast och fungerar som de ska. Kör inte maskinen om dessa inte fungerar som de ska.
Var mycket försiktig när du hanterar bränsle så att du undviker personskador och materiella skador. Bränsle är mycket brandfarligt och ångorna är explosiva.
Släck alla cigaretter, cigarrer, pipor och övriga antändningskällor.
Använd endast en godkänd bränslebehållare.
Ta inte bort tanklocket eller fyll på bränsle när motorn är igång.
Låt motorn svalna före bränslepåfyllning.
Fyll aldrig på bränsle i maskinen inomhus.
Förvara aldrig maskinen eller bränslebehållaren i närheten av en öppen låga, som t.ex. nära en varmvattenberedare eller någon annan maskin.
Fyll aldrig på behållarna inuti ett fordon eller på lastbilsflak eller släp med plastklädsel. Ställ alltid dunken på marken en bit bort från ditt fordon före påfyllning.
Lasta av maskinen från lastbilen eller släpet och fyll på bensin när den står på marken. Fyll hellre på maskinen från en dunk än med munstycket på en bensinpump om det inte är möjligt att lasta av maskinen från släpet.
Håll munstycket i kontakt med bränsletankens kant eller dunköppningen tills tankningen är klar. Använd inte en låsöppningsanordning för munstycket.
Fyll inte på bränsletanken för mycket.
Sätt tillbaka tanklocket och dra åt det ordentligt.
Kör inte motorn i ett slutet utrymme där farlig koloxid och andra avgaser kan ansamlas.
Använd endast i dagsljus eller i bra belysning.
Koppla ur alla redskap, lägg i neutralläget och dra åt parkeringsbromsen innan motorn startas.
Håll inte händer eller fötter nära eller under roterande delar.
Det krävs koncentration för att använda maskinen. För att minska risken för vältolyckor eller att du tappar kontrollen bör du observera följande:
Se upp för hål och andra dolda faror.
Var försiktig när du använder maskinen i branta sluttningar. Sänk farten när du gör tvära svängar eller när du svänger i sluttningar.
Undvik att stanna och starta plötsligt. Växla inte från backläget till läget helt framåt utan att först stanna helt.
Titta bakåt och kontrollera att ingen befinner sig bakom maskinen innan du börjar backa.
Se upp för trafik när du kör nära eller korsar vägar. Lämna alltid företräde.
Om du har monterat bogseringsstångstillvalet med artikelnr 110-1375 på maskinen, hittar du information om maximal dragvikt i bruksanvisningen.
Var försiktig vid bogsering av tunga laster och vid användning av tunga redskap.
Använd endast godkända dragfästen.
Begränsa lasterna till sådana som du kan kontrollera säkert.
Sväng inte tvärt. Var försiktig när du backar.
Se upp för trafik när du kör nära vägar eller korsar vägar.
Kör aldrig maskinen med skadade skydd eller skärmar eller om skyddsanordningarna inte sitter på plats. Se till att alla säkerhetsanordningar sitter fast, är korrekt justerade och fungerar som de ska.
Ändra inte inställningarna för motorns varvtalshållare och övervarva inte motorn. Om motorn körs vid för hög hastighet kan risken för personskador öka.
Gör följande innan du kliver ur förarsätet:
stanna på jämnt underlag
släpp upp gaspedalen och sänk ner redskapen
koppla in parkeringsbromsen,
stäng av motorn och ta ur nyckeln.
Koppla ur drivningen till redskap under transport och när maskinen inte används.
Stäng av motorn och koppla ur drivningen till redskap
före bränslepåfyllning;
före kontroll, rengöring och arbete på maskinen
när du har kört på ett främmande föremål eller om det uppstår onormala vibrationer. Kontrollera om maskinen har skadats och reparera skadorna innan du startar och kör den igen.
Höj gasreglaget när motorn ska stannas och stäng av bränsletillförseln efter användningen om motorn är försedd med en bränsleventil.
Titta bakåt och nedåt innan du backar för att se till att vägen är fri.
Sakta ner och var försiktig när du svänger och korsar vägar och trottoarer.
Kör inte maskinen om du är sjuk, trött eller påverkad av alkohol eller läkemedel.
Blixtnedslag kan leda till allvarliga personskador eller dödsfall. Om det blixtrar i området ska maskinen inte användas. Sök skydd.
Var försiktig när du lastar maskinen på eller av en släpvagn eller lastbil.
Var försiktig när du närmar dig hörn med skymd sikt, buskage, träd eller andra objekt som kan försämra sikten.
Håll samtliga muttrar, bultar och skruvar åtdragna så att utrustningen är i säkert bruksskick.
Förvara aldrig maskinen med bränsle i tanken i en byggnad där bensinångor kan antändas av en öppen låga eller gnista.
Låt motorn svalna innan maskinen ställs undan i ett slutet utrymme.
Håll motorn, ljuddämparen, batterifacket och förvaringsutrymmet för bränsle fria från gräs, löv eller överflödigt smörjmedel för att minska brandrisken.
Håll alla delar i gott bruksskick och samtliga beslag och hydraulkopplingar åtdragna. Byt ut alla slitna och skadade delar och dekaler.
Om bränsletanken måste tömmas ska detta göras utomhus.
Var försiktig när justeringar utförs på maskinen för att undvika att fingrar fastnar mellan maskinens rörliga och fasta delar.
Koppla ur drivningen, sänk redskapen, koppla in parkeringsbromsen, stäng av motorn och ta ut nyckeln. Låt alla rörelser stanna innan någon justering, rengöring eller reparation utförs.
Använd domkrafter för att stötta upp komponenter när det behövs.
Lätta försiktigt på trycket i komponenter med upplagrad energi.
Koppla från batteriet och ta bort tändkabeln innan du utför några reparationer. Lossa minuskabelanslutningen först och pluskabelanslutningen sist. Återanslut pluskabeln först och minuskabeln sist.
Håll händer och fötter borta från rörliga delar. Gör helst inga justeringar när motorn är igång.
Ladda batterierna i ett öppet, välventilerat utrymme, på avstånd från gnistor och öppna lågor. Koppla ur laddaren innan den ansluts till eller kopplas från batteriet. Använd skyddskläder och isolerade verktyg.
Kontrollera att alla hydraulledningsanslutningar är åtdragna och att alla hydraulslangar och -ledningar är i gott skick innan du trycksätter systemet.
Håll händer och andra kroppsdelar borta från småläckor eller munstycken som sprutar ut hydraulvätska under högtryck. Använd kartong eller papper för att upptäcka läckor, aldrig händerna. Hydraulvätska som sprutar ut under tryck kan ha tillräcklig kraft för att tränga in i huden och orsaka allvarliga skador. Uppsök läkare omedelbart om vätskan tränger in i huden.
Sänk allt tryck i systemet genom att stanna motorn och sänka redskapen till marken innan du kopplar ur eller utför något arbete på hydraulsystemet.
Kontrollera regelbundet att alla bränsleledningar är åtdragna och att de inte är slitna. Dra åt eller reparera dem efter behov.
Om motorn måste vara igång för att ett visst underhåll ska kunna utföras ska klädesplagg, händer, fötter och andra kroppsdelar hållas borta från redskapen och andra rörliga delar, särskilt från skärmen vid sidan om motorn. Håll kringstående på avstånd.
Be en auktoriserad Toro-återförsäljare att kontrollera motorns maxhastighet med en varvräknare för att garantera dess säkerhet och noggrannhet.
Kontakta en auktoriserad Toro-återförsäljare vid eventuellt behov av större reparationer eller assistans.
Använd endast originalreservdelar och tillbehör från Toro för att garantera optimal prestanda och fortlöpande säkerhet för produkten. Det kan vara farligt att använda reservdelar och tillbehör från andra tillverkare och det kan göra produktgarantin ogiltig.
Var försiktig när du lastar maskinen på eller av en släpvagn eller lastbil.
Använd ramper i fullbredd för att lasta maskinen på en släpvagn eller lastbil.
Bind fast maskinen så att den sitter säkert med spännremmar, kedjor, vajrar eller rep. Både de främre och bakre spännremmarna ska vara riktade nedåt och ut från maskinen.
![]() |
Säkerhetsdekalerna och säkerhetsinstruktionerna är fullt synliga för föraren och finns nära alla potentiella farozoner. Ersätt dekaler som har skadats eller saknas. |








Note: Vänster och höger sida på maskinen är lika med förarens vänstra respektive högra sida vid normal körning.
Note: Ta bort och släng alla transportfästen och fästanordningar.
Delar som behövs till detta steg:
| Ratt | 1 |
| Skumstoppring | 1 |
| Bricka | 1 |
| Låsmutter | 1 |
| Rattskydd | 1 |
Flytta framhjulet så att det pekar rakt framåt.
Trä på skumstoppringen med den smala änden först på styraxeln (Figur 2).

Trä på ratten på styraxeln (Figur 2).
Fäst ratten vid styraxeln med en bricka och en låsmutter (Figur 2).
Dra åt låsmuttern till 27–35 N·m.
Tryck fast rattskyddet på ratten (Figur 2).
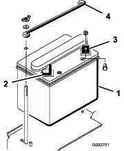
Ta bort de 2 vingmuttrarna och brickorna som fäster batteriets övre låsfäste vid batteriets sidolåsfästen (Figur 3). Ta bort batteriets låsfäste och ta loss batteriet.

Delar som behövs till detta steg:
| Bulkelektrolyt, specifik vikt på 1 260 (medföljer inte) | – |
Batteripoler, kabelanslutningar och tillbehör till dessa innehåller bly och blykomponenter, kemikalier som staten Kalifornien anser orsaka cancer och fortplantningsskador. Tvätta händerna när du har hanterat batteriet.
Om batteriet inte är fyllt med elektrolyt eller aktiverat, ska du köpa bulkelektrolyt med en specifik vikt på 1,260 från närmaste batteriförsäljare och fylla på batteriet.
Batterielektrolyt innehåller svavelsyra som är dödlig vid förtäring och orsakar allvarliga brännskador.
Drick inte av elektrolyten och undvik kontakt med hud, ögon eller kläder. Använd skyddsglasögon för att skydda ögonen och gummihandskar för att skydda händerna.
Fyll på batteriet på en plats där du har tillgång till rent vatten och kan skölja av huden.
Ta bort batteriets påfyllningslock och fyll långsamt på elektrolyt upp till påfyllningsmarkeringen i varje cell.
Sätt tillbaka påfyllningslocken och anslut en 3–4 A batteriladdare till batteriposterna. Ladda batteriet med 3 till 4 ampere under 4 till 8 timmar.
När batteriet laddas bildas explosiva gaser.
Rök aldrig nära batteriet och håll det borta från gnistor och lågor.
Koppla ur laddningsanordningen från eluttaget och batteripolerna när batteriet är laddat. Låt batteriet stå i 5–10 minuter.
Ta bort påfyllningslocken.
Fyll långsamt på elektrolyt upp till påfyllningsmarkeringen i varje cell.
Important: Fyll inte på batteriet för mycket. Elektrolyten kommer att rinna över på andra delar av maskinen och orsaka allvarlig korrosion och slitage.
Sätt tillbaka påfyllningslocken.
Delar som behövs till detta steg:
| Skruv (¼ x ⅝ tum) | 2 |
| Låsmutter (¼ tum) | 2 |
Sätt batteriet på plats med minuspolen riktad mot maskinens bakre del (Figur 4).

Felaktig dragning av batterikablarna kan skada maskinen och kablarna samt orsaka gnistor. Gnistorna kan få batterigaserna att explodera, vilket kan leda till personskador.
Lossa alltid batteriets minuskabel (svart) innan du lossar pluskabeln (röd).
Anslut alltid pluskabeln (röd) innan du ansluter minuskabeln (svart).
Batteriets kabelanslutningar eller metalldelar kan kortslutas mot maskinkomponenter i metall och orsaka gnistor. Gnistorna kan få batterigaserna att explodera, vilket kan leda till personskador.
Låt inte batterianslutningarna komma i kontakt med några av maskinens metalldelar när du monterar eller tar bort batteriet.
Låt inte metalldelar kortsluta mellan batterianslutningarna och maskinens metalldelar.
Fäst pluskabeln (röd) vid pluspolen (+) med en skruv på ¼ x ⅝ tum och en låsmutter (Figur 5).

Fäst den lilla svarta kabeln och minuskabeln (svart) vid batteriets minuspol (–) med en skruv (¼ x ⅝ tum) och en låsmutter (¼ tum) (Figur 5).
Fetta in polerna och monteringsfästena med vaselin för att förhindra korrosion.
Trä gummiskon över pluspolen (+) för att förhindra eventuell kortslutning.
Installera batteriets övre fäste vid batteriets sidolåsfästen och fäst det med brickorna och vingmuttrarna.
Delar som behövs till detta steg:
| Monteringssats för främre vikter efter behov | – |
Maskinen har utformats i enlighet med specifikationerna i ANSI B71.4-2012. När redskap har monterats på maskinen krävs det dock ytterligare vikter för att uppfylla standarderna.
Med hjälp av tabellen nedan kan du avgöra hur mycket ytterligare vikt som krävs. Beställ delar från din lokala auktoriserade Toro-återförsäljare.
| Redskap | Ytterligare framvikt som krävs | Artikelnummer för viktsats | Viktbeskrivning | Antal |
|---|---|---|---|---|
| Enhet med pigganordning (08755) | 23 kg | 100-6442 | Viktplatta på 8 x 3 kg | 1 |
| Rahn-trimsats | 23 kg | 100-6442 | Viktplatta på 8 x 3 kg | 1 |
| Verktygslåda till snabbkopplingssystem | 23 kg | 100-6442 | Viktplatta på 8 x 3 kg | 1 |
Note: Ingen ytterligare vikt krävs om maskinen är utrustad med den främre hydraullyftanordningssatsen (modell 08712).

Gaspedalen (Figur 7) har tre funktioner: att röra maskinen framåt, att röra maskinen bakåt och att stanna maskinen. Använd tårna respektive hälen på höger fot och tryck ned den främre delen av pedalen för att köra framåt eller den bakre delen av pedalen för att köra bakåt eller stanna när maskinen åker framåt (Figur 8). Låt även pedalen förflytta sig till eller för den till NEUTRALläget när du vill stanna maskinen. Håll inte hälen på backpedalen när du ska köra maskinen framåt


Hastigheten står i proportion till hur mycket gaspedalen trycks ned. Om du vill köra med maxhastigheten ska du trampa ned pedalen helt och ha gasreglaget i det SNABBA LäGET. För att få maximal effekt eller köra upp för en backe ställer du gasreglaget i det SNABBA LäGET samtidigt som du trycker ned gaspedalen något för att behålla ett högt varvtal. När varvtalet börjar sjunka släpper du något på gaspedalen för att öka motorns varvtal igen.
Important: För maximal dragkraft ställer du gasreglaget det SNABBA LäGET och trampar lätt på gaspedalen.
Använd bara maxhastigheten när du kör från ett område till ett annat.
Använd inte maxhastigheten tillsammans med monterade eller bogserade redskap.
Important: Backa inte med redskapet i nedsänkt läge (driftsläge) eftersom det kan skada redskapet allvarligt.
Det finns tre lägen i tändningslåset (Figur 9) som används för att starta och stänga av motorn: AVSTäNGT LäGE, KöRLäGE och STARTLäGE. Vrid nyckeln medurs till STARTLäGET tills startmotorn går igång. Släpp nyckeln när motorn startar så förs den automatiskt till det PåSLAGNA LäGET. Stäng av motorn genom att vrida nyckeln moturs till det AVSTäNGDA LäGET.

När du ska starta en kall motor stänger du förgasarchoken genom att dra chokereglaget (Figur 9) upp till det AVSTäNGDA LäGET. Reglera choken så att motorn går jämnt när den har startats. Öppna choken så snart som möjligt genom att flytta ned den till det öPPNA LäGET. En varm motor kräver lite eller ingen choke.
Gasreglagespaken (Figur 9) ansluter till och reglerar gasreglagelänkningen till förgasaren. Reglaget har två lägen: LåNGSAM och SNABB. Motorhastigheten kan växlas mellan de två inställningarna.
Note: Du kan inte stänga av motorn med gasreglaget.
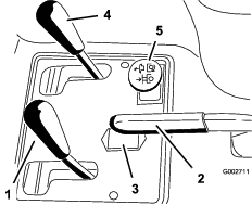
Lyft redskapet genom att dra lyftspaken (Figur 10) bakåt. Sänk redskapet genom att trycka spaken framåt. När du vill ställa in FLYTANDE LäGE flyttar du spaken till spärrläget. När du har lagt i det önskade läget släpper du spaken. Den kommer att återgå till neutralläget.

Note: Maskinen har en dubbelverkande lyftcylinder. Du kan tillämpa ett nedåtgående tryck på redskapet under vissa driftsförhållanden.
Lägg i parkeringsbromsen (Figur 10) genom att dra parkeringsbromsspaken bakåt. Lossa den genom att trycka spaken framåt.
Note: Gaspedalen kanske måste roteras långsamt framåt och bakåt för att parkeringsbromsen ska frigöras.
Timmätaren (Figur 10) visar det totala antalet timmar som maskinen har varit i drift. Timmätaren börjar räkna varje gång nyckeln vrids till det PåSLAGNA läget.
Flytta spaken på vänster sida om sätet (Figur 11) framåt, skjut sätet till det önskade läget och släpp spaken för att låsa sätet i det läget.

Stäng bränslekranen (Figur 12) på maskinen vid förvaring eller under släpvagnstransport.

Note: Specifikationer och design kan komma att ändras utan föregående meddelande.
| Bredd utan redskap | 148 cm |
| Bredd med räfsa, modellnummer 08751 | 191 cm |
| Längd utan redskap | 164 cm |
| Höjd | 115 cm |
| Hjulbas | 109 cm |
| Nettovikt | |
| Modell 08703 | 452 kg |
| Modell 08705 | 461 kg |
Det finns ett urval av godkända Toro-redskap och -tillbehör som du kan använda för att förbättra och utöka maskinens kapacitet. Kontakta en auktoriserad serviceverkstad eller återförsäljare eller gå till www.Toro.com för att se en lista över alla godkända redskap och tillbehör.
Använd originaldelar från Toro för att skydda din investering och bibehålla Toro-utrustningen i toppskick. Toro tillhandahåller reservdelar som är mycket driftsäkra tack vare att de har utformats exakt efter utrustningens tekniska specifikation. Använd enbart originaldelar från Toro så slipper du bekymmer.
Note: Vänster och höger sida på maskinen är lika med förarens vänstra respektive högra sida vid normal körning.
Läs alla säkerhetsanvisningar och symboler i avsnittet om säkerhet noga. Att känna till denna information kan hjälpa dig och kringstående att undvika skada.
Körning på vått gräs eller i branta sluttningar kan orsaka slirning eller förlust av kontrollen.
Hjul som glider över en kant kan orsaka vältolyckor vilket kan resultera i allvarliga skador, dödsfall eller drunkning.
Läs och följ anvisningarna och varningarna som rör vältning.
Följ anvisningarna nedan för att undvika att förlora kontrollen och välta klipparen.
Använd inte maskinen nära stup eller vattendrag.
Minska hastigheten och var ytterst försiktig på sluttningar.
Undvik att svänga plötsligt eller snabbt ändra hastighet.
Denna maskin ger ljudnivåer som kan orsaka hörselskador vid längre arbetspass.
Använd hörselskydd när du kör maskinen.
Vi rekommenderar att du använder skyddsglasögon, hörselskydd, handskar, skyddsskor och hjälm.

| Underhållsintervall | Underhållsförfarande |
|---|---|
| Efter de första 20 timmarna |
|
| Varje användning eller dagligen |
|
Motorn levereras med olja i vevhuset. Oljenivån måste dock kontrolleras före och efter du startar motorn för första gången.
Vevhusets kapacitet är ca 1,66 liter med filter.
Använd högkvalitativ motorolja som uppfyller följande specifikationer:
API-klassificering SL eller högre.
Rekommenderad olja: SAE 30 (över 4 ºC)
Parkera maskinen på ett plant underlag, stäng av motorn, koppla in parkeringsbromsen och ta ut nyckeln.
Sväng sätet framåt.
Dra ut oljestickan (Figur 14) och torka av den med en ren trasa.

Sätt i oljestickan i röret och se till att den sitter som den ska. Ta ut oljestickan ur röret och kontrollera oljenivån. Om oljenivån är låg tar du bort påfyllningslocket från ventilkåpan och fyller på tillräckligt med olja så att nivån når upp till markeringen Full på oljestickan.
Important: Kontrollera att oljenivån ligger mellan den övre och den nedre markeringen på oljestickan. Motorn kan skadas om för mycket eller för lite motorolja fylls på.
Sätt ner oljestickan så den sitter ordentligt.
Important: Oljestickan måste sitta helt på plats i röret så att vevhuset försluts på rätt sätt. Om vevhuset inte försluts som det ska kan motorn skadas.
Sväng ner sätet igen.
Bränsletankskapacitet: 25 liter
Rekommenderad bensin:
Använd endast ren och färsk (ej äldre än 30 dagar) blyfri bensin med oktantal 87 eller högre för bästa resultat (klassificeringsmetod (R+M)/2).
Etanol: Bensin som innehåller upp till 10 % etanol (gasohol) eller 15 % MTBE (metyl-tertiär-butyleter) baserat på volym är godkänd. Etanol och MTBE är inte samma sak. Bensin med 15 % etanol (E15) baserat på volym får inte användas. Använd inte bensin som innehåller mer än 10 % etanol baserat på volym, t.ex. E15 (innehåller 15 % etanol), E20 (innehåller 20 % etanol) eller E85 (innehåller upp till 85 % etanol). Användning av ej godkänd bensin kan leda till prestandaproblem och/eller skador på motorn som eventuellt inte omfattas av garantin.
Använd inte bensin som innehåller metanol.
Förvara inte bränsle i bränsletanken eller i en bränsledunk under vintern om inte en stabiliserare används.
Tillför inte olja i bensinen.
Important: Använd inga andra bränsletillsatser än sådana som är avsedda för stabilisering av bränslet. Använd inte alkoholbaserade stabiliserare med t.ex. etanol, metanol eller isopropanol.
Vid tankning under vissa förhållanden kan statisk elektricitet orsaka gnistor som kan antända bensinångorna. En brand eller explosion i bränslet kan orsaka brännskador för dig och kringstående och orsaka materiella skador.
Ställ alltid bränsledunkar på marken en bit bort från ditt fordon före tankning.
Fyll inte på bränsledunkar inuti ett fordon, på lastbilsflak eller släp, eftersom plastmattor och liknande kan isolera dunken och förlänga urladdningstiden för statisk elektricitet.
Lasta om möjligt av bränsledrivna maskiner från lastbilen eller släpet och tanka när hjulen står på marken.
Tanka hellre maskiner som är lastade på en lastbil eller ett släp från en dunk än med munstycket på en bränslepump om det inte går att lasta av dem innan.
Om tankning måste ske från en bensinpump ska pumpmunstycket hela tiden ha kontakt med kanten på bränsletankens eller dunkens öppning tills tankningen är klar.
Bränsle är skadligt eller dödligt om det förtärs. Längre exponering för bränsleångor kan orsaka allvarliga skador och sjukdom.
Undvik att andas in bränsleångor under en längre tid.
Håll ansiktet borta från munstycket och bränsletanken eller stabilisatoröppningen.
Håll bränsle borta från ögon och hud.
Rengör området runt tanklocket (Figur 15).
Ta av tanklocket.
Fyll tanken till ungefär 25 mm från tankens överkant (nedanför påfyllningsrörets smalare del). Fyll inte på för mycket.

Sätt tillbaka locket.
Torka upp allt bränsle som kan ha runnit över för att undvika brandrisk.
Important: Använd aldrig metanol, bensin som innehåller metanol eller gasol som innehåller mer än 10 % etanol, eftersom det kan skada bränslesystemet. Blanda inte olja i bensinen.
| Underhållsintervall | Underhållsförfarande |
|---|---|
| Varje användning eller dagligen |
|
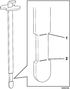
Tanken fylls på fabriken med ca 18,9 liter högkvalitativ hydraulvätska. Det är bäst att kontrollera hydraulvätskan när den är kall. Maskinen ska vara inställd som för transport. Fyll på vätska tills nivån når upp till mitten av godkänt intervall på mätstickan om nivån ligger under markeringen Add. Fyll inte på för mycket i tanken. Du behöver inte fylla på vätska om nivån ligger mellan markeringarna Full och Add. Kontrollera hydraulvätskenivån innan motorn startas för första gången och därefter dagligen.
Rekommenderad utbytesvätska:
| Hydraulvätska av typen Toro Premium All Season (finns i 19 liters dunkar eller 208 liters fat, se reservdelskatalogen eller fråga Toro-återförsäljare om artikelnummer) |
Rekommenderad hydraulvätska: Hydraulvätska av typen Toro Premium All Season
Alternativa vätskor: Om du inte har tillgång till Toro-vätskan kan du använda andra konventionella och petroleumbaserade vätskor, under förutsättning att de uppfyller följande materialegenskaper och branschspecifikationer. Kontrollera med din vätskeleverantör att vätskan uppfyller dessa specifikationer.
Note: Toro ansvarar inte för skador som uppstått till följd av att felaktiga vätskor använts. Använd därför endast produkter från välkända tillverkare som ansvarar för sina rekommendationer.
| Högt viskositetsindex/nötningsförhindrande hydraulvätska, med låg flytpunkt, av typen ISO VG 46 | |
| Materialegenskaper: | |
| Viskositet, ASTM D445 | cSt vid 40 °C 44–48cSt vid 100 °C 7,9–9,1 |
| Viskositetsindex, ASTM D2270 | 140 eller högre |
| Flytpunkt, ASTM D97 | -37 °C till -45 °C |
| FZG, steg för fel | 11 eller bättre |
| Vatteninnehåll (ny vätska) | 500 ppm (max.) |
| Branschspecifikationer: | |
| Vickers I-286-S, Vickers M-2950-S, Denison HF-0, Vickers 35 VQ 25 (Eaton ATS373-C) | |
Lämpliga hydraulvätskor måste vara angivna för mobila maskiner (i motsats till användning på en industriell anläggning), av flerviktstyp, med nötningsförhindrande ZnDTP- eller ZDDP-tillsatspaket (inte en askfri vätsketyp).
Important: Många hydraulvätskor är nästintill färglösa, vilket gör det svårt att upptäcka läckor. Det finns en rödfärgstillsats till hydraulvätskan i flaskor om 20 ml. En flaska räcker till 15–22liter hydraulvätska. Beställ artikelnr 44-2500 från en auktoriserad Toro-återförsäljare.
Syntetisk: Biologiskt nedbrytbar hydraulvätska
(du kan köpa oljan i dunkar om 19 liter eller fat om 208 liter, se reservdelskatalogen eller kontakta din Toro-återförsäljare för information om artikelnummer)
Den här syntetiska, biologiskt nedbrytbara vätskan av hög kvalitet har testats och anses vara kompatibel med denna Toro-modell. Syntetiska vätskor av andra märken kan ha problem med förseglingen och Toro ansvarar inte för icke godkända vätskor.
Note: Denna syntetiska hydraulvätska är inte kompatibel med den biologiskt nedbrytbara hydraulvätskan från Toro som tidigare såldes. Kontakta din Toro-återförsäljare för mer information.
Alternativa vätskor:
Mobil EAL Envirosyn H 46 (USA)
Mobil EAL Hydraulic Oil 46 (internationell)
Parkera maskinen på ett plant underlag, stäng av motorn, koppla in parkeringsbromsen och ta ut nyckeln.
Gör rent omkring locket till hydrauloljetanken för att förhindra att skräp kommer in i tanken (Figur 16).

Skruva av oljetanklocket.
Ta ut oljestickan ur påfyllningsröret och torka av den med en ren trasa.
För in oljestickan i påfyllningsröret; ta ut den igen och kontrollera oljenivån.
Note: Vätskenivån ska vara halvvägs mellan de övre och nedre markeringarna (det avsmalnade området) på mätstickan (Figur 17).

Om vätskenivån är låg fyller du långsamt på lämplig hydraulvätska i tanken tills nivån når upp till det avsmalnade området på mätstickan.
Note: Fyll inte på för mycket i tanken.
Sätt tillbaka tanklocket.
Important: Undvik föroreningar i systemet genom att rengöra öppningen på hydrauloljebehållaren före punktering. Se till att pipen och tratten är rena.
| Underhållsintervall | Underhållsförfarande |
|---|---|
| Varje användning eller dagligen |
|
Kontrollera däcktrycket innan maskinen används (Figur 18). Korrekt lufttryck i fram- och bakdäcken är:
Däck med slitbanor: 0,70 bar
Note: Om knivdriften kräver ytterligare dragning kan du minska trycket till 0,55 bar.
Däck med slät slitbana: 0,55 till 0,70 bar

| Underhållsintervall | Underhållsförfarande |
|---|---|
| Efter de första 8 timmarna |
|
| Var 100:e timme |
|
Dra åt hjulmuttrarna till 95–122 N·m.
Ta bort foten från gaspedalen, se till att pedalen är i NEUTRALLäGET och koppla in parkeringsbromsen.
Tryck choken framåt till det PåSLAGNA läget (när motorn som startas är kall) och gasreglaget till det LåNGSAMMA läget.
Important: När maskinen körs i en temperatur som understiger 0°C låter du maskinen bli varm innan du använder den. Detta förebygger skador på hydrostaten och drivkretsen.
Sätt i nyckeln i tändningslåset och vrid den medurs för att starta motorn. Släpp nyckeln när motorn startar.
Note: Reglera choken så att motorn kör jämnt.
Important: Undvik att startmotorn överhettas genom att inte låta den gå i mer än 10 sekunder. Om du har försökt starta motorn i 10 sekunder väntar du i 60 sekunder innan du startar den på nytt.
Stäng av motorn genom att flytta gasreglaget till det LåNGSAMMA LäGET och vrid tändningsnyckeln till det AVSTäNGDA LäGET.
Note: Ta ut nyckeln ur tändningen för att undvika oavsiktlig start.
Stäng bränsleväljarkranen innan du ställer maskinen i förvar.
Du kan bli skadad om du inspekterar maskinen medan motorn är igång.
Stäng av motorn och vänta tills alla rörliga delar har stannat innan du kontrollerar om det finns oljeläckor, lösa delar eller andra problem.
Om säkerhetsbrytarna är frånkopplade eller skadade kan maskinen plötsligt aktiveras, vilket i sin tur kan leda till personskador.
Gör inga otillåtna ändringar på säkerhetsbrytarna.
Kontrollera säkerhetsbrytarnas funktion dagligen och byt ut eventuella skadade brytare innan maskinen körs.
Syftet med säkerhetssystemet är att förhindra att motorn startar om inte gaspedalen är i NEUTRALLäGET. Motorn ska dessutom stängas av om gaspedalen flyttas framåt eller bakåt utan att någon sitter i förarsätet.
Parkera maskinen på en öppen plats som är fri från skräp och kringstående. Stäng av motorn.
Sitt på sätet och koppla in parkeringsbromsen.
Tryck gaspedalen framåt och bakåt samtidigt som du försöker starta motorn.
Note: Om motorn går runt kan det vara fel på säkerhetssystemet. Åtgärda felet omedelbart.Om motorn inte går runt fungerar systemet som det ska.
Sitt kvar på sätet med gaspedalen i NEUTRALLäGET och parkeringsbromsen inkopplad och starta motorn.
Lätta från sätet och tryck långsamt ned gaspedalen.
Note: Motorn bör stängas av inom en till tre sekunder. Åtgärda problemet om systemet inte fungerar korrekt.
I nödfall kan du bogsera maskinen en kortare sträcka. Vi rekommenderar dock inte att denna metod används som standardprocedur.
Important: Bogsera inte maskinen snabbare än 1,6 km/h eftersom drivsystemet kan skadas. Om maskinen måste flyttas mer än 50 m ska den transporteras på en lastbil eller ett släp. Hjulen kan låsas om maskinen bogseras för snabbt. Om det inträffar ska du avbryta bogseringen och vänta tills trycket i drivkretsen har stabiliserats, innan du fortsätter bogsera maskinen med lägre hastighet.
Det tar tid för nya motorer att komma upp i sin fulla prestanda. Drivsystem har större friktion när de är nya, vilket belastar motorn ytterligare.
Använd de första åtta drifttimmarna för att köra in maskinen.
De första körtimmarna är mycket viktiga för maskinens framtida driftssäkerhet och du bör noga övervaka maskinens funktioner och prestanda så att mindre problem, som kan leda till större problem, identifieras och kan korrigeras. Inspektera maskinen ofta under inkörningen och leta efter tecken på oljeläckage, lösa fästanordningar och andra fel.
Läs mer specifik information om hur redskapet bör användas i bruksanvisningen för redskapet.
Öva att köra maskinen eftersom dess egenskaper skiljer sig från vissa andra arbetsfordon. Två saker man bör tänka på när man kör fordonet är transmissionen och motorvarvtalet.
Håll motorvarvtalet på en jämn nivå genom att trycka ned gaspedalen långsamt. På det viset kan motorn hänga med fordonets hastighet. Om gaspedalen däremot trycks ned snabbt kommer varvtalet att minska och följden blir att det inte finns tillräckligt med dragkraft för att flytta fordonet. Överför därför maximal kraft till hjulen genom att flytta gasreglaget till det SNABBA läget och bara trycka ned gaspedalen helt lätt. Högsta möjliga hastighet utan last uppnås däremot när gasreglaget är i det SNABBA läget och gaspedalen långsamt trycks ned helt. Håll alltid motorvarvtalet tillräckligt högt för att maximal dragkraft ska överföras till hjulen.
Du måste alltid vara uppmärksam när du använder maskinen för att undvika att den välter eller att du förlorar kontrollen.
Var försiktig när du kör ner i och upp ur sandgropar.
Var mycket försiktig runt diken, bäckar och andra farliga platser.
Var försiktig när du använder maskinen i branta sluttningar.
Sänk farten när du gör tvära svängar eller när du svänger i sluttningar.
Undvik att stanna och starta plötsligt.
Växla inte från backläget till läget helt framåt utan att först stanna helt.
Note: Om redskapshållaren fastnar i hållaren på traktorenheten för du in en bändare/skruvmejsel i bändöppningen för att lossa delarna (Figur 19).

Note: Vänster och höger sida på maskinen är lika med förarens vänstra respektive högra sida vid normal körning.
Om du lämnar nyckeln i tändningslåset kan någon råka starta motorn av misstag och skada dig eller någon annan person allvarligt.
Ta ut nyckeln ur tändningslåset innan du utför något underhåll.
| Underhållsintervall | Underhållsförfarande |
|---|---|
| Efter de första 8 timmarna |
|
| Efter de första 20 timmarna |
|
| Varje användning eller dagligen |
|
| Var 25:e timme |
|
| Var 100:e timme |
|
| Var 200:e timme |
|
| Var 400:e timme |
|
| Var 800:e timme |
|
| Var 1500:e timme |
|
Important: Ytterligare information om underhållsrutiner finns i bruksanvisningen till motorn.
Kopiera sidan och använd den regelbundet.
| Kontrollpunkt | Vecka: | ||||||
|---|---|---|---|---|---|---|---|
| Mån. | Tis. | Ons. | Tors. | Fre. | Lör. | Sön. | |
| Kontrollera säkerhetsbrytarnas funktion. | |||||||
| Kontrollera styrningsfunktionen. | |||||||
| Kontrollera bränslenivån. | |||||||
| Kontrollera motoroljenivån. | |||||||
| Kontrollera skicket på luftfiltren. | |||||||
| Rengör motorkylflänsarna. | |||||||
| Kontrollera ovanliga motorljud. | |||||||
| Kontrollera ovanliga driftljud. | |||||||
| Kontrollera hydraulvätskenivån. | |||||||
| Kontrollera att det inte finns skador på hydraulslangarna. | |||||||
| Undersök om systemet har oljeläckor. | |||||||
| Kontrollera däcktrycket. | |||||||
| Kontrollera instrumentfunktionen. | |||||||
| Bättra på skadad lack. | |||||||
| Anteckningar om särskilda problem | ||
| Kontrollen utförd av: | ||
| Artikel | Datum | Information |
Important: Beslagen på maskinens skyddsplåtar är konstruerade så att de ska sitta kvar på plåten efter att de har lossats. Lossa alla fästdon på varje plåt några varv så att plåten sitter löst, men inte är helt loss, och gå sedan tillbaka och lossa dem tills plåten kommer helt loss. Då lossar du inte bultarna från hållarna av misstag.
Mekaniska eller hydrauliska domkrafter kan eventuellt inte stötta maskinen, vilket kan leda till allvarliga personskador.
Använd pallbockar för att stötta upp maskinen.
Följande domkraftpunkter finns:
Maskinen har smörjnipplar som måste smörjas regelbundet efter var 100:e körtimme med fett på litiumbas nr 2.
Smörj följande lager och bussningar:
Framhjulslagret (1) (Figur 22)

Svängtapp på gaspedal (1) (Figur 23)

Den bakre dragkroken (5) (Figur 24)

Styrcylinderns stavände (1) (endast modell 08705) (Figur 25)

Styrtapp (Figur 26)
Note: För att smörja nippeln på styrtappen (Figur 26) krävs en adapter till fettsprutans munstycke. Beställ Toro-delen med artikelnr 107-1998 från en auktoriserad Toro-återförsäljare.

| Underhållsintervall | Underhållsförfarande |
|---|---|
| Var 100:e timme |
|
Torka av smörjnippeln så att okända partiklar inte kan leta sig in i lagren eller bussningarna.
Pumpa in fett i lagren eller bussningarna.
Torka bort överflödigt fett.
| Underhållsintervall | Underhållsförfarande |
|---|---|
| Efter de första 20 timmarna |
|
| Var 100:e timme |
|
Parkera maskinen på ett plant underlag, stäng av motorn, koppla in parkeringsbromsen och ta ut nyckeln.
Ta bort avtappningspluggen (Figur 27) och låt oljan rinna ned i ett avtappningskärl. Sätt tillbaka avtappningspluggen när oljan har slutat rinna.

Avlägsna oljefiltret (Figur 27).
Stryk på ett tunt lager ren olja på den nya filterpackningen.
Skruva på filtret för hand tills packningen nuddar vid oljefilteradaptern, dra sedan åt det ytterligare 1/2–3/4 varv.
Important: Dra inte åt filtret för hårt.
Fyll på olja i vevhuset, se Kontrollera oljenivån i motorn.
Kassera förbrukad olja på lämpligt sätt.
| Underhållsintervall | Underhållsförfarande |
|---|---|
| Var 200:e timme |
|
Undersök om luftrenaren har några skador som skulle kunna orsaka en luftläcka. Byt ut skadade komponenter. Kontrollera hela intagssystemet och leta efter läckor, skador eller lösa slangklämmor.
Byt inte ut luftfiltret tidigare än nödvändigt. Det ökar risken för att smuts kommer in i motorn när filtret har avlägsnats.
Kontrollera att kåpan sitter som den ska och sluter tätt runt luftrenarhuset.
| Underhållsintervall | Underhållsförfarande |
|---|---|
| Var 200:e timme |
|
Lossa spärrhakarna som fäster luftrenarkåpan på luftrenarhuset (Figur 28).

Ta bort kåpan från luftrenaren.
Använd lågtrycksluft (2,76 bar, ren och torr) innan du tar bort filtret, för att ta bort stora ansamlingar av skräp som har packats mellan huvudfiltrets utsida och skålen.
Important: Undvik att använda högtrycksluft eftersom den kan tvinga smutsen genom filtret och in i luftintagsröret. Denna rengöringsprocess förhindrar att det kommer in skräp i luftintaget när huvudfiltret tas bort.
Ta bort och byt ut filtret.
Note: Undersök om det nya filtret har några transportskador genom att kontrollera filtrets förseglade ände och själva filtret. Använd inte ett skadat filter. Sätt i det nya filtret genom att trycka på dess yttre kant för att fästa det i behållaren. Tryck inte mitt på filtret där det är böjligt.
Note: Vi rekommenderar inte att du rengör det använda filtret eftersom det då finns risk för att filtret skadas.
Rengör smutsutblåsningens öppning i den avtagbara kåpan.
Ta bort gummiutloppsventilen från kåpan, rengör håligheten och byt ut utloppsventilen.
Montera kåpan och placera gummiutloppsventilen i nedåtläge – mellan ca klockan 5 till klockan 7 sett från änden.
Fäst spärrhakarna.
| Underhållsintervall | Underhållsförfarande |
|---|---|
| Var 800:e timme |
|
Typ: Champion RC14YC (eller motsvarande)
Luftgap: 0,76 mm
Note: Tändstiften håller vanligtvis länge, men du bör kontrollera dem om motorn inte fungerar.
Rengör området runt tändstiftet så att inte främmande partiklar faller ned i cylindern när du tar bort tändstiftet.
Dra av tändkablarna från tändstiften och skruva ur stiften ur cylindertoppen.
Kontrollera sidoelektroden, mittelektroden och isolatorn så att de inte är skadade.
Important: Ett sprucket, skadat eller smutsigt tändstift eller tändstift som inte fungerar av någon annan orsak måste bytas ut. Elektroderna får inte sandblästras, skrapas eller rengöras med en stålborste eftersom partiklar kan lossna från tändstiftet och falla ner i cylindern. Följden är oftast en skadad motor.
Ställ in luftgapet mellan mittelektroden och sidoelektroderna till 0,76 mm. Se Figur 29. Montera tändstiftet med korrekt mellanrum med en packningsförslutning och dra åt stiftet till 23 N·m. Se till att skruva åt stiftet ordentligt om du inte använder en skiftnyckel.

| Underhållsintervall | Underhållsförfarande |
|---|---|
| Var 800:e timme |
|
Det sitter ett filter i bränsleledningen. Använd följande metod när filtret måste bytas ut:
Stäng bränslekranen, lossa slangklämman på filtrets förgasarsida och ta bort bränsleledningen från filtret (Figur 30).

Sätt ett uppsamlingskärl under filtret, lossa den sista slangklämman och ta bort filtret.
Montera det nya filtret så att pilen på filterhuset pekar bort från bränsletanken (mot förgasaren).
Trä på slangklämmorna på bränsleledningarnas ändar.
Trä på bränsleledningarna på bränslefiltret och fäst dem med slangklämmorna.
Note: Se till att pilen på filtrets sida pekar mot förgasaren.
Batteripoler, kabelanslutningar och tillbehör till dessa innehåller bly och blykomponenter, kemikalier som staten Kalifornien anser orsaka cancer och fortplantningsskador. Tvätta händerna när du har hanterat batteriet.
Om maskinen måste startas med startkablarna kan den alternativa pluspolen (som sitter på startelektromagneten) användas istället för pluspolen på batteriet (Figur 31).

Säkringsblocket (Figur 32) sitter under sätet.

| Underhållsintervall | Underhållsförfarande |
|---|---|
| Var 25:e timme |
|
Underhåll batteriets elektrolytnivå och håll batteriets ovansida ren. Om maskinen förvaras på en plats med extremt höga temperaturer laddas batteriet ur snabbare än om maskinen förvaras på en sval plats.
Batterielektrolyt innehåller svavelsyra som är dödlig vid förtäring och orsakar allvarliga brännskador.
Drick inte elektrolyt.
Undvik kontakt med hud, ögon och kläder. Använd skyddsglasögon för att skydda ögonen och gummihandskar för att skydda händerna.
Fyll på batteriet på en plats där du har tillgång till rent vatten och kan skölja av huden.
Håll batteriets ovansida ren genom att tvätta den med jämna mellanrum med en borste som doppats i ammoniak eller en bikarbonatlösning. Spola ovansidan med vatten efter rengöringen. Ta inte bort påfyllningslocket under rengöringen.
Batteriets kablar måste sitta tätt över polerna för att tillhandahålla god elektrisk kontakt.
Felaktig dragning av batterikablarna kan skada maskinen och kablarna samt orsaka gnistor. Gnistorna kan få batterigaserna att explodera, vilket kan leda till personskador.
Lossa alltid batteriets minuskabel (svart) innan du lossar pluskabeln (röd).
Anslut alltid pluskabeln (röd) innan du ansluter minuskabeln (svart).
Om kabelanslutningarna har utsatts för korrosion lossar du kablarna. Minuskabeln (–) lossas först. Skrapa sedan klämmorna och kabelanslutningarna separat. Anslut kablarna. Pluskabeln (+) ansluts först. Bestryk sedan kabelanslutningarna med vaselin.
Kontrollera elektrolytnivån var 25:e körtimme eller, om maskinen står i förvaring, var 30:e dag.
Håll vätskenivån i cellerna rätt med destillerat eller avsaltat vatten. Fyll inte på cellerna så att vätskan når över påfyllningsmarkeringen.
Justera drivkammen om maskinen rör sig när gaspedalen är i neutralläget.
Parkera maskinen på ett plant underlag, stäng av motorn, koppla in parkeringsbromsen och ta ut nyckeln.
Lossa de två skruvarna som fäster mittskyddet vid maskinen och ta bort skyddet (Figur 33).

Lyft framhjulet och ett av bakhjulen från golvet och placera stöttor under ramen.
Framhjulet och ett av bakhjulen måste lyftas från golvet, annars kommer maskinen att röra sig under justeringen. Det kan leda till att maskinen tippar och skadar någon.
Kontrollera att maskinen har bra stöd. Ett framhjul och ett bakhjul måste vara lyfta från marken.
Lossa låsmuttern på spännmuttern (Figur 34).

Motorn måste vara igång för att slutjusteringen ska kunna utföras på hjuldrivningens justeringskam. Kontakt med rörliga delar eller heta ytor kan leda till personskador.
Håll händer, fötter, ansikte och andra kroppsdelar borta från roterande delar, ljuddämparen och andra heta ytor.
Starta motorn och vrid den sexkantiga kambulten (Figur 34) i bägge riktningar för att fastställa neutrallägets mittpunkt.
Dra åt låsmuttern för att säkra justeringen.
Stäng av motorn.
Montera mittskyddet.
Ta bort domkrafterna och sänk ner maskinen till verkstadsgolvet.
Provkör maskinen för att kontrollera att den står stilla när gaspedalen är i neutralläge.
Justera transmissionens neutralinställning. Läs mer i Justera drivningens neutralinställning.
Aktivera pumpspaken för att försäkra att samtliga delar fungerar obehindrat och är ordentligt säkrade.
Justera skruven tills luftgapet är 0,8 till 2,3 mm. Läs mer i Figur 34.
Kontrollera att allt fungerar som det ska.
Gaspedalen justeras för maximal transporthastighet och backning på fabriken, men en justering kan behövas om pedalen når fullt utslag innan pumpspaken når fullt kolvslag, eller om en minskning av transporthastigheten önskas.
Uppnå maximal transporthastighet genom att trycka ner gaspedalen. Om pedalen nuddar vid stoppet (Figur 35) innan pumpen når fullt kolvslag är en justering nödvändig:

Parkera maskinen på ett plant underlag, stäng av motorn, koppla in parkeringsbromsen och ta ut nyckeln.
Lossa muttern som fäster pedalstoppet.
Dra åt pedalstoppet tills det inte nuddar vid gaspedalen.
Fortsätt att trycka lätt på gaspedalen och justera pedalstoppet så att det bara nuddar vid pedalstången, eller så att ett mellanrum på 2,5 mm finns mellan pedalstången och stoppet.
Dra åt muttrarna.
Parkera maskinen på ett plant underlag, stäng av motorn, koppla in parkeringsbromsen och ta ut nyckeln.
Lossa muttern som fäster pedalstoppet.
Skruva loss pedalstoppet tills den önskade transporthastigheten uppnås.
Dra åt skruven som fäster pedalstoppet.
Justera lyftspakens spärrplatta (Figur 37) om redskapet inte flyter som det ska (följer markens kontur) när det används.
Ställ maskinen på ett plant underlag, stäng av motorn, koppla in parkeringsbromsen och lås fast hjulen.
Ta bort de 4 skruvarna som fäster kontrollpanelen vid ramen (Figur 36).

Ta bort de två bultarna som fäster spärrplattan på ramen.

Motorn måste vara igång så att du kan justera spärrplattan. Kontakt med rörliga delar eller heta ytor kan leda till personskador.
Håll händer, fötter, ansikte och andra kroppsdelar borta från roterande delar, ljuddämparen och andra heta ytor.
Starta motorn.
Ha motorn igång och lyftspaken i FLYTLäGE och skjut sedan på spärrplattan tills lyftcylindern kan dras ut och skjutas tillbaks för hand.
Dra åt båda monteringsskruvarna för att säkra justeringen.
Gasen fungerar som den ska om gasreglaget är korrekt justerat. Innan förgasaren justeras måste du kontrollera att gasreglaget fungerar som det ska.
Sväng sätet uppåt.
Lossa skruven på klämman på gasreglagekabeln som fäster kabeln vid motorn (Figur 38).

För fjärrgasreglaget framåt till det SNABBA LäGET.
Dra i gasvajern tills lekarens baksida rör vid stoppet (Figur 38).
Dra åt skruven på klämman på gasreglagekabeln och kontrollera motorns varvtalsinställning:
Hög tomgång: 3 350–3 450 varv/min.
Låg tomgång: 1 650–1 850 varv/min.
Important: Innan hastighetsreglaget för motorns regulator justeras måste gas- och chokereglagen justeras.
Motorn måste vara igång när hastighetsreglaget för motorns varvtalshållare justeras. Kontakt med rörliga delar eller varma ytor kan leda till personskador.
Kontrollera att gaspedalen är i neutralläge och dra åt parkeringsbromsen innan justeringen utförs.
Håll kläder, händer, fötter och andra kroppsdelar borta från roterande delar, ljuddämparen och andra heta ytor.
Note: Följ stegen nedan för att justera den låga tomgången. Om det bara är den höga tomgången som ska justeras fortsätter du direkt till steg 5.
Starta motorn och låt den gå på halvt gaspådrag i ungefär fem minuter så att den värms upp.
För gasreglaget till det LåNGSAMMA LäGET. Justera tomgångsstoppskruven moturs tills den inte längre nuddar vid gasreglagespaken.
Böj förankringsbrickan till varvtalshållarfjädern (Figur 39) tills tomgångshastigheten är 1 675–1 175 varv/minut.
Note: Kontrollera hastigheten med en varvräknare.

Justera tomgångsstoppskruven tills tomgångshastigheten ökas 25–50 varv/minut över den tomgångshastighet som ställdes in i steg 3.
Note: Den slutliga tomgångshastigheten måste vara 1 650 –1 850 varv/minut.
För gasreglaget till det SNABBA LäGET.
Böj förankringsbrickan till fjädern för hög hastighet (Figur 39) tills den höga tomgångshastigheten är 3 350–3 450 varv/minut.
| Underhållsintervall | Underhållsförfarande |
|---|---|
| Efter de första 8 timmarna |
|
| Var 400:e timme |
|
Byt ut filtret mot ett originalfilter från Toro.
Parkera maskinen på ett plant underlag, stäng av motorn, koppla in parkeringsbromsen och ta ut nyckeln.
Lossa de två skruvarna som fäster mittskyddet vid maskinen och ta bort skyddet (Figur 40).

Ställ ett uppsamlingskärl under hydrauloljefiltret på maskinens vänstra sida (Figur 41).

Rengör runt området där filtret monteras. Ställ ett uppsamlingskärl under filtret. Lossa långsamt på hydraulfiltret men ta inte bort det helt, tills olja rinner ut ur packningen och droppar ner längs filtrets sida.
Note: Om maskinen är utrustad med en fjärrhydraulsats kan sugslangen tas bort från pumpen och användas för att tappa ut hydrauloljan.
Ta bort filtret när vätskan börjar rinna långsammare.
Smörj packningen på det nya filtret med ren hydraulvätska och vrid fast det för hand tills packningen nuddar vid filterhuvudet. Dra sedan åt det ytterligare 3/4 varv.
Note: Filtret ska nu vara tätat.
Fyll hydraultanken med hydraulolja tills oljan når upp till det smalare området på oljestickan. Överfyll inte tanken. Se Kontrollera hydraulvätskenivån.
Starta och kör motorn. Kör lyftcylindern tills den skjuter ut och dras tillbaks och hjulen rör sig framåt och bakåt.
Stäng av motorn och kontrollera vätskenivån i tanken. Fyll på om det behövs.
Undersök anslutningarna för att se om det finns några läckor.
Montera mittskyddet.
Kassera förbrukad olja på lämpligt sätt.
| Underhållsintervall | Underhållsförfarande |
|---|---|
| Varje användning eller dagligen |
|
Kontrollera hydraulledningarna och -slangarna dagligen för att se om det finns läckor, vridna ledningar, lösa fäststöd, slitage, lösa beslag, väderslitage och kemiskt slitage. Reparera alla eventuella skador innan du kör maskinen igen.
Hydraulolja som läcker ut under tryck kan tränga in i huden och orsaka skada.
Kontrollera att alla hydrauloljeslangar och -ledningar är i gott skick och att alla hydraulanslutningar och -kopplingar är ordentligt åtdragna innan hydraulsystemet trycksätts.
Håll händer och andra kroppsdelar borta från småläckor eller munstycken som sprutar ut hydraulvätska under högtryck.
Använd en kartong- eller pappersbit för att hitta hydraulläckor.
Lätta på allt tryck i hydraulsystemet på ett säkert sätt innan något arbete utförs i hydraulsystemet.
Sök läkare omedelbart om du blir träffad av en hydrauloljestråle och hydrauloljan tränger in i huden.
När en hydraulisk komponent repareras eller byts ut ska hydraulfiltret bytas och hydraulsystemet laddas.
Se till att hydraultanken och filtret alltid är fyllda med vätska när hydraulsystemet laddas.
Parkera maskinen på ett plant underlag, stäng av motorn, koppla in parkeringsbromsen och ta ut nyckeln.
Lossa de två skruvarna som fäster mittskyddet vid maskinen och ta bort skyddet (Figur 42).

Lyft framhjulet och ett av bakhjulen från golvet och placera stöttor under ramen.
Framhjulet och ett av bakhjulen måste lyftas från golvet, annars kommer maskinen att röra sig under justeringen. Det kan leda till att maskinen tippar och skadar någon.
Kontrollera att maskinen har bra stöd. Ett framhjul och ett bakhjul måste vara lyfta från marken.
Starta motorn och ställ in gasreglaget så att motorn körs på ungefär 1 800 varv/minut.
Aktivera lyftventilspaken tills lyftcylinderstaven rör sig in och ut upprepade gånger. Om cylinderstaven inte rör sig efter 10–15 sekunder eller om pumpen ger ifrån sig onormala ljud, stänger du omedelbart av motorn och tar reda på vad felet orsakas av. Kontrollera om det beror på följande:
Löst filter eller lösa sugledningar
Lös eller trasig koppling på pumpen
Blockerad sugledning
Trasig laddningsövertrycksventil
Trasig laddningspump
Om cylindern rör sig efter 10–15 sekunder går du vidare till steg 6.
Tryck gaspedalen framåt och bakåt. Hjulen som inte står på golvet ska snurra i rätt riktning.
Om hjulen snurrar i fel riktning stänger du av motorn, tar bort ledningarna på pumpens baksida och byter plats på dem.
Om hjulen snurrar i rätt riktning stänger du av motorn och justerar fjäderjusteringstappens låsmutter (Figur 43). Justera drivningens neutralläge. Se Justera drivningens neutralinställning.

Kontrollera säkerhetsbrytarnas inställning. Läs mer i Justera säkerhetsbrytarna för hjuldrivningen.
Montera mittskyddet.
| Underhållsintervall | Underhållsförfarande |
|---|---|
| Varje användning eller dagligen |
|
När maskinen har använts sköljer du av den med en trädgårdsslang utan munstycke så att förslutningar och lager inte förorenas eller skadas av ett för högt vattentryck.
Se till att kylflänsarna och området runt motorns kylluftsintag är rena från skräp.
Important: Rengöring av oljekylaren med vatten leder till för tidig uppkomst av rost, skadade komponenter och att skräp packas samman. Läs mer i Rengöra oljekylaren.
När du har rengjort maskinen kontrollerar du att det inte finns några hydraulvätskeläckor, skador eller eventuellt slitage på de hydrauliska och mekaniska komponenterna.
Rengör maskinen, redskapen och motorn ordentligt.
Kontrollera däcktrycket.
Kontrollera om något av fästelementen är löst och dra åt om det behövs.
Smörj eller olja samtliga smörjnipplar och svängpunkter. Torka av överflödigt fett.
Sandpappra lätt och bättra på lacken där färgen har skrapats av, flagnat eller i rostiga områden.
Serva batteriet och kablarna på följande sätt:
Ta bort batteriets kabelanslutningar från batteripolerna.
Rengör batteriet, kabelanslutningarna och polerna med en stålborste och bakpulverlösning.
Fetta in kabelanslutningarna och batteripolerna med smörjfett av typen Grafo 112X (skin-over) (Toro-artikelnr 505-47) eller vaselin för att förhindra korrosion.
Ladda långsamt upp batteriet i 24 timmar var 60:e dag för att förhindra att det blysulfateras.
Note: Ett fulladdat batteri har en specifik vikt på 1 250.
Note: Förvara batteriet svalt för att undvika att det laddas ur snabbt. Se till att batteriet är fulladdat för att förhindra att det fryser.
Byt motorolja och oljefilter. Se Byta motoroljan och oljefiltret.
Starta motorn och kör den på tomgång i två minuter.
Rengör och serva luftrenaren ordentligt. Se Serva luftrenaren.
Täta luftrenarens inlopp och avgasutloppet med väderbeständig maskeringstejp.
Kontrollera att oljepåfyllningslocket och tanklocket sitter säkert på plats.