| Intervalo de assistência | Procedimento de manutenção |
|---|---|
| Após as pimeiras 20 horas |
|
| Em todas as utilizações ou diariamente |
|
Esta máquina é um equipamento utilitário destinado a ser utilizado por operadores profissionais contratados em aplicações comerciais. Foi principalmente concebido para lidar com bancos de areia em campos de golfe e instalações comerciais bem tratados.
Leia estas informações com atenção para saber como operar e realizar a manutenção adequada do produto, além de evitar lesões e danos ao produto. A utilização correta e segura do produto é da exclusiva responsabilidade do utilizador.
Pode contactar diretamente a Toro em www.Toro.com para obter informações sobre produtos e acessórios, ajuda para encontrar um representante ou para registar o seu produto.
Sempre que necessitar de assistência, peças genuínas Toro ou informações adicionais, entre em contacto com um serviço de assistência autorizado ou com o serviço de assistência Toro, indicando os números de modelo e de série do produto. Estes números estão gravados numa placa que se encontra na longarina esquerda do chassis. Escreva os números no espaço fornecido.
Este manual identifica potenciais perigos e contém mensagens de segurança identificadas com o símbolo de alerta de segurança (Figura 1), que sinaliza perigos que podem provocar lesões graves ou morte se não forem observadas as precauções recomendadas.

Neste manual são utilizadas duas palavras para destacar informações. Importante chama a atenção para informações mecânicas especiais e Nota enfatiza informações gerais dignas de atenção especial.
Este produto cumpre todas as diretivas europeias relevantes. Para mais informações, consultar a folha de Declaração de conformidade (DOC) em separado, específica do produto.
Utilizar ou operar o motor em qualquer terreno com floresta, arbustos ou relva é uma violação da secção 4442 ou 4443 do código de recursos públicos da Califórnia exceto se o motor estiver equipado com uma proteção contra chamas, como definido na secção 4442, mantido em boas condições ou o motor for construído equipado e mantido para a prevenção de fogo.
O sistema de ignição está em conformidade com a norma canadiana ICES-002
O Manual do proprietário do motor é fornecido para informações acerca do sistema de emissões, manutenção e garantia da US Environmental Protection Agency (EPA) e regulamento de controlo de emissões da Califórnia. A substituição pode ser solicitada através do fabricante do motor.
CALIFÓRNIA
Proposição 65 Aviso
É do conhecimento do Estado da Califórnia que os gases de escape deste motor contêm químicos que podem provocar cancro, defeitos congénitos ou outros problemas reprodutivos.
Para um desempenho superior da tração, o kit de pesos 100-6442 pode ser adicionado na dianteira da máquina.
Note: Se a máquina estiver equipada com um acessório de elevação dianteira ou de limpar neve, o kit de pesos não encaixará devido a interferência física.
Se a máquina for utilizada com qualquer outro propósito, poderá pôr em perigo o utilizador ou outras pessoas.
Leia e compreenda o conteúdo deste Manual do utilizador antes de ligar o motor.
Não coloque as mãos ou os pés perto de componentes em movimento da máquina.
Não opere a máquina sem que todos os resguardos e outros dispositivos protetores de segurança estejam instalados e a funcionar.
Mantenha-se afastado de qualquer abertura de descarga. Mantenha pessoas e animais domésticos longe da máquina.
Mantenha as crianças afastadas da área de operação. Nunca permita que crianças utilizem a máquina.
Pare a máquina e desligue o motor antes de prestar assistência, atestar ou desobstruir a máquina.
O uso e manutenção impróprios desta máquina podem resultar em ferimentos. De modo a reduzir o risco de lesões, respeite estas instruções de segurança e preste toda a atenção ao símbolo de alerta de segurança, que indica: Cuidado, Aviso ou Perigo – instruções de segurança pessoal. O não cumprimento destas instruções pode resultar em ferimentos pessoais ou mesmo em morte.
Pode encontrar informações de segurança adicionais onde for necessário ao longo deste Manual do utilizador.
Leia atentamente o Manual do utilizador e o restante material de formação. Familiarize-se com os controlos, sinais de segurança e com a utilização apropriada do equipamento.
Se o utilizador ou mecânico não compreender o idioma deste Manual do utilizador, compete ao proprietário a tarefa de lhe transmitir essas informações.
Nunca permita que crianças ou pessoas que desconheçam as instruções utilizem ou efetuem a manutenção do veículo. Os regulamentos locais podem determinar restrições relativamente à idade do utilizador.
Nunca utilize a máquina com pessoas por perto, sobretudo no caso de crianças ou animais de estimação.
Não transporte passageiros.
Os condutores e mecânicos devem procurar receber formação profissional. A formação dos utilizadores é da responsabilidade do proprietário. A respetiva formação deve destacar:
o cuidado e a concentração a ter durante a utilização deste tipo de equipamento;
o controlo da máquina numa inclinação não será recuperado com a utilização do travão. As principais razões para a perda do controlo são:
aderência insuficiente das rodas;
excesso de velocidade;
travagens inadequadas;
o tipo de máquina é inadequado para a tarefa;
falta de atenção às possíveis consequências do estado do piso, especialmente em declives;
engate incorreto ou má distribuição da carga.
O proprietário/utilizador pode evitar e é responsável por acidentes ou lesões provocados em terceiros, assim como em propriedade alheia.
Utilize vestuário adequado, incluindo proteção ocular, calçado resistente anti-derrapante e proteção para os ouvidos. Prenda cabelo comprido. Não utilize joias.
Verifique o estado do terreno para determinar quais os acessórios e equipamento auxiliar necessários para executar a tarefa de forma adequada e segura. Utilize apenas acessórios e equipamento auxiliar aprovados pelo fabricante.
Quando necessário, molhe a superfície antes de operar para minimizar a criação de poeira.
Verifique que os comandos de presença do utilizador, interruptores de segurança e resguardos estão corretamente montados e em bom estado. Não utilize a máquina se estes componentes não estiverem a funcionar corretamente.
Para evitar lesões pessoais ou danos materiais, tenha um cuidado extremo no manuseamento do combustível. O combustível é extremamente inflamável e os vapores são explosivos.
Apague todos os cigarros, charutos, cachimbos e outras fontes de ignição.
Utilize apenas um recipiente para combustível aprovado.
Nunca retire a tampa do depósito, nem adicione combustível quando o motor se encontrar em funcionamento.
Deixe o motor arrefecer antes de adicionar combustível.
Nunca ateste a máquina no interior.
Nunca guarde a máquina ou o recipiente de combustível onde uma fonte de fogo, faísca ou luz piloto, como junto de uma caldeira ou outros eletrodomésticos.
Nunca encha recipientes no interior de um veículo ou camião ou atrelado com um revestimento de plástico. Coloque sempre os recipientes no chão, longe do veículo, antes de os encher.
Retire o equipamento do camião ou do atrelado e abasteça-o no chão. Se tal não for possível, abasteça a máquina no veículo com um recipiente portátil e não a partir do bico de abastecimento normal.
Mantenha o bico sempre em contacto com o anel exterior do depósito de combustível ou com a abertura do recipiente até concluir a operação. Não utilize um dispositivo de abertura do bico.
Nunca encha demasiado o depósito de combustível.
Volte a colocar a tampa do combustível e aperte-a a bem.
Não utilize o motor em espaços confinados onde se acumulem gases de monóxido de carbono e outros gases de exaustão.
A utilização da máquina deve ser efetuada apenas com luz natural ou com iluminação artificial adequada.
Antes de tentar pôr o motor a funcionar, desengate os acessórios, coloque a alavanca das mudanças em ponto morto e aplique o travão de estacionamento.
Não coloque as mãos ou os pés perto ou por baixo das peças móveis.
A utilização da máquina requer atenção. Para evitar o capotamento ou a perda de controlo:
Preste atenção a buracos ou outros perigos não visíveis.
Tome cuidado ao conduzir a máquina em declives pronunciados. Reduza a velocidade ao descrever curvas pronunciadas ou ao inverter a marcha em declives.
Evite paragens e arranques bruscos. Não inverta a direção sem que o veículo se encontre completamente parado.
Antes de fazer marcha-atrás, veja se está alguém atrás da máquina.
Tome atenção ao tráfego quando utilizar a máquina perto de vias de circulação ou quando as atravessar. Dê sempre a prioridade.
Se barra de reboque de engate opcional, peça nº 110-1375, estiver instalada na máquina, consulte o Manual de instruções do acessório para saber qual é a carga máxima do engate.
Tenha cuidado quando efetuar uma descarga ou usar equipamento pesado.
Utilize apenas pontos de engate aprovados.
Limite as cargas às que consegue controlar em segurança.
Não faça curvas apertadas. Tenha cuidado ao fazer marcha-atrás.
Tome atenção ao tráfego quando utilizar a máquina perto de vias de circulação ou sempre que tiver de atravessá-las.
Nunca utilize a máquina com coberturas ou proteções danificadas ou sem os dispositivos de segurança devidamente colocados. Certifique-se de que todos os interruptores de segurança se encontram montados, bem ajustados e a funcionar corretamente.
Não altere os valores do regulador do motor, nem acelere o motor excessivamente. Se utilizar o motor a velocidades excessivas, pode aumentar o risco de danos pessoais.
Antes de abandonar o lugar do utilizador:
pare numa zona nivelada;
solte o pedal de tração e baixe os acessórios;
engate o travão de estacionamento;
desligue o motor e retire a chave.
Desative a transmissão dos engates durante o transporte ou quando não os estiver a utilizar.
Desligue o motor e desengate a transmissão dos engates
antes de reabastecer;
antes de examinar, limpar ou trabalhar na máquina;
após embater num objeto estranho ou em caso de vibrações anormais. Inspecione a máquina a fim de encontrar danos e poder fazer as respetivas reparações antes de ligar e utilizar o equipamento.
Reduza a regulação do acelerador ao desligar o motor e, se este estiver equipado com uma válvula de corte, desligue a alimentação do combustível ao terminar a utilização.
Antes de recuar, olhe para trás e para baixo de modo a evitar acidentes.
Abrande e tome as precauções necessárias quando virar e atravessar estradas ou passeios.
Não utilize a máquina quando estiver doente, cansado ou se encontrar sob o efeito de álcool ou drogas.
Os raios podem causar ferimentos graves ou morte. Se forem vistos raios na área, não opere a máquina; procure abrigo.
Tome todas as precauções necessárias quando colocar em ou retirar a máquina de um atrelado ou camião.
Tome todas as precauções necessárias quando se aproximar de esquinas sem visibilidade, arbustos, árvores ou outros objetos que possam obstruir o seu campo de visão.
Guarde todas as porcas e parafusos para se assegurar de que o equipamento funcionará em perfeitas condições.
Nunca guarde o veículo com combustível no depósito armazenado num local fechado onde os gases possam entrar em contacto com chamas ou faíscas.
Espere que o motor arrefeça antes de o armazenar em ambiente fechado.
Para reduzir o risco de incêndio, guarde o motor, a panela de escape, o compartimento da bateria e o combustível numa área sem folhas e ervas ou gordura em excesso.
Mantenha todas as peças em boas condições de trabalho e os componentes hidráulicos corretamente apertados. Substitua todos os autocolantes ilegíveis e as peças danificadas.
Se tiver de drenar o depósito de combustível, faça-o no exterior.
Tenha cuidado ao fazer ajustes na máquina, para não entalar os dedos nas peças em movimento ou em peças fixas da máquina.
Desengate as transmissões, desça o acessório, engate o travão de estacionamento, desligue o motor e retire a chave. Antes de efetuar o ajuste, a limpeza ou a reparação da máquina, aguarde até que esta pare por completo.
Utilize macacos para suportar os componentes da máquina sempre que necessário.
Cuidadosamente, liberte a pressão dos componentes com energia acumulada.
Desligue a bateria e retire o cabo da vela antes de efetuar qualquer reparação. Desligue o terminal negativo em primeiro lugar e o terminal positivo no final. Ligue o cabo positivo em primeiro lugar e o cabo negativo no final.
Mantenha as mãos e os pés afastados de peças móveis. Se possível, não efetue qualquer ajuste quando o motor se encontrar em funcionamento.
Carregue as baterias num espaço aberto e bem ventilado, longe de faíscas e chamas. Desligue o carregador antes de o ligar ou desligar da bateria. Utilize roupas adequadas e ferramentas com isolamento.
Certifique-se de que todas as ligações hidráulicas se encontram bem apertadas e em bom estado de conservação antes de colocar o sistema sob pressão.
Afaste o corpo e as mãos de fugas ou bicos que projetem fluido hidráulico de alta pressão. Utilize papel ou cartão para encontrar fugas e não as mãos. O fluido hidráulico sob pressão pode penetrar na pele e provocar lesões graves. Em caso de penetração de algum fluido na pele, consulte imediatamente um médico.
Antes de desligar ou executar qualquer tarefa no sistema hidráulico, deverá retirar a pressão aí existente, desligando o motor e baixando os acessórios até ao solo.
Verifique regularmente o aperto e o desgaste das tubagens de combustível. Aperte-as ou repare-as conforme necessário.
Se for necessário colocar o motor em funcionamento para executar qualquer ajuste, deverá manter as mãos, os pés, a roupa e outras partes do corpo longe dos engates e de qualquer peça em movimento, nomeadamente do painel ao lado do motor. Mantenha todas as pessoas longe da máquina.
Para garantir a segurança e precisão do motor, solicite a um distribuidor autorizado da Toro a verificação do regime máximo do motor com um conta-rotações.
Se for necessário efetuar reparações de vulto ou se alguma vez necessitar de assistência, contacte um distribuidor Toro autorizado.
Para garantir o máximo desempenho e segurança contínua certificada da máquina, adquira sempre peças sobressalentes e acessórios genuínos da Toro. A utilização de peças sobressalentes e acessórios produzidos por outros fabricantes pode ser perigosa e pode utilizar um espaço vazio na garantia do produto.
Tome todas as precauções necessárias quando colocar em ou retirar a máquina de um atrelado ou camião.
Utilize rampas de largura total para carregar a máquina num atrelado ou camião.
Prenda a máquina de forma segura utilizando correias, correntes, cabos ou cordas. As correias frontal e traseira devem estar dirigidas para baixo e para fora da máquina.
![]() |
Os autocolantes de segurança e de instruções são facilmente visíveis e situam-se próximo das zonas de potencial perigo. Substitua todos os autocolantes danificados ou em falta. |








Note: Determine os lados direito e esquerdo da máquina a partir da posição normal de utilização.
Note: Remova e deite fora todos os suportes fixos e dispositivos de fixação.
Peças necessárias para este passo:
| Volante | 1 |
| Anel de esponja | 1 |
| Anilha | 1 |
| Porca de bloqueio | 1 |
| Cobertura do volante | 1 |
Mova a roda dianteira de forma a ficar virada para a frente.
Faça deslizar o anel de esponja, extremidade pequena primeiro, para a coluna de direção (Figura 2).

Faça deslizar o volante para a coluna de direção (Figura 2).
Fixe o volante à coluna de direção, utilizando uma anilha e uma porca de bloqueio (Figura 2).
Aperte a porca de bloqueio com uma força de 27 a 35 N·m.
Pressione a cobertura do volante para a posição no volante (Figura 2).
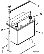
Retire as duas porcas de orelhas e as anilhas que fixam o suporte superior da bateria aos suportes laterais da bateria (Figura 3). Retire o suporte superior da bateria e retire a bateria.

Peças necessárias para este passo:
| Eletrólito a granel, gravidade específica de 1,260 (não incluído) | – |
Os bornes, terminais e restantes acessórios da bateria contêm chumbo e derivados de chumbo; é do conhecimento do Estado da Califórnia que estes químicos podem provocar cancro e problemas reprodutivos. Lave as mãos após a operação.
Se a bateria não se encontrar preenchida com eletrólito ou ativada, deve adquirir eletrólito a granel com uma gravidade específica de 1,260 num distribuidor de baterias e introduzi-lo na bateria.
O eletrólito da bateria contém ácido sulfúrico, uma substância extremamente venenosa que é fatal e causa queimaduras graves.
Não ingira a solução eletrolítica e evite o contacto com a pele, olhos e vestuário. Utilize óculos de proteção para proteger os olhos e luvas de borracha para proteger as mãos.
Ateste a bateria apenas em locais onde exista água limpa para lavar as mãos.
Retire as tampas de enchimento da bateria e encha devagar cada célula, até que o eletrólito se encontre na linha de enchimento.
Volte a colocar as tampas de enchimento e ligue um carregador de baterias de 3 a 4 amperes aos pólos da bateria. Carregue a bateria com um carregador de bateria de 3 a 4 amperes, durante 4 a 8 horas.
O carregamento da bateria gera gases que podem provocar explosões.
Nunca fume perto da bateria e mantenha-a afastada de faíscas e chamas.
Quando a bateria estiver carregada, desligue o carregador da tomada elétrica e dos pólos da bateria. Deixe a bateria repousar durante 5 a 10 minutos.
Retire as tampas de enchimento.
Adicione cuidadosamente eletrólito a cada uma das células até o nível subir até à linha de enchimento.
Important: Não encha muito a bateria. Pode derramar eletrólito sobre as outras peças da máquina, acelerando a sua deterioração.
Volte a colocar as tampas de enchimento.
Peças necessárias para este passo:
| Parafuso (¼ pol. x ⅝ pol.) | 2 |
| Porca de bloqueio (¼ pol.) | 2 |
Coloque bateria no lugar, com o terminal negativo voltado para a parte de trás da máquina (Figura 4).

A ligação incorreta dos cabos da bateria poderá danificar o veículo e os cabos, produzindo faíscas. As faíscas podem provocar uma explosão dos gases da bateria, resultando em acidentes pessoais.
Desligue sempre o cabo negativo (preto) antes de desligar o cabo positivo (vermelho).
Ligue sempre o cabo positivo (vermelho) antes de ligar o cabo negativo (negro).
Os terminais da bateria e as ferramentas de metal podem provocar curto-circuitos noutros componentes da máquina, produzindo faíscas. As faíscas podem provocar uma explosão dos gases da bateria, resultando em acidentes pessoais.
Quando retirar ou montar a bateria, não toque com os terminais da bateria noutras peças metálicas do veículo.
Deverá evitar quaisquer curto-circuitos entre os terminais da bateria e as peças metálicas do veículo.
Fixe o cabo positivo (vermelho) ao terminal positivo (+) com um parafuso (¼ pol. x ⅝ pol.) e uma porca de bloqueio (Figura 5).

Fixe o pequeno cabo preto e o cabo negativo (preto) ao terminal negativo (-) da bateria com um parafuso (¼ pol. x ⅝ pol.) e uma porca de bloqueio (¼ pol.) (Figura 5).
Revista os terminais e parafusos de montagem com vaselina para evitar a corrosão.
Coloque a proteção de borracha sobre o terminal positivo (+) para evitar um curto-circuito.
Instale o suporte superior da bateria nos suportes laterais da bateria e fixe-o com anilhas e porcas de orelhas.
Peças necessárias para este passo:
| Kit(s) de pesos dianteiros, conforme necessário | – |
Esta máquina foi concebida de acordo com a ANSI B71.4-2012. Todavia, quando forem instalados acessórios na máquina, é necessário peso adicional para ficar em conformidade com as normas.
Utilize a tabela seguinte para determinar as combinações necessárias de pesos adicionais. Encomende as peças num distribuidor Toro autorizado.
| Acessórios | Peso dianteiro adicional necessário | Kit peso, peça número | Descrição do peso | Quantidade |
|---|---|---|---|---|
| Kit arranca-grampos (08755) | 23 kg | 100-6442 | Peso da placa 8 x 2,9 kg | 1 |
| Rastelo Rahn | 23 kg | 100-6442 | Peso da placa 8 x 2,9 kg | 1 |
| Caixa utilitária com SLR | 23 kg | 100-6442 | Peso da placa 8 x 2,9 kg | 1 |
Note: Não é necessário peso adicional, se a máquina estiver equipada com o Kit de elevação hidráulica dianteiro (modelo 08712).

O pedal de tração (Figura 7) dispõe de 3 funções: fazer avançar, recuar, e parar a máquina. Com o pé direito, pressione a parte superior do pedal para deslocar a máquina para a frente e a parte inferior do pedal para a máquina se deslocar para trás ou para assistir à paragem quando se deslocar para a frente (Figura 8). Para parar a máquina, deverá deixar que o pedal volte à posição PONTO MORTO. Para comodidade do operador, não apoie o calcanhar na patilha de marcha-atrás quando conduzir a máquina para a frente.


A velocidade é proporcional à pressão exercida sobre o pedal de tração. Para obter a velocidade máxima, pressione completamente o pedal quando o acelerador estiver na posição RáPIDO. Para obter a potência máxima quando tentar subir uma inclinação, coloque o acelerador na posição RáPIDO enquanto pressiona ligeiramente o pedal para manter as rotações do motor elevadas. Quando as rotações do motor começarem a diminuir, liberte ligeiramente o pedal de modo a permitir o aumento da velocidade.
Important: Para puxar na máxima potência, mova a alavanca do acelerador para a posição RáPIDO e carregue ligeiramente no pedal de tração.
Utilize a velocidade máxima apenas quando se deslocar de uma área para outra.
Não utilize a velocidade máxima quando utilizar um acessório instalado ou a reboque.
Important: Não utilize a máquina em marcha-atrás com o acessório na posição para baixo (funcionamento), caso contrário o acessório pode ficar seriamente danificado.
O interruptor de ignição (Figura 9) é utilizado para ligar e desligar o motor e tem três posições: DESLIGAR, FUNCIONAMENTO e ARRANQUE. Rode a chave no sentido dos ponteiros do relógio para a posição ARRANCAR para ativar o motor de arranque. Liberte imediatamente a chave quando o motor arrancar, e esta regressa à posição LIGAR. Para desligar o motor, rode a chave no sentido contrário ao dos ponteiros do relógio para a posição DESLIGAR.

Para ligar um motor frio, feche a entrada de ar no carburador, puxando a alavanca do ar (Figura 9) para cima, para a posição FECHAR. Após o arranque do motor, regule o ar para manter o motor num funcionamento regular. Logo que possível, abra a entrada de ar movendo-a para baixo para a posição ABRIR. Um motor quente necessita de pouco ou nenhum ar para funcionar normalmente.
A alavanca de controlo do acelerador (Figura 9) está ligada ao carburador, fazendo-o funcionar. O controlo tem 2 posições: LENTO e RáPIDO. A velocidade do motor varia entre as 2 definições.
Note: Não pode desligar o motor utilizando o controlo do acelerador.
Para subir o acessório, puxe a alavanca de elevação (Figura 10) para trás; para baixar o acessório, empurre a alavanca para a frente. Para a posição deSUSPENSãO, mova a alavanca para a posição detentora. Quando atingir a posição pretendida, solte a alavanca e ela volta à posição de ponto morto.

Note: A máquina tem um cilindro de elevação de dupla ação. Pode aplicar pressão descendente ao acessório para determinadas condições de operação.
Para engatar o travão de estacionamento (Figura 10), puxe a alavanca do travão de estacionamento para trás. Para o desengatar, destrave a alavanca.
Note: Pode ter de rodar o pedal de tração lentamente para a frente e para trás para soltar o travão de estacionamento.
O contador de horas (Figura 10) indica o total de horas de funcionamento da máquina. O contador de horas começa a funcionar sempre que se roda a chave para a posição LIGAR.
Desloque alavanca que se encontra no lado esquerdo do banco (Figura 11) para a frente, faça deslizar o banco para a posição desejada e liberte a alavanca para o fixar em posição.

Feche a válvula de bloqueio do combustível (Figura 12) antes de guardar a máquina ou de a transportar num atrelado.

Note: As especificações e o desenho do produto estão sujeitos a alterações sem aviso prévio.
| Largura sem acessório | 148 cm |
| Largura com ancinho, modelo 08751 | 191 cm |
| Comprimento sem acessório | 164 cm |
| Altura | 115 cm |
| Distância entre eixos | 109 cm |
| Peso líquido | |
| Modelo 08703 | 452 kg |
| Modelo 08705 | 461 kg |
Está disponível uma seleção de engates e acessórios aprovados pela Toro para utilização com a máquina, para melhorar e expandir as suas capacidades. Contacte o seu representante ou distribuidor de assistência autorizado ou vá a www.Toro.com para obter uma lista de todos os engates e acessórios aprovados.
Para melhor proteger o seu investimento e manter um ótimo desempenho do seu equipamento Toro, utilize peças genuínas Toro. No que diz respeito a fiabilidade, a Toro oferece peças de substituição concebidas com as especificações exatas do nosso equipamento. Para maior tranquilidade, insista em peças genuínas Toro.
Note: Determine os lados direito e esquerdo da máquina a partir da posição normal de utilização.
Leia atentamente as instruções de segurança e o teor dos símbolos na secção Segurança. Esta informação pode contribuir para evitar que o utilizador e outras pessoas sofram acidentes.
O funcionamento em relva molhada ou inclinações íngremes pode causar deslizamento e perda de controlo.
Se a máquina tombar nas bordas dos declives, esta pode capotar e provocar lesões graves, morte ou afogamento.
Leia e respeite as instruções e os avisos sobre proteção contra capotamento.
Para evitar perda de controlo e a possibilidade de capotamento:
Não utilize perto de depressões ou de água.
Nos declives, reduza a velocidade e tenha o máximo de cuidado.
Evite mudanças bruscas de velocidade ou direção.
Esta máquina produz níveis de ruído que podem provocar perda de audição caso se utilize durante longos períodos de operação.
Deverá utilizar proteção auditiva quando utilizar este máquina.
Recomenda-se a utilização de equipamento de proteção para os olhos, mãos, ouvidos, pés e cabeça.

| Intervalo de assistência | Procedimento de manutenção |
|---|---|
| Após as pimeiras 20 horas |
|
| Em todas as utilizações ou diariamente |
|
O motor é fornecido com óleo no cárter; no entanto, tem de verificar o nível do óleo antes e depois de ligar o motor.
A capacidade do cárter é de cerca de 1,66 litros com o filtro.
Utilize óleo de motor de alta qualidade que satisfaça as seguintes especificações:
Nível de classificação API: SL ou superior
Óleo preferido: SAE 30 – acima de 4°C
Estacione a máquina numa superfície nivelada, desligue o motor, engate o travão de estacionamento e retire a chave.
Rode o banco para a frente.
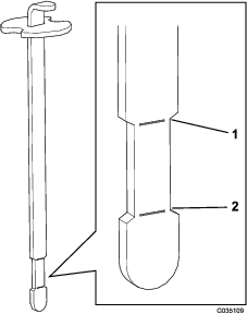
Puxe a vareta (Figura 14) e limpe-a com um pano limpo.

Volte a colocar a vareta no tubo e verifique se está completamente introduzida. Retire a vareta do tubo e verifique o nível de óleo. Se o nível de óleo estiver baixo, retire o tampão de enchimento da cobertura da válvula e lentamente adicione óleo suficiente para elevar o nível de óleo até à marca Cheio, existente na vareta.
Important: Certifique-se de que mantém o nível do óleo entre os limites superior e inferior no indicador do óleo. Podem ocorrer avarias no motor em resultado de se encher com óleo do motor a mais ou a menos.
Volte a introduzir a vareta no tubo.
Important: A vareta tem de estar completamente inserida no tubo para ser um vedante adequado do cárter do motor. Se o cárter não ficar bem vedado, isso pode resultar em danos do motor.
Rode o banco para baixo.
Capacidade do depósito de combustível: 25 litros
Combustível recomendado:
Para melhores resultados, utilizar apenas gasolina limpa, fresca (com menos de 30 dias) e sem chumbo com uma classificação de octanas de 87 ou superior (método de classificação (R+M)/2).
Etanol: Gasolina com até 10% de etanol (gasool) ou 15% MTBE (éter-metil-tercio-butílico) por volume é aceitável. Etanol e MTBE não são a mesma coisa. Gasolina com 15% de etanol (E15) por volume não é aprovada para utilização. Nunca utilize gasolina que contenha mais de 10% de etanol por volume como, por exemplo, E15 (contém 15% etanol), E20 (contém 20% etanol) ou E85 (contém até 85% de etanol). A utilização de gasolina não aprovada pode causar problemas de desempenho e/ou danos no motor, que poderão não ser abrangidos pela garantia.
Não utilizar gasolina que contenha metanol.
Não guardar combustível nem no depósito do combustível nem em recipientes de combustível durante o inverno, a não ser que seja utilizado um estabilizador de combustível.
Não adicionar petróleo à gasolina.
Important: Não utilize aditivos de combustível para além de um estabilizador/condicionador de combustível. Não utilize estabilizadores de combustível com uma base de álcool como, por exemplo, etanol, metanol ou isopropanol.
Em determinadas condições durante o abastecimento, a eletricidade estática pode provocar uma faísca que pode inflamar os vapores do combustível. Um incêndio ou explosão provocado(a) por combustível pode resultar em queimaduras e danos materiais.
Coloque sempre os recipientes de combustível no chão, longe do veículo, antes de os encher.
Não encha os recipientes de combustível no interior de uma carrinha, outro veículo ou um atrelado, porque os revestimentos do interior ou a cobertura de plástico da carrinha podem isolar o recipiente e abrandar a perda de energia estática do mesmo.
Sempre que possível, retire a máquina a abastecer do veículo ou do atrelado e encha o depósito da máquina com as respetivas rodas no chão.
Se tal não for possível, abasteça a máquina no veículo ou no atrelado a partir de um recipiente portátil e não do bico de abastecimento normal.
Se tiver de utilizar um bico de abastecimento, mantenha-o em contacto permanente com o anel exterior do depósito de combustível ou com abertura do recipiente até concluir a operação.
O combustível pode ser prejudicial ou mesmo fatal quando ingerido. A exposição prolongada a vapores pode provocar lesões graves ou doenças.
Evite inalar vapores durante muito tempo.
Mantenha a cara afastada do bico e do depósito de combustível ou da abertura do condicionador.
Mantenha o combustível afastado dos olhos e da pele
Limpe a zona em torno do tampão do depósito de combustível (Figura 15).
Retire a tampa do depósito de combustível.
Encha o depósito até 25 mm abaixo do cimo do depósito (fundo do tubo de enchimento). Não encha demasiado.

Coloque o tampão.
Para evitar um incêndio, limpe todos os vestígios de combustível derramado.
Important: Nunca utilize metanol, gasolina com metanol, nem gasolina que contenha álcool e mais de 10% de etanol, porque pode danificar o sistema de combustível. Não misture óleo com gasolina.
| Intervalo de assistência | Procedimento de manutenção |
|---|---|
| Em todas as utilizações ou diariamente |
|
O reservatório é enchido na fábrica com aproximadamente 19 litros de fluido hidráulico de grande qualidade. A melhor altura para verificar o fluido hidráulico é quando está frio. A máquina deve estar na configuração de transporte. Se o nível de fluido estiver exatamente na marca ou abaixo da marca Adicionar na vareta, adicione óleo até o nível atingir o meio do intervalo aceitável. Não encha demasiado o reservatório. Se o nível de fluido se encontrar entre as marcas Cheio e Adicionar, não é necessário adicionar fluido. Verifique o nível de fluido hidráulico antes de ligar o motor pela primeira vez e diariamente a partir daí.
O fluido de substituição recomendado é o seguinte:
| Fluido hidráulico Toro Premium All Season (disponível em recipientes de 19 l ou tambores de 208 l — ver documentação de peças ou distribuidor Toro para obter as referências das peças) |
Fluido hidráulico recomendado: Fluido hidráulico Toro Premium All Season
Fluidos alternativos: Se não estiver disponível fluido Toro podem utilizar-se outros fluídos convencionais, à base de petróleo, desde que satisfaçam todas as seguintes propriedades de material e especificações industriais. Consulte o seu fornecedor de fluido para saber se o fluido satisfaz estas especificações.
Note: A Toro não assume a responsabilidade por danos causados devido ao uso de substitutos inadequados, pelo que recomendamos a utilização exclusiva de produtos de fabricantes com boa reputação no mercado.
| Fluido hidráulico antidesgaste com índice de viscosidade elevada/ponto de escoamento baixo, ISO VG 46 multigrau | |
| Propriedades do material: | |
| Viscosidade, ASTM D445 | cSt a 40°C 44 a 48cSt a 100°C 7,9 a 9,1 |
| Índice de viscosidade ASTM D2270 | 140 ou superior |
| Ponto de escoamento, ASTM D97 | -37°C a -45°C |
| FZG, Nível de falha | 11 ou superior |
| Conteúdo de água (novo fluido): | 500 ppm (máximo) |
| Especificações industriais: | |
| Vickers I-286-S, Vickers M-2950-S, Denison HF-0, Vickers 35 VQ 25 (Eaton ATS373-C) | |
Os fluidos hidráulicos adequados têm de ser específicos para maquinaria móvel (por oposição à utilização em unidades industriais), tipo multidensidade, com o pacote de aditivo antidesgaste ZnDTP ou ZDDP (não um fluido tipo sem cinzas).
Important: A maioria dos fluidos é incolor, o que dificulta a deteção de fugas. Encontra-se à sua disposição um aditivo vermelho para o fluido do sistema hidráulico, em recipientes de 20 ml. Um recipiente é suficiente para 15 a 22 litros de fluido hidráulico. Poderá encomendar a peça nº. 44-2500 junto do seu distribuidor Toro autorizado.
Fluido hidráulico sintético, biodegradável
(disponível em recipientes de 19 litros ou tambores de 208 litros – ver documentação de peças ou distribuidor Toro para obter as referências das peças)
Este fluido sintético e biodegradável de alta qualidade foi testado e considerado compatível com este modelo Toro. Outras marcas de fluido sintético podem apresentar problemas de compatibilidade de vedante e a Toro não pode assumir a responsabilidade por substituições não autorizadas.
Note: Este fluido sintético não é compatível com o fluido biodegradável Toro previamente vendido. Contacte o distribuidor autorizado Toro para obter mais informação.
Fluidos alternativos:
Mobil EAL Envirosyn H 46 (EUA)
Mobil EAL Hydraulic Oil 46 (internacional)
Estacione a máquina numa superfície nivelada, desligue o motor, engate o travão de estacionamento e retire a chave.
Limpe a área em torno da tampa do reservatório de óleo hidráulico para evitar que entrem detritos no depósito (Figura 16).

Retire a tampa do reservatório.
Retire a vareta do tubo de enchimento e limpe-a com um pano limpo.
Introduza a vareta no tubo de enchimento, retire-a e verifique o nível do fluido.
Note: O nível de fluido deve situar-se entre as marcas superior e inferior (área assinalada) da vareta (Figura 17).

Se o nível de fluido estiver baixo, lentamente, encha o reservatório com fluido hidráulico adequado até o nível atingir a área assinalada na vareta.
Note: Não encha demasiado o reservatório.
Coloque a tampa do reservatório.
Important: Para evitar a contaminação do sistema, limpe as tampas dos recipientes de óleo hidráulico antes de as perfurar. Certifique-se de que o bocal de enchimento e o funil estão limpos.
| Intervalo de assistência | Procedimento de manutenção |
|---|---|
| Em todas as utilizações ou diariamente |
|
Verifique a pressão dos pneus antes de colocar a máquina a funcionar (Figura 18). A pressão de ar correta nos pneus dianteiros e traseiros é:
Pneus recauchutados: 0,70 bar
Note: Se for necessária tração adicional para funcionamento da lâmina, reduza a pressão para 0,55 bar.
Pneus macios: 0,55 a 0,70 bar

| Intervalo de assistência | Procedimento de manutenção |
|---|---|
| Após as pimeiras 8 horas |
|
| A cada 100 horas |
|
Aperte as porcas de rodas com 95 a 122 N m.
Retire o pé do pedal de tração, certifique-se de que este se encontra na posição PONTO MORTO e engate o travão de estacionamento.
Empurre a alavanca do ar para a frente para a posição LIGAR (só quando arrancar a frio) e a alavanca do acelerador para a posição LENTO.
Important: Quando utilizar a máquina em temperaturas inferiores a 0°C deixe a máquina aquecer antes de a utilizar. Isto impede que se danifique o hidróstato e o aro de tração.
Insira a chave na ignição e rode-a no sentido horário para ligar o motor. Liberte a chave quando o motor entrar em funcionamento.
Note: Regule a alavanca do ar para manter o motor a trabalhar suavemente.
Important: Para evitar sobreaquecimento do motor de arranque, não ative o motor de arranque mais de 10 segundos. Após 10 segundos de arranque contínuo, aguarde 60 segundos antes de ativar novamente o motor de arranque.
Para desligar o motor, desloque a alavanca do acelerador para a posição LENTO e rode a chave da ignição para a posição DESLIGAR.
Note: Retire a chave da ignição para evitar qualquer arranque acidental.
Feche a válvula de bloqueio do combustível antes de guardar a máquina.
Inspecionar a máquina com o motor a funcionar pode causar ferimentos.
Desligue o motor e aguarde até que todas as peças se encontrem imóveis antes de verificar se existem fugas de óleo, peças soltas ou quaisquer outros problemas.
A máquina poderá arrancar inesperadamente, se os interruptores de segurança se encontrarem desligados ou danificados, e provocar lesões pessoais.
Não modifique os interruptores de segurança.
Verifique o funcionamento dos interruptores diariamente e substitua todos os interruptores danificados antes de utilizar a máquina.
O objetivo do sistema de bloqueio é o de evitar que o motor rode ou que entre em funcionamento, a menos que o pedal de tração esteja na posição PONTO MORTO. Além disto, o motor deve parar se o pedal de tração for movido ou para a frente ou para trás sem o operador estar sentado.
Estacione a máquina numa grande área aberta livre de detritos e de pessoas. Desligue o motor.
Sente-se no banco e engate o travão de estacionamento.
Pressione o pedal de tração para a frente e para trás enquanto tenta ligar o motor.
Note: Se o motor arrancar, isso significa que pode haver uma avaria no sistema de segurança. Repare-a de imediato.Se o motor não arrancar, o sistema está a funcionar corretamente.
Fique sentado no banco, com o pedal de tração na posição PONTO MORTO e o travão de estacionamento engatado e ligue o motor.
Levante-se do banco e, lentamente, carregue no pedal de tração.
Note: O motor deverá desligar ao fim de 1 a 3 segundos. Corrija o problema se o sistema não funcionar devidamente.
Em caso de emergência, é possível rebocar a máquina numa curta distância. No entanto, este procedimento não deve ser utilizado regularmente.
Important: Não reboque a máquina a uma velocidade superior a 1,6 km/h porque o sistema de transmissão pode sofrer danos. Se for necessário deslocar a máquina uma distância superior a 50 metros, deverá utilizar uma carrinha ou um atrelado. Os pneus podem bloquear, se a máquina for rebocada demasiado depressa. Se isto ocorrer, pare de rebocar a máquina e espere que a pressão do circuito de tração estabilize, antes de voltar a rebocar a uma velocidade mais lenta.
Os novos motores requerem tempo para desenvolver a potência máxima. Os sistemas de transmissão têm mais fricção quando são novos, exercendo uma carga adicional sobre o motor.
Conceda as primeiras 8 horas de tempo de funcionamento para os período de rodagem.
Uma vez que as primeiras horas de funcionamento são cruciais para o futuro da máquina, controle as suas funções e desempenho de forma a que possa detetar e corrigir pequenos problemas, que podem originar problemas mais graves. Inspecione a máquina frequentemente durante o período de rodagem para detetar indícios de fuga de óleo, dispositivos de fixação desapertados ou qualquer outra avaria.
Consulte o Manual do utilizador do acessório para instruções específicas do funcionamento do acessório.
Pratique a condução da máquina porque as suas características de funcionamento das de alguns veículos utilitários. Dois pontos a tomar em consideração quando utilizar o veículo são a transmissão e a velocidade.
Para manter as rotações do motor, de certo modo, constantes, pressione o pedal de tração lentamente. O mesmo permite que o motor mantenha a velocidade do veículo. Inversamente, pressionar demasiado depressa o pedal de tração reduz a velocidade do motor e, consequentemente, não haverá binário suficiente para mover o veículo. Por conseguinte, para transferir a máxima potência para as rodas, mova o acelerador para RáPIDO e pressione ligeiramente o pedal de tração. Em comparação, a velocidade máxima sem carga resulta quando o acelerador está na posição RáPIDO e o pedal de tração é pressionado lenta, mas totalmente. Mantenha sempre a velocidade do motor suficientemente alta para poder transmitir um binário máximo para as rodas.
O funcionamento da máquina exige atenção para evitar o capotamento e a perda de controlo.
Tenha cuidado quando entrar e sair de bancos de areia.
Tenha muito cuidado perto de valas, cursos de água ou o outros obstáculos.
Tome cuidado ao conduzir a máquina em declives pronunciados.
Reduza a velocidade ao descrever curvas pronunciadas ou ao inverter a marcha em declives.
Evite paragens e arranques bruscos.
Não inverta a direção sem que o veículo se encontre completamente parado.
Note: Se o adaptador de acessórios ficar preso ao adaptador da unidade de tração, insira um pé de cabra/uma chave de parafusos na ranhura de apoio para desencravar as peças (Figura 19).

Note: Determine os lados direito e esquerdo da máquina a partir da posição normal de utilização.
Se deixar a chave na ignição, alguém pode ligar acidentalmente o motor e feri-lo a si ou às pessoas que se encontrarem próximo da máquina.
Retire a chave da ignição antes de fazer qualquer revisão.
| Intervalo de assistência | Procedimento de manutenção |
|---|---|
| Após as pimeiras 8 horas |
|
| Após as pimeiras 20 horas |
|
| Em todas as utilizações ou diariamente |
|
| A cada 25 horas |
|
| A cada 100 horas |
|
| A cada 200 horas |
|
| A cada 400 horas |
|
| A cada 800 horas |
|
| A cada 1500 horas |
|
Important: Para informações detalhadas sobre os procedimentos de manutenção adicionais, consulte o Manual do utilizador do motor.
Copie esta página para uma utilização de rotina.
| Verificações de manutenção | Para a semana de: | ||||||
|---|---|---|---|---|---|---|---|
| Seg. | Ter. | Qua. | Qui. | Sex. | Sáb. | Dom. | |
| Verifique o funcionamento dos interruptores de segurança. | |||||||
| Verifique o funcionamento da direção. | |||||||
| Verifique o nível de combustível. | |||||||
| Verifique o nível do óleo do motor. | |||||||
| Verifique o estado do filtro de ar. | |||||||
| Limpe as aletas de arrefecimento do motor. | |||||||
| Verifique os ruídos estranhos do motor. | |||||||
| Verifique os ruídos de funcionamento estranhos. | |||||||
| Verifique o nível do fluido hidráulico. | |||||||
| Verifique que os tubos hidráulicos se encontram danificados. | |||||||
| Verifique se há fuga de fluidos. | |||||||
| Verifique a pressão dos pneus. | |||||||
| Verifique o funcionamento do painel de instrumentos. | |||||||
| Retoque a pintura danificada. | |||||||
| Notas sobre zonas problemáticas | ||
| Inspeção executada por: | ||
| Item | Data | Informação |
Important: Os parafusos e porcas das coberturas desta máquina foram concebidos para permanecer na cobertura após remoção. Desaperte algumas voltas todos os parafusos de cada cobertura de forma a que a cobertura fique solta, mas ainda presa e então desaperte-os até que a cobertura saia completamente. Isto evita que perca acidentalmente os parafusos dos fixadores.
Os apoios mecânicos ou hidráulicos podem não conseguir apoiar a máquina e provocar ferimentos graves.
Utilize macacos para suportar a máquina.
Os pontos de suspensão são os seguintes:
A máquina possui bocais de lubrificação que deverão ser lubrificados regularmente com massa lubrificante nº 2 para utilizações gerais, à base de lítio, a cada 100 horas de funcionamento.
Os rolamentos e casquilhos seguintes têm de ser lubrificados:
Rolamento da roda dianteira (1) (Figura 22)

Articulação do pedal de tração (1) (Figura 23)

Engate traseiro (5) (Figura 24)

Extremidade da haste do cilindro de direção (1 – apenas modelo 08705 (Figura 25)

Articulação da direção (Figura 26)
Note: O bocal de embeber na articulação da direção (Figura 26) necessita de um adaptador de bico de pistola de pulverização. Encomende a peça nº 107-1998 da Toro ao seu distribuidor autorizado Toro.

| Intervalo de assistência | Procedimento de manutenção |
|---|---|
| A cada 100 horas |
|
Limpe os bocais de lubrificação de modo a evitar a entrada de matérias estranhas no rolamento ou casquilho.
Introduza massa lubrificante no rolamento ou casquilho.
Limpe a massa lubrificante em excesso.
| Intervalo de assistência | Procedimento de manutenção |
|---|---|
| Após as pimeiras 20 horas |
|
| A cada 100 horas |
|
Estacione a máquina numa superfície nivelada, desligue o motor, engate o travão de estacionamento e retire a chave.
Retire o tampão de escoamento (Figura 27) e deixe o óleo escorrer para um recipiente adequado. Quando o óleo parar, volte a montar o tampão de escoamento.

Retire o filtro do óleo (Figura 27).
Aplique uma leve camada de óleo limpo na junta do novo filtro.
Aparafuse o filtro manualmente até que a gaxeta entre em contacto com o adaptador do filtro; em seguida deverá apertar mais 1/2 ou 3/4 de volta.
Important: Não aperte demasiado o filtro.
Junte óleo ao cárter, consulte Verificação do nível de óleo do motor.
O óleo usado deve ser eliminado de forma adequada.
| Intervalo de assistência | Procedimento de manutenção |
|---|---|
| A cada 200 horas |
|
Verifique se existe algum dano no corpo do filtro de ar que possa provocar uma fuga de ar. Substitua quaisquer componentes danificados. Verifique todo o sistema de admissão para ver se tem fugas, se está danificado ou se há braçadeiras de tubos soltas.
Não mude o filtro de ar antes de ser necessário; fazê-lo apenas aumenta a possibilidade de entrar sujidade no motor quando se retira o filtro.
Certifique-se de que a cobertura está corretamente assente e veda com o corpo do filtro de ar.
| Intervalo de assistência | Procedimento de manutenção |
|---|---|
| A cada 200 horas |
|
Liberte os trincos que fixam a cobertura do filtro de ar ao respetivo corpo (Figura 28).

Retire a cobertura do corpo do filtro de ar.
Antes de remover o filtro, utilize ar de baixa pressão (2,76 bar, limpo e seco) para ajudar a retirar grandes acumulações de detritos que se encontram entre o lado de fora do filtro primário e o recipiente.
Important: Evite a utilização de ar de alta pressão, que pode forçar a entrada de sujidade no sistema de admissão através do filtro. Este processo de limpeza evita que a sujidade passe para dentro da admissão quando se retira o filtro principal.
Retire e substitua o filtro.
Note: Inspecione o filtro novo para ver se sofreu danos durante o transporte, verificando a extremidade vedante do filtro e o corpo. Não utilize um elemento danificado. Insira um filtro novo pressionando o anel exterior do elemento para o assentar no recipiente. Não pressione no centro flexível do filtro.
Note: Não se recomenda a limpeza do elemento usado devido à possibilidade de danos no meio de filtragem.
Limpe a porta de ejeção de sujidade que se encontra na tampa amovível.
Retire a válvula de saída em borracha da tampa, limpe a cavidade, e volte a colocar a válvula de saída.
Instale a tampa orientando a válvula de saída de borracha para uma posição descendente – entre cerca das 5 horas e das 7 horas quando vista da extremidade.
Prenda os trincos.
| Intervalo de assistência | Procedimento de manutenção |
|---|---|
| A cada 800 horas |
|
Tipo: Champion RC 14YC (ou equivalente)
Folga: 0,76 mm
Note: Normalmente, uma vela possui uma vida útil bastante longa; no entanto, deverá removê-la e verificá-la sempre que o motor apresentar sinais de avaria.
Limpe a zona em redor de cada vela, de modo a evitar a penetração de matérias estranhas no cilindro quando retirar a vela.
Desligue os cabos das velas de ignição das velas de ignição e retire as velas da cabeça do cilindro.
Verifique o estado dos elétrodos lateral e central, bem como do isolante, certificando-se de que não se encontram danificados.
Important: Uma vela de ignição partida, reparada, suja ou danificada deverá ser substituída imediatamente. Não lixe, raspe ou limpe elétrodos utilizando uma escova de arame porque as limalhas libertadas com essa operação poderão cair para dentro do cilindro. O resultado será sempre um motor danificado.
Ajuste a folga existente entre o elétrodo central e os elétrodos laterais para 0,76 mm; consulte Figura 29. Monte a vela com a folga correta com o vedante e aperte-a com uma força de 23 N·m. Se não utilizar uma chave de aperto, aperte bem a vela.

| Intervalo de assistência | Procedimento de manutenção |
|---|---|
| A cada 800 horas |
|
Existe um filtro no interior da tubagem de combustível. Siga os procedimentos seguintes, quando for necessária a substituição:
Feche a válvula de bloqueio do combustível, liberte a braçadeira de tubos que se encontra no carburador, na zona do filtro, e retire a tubagem de combustível do filtro (Figura 30).

Coloque um recipiente de drenagem debaixo do filtro, liberte as braçadeiras de tubos e retire o filtro.
Monte um novo filtro, tendo o cuidado para virar a seta, que se encontra no corpo do filtro, para longe do depósito de combustível (na direção do carburador).
Coloque as braçadeiras de tubos nas extremidades das tubagens de combustível.
Introduza as tubagens no filtro de combustível e fixe-as com as braçadeiras.
Note: Certifique-se de que a seta existente na zona lateral do filtro se encontra virada para o carburador.
Os bornes, terminais e restantes acessórios da bateria contêm chumbo e derivados de chumbo; é do conhecimento do Estado da Califórnia que estes químicos podem provocar cancro e problemas reprodutivos. Lave as mãos após a operação.
Se tiver de efetuar o arranque da máquina com cabos de bateria, o borne positivo alternativo (que se encontra no solenoide de arranque) pode ser utilizado em vez do borne de bateria positivo (Figura 31).

O bloco de fusíveis (Figura 32) encontra-se debaixo do banco.

| Intervalo de assistência | Procedimento de manutenção |
|---|---|
| A cada 25 horas |
|
Mantenha o nível adequado do eletrólito da bateria e a zona superior da bateria limpa. Se guardar a máquina num local onde as temperaturas sejam muito elevadas, a bateria perde a sua carga mais rapidamente do que num ambiente mais fresco.
O eletrólito da bateria contém ácido sulfúrico, uma substância extremamente venenosa que é fatal e causa queimaduras graves.
Não ingira a solução eletrolítica.
Evite qualquer contacto com a pele, olhos e roupas. Utilize óculos de proteção para proteger os olhos e luvas de borracha para proteger as mãos.
Ateste a bateria apenas em locais onde exista água limpa para lavar as mãos.
Mantenha a zona superior da bateria limpa, lavando-a periodicamente com uma escova molhada em amónia ou numa solução de bicarbonato de sódio. Após a sua limpeza, enxagúe a superfície superior da bateria com água. Não retire a tampa de enchimento durante a limpeza.
Os cabos da bateria deverão encontrar-se bem apertados, de modo a proporcionar um bom contacto elétrico.
A ligação incorreta dos cabos da bateria poderá danificar o veículo e os cabos, produzindo faíscas. As faíscas podem provocar uma explosão dos gases da bateria, resultando em acidentes pessoais.
Desligue sempre o cabo negativo (preto) antes de desligar o cabo positivo (vermelho).
Ligue sempre o cabo positivo (vermelho) antes de ligar o cabo negativo (negro).
Se verificar que existe corrosão nos terminais da bateria, desligue os cabos – o cabo negativo (-) em primeiro lugar – e raspe os contactos e os terminais separadamente. Ligue os cabos, o cabo positivo (+) em primeiro lugar, e aplique vaselina nos terminais.
Deverá verificar o nível do eletrólito da bateria a cada 25 horas de funcionamento ou, se a máquina se encontrar guardada, mensalmente.
O nível das células deverá ser mantido utilizando água destilada ou desmineralizada. Não encha as células acima da linha de enchimento.
Se a máquina se mover enquanto o pedal de tração estiver na posição neutra, ajuste o excêntrico da tração.
Estacione a máquina numa superfície nivelada, desligue o motor, engate o travão de estacionamento e retire a chave.
Desaperte os dois parafusos que fixam o resguardo central à máquina e retire o resguardo (Figura 33).

Levante a roda da frente e uma das rodas traseiras e coloque suportes debaixo do chassis.
Para que a máquina não se mexa durante o ajuste, terá de ser levantada a roda dianteira e uma roda traseira. Isto pode causar que a máquina caia e fira alguém debaixo da máquina.
Certifique-se de que a máquina está bem apoiada, com a roda da frente e uma roda traseira levantada do chão.
Desaperte a porca de bloqueio no excêntrico de tração (Figura 34).

O motor tem de estar a funcionar para que se possa efetuar um ajuste final no excêntrico de tração. Tocar em peças em movimento ou quentes pode provocar lesões graves.
Mantenha as mãos, pés, cara e outras partes do corpo afastadas dos componentes em rotação, da panela de escape e de outras superfícies quentes.
Ligue o motor e rode o excêntrico sextavado (Figura 34) em ambas as direções para determinar a posição intermédia do ponto morto.
Aperte a porca de bloqueio para manter o ajuste.
Desligue o motor.
Instale o resguardo central.
Retire os apoios e baixe a máquina.
Teste a máquina para se certificar de que esta não se movimenta quando o pedal de tração está na posição de ponto morto.
Ajuste a transmissão para neutro; consulte Ajuste da posição neutra da transmissão de tração.
Ative a alavanca da bomba para se certificar de que todas as peças funcionam e assentam corretamente.
Ajuste o parafuso até a folga de ar ser de 0,8 a 2,3 mm; consulte Figura 34.
Verifique o correto funcionamento.
O pedal de tração é ajustado de acordo com a velocidade máxima de transporte e marcha-atrás, mas talvez seja necessário proceder a um novo ajuste se o pedal atingir o curso máximo antes de a alavanca da bomba atingir o curso máximo ou se desejar reduzir a velocidade de transporte.
Para obter a velocidade máxima de transporte, carregue para baixo no pedal de tração. Se o pedal entrara em contacto com o batente (Figura 35) antes de a alavanca da bomba atingir o curso máximo, ajuste-o:

Estacione a máquina numa superfície nivelada, desligue o motor, engate o travão de estacionamento e retire a chave.
Desaperte a porca que prende o batente do pedal.
Aperte o batente do pedal até deixar de estar em contacto com o pedal de tração.
Continue a aplicar uma ligeira carga no pedal de transporte e ajuste o batente do pedal de modo a que entre em contacto ou haja uma folga de 2,5 mm entre a haste do pedal e o batente.
Aperte as porcas.
Estacione a máquina numa superfície nivelada, desligue o motor, engate o travão de estacionamento e retire a chave.
Desaperte a porca que prende o batente do pedal.
Aperte o batente do pedal até se obter a velocidade de transporte desejada.
Aperte a porca que prende o batente do pedal.
A placa de detenção da alavanca de elevação (Figura 37) pode ser ajustada se o engate não ficar suspenso devidamente (seguir o desnível do terreno) durante o funcionamento.
Estacione a máquina numa superfície nivelada, desligue o motor, engate o travão de estacionamento e bloqueie as rodas.
Retire os quatro parafusos que fixam o painel de controlo à estrutura (Figura 36).

Desaperte os dois parafusos que prendem a placa de detenção ao guarda-lamas e estrutura.

O motor tem de estar a funcionar para que se possa ajustar a placa de detenção. Tocar em peças em movimento ou quentes pode provocar lesões graves.
Mantenha as mãos, pés, cara e outras partes do corpo afastadas dos componentes em rotação, da panela de escape e de outras superfícies quentes.
Ligue o motor.
Com o motor a trabalhar e a alavanca de elevação na posição SUSPENSA, deslize a placa de detenção até o cilindro de elevação poder ser estendido e retraído à mão.
Aperte ambos os parafusos de montagem para manter o ajuste.
O funcionamento adequado do regulador depende do ajuste adequado da alavanca do acelerador. Antes de ajustar o carburador, certifique-se de que a alavanca do acelerador está a funcionar corretamente.
Rode o banco para cima.
Desaperte o parafuso de fixação do cabo do acelerador ao motor (Figura 38).

Desloque a alavanca de controlo do acelerador para a posição RáPIDO.
Puxe o cabo do acelerador até que a zona traseira da cavilha entre em contacto com o batente (Figura 38).
Aperte o parafuso do grampo do cabo e verifique a velocidade do motor:
Ralenti alto: 3.350 a 3.450 rpm
Ralenti baixo: 1.650 a 1.850 rpm
Rode o banco para cima.
Desaperte o parafuso de fixação do cabo da alavanca do ar que prende o cabo ao motor (Figura 38).
Desloque a alavanca de controlo do ar para a frente para a posição FECHAR.
Puxe o cabo do ar (Figura 38) até que a borboleta se encontre completamente fechada e, em seguida, aperte o parafuso de fixação do cabo.
Important: Antes de efetuar o ajuste do controlo de velocidade do governador do motor, deverá efetuar o ajuste das alavancas do acelerador e do ar.
O motor deverá encontrar-se em funcionamento durante o ajuste do controlo de velocidade do governador do motor. Tocar em peças em movimento ou quentes pode provocar lesões graves.
Certifique-se de que o pedal de tração está em neutro e engate o travão de estacionamento, antes de efetuar este procedimento.
Mantenha mãos, pés, roupa e outras partes do corpo afastadas de quaisquer componentes em rotação, da panela de escape e de outras superfícies quentes.
Note: Para ajustar o ralenti baixo, proceda a todos os passos seguintes. Se tiver de ajustar apenas o ralenti elevado, avance diretamente para o passo 5.
Ligue o motor e deixe-o funcionar a uma velocidade intermédia durante cerca de 5 minutos para aquecer.
Desloque a alavanca do acelerador para a posição LENTO. Ajuste o parafuso do batente intermédio no sentido contrário ao dos ponteiros do relógio até deixar de estar em contacto com a alavanca do acelerador.
Dobre o batente da mola de velocidade intermédia (Figura 39) até obter uma velocidade de 1.675 ± 1.175 rpm.
Note: Verifique a velocidade com um tacómetro.

Ajuste o parafuso do batente intermédio até a velocidade intermédia atingir 25 a 50 rpm da velocidade intermédia definida no passo 3.
Note: A velocidade do ralenti final tem de ser de 1.650 ± 1.850 rpm.
Desloque a alavanca do acelerador para a posição RáPIDO.
Dobre o batente da mola de velocidade elevada (Figura 39) até obter uma velocidade de 3.350 ± 3.450 rpm.
| Intervalo de assistência | Procedimento de manutenção |
|---|---|
| Após as pimeiras 8 horas |
|
| A cada 400 horas |
|
Utilize um filtro Toro genuíno para substituição.
Estacione a máquina numa superfície nivelada, desligue o motor, engate o travão de estacionamento e retire a chave.
Desaperte os dois parafusos que fixam o resguardo central à máquina e retire o resguardo (Figura 40).

Coloque um recipiente de escoamento debaixo do filtro hidráulico, que se encontra no lado esquerdo da máquina (Figura 41).

Limpe a zona de montagem do filtro. Coloque um recipiente de escoamento debaixo do filtro. Desaperte lentamente, mas sem retirar, o filtro hidráulico até o óleo passar pela gaxeta e pingar pela zona lateral do filtro.
Note: Se a máquina estiver equipada com um kit hidráulico remoto, a tubagem de sucção pode ser retirada da bomba para drenar o fluido hidráulico.
Retire o filtro quando o fluxo de fluido abrandar.
Lubrifique a junta do filtro de substituição com o fluido hidráulico e gire-a à mão até a junta entrar em contacto com a cabeça do filtro. Em seguida, aperte mais 3/4 de volta.
Note: O filtro deve estar vedado.
Encha o depósito hidráulico com óleo hidráulico até o nível atingir a área assinalada na vareta. Não encha demasiado o depósito. Consulte Verificação do nível do fluido hidráulico.
Ligue e faça o motor trabalhar. Faça funcionar o cilindro de elevação até se estender e recolher e se obter um movimento de rodas para a frente e para trás.
Desligue o motor e verifique o nível de fluido no depósito, adicione mais fluido, se necessário.
Verifique se existem fugas nas ligações.
Instale o resguardo central.
O óleo usado deve ser eliminado de forma adequada.
| Intervalo de assistência | Procedimento de manutenção |
|---|---|
| Em todas as utilizações ou diariamente |
|
Verifique diariamente os tubos e tubos hidráulicos, prestando especial atenção a fugas, tubagens dobradas, suportes soltos, desgaste, juntas soltas e danos provocados pelas condições atmosféricas ou por agentes químicos. Efetue todas as reparações necessárias antes de utilizar a máquina.
O fluido hidráulico que sai sob pressão pode penetrar na pele e provocar lesões.
Certifique-se de que todos os tubos e tubos hidráulicos se encontram em bom estado de conservação e que todas as ligações e uniões hidráulicas estão bem apertadas antes de colocar o sistema sob pressão.
Mantenha o seu corpo e mãos longe de fugas ou bicos que projetem fluido hidráulico sob pressão.
Utilize um pedaço de cartão ou papel para encontrar fugas do fluido hidráulico.
Elimine com segurança toda a pressão do sistema hidráulico antes de executar qualquer procedimento neste sistema.
Em caso de penetração do fluido na pele, consulte imediatamente um médico.
Sempre que um componente do sistema hidráulico for reparado ou substituído, substitua o filtro de óleo hidráulico e carregue o sistema hidráulico.
Certifique-se de que o reservatório hidráulico e o filtro estão cheios de fluido sempre que carregar o sistema hidráulico.
Estacione a máquina numa superfície nivelada, desligue o motor, engate o travão de estacionamento e retire a chave.
Desaperte os dois parafusos que fixam o resguardo central à máquina e retire o resguardo (Figura 42).

Levante a roda da frente e uma das rodas traseiras e coloque suportes debaixo do chassis.
Para que a máquina não se mexa durante o ajuste, terá de ser levantada a roda dianteira e uma roda traseira. Isto pode causar que a máquina caia e fira alguém debaixo da máquina.
Certifique-se de que a máquina está bem apoiada, com a roda da frente e uma roda traseira levantada do chão.
Ligue o motor e mova o acelerador para permitir que o motor trabalhe a aproximadamente 1.800 rpm.
Acione a alavanca da válvula de elevação até que a barra do cilindro de elevação se mova para dentro e para fora várias vezes. Se a barra do cilindro não se mover após 10 a 15 segundos ou se a bomba fizer sons anormais, desligue imediatamente o motor e identifique a causa do problema. Inspecione o seguinte:
Filtro ou tubos de sucção soltos
Acoplador na bomba solto ou com defeito
Tubo de sucção bloqueado
Válvula de descarga com carga defeituosa
Bomba com carga defeituosa
Se o cilindro se mover dentro de 10 a 15 segundos, avance para o passo 6.
Utilize o pedal de tração para a frente e em marcha-atrás. As rodas que fiquem levantadas do chão devem rodar na direção certa.
Se as rodas rodarem na direção errada, desligue o motor, retire os tubos da parte de trás da bomba e inverta as localizações.
Se as rodas rodarem na direção certa, desligue o motor e ajuste a mola ajustando o bloqueio do pino (Figura 43). Ajuste a posição neutra da tração; consulte Ajuste da posição neutra da transmissão de tração.

Verifique o ajuste do interruptor de tração; consulte Ajuste do interruptor de tração.
Instale o resguardo central.
| Intervalo de assistência | Procedimento de manutenção |
|---|---|
| Em todas as utilizações ou diariamente |
|
Depois de terminada a operação, lave exaustivamente a máquina com uma mangueira sem agulheta, para que o excesso de pressão da água não cause contaminação ou estragos nos vedantes e rolamentos.
Certifique-se de que as aletas de arrefecimento e a área em torno da entrada de ar de refrigeração do motor se mantêm livres de detritos.
Important: A limpeza do refrigerador de óleo com água poderá acelerar o processo de corrosão, causar danos a estes componentes e compactar os resíduos; consulte Limpeza do refrigerador de óleo.
Após a limpeza, inspecione a máquina para verificar a existência de eventuais fugas de fluido hidráulico, danos ou desgaste nos componentes hidráulicos e mecânicos.
| Intervalo de assistência | Procedimento de manutenção |
|---|---|
| A cada 400 horas |
|
Limpe bem a máquina, os acessórios e o motor.
Verificação da pressão dos pneus.
Verifique todas as juntas e aperte-as sempre que necessário.
Lubrifique todos os bocais de lubrificação e pontos de articulação. Limpe a massa lubrificante em excesso.
Lixe e retoque todas as zonas riscadas, estaladas ou enferrujadas.
Efetue a manutenção da bateria e dos cabos da seguinte forma:
Retire os terminais dos pólos da bateria.
Limpe a bateria, terminais e pólos com uma escova de arame e uma solução de bicarbonato de sódio.
Cubra os terminais do cabo e os pólos da bateria com lubrificante Grafo 112X (peça Toro nº 505-47) ou vaselina para evitar qualquer corrosão.
Carregue a bateria lentamente durante 24 horas, cada 2 meses, para evitar a sulfatização do chumbo da bateria.
Note: A gravidade específica de uma bateria totalmente carregada é de 1.250.
Note: Guarde a bateria num local fresco para evitar que a carga se deteriore mais rapidamente. Para evitar que a bateria congele, certifique-se de que esta se encontra completamente carregada.
Substitua o filtro e o óleo do motor. Consulte Substituição do óleo e do filtro do motor.
Ligue o motor e faça-o funcionar a uma velocidade de ralenti durante 2 minutos.
Limpe e efetue a manutenção da estrutura do filtro de ar. Consulte Manutenção do filtro de ar.
Vede a entrada do filtro de ar e a saída de gases com fita impermeável.
Verifique a tampa do tubo de enchimento de óleo e a tampa do depósito de combustível para garantir que se encontram corretamente colocadas.