| Périodicité d'entretien | Procédure d'entretien |
|---|---|
| Après les 20 premières heures de fonctionnement |
|
| À chaque utilisation ou une fois par jour |
|
Cette machine est un véhicule utilitaire autoporté prévu pour les utilisateurs professionnels employés à des applications professionnelles. Il est principalement conçu pour l'entretien des bunkers sur les terrains de golf et les terrains commerciaux bien entretenus.
Important: Pour maximiser la sécurité, les performances et le bon fonctionnement de cette machine, il est nécessaire de lire attentivement et de comprendre parfaitement le contenu de ce manuel de l'utilisateur. Vous risquez de vous blesser si vous ne respectez pas les instructions d'utilisation ou si vous ne suivez pas une formation appropriée. Pour plus de renseignements sur les consignes de sécurité, y compris les conseils de sécurité et les documents de formation, rendez-vous sur www.Toro.com.
Vous pouvez contacter Toro directement sur www.Toro.com pour tout document de formation à la sécurité et à l'utilisation des produits, pour tout renseignement concernant un produit ou un accessoire, pour obtenir l'adresse des concessionnaires ou pour enregistrer votre produit.
Pour obtenir des prestations de service, des pièces d'origine Toro ou des renseignements complémentaires, munissez-vous des numéros de modèle et de série du produit et contactez un concessionnaire-réparateur agréé ou le service client Toro. La Figure 1 indique l'emplacement des numéros de modèle et de série sur le produit. Inscrivez les numéros dans l'espace réservé à cet effet.
Important: Avec votre appareil mobile, vous pouvez scanner le QR code (le cas échéant) sur l'autocollant du numéro de série pour accéder aux renseignements sur la garantie, les pièces et autres informations concernant le produit.

Le symbole de sécurité (Figure 2) utilisé dans ce manuel et sur la machine identifie d'importants messages de sécurité dont vous devez tenir compte pour éviter des accidents.

Le symbole de sécurité apparaît au-dessus de toute information signalant des actions ou des situations dangereuses. Il est suivi de la mention DANGER, ATTENTION ou PRUDENCE
DANGER signale un danger immédiat qui, s'il n'est pas évité, entraînera obligatoirement des blessures graves ou mortelles.
ATTENTION signale un danger potentiel qui, s'il n'est pas évité, risque d'entraîner des blessures graves ou mortelles.
PRUDENCE signale un danger potentiel qui, s'il n'est pas évité, peut éventuellement entraîner des blessures légères ou modérées.
Ce manuel utilise également deux autres termes pour faire passer des informations essentielles : Important pour attirer l'attention sur des informations d'ordre mécanique spécifiques, et Remarque pour souligner des informations d'ordre général méritant une attention particulière.
Ce produit est conforme à toutes les directives européennes pertinentes. Pour plus de renseignements, reportez-vous à la Déclaration de conformité spécifique du produit fournie séparément.
Vous commettez une infraction à la section 4442 ou 4443 du Code des ressources publiques de Californie si vous utilisez cette machine dans une zone boisée, broussailleuse ou recouverte d'herbe à moins d'équiper le moteur d'un pare-étincelles en bon état, tel que défini à la section 4442, ou à moins de construire, équiper et entretenir le moteur de manière à prévenir les incendies.
Le manuel du propriétaire du moteur ci-joint est fourni à titre informatif concernant la réglementation de l'Agence américaine pour la protection de l'environnement (EPA) et la réglementation antipollution de l'état de Californie relative aux systèmes antipollution, à leur entretien et à leur garantie. Vous pouvez vous en procurer un nouvel exemplaire en vous adressant au constructeur du moteur.
CALIFORNIE
Proposition 65 - Avertissement
Les gaz d'échappement de ce produit contiennent des substances chimiques considérées par l'état de Californie comme susceptibles de provoquer des cancers, des malformations congénitales et autres troubles de la reproduction.
Les bornes de la batterie et accessoires connexes contiennent du plomb et des composés de plomb. L'état de Californie considère ces substances chimiques comme susceptibles de provoquer des cancers et des troubles de la reproduction. Lavez-vous les mains après avoir manipulé la batterie.
L'utilisation de ce produit peut entraîner une exposition à des substances chimiques considérées pas l'état de Californie comme capables de provoquer des cancers, des anomalies congénitales ou d'autres troubles de la reproduction.
Pour améliorer la traction, vous pouvez ajouter le kit masse 100-6442 à l'avant de la machine.
Note: Si la machine est équipée d'un chasse-neige ou d'un outil de levage frontal, le kit masse ne pourra pas être monté en raison d'une interférence physique.
Ce produit peut causer des blessures. Respectez toujours toutes les consignes de sécurité pour éviter des blessures graves.
L'utilisation de ce produit à d'autres fins que celle prévue peut être dangereuse pour vous-même et toute personne à proximité.
Vous devez lire et comprendre le contenu de ce Manuel de l'utilisateur avant de démarrer le moteur. Assurez-vous que tous les utilisateurs de ce produit en connaissent parfaitement le fonctionnement et ont bien compris les consignes de sécurité.
Accordez toute votre attention à l'utilisation de la machine. Ne faites rien d'autre qui puisse vous distraire, au risque de causer des dommages corporels ou matériels.
N'approchez pas les mains ou les pieds des composants mobiles de la machine.
N'utilisez pas la machine s'il manque des capots ou d'autres dispositifs de protection, ou s'ils sont endommagés.
N'autorisez personne à s'approcher de la machine pendant qu'elle se déplace.
N'admettez jamais d'enfants dans le périmètre de travail. N'autorisez jamais les enfants à utiliser la machine.
Arrêtez la machine et coupez le moteur avant de faire l'entretien ou le plein de carburant de la machine.
L'usage ou l'entretien incorrect de cette machine peut occasionner des accidents. Pour réduire les risques d'accidents et de blessures, respectez les consignes de sécurité qui suivent. Tenez toujours compte des mises en garde signalées par le symbole de sécurité (Figure 2) et la mention Prudence, Attention ou Danger. Le non respect de ces instructions peut entraîner des blessures graves ou mortelles.
Vous trouverez d'autres consignes de sécurité, le cas échéant, en vous reportant aux sections respectives dans ce Manuel de l'utilisateur.
![]() |
Des autocollants de sécurité et des instructions bien visibles par l'utilisateur sont placés près de tous les endroits potentiellement dangereux. Remplacez tout autocollant endommagé ou manquant. |








Note: Les côtés gauche et droit de la machine sont déterminés d'après la position d'utilisation normale.
Note: Retirez tous les supports et fixations utilisés pour le transport, et mettez-les au rebut.
Pièces nécessaires pour cette opération:
| Volant | 1 |
| Bague en mousse | 1 |
| Rondelle | 1 |
| Contre-écrou | 1 |
| Couvre-moyeu du volant | 1 |
Placez la roue avant en position ligne droite.
Glissez la bague en mousse sur l'arbre de direction (Figure 3) en commençant par la petite extrémité.

Glissez le volant sur l'arbre de direction (Figure 3).
Fixez le volant à l'arbre de direction avec une rondelle et un contre-écrou (Figure 3).
Serrez le contre-écrou à un couple de 27 à 35 N·m.
Poussez le couvre-moyeu en position sur le volant (Figure 3).
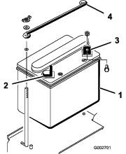
Retirez les 2 écrous à oreilles et rondelles qui fixent la tige de retenue supérieure aux tiges de retenue latérales de la batterie (Figure 4). Déposez la tige de retenue supérieure et déposez la batterie.

Pièces nécessaires pour cette opération:
| Électrolyte de 1,260 de densité (non comprise) | – |
Si la batterie n'est pas déjà remplie d'électrolyte ou activée, ajoutez de l’électrolyte de densité 1,265.
Note: Vous pouvez vous procurer de l'électrolyte en vrac auprès d'un détaillant spécialisé.
L'électrolyte contient de l'acide sulfurique, dont l'ingestion est mortelle et qui cause de graves brûlures.
Ne buvez jamais l'électrolyte et évitez tout contact avec les yeux, la peau ou les vêtements. Portez des lunettes de protection et des gants en caoutchouc.
Faites le plein d'électrolyte à proximité d'une arrivée d'eau propre, de manière à pouvoir rincer abondamment la peau en cas d'accident.
Enlevez les bouchons de remplissage des éléments de la batterie et versez lentement de l'électrolyte dans chaque élément jusqu'au repère de remplissage.
Remettez les bouchons en place et raccordez un chargeur de 3 à 4 A aux bornes de la batterie. Chargez la batterie au régime de 3 à 4 ampères durant 4 à 8 heures.
La batterie en charge produit des gaz qui peuvent exploser.
Ne fumez jamais à côté de la batterie et tenez-la à l'écart des flammes ou sources d'étincelles.
Une fois la batterie chargée, débranchez le chargeur du secteur et des bornes de la batterie. Laissez reposer la batterie 5 à 10 minutes.
Enlevez les bouchons de remplissage.
Versez lentement de l'électrolyte dans chaque élément jusqu'au repère de remplissage.
Important: Ne remplissez pas la batterie excessivement, car l'électrolyte déborda sur d'autres parties de la machine ce qui provoquera une grave corrosion et de gros dégâts.
Remettez les bouchons de remplissage.
Pièces nécessaires pour cette opération:
| Boulon (¼" x ⅝") | 2 |
| Contre-écrou (¼") | 2 |
Mettez la batterie en place en positionnant la borne négative vers l'arrière de la machine (Figure 5).

S'ils sont mal acheminés, les câbles de la batterie peuvent subir des dommages ou endommager la machine et produire des étincelles. Les étincelles peuvent provoquer l'explosion des gaz de la batterie et vous blesser.
Débranchez toujours le câble négatif (noir) de la batterie avant le câble positif (rouge).
Connectez toujours le câble positif (rouge) de la batterie avant le câble négatif (noir).
Les bornes de la batterie ou les outils en métal peuvent causer des courts-circuits au contact des pièces métalliques de la machine et produire des étincelles. Les étincelles peuvent provoquer l'explosion des gaz de la batterie et vous blesser.
Lors du retrait ou de la mise en place de la batterie, les bornes ne doivent toucher aucune partie métallique de la machine.
Évitez de créer des courts-circuits entre les bornes de la batterie et les parties métalliques de la machine avec des outils en métal.
Fixez le câble positif (rouge) à la borne positive (+) avec un boulon (¼" x ⅝") et un contre-écrou (Figure 6).

Fixez le petit câble noir et le câble négatif (noir) à la borne négative (-) de la batterie avec un boulon (¼" x ⅝") et un contre-écrou (¼") (Figure 6).
Enduisez les bornes et les fixations de vaseline pour éviter la corrosion.
Placez le capuchon en caoutchouc sur la borne positive (+) pour éviter les courts-circuits.
Placez la tige de retenue supérieure de la batterie sur les tiges de retenue latérales et fixez-la avec des rondelles et des écrous à oreilles.
Pièces nécessaires pour cette opération:
| Kit(s) masse(s) avant selon besoin | – |
Cette machine est conçue en conformité avec la norme ANSI B71.4-2017. Toutefois, lorsque des accessoires sont montés sur la machine, il peut être nécessaire d'une masse pour garantir la conformité aux normes.
Reportez-vous au tableau ci-dessous pour déterminer les combinaisons de masses supplémentaires requises. Commandez les pièces auprès de votre concessionnaire Toro agréé.
| Accessoire | Masse avant supplémentaire requise | Réf. kit de masse | Description | Qté |
|---|---|---|---|---|
| Kit aérateur (08755) | 23 kg | 100-6442 | Masse 8 x 3 kg | 1 |
| Groomer Rahn | 23 kg | 100-6442 | Masse 8 x 3 kg | 1 |
| Boîte de rangement QAS | 23 kg | 100-6442 | Masse 8 x 3 kg | 1 |
Note: Il n'est pas nécessaire de monter des masses supplémentaires si la machine est équipée du kit de levage hydraulique avant (modèle 08712).
Pièces nécessaires pour cette opération:
| Autocollant de l'année de production | 1 |
Apposez l’autocollant de l'année de production sur la machine, à l’emplacement indiqué (Figure 7).

Pièces nécessaires pour cette opération:
| Autocollant de sécurité | 1 |
Sur les machines devant satisfaire à la norme CE, apposez l'autocollant de sécurité CE (réf. 136-6164) sur la partie inférieure de l'autocollant de la console (réf. 132-4422).

La pédale de déplacement (Figure 9) a 3 fonctions : faire avancer la machine, la faire reculer et l'arrêter. Appuyez sur le haut de la pédale avec le bout du pied droit pour avancer, et sur le bas de la pédale avec le talon pour reculer ou pour faciliter l'arrêt en marche avant (Figure 10). Laissez la pédale revenir à la position NEUTRE ou ramenez-la à cette position pour arrêter la machine. Pour plus de confort, ne laissez pas reposer le talon sur la partie arrière de la pédale quand vous conduisez en marche avant.


La vitesse de déplacement varie selon que la pédale de déplacement est plus ou moins enfoncée. Pour vous déplacer à la vitesse maximale, appuyez à fond sur la pédale après avoir placé la commande d'accélérateur en position HAUT RéGIME. Pour obtenir la puissance maximale quand la machine est chargée ou gravit une pente, placez la commande d'accélérateur en position HAUT RéGIME et appuyez légèrement sur la pédale de déplacement pour maintenir un régime moteur élevé. Si le régime moteur commence à baisser, relâchez légèrement la pédale pour l'augmenter.
Important: Pour une puissance de traction maximale, placez la commande d'accélérateur en position de HAUT RéGIME et appuyez légèrement sur la pédale de déplacement.
Utilisez la vitesse de déplacement maximale uniquement pour vous rendre d'un endroit à un autre.
N'utilisez pas la vitesse maximale si vous utilisez un accessoire tracté ou monté directement sur la machine.
Important: N'utilisez pas la marche arrière quand l'accessoire est abaissé (en position de marche), car il pourrait être gravement endommagé.
Le commutateur d'allumage (Figure 11) sert à démarrer et arrêter le moteur, et comporte 3 positions : ARRêT, CONTACT et DéMARRAGE. Tournez la clé dans le sens horaire à la position DéMARRAGE pour engager le démarreur. Relâchez la clé lorsque le moteur démarre ; elle revient automatiquement à la position CONTACT. Pour couper le moteur, tournez la clé dans le sens antihoraire à la position ARRêT.

Pour démarrer le moteur à froid, fermez le volet de starter en tirant la commande de starter (Figure 11) à la position FERMéE. Dès que le moteur a démarré, réglez la commande de starter de façon à obtenir un régime moteur régulier. Dès que possible, ouvrez le volet de starter en abaissant la commande en position OUVERTE. Le starter n'est pas ou presque pas nécessaire si le moteur est chaud.
La commande d'accélérateur (Figure 11) est reliée au carburateur et commande le régime moteur. La commande d'accélérateur a 2 positions : BAS RéGIME et HAUT RéGIME. Vous pouvez faire varier le régime moteur entre les 2 réglages.
Note: Vous ne pouvez pas couper le moteur avec la commande d'accélérateur.
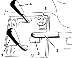
Tirez le levier en arrière pour lever l'accessoire (Figure 12) et poussez le levier en avant pour abaisser l'accessoire. Pour la position de FLOTTEMENT, placez le levier en position de verrouillage. Une fois la position voulue atteinte, relâchez le levier ; il revient automatiquement au point mort.

Note: La machine est équipée d'un vérin de levage à double effet. Vous pouvez appliquer une pression d'abaissement à l'accessoire pour certaines conditions d'utilisation.
Tirez sur le levier pour serrer le frein de stationnement (Figure 12). Poussez le levier en avant pour le desserrer.
Note: Il pourra être nécessaire de faire pivoter lentement la pédale de déplacement en avant et en arrière pour desserrer le frein de stationnement.
Le compteur horaire (Figure 12) indique le nombre total d'heures de fonctionnement de la machine. Le compteur horaire se déclenche chaque fois que vous tournez la clé de contact en position CONTACT.
Déplacez le levier situé à gauche du siège (Figure 13) en avant, faites coulisser le siège à la position voulue, puis relâchez le levier pour bloquer le siège en position.

Fermez le robinet d'arrivée de carburant (Figure 14) avant de remiser la machine ou de la transporter sur une remorque.

Note: Les spécifications et la conception peuvent faire l'objet de modifications sans préavis.
| Largeur sans accessoire | 148 cm |
| Largeur avec râteau (modèle 08751) | 191 cm |
| Longueur sans accessoire | 164 cm |
| Hauteur | 115 cm |
| Empattement | 109 cm |
| Poids net | |
| Modèle 08703 | 452 kg |
| Modèle 08705 | 461 kg |
Une sélection d'outils et d'accessoires agréés par Toro est disponible pour augmenter et améliorer les capacités de la machine. Pour obtenir la liste de tous les outils et accessoires agréés, contactez votre concessionnaire-réparateur ou votre distributeur Toro agréé, ou rendez-vous sur www.Toro.com.
Pour garantir un rendement optimal et conserver la certification de sécurité de la machine, utilisez uniquement des pièces de rechange et accessoires d'origine Toro. Les pièces de rechange et accessoires provenant d'autres constructeurs peuvent être dangereux, et leur utilisation risque d'annuler la garantie de la machine.
Note: Les côtés gauche et droit de la machine sont déterminés d'après la position d'utilisation normale.
Ne confiez jamais l'utilisation ou l'entretien de la machine à des enfants ou à des personnes non qualifiées. La réglementation locale peut imposer un âge minimum pour les utilisateurs. Le propriétaire de la machine doit assurer la formation de tous les utilisateurs et mécaniciens.
Familiarisez-vous avec le maniement correct du matériel, les commandes et les symboles de sécurité.
Apprenez à arrêter la machine et le moteur rapidement.
Vérifiez toujours que les commandes de présence de l'utilisateur, les contacteurs de sécurité et les capots de protection sont en place et fonctionnent correctement. N'utilisez pas la machine s'ils ne fonctionnent pas correctement.
Avant d'utiliser la machine, vérifiez toujours que les composants et les fixations sont en bon état. Remplacez les pièces et fixations usées ou endommagées.
Inspectez la zone de travail et débarrassez-la de tout objet pouvant être projeté par la machine.
Faites preuve de la plus grande prudence quand vous manipulez du carburant, en raison de son inflammabilité et du risque d'explosion des vapeurs qu'il dégage.
Éteignez cigarettes, cigares, pipes et autres sources d'étincelles.
Utilisez exclusivement un bidon à carburant homologué.
N'enlevez pas le bouchon du réservoir de carburant et n'ajoutez pas de carburant pendant que le moteur tourne ou est encore chaud.
N'ajoutez pas de carburant et ne vidangez pas le réservoir dans un local fermé.
Ne rangez pas la machine ni les bidons de carburant à proximité d'une flamme nue, d'une source d'étincelles ou d'une veilleuse, telle celle d'un chauffe-eau ou autre appareil.
Si vous renversez du carburant, ne mettez pas le moteur en marche. Évitez toute source possible d'inflammation jusqu'à dissipation complète des vapeurs de carburant.
| Périodicité d'entretien | Procédure d'entretien |
|---|---|
| Après les 20 premières heures de fonctionnement |
|
| À chaque utilisation ou une fois par jour |
|
À la livraison, le carter moteur contient de l'huile ; vous devant cependant vérifier le niveau d'huile avant et après le premier démarrage du moteur.
La capacité approximative du carter moteur avec le filtre est de 1,66 litre.
Utilisez une huile moteur de qualité qui répond aux spécifications suivantes :
Classification API : SL ou mieux.
Huile préférée : SAE 30 (au-dessus de 4 ºC)
Garez la machine sur une surface plane et horizontale, coupez le moteur, serrez le frein de stationnement et enlevez la clé de contact.
Faites pivoter le siège en avant.
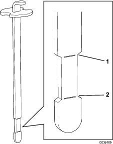
Sortez la jauge (Figure 15) et essuyez-la sur un chiffon propre.

Remettez la jauge dans le tube en l'enfonçant complètement. Ressortez la jauge du tube et vérifiez le niveau d'huile. Si le niveau est trop bas, retirez le bouchon de remplissage du couvre-culasse et ajoutez la quantité d'huile nécessaire pour amener le niveau au repère maximum de la jauge.
Important: Le niveau d'huile doit rester entre les repères maximum et minimum de la jauge. Le moteur peut tomber en panne si le carter d'huile moteur est trop ou insuffisamment rempli.
Revissez la jauge solidement en place.
Important: La jauge doit être complètement enfoncée dans le tube pour assurer une parfaite étanchéité du carter moteur. Si le carter n'est pas parfaitement étanche, le moteur risque d'être endommagé.
Abaissez le siège.
Capacité du réservoir de carburant : 25 litres
Carburant recommandé :
Pour assurer le fonctionnement optimal de la machine, utilisez uniquement de l'essence sans plomb propre et fraîche (stockée depuis moins d'un mois) ayant un indice d'octane de 87 ou plus (méthode de calcul [R+M]/2).
Éthanol : De l'essence contenant jusqu'à 10 % d'éthanol (essence-alcool) ou 15 % de MTBE (éther méthyltertiobutylique) par volume peut être utilisée. L'éthanol et le MTBE sont deux produits différents. L'utilisation d'essence contenant 15 % d'éthanol (E15) par volume n'est pas agréée. N'utilisez jamais d'essence contenant plus de 10 % d'éthanol par volume, comme E15 (qui contient 15 % d'éthanol), E20 (qui contient 20 % d'éthanol) ou E85 (qui contient jusqu'à 85 % d'éthanol). L'utilisation d'essence non agréée peut entraîner des problèmes de performances et/ou des dommages au moteur qui peuvent ne pas être couverts par la garantie.
N'utilisez pas d'essence contenant du méthanol.
Ne stockez pas le carburant dans le réservoir ou dans des bidons de carburant pendant l'hiver, à moins d'utiliser un stabilisateur de carburant.
N'ajoutez pas d'huile à l'essence.
Important: N'utilisez pas d'additifs de carburant autres qu'un stabilisateur/conditionneur. N'utilisez pas de stabilisateurs à base d'alcools tels que l'éthanol, le méthanol ou l'isopropanol.
Nettoyez la surface autour du bouchon du réservoir de carburant (Figure 16).
Enlevez le bouchon du réservoir de carburant.
Remplissez le réservoir de carburant jusqu'à 25 mm au-dessous du haut du réservoir (base du goulot de remplissage). Ne remplissez pas excessivement.

Remettez le bouchon en place.
Pour éviter les risques d'incendie, essuyez le carburant éventuellement répandu.
Important: N'utilisez jamais de méthanol, d'essence contenant du méthanol ou de carburol contenant plus de 10 % d'éthanol, sous peine d'endommager le circuit d'alimentation. Ne mélangez pas d'huile à l'essence.
| Périodicité d'entretien | Procédure d'entretien |
|---|---|
| À chaque utilisation ou une fois par jour |
|
Le réservoir est rempli en usine d'environ 18,9 l de liquide hydraulique de haute qualité. Le moment le plus propice pour contrôler le niveau de liquide hydraulique est quand il est froid. La machine doit être dans la configuration de transport. Si le niveau de liquide est en dessous du repère minimum sur la jauge, faites l'appoint pour faire monter le niveau au centre de la plage acceptable. Ne remplissez pas le réservoir excessivement. Si le niveau de liquide se situe entre les repères maximum et minimum, il n'est pas nécessaire de faire l'appoint. Contrôlez néanmoins le niveau du liquide hydraulique avant le tout premier démarrage du moteur, puis tous les jours.
Le liquide de remplacement recommandé est le suivant :
| Liquide hydraulique toutes saisons « Toro Premium All Season » (disponible en bidons de 19 litres ou barils de 208 litres ; voir le catalogue de pièces ou le distributeur Toro pour les numéros de références) |
Liquide hydraulique recommandé : Toro Premium All Season Hydraulic Fluid (liquide hydraulique toutes saisons)
Autres liquides : si vous ne disposez pas de liquide de marque Toro, vous pouvez utiliser d'autres liquides traditionnels à base de pétrole à conditions qu'ils répondent aux propriétés physiques et aux spécifications de l'industrie suivantes. Vérifiez auprès de votre fournisseur que le liquide utilisé est conforme à ces spécifications.
Note: Toro décline toute responsabilité en cas de dommage causé par l'utilisation d'huiles de remplacement inadéquates. Utilisez uniquement des produits provenant de fabricants réputés qui répondent de leur recommandation.
| Liquide hydraulique anti-usure à indice de viscosité élevé/point d'écoulement bas, ISO VG 46 Multigrade | |
| Propriétés physiques : | |
| Viscosité, ASTM D445 | 44 à 48 cSt à 40 °C7,9 à 9,1 cSt à 100 °C |
| Indice de viscosité, ASTM D2270 | 140 ou plus |
| Point d'écoulement, ASTM D97 | -37 à -45 ºC |
| FZG, étape de défaillance | 11 ou mieux |
| Teneur en eau (liquide neuf) : | 500 ppm (maximum) |
| Spécifications de l'industrie : | |
| Vickers I-286-S, Vickers M-2950-S, Denison HF-0, Vickers 35 VQ 25 (Eaton ATS373-C) | |
Les liquides hydrauliques corrects sont ceux spécifiés pour machines mobiles (par opposition à l'usage industriel), de type multi-poids, avec additif anti-usure ZnDTP ou ZDDP (pas un liquide sans cendre).
Important: De nombreux liquides hydrauliques sont presque incolores, ce qui rend difficile la détection des fuites. Un additif colorant rouge pour liquide hydraulique est disponible en bouteilles de 20 ml. Une bouteille suffit pour 15 à 22litres de liquide hydraulique. Vous pouvez commander ces bouteilles chez les distributeurs Toro agréés (réf. 44-2500).
Liquide hydraulique biodégradable synthétique
(disponible en bidons de 19 litres ou barils de 208 litres ; voir le catalogue de pièces ou le distributeur Toro pour les numéros de références)
Ce liquide synthétique biodégradable de haute qualité a été testé et reconnu compatible pour ce modèle Toro. D'autres marques de liquide synthétique peuvent présenter des problèmes de compatibilité et Toro décline toute responsabilité en cas de substitutions non autorisées.
Note: Ce liquide synthétique n'est pas compatible avec le liquide Toro biodégradable vendu précédemment. Pour plus de renseignements, contactez votre concessionnaire Toro.
Autres liquides :
Mobil EAL Envirosyn H 46 (États-Unis)
Mobil EAL Hydraulic Oil 46 (marché international)
Garez la machine sur une surface plane et horizontale, coupez le moteur, serrez le frein de stationnement et enlevez la clé de contact.
Nettoyez la surface autour du bouchon du réservoir hydraulique pour éviter que des impuretés ne tombent dans le réservoir (Figure 17).

Retirez le bouchon du réservoir.
Dévissez la jauge du goulot de remplissage et essuyez-la sur un chiffon propre.
Remettez la jauge dans le goulot de remplissage, ressortez-la et contrôlez le niveau de liquide.
Note: Le niveau de liquide doit se situer entre les repères inférieur et supérieur (partie la plus étroite) sur la jauge (Figure 18).

Si le niveau d'huile trop est bas, versez lentement la quantité d'huile voulue pour amener le niveau à la partie plus étroite de la jauge.
Note: Ne remplissez pas le réservoir excessivement.
Remettez le bouchon du réservoir.
Important: Pour éviter de contaminer le système, nettoyez le dessus des bidons de liquide hydraulique avant de les perforer. Vérifiez que le bec verseur et l'entonnoir sont propres.
| Périodicité d'entretien | Procédure d'entretien |
|---|---|
| À chaque utilisation ou une fois par jour |
|
Vérifiez la pression des pneus avant d'utiliser la machine (Figure 19). La pression de gonflage correcte des pneus avant et arrière est :
Pneus à sculpture : 0,7 bar
Note: Si la traction doit être augmentée pour utiliser une lame, réduisez la pression à 0,55 bar.
Pneus lisses : 0,55 à 0,7 bar.

| Périodicité d'entretien | Procédure d'entretien |
|---|---|
| Après les 8 premières heures de fonctionnement |
|
| Toutes les 100 heures |
|
Serrez les écrous de roue à un couple de 95 à 122 N·m.
Le propriétaire/l'utilisateur est responsable des accidents pouvant entraîner des dommages corporels ou matériels et peut les prévenir.
Portez des vêtements appropriés, y compris une protection oculaire, des chaussures solides à semelle antidérapante, un pantalon et des protecteurs d'oreilles. Attachez les cheveux longs et ne portez pas de bijoux pendants.
N'utilisez pas la machine si vous êtes fatigué(e), malade ou sous l'emprise de l'alcool, de drogues ou de médicaments.
Ne transportez jamais de passagers sur la machine et tenez tout le monde, y compris les animaux, à l'écart de la machine pendant l'utilisation.
N'utilisez la machine que si la visibilité est bonne pour éviter les trous ou autres dangers cachés.
Évitez d'utiliser la machine sur herbe humide. La perte de motricité peut faire déraper la machine.
Avant de mettre le moteur en marche, assurez-vous que tous les embrayages sont au point mort, que le frein de stationnement est serré et que vous êtes au poste d'utilisation.
Avant de faire marche arrière, vérifiez que la voie est libre juste derrière la machine et sur sa trajectoire.
Soyez prudent à l'approche de tournants sans visibilité, de buissons, d'arbres ou d'autres objets susceptibles de vous masquer la vue.
N'utilisez pas la machine près de fortes dénivellations, fossés ou berges. La machine pourrait se retourner brusquement si une roue passe par-dessus une dénivellation quelconque et se retrouve dans le vide, ou si un bord s'effondre.
Arrêtez la machine et vérifiez l'état de l'accessoire si vous heurtez un obstacle ou si la machine vibre de manière inhabituelle. Effectuez toutes les réparations nécessaires avant de réutiliser la machine.
Ralentissez et faites preuve de prudence quand vous changez de direction, ainsi que pour traverser des routes et des trottoirs avec la machine. Cédez toujours le passage.
Ne faites jamais tourner le moteur dans un local ne permettant pas d'évacuer les gaz d'échappement.
Ne laissez jamais la machine en marche sans surveillance.
Avant de quitter le poste de conduite :
Garez la machine sur un sol plat et horizontal.
Abaissez les accessoires.
Serrez le frein de stationnement.
Coupez le moteur et enlevez la clé.
Attendez l'arrêt complet de toutes les pièces en mouvement.
N'utilisez pas la machine s'il y a risque d'orage.
N'utilisez pas la machine comme véhicule de remorquage.
Au besoin, humidifiez les surfaces avant de travailler dessus, afin de minimiser la formation de poussière.
Utilisez uniquement les accessoires, équipements et pièces de rechange agréés par The Toro® Company.
Établissez vos propres procédures et règles de travail à appliquer sur les pentes. Ces procédures doivent inclure un repérage et une étude du site pour déterminer quelles pentes permettent une utilisation sécuritaire de la machine. Faites toujours preuve de bon sens et de discernement quand vous réalisez cette étude.
Les pentes augmentent significativement les risques de perte de contrôle et de retournement de la machine pouvant entraîner des accidents graves, voire mortels. L'utilisateur est responsable de la sécurité d'utilisation de la machine sur les pentes. L'utilisation de la machine sur une pente, quelle qu'elle soit, demande une attention particulière.
Les pentes augmentent significativement les risques de perte de contrôle et de basculement de la machine pouvant entraîner des accidents graves, voire mortels. L'utilisation de la machine sur une pente, quelle qu'elle soit, demande une attention particulière.
Réduisez la vitesse de la machine quand vous la conduisez sur une pente.
Ne travaillez pas sur les pentes sur lesquelles vous ne vous sentez pas à l'aise.
Méfiez-vous des trous, ornières, bosses, rochers ou autres obstacles cachés. Les irrégularités du terrain risquent de provoquer le retournement de la machine. L'herbe haute peut masquer les accidents du terrain.
Choisissez une vitesse réduite pour ne pas avoir à vous arrêter ou changer de vitesse sur une pente.
La machine peut se retourner avant que les roues ne perdent leur motricité.
Évitez d'utiliser la machine sur herbe humide. Les roues peuvent perdre de leur motricité, même si les freins sont disponibles et opérationnels.
Évitez de démarrer, de vous arrêter ou de tourner sur une pente.
Déplacez-vous à vitesse réduite et progressivement sur les pentes. Ne changez pas brusquement de vitesse ou de direction.
N'utilisez pas la machine près de dénivellations, fossés, berges ou étendues d'eau. La machine pourrait se retourner brusquement si une roue passe par-dessus une dénivellation quelconque et se retrouve dans le vide, ou si un bord s'effondre. Établissez une zone de sécurité entre la machine et tout danger potentiel (2 largeurs de machine).
Enlevez le pied de la pédale de déplacement et vérifiez qu'elle revient à la position NEUTRE, puis serrez le frein de stationnement.
Poussez la commande de starter en avant, à la position EN SERVICE (pour démarrer un moteur froid) et la commande d'accélérateur en position BAS RéGIME.
Important: Si la machine fonctionne à des températures inférieures à 0 °C, attendez qu'elle soit chaude avant de l'utiliser. Cela évitera que l'hydrostat et le circuit de déplacement ne soient endommagés.
Introduisez la clé dans le commutateur d'allumage et tournez-la dans le sens horaire pour mettre le moteur en marche. Relâchez la clé quand le moteur démarre.
Note: Réglez la commande de starter de façon à obtenir un régime moteur régulier.
Important: Pour éviter de faire surchauffer le démarreur, ne l'actionnez pas plus de 10 secondes de suite. Après 10 secondes de lancement continu, attendez 60 secondes avant d'actionner de nouveau le démarreur.
Pour couper le moteur, placez la commande d'accélérateur en position BAS RéGIME et tournez la clé de contact en position ARRêT.
Note: Enlevez la clé du commutateur pour éviter tout démarrage accidentel.
Fermez le robinet d'arrivée de carburant avant de remiser la machine.
Si vous examinez la bougie pendant que le moteur tourne, vous risquez de vous blesser.
Coupez le moteur et attendez l'arrêt de toutes les pièces mobiles avant de rechercher des fuites d'huile, des pièces desserrées ou autres anomalies.
Si les contacteurs de sécurité sont déconnectés ou endommagés, la machine peut se mettre en marche inopinément et causer des blessures.
Ne modifiez pas abusivement les contacteurs de sécurité.
Vérifiez chaque jour le fonctionnement des contacteurs de sécurité et remplacez ceux qui sont endommagés avant d'utiliser la machine.
Le rôle du système de sécurité est d'empêcher le lancement ou le démarrage du moteur si la pédale de déplacement n'est pas en position NEUTRE. En outre, le moteur s'arrête si la pédale de déplacement est mise en position marche avant ou marche arrière alors que l'utilisateur n'est pas assis sur le siège.
Amenez la machine dans un endroit dégagé et libre de débris ou de personnes. Coupez le moteur.
Asseyez-vous sur le siège et serrez le frein de stationnement.
Appuyez sur la pédale de déplacement en position marche avant ou arrière tout en essayant de démarrer le moteur.
Note: Si le démarreur est actionné, le système de sécurité est probablement défaillant. Réparez-le immédiatement.Si le démarreur n'est pas actionné, cela signifie que le système de sécurité fonctionne correctement.
Sans quitter le siège, la pédale de déplacement étant en position NEUTRE et le frein de stationnement étant serré, démarrez le moteur.
Soulevez-vous du siège et enfoncez lentement la pédale de déplacement.
Note: Le moteur devrait s'arrêter en 1 à 3 secondes. Corrigez le problème si le système ne fonctionne pas correctement.
Les moteurs neufs demandent un certain temps pour développer toute leur puissance. Les systèmes d'entraînement neufs présentent plus de friction ce qui impose une charge plus élevée au moteur.
Les 8 premières heures de fonctionnement serviront à roder la machine.
Comme les premières heures de fonctionnement sont déterminantes pour la fiabilité ultérieure de la machine, surveillez attentivement son fonctionnement et ses performances afin de noter et corriger les petites anomalies qui pourraient dégénérer en problèmes importants. Examinez fréquemment la machine pendant le rodage pour détecter les signes éventuels de fuites d'huile, de fixations desserrées ou d'autres anomalies.
Avant de quitter la machine, garez-la sur une surface plane et horizontale, serrez le frein de stationnement, coupez le moteur, enlevez la clé et attendez l'arrêt de tout mouvement.
Pour éviter les risques d'incendie, enlevez les débris d'herbe coupée et autres qui sont agglomérés sur le silencieux et le compartiment moteur. Nettoyez les coulées éventuelles d'huile ou de carburant.
Laissez refroidir le moteur avant de ranger la machine dans un local fermé.
Fermez le robinet d'arrivée de carburant avant de remiser ou de transporter la machine.
Ne remisez jamais la machine ni les bidons de carburant à proximité d'une flamme nue, d'une source d'étincelles ou d'une veilleuse, telle celle d'un chauffe-eau ou d'autres appareils.
Maintenez toutes les pièces de la machine en bon état de marche et toutes les fixations bien serrées.
Remplacez tous les autocollants usés, endommagés ou manquants.
En cas d'urgence, vous pouvez remorquer la machine sur une courte distance. Nous vous déconseillons toutefois d'employer cette procédure de manière habituelle.
Important: Ne remorquez pas la machine à plus de 1,6 km/h, au risque d'endommager la transmission. S'il est nécessaire de déplacer la machine sur plus de 50 m, faites-la transporter par camion ou chargez-la sur une remorque. Les roues peuvent se bloquer si la machine est tractée trop rapidement. Si cela se produit, arrêtez de remorquer la machine et attendez que la pression du circuit de déplacement se stabilise avant de reprendre le remorquage à plus basse vitesse.
Utilisez des rampes d'une seule pièce pour charger la machine sur une remorque ou un camion.
Arrimez solidement la machine.
Lisez les instructions d'utilisation de l'accessoire dans le manuel de l'utilisateur correspondant.
Entraînez-vous à conduire la machine car elle possède des caractéristiques très différentes de celles de certains véhicules utilitaires. La vitesse de transmission et le régime moteur sont 2 points dont vous devez tenir compte quand vous conduisez le véhicule.
Pour maintenir un régime moteur constant, enfoncez lentement la pédale de déplacement. Le moteur peut ainsi s'adapter à la vitesse de déplacement du véhicule. Par contre, si vous enfoncez rapidement la pédale de déplacement, le régime moteur est réduit et le couple n'est pas suffisant pour déplacer le véhicule. Par conséquent, pour transférer la puissance maximale aux roues, placez la commande d'accélérateur en position HAUT RéGIME et appuyez légèrement sur la pédale de déplacement. Par comparaison, la vitesse de déplacement maximale sans charge est obtenue quand la commande d'accélérateur est en position HAUT RéGIME et que la pédale de déplacement est enfoncée lentement à fond. Maintenez toujours un régime moteur suffisamment élevé pour appliquer un couple maximum aux roues.
L'utilisation de la machine exige beaucoup d'attention pour l'empêcher de se renverser ou de perdre le contrôle.
Faites preuve de prudence à l'arrivée dans des bunkers ou à leur sortie.
Faites preuve de prudence près des fossés, des dénivellations ou d'autres accidents de terrain.
Soyez prudent lorsque vous utilisez la machine sur une forte pente.
Ralentissez avant de prendre des virages serrés et de tourner sur une pente.
Évitez les arrêts et les démarrages brusques.
Ne passez pas de la marche arrière à la marche avant maximale sans immobiliser complètement la machine auparavant.
Note: Si l'adaptateur de l'accessoire se coince sur l'adaptateur du groupe de déplacement, insérez un levier/tournevis dans la fente prévue pour désengager les pièces (Figure 20).

Note: Les côtés gauche et droit de la machine sont déterminés d'après la position d'utilisation normale.
Si vous laissez la clé dans le commutateur d'allumage, quelqu'un pourrait mettre le moteur en marche accidentellement et vous blesser gravement, ainsi que toute personne à proximité.
Avant tout entretien, retirez la clé de contact.
| Périodicité d'entretien | Procédure d'entretien |
|---|---|
| Après les 8 premières heures de fonctionnement |
|
| Après les 20 premières heures de fonctionnement |
|
| À chaque utilisation ou une fois par jour |
|
| Toutes les 25 heures |
|
| Toutes les 100 heures |
|
| Toutes les 200 heures |
|
| Toutes les 400 heures |
|
| Toutes les 800 heures |
|
| Toutes les 1500 heures |
|
Important: Reportez-vous au manuel du propriétaire du moteur pour toutes procédures d'entretien supplémentaires.
Note: Pour vous procurer un schéma électrique ou hydraulique pour votre machine, consultez le site www.Toro.com.
Copiez cette page pour pouvoir vous en servir régulièrement.
| Entretiens à effectuer | Pour la semaine du : | ||||||
|---|---|---|---|---|---|---|---|
| Lun. | Mar. | Mer. | Jeu. | Ven. | Sam. | Dim. | |
| Vérifiez le fonctionnement du système de sécurité. | |||||||
| Vérifiez le fonctionnement de la direction. | |||||||
| Contrôlez le niveau de carburant. | |||||||
| Contrôlez le niveau d'huile moteur. | |||||||
| Contrôlez l'état du filtre à air. | |||||||
| Nettoyez les ailettes de refroidissement sur le moteur. | |||||||
| Vérifiez les bruits anormaux en provenance du moteur. | |||||||
| Vérifiez les bruits de fonctionnement anormaux. | |||||||
| Contrôlez le niveau de liquide hydraulique. | |||||||
| Vérifiez l'état des flexibles hydrauliques. | |||||||
| Recherchez des fuites éventuelles. | |||||||
| Contrôlez la pression des pneus. | |||||||
| Vérifiez le fonctionnement des instruments. | |||||||
| Retouchez les peintures endommagées. | |||||||
| Notes concernant les problèmes constatés | ||
| Contrôle effectué par : | ||
| Point contrôlé | Date | Information |
Important: Les fixations des capots de la machine sont conçues pour rester sur le capot après son retrait. Dévissez toutes les fixations de chaque capot de quelques tours de sorte que le capot soit desserré mais reste en place. Dévissez-les ensuite jusqu'à ce que le capot se détache. Vous éviterez ainsi d'arracher les filets des boulons en les retirant des dispositifs de retenue.
Avant de régler, nettoyer, réparer ou quitter la machine, effectuez la procédure suivante :
Garez la machine sur une surface plane et horizontale.
Placez la commande d'accélérateur en position de ralenti.
Abaissement de l'accessoire
Vérifiez que la pédale de déplacement est en position neutre.
Serrez le frein de stationnement.
Coupez le moteur et enlevez la clé.
Attendez l'arrêt complet de toutes les pièces en mouvement.
Laissez refroidir les composants de la machine avant d'effectuer tout entretien.
Si possible, n'effectuez aucun entretien quand le moteur est en marche. Ne vous approchez pas des pièces mobiles.
Utilisez des chandelles pour soutenir la machine ou ses composants au besoin.
Libérez la pression emmagasinée dans les composants avec précaution.
Les crics mécaniques ou hydrauliques peuvent céder sous le poids de la machine et causer des blessures graves.
Utilisez des chandelles pour soutenir la machine.
Les points de levage sont les suivants :
Les graisseurs de la machine doivent être lubrifiés régulièrement avec de la graisse au lithium nº 2 toutes les 100 heures de fonctionnement.
Lubrifiez les roulements et bagues suivants :
Roulement de roue avant (1) (Figure 23)

Pivot de pédale de déplacement (1) (Figure 24)

Attelage arrière (5) (Figure 25)

Extrémité de tige du vérin de direction (1) (modèle 08705 seulement) (Figure 26)

Pivot de direction (Figure 27)
Note: Le raccord encastré sur le pivot de direction (Figure 27) nécessite un adaptateur pour la pompe à graisse. Vous pouvez le commander chez les distributeurs Toro agréés (réf. 107-1998).

| Périodicité d'entretien | Procédure d'entretien |
|---|---|
| Toutes les 100 heures |
|
Essuyez les graisseurs pour éviter que des impuretés ne pénètrent dans le roulement ou la bague.
Injectez la graisse dans le roulement ou la bague.
Essuyez tout excès de graisse.
Coupez le moteur avant de contrôler le niveau d'huile ou d'ajouter de l'huile dans le carter.
Ne modifiez pas le réglage du régulateur et ne faites pas tourner le moteur à un régime excessif.
| Périodicité d'entretien | Procédure d'entretien |
|---|---|
| Après les 20 premières heures de fonctionnement |
|
| Toutes les 100 heures |
|
Garez la machine sur une surface plane et horizontale, coupez le moteur, serrez le frein de stationnement et enlevez la clé de contact.
Retirez le bouchon de vidange (Figure 28) et laissez couler l'huile dans un bac de vidange. Remettez le bouchon quand la vidange est terminée.

Déposez le filtre à huile (Figure 28).
Appliquez une fine couche d'huile sur le joint du filtre de rechange.
Vissez le filtre dans le sens horaire jusqu'à ce que le joint touche l'adaptateur, puis donnez 1/2 à 3/4 de tour supplémentaire.
Important: Ne serrez pas le filtre excessivement.
Rajoutez de l'huile dans le carter moteur ; voir Contrôle du niveau d'huile moteur.
Débarrassez-vous de l'huile usagée conformément à la réglementation.
| Périodicité d'entretien | Procédure d'entretien |
|---|---|
| Toutes les 200 heures |
|
Recherchez sur le boîtier du filtre à air des dommages susceptibles d'occasionner des fuites d'air. Remplacez les composants endommagés. Vérifiez que le système d'admission ne présente pas de fuites, de dommages ou de colliers de flexible desserrés.
Ne changez pas le filtre à air plus fréquemment que nécessaire, car cela ne fait qu'accroître le risque de contamination du moteur par des impuretés quand le filtre est déposé.
Le couvercle doit être hermétiquement ajusté sur le boîtier du filtre à air.
| Périodicité d'entretien | Procédure d'entretien |
|---|---|
| Toutes les 200 heures |
|
Desserrez les attaches qui fixent le couvercle sur le boîtier du filtre à air (Figure 29).

Déposez le couvercle du boîtier du filtre à air.
Avant de retirer le filtre, utilisez de l'air comprimé à basse pression (2,76 bar) propre et sec pour éliminer les gros dépôts de débris entre l'extérieur du préfiltre et la cartouche.
Important: N'utilisez pas d'air sous haute pression car il pourrait forcer des impuretés à travers le filtre et dans le canal d'admission. Cette procédure de nettoyage évite de déplacer des débris dans l'admission lors de la dépose du préfiltre.
Déposez et remplacez le filtre.
Note: Vérifiez que l'élément de rechange n'a pas été endommagé pendant le transport. Vérifiez l'extrémité d'étanchéité du filtre et du boîtier. N'utilisez pas l'élément s'il est endommagé. Insérez l'élément de rechange en appuyant sur le bord extérieur pour l'engager dans la cartouche. N'appuyez pas sur la partie centrale flexible de l'élément.
Note: Il est déconseillé de nettoyer les éléments usagés, car cela risque d'endommager le matériau dont ils sont constitués.
Nettoyez l'orifice d'éjection d'impuretés situé dans le couvercle amovible.
Retirez la valve de sortie en caoutchouc du couvercle, nettoyez la cavité et remettez la valve en place.
Montez le couvercle en dirigeant la valve de sortie en caoutchouc vers le bas, à peu près entre les positions 5:00 et 7:00 heures vu de l'extrémité.
Fermez les verrous.
| Périodicité d'entretien | Procédure d'entretien |
|---|---|
| Toutes les 800 heures |
|
Type : Champion RC14YC (ou équivalent)
Écartement des électrodes : 0,76 mm
Note: Les bougies ont une durée de vie relativement longue ; vous devez cependant les contrôler si le moteur ne fonctionne pas correctement.
Nettoyez la surface autour de la bougie pour éviter que des impuretés ne tombent dans le cylindre quand vous la déposez.
Débranchez les fils des bougies, puis déposez les bougies de la culasse.
Vérifiez l'état des électrodes latérale et centrale, ainsi que l'isolateur.
Important: Remplacez toute bougie fissurée, calaminée, encrassée ou présentant des anomalies de fonctionnement. Ne nettoyez pas les électrodes de bougies à l'aide d'un jet de sable, d'un grattoir ou d'une brosse métallique. Des grains de matière abrasive pourraient se détacher de la bougie et tomber dans le cylindre. Cela endommage habituellement le moteur.
Réglez l'écartement entre les électrodes centrale et latérale à 0,76 mm ; voir Figure 30. Montez la bougie avec l'écartement correct et un joint d'étanchéité, et serrez-la à 23 N·m. À défaut de clé dynamométrique, serrez fermement la bougie.

| Périodicité d'entretien | Procédure d'entretien |
|---|---|
| Toutes les 800 heures |
|
Un filtre en ligne est incorporé dans la conduite d'alimentation. Procédez comme suit lorsqu'un remplacement s'impose :
Fermez le robinet de carburant, desserrez le collier de flexible côté carburateur et débranchez la conduite d'alimentation du filtre (Figure 31).

Placez un bac de vidange sous le filtre, desserrez l'autre collier de flexible et déposez le filtre.
Posez le filtre neuf en orientant la flèche sur le corps du filtre dans la direction opposée au réservoir de carburant (vers le carburateur).
Repoussez les colliers au bout des conduites d'alimentation.
Raccordez les conduites au filtre et fixez-les à l'aide des colliers de serrage.
Note: La flèche située sur le côté du filtre doit être dirigée vers le carburateur.
Débranchez la batterie avant de réparer la machine. Débranchez toujours la borne négative avant la borne positive. Rebranchez toujours la borne positive avant la borne négative.
Chargez la batterie dans un endroit dégagé et bien aéré, à l'écart des flammes ou sources d'étincelles. Débranchez le chargeur du secteur avant de brancher ou de débrancher la batterie. Portez des vêtements de protection et utilisez des outils isolés.
S'il est nécessaire d'utiliser une batterie de secours pour démarrer la machine, vous pouvez utiliser la borne positive auxiliaire (située sur le solénoïde de démarreur) au lieu de la borne positive de la batterie (Figure 32).

La boîte à fusibles (Figure 33) est située sous le siège.

| Périodicité d'entretien | Procédure d'entretien |
|---|---|
| Toutes les 25 heures |
|
Maintenez le niveau correct d'électrolyte et gardez le dessus de la batterie propre. Si la machine est remisée dans un endroit où la température ambiante est extrêmement élevée, la batterie se déchargera plus rapidement que si la machine est remisée dans un endroit frais.
Nettoyez régulièrement le dessus de la batterie avec une brosse trempée dans une solution d'ammoniac ou de bicarbonate de soude. Rincez la surface avec de l'eau après le nettoyage. Le bouchon de remplissage doit rester en place pendant le nettoyage.
Les câbles de la batterie doivent être bien serrés sur les bornes pour assurer un bon contact électrique.
Si les bornes de la batterie sont corrodées, débranchez les câbles, en commençant par le câble négatif (-), et grattez les colliers et les bornes séparément. Branchez les câbles, en commençant par le positif (+), et enduisez les bornes de vaseline.
Vérifiez le niveau de l'électrolyte toutes les 25 heures de fonctionnement, ou une fois par mois si la machine est remisée.
Faites l'appoint dans les éléments avec de l'eau distillée ou déminéralisée. Ne remplissez pas les éléments au-dessus du repère de remplissage.
Si la machine se déplace alors que la pédale de déplacement est à la positon neutre, réglez la came de transmission.
Garez la machine sur une surface plane et horizontale, coupez le moteur, serrez le frein de stationnement et enlevez la clé de contact.
Desserrez les 2 vis qui fixent le carénage central à la machine et déposez le carénage (Figure 34).

Soulevez la roue avant et une roue arrière et placez des chandelles sous le cadre.
Pour que la machine ne bouge pas pendant le réglage, il faut que la roue avant et une roue arrière soient décollées du sol. Dans le cas contraire, la machine pourrait retomber et blesser la personne qui se trouve dessous.
Soutenez l'avant de la machine de manière adéquate pour soulever du sol la roue avant et une roue arrière.
Desserrez le contre-écrou de la came de réglage de transmission (Figure 35).

Le moteur doit tourner pour effectuer le réglage final de la came de réglage de transmission. Les pièces mobiles et les surfaces brûlantes peuvent causer des blessures.
Gardez les mains, les pieds, le visage et toute autre partie du corps à l'écart des pièces mobiles, du silencieux et autres surfaces brûlantes.
Démarrer le moteur et tournez l'hexagone de la came (Figure 35) dans un sens puis dans l'autre pour déterminer la position centrale de la course de réglage du point mort.
Serrez le contre-écrou pour bloquer le réglage.
Coupez le moteur.
Reposez le carénage central.
Retirez les chandelles de sous la machine et abaissez la machine au sol.
Faites un essai de conduite pour vérifier que la machine ne bouge plus quand la pédale de déplacement est à la position neutre.
Réglez le point mort de la transmission ; voir Réglage du point mort de la transmission aux roues.
Actionnez le levier de la pompe pour vérifier que toutes les pièces fonctionnent librement et sont bien positionnées.
Ajustez la vis jusqu'à obtention d'un écartement de 0,8 à 2,3 mm ; voir Figure 35.
Vérifiez le fonctionnement.
La pédale de déplacement est réglée pour la vitesse de transport maximale à l'usine mais un réglage peut être nécessaire si la pédale arrive en fin de course avant que le levier de la pompe n'arrive en bout de course ou si vous souhaitez réduire la vitesse de transport.
Pour atteindre la vitesse de transport maximale, appuyez sur la pédale de déplacement. Si la pédale arrive en butée (Figure 36) avant le levier de la pompe, un réglage est nécessaire :

Garez la machine sur une surface plane et horizontale, coupez le moteur, serrez le frein de stationnement et enlevez la clé de contact.
Desserrez l'écrou de fixation de la butée de pédale.
Serrez la butée jusqu'à ce qu'elle ne touche plus la pédale de déplacement.
Continuez d'appuyer légèrement sur la pédale de déplacement et ajustez la butée de la pédale de sorte qu'elle touche juste ou qu'un espace de 2,5 mm soit obtenu entre la tige de pédale et la butée.
Resserrez les écrous.
Garez la machine sur une surface plane et horizontale, coupez le moteur, serrez le frein de stationnement et enlevez la clé de contact.
Desserrez l'écrou de fixation de la butée de pédale.
Vissez la butée de la pédale jusqu'à obtention de la vitesse de transport voulue.
Resserrez l'écrou de fixation de la butée de pédale.
Réglez la plaque de verrouillage du levier de commande de levage (Figure 38) si l'accessoire ne flotte pas correctement (suit le contour du sol) pendant la marche.
Garez la machine sur une surface plane et horizontale, coupez le moteur, serrez le frein de stationnement et calez les roues.
Retirez les 4 vis qui fixent le panneau de commande au cadre (Figure 37).

Desserrez les 2 boulons qui fixent la plaque de verrouillage à l'aile et au cadre.

Le moteur doit tourner pour effectuer le réglage de la plaque de verrouillage. Les pièces mobiles et les surfaces brûlantes peuvent causer des blessures.
Gardez les mains, les pieds, le visage et toute autre partie du corps à l'écart des pièces mobiles, du silencieux et autres surfaces brûlantes.
Démarrage du moteur.
Lorsque le moteur est en marche et que le levier de commande de levage est en position FLOTTEMENT, faites glisser la plaque de verrouillage jusqu'à ce que le vérin de levage puisse être déployé et rétracté à la main.
Serrez les deux vis pour bloquer le réglage.
Le bon fonctionnement de l'accélérateur dépend du bon réglage de la commande d'accélérateur. Avant de régler le carburateur, vérifiez que la commande d'accélérateur fonctionne correctement.
Relevez le siège.
Desserrez la vis de collier qui fixe le câble d'accélérateur sur le moteur (Figure 39).

Déplacez la commande d'accélérateur en avant jusqu'à la position de HAUT RéGIME.
Tirez fermement sur le câble d'accélérateur jusqu'à ce que l'arrière du pivot atteigne la butée (Figure 39).
Serrez la vis du collier de câble et contrôlez le régime moteur :
Ralenti accéléré : 3 350 à 3 450 tr/min
Ralenti : 1 650 à 1 850 tr/min
Relevez le siège.
Desserrez la vis de collier qui fixe le câble de starter sur le moteur (Figure 39).
Déplacez la commande de starter en avant jusqu'à la position FERMéE.
Tirez fermement sur le câble de starter (Figure 39), jusqu'à ce que le papillon soit complètement fermé, puis serrez la vis du collier de câble.
Important: Avant de régler le régulateur de régime, vous devez régler correctement les commandes d'accélérateur et de starter.
Le moteur doit tourner pendant le réglage du régulateur de régime. Les pièces mobiles et les surfaces brûlantes peuvent causer des blessures.
Vous devez mettre la pédale de déplacement en position neutre et serrer le frein de stationnement avant d'effectuer cette procédure.
Gardez les mains, les pieds, toute autre partie du corps et les vêtements à l'écart des pièces mobiles, du silencieux et autres surfaces brûlantes.
Note: Pour régler le régime de ralenti, respectez rigoureusement la procédure suivante. Si seul le régime maximum de marche à vide doit être réglé, passez directement à l'opération 5.
Mettez le moteur en marche et laissez-le tourner avec la commande d'accélérateur à mi-course pendant environ 5 minutes pour lui donner le temps de chauffer.
Placez la commande d'accélérateur en position de BAS RéGIME. Tournez la vis de butée de ralenti dans le sens horaire jusqu'à ce qu'elle ne touche plus le levier de papillon.
Courbez la languette d'ancrage du ressort de ralenti régulé (Figure 40) pour obtenir un régime de ralenti de 1 675 à 1 175 tr/min.
Note: Vérifiez le régime avec un compte-tours.

Ajustez la vis de butée de ralenti jusqu'à ce que le régime de ralenti soit supérieur de 25 à 50 tr/min par rapport au régime de ralenti fixé à l'opération 3.
Note: Le régime de ralenti final doit être de 1 650 à 1 850 tr/min.
Amenez la commande d'accélérateur en position HAUT RéGIME.
Courbez la languette d'ancrage du ressort de haut régime (Figure 40) pour obtenir un haut régime de 3 350 à 3 450 tr/min.
Consultez immédiatement un médecin si du liquide est injecté sous la peau. Toute injection de liquide hydraulique sous la peau doit être éliminée dans les quelques heures qui suivent par une intervention chirurgicale réalisée par un médecin.
Vérifiez l'état de tous les flexibles et conduits de liquide hydraulique, ainsi que le serrage de tous les raccords et branchements avant de mettre le système hydraulique sous pression.
N'approchez pas les mains ni aucune autre partie du corps des fuites en trou d'épingle ou des gicleurs d'où sort du liquide hydraulique sous haute pression.
Utilisez un morceau de papier ou de carton pour détecter les fuites.
Évacuez avec précaution toute la pression du système hydraulique avant toute intervention sur le système.
| Périodicité d'entretien | Procédure d'entretien |
|---|---|
| Après les 8 premières heures de fonctionnement |
|
| Toutes les 400 heures |
|
Le filtre de rechange doit être un filtre d'origine Toro.
Garez la machine sur une surface plane et horizontale, coupez le moteur, serrez le frein de stationnement et enlevez la clé de contact.
Desserrez les 2 vis qui fixent le carénage central à la machine et déposez le carénage (Figure 41).

Placez un bac de vidange sous le filtre hydraulique situé du côté gauche de la machine (Figure 42).

Nettoyez la zone autour de la surface de montage du filtre. Placez un bac de vidange sous le filtre. Desserrez lentement le filtre hydraulique, sans le retirer complètement, jusqu'à ce que l'huile s'écoule par le joint et le long du côté du filtre.
Note: Si la machine est équipée d'un kit hydraulique à distance, le flexible d'aspiration peut être débranché de la pompe pour vidanger le liquide hydraulique.
Déposez le filtre quand le débit de liquide commence à ralentir.
Lubrifiez le joint d'étanchéité du filtre de rechange avec de l'huile hydraulique et vissez-le en place à la main jusqu'à ce qu'il touche la tête du filtre. Donnez ensuite 3/4 de tour supplémentaire.
Note: Le filtre doit maintenant être étanche.
Remplissez le réservoir hydraulique de liquide hydraulique jusqu'à ce qu'il atteigne la partie plus étroite de la jauge. Ne remplissez pas excessivement le réservoir. Voir Contrôle du niveau de liquide hydraulique.
Démarrez et faites tourner le moteur. Actionnez le vérin de levage jusqu'à ce qu'il se déploie et se rétracte et que les roues tournent en avant et en arrière.
Coupez le moteur et vérifiez le niveau de liquide dans le réservoir ; faites l'appoint au besoin.
Contrôlez l'étanchéité de tous les raccords.
Reposez le carénage central.
Débarrassez-vous de l'huile usagée conformément à la réglementation.
| Périodicité d'entretien | Procédure d'entretien |
|---|---|
| À chaque utilisation ou une fois par jour |
|
Vérifiez chaque jour que les conduites et flexibles hydrauliques ne présentent pas de fuites, ne sont pas pliés, usés, détériorés par les conditions atmosphériques ou les produits chimiques, et que les supports de montage et les raccords ne sont pas desserrés. Effectuez les réparations nécessaires avant d'utiliser la machine.
Après chaque réparation ou remplacement d'un composant hydraulique, il faut remplacer le filtre hydraulique et charger le système hydraulique.
Le réservoir hydraulique et le filtre doivent être toujours remplis de liquide quand vous chargez le système hydraulique.
Garez la machine sur une surface plane et horizontale, coupez le moteur, serrez le frein de stationnement et enlevez la clé de contact.
Desserrez les 2 vis qui fixent le carénage central à la machine et déposez le carénage (Figure 43).

Soulevez la roue avant et une roue arrière et placez des chandelles sous le cadre.
Pour que la machine ne bouge pas pendant le réglage, il faut que la roue avant et une roue arrière soient décollées du sol. Dans le cas contraire, la machine pourrait retomber et blesser la personne qui se trouve dessous.
Soutenez l'avant de la machine de manière adéquate pour soulever du sol la roue avant et une roue arrière.
Mettez le moteur en marche et réglez la commande d'accélérateur pour obtenir un régime moteur d'environ 1 800 tr/min.
Actionnez le levier de la vanne de levage jusqu'à ce que la tige du vérin de levage rentre et sorte à plusieurs reprises. Si la tige de vérin ne bouge pas après 10 à 15 secondes ou si la pompe émet des bruits anormaux, arrêtez immédiatement le moteur et déterminez la cause ou le problème. Effectuez les contrôles suivants :
Filtre ou conduits d'aspiration desserrés
Raccord desserré ou défectueux sur la pompe
Conduit d'aspiration bouché
Clapet de décharge défectueux
Pompe de charge défectueuse
Si le vérin bouge dans les 10 à 15 secondes, passez à l'opération 6.
Actionnez la pédale de déplacement en marche avant et arrière. Les roues qui sont décollées du sol doivent tourner dans le bon sens.
Si les roues tournent dans le mauvais sens, arrêtez le moteur, débranchez les conduits à l'arrière de la pompe et inversez les branchements.
Si les roues tournent dans le bon sens, arrêtez le moteur et réglez le contre-écrou de la goupille de réglage du ressort (Figure 44). Réglez le point mort de la transmission ; voir Réglage du point mort de la transmission aux roues.

Vérifiez le réglage du contacteur de sécurité de la transmission ; voir Réglage du contacteur de sécurité de déplacement.
Reposez le carénage central.
| Périodicité d'entretien | Procédure d'entretien |
|---|---|
| À chaque utilisation ou une fois par jour |
|
Après utilisation, lavez entièrement la machine au jet d'eau, sans buse, pour éviter qu'une pression d'eau excessive ne contamine et n'endommage les joints et les roulements.
Les ailettes de refroidissement et la surface autour de la prise d'air de refroidissement doivent être exemptes tout débris.
Important: Ne nettoyez pas le refroidisseur d'huile avec de l'eau, car cela encourage la corrosion et la détérioration prématurées des composants, et aura pour effet de compacter les débris ; voir Nettoyage du refroidisseur d'huile.
Après le nettoyage, vérifiez que la machine ne présente pas de fuites d'huile hydraulique, de dégâts ou d'usure des composants hydrauliques et mécaniques.
| Périodicité d'entretien | Procédure d'entretien |
|---|---|
| Toutes les 400 heures |
|
Nettoyez soigneusement la machine, les accessoires et le moteur.
Vérifiez la pression des pneus.
Vérifiez le serrage de toutes les fixations et resserrez-les au besoin.
Lubrifiez tous les graisseurs et points de pivot. Essuyez tout excès de lubrifiant.
Poncez légèrement et retouchez la peinture rayée, écaillée ou rouillée.
Procédez à l'entretien de la batterie et des câbles, comme suit :
Débranchez les câbles des bornes de la batterie.
Nettoyez la batterie, les connecteurs des câbles et les bornes de la batterie avec une brosse métallique et un mélange de bicarbonate de soude.
Pour prévenir la corrosion, enduisez les bornes de la batterie et les connecteurs des câbles de graisse Grafo 112X (Skin-Over) (réf. Toro 505-47) ou de vaseline.
Rechargez lentement la batterie tous les deux mois pendant 24 heures pour prévenir la sulfatation.
Note: La densité de l'électrolyte d'une batterie chargée au maximum est de 1,250.
Note: Rangez la batterie dans un endroit frais pour éviter qu'elle se décharge trop rapidement. Pour protéger la batterie du gel, maintenez-la chargée au maximum.
Vidangez l'huile moteur et remplacez le filtre à huile. Voir Vidange de l'huile moteur et remplacement du filtre à huile.
Démarrez le moteur et faites-le tourner au ralenti pendant 2 minutes.
Effectuez un nettoyage et un entretien minutieux du filtre à air. Voir Entretien du filtre à air.
Bouchez l'entrée et l'orifice de sortie du filtre à air avec du ruban imperméable.
Vérifiez que le bouchon de remplissage d'huile et le bouchon du réservoir de carburant sont solidement fermés.