| Cadenza di manutenzione | Procedura di manutenzione |
|---|---|
| Dopo le prime 20 ore |
|
| Prima di ogni utilizzo o quotidianamente |
|
Questo veicolo polifunzionale, dotato di postazione per l'operatore, è pensato per l'utilizzo in applicazioni professionali da parte di operatori professionisti del verde. È concepito principalmente per la cura dei banchi di sabbia di campi da golf e aree verdi ben tenute.
Important: Per ottenere i migliori risultati in termini di sicurezza, prestazioni e corretto funzionamento della macchina, leggete con attenzione e memorizzate il contenuto del presente Manuale dell’operatore. La mancata osservanza di queste istruzioni operative o l’assenza di una formazione adeguata possono portare al verificarsi di infortuni. Per maggiori informazioni sulle pratiche per un utilizzo sicuro, compresi i consigli sulla sicurezza e i materiali relativi alla formazione, visitare www.Toro.com.
Per ricevere materiali di formazione sulla sicurezza e il funzionamento dei prodotti, avere informazioni sugli accessori, ottenere assistenza nella ricerca di un rivenditore o registrare il vostro prodotto, potete contattare Toro direttamente a www.Toro.com.
Per assistenza, ricambi originali Toro o ulteriori informazioni, rivolgetevi a un Distributore Toro autorizzato o ad un Centro Assistenza Toro, ed abbiate sempre a portata di mano il numero del modello ed il numero di serie del prodotto. Il numero del modello e il numero di serie si trovano nella posizione illustrata nella Figura 1. Scrivere i numeri nell’apposito spazio.
Important: Con il vostro dispositivo mobile potete scansionare il codice QR (se presente) sull’adesivo che riporta il numero di serie per accedere alla garanzia, ai ricambi e ad altre informazioni sui prodotti.

Il simbolo di allerta di sicurezza (Figura 2) mostrato nel presente manuale e sulla macchina identifica importanti messaggi di sicurezza che dovete seguire per evitare incidenti.

Il simbolo di allerta di sicurezza compare sopra alle informazioni che vi mettono in guardia da azioni o situazioni non sicure e sono seguite dalla parola PERICOLO, AVVERTENZA o ATTENZIONE.
PERICOLO indica una situazione di pericolo imminente che, se non evitata, determina la morte o gravi infortuni.
AVVERTENZA indica una situazione di potenziale pericolo che, se non evitata, può determinare la morte o gravi infortuni.
ATTENZIONE indica una situazione di potenziale pericolo che, se non evitata, potrebbe determinare infortuni lievi o moderati.
Per evidenziare le informazioni vengono utilizzate anche altre due parole. Importante indica informazioni di carattere meccanico di particolare importanza e Nota evidenzia informazioni generali di particolare rilevanza.
Il prodotto è conforme a tutte le direttive europee pertinenti. Vedere i dettagli nella Dichiarazione di Conformità (DICO) specifica del prodotto, fornita a parte.
Costituisce una trasgressione al Codice delle Risorse Pubbliche della California, Sezione 4442 o 4443, utilizzare o azionare questo motore su terreno forestale, sottobosco o prateria a meno che il motore non sia dotato di un parascintille, come definito nella Sezione 4442, mantenuto in effettivo stato di marcia, o a meno che il motore non sia realizzato, attrezzato o mantenuto per la prevenzione di incendi.
Il Manuale d'uso del motore allegato fornisce informazioni sull'Environmental Protection Agency (EPA) degli Stati Uniti e sul regolamento del Controllo delle Emissioni dello stato della California riguardo a sistemi di emissione, manutenzione e garanzia. I pezzi di ricambio possono essere ordinati tramite il produttore del motore.
CALIFORNIA
Avvertenza norma "Proposition 65"
Il gas di scarico di questo prodotto contiene sostanze chimiche note allo Stato della California come cancerogene e responsabili di difetti congeniti ed altri problemi riproduttivi.
I poli delle batterie, i morsetti e gli accessori attinenti contengono piombo e relativi composti, sostanze chimiche che nello Stato della California sono considerate cancerogene e causa di anomalie della riproduzione. Lavate le mani dopo aver maneggiato la batteria.
L'utilizzo del presente prodotto potrebbe esporre a sostanze chimiche che nello Stato della California sono considerate cancerogene e causa di anomalie congenite o di altre problematiche della riproduzione.
Per una migliore trazione, è possibile aggiungere il kit zavorra 100-6442 alla parte anteriore della macchina.
Note: Se sulla macchina è installato un attrezzo anteriore per il sollevamento o spazzaneve, non sarà possibile installare il kit zavorra per via di impedimenti fisici.
Questo prodotto è in grado di procurare lesioni agli individui. Rispettate sempre tutte le norme di sicurezza per evitare gravi infortuni alla persona.
L'utilizzo di questo prodotto per scopi diversi da quelli previsti potrebbe rivelarsi pericoloso per voi ed eventuali astanti.
Leggete e comprendete il contenuto di questo Manuale dell'operatore prima di avviare il motore. Accertatevi che chiunque utilizzi il prodotto sappia come farlo funzionare e comprenda le avvertenze.
Prestate la massima attenzione mentre utilizzate la macchina. Non intraprendete alcuna attività che vi possa distrarre; in caso contrario potreste causare infortuni o danni alla proprietà.
Non mettete le mani o i piedi vicino a componenti in movimento della macchina.
Non utilizzate la macchina senza che tutti gli schermi e gli altri dispositivi di protezione siano montati e correttamente funzionanti.
Tenete la macchina a distanza dagli astanti mentre si sposta.
Tenete i bambini all’esterno dall'area di lavoro. Non permettete mai che bambini e ragazzi utilizzino la macchina.
Fermate la macchina e spegnete il motore prima di effettuare interventi di assistenza o rifornimento di carburante sulla macchina.
L'errato utilizzo o la manutenzione di questa macchina può causare infortuni. Per ridurre il rischio di incidenti, rispettate le seguenti norme di sicurezza e fate sempre attenzione al simbolo di allarme (Figura 2), che indica: Attenzione, Avvertenza o Pericolo – “norme di sicurezza”. Il mancato rispetto di queste istruzioni può provocare infortuni o morte.
Se necessario, potete trovare ulteriori informazioni sulla sicurezza all’interno del presente Manuale dell’operatore.
![]() |
Gli adesivi di sicurezza e di istruzione sono chiaramente visibili e sono affissi accanto a zone particolarmente pericolose. Sostituite eventuali adesivi danneggiati o mancanti. |








Note: Stabilite i lati sinistro e destro della macchina dalla normale posizione di guida.
Note: Togliete tutte le staffe e gli elementi di fissaggio per la spedizione, e scartateli.
Parti necessarie per questa operazione:
| Volante | 1 |
| Collare in schiuma sintetica | 1 |
| Rondella | 1 |
| Dado di bloccaggio | 1 |
| Coperchio del volante | 1 |
Spostate la ruota anteriore in modo che sia diritta.
Collocate il collare in schiuma sintetica sul piantone, inserendo prima l'estremità piccola (Figura 3).

Collocate il volante sul piantone (Figura 3).
Fissate il volante sul piantone con una rondella e un dado di bloccaggio (Figura 3).
Serrate il dado di bloccaggio a 27–35 N∙m.
Premete il coperchio del volante in posizione sul volante stesso (Figura 3).
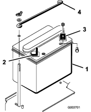
Rimuovete i due dadi ad alette e le rondelle che fissano la tenuta superiore della batteria alle tenute laterali (Figura 4). Rimuovete la tenuta superiore della batteria e rimuovete la batteria.

Parti necessarie per questa operazione:
| Elettrolito con densità relativa 1,260 (non a corredo) | – |
Se la batteria non è colma di elettrolito o non è attivata, aggiungete elettrolito con peso specifico di 1,260.
Note: Potete acquistate elettrolito presso un punto vendita di batterie della vostra zona.
L'elettrolito della batteria contiene acido solforico, che è fatale se consumato e causa gravi ustioni.
Non bevete l'elettrolito, e non lasciate che venga a contatto con la pelle, gli occhi o gli indumenti. Indossate occhiali di protezione per proteggere gli occhi, e guanti di gomma per proteggere le mani.
Riempite la batteria nelle vicinanze di acqua pulita, per lavare accuratamente la pelle.
Togliete i tappi di riempimento dalla batteria e riempite lentamente ogni elemento finché il livello dell'elettrolito non raggiunge la linea di pieno.
Ricollocate i tappi di riempimento e collegate un caricabatterie da 3–4 A ai poli della batteria. Caricate la batteria a 3 – 4 ampere per 4 – 8 ore.
Durante la ricarica della batteria si sviluppano gas esplosivi.
Non fumate mai nelle adiacenze della batteria e tenetela lontano da scintille e fiamme.
Quando la batteria è carica, staccate il caricabatterie dalla presa elettrica e dai poli della batteria. Lasciate riposare la batteria per 5 o 10 minuti.
Togliete i tappi di riempimento.
Rabboccate lentamente ogni elemento con l'elettrolito finché il livello non raggiunge la linea di pieno.
Important: Non riempite troppo la batteria. L'elettrolito si verserebbe su altri componenti della macchina, causando grave corrosione e deterioramento.
Montate i tappi di riempimento.
Parti necessarie per questa operazione:
| Bullone (¼" x ⅝") | 2 |
| Dado di bloccaggio (¼") | 2 |
Montate la batteria, con il morsetto negativo verso la parte posteriore della macchina (Figura 5).

In caso di errato percorso dei cavi della batteria, la macchina ed i cavi possono venire danneggiati e causare scintille. che possono fare esplodere i gas delle batterie e causare infortuni.
Scollegate sempre il cavo negativo (nero) della batteria prima di quello positivo (rosso).
Collegate sempre il cavo positivo (rosso) della batteria prima di quello negativo (nero).
I morsetti della batteria e gli attrezzi metallici possono creare cortocircuiti contro i componenti metallici, e provocare scintille. che possono fare esplodere i gas delle batterie e causare infortuni.
In sede di rimozione o montaggio della batteria, impedite ai morsetti di toccare le parti metalliche della macchina.
Non lasciate che gli attrezzi metallici creino cortocircuiti fra i morsetti della batteria e le parti metalliche della macchina.
Fissate il cavo positivo (rosso) al morsetto positivo (+) con un bullone (¼" x ⅝") e un dado di bloccaggio (Figura 6).

Fissate il cavetto nero e il cavo negativo (nero) al morsetto negativo (-) della batteria con un bullone (¼" x ⅝") e un dado di bloccaggio (¼") (Figura 6).
Spalmate della vaselina sui morsetti e sui dispositivi di fissaggio per impedirne la corrosione.
Fate scorrere la guaina di gomma sul morsetto positivo (+) per evitare un cortocircuito.
Montate la tenuta superiore della batteria alle tenute laterali e fissate con rondelle e dadi ad alette.
Parti necessarie per questa operazione:
| Kit zavorra anteriore, usare come opportuno | – |
Questa macchina è stata progettata in conformità con ANSI B71.4-2017. Tuttavia, quando vi sono attrezzi montati sulla macchina, potrebbe essere necessario montare zavorra aggiuntiva per conformarsi alle norme.
Fate riferimento alla seguente tabella per stabilire le combinazioni dei pesi aggiuntivi necessari. Ordinate le parti al Distributore Toro autorizzato di zona.
| Attrezzo | Zavorra anteriore aggiuntiva necessaria | N. cat. Kit zavorra | Descrizione della zavorra | Qtà |
|---|---|---|---|---|
| Kit spiker (08755) | 23 kg | 100-6442 | Peso piastra 8 x 3 kg | 1 |
| Grooming Rahn | 23 kg | 100-6442 | Peso piastra 8 x 3 kg | 1 |
| Contenitore QAS | 23 kg | 100-6442 | Peso piastra 8 x 3 kg | 1 |
Note: Non è richiesta una zavorra aggiuntiva se la macchina è dotata del Kit di sollevamento idraulico anteriore (modello 08712).
Parti necessarie per questa operazione:
| Adesivo anno di produzione | 1 |
Applicate l’adesivo dell’anno di produzione alla macchina nella zona indicata (Figura 7).

Parti necessarie per questa operazione:
| Adesivo di avvertenza | 1 |
Per le macchine che richiedono la conformità alle norme CE, applicate l’adesivo di avvertenza CE (n. cat. 136-6164) sulla parte inferiore dell’adesivo del quadro di comando (n. cat. 132-4422).

Il pedale della trazione (Figura 9) ha 3 funzioni: spostare la macchina in marcia avanti, spostarla in retromarcia e arrestare la macchina. Usando il tallone e la punta del piede destro, premete la parte superiore del pedale per procedere in avanti, e la parte inferiore per procedere in retromarcia o per agevolare l'arresto durante la marcia avanti (Figura 10). Per fermare la macchina lasciate che il pedale ritorni in FOLLE o mettetelo in folle. Per il vostro comfort, non appoggiate il tallone sulla sezione di retromarcia mentre guidate in marcia avanti.


La velocità di trazione è proporzionale al grado di pressione sul pedale della trazione. La velocità massima di trasferimento si ottiene premendo a fondo il pedale mentre l'acceleratore è in posizione di MASSIMA. Per ottenere la massima potenza o in fase di risalita lungo un pendio, fate in modo che l'acceleratore sia in posizione MASSIMA mentre premete leggermente il pedale per mantenere alto il regime del motore. Quando la velocità del motore inizia a diminuire, rilasciate leggermente il pedale per aumentare la velocità.
Important: Per la massima potenza di trazione, spostate l'acceleratore in posizione MASSIMA e premete leggermente il pedale della trazione.
Utilizzate la massima velocità di trazione soltanto durante il trasferimento da una zona all'altra.
Non utilizzate la massima velocità con un attrezzo montato o trainato.
Important: Non utilizzate la macchina in retromarcia con l'attrezzo in posizione abbassata (operativa) o l'attrezzo potrebbe subire gravi danni.
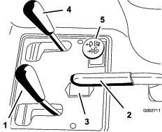
L'interruttore di accensione (Figura 11), utilizzato per avviare e spegnere il motore, ha 3 posizioni: SPEGNIMENTO, FUNZIONAMENTO e AVVIAMENTO. Girate la chiave in senso orario, in posizione di AVVIAMENTO, per azionare il motorino di avviamento. Rilasciate la chiave all'avviamento del motore e questa ritornerà in posizione di ACCENSIONE. Per spegnere il motore, girate la chiave in senso antiorario in posizione di SPEGNIMENTO.

Per avviare il motore a freddo, chiudete il diffusore del carburatore spostando verso l'alto il comando dello starter (Figura 11) in posizione di CHIUSURA. Quando il motore si avvia, regolate lo starter in modo da mantenere un regime regolare. Appena possibile, aprite lo starter spostandolo verso il basso in posizione APERTA. In caso di motore tiepido, è poco o per nulla necessario strozzare l'afflusso dell'aria.
La leva di comando dell'acceleratore (Figura 11) è collegata alla tiranteria tra l'acceleratore e il carburatore, e la controlla. Il comando ha 2 posizioni: MINIMA e MASSIMA. La velocità del motore è regolabile tra le due posizioni.
Note: Non è possibile spegnere il motore utilizzando il comando dell'acceleratore.
Per sollevare l'attrezzo tirate indietro la leva di sollevamento (Figura 12); per abbassarlo, spingete la leva in avanti. Per la posizione di FLOTTAZIONE, spostate la leva in posizione di fermo. Una volta raggiunta la posizione desiderata, rilasciate la leva che tornerà in posizione di folle.

Note: La macchina è provvista di un cilindro di sollevamento a doppio effetto. In talune condizioni di lavoro è possibile applicare sull'attrezzo una pressione discendente.
Per innestare il freno di stazionamento (Figura 12), tirate la leva indietro. Per disinnestarlo, spingete la leva in avanti.
Note: Per disinnestare il freno di stazionamento potreste dover girare lentamente avanti e indietro il pedale della trazione.
Il contaore (Figura 12) indica le ore totali di funzionamento della macchina. Il contaore inizia a funzionare ogniqualvolta viene girata la chiave di accensione in posizione di ACCENSIONE.
Spingete in avanti la leva sul fianco sinistro del sedile (Figura 13), spostate il sedile nella posizione preferita e rilasciate la leva per bloccarlo in tale posizione.

Prima di riporre la macchina in rimessa o trasferirla su un rimorchio, chiudete la valvola di intercettazione del carburante (Figura 14).

Note: Specifiche e disegno sono soggetti a variazione senza preavviso.
| Larghezza senza accessorio | 148 cm |
| Larghezza con rastrello, modello 08751 | 191 cm |
| Lunghezza senza accessorio | 164 cm |
| Altezza | 115 cm |
| Interasse | 109 cm |
| Peso netto | |
| Modello 08703 | 452 kg |
| Modello 08705 | 461 kg |
È disponibile una gamma di attrezzi ed accessori approvati da Toro per l'impiego con la macchina, per ottimizzare ed ampliare le sue applicazioni. Richiedete la lista degli attrezzi e accessori approvati a un Centro assistenza o a un distributore Toro autorizzati, oppure visitate www.Toro.com.
Per garantire prestazioni ottimali e mantenere sempre la macchina in conformità con le norme di sicurezza, utilizzate esclusivamente ricambi e accessori originali Toro. L'utilizzo di parti di ricambio e accessori di altri produttori può essere pericoloso e rendere nulla la garanzia.
Note: Stabilite i lati sinistro e destro della macchina dalla normale posizione di guida.
Non lasciate mai che bambini o persone non addestrate utilizzino o effettuino interventi di manutenzione sulla macchina. Le normative locali possono imporre limiti all'età dell'operatore. Il proprietario è responsabile della formazione di tutti gli operatori e i meccanici.
Acquisite familiarità con il funzionamento sicuro dell'attrezzatura, dei comandi dell'operatore e dei segnali di sicurezza.
Imparate come arrestare la macchina e il motore rapidamente.
Verificate che comandi di presenza dell'operatore, interruttori di sicurezza e schermi siano fissati e correttamente funzionanti. Se non funziona correttamente, non azionate la macchina.
Prima dell'utilizzo, ispezionate sempre la macchina per garantire che i componenti e i dispositivi di fissaggio siano in buone condizioni operative. Sostituite componenti e dispositivi di fissaggio usurati o danneggiati.
Ispezionate l'area dove utilizzerete la macchina e rimuovete tutti gli oggetti che la macchina potrebbe eventualmente scagliare.
Prestate estrema cautela nel maneggiare il carburante. È infiammabile e i suoi vapori sono esplosivi.
Spegnete sigarette, sigari, pipa e altre fonti di accensione.
Utilizzate soltanto taniche per carburanti approvate.
Non rimuovete il tappo del carburante né rabboccate il serbatoio del carburante mentre il motore è in funzione o è caldo.
Non dedicatevi a operazioni di aggiunta o di rimozione di carburante in spazi chiusi.
Non rimessate la macchina o la tanica del carburante in luoghi in cui siano presenti fiamme libere, scintille o spie, come quelle di uno scaldabagno o di altri apparecchi.
Se del carburante dovesse fuoriuscire, non tentate di avviare il motore, evitate di creare fonti di innesco fino a quando i vapori di carburante non saranno evaporati.
| Cadenza di manutenzione | Procedura di manutenzione |
|---|---|
| Dopo le prime 20 ore |
|
| Prima di ogni utilizzo o quotidianamente |
|
Al momento della fornitura la coppa del motore contiene dell'olio, il cui livello deve tuttavia essere controllato prima e dopo il primo avvio del motore.
La capacità del carter è di circa 1,66 litri con il filtro.
Usate un olio motore di alta qualità rispondente alla seguente specifica:
Livello di classificazione API: SL o superiore
Olio di preferenza: SAE 30 – sopra 4 °C
Parcheggiate la macchina su una superficie pianeggiante, spegnete il motore, inserite il freno di stazionamento e togliete la chiave.
Inclinate in avanti il sedile.
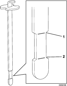
Estraete l'asta di livello (Figura 15) e asciugatela con un panno pulito.

Inserite l'asta di livello nel tubo e verificate che sia inserita a fondo. Estraete l'asta di livello dal tubo e controllate il livello dell'olio. Se il livello dell'olio è basso, togliete il tappo di rifornimento dal coperchio della valvola e versate dell'olio fino a portarne il livello al segno di pieno (Full) sull'asta.
Important: Il livello dell'olio deve rientrare sempre tra i limiti superiore e inferiore riportati sull'indicatore. Il riempimento eccessivo o insufficiente con olio motore può causare l'avaria del motore.
Rimontate saldamente l'asta di livello.
Important: L'asta di livello deve essere inserita a fondo nel tubo per ottenere la tenuta stagna della coppa del motore. La mancata chiusura a tenuta della coppa può causare l'avaria del motore.
Abbassate il sedile.
Capacità del serbatoio del carburante: 25 litri
Carburante consigliato:
Per ottenere risultati ottimali utilizzate solo benzina senza piombo fresca (con meno di 30 giorni) e pulita, di 87 o più ottani (metodo di classificazione (R+M)/2).
Etanolo: è consentito l'utilizzo di benzina contenente fino al 10% di etanolo (nafta) o al 15% di MTBE (metil-ter-butil-etere) per volume. L'etanolo e l'MTBE non sono la stessa cosa. Non è consentito l'utilizzo di benzina con il 15% di etanolo (E15) per volume. Non utilizzate benzina con etanolo superiore al 10% per volume, come E15 (contiene etanolo al 15%), E20 (contiene etanolo al 20%) o E85 (contiene etanolo fino all'85%). L'utilizzo di benzina non consentita può causare problemi di prestazioni e/o danni al motore non coperti dalla garanzia.
Non utilizzate benzina contenente metanolo.
Nella stagione invernale, non conservate il carburante nel serbatoio o nei contenitori senza utilizzare un apposito stabilizzatore.
Non aggiungete olio alla benzina.
Important: Non utilizzate additivi per carburante diversi dallo stabilizzatore/additivo. Non utilizzate stabilizzatori a base di alcol come etanolo, metanolo o alcol isopropilico.
Pulite intorno al tappo del serbatoio del carburante (Figura 16).
Rimuovete il tappo del serbatoio del carburante.
Riempite il serbatoio fino a 25 mm circa dall'estremità superiore del serbatoio stesso (base del collo del bocchettone). Non riempite troppo.

Montate il tappo.
Tergete il carburante versato, per prevenire il rischio d'incendio.
Important: Non utilizzate metanolo, benzina contenente metanolo o nafta contenente più del 10% di etanolo, perché potreste danneggiare il sistema di alimentazione del motore. Non mischiate olio e benzina.
| Cadenza di manutenzione | Procedura di manutenzione |
|---|---|
| Prima di ogni utilizzo o quotidianamente |
|
Il serbatoio viene riempito in fabbrica con 19 litri circa di fluido idraulico di prima qualità. Il momento migliore per controllare il fluido idraulico è quando è freddo. La macchina deve essere in configurazione da trasporto. Se il livello del fluido è inferiore al segno di aggiunta sull'asta, rabboccate il fluido per portarlo al centro del livello soddisfacente. Non riempite troppo il serbatoio. Se il livello del fluido è tra i segni di pieno e aggiunta, non è necessario rabboccare il fluido. Controllate il livello del fluido idraulico prima di avviare il motore per la prima volta e in seguito ogni giorno.
Per la sostituzione si consiglia il seguente fluido:
| Fluido idraulico Toro Premium All Season (fluido per tutte le stagioni disponibile in contenitori da 19 litri o da 208 litri, fate riferimento alla documentazione relativa ai componenti o rivolgetevi al vostro distributore Toro per i numeri dei pezzi) |
Fluido idraulico raccomandato: Fluido idraulico Toro Premium All Season (fluido idraulico per tutte le stagioni)
Fluidi alternativi: Qualora il fluido Toro non sia disponibile, si potranno utilizzare altri fluidi convenzionali purché abbiano tutte le proprietà materiali e caratteristiche industriali indicate a seguire. Controllate con il vostro fornitore del fluido per verificare se il fluido soddisfa tali specifiche.
Note: Toro declina ogni responsabilità per danni causati dall'errata sostituzione, pertanto si raccomanda l'uso di prodotti di marche aventi una buona reputazione, che rispondano delle proprie raccomandazioni.
| Fluido idraulico antiusura, alto indice di viscosità e basso punto di scorrimento, ISO VG 46 Multigrade | |
| Proprietà materiali: | |
| Viscosità, ASTM D445 | cSt a 40 °C: 44–48cSt a 100 °C: 7,9 - 9,1 |
| Indice di viscosità ASTM D2270 | 140 o superiore |
| Punto di scorrimento, ASTM D97 | da -37 °C a -45 °C |
| FZG, Stadio di fallimento | 11 o superiore |
| Tenore idrico (fluido nuovo): | 500 ppm (massimo) |
| Caratteristiche industriali: | |
| Vickers I-286-S, Vickers M-2950-S, Denison HF-0, Vickers 35 VQ 25 (Eaton ATS373-C) | |
È necessario specificare l'idoneità dei fluidi idraulici idonei a macchinari mobili (uso diverso da un impianto industriale), tipo multi-peso, con pacchetto additivo antiusura ZnDTP o ZDDP (fluido non senza ceneri).
Important: Molti fluidi idraulici sono praticamente incolori, e rendono difficile il rilevamento di fuoriuscite. Un additivo con colorante rosso per il fluido dell'impianto idraulico è disponibile in flaconi da 20 ml. Un flacone è sufficiente per 15–22litri di fluido idraulico. Ordinate il componente n. 44-2500 presso il vostro Distributore Autorizzato Toro.
Fluido idraulico biodegradabile sintetico
(disponibile in contenitori da 19 litri o da 208 litri, fate riferimento alla documentazione relativa ai componenti o rivolgetevi al vostro distributore Toro per i numeri dei pezzi)
Questo fluido biodegradabile sintetico di alta qualità è stato testato ed è risultato compatibile con questo modello Toro. Altre marche di fluidi sintetici possono presentare problemi di compatibilità a livello di guarnizione e Toro non si assume la responsabilità per sostituzioni non autorizzate.
Note: Questo fluido sintetico non è compatibile con il fluido Toro biodegradabile venduto in precedenza. Per maggiori informazioni rivolgetevi al Distributore Toro di zona.
Fluidi alternativi:
Mobil EAL Envirosyn H 46 (USA)
Olio idraulico Mobil EAL 46 (internazionale)
Parcheggiate la macchina su una superficie pianeggiante, spegnete il motore, inserite il freno di stazionamento e togliete la chiave.
Pulite attorno al tappo del serbatoio idraulico per impedire l'ingresso di corpi estranei nel serbatoio (Figura 17).

Togliete il tappo del serbatoio.
Togliete l'asta di livello dal collo del bocchettone e pulitela strofinando con un panno pulito.
Inserite l'asta di livello nel collo del bocchettone, quindi estraetela e controllate il livello del fluido.
Note: Il livello del fluido deve essere tra il segno superiore e quello inferiore (zona di strizione) sull'asta di livello (Figura 18).

Se il fluido è insufficiente, rabboccate lentamente il serbatoio con il fluido idraulico idoneo fino alla strizione sull'asta.
Note: Non riempite troppo il serbatoio.
Montate il tappo sul serbatoio.
Important: Per non contaminare l'impianto, pulite le superfici superiori delle lattine di fluido idraulico prima di praticare il foro. Pulite anche la bocchetta e l'imbuto.
| Cadenza di manutenzione | Procedura di manutenzione |
|---|---|
| Prima di ogni utilizzo o quotidianamente |
|
Prima di usare la macchina controllate la pressione dei pneumatici (Figura 19). La pressione esatta dei pneumatici anteriori e posteriori è:
Pneumatici con battistrada: 0,70 bar
Note: Se è necessaria una trazione aggiuntiva per il funzionamento delle lame, riducete la pressione a 0,55 bar.
Pneumatici lisci: tra 0,55 e 0,70 bar

| Cadenza di manutenzione | Procedura di manutenzione |
|---|---|
| Dopo le prime 8 ore |
|
| Ogni 100 ore |
|
Serrate i dadi a staffa a 95–122 N∙m.
Il proprietario/operatore può impedire ed è responsabile di incidenti che possano causare infortuni personali o danni alla proprietà.
Indossate abbigliamento consono, comprendente occhiali di protezione, calzature robuste e antiscivolo, pantaloni lunghi e protezioni per l'udito. Legate i capelli lunghi e non indossate gioielli larghi o pendenti.
Non azionate la macchina se siete malati, stanchi o sotto l'influenza di alcool o farmaci.
Non trasportate mai passeggeri sulla macchina e tenete astanti e animali domestici a distanza dalla macchina durante l'utilizzo.
Utilizzate la macchina solo in buone condizioni di visibilità per evitare buche o pericoli nascosti.
Evitate di utilizzare la macchina sull'erba bagnata. Una trazione ridotta può causare lo slittamento della macchina.
Prima di avviare il motore, assicuratevi che tutte le trasmissioni siano in posizione di folle, che il freno di stazionamento sia inserito e che vi troviate nella posizione operativa.
Prima di fare marcia indietro, guardate indietro e in basso, assicurandovi che il percorso sia libero.
Prestate attenzione quando vi avvicinate ad angoli ciechi, cespugli, alberi o altri oggetti che possano ostacolare la vostra visuale.
Non utilizzatela nelle adiacenze di scarpate, fossati o terrapieni; La macchina potrebbe ribaltarsi improvvisamente nel caso in cui una ruota ne superi il bordo o se il bordo dovesse cedere.
Arrestate la macchina e ispezionate l'attrezzo dopo aver colpito un oggetto o se sulla macchina si avvertono vibrazioni anomale. Effettuate tutte le riparazioni necessarie prima di riprendere le operazioni.
Rallentate e prestate attenzione in fase di curva e attraversamento di strade e marciapiedi con la macchina. Date sempre la precedenza.
Non azionate il motore in una zona in cui i gas di scarico rimangano racchiusi.
Non lasciate mai incustodita una macchina in moto.
Prima di abbandonare la posizione operativa, effettuate le seguenti procedure:
Parcheggiate la macchina su terreno pianeggiante.
Abbassate gli attrezzi.
Inserite il freno di stazionamento.
Spegnete il motore e togliete la chiave.
Attendete che tutte le parti mobili si fermino.
Non utilizzate la macchina se c'è rischio di fulmini.
Non utilizzate la macchina come veicolo di traino.
Quando necessario, bagnate le superfici prima del trattamento per ridurre al minimo la creazione di polvere.
Utilizzate solo accessori, attrezzi e ricambi approvati da The Toro® Company.
Stabilite le vostre procedure e regole operative in pendenza. Queste procedure devono includere una ricognizione del sito per determinare quali pendenze sono sicure per l'utilizzo della macchina. Basatevi sempre su buon senso e giudizio quando effettuate questa ricognizione.
Le pendenze sono la causa principale di incidenti dovuti a perdita di controllo e ribaltamenti, che possono provocare gravi infortuni o la morte. L’operatore è responsabile del funzionamento sicuro in pendenza. L'utilizzo della macchina su qualsiasi pendenza richiede un livello superiore di attenzione.
Le pendenze sono la causa principale di incidenti dovuti a perdita di controllo e ribaltamenti, che possono provocare gravi infortuni o la morte. L'utilizzo della macchina su qualsiasi pendenza richiede un livello superiore di attenzione.
Utilizzate la macchina a velocità ridotta quando vi trovate in pendenza.
Se non vi sentite a vostro agio nell'utilizzo della macchina in pendenza, non utilizzatela.
Prestate attenzione a buche, solchi, dossi, rocce o altri oggetti nascosti. Il terreno accidentato può ribaltare la macchina. L'erba alta può nascondere degli ostacoli.
Selezionate una bassa velocità di trasferimento in modo da non dovervi fermare o cambiare mentre vi trovate in pendenza.
Può verificarsi un ribaltamento prima che gli pneumatici perdano trazione.
Evitate di utilizzare la macchina sull'erba bagnata. Gli pneumatici possono perdere trazione, indipendentemente dal fatto che i freni siano disponibili e funzionanti.
Evitate di avviare, arrestare o sterzare con la macchina in pendenza.
Mantenete tutti i movimenti in pendenza lenti e graduali. Non cambiate bruscamente la velocità o la direzione della macchina.
Non utilizzate la macchina in prossimità di scarpate, fossati, terrapieni o zone d'acqua. La macchina potrebbe ribaltarsi improvvisamente nel caso in cui una ruota ne superi il bordo o se il bordo dovesse cedere. Individuate un'area di sicurezza tra la macchina ed eventuali pericoli (larghezza pari a 2 volte la macchina).
Togliete il piede dal pedale della trazione, assicuratevi che il pedale sia in posizione di FOLLE e inserite il freno di stazionamento.
Spingete in avanti la leva dello starter in posizione di ACCENSIONE (solo per l'avviamento a freddo) e la leva dell'acceleratore in posizione di MINIMA.
Important: Lasciate riscaldare la macchina prima di utilizzarla a temperature inferiori a 0 ℃. In tal modo eviterete di danneggiare l'idrostato e l'impianto di trazione.
Inserite la chiave nell'interruttore di accensione e giratela in senso orario per avviare il motore. Rilasciate la chiave una volta avviato il motore.
Note: Regolate lo starter per mantenere un regime motore regolare.
Important: Per impedire che il motore si surriscaldi non innestate il motorino di avviamento per più di 10 secondi. Dopo dieci secondi di continuo innesto, attendete 60 secondi prima di innestare di nuovo il motorino di avviamento.
Per spegnere il motore, spostate il comando dell'acceleratore in posizione di MINIMA e girate la chiave di accensione in posizione di SPEGNIMENTO.
Note: Togliete la chiave dall'interruttore per evitare l'avviamento accidentale del motore.
Prima di riporre la macchina in rimessa, chiudete la valvola di intercettazione del carburante.
L'ispezione della macchina mentre il motore è in funzione può provocare infortuni.
Prima di controllare che non vi siano perdite d'olio, parti allentate o altri problemi, spegnete il motore e attendete che tutte le parti in movimento si siano fermate.
Se gli interruttori di sicurezza a interblocchi sono scollegati o guasti, la macchina può muoversi improvvisamente e causare incidenti.
Non manomettete i microinterruttori di sicurezza.
Ogni giorno, controllate il funzionamento dei microinterruttori di sicurezza, e prima di azionare la macchina sostituite gli interruttori guasti.
Il sistema degli interruttori di sicurezza a interblocchi intende impedire la messa in moto o l'avviamento del motore quando il pedale della trazione non è in FOLLE. Inoltre, il motore dovrebbe spegnersi se il pedale della trazione viene mosso in avanti o indietro senza che sia presente l'operatore sul sedile.
Posizionate la macchina in un ampio spazio aperto, sgombro da corpi estranei e persone. Spegnete il motore.
Sedetevi alla postazione di guida e inserite il freno di stazionamento.
Premete il pedale della trazione in avanti e in retromarcia mentre cercate di avviare il motore.
Note: Se il motore si avvia, il sistema degli interruttori di sicurezza a interblocchi non funziona correttamente. Riattate immediatamente.Se il motore non si avvia, il sistema degli interruttori di sicurezza a interblocchi funziona correttamente.
Rimanete seduti sul sedile, con il pedale di trazione in posizione di FOLLE e il freno di stazionamento inserito, e avviate il motore.
Alzatevi dalla postazione di guida e premete lentamente il pedale della trazione.
Note: Il motore deve spegnersi in 1-3 secondi. Correggete il problema se l'impianto non funziona correttamente.
I motori nuovi raggiungono la piena potenza dopo qualche tempo. Le trasmissioni, quando sono nuove, hanno un maggiore attrito e assoggettano il motore ad un maggiore carico.
Destinate le prime 8 ore di funzionamento al rodaggio.
Le prime ore di servizio sono molto importanti in termini di affidabilità della macchina, pertanto si raccomanda di controllare accuratamente il funzionamento e le prestazioni al fine di prendere nota e rettificare piccoli problemi che, se ignorati, potrebbero causare problemi gravi. Controllate sovente la macchina durante la fase di rodaggio, per rilevare perdite d'olio, dispositivi di fissaggio allentati od altri segni di cattivo funzionamento.
Parcheggiate la macchina su una superficie piana; prima di scendere dal posto di guida inserite il freno di stazionamento, spegnete il motore, togliete la chiave e attendete che si fermino tutte le parti in movimento.
Pulite erba e detriti da marmitta e vano motore, per aiutare a evitare incendi. Tergete l'olio o il carburante versati.
Lasciate raffreddare il motore prima del rimessaggio della macchina al chiuso.
Chiudete il carburante prima di effettuare il rifornimento o il trasporto della macchina.
Non depositate mai la macchina o la tanica del carburante in presenza di fiamme libere, scintille o spie, come vicino a uno scaldabagno o altre apparecchiature.
Mantenete tutte le parti della macchina in buone condizioni operative e la bulloneria ben serrata.
Sostituite tutti gli adesivi usurati, danneggiati o mancanti.
In caso di emergenza potete trainare la macchina per una breve distanza. Sconsigliamo tuttavia di effettuare il traino adottandolo come procedura standard.
Important: Non trainate mai la macchina a una velocità superiore a 1,6 km/h dal momento che l'impianto di trasmissione potrebbe subire danni. Se dovete spostare la macchina per oltre 50 m, trasportatela su un autocarro o un rimorchio. Trainando la macchina a velocità elevate si possono far bloccare le ruote. In questo caso fermate la macchina e attendete che la pressione del circuito di trazione di stabilizzi, prima di rimorchiarla a una velocità inferiore.
Utilizzate rampe di larghezza massima per caricare la macchina su un rimorchio o un autocarro.
Ancorate saldamente la macchina.
Per le istruzioni di funzionamento specifiche dell'accessorio, fate riferimento al manuale dell'operatore relativo all'accessorio.
Esercitatevi a guidare la macchina, perché le sue caratteristiche operative sono diverse da quelle di alcuni veicoli polifunzionali. Quando guidate questo veicolo dovete tenere presenti 2 elementi: la velocità di trasmissione e la velocità del motore.
Per mantenere costante la velocità del motore, premete lentamente il pedale della trazione. In tal modo il motore può tenere il passo con la velocità di trazione del veicolo. Diversamente, premendo rapidamente il pedale della trazione si riduce la velocità del motore e, di conseguenza, la coppia-potenza sarà insufficiente per spostare il veicolo. Per trasferire la massima potenza alle ruote, mettete quindi l'acceleratore in posizione di MASSIMA e premete leggermente il pedale della trazione. La massima velocità di trazione senza carico si ottiene invece con l'acceleratore in posizione di MASSIMA e premendo lentamente a fondo il pedale della trazione. Mantenete sempre un'alta velocità del motore sufficiente a trasmettere la massima coppia-potenza alle ruote.
L'utilizzo della macchina richiede la vostra attenzione per impedire il ribaltamento e la perdita di controllo.
Prestate attenzione quando entrate o uscite da banchi di sabbia.
Prestate la massima attenzione nelle adiacenze di fossati, torrenti o altri potenziali pericoli.
Prestate attenzione quando guidate su pendii ripidi.
Rallentate prima di eseguire curve brusche o di svoltare su pendii.
Evitate arresti e avviamenti improvvisi.
Non passate dalla retromarcia alla marcia avanti senza prima esservi fermati completamente.
Note: Se l’adattatore dell’attrezzo dovesse bloccarsi sull’adattatore del trattore, inserire una barra o un cacciavite nell’apposita fessura per sbloccare le parti (Figura 20).

Note: Stabilite i lati sinistro e destro della macchina dalla normale posizione di guida.
Se lasciate la chiave nell'interruttore di accensione, qualcuno potrebbe accidentalmente avviare il motore e ferire gravemente voi od altre persone.
Togliete la chiave dall'interruttore di accensione prima di ogni intervento di manutenzione.
| Cadenza di manutenzione | Procedura di manutenzione |
|---|---|
| Dopo le prime 8 ore |
|
| Dopo le prime 20 ore |
|
| Prima di ogni utilizzo o quotidianamente |
|
| Ogni 25 ore |
|
| Ogni 100 ore |
|
| Ogni 200 ore |
|
| Ogni 400 ore |
|
| Ogni 800 ore |
|
| Ogni 1500 ore |
|
Important: Per ulteriori interventi di manutenzione si rimanda al Manuale del proprietario del motore.
Note: Per ottenere uno schema elettrico o uno schema idraulico della vostra macchina visitate il sito www.toro.com.
Fotocopiate questa pagina e utilizzatela quando opportuno.
| Punto di verifica per la manutenzione | Per la settimana di: | ||||||
|---|---|---|---|---|---|---|---|
| Lun | Mar | Mer | Gio | Ven | Sab | Dom | |
| Verificate il funzionamento del sistema degli interruttori di sicurezza a interblocchi. | |||||||
| Verificate il funzionamento dello sterzo. | |||||||
| Controllate il livello del carburante. | |||||||
| Controllate il livello dell'olio motore. | |||||||
| Controllate le condizioni del filtro dell'aria. | |||||||
| Pulite le alette di raffreddamento del motore. | |||||||
| Controllate eventuali rumori insoliti prodotti dal motore. | |||||||
| Controllate eventuali rumori anomali di funzionamento. | |||||||
| Controllate il livello del fluido idraulico. | |||||||
| Verificate che i tubi idraulici flessibili non siano danneggiati. | |||||||
| Verificate che non ci siano perdite di liquido. | |||||||
| Controllate la pressione degli pneumatici. | |||||||
| Verificate il funzionamento degli strumenti. | |||||||
| Ritoccate la vernice danneggiata. | |||||||
| Nota sulle aree problematiche | ||
| Ispezione effettuata da: | ||
| N. | Data | Informazioni |
Important: Gli elementi di fissaggio presenti sui coperchi di questa macchina sono progettati in modo tale che rimangano agganciati ai coperchi dopo la loro rimozione. Allentate di alcuni giri tutti gli elementi di fissaggio su ogni coperchio, così che il coperchio risulti mobile ma ancora agganciato, quindi allentate completamente gli elementi di fissaggio fino a liberare del tutto il coperchio. Questa procedura vi impedirà di staccare accidentalmente del tutto i bulloni dagli elementi di fissaggio.
Prima di effettuare interventi di regolazione, pulizia, riparazione o prima di abbandonare la macchina, effettuate quanto segue:
Parcheggiate la macchina su terreno pianeggiante.
Spostate l'interruttore dell'acceleratore in posizione di minima inferiore.
Abbassate l'attrezzo.
Assicuratevi che la trazione sia in folle.
Inserite il freno di stazionamento.
Spegnete il motore e togliete la chiave.
Attendete che tutte le parti mobili si fermino.
Lasciate che i componenti della macchina si raffreddino prima di effettuare la manutenzione.
Se possibile, non effettuate la manutenzione mentre il motore è in funzione. Tenetevi a distanza dalle parti in movimento.
Utilizzate cavalletti metallici per sostenere la macchina o i componenti quando necessario.
Scaricate con cautela la pressione dai componenti che hanno accumulato energia.
I martinetti meccanici o idraulici non sono adatti a sostenere la macchina e possono causare gravi infortuni.
Utilizzate cavalletti per sostenere la macchina.
I punti di sollevamento sono:
La macchina è dotata di raccordi di ingrassaggio che devono essere lubrificati regolarmente con grasso al litio n. 2 dopo ogni 100 ore di funzionamento.
Lubrificate i seguenti cuscinetti e boccole:
cuscinetto ruota anteriore (1) (Figura 23)

perno del pedale della trazione (1) (Figura 24)

attacco posteriore (5) (Figura 25)

estremità dell'asta del cilindro di sterzo (1) – solo modello 08705 (Figura 26)

perno dello sterzo (Figura 27)
Note: Il raccordo piano sul perno dello sterzo (Figura 27) richiede un adattatore per l'ugello della pistola d'ingrassaggio. Ordinate il n. cat. Toro 107-1998 dal vostro distributore Toro autorizzato.

| Cadenza di manutenzione | Procedura di manutenzione |
|---|---|
| Ogni 100 ore |
|
Pulite i raccordi d'ingrassaggio, in modo che corpi estranei non possano essere forzati nel cuscinetto o nella boccola.
Pompate del grasso nel cuscinetto o nella boccola.
Tergete il grasso superfluo.
Spegnete il motore prima di controllare l'olio o aggiungere olio nella coppa.
Non cambiate la velocità del regolatore o utilizzate una velocità eccessiva del motore.
| Cadenza di manutenzione | Procedura di manutenzione |
|---|---|
| Dopo le prime 20 ore |
|
| Ogni 100 ore |
|
Parcheggiate la macchina su una superficie pianeggiante, spegnete il motore, inserite il freno di stazionamento e togliete la chiave.
Togliete il tappo di spurgo (Figura 28) e lasciate defluire l'olio in una bacinella. Quando l'olio cessa di defluire, rimontate il tappo.

Togliete il filtro dell'olio (Figura 28).
Spalmate un velo di olio pulito sulla guarnizione di tenuta del nuovo filtro.
Avvitate il filtro a mano, finché la guarnizione non tocca l'adattatore del filtro, quindi serrate di nuovo da mezzo a tre quarti di giro.
Important: Non serrate troppo il filtro.
Rabboccate la coppa con olio adatto; vedere Controllo del livello dell'olio motore.
Smaltite adeguatamente l'olio.
| Cadenza di manutenzione | Procedura di manutenzione |
|---|---|
| Ogni 200 ore |
|
Controllate la struttura del filtro dell'aria per verificare che non vi siano danni che potrebbero causare una perdita d'aria. Sostituite eventuali componenti danneggiati. Verificate che l'intero sistema di presa d'aria non sia danneggiato, non accusi perdite e che le fascette stringitubo non siano allentate.
Non sostituite il filtro dell'aria prima del necessario: ciò aumenterebbe il rischio che la morchia entri nel motore quando si toglie il filtro.
Verificate che il coperchio si chiuda ermeticamente intorno al corpo del filtro dell'aria.
| Cadenza di manutenzione | Procedura di manutenzione |
|---|---|
| Ogni 200 ore |
|
Rilasciate i fermi che fissano il coperchio del filtro dell’aria al relativo corpo (Figura 29).

Togliete il coperchio dal corpo del filtro dell'aria.
Prima di rimuovere il filtro utilizzate aria compressa a bassa pressione (2,76 bar, pulita e asciutta) per agevolare la rimozione di grossi detriti depositati tra il filtro primario esterno e la scatola.
Important: Evitate di usare aria ad alta pressione, che potrebbe forzare la morchia attraverso il filtro e nella zona di aspirazione. Questa operazione di pulizia impedisce che la rimozione del filtro primario causi lo spostamento dei detriti nella zona di aspirazione.
Togliete il filtro e sostituitelo.
Note: Controllate il filtro nuovo e accertatevi che non sia stato danneggiato durante la spedizione, in particolare l'estremità di tenuta del filtro ed il corpo. Non usate l'elemento se è avariato. Montate il filtro nuovo premendo sul bordo esterno dell'elemento per inserirlo nella scatola. Non premete sulla parte centrale flessibile del filtro.
Note: Si sconsiglia la pulizia dell'elemento usato, per evitare il rischio di danneggiare l'elemento filtrante.
Pulite il foro di espulsione della morchia, previsto nel coperchio rimovibile.
Togliete la valvola di uscita in gomma dal coperchio, pulite la cavità e rimontate la valvola di uscita.
Montate il coperchio con la valvola di uscita in gomma disposta in giù, in una posizione tra le ore 5 e le ore 7 vista dall'estremità.
Fissate i dispositivi di chiusura.
| Cadenza di manutenzione | Procedura di manutenzione |
|---|---|
| Ogni 800 ore |
|
Tipo: Champion RC14YC (o equivalente)
Distanza tra gli elettrodi: 0,76 mm
Note: In linea di massima le candele durano molto tempo, tuttavia dovreste rimuoverle e controllarle ogni volta che il motore accusa un'avaria.
Pulite la superficie attorno a ciascuna candela, per evitare che corpi estranei cadano nel cilindro quando la togliete.
Staccate i cappellotti dalle candele e rimuovete queste ultime dalla testata.
Controllate le condizioni degli elettrodi laterale e centrale e dell’isolatore, per accertare che non siano avariati.
Important: Sostituite le candele incrinate, incrostate, sporche o malfunzionanti. Non sabbiate, raschiate o pulite gli elettrodi con una spazzola metallica, poiché la graniglia potrebbe cadere dalla candela nel cilindro, danneggiando probabilmente il motore.
Impostate la distanza tra l'elettrodo centrale e l'elettrodo laterale a 0,76 mm; fate riferimento a Figura 30. Montate la candela alla giusta distanza con una guarnizione di tenuta e serratela a 23 N∙m. In mancanza di una chiave torsiometrica, serrate a fondo il tappo.

| Cadenza di manutenzione | Procedura di manutenzione |
|---|---|
| Ogni 800 ore |
|
Nell'impianto di alimentazione è incorporato un filtro in linea. Quando occorre sostituirlo, procedete come segue.
Chiudete la valvola di intercettazione del carburante, allentate la fascetta stringitubo dal lato carburatore e togliete il tubo di alimentazione dal filtro (Figura 31).

Collocate una bacinella di spurgo sotto il filtro, allentate l'altra fascetta stringitubo e togliete il filtro.
Montate il nuovo filtro con la freccia sul corpo del filtro in direzione opposta al serbatoio del carburante (verso il carburatore).
Fate scorrere le fascette stringitubo sulle estremità dei tubi del carburante.
Spingete i tubi del carburante sul filtro e fissateli con le fascette stringitubo.
Note: Verificate che la freccia sul fianco del filtro punti in direzione del carburatore.
Scollegate la batteria prima di riparare la macchina. Scollegate prima il morsetto negativo, per ultimo quello positivo. Collegate prima il morsetto positivo e per ultimo quello negativo.
Caricate la batteria in un'area aperta e ben ventilata, lontano da scintille e fiamme. Scollegate il caricabatteria prima di collegare o scollegare la batteria. Indossate indumenti di protezione e utilizzate attrezzi isolati.
Se è necessario avviare la macchina con cavetti portatili, potete utilizzare il polo positivo alternativo (situato sul solenoide dello starter) al posto del polo positivo della batteria (Figura 32).

Il portafusibili (Figura 33) si trova sotto il sedile.

| Cadenza di manutenzione | Procedura di manutenzione |
|---|---|
| Ogni 25 ore |
|
Mantenete il livello corretto dell'elettrolito della batteria e fate in modo che la parte superiore della batteria sia pulita. Se la macchina viene riposta in un luogo con temperatura molto elevata, la batteria si scarica più rapidamente rispetto al rimessaggio in un luogo fresco.
Tenete pulito il lato superiore della batteria lavandolo periodicamente con un pennello bagnato in una soluzione di bicarbonato di sodio o ammoniaca. Dopo la pulizia sciacquate il lato superiore con acqua. Non togliete il tappo di riempimento durante la pulizia.
Serrate i cavi della batteria nei morsetti, per ottenere un buon contatto elettrico.
Nel caso in cui i morsetti della batteria siano corrosi, scollegate i cavi, prima il cavo negativo (–), e raschiate i serrafili ed i morsetti separatamente. Collegate i cavi, prima il cavo positivo (+), e spalmate della vaselina sui morsetti.
Controllate il livello dell'elettrolito ogni 25 ore di funzionamento, oppure ogni 30 giorni se la macchina è in rimessa.
Mantenete il giusto livello degli elementi rabboccando con acqua distillata o demineralizzata. Non riempite gli elementi oltre la linea di riempimento.
Se la macchina si sposta quando il pedale della trazione è in folle, regolate la camma della trazione.
Parcheggiate la macchina su una superficie pianeggiante, spegnete il motore, inserite il freno di stazionamento e togliete la chiave.
Allentate le 2 viti che fissano la protezione centrale alla macchina, e togliete la protezione (Figura 34).

Sollevate da terra la ruota anteriore ed una ruota posteriore, e collocate dei blocchi di sostegno sotto il telaio.
Perché la macchina non si sposti durante la regolazione è necessario sollevare da terra la ruota anteriore e una ruota posteriore. Ciò può causare un guasto della macchina e ferire chi si trova al di sotto di essa.
Assicuratevi che la macchina sia supportata in modo adeguato, con la ruota anteriore e una ruota posteriore sollevate da terra.
Allentate il dado di bloccaggio sulla camma di regolazione della trazione (Figura 35).

Il motore deve girare per consentire la messa a punto finale della camma di regolazione della trazione. Il contatto con parti in movimento o superfici calde può causare infortuni.
Tenete mani, piedi, viso e altre parti del corpo lontano da parti rotanti, marmitta e altre superfici calde.
Avviate il motore e girate in entrambe le direzioni l'esagono della camma (Figura 35) per stabilire la posizione centrale del range di folle.
Serrate il dado di bloccaggio che mantiene la regolazione.
Spegnete il motore.
Montate la protezione centrale.
Rimuovete i cavalletti metallici e abbassate la macchina a terra.
Testate la macchina per assicurarvi che non si sposti quando il pedale della trazione è in folle.
Regolate la trasmissione per la folle; vedere Regolazione della trazione per la folle.
Azionate la leva della pompa perché in modo da verificare che tutti i componenti funzionino regolarmente e siano adeguatamente sigillati.
Regolate la vite fino a ottenere un traferro di 0,8–2,3 mm; fate riferimento a Figura 35.
Verificate che il microinterruttore funzioni correttamente.
Il pedale di comando della trazione viene regolato in fabbrica per ottenere la velocità massima di trasferimento e di retromarcia. Tuttavia, se il pedale effettua la corsa completa prima che la leva della pompa raggiunge la fine corsa, o nel caso sia preferibile una velocità di trasferimento inferiore, è necessario regolarlo.
Per ottenere la velocità massima di trasferimento premete il pedale della trazione. Se il pedale tocca l'arresto (Figura 36) prima che la leva della pompa raggiunge la fine corsa, occorre regolarlo:

Parcheggiate la macchina su una superficie pianeggiante, spegnete il motore, inserite il freno di stazionamento e togliete la chiave.
Allentate il dado di bloccaggio del fermo del pedale.
Serrate il fermo del pedale finché non è più a contatto con il pedale di comando della trazione.
Continuate a premere leggermente sul pedale di trasferimento e regolate il fermo del pedale in modo che lo sfiori appena, o fino ad ottenere una luce di 2,5 mm tra l'asta del pedale ed il fermo.
Serrate i dadi.
Parcheggiate la macchina su una superficie pianeggiante, spegnete il motore, inserite il freno di stazionamento e togliete la chiave.
Allentate il dado di bloccaggio del fermo del pedale.
Inserite il fermo del pedale fino ad ottenere la velocità di trasferimento richiesta.
Allentate il dado di bloccaggio del fermo del pedale.
Regolate la piastra di arresto della leva di sollevamento (Figura 38) se l'attrezzo non flotta correttamente (seguendo il contorno del terreno) durante il lavoro.
Parcheggiate la macchina su una superficie pianeggiante, spegnete il motore, inserite il freno di stazionamento e bloccate le ruote.
Togliete le quattro viti che fissano la plancia al telaio (Figura 37).

Allentate i 2 bulloni che fissano la piastra di arresto al parafango e al telaio.

Il motore deve girare per consentire la messa a punto della piastra di arresto. Il contatto con parti in movimento o superfici calde può causare infortuni.
Tenete mani, piedi, viso e altre parti del corpo lontano da parti rotanti, marmitta e altre superfici calde.
Avviamento del motore.
Con il motore in funzione e la leva di sollevamento in posizione di FLOTTAZIONE, fate scorrere la piastra di arresto fino a quando il cilindro di sollevamento non può essere esteso e ritratto manualmente.
Serrate entrambe le viti di fissaggio per fissare la regolazione.
Il funzionamento ottimale dell'acceleratore dipende dalla corretta messa a punto del relativo comando. Prima di regolare il carburatore verificate che il comando dell'acceleratore funzioni correttamente.
Alzate il sedile.
Allentate la vite del serrafilo del cavo dell'acceleratore che fissa il cavo al motore (Figura 39).

Spostate in avanti la leva di comando remoto dell'acceleratore in posizione di MASSIMA.
Tirate con forza il cavo dell'acceleratore finché il retro della parte girevole non tocca il fermo (Figura 39).
Serrate la vite del serrafilo del cavo e controllate il regime del motore:
Minima superiore: 3,350–3,450 giri/min
Minima inferiore: 1,650–1,850 giri/min
Alzate il sedile.
Allentate la vite del serrafilo del cavo dello starter che fissa il cavo al motore (Figura 39).
Spostate in avanti la leva di comando remoto dello starter in posizione CHIUSA.
Tirate con forza il cavo dello starter (Figura 39) finché la farfalla dello starter non è completamente chiusa, quindi serrate la vite del serrafilo.
Important: Prima di regolare il comando della velocità del regolatore del motore occorre mettere a punto i comandi dell'acceleratore e dello starter.
Il motore deve girare durante la regolazione del comando della velocità del regolatore del motore. Il contatto con parti in movimento o superfici calde può causare infortuni.
Prima di eseguire questa operazione, verificate che il pedale della trazione sia in folle e innestate il freno di stazionamento.
Tenete mani, piedi, abbigliamento e altre parti del corpo lontano da eventuali parti rotanti, marmitta e altre superfici calde.
Note: Per la regolazione della minima inferiore procedete come segue. Per regolare soltanto la minima superiore procedete direttamente alla voce 5.
Avviate il motore e lasciatelo girare a velocità media per cinque minuti circa, per riscaldarlo.
Mettete il comando dell'acceleratore in posizione di MINIMA. Girate in senso antiorario la vite d'arresto della minima, finché non è più a contatto con la leva dell'acceleratore.
Piegate la linguetta di ancoraggio della molla regolata alla minima (Figura 40) per ottenere una velocità minima di 1.675 - 1.175 giri/min.
Note: Controllate la velocità con un tachimetro.

Regolate la vite di arresto del minimo fino ad aumentare la velocità a regime minimo di 25–50 giri/min. rispetto a quella impostata al punto 3.
Note: La velocità minima finale deve essere pari a 1.650 - 1.850 giri/min.
Mettete il comando dell'acceleratore in posizione MASSIMA.
Piegate la linguetta di ancoraggio della molla del massimo (Figura 40) per ottenere una velocità massima di 3.350 - 3.450 giri/min.
Se il fluido viene iniettato sulla pelle, rivolgetevi immediatamente ad un medico. Il fluido iniettato deve essere rimosso chirurgicamente da un medico entro poche ore.
Assicuratevi che tutti i flessibili e i tubi del fluido idraulico siano in buone condizioni e che tutti i collegamenti e i raccordi idraulici siano serrati prima di mettere l'impianto idraulico sotto pressione.
Tenete corpo e mani lontano da perdite filiformi o da ugelli che eiettano fluido idraulico pressurizzato.
Usate cartone o carta per cercare le perdite di fluido idraulico.
Eliminate con sicurezza la pressione dall'intero impianto idraulico prima di eseguire qualsiasi intervento sull'impianto.
| Cadenza di manutenzione | Procedura di manutenzione |
|---|---|
| Dopo le prime 8 ore |
|
| Ogni 400 ore |
|
Eseguite la sostituzione usando un filtro originale Toro.
Parcheggiate la macchina su una superficie pianeggiante, spegnete il motore, inserite il freno di stazionamento e togliete la chiave.
Allentate le 2 viti che fissano la protezione centrale alla macchina, e togliete la protezione (Figura 41).

Collocate una bacinella sotto il filtro idraulico situato sul lato sinistro della macchina (Figura 42).

Pulite la superficie circostante il filtro.Collocate una bacinella di spurgo sotto il filtro.Allentate lentamente il filtro idraulico, senza toglierlo, finché l'olio non scorre oltre la guarnizione e sgocciola lungo i lati del filtro.
Note: Se la macchina è dotata di un kit idraulico a distanza, potete togliere il flessibile di aspirazione dalla pompa per scaricare il fluido idraulico.
Quando il fluido defluisce più lentamente, togliete il filtro.
Lubrificate con fluido idraulico la guarnizione di tenuta sul filtro di sostituzione, e giratela a mano finché non viene a contatto con la testa del filtro. A questo punto serrate di un altro 3/4 di giro.
Note: Ora il filtro dovrebbe essere ermetico.
Riempite il serbatoio idraulico con fluido idraulico finché non raggiunge la zona di strizione sull'asta di livello. Non riempite troppo il serbatoio. Vedere Controllo del livello del fluido idraulico.
Avviate il motore e lasciatelo girare. Azionate il cilindro di sollevamento finché non si estende e ritrae, e si ottiene il movimento in avanti e indietro delle ruote.
Spegnete il motore e controllate il livello del fluido nel serbatoio; aggiungete fluido se necessario.
Verificate tutti i raccordi, che non devono presentare fuoriuscite.
Montate la protezione centrale.
Smaltite adeguatamente l'olio.
| Cadenza di manutenzione | Procedura di manutenzione |
|---|---|
| Prima di ogni utilizzo o quotidianamente |
|
Controllate i tubi idraulici ed i flessibili ogni giorno per rilevare fuoriuscite, tubi attorcigliati, attacchi allentati, usura, raccordi allentati, e deterioramento causato dalle condizioni atmosferiche e da agenti chimici. Eseguite tutte le riparazioni necessarie prima di mettere in funzione la macchina.
Ogni volta che si ripara o sostituisce un componente idraulico occorre cambiare il filtro dell'olio idraulico e caricare l'impianto idraulico.
Assicuratevi che il serbatoio idraulico e il filtro siano riempiti con fluido in ogni momento quando caricate l'impianto idraulico.
Parcheggiate la macchina su una superficie pianeggiante, spegnete il motore, inserite il freno di stazionamento e togliete la chiave.
Allentate le 2 viti che fissano la protezione centrale alla macchina, e togliete la protezione (Figura 43).

Sollevate da terra la ruota anteriore ed una ruota posteriore, e collocate dei blocchi di sostegno sotto il telaio.
Perché la macchina non si sposti durante la regolazione è necessario sollevare da terra la ruota anteriore e una ruota posteriore. Ciò può causare un guasto della macchina e ferire chi si trova al di sotto di essa.
Assicuratevi che la macchina sia supportata in modo adeguato, con la ruota anteriore e una ruota posteriore sollevate da terra.
Avviate il motore e impostate l'acceleratore in modo che il motore sia in funzione circa a 1.800 giri/min.
Agite sulla leva della valvola di sollevamento finché l'asta del cilindro di sollevamento non si sposta più volte dentro e fuori. Se dopo 10 o 15 secondi l'asta del cilindro non si sposta, o se la pompa emette dei suoni anomali, spegnete immediatamente il motore e ricercate la causa o il problema. Verificate che:
i tubi di aspirazione o il filtro non siano allentati
l'accoppiatore della pompa non sia allentato o guasto
i tubi di aspirazione non siano intasati
la valvola di sfogo per la carica non sia avariata
la pompa di carica non sia avariata
Se il cilindro si muove entro 10-15 secondi, passate al punto 6.
Azionate il pedale della trazione in avanti e in retromarcia. Le ruote sollevate da terra devono girare nel senso giusto.
Se le ruote girano nella direzione errata, spegnete il motore, togliete i tubi dalla parte posteriore della pompa e invertite le posizioni.
Se le ruote girano nella direzione corretta, spegnete il motore e regolate il dado di bloccaggio del perno di regolazione della molla (Figura 44). Regolate la posizione per la folle; fate riferimento a Regolazione della trazione per la folle.

Controllate la regolazione del microinterruttore di sicurezza della trazione; fate riferimento a Regolazione del microinterruttore di sicurezza della trazione.
Montate la protezione centrale.
| Cadenza di manutenzione | Procedura di manutenzione |
|---|---|
| Prima di ogni utilizzo o quotidianamente |
|
Al termine del lavoro lavate accuratamente la macchina con un tubo per annaffiare il giardino, senza ugello, per evitare che la pressione eccessiva dell'acqua inquini e danneggi le guarnizioni di tenuta e i cuscinetti.
Verificate che le alette di raffreddamento e la zona circostante la presa d'aria di raffreddamento siano prive di corpi estranei.
Important: L'utilizzo dell'acqua per la pulizia del radiatore dell'olio favorisce la comparsa di corrosione prematura, di danni ai componenti e di detriti compatti; fate riferimento a Pulizia del radiatore dell'olio.
Terminata la pulizia, ispezionate la macchina per accertare che non vi siano perdite di fluido idraulico, danni o usura dei componenti idraulici o meccanici.
| Cadenza di manutenzione | Procedura di manutenzione |
|---|---|
| Ogni 400 ore |
|
Pulite accuratamente la macchina, gli attrezzi e il motore.
Controllate la pressione dei pneumatici.
Controllate tutti gli elementi di fissaggio per eventuali allentamenti; all'occorrenza serrateli.
Lubrificate con grasso od olio tutti i raccordi di ingrassaggio ed i punti di articolazione. Tergete il lubrificante superfluo.
Carteggiate leggermente e ritoccate le aree verniciate graffiate, scheggiate o arrugginite.
Revisionate la batteria ed i cavi come segue:
Togliete i morsetti della batteria dai poli.
Pulite la batteria, i morsetti e i poli con una spazzola metallica e una soluzione di bicarbonato di sodio.
Per impedire la corrosione, ricoprite i morsetti e i poli della batteria con grasso di rivestimento Grafo 112X (n. cat. Toro 505-47) o vaselina.
Per impedire la solfatazione di piombo della batteria, caricatela lentamente ogni 60 giorni per 24 ore.
Note: La densità relativa della batteria completamente carica è di 1,250.
Note: Conservate la batteria in un luogo fresco, per evitare che si scarichi rapidamente. Per impedirne il congelamento, verificate che la batteria sia completamente carica.
Cambiate l'olio motore e il filtro. Vedere Cambio dell'olio motore e del filtro.
Avviate il motore e fatelo girare alla minima per due minuti circa.
Pulite accuratamente il gruppo filtro dell'aria e revisionatelo. Vedere Revisione del filtro dell'aria.
Sigillate l’entrata del filtro dell’aria e l’uscita di scarico con un nastro resistente agli agenti atmosferici.
Controllate il tappo di riempimento dell'olio e del serbatoio del carburante al fine di accertarvi che siano saldamente montati.