| Onderhoudsinterval | Onderhoudsprocedure |
|---|---|
| Na de eerste 20 bedrijfsuren |
|
| Bij elk gebruik of dagelijks |
|
Deze machine is een werkvoertuig dat bedoeld is voor gebruik door professionele bestuurders en voor commerciële toepassingen. De machine is voornamelijk ontworpen voor het bijwerken van bunkers op goed onderhouden golfbanen en sportvelden.
Important: Om de veiligheid en de prestaties van deze machine te optimaliseren en een juist gebruik ervan te garanderen, moet u de inhoud van deze Gebruikershandleiding zorgvuldig lezen en volledig begrijpen. Als u deze bedieningsinstructies niet opvolgt of geen goede training krijgt, kan dit leiden tot letsel. Ga naar www.Toro.com voor meer informatie over veilige bediening, inclusief veiligheidstips en trainingsmaterialen.
U kunt op www.Toro.com rechtstreeks contact met Toro opnemen om trainingsmaterialen en informatie over productveiligheid en accessoires te verkrijgen, een verkoper te vinden of uw product te registreren.
Als u service, originele Toro-onderdelen of aanvullende informatie nodig hebt, kunt u contact opnemen met een erkende servicedealer of met de klantenservice van Toro. U dient hierbij altijd het modelnummer en het serienummer van het product te vermelden. De locatie van het plaatje met het modelnummer en het serienummer van het product is aangegeven op Figuur 1. U kunt de nummers noteren in de ruimte hieronder.
Important: U kunt met uw mobiel apparaat de QR-code (indien aanwezig) op het plaatje met het serienummer scannen om toegang te krijgen tot de garantie, onderdelen en andere productinformatie.

Het waarschuwingssymbool (Figuur 2) dat wordt getoond in deze handleiding en op de machine geeft belangrijke veiligheidsinformatie aan die u moet opvolgen om ongelukken te voorkomen.

Het waarschuwingssymbool wordt weergegeven boven de informatie die u waarschuwt voor onveilige acties of situaties en wordt gevolgd door het woord GEVAAR, WAARSCHUWING, of VOORZICHTIG.
GEVAAR: een direct gevaarlijke situatie die, indien niet voorkomen, altijd zal leiden tot ernstig of fataal letsel.
WAARSCHUWING: een mogelijk gevaarlijke situatie die, indien niet voorkomen, kan leiden tot ernstig of fataal letsel.
VOORZICHTIG: een mogelijk gevaarlijke situatie die, indien niet voorkomen, kan leiden tot licht of middelmatig letsel.
Er worden in deze handleiding nog twee woorden gebruikt om uw aandacht op bijzondere informatie te vestigen. Belangrijk attendeert u op bijzondere technische informatie en Opmerking duidt op algemene informatie die bijzondere aandacht verdient.
Dit product voldoet aan alle relevante Europese richtlijnen. Lees de aparte productspecifieke conformiteitsverklaring voor meer informatie.
Als de machine zonder een goed werkende vonkenvanger, zoals omschreven in sectie 4442, of een goed onderhouden, brandveilige motor wordt gebruikt in een bosgebied of op een met dicht struikgewas of gras begroeid terrein, handelt de bestuurder in strijd met de bepalingen van sectie 4442 of 4443 van de Wet op de Openbare Hulpbronnen (Public Resources Code) van de Staat Californië.
De bij deze motor geleverde Gebruikershandleiding bevat informatie over het Environmental Protection Agency (EPA) in de Verenigde Staten en de California Emission Control Regulation voor emissiesystemen, onderhoud en garantie. Bestel vervangingsonderdelen bij de fabrikant van de motor.
CALIFORNIË
Proposition 65 Waarschuwing
De uitlaatgassen van de motor van dit product bevatten chemische stoffen waarvan bekend is dat ze kanker, geboorteafwijkingen of andere schade aan de voortplantingsorganen kunnen veroorzaken.
Accuklemmen, accupolen en dergelijke onderdelen bevatten lood en loodverbindingen. Van deze stoffen is bekend dat ze kanker en schade aan de voortplantingsorganen veroorzaken. Was altijd uw handen nadat u met deze onderdelen in aanraking bent geweest.
Gebruik van dit product kan leiden tot blootstelling aan chemische stoffen waarvan de Staat Californië weet dat ze kanker, geboorteafwijkingen en andere schade aan het voortplantingssysteem veroorzaken.
Voor extra tractie kan de gewichtenset 100-6442 worden toegevoegd aan de voorzijde van de machine.
Note: Als de machine is uitgerust met een fronthefwerktuig of een ploeg, kan de gewichtenset niet worden gemonteerd omdat de set en het werktuig elkaar fysiek zouden hinderen.
Dit product kan lichamelijk letsel veroorzaken. Volg altijd alle veiligheidsinstructies op om ernstig letsel te voorkomen.
Dit product gebruiken voor andere doeleinden dan het bedoelde gebruik kan gevaarlijk zijn voor u of voor omstanders.
Lees deze Gebruikershandleiding en zorg ervoor dat u deze begrijpt voordat u de motor start. Zorg dat alle gebruikers van dit product weten hoe ze het dienen te gebruiken en dat ze de waarschuwingen begrijpen.
Geef uw volledige aandacht als u de machine gebruikt. Zorg ervoor dat u met niets anders bezig bent waardoor u kunt worden afgeleid, anders kan er letsel ontstaan of kan eigendom worden beschadigd.
Houd handen en voeten uit de buurt van de bewegende onderdelen van de machine.
Gebruik de machine enkel als de nodige schermen en andere beveiligingsmiddelen aanwezig zijn en naar behoren werken.
Blijf met een rijdende machine steeds uit de buurt van omstanders.
Laat geen kinderen het werkgebied betreden. Laat kinderen nooit de machine bedienen.
Laat de machine tot stilstand komen en schakel de motor uit voordat u onderhoudswerkzaamheden uitvoert of brandstof bijtankt.
Onjuist gebruik of onderhoud van deze machine kan letsel tot gevolg hebben. Om het risico op letsel te verkleinen, dient u zich aan de volgende veiligheidsinstructies te houden en altijd op het veiligheidssymbool (Figuur 2) te letten, dat betekent: Voorzichtig, Waarschuwing of Gevaar – instructie voor persoonlijke veiligheid. Niet-naleving van deze instructies kan leiden tot lichamelijk of dodelijk letsel.
Waar nodig vindt u bijkomende veiligheidsinformatie in deze Gebruikershandleiding.
![]() |
Veiligheidsstickers en veiligheidsinstructies zijn gemakkelijk zichtbaar voor de bestuurder en bevinden zich bij plaatsen waar gevaar kan ontstaan. Vervang alle beschadigde of ontbrekende stickers. |








Note: Bepaal vanuit de normale bedieningspositie de linker- en rechterzijde van de machine.
Note: Verwijder de transportbeugels en bevestigingen en gooi deze weg.
Benodigde onderdelen voor deze stap:
| Stuurwiel | 1 |
| Schuimrubberen kraag | 1 |
| Ring | 1 |
| Borgmoer | 1 |
| Stuurwielkap | 1 |
Laat het voorwiel recht naar voren wijzen.
Schuif de schuimrubberen kraag op de stuuras (Figuur 3).

Schuif het stuurwiel op de stuuras (Figuur 3).
Zet het stuurwiel vast aan de stuuras met een ring en een borgmoer (Figuur 3).
Draai de borgmoer vast met een torsie van 27 tot 35 N·m.
Druk de stuurwielkap op zijn plaats op het stuurwiel (Figuur 3).
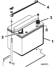
Verwijder de 2 vleugelmoeren en ringen waarmee de bovenste accuhouder is bevestigd aan de accuhouders op de zijkant (Figuur 4). Verwijder de bovenste accuhouder en verwijder de accu.

Benodigde onderdelen voor deze stap:
| Accuzuur met soortelijk gewicht van 1,260 (niet meegeleverd) | – |
Als de accu niet gevuld is met accuzuur of in gebruik is genomen, moet u accuzuur met soortelijk gewicht van 1,260 bijvullen.
Note: U kunt accuzuur in bulk kopen bij een plaatselijk accuverkooppunt.
Accuzuur bevat zwavelzuur; deze stof is dodelijk bij inname en veroorzaakt ernstige brandwonden.
U mag accuzuur nooit inslikken en moet elk contact met huid, ogen of kleding vermijden. Draag een veiligheidsbril en rubberhandschoenen om uw ogen en handen te beschermen.
Vul de accu alleen bij op plaatsen waar schoon water aanwezig is om indien nodig uw huid af te spoelen.
Verwijder de vuldoppen van de accu en giet langzaam accuzuur in elke cel totdat het zuurpeil tot aan de vulstreep staat.
Plaats de vuldoppen terug en sluit een acculader van 3-4 A aan op de accupolen. Laad de accu op gedurende 4 tot 8 uur bij 3-4 A.
Bij het opladen produceert de accu gassen die tot ontploffing kunnen komen.
Rook nooit in de buurt van de accu en zorg ervoor dat er geen vonken of vlammen vlakbij de accu komen.
Als de accu is opgeladen, haalt u de acculader uit het stopcontact en maakt u deze los van de accupolen. Laat de accu 5-10 minuten op zijn plaats zitten.
Verwijder de vuldoppen.
Giet langzaam accuzuur in elke cel totdat het peil tot aan de vulstreep staat.
Important: Laat de accu niet te vol worden. Er zal dan accuzuur naar buiten stromen over andere delen van de machine. Dit kan ernstige corrosie en beschadiging veroorzaken.
Plaats de vuldoppen terug.
Benodigde onderdelen voor deze stap:
| Bout (¼" x ⅝") | 2 |
| Borgmoer (¼") | 2 |
Plaats de accu met de minpool naar de achterkant van de machine gericht (Figuur 5).

Als accukabels verkeerd worden verbonden, kan dit schade aan de machine en de kabels tot gevolg hebben en vonken veroorzaken. Hierdoor kunnen accugassen tot ontploffing komen en lichamelijk letsel veroorzaken.
Maak altijd de minkabel (zwart) van de accu los voordat u de pluskabel (rood) losmaakt.
Sluit altijd de pluskabel (rood) van de accu aan voordat u de minkabel (zwart) aansluit.
Accupolen of metalen gereedschappen kunnen kortsluiting maken met metalen onderdelen van de machine, waardoor vonken kunnen ontstaan. Hierdoor kunnen accugassen tot ontploffing komen en lichamelijk letsel veroorzaken.
Zorg ervoor dat bij het verwijderen of installeren van de accu de accupolen niet in aanraking komen met metalen onderdelen van de machine.
Voorkom dat metalen gereedschappen kortsluiting veroorzaken tussen de accupolen en metalen onderdelen van de machine.
Bevestig de pluskabel (rood) aan de pluspool (+) met een bout van ¼" x ⅝" en een borgmoer (Figuur 6).

Bevestig het zwarte kabeltje en de minkabel (zwart) aan de minpool (-) van de accu met een bout (¼" x ⅝") en een borgmoer (¼") (Figuur 6).
Smeer vaseline op de accupolen en de bevestigingen om corrosie te voorkomen.
Schuif het rubberen stofkapje over de pluspool (+) om eventuele kortsluiting te voorkomen.
Monteer de bovenste accuhouder op de accuhouders op de zijkant met ringen en vleugelmoeren.
Benodigde onderdelen voor deze stap:
| Voorgewichtset(s) indien nodig | – |
Deze machine werd ontworpen in overeenstemming met B71.4-2017 van het ANSI (American National Standards Institute). Als de volgende werktuigen op de machine worden gemonteerd, kan er echter extra gewicht moeten worden geplaatst om te voldoen aan de normen.
Gebruik de onderstaande tabel om te bepalen welke gewichtscombinaties moeten worden toegevoegd. U kunt onderdelen bestellen bij een erkende Toro dealer.
| Werktuig | Extra voorgewicht vereist | Onderdeelnummer gewichtset | Beschrijving gewicht | Aantal |
|---|---|---|---|---|
| Prikkerset (08755) | 23 kg | 100-6442 | 8 x 3 kg plaatgewicht | 1 |
| Rahn-bezem | 23 kg | 100-6442 | 8 x 3 kg plaatgewicht | 1 |
| Gereedschapskist (QAS) | 23 kg | 100-6442 | 8 x 3 kg plaatgewicht | 1 |
Note: Extra gewicht is niet vereist als de machine op de voorkant is uitgerust met een hydraulische hefinrichting (model 08712).
Benodigde onderdelen voor deze stap:
| Sticker productiejaar | 1 |
Breng de sticker met het productiejaar aan op de machine op de plaats die is afgebeeld (Figuur 7).

Benodigde onderdelen voor deze stap:
| Waarschuwingssticker | 1 |
Op machines die dienen te voldoen aan de CE-voorschriften moet u de CE-waarschuwingssticker (onderdeelnr. 136-6164) aanbrengen over het onderste gedeelte van de sticker van het bedieningspaneel (onderdeelnr. 132-4422).

Het tractiepedaal (Figuur 9) heeft 3 functies: de machine vooruit en achteruit laten rijden en tot stilstand brengen. Om vooruit te rijden, moet u de bovenkant van het pedaal intrappen en om achteruit te rijden de onderkant van het pedaal. Gebruik hierbij de hiel en tenen van uw rechtervoet (Figuur 10). Daarnaast kunt u het pedaal in de NEUTRAALSTAND zetten om de machine te stoppen. Laat uw hiel niet op Achteruit rusten als u vooruitrijdt.


De rijsnelheid hangt af van hoever het tractiepedaal wordt ingetrapt. Voor de maximale rijsnelheid trapt u het pedaal volledig in terwijl de gashendel op SNEL staat. Voor maximaal vermogen of heuvelopwaarts moet u de gashendel op SNEL zetten en het tractiepedaal iets intrappen om ervoor te zorgen dat het motortoerental hoog blijft. Als het motortoerental lager wordt, moet u het pedaal iets laten opkomen om het toerental te verhogen.
Important: Voor maximaal trekvermogen moet u de gashendel op SNEL zetten en het tractiepedaal iets intrappen.
Rij uitsluitend op maximale snelheid als u van het ene naar het andere werkgebied gaat.
Rijden niet op maximale snelheid met een aangekoppeld of getrokken werktuig.
Important: Rij niet met de machine in de achteruit-stand als het werktuig is neergelaten in de bedrijfsstand of als de kans bestaat dat het werktuig ernstige schade oploopt.
De contactschakelaar (Figuur 11) waarmee u de motor start en uitzet, heeft drie standen: UIT, LOPEN en START. Draai het sleuteltje naar rechts op START om het voertuig te starten. Laat het sleuteltje los als de motor start; het zal naar de stand AAN bewegen. Om de motor af te zetten, draait u het sleuteltje linksom naar de stand UIT.

Om een koude motor te starten, sluit u de choke van de carburator door de chokehendel (Figuur 11) omhoog te trekken naar de gesloten stand. Nadat de motor is gestart, kunt u met behulp van de choke de motor regelmatig laten lopen. Zodra dit mogelijk is, opent u de choke door de chokehendel omhoog te trekken en op OPEN te zetten. Als de motor warm is, hoeft de choke niet of nauwelijks te worden gebruikt.
Met behulp van de gashendel (Figuur 11) regelt u de gastoevoer naar de carburateur. De gashendel heeft 2 standen: LANGZAAM en SNEL. Het motortoerental kan op een van deze 2 standen worden gezet.
Note: U kunt de motor niet stoppen met de gashendel.
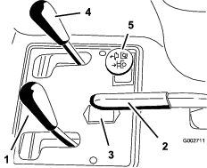
Om het werktuig omhoog te brengen, trekt u de hefhendel (Figuur 12) naar achteren; om het werktuig neer te laten, zet u de hendel naar voren. Voor de ZWEEFSTAND zet u de hendel in de inkeping. Als u de gewenste stand bereikt, laat u de hendel los die dan terugkeert naar de neutraalstand.

Note: De machine heeft een dubbelwerkende hefcilinder. Voor bepaalde werkomstandigheden kunt u tegendruk uitoefenen op het werktuig.
Om de parkeerrem in werking te stellen (Figuur 12), moet u de hendel naar achteren trekken. Om de parkeerrem vrij te zetten, moet u de hendel naar voren duwen.
Note: U moet het tractiepedaal soms langzaam naar voren en naar achteren draaien om de parkeerrem vrij te zetten.
De urenteller (Figuur 12) toont het aantal uren dat de machine in bedrijf is geweest. De urenteller gaat lopen als de contactschakelaar in de stand AAN wordt gezet.
Beweeg de hendel op de zijkant van de stoel (Figuur 13) naar voren, schuif de stoel in de gewenste stand en laat de hendel los om de stoel in deze stand te vergrendelen.

Sluit de brandstofafsluitklep (Figuur 14) voordat u de machine stalt of op een aanhanger vervoert.

Note: Specificaties en ontwerp kunnen zonder voorafgaande kennisgeving worden gewijzigd.
| Breedte zonder werktuig | 148 cm |
| Breedte met hark, model 08751 | 191 cm |
| Lengte zonder werktuig | 164 cm |
| Hoogte | 115 cm |
| Wielbasis | 109 cm |
| Nettogewicht | |
| Model 08703 | 452 kg |
| Model 08705 | 461 kg |
Een selectie van door Toro goedgekeurde werktuigen en accessoires is verkrijgbaar voor gebruik met de machine om de mogelijkheden daarvan te verbeteren en uit te breiden. Neem contact op met een erkende servicedealer of een erkende Toro-distributeur, of bezoek www.Toro.com voor een lijst van alle goedgekeurde werktuigen en accessoires.
Om de beste prestaties te verkrijgen en ervoor te zorgen dat de veiligheidscertificaten van de machine blijven gelden, moet u ter vervanging altijd originele onderdelen en accessoires van Toro aanschaffen. Gebruik ter vervanging nooit onderdelen en accessoires van andere fabrikanten, omdat dit gevaarlijk kan zijn en de productgarantie kan tenietdoen.
Note: Bepaal vanuit de normale bedieningspositie de linker- en rechterzijde van de machine.
Laat kinderen of personen die geen instructie hebben ontvangen, de machine nooit gebruiken of onderhoudswerkzaamheden daaraan verrichten. Plaatselijke voorschriften kunnen nadere eisen stellen aan de leeftijd van degene die met de machine werkt. De eigenaar is verantwoordelijk voor de instructie van alle bestuurders en technici.
Zorg ervoor dat u vertrouwd raakt met de bedieningsorganen en de veiligheidssymbolen, en weet hoe u de machine veilig kunt gebruiken.
Zorg ervoor dat u weet hoe u de machine en de motor snel kunt stoppen.
Controleer of de dodemansknoppen, de veiligheidsschakelaars en de veiligheidsschermen zijn bevestigd en naar behoren werken. Gebruik de machine uitsluitend als deze naar behoren werken.
Controleer voordat u begint te werken altijd de machine om zeker te zijn dat de onderdelen en al het bevestigingsmateriaal in goede staat zijn. Vervang versleten of beschadigde onderdelen en bevestigingen.
Inspecteer het terrein waarop u de machine gaat gebruiken en verwijder voorwerpen die de machine kan uitwerpen.
Wees uiterst voorzichtig bij het omgaan met brandstof. Brandstof is ontvlambaar en de dampen kunnen tot ontploffing komen.
Doof alle sigaretten, sigaren, pijpen en andere ontstekingsbronnen.
Gebruik uitsluitend een goedgekeurd vat of blik voor de brandstof.
Wanneer de motor loopt of heet is, mag u de brandstofdop niet verwijderen of brandstof toevoegen.
Geen brandstof bijvullen of aftappen in een afgesloten ruimte.
Bewaar de machine en het brandstofvat niet op plaatsen waar open vlammen, vonken of waakvlammen (bv. van een boiler of een ander toestel) aanwezig kunnen zijn.
Probeer de motor niet te starten als u brandstof hebt gemorst; voorkom elke vorm van open vuur of vonken totdat de brandstofdampen volledig zijn verdwenen.
| Onderhoudsinterval | Onderhoudsprocedure |
|---|---|
| Na de eerste 20 bedrijfsuren |
|
| Bij elk gebruik of dagelijks |
|
De motor wordt geleverd met olie in het carter; u dient echter het oliepeil te controleren voor- en nadat u de motor voor het eerst start.
De carterinhoud is ongeveer 1,66 liter met filter.
Gebruik hoogwaardige motorolie die moet beantwoorden aan de volgende specificaties:
Vereiste onderhoudsclassificatie van API: SL of hoger
Aanbevolen olie: SAE 30 – boven 4 °C
Plaats de machine op een horizontaal oppervlak, zet de motor af, stel de parkeerrem in werking en verwijder het sleuteltje.
Kantel de stoel naar voren.
Verwijder de peilstok (Figuur 15) en veeg deze af met een schone doek.

Steek de peilstok in de buis. Let erop dat de peilstok er volledig in schuift. Haal de peilstok uit de buis en controleer het oliepeil. Als het oliepeil te laag is, moet u de vuldop losmaken van het klepdeksel en voldoende olie bijvullen totdat het peil de Vol-markering op de peilstok bereikt.
Important: Zorg ervoor dat het oliepeil tussen de markeringen voor het minimum- en het maximumpeil op de peilstok staat. De motor kan defect raken als er te veel of te weinig olie in het carter is.
Plaats de peilstok weer stevig op zijn plaats.
Important: De peilstok moet volledig in de vulbuis zitten zodat het carter goed is afgesloten. Als het carter niet goed is afgesloten, kan de motor schade oplopen.
Draai de stoel omlaag.
Inhoud brandstoftank: 25 liter
Aanbevolen brandstof:
Gebruik voor de beste resultaten uitsluitend schone, verse (minder dan 30 dagen oud), loodvrije benzine met een octaangetal van 87 of hoger (indelingsmethode (R+M)/2).
Ethanol: Benzine met maximaal 10% ethanol (gasohol) of 15% MTBE (methyl-tertiair-butylether) per volume is aanvaardbaar. Ethanol en MTBE zijn niet hetzelfde. Benzine met 15% ethanol (E15) per volume is niet geschikt voor gebruik. Gebruik nooit benzine die meer dan 10% ethanol per volume bevat, zoals E15 (bevat 15% ethanol), E20 (bevat 20% ethanol), of E85 (bevat tot 85% ethanol). Ongeschikte benzine gebruiken kan leiden tot verminderde prestaties en/of motorschade die mogelijk niet gedekt wordt door de garantie.
Geen benzine gebruiken die methanol bevat.
In de winter geen brandstof bewaren in de brandstoftank of in vaten, tenzij u een brandstofstabilisator gebruikt.
Meng nooit olie door benzine.
Important: Gebruik nooit andere brandstofadditieven dan een brandstofstabilisator/conditioner. Gebruik geen stabilizers op basis van alcohol zoals ethanol, methanol, of isopropanol.
Maak de omgeving van de dop van de brandstoftank schoon (Figuur 16).
Verwijder de dop van de brandstoftank.
Vul de benzinetank tot ongeveer 25 mm vanaf de bovenkant van de tank (de onderkant van de vulbuis). Niet te vol vullen.

Plaats de dop terug.
Om brandgevaar te voorkomen, moet u gemorste brandstof opnemen.
Important: Gebruik nooit methanol, benzine die methanol bevat, gasohol die meer dan 10% ethanol bevat, benzine-additieven, superbenzine of wasbenzine omdat dit kan leiden tot schade aan het brandstofsysteem. Geen olie bij de benzine mengen.
| Onderhoudsinterval | Onderhoudsprocedure |
|---|---|
| Bij elk gebruik of dagelijks |
|
Het reservoir is in de fabriek gevuld met ongeveer 18,9 liter hoogwaardige hydraulische vloeistof. U controleert de hydraulische vloeistof het beste als ze koud is. De machine dient in de transportstand te staan. Als het vloeistofniveau onder de bijvulmarkering op de peilstok staat, vul dan vloeistof bij om het peil tot het midden van de aanbevolen zone te brengen. Laat het reservoir niet te vol worden. Als het vloeistofniveau tussen de volmarkering en de bijvulmarkering ligt, hoeft geen vloeistof te worden bijgevuld. Controleer het peil van de hydraulische vloeistof voordat de motor voor het eerst wordt gestart, en vervolgens dagelijks.
Aanbevolen wordt het reservoir bij te vullen met de volgende hydraulische vloeistof:
| Toro Premium All Season hydraulische vloeistof (verkrijgbaar in emmers van 19 liter of vaten van 208 liter, zie de onderdelencatalogus van de Toro-dealer voor de onderdeelnummers) |
Aanbevolen hydraulische vloeistof: Toro Premium All Season hydraulische vloeistof
Andere vloeistoffen: Als de hydraulische vloeistof van Toro niet beschikbaar is, kunt u andere conventionele, aardoliegebaseerde vloeistoffen gebruiken mits deze voldoen aan alle onderstaande materiaaleigenschappen en industriespecificaties. Vraag uw vloeistofleverancier of de vloeistof voldoet aan deze specificaties.
Note: Toro aanvaardt geen enkele aansprakelijkheid voor schade die wordt veroorzaakt door gebruik van verkeerde vervangende vloeistoffen. Gebruik daarom uitsluitend producten van gerenommeerde fabrikanten die garant staan voor de vloeistoffen die zij aanbevelen.
| ISO VG 46 multigrade slijtagewerende hydraulische vloeistof met hoge viscositeitsindex/laag stolpunt | |
| Materiaaleigenschappen: | |
| Viscositeit, ASTM D445 | cSt bij 40 °C 44 tot 48cSt bij 100 °C 7,9 tot 9,1 |
| Viscositeitsindex ASTM D2270 | 140 of hoger |
| Stolpunt, ASTM D97 | -37 °C tot -45 °C |
| FZG, Fail stage | 11 of beter |
| Waterinhoud (nieuwe vloeistof): | 500 ppm (maximum) |
| Industriespecificaties: | |
| Vickers I-286-S, Vickers M-2950-S, Denison HF-0, Vickers 35 VQ 25 (Eaton ATS373-C) | |
De juiste hydraulische vloeistoffen moeten geschikt zijn voor mobiele machines (in tegenstelling tot gebruik in een fabriek), een type olie met een viscositeitmodifier, met ZnDTP of ZDDP slijtagewerend additievenpakket (geen asloze vloeistof).
Important: Veel hydraulische vloeistoffen zijn bijna kleurloos, zodat het moeilijk is lekkages op te sporen. Er is een rode kleurstof voor de vloeistof in het hydraulisch systeem verkrijgbaar in flesjes van 20 ml. 1 flesje is voldoende voor 15 tot 22 liter hydraulische vloeistof. U kunt deze kleurstof bestellen bij een erkende Toro dealer, onderdeelnr. 44-2500.
Synthetische, biologisch afbreekbare hydraulische vloeistof
(verkrijgbaar in emmers van 19 liter of vaten van 208 liter, zie de onderdelencatalogus van de Toro dealer voor de onderdeelnummers)
Deze synthetische, biologisch afbreekbare hydraulische vloeistof van hoge kwaliteit is getest en compatibel bevonden voor dit Toro model. Andere merken synthetische vloeistof kunnen compatibiliteitsproblemen veroorzaken. Toro aanvaardt geen enkele aansprakelijkheid bij gebruik van niet-goedgekeurde vervangende vloeistoffen.
Note: Deze synthetische hydraulische vloeistof is niet uitwisselbaar met de eerder verkrijgbare biologisch afbreekbare vloeistof van Toro. Neem voor verdere informatie contact op met een Toro distributeur.
Alternatieve vloeistoffen:
Mobil EAL Envirosyn H 46 (VS)
Mobil EAL hydraulische olie 46 (internationaal)
Plaats de machine op een horizontaal oppervlak, zet de motor af, stel de parkeerrem in werking en verwijder het sleuteltje.
Reinig de omgeving van de dop van het hydraulische reservoir om te voorkomen dat er vuil in het reservoir komt (Figuur 17).

Verwijder de dop van het reservoir.
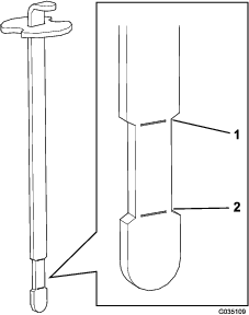
Verwijder de peilstok uit de vulbuis en veeg deze af met een schone doek.
Steek de peilstok in de vulbuis. Verwijder deze daarna en controleer het vloeistofpeil.
Note: Het vloeistofpeil moet zich tussen de bovenste en de onderste markering (de versmalling) op de peilstok bevinden (Figuur 18).

Als het vloeistofpeil te laag is, vult u het reservoir langzaam met de geschikte hydraulische vloeistof bij totdat het peil het versmalde stuk van de peilstok bereikt.
Note: Laat het reservoir niet te vol worden.
Plaats de dop weer op het reservoir.
Important: Om verontreiniging van het systeem te voorkomen, moet u de bovenkant van de containers met hydraulische vloeistof reinigen voordat u deze doorprikt. Zorg ervoor dat de tuit en de trechter schoon zijn.
| Onderhoudsinterval | Onderhoudsprocedure |
|---|---|
| Bij elk gebruik of dagelijks |
|
Controleer de bandenspanning voordat u de machine in gebruik neemt (Figuur 19). De correcte spanning van de voor- en achterbanden is:
Profielbanden: 0,69 bar
Note: Indien er extra tractie vereist is voor de werking van de messen, vermindert u de druk tot 0,55 bar.
Banden zonder profiel: 0,55 tot 0,69 bar

| Onderhoudsinterval | Onderhoudsprocedure |
|---|---|
| Na de eerste 8 bedrijfsuren |
|
| Om de 100 bedrijfsuren |
|
Draai de wielmoeren vast met een torsie van 95 tot 122 N·m.
De eigenaar/bestuurder is verantwoordelijk voor ongevallen die kunnen leiden tot lichamelijk letsel en materiële schade, en hij kan zulke ongevallen voorkomen.
Draag geschikte kleding, zoals een veiligheidsbril, gripvaste, stevige veilgheidsschoenen, een lange broek en gehoorbescherming. Draag lang haar niet los en draag geen loshangende juwelen.
Gebruik de machine niet als u ziek, moe of onder de invloed van alcohol, medicijnen of drugs bent.
Vervoer nooit passagiers op de machine en houd omstanders en huisdieren tijdens het werk uit de buurt van de machine.
Gebruik de machine uitsluitend bij goede zichtbaarheid zodat u uit de buurt van kuilen en verborgen gevaren kunt blijven.
Gebruik de machine niet op nat gras. Als de wielen hun grip verliezen, kan de machine gaan glijden.
Voordat u de motor start: zorg dat alle aandrijvingen in de neutraalstand staan, de parkeerrem in werking is gesteld en u zich in de bestuurderspositie bevindt.
Kijk achterom en omlaag voordat u achteruitrijdt om er zeker van te zijn dat de weg vrij is.
Wees voorzichtig bij het naderen van blinde hoeken, struiken, bomen, en andere objecten die uw zicht kunnen belemmeren.
Werk niet in de buurt van steile hellingen, greppels of dijken. De machine kan plotseling omslaan als een wiel over de rand komt, of als de rand afbrokkelt.
Stop de machine en controleer het werktuig als u een vreemd voorwerp heeft geraakt of als de machine abnormaal begint te trillen. Voer alle noodzakelijke reparaties uit voordat u de machine weer in gebruik neemt.
Verminder uw snelheid en wees voorzichtig als u een bocht maakt of wegen en voetpaden oversteekt met de machine. Verleen altijd voorrang.
Laat de motor nooit lopen in een ruimte waar uitlaatgassen zich kunnen verzamelen.
U mag een machine met draaiende motor nooit onbeheerd achterlaten.
Doe het volgende voordat u de bestuurdersstoel verlaat:
Parkeer de machine op een horizontaal oppervlak.
Laat de werktuigen neer.
Stel de parkeerrem in werking.
Zet de motor af en haal het sleuteltje uit het contact.
Wacht totdat alle bewegende onderdelen tot stilstand zijn gekomen.
Gebruik de machine niet als het kan bliksemen.
De machine niet gebruiken als sleepvoertuig.
Maak indien nodig het werkterrein eerst nat om stofvorming tot een minimum te beperken.
Gebruik alleen door The Toro® Company goedgekeurde accessoires, werktuigen en reserveonderdelen.
Stel uw eigen procedures en voorschriften op voor werken op hellingen. Als onderdeel van deze procedures moet u zeker het terrein onderzoeken om na te gaan op welke hellingen u de machine veilig kunt gebruiken. Gebruik altijd uw gezond verstand en uw beoordelingsvermogen wanneer u dit onderzoek uitvoert.
Het maaien op hellingen is een belangrijke factor bij ongelukken waarbij de controle over de machine wordt verloren of deze omkantelt. Dit kan ernstig of dodelijk letsel veroorzaken. De bestuurder is verantwoordelijk voor een veilig gebruik van de machine op hellingen. Gebruik van de machine op hellingen vereist altijd extra voorzichtigheid.
Hellingen zijn de belangrijkste oorzaak dat de bestuurder de macht over de machine verliest en deze omkantelt. Dit kan leiden tot ernstig of dodelijke letsel. Gebruik van de machine op hellingen vereist altijd extra voorzichtigheid.
Vertraag de machine wanneer u zich op een helling bevindt.
Als u zich ongemakkelijk voelt wanneer u de machine op een helling gebruikt, maai die helling dan niet.
Kijk uit voor gaten, geulen, hobbels, stenen of andere verborgen objecten. De machine kan omslaan op oneffenheden in het terrein. In hoog gras zijn obstakels niet altijd zichtbaar.
Kies een lage rijsnelheid zodat u op een helling niet hoeft te stoppen of schakelen.
De machine kan omrollen voordat de wielen grip verliezen.
Gebruik de machine niet op een nat gazon. De wielen kunnen grip verliezen, ook als de remmen naar behoren werken.
Zorg dat u de machine niet moet starten, stoppen of keren op een helling.
Voer alle bewegingen op hellingen langzaam en geleidelijk uit. Verander niet plots de snelheid of rijrichting van de machine.
Gebruik de machine niet in de buurt van steile hellingen, greppels, oevers of water. De machine kan plotseling omslaan als een wiel over de rand komt, of als de rand instort. Zorg voor een veilige afstand tussen de machine en een gevarenzone (2 keer de breedte van de machine).
Haal uw voet van het tractiepedaal en let erop dat het pedaal in de NEUTRAALSTAND staat. Stel de parkeerrem in werking.
Duw de chokehendel naar voren op AAN (uitsluitend als u een koude motor start) en zet de gashendel op LANGZAAM.
Important: Als u de machine bij temperaturen beneden 0 °C gebruikt, moet u de motor eerst warm laten worden. Dit voorkomt schade aan de hydrostaat en het regelcircuit van de aandrijving.
Steek het sleuteltje in het contact en draai dit naar rechts om de motor te starten. Laat het sleuteltje los zodra de motor start.
Note: Laat de motor regelmatig lopen met behulp van de choke.
Important: Om te voorkomen dat de startmotor oververhit raakt, mag u de startmotor niet langer dan 10 seconden in werking stellen. Als u de motor 10 seconden achtereen hebt gestart, moet u 60 seconden wachten voordat u een nieuwe startpoging doet.
Om de motor af te zetten, moet u de gashendel op LANGZAAM zetten en het contactsleuteltje op UIT draaien.
Note: Verwijder het sleuteltje uit het contact om te voorkomen dat de motor per ongeluk start.
Sluit de brandstofafsluitklep voordat u de machine stalt.
Het controleren van de machine terwijl de motor loopt kan letsel tot gevolg hebben.
Zet de motor af en wacht totdat alle bewegende delen tot stilstand gekomen zijn voordat u controleert op olielekken, losse onderdelen en andere waarneembare defecten.
Niet-aangesloten of beschadigde interlockschakelaars kunnen onverwachte gevolgen hebben op de werking van de machine. Dit kan lichamelijk letsel veroorzaken.
Laat de interlockschakelaars ongemoeid.
Controleer elke dag de werking van de interlockschakelaars en vervang beschadigde schakelaars voordat u de machine weer in gebruik neemt.
Het veiligheidssysteem zorgt ervoor dat de motor niet aanslaat of start, tenzij het koppelingspedaal in de NEUTRAALSTAND staat. Verder moet de motor afslaan als het tractiepedaal naar voren of naar achter wordt bewogen zonder dat de bestuurder op de stoel zit.
Plaats de machine op een open terrein dat vrij van voorwerpen en omstanders is. Zet de motor af.
Neem plaats op de bestuurdersstoel en stel de parkeerrem in werking.
Trap het tractiepedaal in de vooruit- en de achteruit-stand terwijl u de motor probeert te starten.
Note: Als de motor start, is er misschien een defect in het veiligheidssysteem. U moet het veiligheidssysteem onmiddellijk repareren.Als de motor niet start, functioneert het veiligheidssysteem naar behoren.
Blijf op de stoel zitten met het tractiepedaal in de NEUTRAALSTAND en met de parkeerrem ingeschakeld, en start de machine.
Kom omhoog uit de stoel terwijl u het tractiepedaal indrukt.
Note: De motor moet binnen 1 tot 3 seconden afslaan. Verhelp het probleem als het systeem niet naar behoren werkt.
Een nieuwe motor heeft tijd nodig om vol vermogen te ontwikkelen. Nieuwe aandrijvingssystemen ondervinden meer wrijving, wat de motor extra belast.
Besteed de eerste 8 werkuren aan het inrijden van de machine.
Aangezien de eerste bedrijfsuren van cruciaal belang zijn voor de betrouwbaarheid van de machine in de toekomst, moet u de werking en de prestaties van de machine scherp in het oog houden. Zo kunt u kleine gebreken opmerken en verhelpen voordat ze later ernstige problemen veroorzaken. Controleer de machine tijdens de inrijperiode veelvuldig op olielekken, losse bevestigingen of andere gebreken.
Parkeer de machine op een horizontaal vlak, stel de parkeerrem in werking, zet de motor af, verwijder het contactsleuteltje en wacht totdat alle bewegende onderdelen tot stilstand zijn gekomen voordat u de machine verlaat.
Verwijder gras en vuil van de demper en het motorcompartiment om brand te voorkomen. Veeg gemorste olie en brandstof op.
Laat de motor afkoelen voordat u de machine in een afgesloten ruimte stalt.
Zorg ervoor dat de brandstofafsluitklep is gesloten voordat u de machine stalt of transporteert.
Bewaar de machine of brandstofhouder nooit bij een open vlam, vonk of waakvlam bij bijv. een geiser of andere apparaten.
Zorg ervoor dat alle onderdelen van de machine in goede staat verkeren en alle bevestigingselementen stevig vastzitten.
Vervang versleten, beschadigde en ontbrekende stickers.
In noodgevallen mag het voertuig over een korte afstand worden gesleept. Toro adviseert echter hiervan geen standaardprocedure te maken.
Important: U mag de machine niet sneller dan 1,6 km/uur slepen omdat hierdoor het aandrijfsysteem kan worden beschadigd. Als de machine meer dan 50 m moet verplaatsen, moet u deze vervoeren op een vrachtwagen of een aanhanger. De wielen kunnen blokkeren als de machine met te hoge snelheid wordt gesleept. Als dit gebeurt, moet u stoppen met slepen en wachten totdat de druk in het circuit van de aandrijving is gestabiliseerd voordat u de machine met een lagere snelheid verder sleept.
Gebruik een oprijplaat van volledige breedte bij het laden van de machine op een aanhanger of vrachtwagen.
Maak de machine stevig vast.
Raadpleeg de Gebruikershandleiding van het werktuig voor specifieke instructies voor het werktuig.
Oefen u in het rijden met de machine, omdat de gebruikseigenschappen ervan anders zijn dan die van een aantal andere bedrijfsvoertuigen. Twee punten waarop u moet letten bij het gebruik van deze machine, zijn de transmissie en het motortoerental.
Om het motortoerental enigszins constant te houden, moet u het tractiepedaal langzaam intrappen. Hierdoor kan de motor zich aanpassen aan de rijsnelheid van de machine. Als u in plaats daarvan het tractiepedaal snel intrapt, vermindert het motortoerental en zal er daardoor niet genoeg koppelvermogen zijn om de machine voort te bewegen. Om daarom maximaal vermogen naar de wielen over te brengen, moet u de gashendel op SNEL zetten en het tractiepedaal licht intrappen. U kunt echter met maximale snelheid zonder belasting rijden als u de gashendel op SNEL zet en het tractiepedaal langzaam maar volledig intrapt. Houd altijd het motortoerental hoog genoeg voor maximaal koppelvermogen naar de wielen.
Het gebruik van de machine vereist oplettendheid en om te voorkomen dat u omkantelt of de controle over het stuur verliest.
Wees voorzichtig als u bunkers in- en uitrijdt.
Ga zeer voorzichtig te werk in de buurt van greppels, sloten of andere gevaarlijke punten.
Ga voorzichtig te werk als u op een steile helling werkt.
Verminder uw snelheid als u een scherpe bocht maakt of draait op een helling.
Vermijd plotseling stoppen en starten.
Zet de machine niet van de achteruit-stand in de vooruit-stand voordat de machine volledig tot stilstand is gekomen.
Note: Als de werktuigkoppeling blijft vastzitten aan de koppeling van de tractie-eenheid, moet u een wringijzer/schroevendraaier in de sleuf steken om beide delen van elkaar los te maken (Figuur 20).

Note: Bepaal vanuit de normale bedieningspositie de linker- en rechterzijde van de machine.
Als u het sleuteltje in het contact laat, bestaat de kans dat iemand de motor per ongeluk start waardoor u en andere omstanders ernstig letsel kunnen oplopen.
Verwijder het sleuteltje uit het contact voordat u onderhoudswerkzaamheden uitvoert aan de machine.
| Onderhoudsinterval | Onderhoudsprocedure |
|---|---|
| Na de eerste 8 bedrijfsuren |
|
| Na de eerste 20 bedrijfsuren |
|
| Bij elk gebruik of dagelijks |
|
| Om de 25 bedrijfsuren |
|
| Om de 100 bedrijfsuren |
|
| Om de 200 bedrijfsuren |
|
| Om de 400 bedrijfsuren |
|
| Om de 800 bedrijfsuren |
|
| Om de 1500 bedrijfsuren |
|
Important: Raadpleeg de gebruikershandleiding van de motor voor verdere onderhoudsprocedures.
Note: Om een elektrisch of hydraulisch schema van uw machine te verkrijgen, kunt u terecht op www.Toro.com.
Gelieve deze pagina te kopiëren ten behoeve van gebruik bij routinecontroles.
| Gecontroleerde item | Voor week van: | ||||||
|---|---|---|---|---|---|---|---|
| Ma. | Di. | Wo. | Do. | Vr. | Za. | Zo. | |
| Werking van veiligheidssysteem controleren. | |||||||
| Werking van de besturing controleren. | |||||||
| Brandstofpeil controleren. | |||||||
| Het motoroliepeil controleren. | |||||||
| De staat van het luchtfilter controleren. | |||||||
| Koelribben op de motor reinigen. | |||||||
| Controleren of motor ongewone geluiden maakt. | |||||||
| Controleren op ongewone geluiden tijdens het gebruik. | |||||||
| Het peil van de hydraulische vloeistof controleren. | |||||||
| Hydraulische slangen en leidingen op schade controleren. | |||||||
| Controleren op lekkages. | |||||||
| De bandenspanning controleren. | |||||||
| Werking van instrumenten controleren. | |||||||
| Beschadigde lak bijwerken. | |||||||
| Aantekening voor speciale aandachtsgebieden | ||
| Controle uitgevoerd door: | ||
| Item | Datum | Informatie |
Important: De bevestigingen op de deksels van deze machine zijn zo ontworpen dat ze op het deksel blijven zitten nadat de bevestiging is losgemaakt. Draai alle bevestigingen op een deksel een paar slagen losser zodat het deksel loszit maar nog wel bevestigd is en draai de bevestigingen daarna pas helemaal los totdat het deksel eraf komt. Hiermee voorkomt u dat u per ongeluk de bouten van de borgringen losdraait.
Doe het volgende voordat u de machine gaat afstellen, schoonmaken of repareren:
Parkeer de machine op een horizontaal oppervlak.
Zet de gashendel op laag stationair.
Werktuig neerlaten.
Zorg dat de tractie in neutraal staat.
Stel de parkeerrem in werking.
Zet de motor af en haal het sleuteltje uit het contact.
Wacht totdat alle bewegende onderdelen tot stilstand zijn gekomen.
Laat de onderdelen van de machine afkoelen voordat u onderhoudswerkzaamheden uitvoert.
Voer indien mogelijk geen onderhoudswerkzaamheden uit als de motor draait. Blijf uit de buurt van bewegende onderdelen.
Plaats de machine of onderdelen ervan op assteunen indien dit nodig is.
Haal voorzichtig de druk van onderdelen met opgeslagen energie.
Het kan gebeuren dat een mechanische of hydraulische krik een machine niet ondersteunt. Als de machine dan valt, kan dit ernstig letsel veroorzaken.
Plaats de machine altijd op kriksteunen.
De assteunpunten zijn:
De machine is voorzien van smeerpunten die om de 100 bedrijfsuren moeten worden gesmeerd met nr. 2 smeervet op lithiumbasis.
Smeer de volgende lagers en lagerbussen:
Lager van voorwiel (1) (Figuur 23)

Draaipunt van tractiepedaal (1) (Figuur 24)

Achterste trekhaak (5) (Figuur 25)

Stangeinde van stuurcilinder (1) – uitsluitend Model 08705 (Figuur 26)

Fusee (Figuur 27)
Note: Om vet in de verzonken nippel op de fusee te spuiten (Figuur 27), moet u een verloopstuk op de vetspuit plaatsen. U kunt het verloopstuk bestellen bij een erkende Toro dealer, onderdeelnr. 107-1998.

| Onderhoudsinterval | Onderhoudsprocedure |
|---|---|
| Om de 100 bedrijfsuren |
|
Veeg de smeernippel schoon zodat er geen ongerechtigheden kunnen binnendringen in het lager of de lagerbus.
Pomp vet in het lager of de lagerbus.
Veeg overtollig vet af.
U moet de motor afzetten voordat u het oliepeil controleert of het carter bijvult met olie.
Verander nooit de stand van de toerenregelaar van de motor en laat de motor niet te snel draaien.
| Onderhoudsinterval | Onderhoudsprocedure |
|---|---|
| Na de eerste 20 bedrijfsuren |
|
| Om de 100 bedrijfsuren |
|
Plaats de machine op een horizontaal oppervlak, zet de motor af, stel de parkeerrem in werking en verwijder het sleuteltje.
Verwijder de aftapplug (Figuur 28) en laat de olie in een opvangbak lopen. Als er geen olie meer naar buiten stroomt, plaatst u de aftapplug terug.

Verwijder het oliefilter (Figuur 28).
Smeer een dun laagje schone olie op de pakking van het filter.
Draai het filter met de hand vast totdat de pakking contact maakt met het filtertussenstuk. Draai het filter vervolgens nog eens een ½ tot ¾ slag.
Important: Draai het filter niet te vast.
Het carter met olie vullen, zie Het motoroliepeil controleren.
U moet gebruikte vloeistof op de juiste wijze afvoeren.
| Onderhoudsinterval | Onderhoudsprocedure |
|---|---|
| Om de 200 bedrijfsuren |
|
Controleer de luchtfilterbehuizing op schade die een luchtlek kan veroorzaken. Vervang beschadigde onderdelen. Controleer het gehele luchtinlaatsysteem op lekken, beschadiging of losse slangklemmen.
Vervang het luchtfilter niet voordat dit nodig is, hierdoor vergroot u alleen maar de kans dat er vuil in de motor komt op het moment dat het filter wordt verwijderd.
Zorg ervoor dat het deksel goed vastzit en de luchtfilterbehuizing helemaal afsluit.
| Onderhoudsinterval | Onderhoudsprocedure |
|---|---|
| Om de 200 bedrijfsuren |
|
Maak de sluitingen los waarmee het deksel van het luchtfilter is bevestigd aan de luchtfilterbehuizing (Figuur 29).

Verwijder het deksel van de luchtfilterbehuizing.
Alvorens het filter weg te halen, moet u met schone en droge perslucht onder lage druk (2,76 bar) grote hoeveelheden aangekoekt vuil verwijderen dat tussen de buitenkant van het voorfilter en de filterbus zit.
Important: Gebruik geen perslucht onder hoge druk, omdat hierdoor vuil via het filter in het inlaatkanaal kan worden geblazen. Deze reiniging voorkomt dat er vuil in de inlaat terechtkomt als het voorfilter wordt verwijderd.
Verwijder en vervang het filter.
Note: Inspecteer het nieuwe filter op transportschade en controleer het uiteinde van het filter (dit moet goed aansluiten) en de filterbehuizing. Een beschadigd element mag niet worden gebruikt. Plaats het nieuwe filter door de buitenring van het element aan te drukken om dit vast te zetten in de filterbus. Druk niet op het flexibele midden van het filter.
Note: Het wordt afgeraden het gebruikte element te reinigen omdat dit kan leiden tot beschadiging van de filtermedia.
Reinig de opening van de vuiluitlaat in het afneembare deksel.
Verwijder de rubberen uitlaatklep van het deksel, maak de holte schoon en plaats de klep terug.
Monteer het deksel met de rubberen uitlaatklep naar beneden gericht, in een stand tussen ongeveer 5 tot 7 uur, gezien vanaf het uiteinde.
Maak de sluitingen vast.
| Onderhoudsinterval | Onderhoudsprocedure |
|---|---|
| Om de 800 bedrijfsuren |
|
Type: Champion RC14YC (of equivalent type)
Elektrodenafstand: 0,76 mm
Note: De bougies hebben doorgaans een lange levensduur. U moet ze echter verwijderen en controleren als de motor slecht functioneert.
Maak de omgeving van elke bougie schoon zodat er geen vuil in de cilinder kan terechtkomen op het moment dat u de bougie verwijdert.
Maak de kabels los van de bougies en verwijder de bougies uit de cilinderkop.
Controleer de staat van de massa-elektrode, de centrale elektrode en de isolator op beschadigingen.
Important: Een bougie die gebarsten, aangetast, vuil is of andere gebreken vertoont moet worden vervangen. U mag de elektroden niet zandstralen, afkrabben of reinigen met een staalborstel omdat hierdoor gruis kan losraken en in de cilinder terechtkomen. Dit leidt meestal tot beschadiging van de motor.
Zorg ervoor dat de elektrodenafstand tussen de centrale elektrode en de massa-elektrode 0,76 mm bedraagt, zie Figuur 30. Plaats de bougie met de juiste elektrodenafstand en monteer deze met de pakkingafdichting. Draai de bougie vast met een torsie van 23 N·m. Als u geen momentsleutel gebruikt, moet u de bougie stevig vastdraaien.

| Onderhoudsinterval | Onderhoudsprocedure |
|---|---|
| Om de 800 bedrijfsuren |
|
Er bevindt zich een leidingfilter in de brandstofleiding. Ga als volgt te werken als het brandstoffilter moet worden vervangen:
Sluit de brandstofafsluitklep, maak de slangklem op het filter aan de kant van de carburateur los en verwijder de brandstofslang van het filter (Figuur 31).

Plaats een opvangbak onder het filter, maak de andere slangklem los en verwijder het filter.
Monteer het nieuwe filter. Let erop dat de pijl op de filterbehuizing van de brandstoftank af wijst (in de richting van de carburator).
Schuif de slangklemmen op de uiteinden van de brandstofslangen.
Druk de brandstofslangen op het brandstoffilter en zet deze vast met de slangklemmen.
Note: Let erop dat de pijl op de zijkant van het filter in de richting van de carburateur wijst.
Koppel de accu af voordat u reparaties aan de machine verricht. Maak eerst de minpool van de accu los en daarna de pluspool. Bevestig eerst de pluspool van de accu en daarna de minpool.
Laad de accu op in een open, goed geventileerde ruimte, uit de buurt van vonken en open vuur. Haal de oplader uit het stopcontact voordat u de accu aan- of loskoppelt. Draag beschermende kleding en gebruik geïsoleerd gereedschap.
Als u de machine met startkabels moet starten, kunt u de tweede positieve aansluiting (op het startrelais) gebruiken in plaats van de pluspool van de accu (Figuur 32).

De zekeringhouder (Figuur 33) bevindt zich onder het bedieningspaneel.

| Onderhoudsinterval | Onderhoudsprocedure |
|---|---|
| Om de 25 bedrijfsuren |
|
Zorg ervoor dat het accuzuur op het juiste peil wordt gehouden en de bovenkant van de accu schoon blijft. Indien de machine wordt opgeslagen in een zeer hete omgeving, ontlaadt de accu sneller dan wanneer de machine in een koele omgeving wordt opgeslagen.
Houd de bovenkant van de accu schoon door deze af en toe te reinigen met een borstel die in een oplossing van ammoniak of zuiveringszout is gedompeld. Spoel de bovenkant na het reinigen af met water. Verwijder nooit de vuldop bij het reinigen.
De accukabels moeten stevig op de accupolen zitten zodat ze goed contact maken.
Als er op de accupolen corrosie ontstaat, moet u de kabels losmaken, de min (-) kabel eerst, en de klemmen en polen afzonderlijk schoonkrabben. Zet de kabels vast, de plus (+) kabel eerst, en smeer de accupolen in met vaseline.
Controleer het peil van het accuzuur om de 25 bedrijfsuren of om de 30 dagen, wanneer het voertuig is opgeslagen.
U kunt het peil in de cellen bijhouden met gedestilleerd of gedemineraliseerd water. Vul de cellen niet hoger dan de vulstreep.
Als de machine beweegt wanneer het tractiepedaal in de neutraalstand staat, moet u de afstelnok van de tractie afstellen.
Plaats de machine op een horizontaal oppervlak, zet de motor af, stel de parkeerrem in werking en verwijder het sleuteltje.
Draai de 2 schroeven los waarmee het middelste scherm is bevestigd aan de machine en verwijder het scherm (Figuur 34).

Krik het voorwiel en één achterwiel omhoog zodat deze vrijkomen van de grond, en plaats steunblokken onder het frame.
Het voorwiel en één achterwiel moeten vrijkomen van de grond, omdat anders de machine tijdens de afstelling zal bewegen. Hierdoor kan de machine vallen, wat tot lichamelijk letsel kan leiden.
Krik de machine omhoog totdat het voorwiel en 1 achterwiel los komen van de grond.
Draai de borgmoer op de afstelnok van de tractie los (Figuur 35).

De motor moet lopen zodat u de laatste afstelling van de afstelnok van de tractie kunt uitvoeren. Contact met bewegende onderdelen of hete oppervlakken kan lichamelijk letsel veroorzaken.
Houd uw gezicht, handen, voeten en andere lichaamsdelen uit de buurt van de draaiende onderdelen, de geluiddemper en andere hete oppervlakken.
Start de motor en draai de zeskantige moer van de afstelnok (Figuur 35) in beide richtingen om het middelpunt van het bereik van de neutraalstand te bepalen.
Draai de borgmoer vast om de afstelling te borgen.
Zet de motor af.
Monteer het middelste scherm.
Haal de assteunen weg en laat de machine neer op de grond.
Maak een proefrit met de machine om er zeker van te zijn dat deze niet beweegt als het tractiepedaal in de neutraalstand staat.
De transmissie afstellen voor de neutraalstand, zie De tractieaandrijving afstellen voor de neutraalstand.
Zorg er met behulp van de pomphefboom voor dat alle onderdelen onbelemmerd werken en zich op de juiste plaats bevinden.
Stel de schroef af tot de tussenruimte 0,8 mm tot 2,3 mm bedraagt, zie Figuur 35.
Controleer of de interlockschakelaar goed functioneert.
De maximale transportsnelheid en de achteruit worden in de fabriek ingesteld, maar de snelheid moet worden bijgesteld als het tractiepedaal een volledige slag heeft afgelegd voordat de pomphefboom een volledige slag heeft afgelegd, of als de transportsnelheid moet worden verminderd.
Om de maximale transportsnelheid te verkrijgen, moet u het tractiepedaal intrappen. Als het pedaal contact maakt met de pedaalaanslag (Figuur 36) voordat de pomphefboom een volledige slag heeft afgelegd, moet u deze afstellen:

Plaats de machine op een horizontaal oppervlak, zet de motor af, stel de parkeerrem in werking en verwijder het sleuteltje.
Draai de borgmoer van de pedaalaanslag los.
Draai de pedaalaanslag vast totdat deze niet meer tegen het tractiepedaal aan komt.
Houd het transportpedaal licht ingetrapt en stel de pedaalaanslag zodanig af dat deze licht contact maakt met de pedaalstang of de afstand tussen de pedaalstang en de pedaalaanslag 2,5 mm bedraagt.
Draai de moeren vast.
Plaats de machine op een horizontaal oppervlak, zet de motor af, stel de parkeerrem in werking en verwijder het sleuteltje.
Draai de borgmoer van de pedaalaanslag los.
Draai de pedaalaanslag losser totdat u de gewenste transportsnelheid hebt verkregen.
Draai de borgmoer vast om de pedaalaanslag vast te zetten.
Stel de palplaat van de hefhendel (Figuur 38) af als het werktuig tijdens de werkzaamheden niet goed zweeft (het grondoppervlak volgt).
Plaats de machine op een horizontaal oppervlak, zet de motor af, stel de parkeerrem in werking en blokkeer de wielen.
Verwijder de (4) schroeven waarmee het bedieningspaneel is bevestigd aan het frame (Figuur 37).

Draai de 2 bouten waarmee de borgplaat aan het spatscherm en het frame bevestigd is.

De motor moet lopen om de afstelling van de borgplaat uit te voeren. Contact met bewegende onderdelen of hete oppervlakken kan lichamelijk letsel veroorzaken.
Houd uw gezicht, handen, voeten en andere lichaamsdelen uit de buurt van de draaiende onderdelen, de geluiddemper en andere hete oppervlakken.
De motor starten.
Laat de motor lopen, zet de hefhendel in de ZWEEFSTAND en verschuif de palplaat totdat de hefcilinder met de hand naar binnen en naar buiten kan worden getrokken.
Draai beide bevestigingsschroeven vast om de afstelling te borgen.
Een goed werkende gasklep is afhankelijk van een correcte afstelling van de gashendel. Voordat u de carburateur afstelt, moet u controleren of de gashendel goed werkt.
Draai de stoel omhoog.
Draai de kabelklemschroef los waarmee de gaskabel is bevestigd aan de motor (Figuur 39).

Zet de gashendel naar voren op SNEL.
Trek stevig aan de gaskabel totdat de achterzijde van de wartel tegen de aanslag aankomt (Figuur 39).
Draai de kabelklemschroef aan en controleer het toerental van de motor:
Hoog stationair: 3,350 tot 3,450 tpm
Laag stationair: 1,650 tot 1,850 tpm
Important: Voordat u de motortoerentalregelaar afstelt, moet u controleren of de gashendel en de chokehendel goed zijn afgesteld.
De motor moet lopen als de motortoerentalregelaar wordt afgesteld. Contact met bewegende onderdelen of hete oppervlakken kan lichamelijk letsel veroorzaken.
Zet het tractiepedaal in de neutraalstand en stel de parkeerrem in werking voordat u deze procedure uitvoert.
Houd uw kleding, handen, voeten en andere lichaamsdelen uit de buurt van de draaiende onderdelen, de geluiddemper en andere hete oppervlakken.
Note: Om het laag stationair toerental af te stellen, moet u alle onderstaande stappen uitvoeren. Als u alleen maar het hoog stationair toerental hoeft af te stellen gaat u direct verder met stap 5.
Start de motor en laat deze ongeveer 5 minuten op halfgas lopen om warm te worden.
Zet de gashendel op LANGZAAM. Draai de regelschroef voor het stationair toerental linksom totdat deze niet meer tegen de gashendel aan komt.
Buig het ankerlipje van de veer voor het afgeregelde stationair toerental (Figuur 40) totdat het stationair toerental 1.675 tot 1.175 tpm bedraagt.
Note: Controleer het toerental met een toerenteller.

Draai aan de regelschroef voor het stationair toerental totdat het stationair toerental 25 tot 50 tpm hoger is dan het toerental dat is ingesteld in stap 3.
Note: Het uiteindelijke toerental moet 1650 tot 1850 tpm bedragen.
Zet de gashendel op SNEL.
Buig het ankerlipje van de veer voor het hoge toerental (Figuur 40) totdat het hoge toerental 3350 tot 3450 tpm bedraagt.
Waarschuw onmiddellijk een arts als er hydraulische vloeistof is geïnjecteerd in de huid. Geïnjecteerde vloeistof moet binnen enkele uren operatief worden verwijderd door een arts.
Controleer of alle hydraulische slangen en leidingen in goede staat verkeren en alle hydraulische aansluitingen en fittings stevig vastzitten voordat u druk zet op het hydraulische systeem.
Houd lichaam en handen uit de buurt van kleine lekgaten of spuitmonden waaruit onder hoge druk hydraulische vloeistof ontsnapt.
U kunt lekken in het hydraulische systeem opsporen met behulp van karton of papier.
Hef alle druk in het hydraulische systeem op veilige wijze op, voordat u werkzaamheden gaat verrichten aan het hydraulische systeem.
| Onderhoudsinterval | Onderhoudsprocedure |
|---|---|
| Na de eerste 8 bedrijfsuren |
|
| Om de 400 bedrijfsuren |
|
Als u het filter vervangt, moet u een origineel Toro filter monteren.
Plaats de machine op een horizontaal oppervlak, zet de motor af, stel de parkeerrem in werking en verwijder het sleuteltje.
Draai de 2 schroeven los waarmee het middelste scherm is bevestigd aan de machine en verwijder het scherm (Figuur 41).

Plaats een opvangbak onder het hydraulische filter dat zich bevindt aan de linkerzijde van de machine (Figuur 42).

Reinig de omgeving van de plaats waar het filter wordt gemonteerd.Plaats een opvangbak onder het filter. Maak het filter langzaam los, zonder dit te verwijderen, totdat de vloeistof langs de pakking stroomt en over de zijkant van het filter druppelt.
Note: Als de machine is uitgerust met op afstand bedienbare hydrauliek, kan de zuigslang worden verwijderd van de pomp om de hydraulische vloeistof weg te laten lopen.
Verwijder het filter als de vloeistofstroom afneemt.
Smeer hydraulische vloeistof op de afdichtingspakking op het nieuwe filter en draai dit met de hand vast totdat de pakking in contact komt met de filterkop. Draai het filter vervolgens nog eens ¾ slag.
Note: Het filter moet nu afgedicht zijn.
Vul het reservoir met hydraulische vloeistof totdat het peil tot aan het versmalde stuk van de peilstok komt. Vul de brandstoftank niet te vol. Zie Het peil van de hydraulische vloeistof controleren.
Start en stop de motor. Stel de hefcilinder in werking totdat de hefcilinder naar binnen en naar buiten schuift en de wielen vooruit en achteruit kunnen draaien.
Zet de motor af en controleer het vloeistofpeil in het reservoir. Vul olie bij indien dit nodig is.
Controleer alle aansluitingen op lekkages.
Monteer het middelste scherm.
U moet gebruikte vloeistof op de juiste wijze afvoeren.
| Onderhoudsinterval | Onderhoudsprocedure |
|---|---|
| Bij elk gebruik of dagelijks |
|
Controleer dagelijks de hydraulische leidingen en slangen op lekkages, kinken, loszittende steunen, slijtage, loszittende aansluitingen, slijtage door weersinvloeden en de inwerking van chemicaliën. Voer alle noodzakelijke reparaties uit voordat u de machine weer in gebruik neemt.
Telkens wanneer een onderdeel van het hydraulische systeem is gerepareerd of vervangen, moet u het hydraulische filter vervangen en het hydraulische systeem opladen.
Zorg ervoor dat het hydraulische reservoir en het filter altijd zijn gevuld met vloeistof als u het hydraulische systeem controleert.
Plaats de machine op een horizontaal oppervlak, zet de motor af, stel de parkeerrem in werking en verwijder het sleuteltje.
Draai de 2 schroeven los waarmee het middelste scherm is bevestigd aan de machine en verwijder het scherm (Figuur 43).

Krik het voorwiel en één achterwiel omhoog zodat deze vrijkomen van de grond, en plaats steunblokken onder het frame.
Het voorwiel en één achterwiel moeten vrijkomen van de grond, omdat anders de machine tijdens de afstelling zal bewegen. Hierdoor kan de machine vallen, wat tot lichamelijk letsel kan leiden.
Krik de machine omhoog totdat het voorwiel en 1 achterwiel los komen van de grond.
Start de motor, geef gas en laat de motor op ongeveer 1.800 tpm lopen.
Bedien de hendel van de hefklep totdat de stang van de hefcilinder verscheidene keren naar binnen en naar buiten schuift. Als de cilinderstang na 10–15 seconden niet beweegt of de pomp abnormale geluiden maakt, moet u de motor onmiddellijk afzetten en vaststellen wat de oorzaak of het probleem is. Controleer op de volgende zaken:
Los filter of losse aanzuigleidingen
Los of defect koppelstuk op pomp
Verstopte aanzuigleiding
Defecte ontlastklep
Defecte laadpomp
Als de cilinder binnen 10 tot 15 seconden beweegt, gaat u verder met stap 6.
Zet het tractiepedaal in de vooruit- en achteruit-stand. De wielen die vrij zijn van de grond, moeten in de goede richting draaien.
Als de wielen in de verkeerde richting draaien, moet u de motor afzetten en de leidingen aan de achterkant van de pomp afkoppelen en verwisselen.
Als de wielen in de juiste richting draaien, schakel dan de motor uit en stel de borgmoer van de veerafstelpen af (Figuur 44). Stel de neutraalstand van de tractie af, zie De tractieaandrijving afstellen voor de neutraalstand.

Controleer de afstelling van de interlockschakelaar van de tractie; zie De interlockschakelaar van de tractie afstellen.
Monteer het middelste scherm.
| Onderhoudsinterval | Onderhoudsprocedure |
|---|---|
| Bij elk gebruik of dagelijks |
|
Als u klaar bent met het werk moet u de machine grondig schoonspoelen met een tuinslang zonder spuitmond, zodat bij een te hoge waterdruk de afdichtingen en lagers niet worden beschadigd en verontreinigd raken.
Zorg ervoor dat de koelribben en de omgeving van de luchtinlaat van de motorkoeling vrij blijven van vuil.
Important: Als u de oliekoeler met water reinigt, kan hierdoor voortijdig corrosie optreden, kunnen onderdelen schade oplopen en kan vuil gaan aankoeken, zie De oliekoeler reinigen.
Na reiniging moet u de machine te controleren op eventuele lekken in het hydraulische systeem, beschadiging of slijtage van de hydraulische en mechanische onderdelen.
| Onderhoudsinterval | Onderhoudsprocedure |
|---|---|
| Om de 400 bedrijfsuren |
|
Reinig de machine, werktuigen en motor grondig.
De bandenspanning controleren.
Controleer of alle bevestigingen vastzitten; zet ze vast indien nodig.
Smeer of olie alle smeer- en draaipunten. Veeg overtollig vet weg.
Plaatsen waar de lak is bekrast, beschadigd of geroest, moeten licht geschuurd en bijgewerkt worden.
Verricht de volgende onderhoudswerkzaamheden aan de accu en de kabels:
Haal de accuklemmen los van de accupolen.
Reinig de accu, de klemmen en de polen met behulp van een staalborstel en een oplossing van zuiveringszout (natriumbicarbonaat).
Smeer een dun laagje Grafo 112X-vet (Toro onderdeelnr. 505-47) of vaseline op de kabelklemmen en de accupolen om corrosie te voorkomen.
Laad de accu om de 60 dagen 24 uur lang op om loodsulfatie van de accu te voorkomen.
Note: Het soortelijk gewicht van een volledig opgeladen accu is 1,250.
Note: Sla de accu op in een koele omgeving om te voorkomen dat de batterij snel ontlaadt. Om te voorkomen dat de accu bevriest, moet deze volledig zijn opgeladen.
Ververs de motorolie en vervang het filter. Zie Motorolie verversen en filter vervangen.
Start de motor en laat deze twee minuten stationair lopen.
Zorg ervoor dat het luchtfilter grondig worden gereinigd en een onderhoudsbeurt krijgt. Zie Onderhoud van het luchtfilter.
Plak de luchtfilterinlaat en de uitlaat af. Gebruik hiervoor weerbestendige afplakband.
Controleer de olievuldop en de tankdop om er zeker van te zijn dat deze goed vastzitten.