| Częstotliwość serwisowania | Procedura konserwacji |
|---|---|
| Po pierwszych 20 godzinach |
|
| Przed każdym użyciem lub codziennie |
|
Niniejsza maszyna jest samojezdnym pojazdem użytkowym przeznaczonym do użytku przez profesjonalnych operatorów do zastosowań komercyjnych. Jej głównym zastosowaniem jest przygotowywanie bunkrów na odpowiednio utrzymywanych polach golfowych i terenach komercyjnych.
Important: Przeczytaj uważnie i ze zrozumieniem niniejszą instrukcję obsługi, gdyż pozwoli to uzyskać najwyższy poziom bezpieczeństwa, wydajności i poprawną pracę tej maszyny. Nieprzestrzeganie niniejszej instrukcji obsługi lub brak odpowiedniego szkolenia mogą doprowadzić do obrażeń ciała. Dodatkowe informacje dotyczące bezpiecznej obsługi wraz z poradami dotyczącymi bezpieczeństwa i materiałami szkoleniowymi dostępne są na witrynie www.Toro.com.
Z firmą Toro możesz skontaktować się bezpośrednio poprzez witrynę www.Toro.com w kwestiach dotyczących materiałów szkoleniowych z zakresu bezpieczeństwa oraz eksploatacji produktu, informacji na temat akcesoriów, pomocy w znalezieniu autoryzowanego sprzedawcy lub rejestracji urządzenia.
Aby skorzystać z serwisu, zakupić oryginalne części firmy Toro lub uzyskać dodatkowe informacje, należy skontaktować się z autoryzowanym przedstawicielem serwisowym lub biurem obsługi klienta firmy Toro. Prosimy o przygotowanie numeru modelu i numeru seryjnego produktu. Rysunek 1 przedstawia położenie oznaczenia modelu oraz numeru seryjnego na urządzeniu. Należy zapisać je w przewidzianym na to miejscu.
Important: Urządzeniem mobilnym zeskanuj kod QR (jeśli występuje) na tabliczce z numerem seryjnym, aby uzyskać informacje o gwarancji, częściach zamiennych i innych kwestiach związanych z produktem.

Ten symbol ostrzegawczy (Rysunek 2) występuje zarówno w instrukcji, jak i na maszynie. Wskazuje on ważne informacje dotyczące zasad bezpieczeństwa, których należy przestrzegać, aby uniknąć wypadków.

Symbol ostrzegawczy pojawia się nad informacjami ostrzegającymi o niebezpiecznych działaniach lub sytuacjach, przed słowem NIEBEZPIECZEŃSTWO, OSTRZEŻENIE lub UWAGA.
Niebezpieczeństwo: Wskazuje na sytuację bezpośredniego zagrożenia, która, jeśli się jej nie zapobiegnie, doprowadzi do śmierci lub poważnych obrażeń ciała.
OSTRZEŻENIE: Wskazuje na sytuację potencjalnego zagrożenia, która, jeśli się jej nie zapobiegnie, może doprowadzić do śmierci lub poważnych obrażeń ciała.
UWAGA: Wskazuje na sytuację potencjalnego zagrożenia, która, jeśli się jej nie zapobiegnie, może doprowadzić do niewielkich lub średnich obrażeń ciała.
W niniejszej instrukcji obsługi stosowane są dwa terminy w celu podkreślenia stopnia ważności informacji. Ważne zwraca uwagę na szczególne informacje techniczne, a Uwaga podkreśla informacje ogólne wymagające uwagi.
Niniejszy produkt spełnia wymagania stosownych dyrektyw europejskich. Szczegółowe informacje można znaleźć w osobnej deklaracji zgodności (DOC) dotyczącej danego produktu.
Stosowanie lub eksploatowanie w obszarach zalesionych, zakrzewionych lub trawiastych silnika bez działającego tłumika z iskrochronem według punktu 4442 kodeksu dotyczącego ochrony dóbr publicznych stanu Kalifornia lub silnika zaprojektowanego z myślą o ochronie przeciwpożarowej i odpowiednio wyposażonego oraz utrzymywanego jest naruszeniem punktu 4442 lub 4443 tegoż kodeksu.
Dołączona instrukcja obsługi silnika zawiera informacje dotyczące wymagań amerykańskiej Agencji Ochrony Środowiska (EPA) oraz prawa stanu Kalifornia dotyczącego kontroli emisji w systemach emisji, konserwacji i gwarancji. Egzemplarze zastępcze zamówić można u producenta silnika.
KALIFORNIA
Propozycja 65 ostrzeżenie
Układ wydechowy tego urządzenia zawiera substancje chemiczne, które mogą być przyczyną powstawania raka, chorób układu oddechowego i innych schorzeń.
Bieguny akumulatora, listwy zaciskowe i podobne elementy zawierają ołów i związki ołowiu, substancje chemiczne uznane przez stan Kalifornia za rakotwórcze i powodujące zaburzenia rozrodu. Myj ręce po kontakcie z nimi.
Użycie tego produktu może skutkować narażeniem się na działanie związków chemicznych uznanych w Stanie Kalifornia za wywołujące raka, uszkodzenia płodu lub działające szkodliwie dla rozrodczości.
W celu poprawy właściwości trakcyjnych z przodu maszyny można zamontować zestaw obciążników 100-6442.
Note: Jeżeli maszyna jest wyposażona w przedni podnośnik lub osprzęt pługa, montaż zestawu obciążników nie jest możliwy ze względu fizyczną kolizję tych elementów.
Produkt może spowodować obrażenia ciała. Aby uniknąć poważnych obrażeń ciała, zawsze przestrzegaj wszystkich instrukcji dotyczących bezpieczeństwa.
Używanie produktu w celach niezgodnych z jego przeznaczeniem może okazać się niebezpieczne dla operatora i dla osób postronnych.
Przed pierwszym uruchomieniem silnika należy zapoznać się z niniejszą instrukcją obsługi. Każdy użytkownik tego urządzenia musi zaznajomić się ze sposobem jego obsługi oraz podanymi ostrzeżeniami.
Podczas obsługi maszyny zachowaj pełne skupienie. Nie podejmuj żadnych rozpraszających czynności, w przeciwnym razie możesz spowodować obrażenia lub wyrządzić szkody w mieniu.
Nie zbliżaj dłoni ani stóp do ruchomych części maszyny.
Zabronione jest używanie maszyny bez założonych i działających wszystkich osłon oraz innych urządzeń ochronnych.
Podczas jazdy maszyną nie zbliżaj się do osób postronnych.
Nie zezwalaj dzieciom na przebywanie w pobliżu miejsca wykonywania prac. Nigdy nie pozwalaj dzieciom obsługiwać maszyny.
Przed serwisowaniem lub dolewaniem paliwa zatrzymaj maszynę i wyłącz silnik.
Nieprawidłowe używanie tej maszyny może być przyczyną obrażeń. W celu zmniejszenia ryzyka obrażeń ciała postępuj zgodnie z tymi zasadami bezpieczeństwa i zawsze zwracaj uwagę na ostrzegawczy symbol bezpieczeństwa (Rysunek 2), który oznacza: Uwaga, Ostrzeżenie lub Niebezpieczeństwo – zasady bezpieczeństwa osobistego. Nieprzestrzeganie powyższych zasad może doprowadzić do obrażeń ciała lub do śmierci.
Dodatkowe informacje dotyczące bezpieczeństwa można znaleźć w odpowiednich rozdziałach niniejszej instrukcji obsługi.
![]() |
Etykiety dotyczące bezpieczeństwa oraz instrukcje są wyraźnie widoczne dla operatora i znajdują się w pobliżu wszystkich miejsc potencjalnego zagrożenia. Uszkodzone i brakujące etykiety należy wymienić. |








Note: Należy ustalić lewą i prawą stronę maszyny ze standardowego stanowiska operatora.
Note: Należy zdemontować wszystkie wsporniki transportowe oraz elementy mocujące.
Części potrzebne do tej procedury:
| Kierownica | 1 |
| Kołnierz piankowy | 1 |
| Podkładka | 1 |
| Przeciwnakrętka | 1 |
| Osłona kierownicy | 1 |
Ustawić przednie koło tak, aby skierowane było do przodu.
Wsunąć kołnierz piankowy na wał kierownicy mniejszym końcem do przodu (Rysunek 3).

Wsunąć koło kierownicy na wał kierownicy (Rysunek 3).
Zamocować koło kierownicy na wale kierownicy, korzystając z podkładki i przeciwnakrętki (Rysunek 3).
Dokręć nakrętkę zabezpieczającą z momentem od 27 do 35 N∙m.
Zamocować pokrywę koła kierownicy na sowim miejscu na kole kierownicy (Rysunek 3).
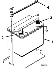
Odkręcić 2 nakrętki skrzydełkowe oraz podkładki mocujące górne mocowanie akumulatora z jego bocznymi mocowaniami (Rysunek 4). Zdjąć górne mocowanie akumulatora i wyjąć go.

Części potrzebne do tej procedury:
| Elektrolit luzem, ciężar właściwy 1,260 (nie jest dostarczany) | – |
Akumulator suchy lub zdezaktywowany winien być zalany elektrolitem o masie właściwej 1,260 g/cm3.
Note: Zalecany jest zakup elektrolitu w sklepie z akumulatorami.
Elektrolit akumulatora zawiera kwas siarkowy, którego spożycie może być śmiertelne i który powoduje poważne poparzenia.
Nie pij elektrolitu. Unikaj kontaktu elektrolitu ze skórą, oczami i odzieżą. Noś okulary ochronne, aby chronić oczy, oraz gumowe rękawice, aby chronić ręce.
Napełniać akumulator w miejscu, w którym zawsze jest dostęp do czystej wody do przepłukania skóry.
Odkręcić korki wlewu akumulatora i wolno wypełniać każde ogniwo, aż elektrolit będzie sięgać linii napełnienia.
Zakręć korki wlewu i podłącz ładowarkę o natężeniu 3-4 A do biegunów akumulatora. Ładuj akumulator przez 4 do 8 godzin prądem od 3 do 4 A .
W czasie ładowania akumulator wytwarza gazy, które mogą wybuchnąć.
Nie palić tytoniu w pobliżu akumulatora; utrzymywać akumulator z dala od źródeł iskier i płomieni.
Po naładowaniu akumulatora odłączyć ładowarkę od gniazda elektrycznego oraz od biegunów akumulatora. Pozostawić akumulator na 5-10 minut.
Odkręcić korki wlewu.
Wolno dodawać elektrolit do każdego ogniwa, aż poziom elektrolitu będzie sięgać linii napełnienia.
Important: Nie przepełniać akumulatora. Elektrolit wyleje się na inne części maszyny, powodując silną korozję i uszkodzenia.
Zakręcić korki wlewu.
Części potrzebne do tej procedury:
| Śruba (¼ x ⅝ cala) | 2 |
| Przeciwnakrętka (¼ cala) | 2 |
Umieścić akumulator na miejscu, z zaciskiem ujemnym zwróconym w stronę tyłu maszyny (Rysunek 5).

Nieprawidłowe poprowadzenie przewodów akumulatora może spowodować uszkodzenie maszyny i przewodów oraz powodować iskrzenie. Iskrzenie może spowodować wybuch gazów akumulatora, co będzie skutkowało obrażeniami ciała.
Zawsze odłączaj najpierw ujemny przewód akumulatora (czarny), a następnie przewód dodatni (czerwony).
Podłączać w pierwszej kolejności przewód dodatni (czerwony), a następnie przewód ujemny akumulatora (czarny).
Zaciski akumulatora lub metalowe narzędzia mogą powodować zwarcia z metalowymi podzespołami maszyny, wywołując iskrzenie. Iskrzenie może spowodować wybuch gazów akumulatora, co będzie skutkowało obrażeniami ciała.
Podczas demontażu lub montażu akumulatora nie należy dopuszczać do zetknięcia się zacisków akumulatora z jakimikolwiek metalowymi częściami maszyny.
Nie dopuścić do zwarcia pomiędzy zaciskami akumulatora a metalowymi częściami maszyny, wywołanego przez metalowe narzędzia.
Podłączyć dodatni (czerwony) przewód do zacisku dodatniego (+), używając śruby ¼ x ⅝ cala oraz przeciwnakrętki (Rysunek 6).

Podłączyć krótki czarny przewód oraz ujemny (czarny) przewód do zacisku ujemnego (-) akumulatora przy użyciu śruby (¼ x ⅝ cala) oraz przeciwnakrętki (¼ cala) (Rysunek 6).
Pokryć zaciski i elementy mocujące wazeliną, aby zapobiec korozji.
Nasunąć gumową osłonę na biegun zacisk (+), aby zapobiec ewentualnemu zwarciu.
Zamocować górne mocowanie akumulatora do jego bocznych mocowań przy użyciu podkładek i nakrętek skrzydełkowych.
Części potrzebne do tej procedury:
| Zestaw do montażu obciążników przednich (w razie potrzeby) | – |
Maszyna została zaprojektowana zgodnie z normą ANSI B71.4-2017. Po zamontowaniu osprzętu na maszynie konieczne może być zamontowanie dodatkowych obciążników, aby spełnić wymogi norm.
Dzięki poniższej tabeli można określić kombinacje wymaganych dodatkowych obciążników. Części można zamówić u lokalnego autoryzowanego dystrybutora Toro.
| Osprzęt | Dodatkowe wymagane obciążniki przednie | Numer części zestawu obciążnika | Opis obciążnika | Il. |
|---|---|---|---|---|
| Zestaw Spiker (08755) | 23 kg | 100-6442 | obciążnik płytowy 8 x 3 kg | 1 |
| Rahn Groomer | 23 kg | 100-6442 | obciążnik płytowy 8 x 3 kg | 1 |
| QAS Utility Box | 23 kg | 100-6442 | obciążnik płytowy 8 x 3 kg | 1 |
Note: Dodatkowy obciążnik nie jest wymagany, jeśli maszyna wyposażona jest w przedni hydrauliczny układ podnoszenia (model 08712).
Części potrzebne do tej procedury:
| Etykieta z rokiem produkcji | 1 |
Przyklej na maszynie etykietę z rokiem produkcji we wskazanym miejscu (Rysunek 7).

Części potrzebne do tej procedury:
| Etykieta ostrzegawcza | 1 |
W maszynach wymagających zgodności z wymogami CE naklej etykietę ostrzegawczą CE (część nr 136-6164) na dolnej części etykiety konsoli (część nr 132-4422).

Pedał jazdy (Rysunek 9) ma trzy funkcje: jazda naprzód, jazda do tyłu oraz zatrzymanie maszyny. Nacisnąć górną część pedału palcami prawej stopy, aby ruszyć do przodu; nacisnąć dolną część pedału piętą prawej stopy, aby ruszyć do tyłu lub aby wspomóc hamowanie podczas jazdy do przodu (Rysunek 10). Aby zatrzymać pojazd, należy zwolnić oba pedały albo przestawić je w pozycje NEUTRALNE. Dla wygody operatora nie należy opierać pięty na pedale wstecznym podczas jazdy pojazdu do przodu.


Prędkość jazdy jest proporcjonalna do tego, jak mocno naciśnięty zostanie pedał jazdy. Aby uzyskać maksymalną prędkość jazdy, należy ustawić przepustnicę w położeniu SZYBKIM i całkowicie docisnąć pedał. Aby uzyskać maksymalną moc lub aby wjechać na wzniesienie, należy ustawić przepustnicę w położeniu SZYBKIM, naciskając lekko pedał, by obroty silnika były wysokie. Gdy obroty silnika zaczną się zmniejszać, należy lekko zwolnić pedał, aby obroty ponownie wzrosły.
Important: Aby uzyskać maksymalną zdolność ciągnięcia/holowania, należy ustawić przepustnicę w położeniu SZYBKIM, naciskając lekko pedał jazdy.
Maksymalnej prędkości jazdy należy używać tylko, przejeżdżając z jednego obszaru na drugi.
Nie zaleca się jazdy z maksymalną prędkością podczas korzystania z zamontowanego lub holowanego osprzętu.
Important: Nie należy jechać maszyną do tyłu z osprzętem w położeniu dolnym (roboczym). Może to spowodować poważne uszkodzenie osprzętu.
Wyłącznik zapłonu (Rysunek 11) stosowany do włączania i wyłączania silnika ma trzy położenia: WYłąCZENIA, PRACY oraz URUCHAMIANIA. Obróć kluczyk w prawo do położenia ROZRUCHU, aby włączyć rozrusznik. Zwolnij nacisk na kluczyk, gdy tylko silnik zacznie pracować, kluczyk przemieści się do pozycji ZAPłONU. Aby wyłączyć silnik, przekręć kluczyk w lewo do pozycji WYłąCZENIA.

Aby uruchomić zimny silnik, należy zamknąć ssanie gaźnika, przesuwając element sterujący ssania (Rysunek 11) do położenia zamkniętego. Po uruchomieniu silnika należy wyregulować ssanie w celu zapewnienia płynnej pracy silnika. Gdy tylko będzie to możliwe, należy otworzyć ssanie, przesuwając je w dół do położenia OTWARTEGO. Rozgrzany silnik wymaga niewielkiej ilości lub nie wymaga ssania.
Dźwignia sterowania przepustnicą (Rysunek 11) łączy cięgło przepustnicy z gaźnikiem i steruje nim. Ten element sterujący można ustawić w dwóch położeniach: WOLNYM i SZYBKIM. Prędkość obrotowa silnika może się zmieniać w zakresie tych dwóch ustawień.
Note: Za pomocą dźwigni przepustnicy nie da się zatrzymać silnika.
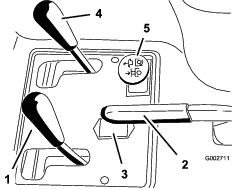
Aby unieść osprzęt, należy pociągnąć dźwignię podnośnika (Rysunek 12) do tyłu; aby opuścić osprzęt, należy popchnąć dźwignię do przodu. Aby ustawić osprzęt w położeniu SWOBODNYM, należy przesunąć dźwignię w położenie zapadkowe. Po osiągnięciu żądanego położenia należy zwolnić dźwignię, która powróci do położenia neutralnego.

Note: Maszyna wyposażona jest w podnośnik działający dwustronnie. W niektórych warunkach pracy można do osprzętu zastosować nacisk.
Aby zaciągnąć hamulec postojowy (Rysunek 12), należy pociągnąć jego dźwignię do tyłu. Aby zwolnić hamulec, należy przesunąć dźwignię do przodu.
Note: Do zwolnienia hamulca postojowego konieczne może być powolne obrócenie pedału jazdy do przodu i do tyłu.
Licznik godzin (Rysunek 12) wskazuje całkowitą liczbę godzin pracy maszyny. Licznik godzin uruchamia się po przekręceniu kluczyka do położenia włączenia zapłonu ON.
Należy przesunąć dźwignię po lewej stronie fotela (Rysunek 13) do przodu, przesunąć fotel do żądanego położenia, a następnie zwolnić dźwignię, aby zablokować fotel w danym położeniu.

Zamknąć zawór odcinający dopływ paliwa (Rysunek 14) przed przechowywaniem maszyny lub transportowaniem jej na przyczepie.

Note: Specyfikacje i konstrukcja mogą ulec zmianie bez konieczności powiadamiania.
| Szerokość bez osprzętu | 148 cm |
| Szerokość z częścią grabiącą, numer modelu 08751 | 191 cm |
| Długość bez osprzętu | 164 cm |
| Wysokość | 115 cm |
| Rozstaw osi | 109 cm |
| Masa netto | |
| model 08703 | 452 kg |
| model 08705 | 461 kg |
Dostępna jest szeroka gama osprzętu i akcesoriów zatwierdzonych przez firmę Toro i przeznaczonych do stosowania z urządzeniem oraz zwiększających jego możliwości. Skontaktuj się z autoryzowanym przedstawicielem serwisowym lub dystrybutorem lub odwiedź stronę www.Toro.com, aby uzyskać listę wszystkich zatwierdzonych akcesoriów i osprzętu.
Dla zagwarantowania wydajnej i bezpiecznej pracy maszyny stosuj wyłącznie części zamienne/akcesoria zalecane przez firmę Toro. Części zamienne i akcesoria wykonane przez innych producentów mogą być niebezpieczne. Stosowanie ich mogłoby unieważnić gwarancję na produkt.
Note: Należy ustalić lewą i prawą stronę maszyny ze standardowego stanowiska operatora.
Użytkowanie lub serwisowanie maszyny przez dzieci lub osoby nieprzeszkolone jest zabronione. Lokalne przepisy prawa mogą ograniczać wiek operatora. Za szkolenie operatorów i mechaników odpowiada właściciel.
Należy zapoznać się z zasadami bezpiecznego użytkowania sprzętu, elementami sterującymi oraz symbolami bezpieczeństwa.
Operator musi umieć szybko zatrzymać maszynę i wyłączyć silnik.
Należy sprawdzić czujniki obecności operatora i właściwe działanie wyłączników bezpieczeństwa, a także osłony pod kątem prawidłowego zamocowania i działania. Nie wolno używać maszyny, jeżeli nie działa ona prawidłowo.
Przed rozpoczęciem pracy sprawdź maszynę, aby upewnić się, że podzespoły i elementy mocujące są w dobrym stanie technicznym. Wymieniaj zużyte lub uszkodzone podzespoły i elementy mocujące.
Sprawdź obszar, w którym zamierzasz używać maszyny i usuń wszelkie obiekty, które mogłyby zostać podrzucone przez maszynę.
Podczas posługiwania się paliwem zachowaj szczególną ostrożność. Paliwo jest wysoce palne, a jego opary mają właściwości wybuchowe.
Zgasić wszelkie źródła ognia, takie jak papieros, cygaro lub fajka.
Używaj wyłącznie odpowiednich pojemników na paliwo.
Nie zdejmuj korka zbiornika paliwa ani nie uzupełniaj paliwa w trakcie pracy silnika lub gdy jest on rozgrzany.
Nie dolewaj ani nie spuszczaj paliwa w zamkniętym pomieszczeniu.
Nie przechowuj maszyny ani kanistra na paliwo w miejscach występowania otwartego ognia, tam gdzie występuje iskrzenie lub stosowany jest płomyk dyżurny, na przykład przy piecykach gazowych lub innych urządzeniach.
W przypadku rozlania paliwa nie próbuj włączać silnika, unikaj możliwości spowodowania zapłonu do czasu rozproszenia oparów paliwa.
| Częstotliwość serwisowania | Procedura konserwacji |
|---|---|
| Po pierwszych 20 godzinach |
|
| Przed każdym użyciem lub codziennie |
|
Dostarczany silnik ma naoliwioną skrzynię korbową. Przed pierwszym uruchomieniem silnika i po jego wyłączeniu konieczne jest jednak sprawdzenie poziomu oleju.
Pojemność skrzyni korbowej z założonym filtrem wynosi ok. 1,66 l.
Należy stosować olej silnikowy wysokiej jakości, zgodny z poniższymi danymi technicznymi:
Klasa oleju wg API: SL lub wyższa
Preferowany olej: SAE 30 - powyżej 4 °C
Ustaw maszynę na równej nawierzchni, zatrzymaj silnik, załącz hamulec postojowy i wyciągnij kluczyk zapłonu.
Przechylić siedzenie do przodu.
Wyciągnąć wskaźnik poziomu (Rysunek 15) i wytrzeć go czystą szmatką.

Wsuń wskaźnik poziomu do rurki i upewnij się, że jest wsunięty do końca. Wyjąć wskaźnik poziomu z rurki i sprawdzić poziom oleju. Jeśli poziom oleju jest niski, odkręcić korek wlewu znajdujący się na pokrywie zaworu i dodać wystarczająco dużo oleju, aby jego poziom wzrósł do oznaczenia Full (pełny) na wskaźniku poziomu.
Important: Poziom oleju musi się znajdować między górną a dolną kreską na bagnecie. Przepełnienie lub niedostateczne napełnienie olejem silnikowym może powodować awarię silnika.
Umieścić wskaźnik poziomu z powrotem na swoim miejscu.
Important: Wskaźnik poziomu należy całkowicie wsunąć do rurki, by zapewnić właściwe uszczelnienie skrzyni korbowej silnika. Niewłaściwe uszczelnienie skrzyni korbowej może powodować uszkodzenie silnika.
Opuścić fotel.
Pojemność zbiornika paliwa: 25 litrów
Zalecane paliwo:
W celu uzyskania najlepszych wyników stosować czystą, świeżą (nie starszą niż 30 dni) benzynę bezołowiową o liczbie oktanowej 87 lub wyższej (ustaloną za pomocą metody ((R+M)/2).
Etanol: można stosować benzynę zawierającą do 10% etanolu (gazohol) lub 15% MTBE (eteru tert-butylowo-metylowego). Etanol i MTBE nie są takie same. Nie można stosować benzyny zawierającej 15% objętości etanolu. Nie należy stosować benzyny zawierającej w ponad 10% etanolu, takiej jak E15 (zawiera 15% etanolu), E20 (zawiera 20% etanolu) czy E85 (zawiera do 85% etanolu). Stosowanie niezatwierdzonej benzyny może doprowadzić do problemów z pracą maszyny lub uszkodzić silnik, przy czym uszkodzenia takie mogą nie być objęte gwarancją.
Nie należy stosować benzyny zawierającej metanol.
Nie należy przechowywać paliwa w zbiornikach paliwa ani kanistrach w okresie zimowym bez zastosowania środka stabilizującego paliwo.
Nie należy dodawać oleju do benzyny.
Important: Nie należy stosować dodatków innych niż środki stabilizujące/kondycjonujące paliwo. Nie należy dodawać stabilizatorów paliwa na bazie alkoholu, takich jak etanol, metanol albo izopropanol.
Oczyść obszar wokół korka wlewu paliwa (Rysunek 16).
Odkręć korek zbiornika paliwa.
Napełnij zbiornik do wysokości ok. 25 mm poniżej górnej części zbiornika (podstawy szyjki wlewu). Nie przepełniaj zbiornika.

Zakręcić korek.
Usunąć ewentualne rozlane paliwo, aby nie dopuścić do pożaru.
Important: Nie należy stosować metanolu, benzyny zawierającej metanol ani gazoholu zawierającego ponad 10% etanolu, ponieważ substancje te mogą uszkadzać układ paliwowy. Nie wolno mieszać oleju z benzyną.
| Częstotliwość serwisowania | Procedura konserwacji |
|---|---|
| Przed każdym użyciem lub codziennie |
|
Zbiornik jest fabrycznie napełniony ilością około 18,9 l płynu hydraulicznego wysokiej jakości. Olej hydrauliczny najlepiej sprawdzać, gdy jest zimny. Maszyna powinna znajdować się w konfiguracji transportowej. Jeśli poziom oleju znajduje się poniżej oznaczenia Add (dolej) na wskaźniku poziomu, dolej jego odpowiednią ilość, aby poziom osiągnął połowę dopuszczalnego zakresu. Nie wlewaj nadmiernej ilości paliwa do zbiornika.Nie ma konieczności uzupełniania oleju, jeśli jego poziom zawiera się pomiędzy znaczkami Full i Add. Sprawdzić poziom płynu hydraulicznego po pierwszym uruchomieniu silnika. Następnie sprawdzać go codziennie.
Zalecane oleje zamienne:
| Toro Premium All Season Hydraulic Fluid (dostępny w pojemnikach o pojemności 19 l lub beczkach o pojemności 208 l – zob. dokumentacja części lub skontaktuj się z dystrybutorem handlowym firmy Toro w celu uzyskania numeru części) |
Zalecany płyn hydrauliczny: Toro Premium All Season Hydraulic Fluid
Alternatywne rodzaje oleju: jeśli olej Toro jest niedostępny, można użyć innego tradycyjnego płynu zawierającego środki ropopochodne o odpowiednich właściwościach materiałowych i parametrach przemysłowych. Aby uzyskać więcej informacji na temat zgodności z wymienionymi specyfikacjami, należy skontaktować się z dostawcą oleju.
Note: Firma Toro nie ponosi odpowiedzialności za jakiekolwiek szkody powstałe na skutek wykorzystania niewłaściwych zamienników. Dlatego też należy korzystać wyłącznie z markowych produktów, których prawidłowa praca jest gwarantowana przez producenta.
| Antyzużyciowy płyn hydrauliczny o wysokim wskaźniku lepkości/niskiej temperaturze krzepnięcia, ISO VG 46 Multigrade | |
| Właściwości materiału: | |
| Lepkość ASTM D445 | cSt @ 40 °C 44 do 48cSt @ 100 °C 7,9 do 9,1 |
| Wskaźnik lepkości ASTM D2270 | 140 lub wyższy |
| Temperatura krzepnięcia, ASTM D97 | od -37 °C do -45 °C |
| FZG, etap błędu | 11 lub wyższy |
| Zawartość wody (nowy płyn): | 500 ppm (maks.) |
| Dane techniczne: | |
| Vickers I-286-S, Vickers M-2950-S, Denison HF-0, Vickers 35 VQ 25 (Eaton ATS373-C) | |
Odpowiednie płyny hydrauliczne muszą być określone dla urządzeń mobilnych (przeciwnie do zastosowań wewnątrzzakładowych), typu multiweight, z dodatkiem środków antyzużyciowych ZnDTP lub ZDDP (nie olej typu bezpopiołowego).
Important: Większość olejów hydraulicznych jest niemal bezbarwna, co utrudnia obserwację potencjalnych nieszczelności. Czerwony barwnik do oleju do układu hydraulicznego jest dostępny w butelkach o pojemności 20 ml. Jedna butelka wystarcza na 15 do 22litrów oleju hydraulicznego. Zamów część nr 44-2500 u autoryzowanego dystrybutora Toro.
Syntetyczny, biodegradowalny płyn hydrauliczny
(dostępny w pojemnikach o pojemności 19 l lub beczkach o pojemności 208 l – zob. dokumentacja części lub skontaktuj się z dystrybutorem handlowym firmy Toro w celu uzyskania numeru części)
Ten syntetyczny, biodegradowalny olej wysokiej jakości został przetestowany pod kątem kompatybilności z tą maszyną Toro. Inne marki olejów syntetycznych mogą nie być kompatybilne z uszczelkami, w związku z czym firma Toro nie może ponosić odpowiedzialności za zgodność wszystkich niezatwierdzonych produktów.
Note: Ten olej syntetyczny nie jest kompatybilny z oferowanym wcześniej biodegradowalnym olejem Toro. Więcej informacji można uzyskać u dystrybutora Toro.
Alternatywne rodzaje oleju:
Mobil EAL Envirosyn H klasy ISO 46 (dostępny na terenie USA)
Olej hydrauliczny Mobil EAL klasy ISO 46 (dostępny w pozostałych krajach)
Ustaw maszynę na równej nawierzchni, zatrzymaj silnik, załącz hamulec postojowy i wyciągnij kluczyk zapłonu.
Należy oczyścić miejsce wokół korka wlewu zbiornika płynu hydraulicznego, aby zapobiec przedostawaniu się zanieczyszczeń do jego wnętrza (Rysunek 17).

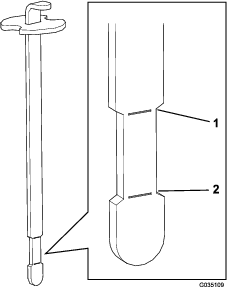
Odkręcić korek ze zbiornika.
Wyciągnij bagnet i przetrzyj go czystą szmatką.
Włóż wskaźnik poziomu w otwór wlewu, wyjmij go i odczytaj poziom oleju.
Note: Poziom płynu hydraulicznego powinien być pomiędzy górnym a dolnym oznaczeniem na wskaźniku (Rysunek 18).

Jeśli poziom płynu jest niski, należy powoli napełnić zbiornik odpowiednim olejem hydraulicznym, aż będzie on sięgać do zwężonego miejsca na wskaźniku poziomu.
Note: Nie wlewaj nadmiernej ilości paliwa do zbiornika.
Założyć korek na zbiornik.
Important: Aby nie dopuścić do zanieczyszczenia układu, należy wyczyścić górną powierzchnię pojemników oleju hydraulicznego przed ich otwarciem. Upewnić się, że końcówka do nalewania oraz lejek są czyste.
| Częstotliwość serwisowania | Procedura konserwacji |
|---|---|
| Przed każdym użyciem lub codziennie |
|
Przed uruchomieniem maszyny sprawdzić ciśnienie w oponach (Rysunek 19). Prawidłowe ciśnienie powietrza w przednich i tylnych oponach powinno być następujące:
Opony bieżnikowane: 0,69 bar
Note: Jeżeli wymagana jest dodatkowa przyczepność do pracy ostrza, należy zmniejszyć ciśnienie do 0,55 bar.
Opony gładkie: Od 0,55 do 0,69 bar

| Częstotliwość serwisowania | Procedura konserwacji |
|---|---|
| Po pierwszych 8 godzinach |
|
| Co 100 godzin |
|
Dokręć nakrętki kół z momentem od 95 do 122 N·m.
Właściciel/operator może zapobiegać wypadkom i jest odpowiedzialny za obrażenia ciała innych osób i uszkodzenia mienia wynikłe wskutek wypadków.
Należy nosić odpowiedni ubiór, w tym ochronę oczu, obuwie zapewniające pełną ochronę stóp z podeszwą antypoślizgową, długie spodnie i ochronniki słuchu. Zwiąż włosy, jeśli są długie, i nie noś luźnej biżuterii.
Nie używaj maszyny będąc chorym, zmęczonym lub pod wpływem alkoholu lub narkotyków.
W żadnym wypadku nie przewoź pasażerów na maszynie ani nie pozwalaj osobom postronnym i zwierzętom przebywać w pobliżu maszyny podczas pracy.
Aby uniknąć dziur lub niewidocznych zagrożeń, korzystaj z urządzenia tylko przy dobrej widoczności.
Unikaj pracy na mokrej trawie. Pogorszona przyczepność może być przyczyną poślizgu.
Przed uruchomieniem silnika upewnij się, że wszystkie napędy są w położeniu neutralnym, hamulec postojowy jest załączony i że siedzisz w fotelu operatora.
Przed cofaniem spójrz do tyłu i w dół, aby upewnić się, że droga jest wolna.
Zachowaj ostrożność przy zbliżaniu się do zakrętów, krzewów, drzew i innych obiektów, które mogą utrudniać widoczność.
Nie pracuj w pobliżu skarp, rowów i nasypów. Nagłe przejechanie kołem przez obrzeże lub obsunięcie się obrzeża mogłoby spowodować wywrócenie się maszyny.
Po uderzeniu w przedmiot lub w razie wystąpienia odbiegających od normy drgań zatrzymaj maszynę i sprawdź osprzęt. Przed kontynuowaniem pracy przeprowadź wszystkie niezbędne naprawy.
Zwolnij i zachowaj ostrożność podczas skręcania i przejeżdżania przez jezdnie i chodniki. Zawsze przestrzegaj zasad pierwszeństwa przejazdu.
Nigdy nie uruchamiaj silnika w pomieszczeniu zamkniętym, bez ujścia spalin.
Nie zostawiaj maszyny bez nadzoru.
Przed opuszczeniem stanowiska operatora:
Zaparkuj maszynę na równym podłożu.
Obniż osprzęt.
Zaciągnij hamulec postojowy.
Wyłącz silnik i wyjmij kluczyk ze stacyjki.
Zaczekaj, aż wszystkie ruchome części zatrzymają się.
Nie używaj maszyny, jeżeli występuje ryzyko wystąpienia wyładowań atmosferycznych.
Nie używaj maszyny do holowania innych pojazdów.
W razie potrzeby, aby zmniejszyć wzbijanie się kurzu, należy przed pracą zwilżyć powierzchnie.
Stosuj wyłącznie akcesoria, osprzęt i części zamienne zatwierdzone przez firmę Toro®.
Wyznacz swoje własne procedury i zasady pracy na zboczach. Muszą one obejmować ocenę nachylenia stoku w celu określenia, na jak pochyłych zboczach da się bezpiecznie pracować. Podczas dokonywania takiej oceny należy kierować się zdrowym rozsądkiem i umiejętnością oceny sytuacji.
Zbocza są głównym czynnikiem powodującym utratę panowania i przewracanie się maszyny, co może skutkować poważnymi obrażeniami ciała lub śmiercią. Operator odpowiada za bezpieczną pracę na zboczach. Użytkowanie maszyny na terenach pochyłych i zboczach wymaga zachowania dodatkowej ostrożności.
Zbocza są głównym czynnikiem powodującym utratę kontroli i przewracanie się maszyny, co może skutkować poważnymi obrażeniami ciała lub śmiercią. Użytkowanie maszyny na terenach pochyłych i zboczach wymaga zachowania dodatkowej ostrożności.
Na zboczach należy pracować z niższą prędkością niż normalnie.
Jeżeli podczas pracy na zboczu czujesz się nieswojo, zaniechaj pracy.
Uważaj na dziury, koleiny, garby, kamienie lub inne ukryte obiekty. Na nierównym terenie istnieje ryzyko przewrócenia się maszyny. Wysoka trawa może zasłaniać przeszkody.
Ustaw niską prędkość jazdy, aby nie musieć zatrzymywać się ani zmieniać biegu, będąc na zboczu.
Maszyna może się stoczyć ze zbocza wcześniej niż nastąpi utrata przyczepności kół.
Należy unikać użytkowania maszyny na mokrej trawie. Utrata przyczepności kół może nastąpić niezależnie od występowania i sprawności hamulców.
Należy unikać ruszania, zatrzymywania i skręcania na pochyłym terenie.
Wszystkie manewry na zboczach wykonuj powoli i stopniowo. Nie dokonuj nagłych zmian prędkości ani kierunku jazdy.
Nie używaj maszyny w pobliżu uskoków, rowów, wałów lub zbiorników wodnych. Nagłe przejechanie kołem przez obrzeże lub zapadnięcie się obrzeża mogłoby spowodować wywrócenie się maszyny. Zachowuj bezpieczną odległość maszyny od wszelkich zagrożeń (2 szerokości maszyny).
Zdejmij stopę z pedału przyspieszenia, upewnij się, że pedał jest w położeniu NEUTRALNYM, po czym załącz hamulec postojowy.
Przesunąć dźwignię ssania do przodu do położenia włączonego ON (podczas uruchamiania zimnego silnika), a następnie przesunąć dźwignię przepustnicy do położenia zamkniętego SLOW.
Important: Przy użytkowaniu maszyny w temperaturach poniżej 0°C przed rozpoczęciem pracy należy pozwolić maszynie na rozgrzanie. Zapobiegnie to uszkodzeniu higrostatu oraz obiegu jezdnego.
Włożyć kluczyk do stacyjki i obrócić w prawo, aby uruchomić silnik. Należy zwolnić kluczyk, gdy silnik uruchomi się.
Note: Wyregulować ssanie, aby silnik pracował równomiernie.
Important: Aby zapobiec przegrzaniu rozrusznika, nie należy uruchamiać go na dłużej niż 10 sekund. Po 10 sekundach ciągłego rozruchu należy odczekać 60 sekund przed ponownym uruchomieniem rozrusznika.
Aby zatrzymać silnik, przesuń dźwignię przepustnicy w położenie WOLNO i przekręć kluczyk w położenie WYłąCZENIA.
Note: Wyjąć kluczyk ze stacyjki, aby zapobiec przypadkowemu uruchomieniu.
Zamknąć zawór odcinający dopływ paliwa przed przechowywaniem maszyny.
Kontrola urządzenia podczas pracy silnika może spowodować obrażenia.
Przed przeprowadzeniem kontroli pod kątem wycieków oleju, poluzowanych części i innych usterek należy wyłączyć silnik i poczekać, aż wszystkie części ruchome zatrzymają się.
Rozłączone lub uszkodzone przełączniki blokad bezpieczeństwa mogą spowodować nieprzewidziane działanie maszyny mogące skutkować obrażeniami ciała.
Nie manipulować przy wyłącznikach blokad.
Należy codziennie sprawdzać działanie wyłączników blokad i przed uruchomieniem maszyny wymieniać wszelkie uszkodzone wyłączniki.
Celem układu blokad jest zapobieganie rozruchowi lub włączeniu silnika w sytuacji, gdy pedał jazdy nie znajduje się w położeniu NEUTRALNYM. Silnik powinien się też zatrzymać, jeśli pedał jazdy jest przesunięty do przodu lub do tyłu, a operator nie siedzi na fotelu.
Umieścić maszynę na otwartym terenie pozbawionym przeszkód i osób postronnych. Wyłącz silnik.
Usiąść na fotelu i zaciągnąć hamulec postojowy.
Naciskać pedał jazdy do przodu i do tyłu, próbując uruchomić silnik.
Note: Jeśli silnik się obraca, możliwe, że wystąpiła awaria układu blokad. Niezwłocznie dokonać naprawy.Jeśli silnik się nie obraca, układ działa prawidłowo.
Pozostań w fotelu; pedał jazdy powinien znajdować się w położeniu NEUTRALNYM, a hamulec postojowy powinien być załączony. Uruchom silnik.
Wstać z siedzenia i powoli nacisnąć pedał jazdy.
Note: Silnik powinien się zatrzymać w ciągu 1 do 3 sekund. Naprawić problem, jeżeli system nie działa prawidłowo.
Osiągnięcie przez silnik pełnej mocy wymaga nieco czasu. Układy napędowe mają większe opory, gdy są nowe, powodując dodatkowe obciążenie silnika.
Pierwsze 8 godzin pracy należy przeznaczyć na docieranie.
Ze względu na to, że pierwsze godziny eksploatacji mają zasadnicze znaczenie dla przyszłej niezawodności urządzenia, należy obserwować dokładnie jego funkcje i sprawność oraz zwracać uwagę na drobne problemy, które mogłyby prowadzić do poważnych trudności. W okresie docierania należy często kontrolować urządzenie pod kątem wycieku oleju, poluzowanych elementów mocujących i innych usterek.
Przed opuszczeniem maszyny zaparkują ją na równej nawierzchni, załącz hamulec postojowy wyłącz silnik, wyjmij kluczyk zapłonu i odczekaj, aż wszystkie części ruchome się zatrzymają.
Usuń trawę i zanieczyszczenia z tłumika i komory silnika, aby zmniejszyć ryzyko powstania pożaru. Pamiętaj, aby usunąć rozlany olej lub paliwo.
Przed przechowywaniem maszyny w jakimkolwiek pomieszczeniu zaczekać, aż silnik ostygnie.
Przed rozpoczęciem magazynowania lub transportowania urządzenia należy odciąć dopływ paliwa.
Nie wolno przechowywać maszyny lub kanistra na paliwo w pobliżu otwartego ognia, iskier lub lamp kontrolnych, takich jak montowane na podgrzewaczu wody lub innych urządzeniach.
Utrzymuj wszystkie części maszyny w nienagannym stanie, a wszystkie elementy montażowe dobrze dokręcone.
Należy wymieniać/uzupełniać wszystkie zużyte, uszkodzone oraz brakujące naklejki.
W przypadku sytuacji awaryjnej maszynę można holować na krótkich odległościach. Nie zalecamy jednak holowania jako standardowego działania.
Important: Nie należy holować maszyny szybciej niż z prędkością 1,6 km/h, gdyż mogłoby to spowodować uszkodzenie układu napędowego. Pojazd wymagający przemieszczenia na odległość większą niż 50 metrów należy transportować na ciężarówce lub przyczepie. Opony mogą się zablokować, jeśli maszyna holowana jest zbyt szybko. Jeśli tak się stanie, należy zaprzestać holowania maszyny i poczekać, aż ciśnienie w obiegu jezdnym unormuje się, a następnie wznowić holowanie przy niższej prędkości.
Do załadunku maszyny na przyczepę i zdejmowania jej z przyczepy używaj jednoczęściowych podestów o pełnej szerokości.
Zamocuj maszynę w pewny sposób.
Instrukcja obsługi zawiera szczegółowe informacje dotyczące obsługi osprzętu.
Należy przećwiczyć jazdę maszyną, ze względu na fakt, że charakterystyka jej pracy jest inna niż w przypadku niektórych pojazdów użytkowych. Podczas obsługi pojazdu należy wziąć pod uwagę dwie kwestie: prędkość silnika i przełożenie.
Aby utrzymać stałe obroty silnika, należy wolno nacisnąć pedał jazdy. Pozwoli to silnikowi na dostosowanie się do prędkości jazdy pojazdu. Szybkie naciśnięcie pedału jazdy spowoduje natomiast spadek obrotów silnika na minutę, w wyniku czego moment obrotowy będzie niewystarczający do umożliwienia jazdy. Dlatego też, aby przenieść maksymalną moc na koła, należy przesunąć przepustnicę w położenia szybkie FAST i lekko nacisnąć pedał jazdy. Maksymalną prędkość jazdy bez obciążenia można natomiast osiągnąć, przesuwając przepustnicę w położenia szybkie FAST i wolno lecz do końca dociskając pedał jazdy. Podsumowując, należy zawsze utrzymywać wystarczająco wysokie obroty silnika, aby przenieść na koła maksymalną moc momentu obrotowego.
Obsługiwanie maszyny wymaga zachowania ostrożności, aby uniknąć wywrócenia się maszyny lub utraty nad nią kontroli.
Zachować ostrożność podczas wjeżdżania na bunkry i zjeżdżania z nich.
Zachować najwyższą ostrożność w pobliżu rowów, strumyków lub innych niebezpiecznych obiektów.
Podczas jazdy maszyną po stromym terenie pochyłym należy zachować ostrożność.
Podczas wykonywania ostrych skrętów oraz podczas skręcania na pochyłościach należy ograniczyć prędkość.
Należy unikać nagłego zatrzymywania się i ruszania.
W przypadku zmiany kierunku jazdy z jazdy do tyłu na jazdę do przodu należy najpierw całkowicie się zatrzymać, a dopiero potem ruszyć do przodu.
Note: Jeśli adapter osprzętu zablokuje się z adapterem jednostki jezdnej, należy wsunąć łom lub śrubokręt w odpowiedni otwór, aby rozłączyć te części (Rysunek 20).

Note: Należy ustalić lewą i prawą stronę maszyny ze standardowego stanowiska operatora.
W przypadku pozostawienia kluczyka w stacyjce przypadkowa osoba może uruchomić silnik i spowodować poważne obrażenia ciała operatora lub osób postronnych.
Przed rozpoczęciem konserwacji maszyny należy wyjąć kluczyk ze stacyjki.
| Częstotliwość serwisowania | Procedura konserwacji |
|---|---|
| Po pierwszych 8 godzinach |
|
| Po pierwszych 20 godzinach |
|
| Przed każdym użyciem lub codziennie |
|
| Co 25 godzin |
|
| Co 100 godzin |
|
| Co 200 godzin |
|
| Co 400 godzin |
|
| Co 800 godzin |
|
| Co 1500 godzin |
|
Important: Dodatkowe procedury konserwacyjne zostały podane w instrukcji obsługi silnika.
Note: Aby uzyskać schemat elektryczny lub hydrauliczny maszyny, odwiedź witrynę www.Toro.com.
Należy powielić tę stronę do regularnego wykorzystywania.
| Element sprawdzany w ramach konserwacji | Na tydzień: | ||||||
|---|---|---|---|---|---|---|---|
| Pn. | Wt. | Śr. | Czw. | Pt. | Sb. | Nd. | |
| Sprawdzić działanie blokady bezpieczeństwa. | |||||||
| Sprawdzić działanie układu kierowniczego. | |||||||
| Sprawdź poziom paliwa. | |||||||
| Sprawdzić poziom oleju silnikowego. | |||||||
| Sprawdzić stan filtra powietrza. | |||||||
| Oczyścić żeberka chłodzące silnika. | |||||||
| Sprawdzić nietypowe odgłosy silnika. | |||||||
| Sprawdź nietypowe odgłosy pracy maszyny. | |||||||
| Sprawdź poziom płynu hydraulicznego. | |||||||
| Sprawdź, czy węże hydrauliczne nie noszą śladów uszkodzeń. | |||||||
| Sprawdzić, czy nie wyciekają żadne płyny. | |||||||
| Sprawdź ciśnienie w oponach. | |||||||
| Sprawdzić działanie oprzyrządowania. | |||||||
| Uzupełnić ubytki lakieru. | |||||||
| Notatki dotyczące problemów | ||
| Kontrola przeprowadzona przez: | ||
| Pozycja | Data | Informacje |
Important: Elementy mocujące na pokrywach niniejszej maszyny zaprojektowano tak, aby pozostały na miejscu po zdjęciu pokryw. Należy poluzować wszystkie elementy mocujące na każdej pokrywie, nie odkręcając ich całkowicie, a następnie odkręcić całkowicie wszystkie elementy mocujące do momentu, aż będzie można zdjąć pokrywę. Zapobiega to przypadkowemu zwolnieniu śrub z elementów ustalających.
Przed przystąpieniem do regulacji, czyszczenia, naprawy oraz przed opuszczeniem maszyny wykonaj następujące czynności:
Zaparkuj maszynę na równej powierzchni.
Ustaw dźwignię przepustnicy w położeniu niskie obroty/bieg jałowy.
Obniż osprzęt.
Upewnij się, że dźwignia jazdy jest w pozycji neutralnej.
Zaciągnij hamulec postojowy.
Wyłącz silnik i wyjmij kluczyk ze stacyjki.
Zaczekaj, aż wszystkie ruchome części zatrzymają się.
Przed wykonaniem czynności konserwacyjnych poczekaj, aż maszyna ostygnie.
W miarę możliwości nie wykonuj czynności serwisowych przy włączonym silniku. Nie zbliżaj się do ruchomych części.
W razie potrzeby do podparcia maszyny lub jej elementów użyj podpórek.
Ostrożnie uwalniać ciśnienie z układów ze zmagazynowaną energią.
Podnośniki mechaniczne lub hydrauliczne mogą nie utrzymać maszyny i mogą spowodować poważne obrażenia.
Do podparcia maszyny należy użyć podpór.
Punkty podnoszenia są następujące:
Maszyna wyposażona jest w smarowniczki, przez które należy regularnie co każde 100 godzin pracy wtłaczać smar nr 2 na bazie litu.
Należy nasmarować następujące łożyska i tuleje:
Łożysko przedniego koła (1) (Rysunek 23)

Oś pedału jazdy (1) (Rysunek 24)

Tylny zaczep (5) (Rysunek 25)

Strona tłoczyska siłownika kierowniczego (1) – tylko model 08705 (Rysunek 26)

Element obrotowy układu kierowniczego (Rysunek 27)
Note: Złączka na elemencie obrotowym układu kierowniczego (Rysunek 27) wymaga łącznika z dyszą smarownicy. Należy zamówić część Toro nr 107-1998 u autoryzowanego dystrybutora Toro.

| Częstotliwość serwisowania | Procedura konserwacji |
|---|---|
| Co 100 godzin |
|
Wytrzeć smarowniczkę do czysta, tak aby do łożyska ani tulei nie dostały się ciała obce.
Wpompować smar do łożyska lub tulei.
Usuń nadmiar smaru.
Przed sprawdzeniem poziomu oleju lub dolaniem oleju do skrzyni korbowej wyłącz silnik.
Nie zmieniaj ustawień regulatora silnika ani nie ustawiaj nadmiernej prędkości obrotowej.
| Częstotliwość serwisowania | Procedura konserwacji |
|---|---|
| Po pierwszych 20 godzinach |
|
| Co 100 godzin |
|
Ustaw maszynę na równej nawierzchni, zatrzymaj silnik, załącz hamulec postojowy i wyciągnij kluczyk zapłonu.
Odkręć korek spustowy (Rysunek 28) i poczekaj, aż olej ścieknie do naczynia do spuszczania oleju. Gdy olej przestanie spływać, założyć korek spustowy.

Wyjmij filtr oleju (Rysunek 28).
Nałożyć cienką warstwę czystego oleju na uszczelkę nowego filtra.
Dokręcić filtr ręką, aż uszczelka zetknie się z adapterem filtra, a następnie dokręcić o 1/2 do 3/4 obrotu.
Important: Nie dokręcaj filtra zbyt mocno.
Dolej olej do skrzyni korbowej; patrz rozdział Sprawdzanie poziomu oleju w silniku.
Usuwaj zużyty olej zgodnie z przepisami.
| Częstotliwość serwisowania | Procedura konserwacji |
|---|---|
| Co 200 godzin |
|
Sprawdzić, czy korpus filtra nie ma uszkodzeń, które mogłyby doprowadzić do zasysania bocznego powietrza. Wymienić wszystkie uszkodzone elementy. Przejrzyj cały układ dolotowy powietrza pod kątem nieszczelności, uszkodzeń, obluzowanych obejm przewodów.
Nie należy wymieniać filtra powietrza, zanim jest to konieczne; może to jedynie zwiększyć ryzyko wprowadzenia zanieczyszczeń do silnika, w czasie gdy filtr jest usunięty.
Upewnić się, że pokrywa jest prawidłowo osadzona i szczelnie przylega do obudowy filtra powietrza.
| Częstotliwość serwisowania | Procedura konserwacji |
|---|---|
| Co 200 godzin |
|
Zwolnić zaczepy mocujące pokrywę filtra powietrza do obudowy filtra powietrza (Rysunek 29).

Zdjąć pokrywę z obudowy filtra powietrza.
Przed usunięciem filtra zastosuj powietrze o niskim ciśnieniu (2,76 bar, czyste i suche), aby ułatwić oczyszczenie nagromadzonych pozostałości znajdujących się między zewnętrzną częścią wkładu głównego a obudową.
Important: Należy unikać stosowania wysokiego ciśnienia powietrza, które może wepchnąć zanieczyszczenia przez filtr do przewodu dolotowego. Proces czyszczenia zapobiega przemieszczaniu się zabrudzeń do układu dolotowego przy zdjętym filtrze głównym.
Zdemontować i wymienić filtr.
Note: Sprawdzić uszczelnienie i korpus nowego filtra pod kątem uszkodzeń transportowych. Nie używać uszkodzonego wkładu filtra. Zamontować nowy filtr, dociskając go do zewnętrznej krawędzi wkładu, aby umocować filtr w zbiorniku. Nie naciskać elastycznego środka filtra.
Note: Nie zaleca się czyszczenia używanych części ze względu na możliwość uszkodzenia czynników filtrujących.
Oczyść otwór usuwania zanieczyszczeń znajdujący się w zdejmowanej pokrywie.
Wyjmij gumowy zawór wylotowy z pokrywy, oczyść wnętrze i wymień zawór wylotowy.
Zamocować pokrywę z gumowym zaworem wylotowym skierowanym w dół – w położeniu pomiędzy godziną 5 a 7, patrząc od końca.
Zamocować zaczepy.
| Częstotliwość serwisowania | Procedura konserwacji |
|---|---|
| Co 800 godzin |
|
Typ: Champion RC14YC (lub zamiennik)
Szczelina powietrza: 0,76 mm
Note: Świeca zapłonowa zazwyczaj pozostaje sprawna przez długi czas, należy ją jednak wyjmować i sprawdzać za każdym razem, gdy silnik pracuje nieprawidłowo.
Oczyścić miejsce wokół każdej świecy zapłonowej, tak aby po jej wyjęciu do cylindra nie dostały się ciała obce.
Wyciągnąć przewody świec zapłonowych ze świec zapłonowych i wyjąć świece z głowicy cylindra.
Sprawdzić stan elektrody bocznej, elektrody środkowej oraz izolatora pod kątem uszkodzeń.
Important: Pękniętą, zabrudzoną lub wadliwą z innego powodu świecę zapłonową należy wymienić. Nie piaskować, nie drapać ani nie czyścić elektrod szczotką drucianą, ponieważ powstałe odpryski mogą przedostać się do cylindra. Skutkuje to zazwyczaj uszkodzeniem silnika.
Szczelina powietrza pomiędzy elektrodą środkową i elektrodami bocznymi powinna wynosić 0,76 mm; zobacz Rysunek 30. Po ustawieniu prawidłowej szerokości szczeliny wkręć świecę z uszczelką i dokręć ją z momentem 23 N∙m. Jeśli nie korzysta się z klucza dynamometrycznego, należy ciasno dokręcić świecę.

| Częstotliwość serwisowania | Procedura konserwacji |
|---|---|
| Co 800 godzin |
|
Filtr paliwa wbudowany jest w przewód paliwowy. Jeśli konieczna jest wymiana, należy postępować zgodnie z poniższą procedurą:
Zamknąć zawór odcinający dopływ paliwa, poluzować zacisk przewodu po stronie gaźnika względem filtra, a następnie wyjąć przewód paliwowy z filtra (Rysunek 31).

Umieścić miskę drenażową pod filtrem, poluzować drugi zacisk przewodu i wyjąć filtr.
Zamocować nowy filtr ze strzałką na filtrze skierowaną w stronę przeciwną do zbiornik paliwa (w stronę gaźnika).
Wsunąć zaciski przewodu na końce przewodów paliwowych.
Wsunąć przewody paliwowe do filtra paliwa i zamocować zaciskami przewodu.
Note: Upewnić się, że strzałka na boku filtra skierowana jest w stronę gaźnika.
Przed przystąpieniem do naprawiania maszyny odłącz akumulator. W pierwszej kolejności odłączyć zacisk ujemny, a następnie dodatni. W pierwszej kolejności podłącz zacisk dodatni, a następnie ujemny.
Ładuj akumulator na otwartym, dobrze wentylowanym obszarze, z dala od źródeł iskier i ognia. Należy odłączać ładowarkę od zasilania przed podłączeniem lub odłączeniem od akumulatora. Należy nosić odzież ochronną i używaj narzędzi izolowanych.
Jeśli konieczne jest uruchomienie maszyny z obcego źródła, zamiast bieguna dodatniego akumulatora można wykorzystać alternatywny biegun dodatni (umieszczony na elektrozaworze rozrusznika) (Rysunek 32).

Blok bezpieczników (Rysunek 33) umieszczony jest pod fotelem.

| Częstotliwość serwisowania | Procedura konserwacji |
|---|---|
| Co 25 godzin |
|
Utrzymuj właściwy poziom elektrolitu w akumulatorze i górną część akumulatora w czystości. W urządzeniu przechowywanym w wysokich temperaturach akumulator rozładuje się szybciej niż w urządzeniu przechowywanym w miejscu o umiarkowanej temperaturze.
Utrzymywać górę akumulatora w czystości, okresowo przemywając ją pędzlem zmoczonym w wodnym roztworze amoniaku lub sody oczyszczonej. Po czyszczeniu górną powierzchnię należy przepłukać wodą. Podczas czyszczenia nie należy zdejmować korka wlewu.
Klemy przewodów akumulatora muszą być mocno osadzone na zaciskach, aby zapewnić dobry styk elektryczny.
Jeżeli zaciski akumulatora są skorodowane, należy odłączyć przewody — w pierwszej kolejności przewód ujemny (-) — i zeskrobać rdzę osobno z zacisków i biegunów. Podłącz kable z powrotem (wpierw czerwony dodatni) i pokryj bieguny oraz klemy warstwą wazeliny.
Sprawdzać poziom elektrolitu co 25 godzin pracy lub, jeśli maszyna jest przechowywana przez dłuższy okres, co 30 dni.
Utrzymać odpowiedni poziom w ogniwach, korzystając z wody destylowanej lub demineralizowanej. Nie napełniać ogniw powyżej linii napełnienia.
Gdyby kosiarka poruszała się, gdy pedał jazdy znajduje się w pozycji neutralnej, wyreguluj mimośród trakcji.
Ustaw maszynę na równej nawierzchni, zatrzymaj silnik, załącz hamulec postojowy i wyciągnij kluczyk zapłonu.
Poluzować dwie śruby mocujące centralną osłonę do maszyny i zdjąć osłonę (Rysunek 34).

Podnieść przednie koło oraz jedno tylne koło w górę i umieścić pod ramą bloki wsporcze.
Przednie koło oraz jedno tylne koło muszą być uniesione; inaczej maszyna ruszy w trakcie regulacji. Mogłoby to spowodować przewrócenie się maszyny, powodując obrażenia osoby znajdującej się pod nią.
Należy upewnić się, że maszyna jest odpowiednio podparta, gdy przednie koło oraz 1 tylne koło są uniesione.
Poluzować przeciwnakrętkę na krzywce regulacji jazdy (Rysunek 35).

Aby można było dokonać ostatecznej regulacji krzywki regulacji jazdy, silnik musi być włączony. Dotykanie części ruchomych lub gorących powierzchni może powodować obrażenia ciała.
Nie należy zbliżać dłoni, stóp, twarzy ani żadnych innych części ciała do obracających się części, tłumika ani innych gorących powierzchni.
Uruchomić silnik i obrócić sześciokątną krzywkę (Rysunek 35) w obu kierunkach, aby ustalić środkowe położenie neutralnego zakresu.
Dokręć przeciwnakrętkę ustalającą ustawienie.
Wyłącz silnik.
Zamontować centralną osłonę.
Usunąć podpory podnośnikowe i obniżyć maszynę do poziomu podłoża.
Przeprowadź jazdę testową, by upewnić się, że maszyna nie jedzie, gdy pedał jazdy znajduje się w położeniu neutralnym.
Regulować przekładnię w położeniu neutralnym; zob. Regulacja napędu jezdnego w położeniu neutralnym.
Aktywować dźwignię pompy, upewniając się, że wszystkie części działają bez oporów i są właściwie osadzone.
Regulować śrubę, aż szczelina powietrza będzie wynosić od 0,8 do 2,3 mm; zob. Rysunek 35.
Sprawdzić pod kątem prawidłowego działania.
Pedał jazdy regulowany jest fabrycznie na maksymalną prędkość jazdy oraz jazdę do tyłu, konieczna może jednak być regulacja, jeśli pedał można maksymalnie docisnąć, zanim dźwignia pompy osiągnie pełen skok, lub jeśli wymagane jest obniżenie prędkości jazdy.
Aby uzyskać maksymalną prędkość jazdy, należy nacisnąć pedał jazdy. Jeśli pedał styka się z ogranicznikiem (Rysunek 36), zanim dźwignia pompy osiągnie pełen skok, należy to wyregulować:

Ustaw maszynę na równej nawierzchni, zatrzymaj silnik, załącz hamulec postojowy i wyciągnij kluczyk zapłonu.
Poluzować nakrętkę mocującą ogranicznik pedału.
Dokręcić ogranicznik pedału do momentu, gdy nie będzie się stykał z pedałem jazdy.
Nadal lekko naciskać na pedał jazdy i wyregulować ogranicznik pedału tak, aby tylko się stykały lub aby pomiędzy mocowaniem pedału a ogranicznikiem pozostawała przerwa wielkości 2,5 mm.
Dokręcić nakrętki.
Ustaw maszynę na równej nawierzchni, zatrzymaj silnik, załącz hamulec postojowy i wyciągnij kluczyk zapłonu.
Poluzować nakrętkę mocującą ogranicznik pedału.
Dociskać ogranicznik pedału do momentu uzyskania pożądanej prędkości jazdy.
Dokręcić nakrętkę mocującą ogranicznik pedału.
Należy wyregulować płytkę zapadki dźwigni podnośnika (Rysunek 38), jeżeli osprzęt nie unosi się odpowiednio (zgodnie z ukształtowaniem terenu) w trakcie pracy.
Ustaw maszynę na równej nawierzchni, zatrzymaj silnik, załącz hamulec postojowy i zablokuj koła.
Odkręcić (4) śruby mocujące panel sterowania do ramy (Rysunek 37).

Stopniowo poluzować 2 śruby mocujące płytkę zapadki do zderzaka i ramy.

Aby można było dokonać ostatecznej regulacji płytki zapadki, silnik musi być włączony. Dotykanie części ruchomych lub gorących powierzchni może powodować obrażenia ciała.
Nie należy zbliżać dłoni, stóp, twarzy ani żadnych innych części ciała do obracających się części, tłumika ani innych gorących powierzchni.
Uruchomić silnik.
Przy włączonym silniku i dźwigni podnośnika w położeniu SWOBODNYM przesuń płytkę zapadki, aż podnośnik będzie można przesuwać i cofać ręcznie.
Dokręcić obie śruby mocujące płytkę zapadki w celu ustawienia regulacji.
Właściwe działanie przepustnicy zależy od właściwej regulacji elementu sterującego przepustnicą. Przed wyregulowaniem gaźnika należy upewnić się, że element sterujący przepustnicą działa prawidłowo.
Podnieść fotel.
Poluzować śrubę zaciskową linki przepustnicy mocującą linkę do silnika (Rysunek 39).

Przesuń zdalną dźwignię sterowania przepustnicy do przodu do położenia SZYBKIEGO.
Mocno pociągnąć linkę przepustnicy, aż połączenie obrotowe zetknie się z ogranicznikiem (Rysunek 39).
Dokręcić śrubę zaciskową linki i sprawdzić obroty silnika:
Wysokie obroty biegu jałowego: od 3350 do 3450 obr./min.
Niskie obroty biegu jałowego: od 1650 do 1850 obr./min.
Podnieść fotel.
Poluzować śrubę zaciskową linki zasysacza mocującą linkę do silnika (Rysunek 39).
Przesuń zdalną dźwignię sterowania ssania do przodu do położenia ZAMKNIęTEGO.
Mocno pociągnąć linkę ssania (Rysunek 39), aż zawór motylkowy ssania zostanie całkowicie zamknięty, a następnie dokręcić śrubę zaciskową linki.
Important: Przed wyregulowaniem elementu sterującego prędkością regulatora silnika należy odpowiednio wyregulować elementy sterujące przepustnicą i ssaniem.
W trakcie regulacji elementu sterującego prędkością regulatora silnika silnik musi być włączony. Dotykanie części ruchomych lub gorących powierzchni może powodować obrażenia ciała.
Przed wykonaniem tej czynności należy upewnić się, że pedał jazdy znajduje się w położeniu neutralnym i zaciągnąć hamulec postojowy.
Nie wolno zbliżać dłoni, stóp, odzieży ani żadnych innych części ciała do jakichkolwiek obracających się części, tłumika ani innych gorących powierzchni.
Note: Aby wyregulować niskie obroty biegu jałowego, należy postępować zgodnie ze wszystkimi poniższymi wskazówkami. Jeśli konieczna jest regulacja tylko wysokich obrotów biegu jałowego, należy przejść od razu do punktu 5.
Uruchomić silnik i pozwolić mu pracować przy półotwartej przepustnicy przez około pięć minut, aby się rozgrzał.
Przesuń element sterujący przepustnicy do położenia WOLNEGO. Wyregulować śrubę blokującą bieg jałowy w kierunku przeciwnym do kierunku ruchu wskazówek zegara, aż nie będzie się stykać z dźwignią przepustnicy.
Wygnij trzpień kotwowy sprężyny regulacji obrotów biegu jałowego (Rysunek 40), aby uzyskać obroty biegu jałowego w zakresie od 1675 do 1175 obr./min.
Note: Sprawdzić prędkość, korzystając z tachometru.

Dopasować śrubę blokującą bieg jałowy, aż obroty biegu jałowego wzrosną o 25 do 50 obr/min w stosunku do obrotów biegu jałowego podanych w punkcie 3.
Note: Po zakończeniu regulacji obroty biegu jałowego muszą wynosić od 1650 do 1850 obr./min.
Przesuń dźwignię przepustnicy do położenia SZYBKIEGO.
Wygnij trzpień kotwowy sprężyny wysokich obrotów biegu jałowego (Rysunek 40), aby uzyskać obroty biegu jałowego w zakresie od 3350 do 3450 obr./min.
Jeżeli płyn dostanie się do skóry, należy niezwłocznie skonsultować się z lekarzem. Płyn, który dostał się do skóry, musi zostać usunięty chirurgicznie w ciągu kilku godzin przez lekarza.
Przed podaniem ciśnienia na układ hydrauliczny upewnij się, że wszystkie jego przewody i węże są w dobrym stanie, a połączenia/złączki — szczelne.
Trzymaj ciało i ręce z dala od wycieków z otworów sworzni lub dysz, które wyrzucają płyn hydrauliczny pod dużym ciśnieniem.
Wycieki płynu hydraulicznego można zlokalizować za pomocą kartonu lub papieru.
Przed wykonaniem jakichkolwiek czynności przy tym układzie należy dokonać w sposób bezpieczny całkowitej dekompresji w układzie hydraulicznym.
| Częstotliwość serwisowania | Procedura konserwacji |
|---|---|
| Po pierwszych 8 godzinach |
|
| Co 400 godzin |
|
Podczas wymiany należy użyć oryginalnego filtra Toro.
Ustaw maszynę na równej nawierzchni, zatrzymaj silnik, załącz hamulec postojowy i wyciągnij kluczyk zapłonu.
Poluzować dwie śruby mocujące centralną osłonę do maszyny i zdjąć osłonę (Rysunek 41).

Umieścić miskę drenażową pod filtrem systemu hydraulicznego znajdującym się po lewej stronie maszyny (Rysunek 42).

Oczyścić powierzchnię wokół miejsca montażu filtra. Umieścić miskę drenażową pod filtrem. Powoli poluzować filtr, nie zdejmować go jednak do momentu, gdy olej przepłynie przez uszczelkę i ścieknie po ściance filtra.
Note: Jeśli maszyna wyposażona jest w zdalny zestaw hydrauliczny, od pompy można odłączyć przewód ssący, aby spuścić płyn hydrauliczny.
Gdy ilość wypływającego płynu się zmniejszy, zdjąć filtr.
Nasmarować uszczelkę nowego filtra płynem hydraulicznym i dokręcić ją ręką, aż zetknie się z głowicą filtra. Następnie dokręć o 3/4 obrotu.
Note: Filtr powinien zostać uszczelniony.
Wypełnić zbiornik hydrauliczny płynem hydraulicznym do poziomu zwężonego miejsca na bagnecie. Nie wlewaj nadmiernej ilości płynu do zbiornika. Patrz Sprawdzenie poziomu płynu hydraulicznego..
Uruchomić silnik i pozostawić włączony. Poruszać podnośnikiem, aż będzie przesuwał się do przodu i do tyłu, a wraz z nim koła (do przodu i do tyłu).
Wyłącz silnik i sprawdź poziom oleju w zbiorniku; w razie konieczności dolej oleju.
Sprawdzić wszystkie połączenia pod kątem wycieków.
Zamontować centralną osłonę.
Usuwaj zużyty olej zgodnie z przepisami.
| Częstotliwość serwisowania | Procedura konserwacji |
|---|---|
| Przed każdym użyciem lub codziennie |
|
Należy codziennie sprawdzać przewody i węże hydrauliczne pod kątem wycieków, skręceń, poluzowanych elementów montażowych, zużycia, poluzowanych złączek, pogorszenia stanu spowodowanego przez warunki pogodowe oraz pogorszenia stanu spowodowanego przez substancje chemiczne. Przed ponownym uruchomieniem wykonać wszystkie niezbędne czynności naprawcze.
Podczas każdej naprawy lub wymiany podzespołu układu hydraulicznego konieczna jest wymiana filtra systemu hydraulicznego oraz napełnianie układu hydraulicznego.
Przy każdym napełnianiu układu hydraulicznego upewnij się, że zbiornik hydrauliczny oraz filtr są wypełnione olejem.
Ustaw maszynę na równej nawierzchni, zatrzymaj silnik, załącz hamulec postojowy i wyciągnij kluczyk zapłonu.
Poluzować dwie śruby mocujące centralną osłonę do maszyny i zdjąć osłonę (Rysunek 43).

Podnieść przednie koło oraz jedno tylne koło i umieścić pod ramą bloki wsporcze.
Przednie koło oraz jedno tylne koło muszą być uniesione; inaczej maszyna ruszy w trakcie regulacji. Mogłoby to spowodować przewrócenie się maszyny, powodując obrażenia osoby znajdującej się pod nią.
Należy upewnić się, że maszyna jest odpowiednio podparta, gdy przednie koło oraz 1 tylne koło są uniesione.
Uruchom silnik i ustaw przepustnicę tak, aby silnik mógł pracować z prędkością około 1800 obr./min.
Aktywować dźwignią zaworu podnoszącego, aż tłoczysko siłownika kilkakrotnie wsunie się do środka i wysunie na zewnątrz. Jeśli tłoczysko siłownika nie poruszy się po 10-15 sekundach lub jeśli pompa wydaje nietypowe odgłosy, natychmiast wyłączyć silnik i ustalić przyczynę bądź problem. Sprawdzić pod kątem:
poluzowanego filtra lub przewodów ssących;
poluzowanego lub wadliwego złącza pompy;
zablokowanego przewodu ssącego;
wadliwego zaworu nadmiarowego;
wadliwej pompy napełniania.
Jeśli siłownik poruszy się w ciągu 10-15 sekund, przejść do punktu 6.
Nacisnąć pedał jazdy do przodu i do tyłu. Koła niedotykające podłoża powinny obracać się we właściwym kierunku.
Jeśli koła obracają się w niewłaściwym kierunku, wyłącz silnik, odłącz przewody z tyłu pompy i podłącz je odwrotnie.
Jeśli koła obracają się we właściwym kierunku, wyłącz silnik i wyreguluj nakrętkę zabezpieczającą sworznia regulacyjnego sprężyny (Rysunek 44). Wyregulować położenie neutralne jazdy; zob. Regulacja napędu jezdnego w położeniu neutralnym.

Sprawdzić regulację wyłącznika blokady jazdy; zob. Regulacja wyłącznika blokady jazdy.
Zamontować centralną osłonę.
| Częstotliwość serwisowania | Procedura konserwacji |
|---|---|
| Przed każdym użyciem lub codziennie |
|
Po zakończeniu pracy należy starannie umyć maszynę wężem ogrodowym bez dyszy, tak aby zbyt wysokie ciśnienie wody nie spowodowało zanieczyszczeń ani nie uszkodziło uszczelek lub łożysk.
Należy się upewnić, że żebra chłodzące oraz miejsce wokół wlotu powietrza chłodzącego są wolne od zanieczyszczeń.
Important: Czyszczenie chłodnicy oleju wodą może przyczynić się do przedwczesnej korozji, uszkodzenia komponentów oraz sklejania się zanieczyszczeń; zob. Czyszczenie chłodnicy oleju.
Po oczyszczeniu maszyny należy sprawdzić, czy nie występują wycieki oleju hydraulicznego oraz czy nie występuje uszkodzenie lub zużycie podzespołów hydraulicznych i mechanicznych.
Dokładnie oczyścić maszynę, osprzęt oraz silnik.
Sprawdź ciśnienie w oponach.
Sprawdzić, czy nie poluzował się jakikolwiek element mocujący; w razie konieczności zamocować go.
Nasmarować smarem lub olejem wszystkie smarowniczki i punkty obrotu. Zetrzeć nadmiar smaru lub oleju.
Polakierowane części, na których znajdują się zadrapania, pęknięcia lub rdza, delikatnie przetrzeć papierem ściernym i uzupełnić ubytki lakieru.
Konserwację akumulatora i przewodów przeprowadza się w następujący sposób:
Odłączyć zaciski akumulatora od jego biegunów.
Oczyścić akumulator, klemy i bieguny za pomocą drucianej szczotki i roztworu sody oczyszczonej.
Aby zabezpieczyć zaciski kablowe i bieguny akumulatora przed korozją, pokryj je smarem powlekającym Grafo 112X (nr kat. Toro 505-47) lub wazeliną techniczną.
Powoli ładować akumulator przez 24 godziny co 60 dni, aby zapobiec zasiarczaniu ołowiu w akumulatorze.
Note: Ciężar właściwy elektrolitu w pełni naładowanego akumulatora wynosi 1,250.
Note: Akumulator należy przechowywać w chłodnym miejscu, aby zapobiec jego szybkiemu rozładowywaniu. Aby zapobiec zamarzaniu akumulatora, należy upewnić się, że jest on w pełni naładowany.
Wymienić olej silnikowy i filtr. Patrz Wymiana oleju silnikowego i filtra.
Uruchomić silnik i pozostawić go w trybie pracy na biegu jałowym przez dwie minuty.
Dokładnie oczyścić zespół filtra powietrza i przeprowadzić jego konserwację. Patrz Serwisowanie filtra powietrza.
Zakleić wlot powietrza i wylot układu wydechowego taśmą odporną na warunki atmosferyczne.
Sprawdzić korek filtra oleju oraz korek wlewu paliwa, aby upewnić się, że są dokładnie dokręcone.