| Intervalo de assistência | Procedimento de manutenção |
|---|---|
| Após as pimeiras 20 horas |
|
| Em todas as utilizações ou diariamente |
|
Esta máquina é um equipamento utilitário destinado a ser utilizado por operadores profissionais contratados em aplicações comerciais. Foi principalmente concebido para lidar com bancos de areia em campos de golfe e instalações comerciais bem tratados.
Important: Para maximizar a segurança, desempenho e devido funcionamento desta máquina, leia atentamente e compreenda totalmente o conteúdo deste Manual de utilizador. Não seguir estas instruções de utilização ou não receber a devida formação pode dar origem a ferimentos. Para mais informações sobre práticas de operação seguras, incluindo sugestões de segurança e materiais de segurança, vá a www.Toro.com.
Contacte diretamente a Toro através do site www.Toro.com para mais informação sobre produtos e acessórios, para obter o contacto de um distribuidor ou registar o seu produto.
Sempre que necessitar de assistência, peças genuínas Toro ou informações adicionais, entre em contacto com um serviço de assistência autorizado ou com o serviço de assistência Toro, indicando os números de modelo e de série do produto. Figura 1 identifica a localização dos números de série e de modelo do produto. Escreva os números no espaço fornecido.
Important: Com o seu dispositivo móvel, pode ler o código QR (se equipado) no autocolante do número de série para aceder às informações de garantia, peças e outras.

O símbolo de alerta de segurança (Figura 2) mostrado neste manual e na máquina identifica mensagens de segurança importantes que têm de ser seguidas para evitar acidentes.

O símbolo de alerta de segurança aparece acima de informações que o alertam para operações ou situações perigosas e é seguido da palavra DANGER (PERIGO), WARNING (AVISO), ou CAUTION (CUIDADO).
DANGER indica uma situação de risco iminente que, se não for evitada, irá resultar em morte ou ferimento grave.
WARNING indica uma situação de risco potencial que, se não for evitada, pode resultar em morte ou ferimento grave.
CAUTION indica uma situação de risco potencial que, se não for evitada, poderá resultar em ferimento leve ou moderado.
Neste manual são ainda utilizados dois termos para identificar informações importantes. Importante chama a atenção para informações mecânicas especiais e Nota enfatiza informações gerais dignas de atenção especial.
Este produto cumpre todas as diretivas europeias relevantes. Para mais informações, consultar a folha de Declaração de conformidade (DOC) em separado, específica do produto.
Utilizar ou operar o motor em qualquer terreno com floresta, arbustos ou relva é uma violação da secção 4442 ou 4443 do código de recursos públicos da Califórnia exceto se o motor estiver equipado com uma proteção contra chamas, como definido na secção 4442, mantido em boas condições ou o motor for construído equipado e mantido para a prevenção de fogo.
O Manual do proprietário do motor é fornecido para informações acerca do sistema de emissões, manutenção e garantia da US Environmental Protection Agency (EPA) e regulamento de controlo de emissões da Califórnia. A substituição pode ser solicitada através do fabricante do motor.
CALIFÓRNIA
Proposição 65 Aviso
É do conhecimento do Estado da Califórnia que os gases de escape deste motor contêm químicos que podem provocar cancro, defeitos congénitos ou outros problemas reprodutivos.
Os pólos, terminais e restantes acessórios da bateria contêm chumbo e derivados de chumbo; é do conhecimento do Estado da Califórnia que estes químicos podem provocar cancro e problemas reprodutivos. Lave as mãos após a utilização.
É do conhecimento do Estado da Califórnia que a utilização deste produto pode causar exposição a químicos que podem provocar cancro, defeitos congénitos ou outros problemas reprodutivos.
Para um desempenho superior da tração, o kit de pesos 100-6442 pode ser adicionado na dianteira da máquina.
Note: Se a máquina estiver equipada com um acessório de elevação dianteira ou de limpar neve, o kit de pesos não encaixará devido a interferência física.
Este produto pode causar ferimentos pessoais. Respeite sempre todas as instruções de segurança, de modo a evitar ferimentos pessoais graves.
Se a máquina for utilizada com qualquer outro propósito, poderá pôr em perigo o utilizador ou outras pessoas.
Leia e compreenda o conteúdo deste Manual do utilizador antes de ligar o motor. Certifique-se de que todos os que utilizam este produto sabem como o utilizar e compreendem os avisos.
Esteja totalmente atento quando utilizar a máquina. Não se envolva em nenhuma atividade que dê azo a distrações, caso contrário poderão ocorrer ferimentos ou danos materiais.
Não coloque as mãos ou os pés perto de componentes em movimento da máquina.
Não opere a máquina sem que todos os resguardos e outros dispositivos protetores de segurança estejam instalados e a funcionar.
Mantenha a máquina a uma distância segura de pessoas quando estiver em movimento.
Mantenha as crianças afastadas da área de operação. Nunca permita que crianças utilizem a máquina.
Pare a máquina e desligue o motor antes de prestar assistência ou atestar a máquina.
O uso e manutenção impróprios desta máquina podem resultar em ferimentos. De modo a reduzir o risco de lesões, respeite estas instruções de segurança e preste toda a atenção ao símbolo de alerta de segurança (Figura 2), que indica: Cuidado, Aviso ou Perigo – instruções de segurança pessoal. O não cumprimento destas instruções pode resultar em ferimentos pessoais ou mesmo em morte.
Pode encontrar informações de segurança adicionais onde for necessário ao longo deste Manual do utilizador.
![]() |
Os autocolantes de segurança e de instruções são facilmente visíveis e situam-se próximo das zonas de potencial perigo. Substitua todos os autocolantes danificados ou em falta. |








Note: Determine os lados direito e esquerdo da máquina a partir da posição normal de utilização.
Note: Remova e deite fora todos os suportes fixos e dispositivos de fixação.
Peças necessárias para este passo:
| Volante | 1 |
| Anel de esponja | 1 |
| Anilha | 1 |
| Porca de bloqueio | 1 |
| Cobertura do volante | 1 |
Mova a roda dianteira de forma a ficar virada para a frente.
Faça deslizar o anel de esponja, extremidade pequena primeiro, para a coluna de direção (Figura 3).

Faça deslizar o volante para a coluna de direção (Figura 3).
Fixe o volante à coluna de direção, utilizando uma anilha e uma porca de bloqueio (Figura 3).
Aperte a porca de bloqueio com uma força de 27 a 35 N·m.
Pressione a cobertura do volante para a posição no volante (Figura 3).
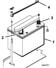
Retire as duas porcas de orelhas e as anilhas que fixam o suporte superior da bateria aos suportes laterais da bateria (Figura 4). Retire o suporte superior da bateria e retire a bateria.

Peças necessárias para este passo:
| Eletrólito a granel, gravidade específica de 1,260 (não incluído) | – |
Se a bateria não for cheia com eletrólito ou ativada, adicione eletrólito com gravidade específica de 1,260 à bateria.
Note: Pode adquirir eletrólito em lote numa loja de artigos de baterias local.
O eletrólito da bateria contém ácido sulfúrico, uma substância extremamente venenosa que é fatal e causa queimaduras graves.
Não ingira a solução eletrolítica e evite o contacto com a pele, olhos e vestuário. Utilize óculos de proteção para proteger os olhos e luvas de borracha para proteger as mãos.
Ateste a bateria apenas em locais onde exista água limpa para lavar as mãos.
Retire as tampas de enchimento da bateria e encha devagar cada célula, até que o eletrólito se encontre na linha de enchimento.
Volte a colocar as tampas de enchimento e ligue um carregador de baterias de 3 a 4 amperes aos pólos da bateria. Carregue a bateria com um carregador de bateria de 3 a 4 amperes, durante 4 a 8 horas.
O carregamento da bateria gera gases que podem provocar explosões.
Nunca fume perto da bateria e mantenha-a afastada de faíscas e chamas.
Quando a bateria estiver carregada, desligue o carregador da tomada elétrica e dos pólos da bateria. Deixe a bateria repousar durante 5 a 10 minutos.
Retire as tampas de enchimento.
Adicione cuidadosamente eletrólito a cada uma das células até o nível subir até à linha de enchimento.
Important: Não encha muito a bateria. Pode derramar eletrólito sobre as outras peças da máquina, acelerando a sua deterioração.
Volte a colocar as tampas de enchimento.
Peças necessárias para este passo:
| Parafuso (¼ pol. x ⅝ pol.) | 2 |
| Porca de bloqueio (¼ pol.) | 2 |
Coloque bateria no lugar, com o terminal negativo voltado para a parte de trás da máquina (Figura 5).

A ligação incorreta dos cabos da bateria poderá danificar o veículo e os cabos, produzindo faíscas. As faíscas podem provocar uma explosão dos gases da bateria, resultando em acidentes pessoais.
Desligue sempre o cabo negativo (preto) antes de desligar o cabo positivo (vermelho).
Ligue sempre o cabo positivo (vermelho) antes de ligar o cabo negativo (negro).
Os terminais da bateria e as ferramentas de metal podem provocar curto-circuitos noutros componentes da máquina, produzindo faíscas. As faíscas podem provocar uma explosão dos gases da bateria, resultando em acidentes pessoais.
Quando retirar ou montar a bateria, não toque com os terminais da bateria noutras peças metálicas do veículo.
Deverá evitar quaisquer curto-circuitos entre os terminais da bateria e as peças metálicas do veículo.
Fixe o cabo positivo (vermelho) ao terminal positivo (+) com um parafuso (¼ pol. x ⅝ pol.) e uma porca de bloqueio (Figura 6).

Fixe o pequeno cabo preto e o cabo negativo (preto) ao terminal negativo (-) da bateria com um parafuso (¼ pol. x ⅝ pol.) e uma porca de bloqueio (¼ pol.) (Figura 6).
Revista os terminais e parafusos de montagem com vaselina para evitar a corrosão.
Coloque a proteção de borracha sobre o terminal positivo (+) para evitar um curto-circuito.
Instale o suporte superior da bateria nos suportes laterais da bateria e fixe-o com anilhas e porcas de orelhas.
Peças necessárias para este passo:
| Kit(s) de pesos dianteiros, conforme necessário | – |
Esta máquina foi concebida de acordo com a ANSI B71.4-2017. Todavia, quando forem instalados acessórios na máquina, pode ser necessário peso adicional para ficar em conformidade com as normas.
Utilize a tabela seguinte para determinar as combinações necessárias de pesos adicionais. Encomende as peças num distribuidor Toro autorizado.
| Acessórios | Peso dianteiro adicional necessário | Kit peso, peça número | Descrição do peso | Quantidade |
|---|---|---|---|---|
| Kit arranca-grampos (08755) | 23 kg | 100-6442 | Peso da placa 8 x 2,9 kg | 1 |
| Rastelo Rahn | 23 kg | 100-6442 | Peso da placa 8 x 2,9 kg | 1 |
| Caixa utilitária com SLR | 23 kg | 100-6442 | Peso da placa 8 x 2,9 kg | 1 |
Note: Não é necessário peso adicional, se a máquina estiver equipada com o Kit de elevação hidráulica dianteiro (modelo 08712).
Peças necessárias para este passo:
| Aplicar o autocolante do ano de fabrico | 1 |
Aplique o autocolante do ano de fabrico na máquina na área mostrada (Figura 7).

Peças necessárias para este passo:
| Autocolante de aviso | 1 |
Nas máquinas que exijam conformidade CE, coloque o autocolante de aviso CE (peça n.º 136-6164) sobre a área inferior do autocolante da consola (peça n.º 132-4422).

O pedal de tração (Figura 9) dispõe de 3 funções: fazer avançar, recuar, e parar a máquina. Com o pé direito, pressione a parte superior do pedal para deslocar a máquina para a frente e a parte inferior do pedal para a máquina se deslocar para trás ou para assistir à paragem quando se deslocar para a frente (Figura 10). Para parar a máquina, deverá deixar que o pedal volte à posição PONTO MORTO. Para comodidade do operador, não apoie o calcanhar na patilha de marcha-atrás quando conduzir a máquina para a frente.


A velocidade é proporcional à pressão exercida sobre o pedal de tração. Para obter a velocidade máxima, pressione completamente o pedal quando o acelerador estiver na posição RáPIDO. Para obter a potência máxima quando tentar subir uma inclinação, coloque o acelerador na posição RáPIDO enquanto pressiona ligeiramente o pedal para manter as rotações do motor elevadas. Quando as rotações do motor começarem a diminuir, liberte ligeiramente o pedal de modo a permitir o aumento da velocidade.
Important: Para puxar na máxima potência, mova a alavanca do acelerador para a posição RáPIDO e carregue ligeiramente no pedal de tração.
Utilize a velocidade máxima apenas quando se deslocar de uma área para outra.
Não utilize a velocidade máxima quando utilizar um acessório instalado ou a reboque.
Important: Não utilize a máquina em marcha-atrás com o acessório na posição para baixo (funcionamento), caso contrário o acessório pode ficar seriamente danificado.
O interruptor de ignição (Figura 11) é utilizado para ligar e desligar o motor e tem três posições: DESLIGAR, FUNCIONAMENTO e ARRANQUE. Rode a chave no sentido dos ponteiros do relógio para a posição ARRANCAR para ativar o motor de arranque. Liberte imediatamente a chave quando o motor arrancar, e esta regressa à posição LIGAR. Para desligar o motor, rode a chave no sentido contrário ao dos ponteiros do relógio para a posição DESLIGAR.

Para ligar um motor frio, feche a entrada de ar no carburador, puxando a alavanca do ar (Figura 11) para cima, para a posição FECHAR. Após o arranque do motor, regule o ar para manter o motor num funcionamento regular. Logo que possível, abra a entrada de ar movendo-a para baixo para a posição ABRIR. Um motor quente necessita de pouco ou nenhum ar para funcionar normalmente.
A alavanca de controlo do acelerador (Figura 11) está ligada ao carburador, fazendo-o funcionar. O controlo tem 2 posições: LENTO e RáPIDO. A velocidade do motor varia entre as 2 definições.
Note: Não pode desligar o motor utilizando o controlo do acelerador.
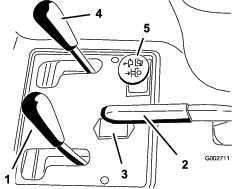
Para subir o acessório, puxe a alavanca de elevação (Figura 12) para trás; para baixar o acessório, empurre a alavanca para a frente. Para a posição deSUSPENSãO, mova a alavanca para a posição detentora. Quando atingir a posição pretendida, solte a alavanca e ela volta à posição de ponto morto.

Note: A máquina tem um cilindro de elevação de dupla ação. Pode aplicar pressão descendente ao acessório para determinadas condições de operação.
Para engatar o travão de estacionamento (Figura 12), puxe a alavanca do travão de estacionamento para trás. Para o desengatar, destrave a alavanca.
Note: Pode ter de rodar o pedal de tração lentamente para a frente e para trás para desengatar o travão de estacionamento.
O contador de horas (Figura 12) indica o total de horas de funcionamento da máquina. O contador de horas começa a funcionar sempre que se roda a chave para a posição LIGAR.
Desloque alavanca que se encontra no lado esquerdo do banco (Figura 13) para a frente, faça deslizar o banco para a posição desejada e liberte a alavanca para o fixar em posição.

Feche a válvula de bloqueio do combustível (Figura 14) antes de guardar a máquina ou de a transportar num atrelado.

Note: As especificações e o desenho do produto estão sujeitos a alterações sem aviso prévio.
| Largura sem acessório | 148 cm |
| Largura com ancinho, modelo 08751 | 191 cm |
| Comprimento sem acessório | 164 cm |
| Altura | 115 cm |
| Distância entre eixos | 109 cm |
| Peso líquido | |
| Modelo 08703 | 452 kg |
| Modelo 08705 | 461 kg |
Está disponível uma seleção de engates e acessórios aprovados pela Toro para utilização com a máquina, para melhorar e expandir as suas capacidades. Contacte o seu representante ou distribuidor de assistência autorizado ou vá a www.Toro.com para obter uma lista de todos os engates e acessórios aprovados.
Para garantir o máximo desempenho e segurança contínua certificada da máquina, adquira sempre peças sobressalentes e acessórios genuínos da Toro. A utilização de peças sobressalentes e acessórios produzidos por outros fabricantes pode ser perigosa e pode utilizar um espaço vazio na garantia do produto.
Note: Determine os lados direito e esquerdo da máquina a partir da posição normal de utilização.
Nunca permita que crianças ou pessoal não qualificado utilizem ou procedam à assistência técnica da máquina. Os regulamentos locais podem determinar restrições relativamente à idade do utilizador. A formação de todos os operadores e mecânicos é da responsabilidade do proprietário.
Familiarize-se com o funcionamento seguro do equipamento, com os controlos do utilizador e com os sinais de segurança.
Saiba como parar a máquina e o motor rapidamente.
Verifique se os comandos de presença do utilizador, os interruptores de segurança e os resguardos estão corretamente montados e a funcionar corretamente. Não utilize a máquina se estes componentes não estiverem a funcionar corretamente.
Antes da operação, inspecione sempre a máquina para assegurar que os componentes e fixações estão em boas condições. Substitua os componentes ou fixações gastos ou danificados.
Inspecione a área em que vai utilizar a máquina e remova todos os objetos que a máquina possa projetar.
Tenha muito cuidado quando manusear combustível. Este combustível é inflamável e os seus vapores são explosivos.
Apague todos os cigarros, charutos, cachimbos e outras fontes de ignição.
Utilize apenas um recipiente para combustível aprovado.
Não retire o tampão do depósito nem encha o depósito enquanto o motor se encontrar em funcionamento ou estiver quente.
Nunca adicione nem drene combustível num espaço fechado.
Não guarde a máquina ou o recipiente de combustível onde uma fonte de fogo, faísca ou luz piloto, como junto de uma caldeira ou outros eletrodomésticos.
Em caso de derrame de combustível, não tente ligar o motor; evite criar qualquer fonte de ignição até os vapores do combustível se terem dissipado.
| Intervalo de assistência | Procedimento de manutenção |
|---|---|
| Após as pimeiras 20 horas |
|
| Em todas as utilizações ou diariamente |
|
O motor é fornecido com óleo no cárter; no entanto, tem de verificar o nível do óleo antes e depois de ligar o motor.
A capacidade do cárter é de cerca de 1,66 litros com o filtro.
Utilize óleo de motor de alta qualidade que satisfaça as seguintes especificações:
Nível de classificação API: SL ou superior
Óleo preferido: SAE 30 – acima de 4°C
Estacione a máquina numa superfície nivelada, desligue o motor, engate o travão de estacionamento e retire a chave.
Rode o banco para a frente.
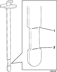
Puxe a vareta (Figura 15) e limpe-a com um pano limpo.

Volte a colocar a vareta no tubo e verifique se está completamente introduzida. Retire a vareta do tubo e verifique o nível de óleo. Se o nível de óleo estiver baixo, retire o tampão de enchimento da cobertura da válvula e lentamente adicione óleo suficiente para elevar o nível de óleo até à marca Cheio, existente na vareta.
Important: Certifique-se de que mantém o nível do óleo entre os limites superior e inferior no indicador do óleo. Podem ocorrer avarias no motor em resultado de se encher com óleo do motor a mais ou a menos.
Volte a introduzir a vareta no tubo.
Important: A vareta tem de estar completamente inserida no tubo para ser um vedante adequado do cárter do motor. Se o cárter não ficar bem vedado, isso pode resultar em danos do motor.
Rode o banco para baixo.
Capacidade do depósito de combustível: 25 litros
Combustível recomendado:
Para melhores resultados, utilizar apenas gasolina limpa, fresca (com menos de 30 dias) e sem chumbo com uma classificação de octanas de 87 ou superior (método de classificação (R+M)/2).
Etanol: Gasolina com até 10% de etanol (gasool) ou 15% MTBE (éter-metil-tercio-butílico) por volume é aceitável. Etanol e MTBE não são a mesma coisa. Gasolina com 15% de etanol (E15) por volume não é aprovada para utilização. Nunca utilize gasolina que contenha mais de 10% de etanol por volume como, por exemplo, E15 (contém 15% etanol), E20 (contém 20% etanol) ou E85 (contém até 85% de etanol). A utilização de gasolina não aprovada pode causar problemas de desempenho e/ou danos no motor, que poderão não ser abrangidos pela garantia.
Não utilizar gasolina que contenha metanol.
Não guardar combustível nem no depósito do combustível nem em recipientes de combustível durante o inverno, a não ser que seja utilizado um estabilizador de combustível.
Não adicionar petróleo à gasolina.
Important: Não utilize aditivos de combustível para além de um estabilizador/condicionador de combustível. Não utilize estabilizadores de combustível com uma base de álcool como, por exemplo, etanol, metanol ou isopropanol.
Limpe a zona em torno do tampão do depósito de combustível (Figura 16).
Retire a tampa do depósito de combustível.
Encha o depósito até 25 mm abaixo do cimo do depósito (fundo do tubo de enchimento). Não encha demasiado.

Coloque o tampão.
Para evitar um incêndio, limpe todos os vestígios de combustível derramado.
Important: Nunca utilize metanol, gasolina com metanol, nem gasolina que contenha álcool e mais de 10% de etanol, porque pode danificar o sistema de combustível. Não misture óleo com gasolina.
| Intervalo de assistência | Procedimento de manutenção |
|---|---|
| Em todas as utilizações ou diariamente |
|
O reservatório é enchido na fábrica com aproximadamente 19 litros de fluido hidráulico de grande qualidade. A melhor altura para verificar o fluido hidráulico é quando está frio. A máquina deve estar na configuração de transporte. Se o nível de fluido estiver exatamente na marca ou abaixo da marca Adicionar na vareta, adicione óleo até o nível atingir o meio do intervalo aceitável. Não encha demasiado o reservatório. Se o nível de fluido se encontrar entre as marcas Cheio e Adicionar, não é necessário adicionar fluido. Verifique o nível de fluido hidráulico antes de ligar o motor pela primeira vez e diariamente a partir daí.
O fluido de substituição recomendado é o seguinte:
| Fluido hidráulico Toro Premium All Season (disponível em recipientes de 19 l ou tambores de 208 l — ver documentação de peças ou distribuidor Toro para obter as referências das peças) |
Fluido hidráulico recomendado: Fluido hidráulico Toro Premium All Season
Fluidos alternativos: Se não estiver disponível fluido Toro podem utilizar-se outros fluídos convencionais, à base de petróleo, desde que satisfaçam todas as seguintes propriedades de material e especificações industriais. Consulte o seu fornecedor de fluido para saber se o fluido satisfaz estas especificações.
Note: A Toro não assume a responsabilidade por danos causados devido ao uso de substitutos inadequados, pelo que recomendamos a utilização exclusiva de produtos de fabricantes com boa reputação no mercado.
| Fluido hidráulico antidesgaste com índice de viscosidade elevada/ponto de escoamento baixo, ISO VG 46 multigrau | |
| Propriedades do material: | |
| Viscosidade, ASTM D445 | cSt a 40°C 44 a 48cSt a 100°C 7,9 a 9,1 |
| Índice de viscosidade ASTM D2270 | 140 ou superior |
| Ponto de escoamento, ASTM D97 | -37°C a -45°C |
| FZG, Nível de falha | 11 ou superior |
| Conteúdo de água (novo fluido): | 500 ppm (máximo) |
| Especificações industriais: | |
| Vickers I-286-S, Vickers M-2950-S, Denison HF-0, Vickers 35 VQ 25 (Eaton ATS373-C) | |
Os fluidos hidráulicos adequados têm de ser específicos para maquinaria móvel (por oposição à utilização em unidades industriais), tipo multidensidade, com o pacote de aditivo antidesgaste ZnDTP ou ZDDP (não um fluido tipo sem cinzas).
Important: A maioria dos fluidos é incolor, o que dificulta a deteção de fugas. Encontra-se à sua disposição um aditivo vermelho para o fluido do sistema hidráulico, em recipientes de 20 ml. Um recipiente é suficiente para 15 a 22 litros de fluido hidráulico. Poderá encomendar a peça nº. 44-2500 junto do seu distribuidor Toro autorizado.
Fluido hidráulico sintético, biodegradável
(disponível em recipientes de 19 litros ou tambores de 208 litros – ver documentação de peças ou distribuidor Toro para obter as referências das peças)
Este fluido sintético e biodegradável de alta qualidade foi testado e considerado compatível com este modelo Toro. Outras marcas de fluido sintético podem apresentar problemas de compatibilidade de vedante e a Toro não pode assumir a responsabilidade por substituições não autorizadas.
Note: Este fluido sintético não é compatível com o fluido biodegradável Toro previamente vendido. Contacte o distribuidor autorizado Toro para obter mais informação.
Fluidos alternativos:
Mobil EAL Envirosyn H 46 (EUA)
Mobil EAL Hydraulic Oil 46 (internacional)
Estacione a máquina numa superfície nivelada, desligue o motor, engate o travão de estacionamento e retire a chave.
Limpe a área em torno da tampa do reservatório de óleo hidráulico para evitar que entrem detritos no depósito (Figura 17).

Retire a tampa do reservatório.
Retire a vareta do tubo de enchimento e limpe-a com um pano limpo.
Introduza a vareta no tubo de enchimento, retire-a e verifique o nível do fluido.
Note: O nível de fluido deve situar-se entre as marcas superior e inferior (área assinalada) da vareta (Figura 18).

Se o nível de fluido estiver baixo, lentamente, encha o reservatório com fluido hidráulico adequado até o nível atingir a área assinalada na vareta.
Note: Não encha demasiado o reservatório.
Coloque a tampa do reservatório.
Important: Para evitar a contaminação do sistema, limpe as tampas dos recipientes de óleo hidráulico antes de as perfurar. Certifique-se de que o bocal de enchimento e o funil estão limpos.
| Intervalo de assistência | Procedimento de manutenção |
|---|---|
| Em todas as utilizações ou diariamente |
|
Verifique a pressão dos pneus antes de colocar a máquina a funcionar (Figura 19). A pressão de ar correta nos pneus dianteiros e traseiros é:
Pneus recauchutados: 0,70 bar
Note: Se for necessária tração adicional para funcionamento da lâmina, reduza a pressão para 0,55 bar.
Pneus macios: 0,55 a 0,70 bar

| Intervalo de assistência | Procedimento de manutenção |
|---|---|
| Após as pimeiras 8 horas |
|
| A cada 100 horas |
|
Aperte as porcas de rodas com 95 a 122 N·m.
O proprietário/utilizador pode evitar e é responsável por acidentes que possam causar ferimentos a pessoas ou danos a propriedades.
Utilize vestuário adequado, incluindo proteção visual, calçado resistente antiderrapante, calças compridas e proteções para os ouvidos. Prenda cabelos compridos e não use joias soltas.
Não utilize a máquina quando estiver doente, cansado ou se encontrar sob o efeito de álcool ou drogas.
Nunca transporte passageiros na máquina e mantenha as pessoas e animais afastados da máquina durante o funcionamento.
Utilize a máquina apenas quando tiver boa visibilidade para evitar buracos e outros perigos não visíveis.
Evite a operação quando a relva se encontrar molhada. Uma redução da tração poderá fazer com que a máquina derrape.
Antes de ligar o motor, certifique-se de que as transmissões estão na posição de ponto morto, o travão de estacionamento está engatado e coloque-se na posição de operação.
Antes de recuar, olhe para trás e para baixo de modo a evitar acidentes.
Tome todas as precauções necessárias quando se aproximar de esquinas sem visibilidade, arbustos, árvores ou outros objetos que possam obstruir o seu campo de visão.
Não utilize perto de depressões, buracos ou bancos de areia. A máquina poderá capotar repentinamente se a roda resvalar numa depressão ou se o piso ceder.
Pare a máquina e verifique o acessório depois de ter atingido qualquer objeto ou na eventualidade de sentir vibrações estranhas. Efetue todas as reparações necessárias antes de retomar o funcionamento.
Abrande e tome as precauções necessárias quando virar e atravessar estradas ou passeios com a máquina. Dê sempre prioridade.
Nunca ligue o motor numa área onde os gases de escape fiquem presos.
Nunca deixe a máquina a trabalhar sem vigilância.
Antes de sair da posição de funcionamento, faça o seguinte:
Estacione a máquina numa superfície nivelada.
Desça os acessórios.
Engate o travão de estacionamento.
Desligue o motor e retire a chave.
Espere que todas as peças em movimento parem.
Nunca opere a máquina quando existir a possibilidade de trovoadas.
Não use a máquina como um veículo de reboque.
Quando necessário, molhe a superfície antes de operar para minimizar a criação de poeira.
Utilize apenas acessórios, engates e peças de substituição aprovados pela The Toro® Company.
Estabeleça os seus próprios procedimentos e regras para operação em declives. Estes procedimentos têm de incluir vigilância do local para determinar que declives são seguros para a operação da máquina. Utilize sempre o bom senso e o seu julgamento ao realizar esta inspeção.
Os declives são um dos principais fatores que contribuem para a perda de controlo e acidentes de capotamento que podem resultar em ferimentos graves ou morte. O operador é responsável pela operação segura em declives. Operação da máquina em qualquer declive requer cuidado adicional.
Os declives são um dos principais fatores que contribuem para a perda de controlo e acidentes de capotamento que podem resultar em ferimentos graves ou morte. Operação da máquina em qualquer declive requer cuidado adicional.
Opere a máquina a uma velocidade inferior quando se encontra num declive.
Se não se sentir seguro ao operar a máquina num declive, não o faça.
Esteja atento a buracos, carreiras, elevações, pedras ou outros objetos ocultos. O terreno desnivelado poderia fazer tombar a máquina. A relva alta pode ocultar obstáculos.
Escolha uma velocidade baixa para que não tenha de parar ou mudar a mudança num declive.
Pode ocorrer capotamento antes de os pneus perderem tração.
Evite a operação da máquina quando a relva se encontrar molhada. Os pneus podem perder tração, ainda que os travões estarem disponíveis e a funcionar.
Evite arrancar, parar ou virar num declive.
Todos os movimentos em declives devem ser lentos e graduais. Não altere subitamente a velocidade ou a direção da máquina.
Não opere a máquina perto de depressões, valas, diques ou massas de água. A máquina poderá capotar repentinamente se a roda resvalar numa depressão ou se o piso ceder. Estabeleça uma área de segurança entre a máquina e qualquer perigo (duas larguras da máquina).
Retire o pé do pedal de tração, certifique-se de que este se encontra na posição PONTO MORTO e engate o travão de estacionamento.
Empurre a alavanca do ar para a frente para a posição LIGAR (só quando arrancar a frio) e a alavanca do acelerador para a posição LENTO.
Important: Quando utilizar a máquina em temperaturas inferiores a 0°C deixe a máquina aquecer antes de a utilizar. Isto impede que se danifique o hidróstato e o aro de tração.
Insira a chave na ignição e rode-a no sentido horário para ligar o motor. Liberte a chave quando o motor entrar em funcionamento.
Note: Regule a alavanca do ar para manter o motor a trabalhar suavemente.
Important: Para evitar sobreaquecimento do motor de arranque, não ative o motor de arranque mais de 10 segundos. Após 10 segundos de arranque contínuo, aguarde 60 segundos antes de ativar novamente o motor de arranque.
Para desligar o motor, desloque a alavanca do acelerador para a posição LENTO e rode a chave da ignição para a posição DESLIGAR.
Note: Retire a chave da ignição para evitar qualquer arranque acidental.
Feche a válvula de bloqueio do combustível antes de guardar a máquina.
Inspecionar a máquina com o motor a funcionar pode causar ferimentos.
Desligue o motor e aguarde até que todas as peças se encontrem imóveis antes de verificar se existem fugas de óleo, peças soltas ou quaisquer outros problemas.
A máquina poderá arrancar inesperadamente, se os interruptores de segurança se encontrarem desligados ou danificados, e provocar lesões pessoais.
Não modifique os interruptores de segurança.
Verifique o funcionamento dos interruptores diariamente e substitua todos os interruptores danificados antes de utilizar a máquina.
O objetivo do sistema de bloqueio é o de evitar que o motor rode ou que entre em funcionamento, a menos que o pedal de tração esteja na posição PONTO MORTO. Além disto, o motor deve parar se o pedal de tração for movido ou para a frente ou para trás sem o operador estar sentado.
Estacione a máquina numa grande área aberta livre de detritos e de pessoas. Desligue o motor.
Sente-se no banco e engate o travão de estacionamento.
Pressione o pedal de tração para a frente e para trás enquanto tenta ligar o motor.
Note: Se o motor arrancar, isso significa que pode haver uma avaria no sistema de segurança. Repare-a de imediato.Se o motor não arrancar, o sistema está a funcionar corretamente.
Fique sentado no banco, com o pedal de tração na posição PONTO MORTO e o travão de estacionamento engatado e ligue o motor.
Levante-se do banco e, lentamente, carregue no pedal de tração.
Note: O motor deverá desligar ao fim de 1 a 3 segundos. Corrija o problema se o sistema não funcionar devidamente.
Os novos motores requerem tempo para desenvolver a potência máxima. Os sistemas de transmissão têm mais fricção quando são novos, exercendo uma carga adicional sobre o motor.
Conceda as primeiras 8 horas de tempo de funcionamento para os período de rodagem.
Uma vez que as primeiras horas de funcionamento são cruciais para o futuro da máquina, controle as suas funções e desempenho de forma a que possa detetar e corrigir pequenos problemas, que podem originar problemas mais graves. Inspecione a máquina frequentemente durante o período de rodagem para detetar indícios de fuga de óleo, dispositivos de fixação desapertados ou qualquer outra avaria.
Estacione a máquina numa superfície nivelada, engate o travão de estacionamento, desligue o motor, retire a chave e espere até todas as partes em movimento parem antes de sair da máquina.
Elimine todos os vestígios de relva e detritos do abafador e motor de modo a evitar qualquer risco de incêndio. Limpe as zonas que tenham óleo ou combustível derramado.
Espere que o motor arrefeça antes de armazenar a máquina em ambiente fechado.
Desative o sistema de combustível antes do armazenamento ou transporte da máquina.
Nunca guarde a máquina ou o recipiente de combustível onde uma fonte de fogo, faísca ou luz piloto, como junto de uma caldeira ou outros eletrodomésticos.
Mantenha todas as peças da máquina em boas condições de trabalho e as partes corretamente apertadas.
Substitua todos os autocolantes desgastados, danificados ou em falta.
Em caso de emergência, é possível rebocar a máquina numa curta distância. No entanto, este procedimento não deve ser utilizado regularmente.
Important: Não reboque a máquina a uma velocidade superior a 1,6 km/h porque o sistema de transmissão pode sofrer danos. Se for necessário deslocar a máquina uma distância superior a 50 metros, deverá utilizar uma carrinha ou um atrelado. Os pneus podem bloquear, se a máquina for rebocada demasiado depressa. Se isto ocorrer, pare de rebocar a máquina e espere que a pressão do circuito de tração estabilize, antes de voltar a rebocar a uma velocidade mais lenta.
Utilize rampas de largura total para carregar a máquina para um atrelado ou camião.
Prenda bem a máquina.
Consulte o Manual do utilizador do acessório para instruções específicas do funcionamento do acessório.
Pratique a condução da máquina porque as suas características de funcionamento das de alguns veículos utilitários. Dois pontos a tomar em consideração quando utilizar o veículo são a transmissão e a velocidade.
Para manter as rotações do motor, de certo modo, constantes, pressione o pedal de tração lentamente. O mesmo permite que o motor mantenha a velocidade do veículo. Inversamente, pressionar demasiado depressa o pedal de tração reduz a velocidade do motor e, consequentemente, não haverá binário suficiente para mover o veículo. Por conseguinte, para transferir a máxima potência para as rodas, mova o acelerador para RáPIDO e pressione ligeiramente o pedal de tração. Em comparação, a velocidade máxima sem carga resulta quando o acelerador está na posição RáPIDO e o pedal de tração é pressionado lenta, mas totalmente. Mantenha sempre a velocidade do motor suficientemente alta para poder transmitir um binário máximo para as rodas.
O funcionamento da máquina exige atenção para evitar o capotamento e a perda de controlo.
Tenha cuidado quando entrar e sair de bancos de areia.
Tenha muito cuidado perto de valas, cursos de água ou o outros obstáculos.
Tome cuidado ao conduzir a máquina em declives pronunciados.
Reduza a velocidade ao descrever curvas pronunciadas ou ao inverter a marcha em declives.
Evite paragens e arranques bruscos.
Não inverta a direção sem que o veículo se encontre completamente parado.
Note: Se o adaptador de acessórios ficar preso ao adaptador da unidade de tração, insira um pé de cabra/uma chave de parafusos na ranhura de apoio para desencravar as peças (Figura 20).

Note: Determine os lados direito e esquerdo da máquina a partir da posição normal de utilização.
Se deixar a chave na ignição, alguém pode ligar acidentalmente o motor e feri-lo a si ou às pessoas que se encontrarem próximo da máquina.
Retire a chave da ignição antes de fazer qualquer revisão.
| Intervalo de assistência | Procedimento de manutenção |
|---|---|
| Após as pimeiras 8 horas |
|
| Após as pimeiras 20 horas |
|
| Em todas as utilizações ou diariamente |
|
| A cada 25 horas |
|
| A cada 100 horas |
|
| A cada 200 horas |
|
| A cada 400 horas |
|
| A cada 800 horas |
|
| A cada 1500 horas |
|
Important: Para informações detalhadas sobre os procedimentos de manutenção adicionais, consulte o Manual do utilizador do motor.
Note: Para obter um esquema elétrico ou esquema hidráulico para a sua máquina, visite www.toro.com.
Copie esta página para uma utilização de rotina.
| Verificações de manutenção | Para a semana de: | ||||||
|---|---|---|---|---|---|---|---|
| Seg. | Ter. | Qua. | Qui. | Sex. | Sáb. | Dom. | |
| Verifique o funcionamento dos interruptores de segurança. | |||||||
| Verifique o funcionamento da direção. | |||||||
| Verifique o nível de combustível. | |||||||
| Verifique o nível do óleo do motor. | |||||||
| Verifique o estado do filtro de ar. | |||||||
| Limpe as aletas de arrefecimento do motor. | |||||||
| Verifique os ruídos estranhos do motor. | |||||||
| Verifique os ruídos de funcionamento estranhos. | |||||||
| Verifique o nível do fluido hidráulico. | |||||||
| Verifique que os tubos hidráulicos se encontram danificados. | |||||||
| Verifique se há fuga de fluidos. | |||||||
| Verifique a pressão dos pneus. | |||||||
| Verifique o funcionamento do painel de instrumentos. | |||||||
| Retoque a pintura danificada. | |||||||
| Notas sobre zonas problemáticas | ||
| Inspeção executada por: | ||
| Item | Data | Informação |
Important: Os parafusos e porcas das coberturas desta máquina foram concebidos para permanecer na cobertura após remoção. Desaperte algumas voltas todos os parafusos de cada cobertura de forma a que a cobertura fique solta, mas ainda presa e então desaperte-os até que a cobertura saia completamente. Isto evita que perca acidentalmente os parafusos dos fixadores.
Antes de ajustar, limpar, reparar ou abandonar a máquina, faça o seguinte:
Estacione a máquina numa superfície nivelada.
Desloque o interruptor do regulador para a posição de ralenti baixo.
Desça o acessório.
Certifique-se de que a tração está em ponto morto.
Engate o travão de estacionamento.
Desligue o motor e retire a chave.
Espere que todas as peças em movimento parem.
Deixe os componentes da máquina arrefecerem antes de proceder à manutenção.
Se possível, não faça manutenção com o motor em funcionamento. Mantenha-se longe das peças móveis.
Utilize apoios para suportar a máquina ou os seus componentes sempre que necessário.
Cuidadosamente, liberte a pressão dos componentes com energia acumulada.
Os apoios mecânicos ou hidráulicos podem não conseguir apoiar a máquina e provocar ferimentos graves.
Utilize macacos para suportar a máquina.
Os pontos de suspensão são os seguintes:
A máquina possui bocais de lubrificação que deverão ser lubrificados regularmente com massa lubrificante nº 2 para utilizações gerais, à base de lítio, a cada 100 horas de funcionamento.
Os rolamentos e casquilhos seguintes têm de ser lubrificados:
Rolamento da roda dianteira (1) (Figura 23)

Articulação do pedal de tração (1) (Figura 24)

Engate traseiro (5) (Figura 25)

Extremidade da haste do cilindro de direção (1 – apenas modelo 08705 (Figura 26)

Articulação da direção (Figura 27)
Note: O bocal de embeber na articulação da direção (Figura 27) necessita de um adaptador de bico de pistola de pulverização. Encomende a peça nº 107-1998 da Toro ao seu distribuidor autorizado Toro.

| Intervalo de assistência | Procedimento de manutenção |
|---|---|
| A cada 100 horas |
|
Limpe os bocais de lubrificação de modo a evitar a entrada de matérias estranhas no rolamento ou casquilho.
Introduza massa lubrificante no rolamento ou casquilho.
Limpe a massa lubrificante em excesso.
Desligue o motor antes de verificar ou adicionar óleo no cárter.
Não altere os valores do regulador nem acelere o motor excessivamente.
| Intervalo de assistência | Procedimento de manutenção |
|---|---|
| Após as pimeiras 20 horas |
|
| A cada 100 horas |
|
Estacione a máquina numa superfície nivelada, desligue o motor, engate o travão de estacionamento e retire a chave.
Retire o tampão de escoamento (Figura 28) e deixe o óleo escorrer para um recipiente adequado. Quando o óleo parar, volte a montar o tampão de escoamento.

Retire o filtro do óleo (Figura 28).
Aplique uma leve camada de óleo limpo na junta do novo filtro.
Aparafuse o filtro manualmente até que a gaxeta entre em contacto com o adaptador do filtro; em seguida deverá apertar mais 1/2 ou 3/4 de volta.
Important: Não aperte demasiado o filtro.
Junte óleo ao cárter, consulte Verificação do nível de óleo do motor.
O óleo usado deve ser eliminado de forma adequada.
| Intervalo de assistência | Procedimento de manutenção |
|---|---|
| A cada 200 horas |
|
Verifique se existe algum dano no corpo do filtro de ar que possa provocar uma fuga de ar. Substitua quaisquer componentes danificados. Verifique todo o sistema de admissão para ver se tem fugas, se está danificado ou se há braçadeiras de tubos soltas.
Não mude o filtro de ar antes de ser necessário; fazê-lo apenas aumenta a possibilidade de entrar sujidade no motor quando se retira o filtro.
Certifique-se de que a cobertura está corretamente assente e veda com o corpo do filtro de ar.
| Intervalo de assistência | Procedimento de manutenção |
|---|---|
| A cada 200 horas |
|
Liberte os trincos que fixam a cobertura do filtro de ar ao respetivo corpo (Figura 29).

Retire a cobertura do corpo do filtro de ar.
Antes de remover o filtro, utilize ar de baixa pressão (2,76 bar, limpo e seco) para ajudar a retirar grandes acumulações de detritos que se encontram entre o lado de fora do filtro primário e o recipiente.
Important: Evite a utilização de ar de alta pressão, que pode forçar a entrada de sujidade no sistema de admissão através do filtro. Este processo de limpeza evita que a sujidade passe para dentro da admissão quando se retira o filtro principal.
Retire e substitua o filtro.
Note: Inspecione o filtro novo para ver se sofreu danos durante o transporte, verificando a extremidade vedante do filtro e o corpo. Não utilize um elemento danificado. Insira um filtro novo pressionando o anel exterior do elemento para o assentar no recipiente. Não pressione no centro flexível do filtro.
Note: Não se recomenda a limpeza do elemento usado devido à possibilidade de danos no meio de filtragem.
Limpe a porta de ejeção de sujidade que se encontra na tampa amovível.
Retire a válvula de saída em borracha da tampa, limpe a cavidade, e volte a colocar a válvula de saída.
Instale a tampa orientando a válvula de saída de borracha para uma posição descendente – entre cerca das 5 horas e das 7 horas quando vista da extremidade.
Prenda os trincos.
| Intervalo de assistência | Procedimento de manutenção |
|---|---|
| A cada 800 horas |
|
Tipo: Champion RC 14YC (ou equivalente)
Folga: 0,76 mm
Note: Normalmente, uma vela possui uma vida útil bastante longa; no entanto, deverá removê-la e verificá-la sempre que o motor apresentar sinais de avaria.
Limpe a zona em redor de cada vela, de modo a evitar a penetração de matérias estranhas no cilindro quando retirar a vela.
Desligue os cabos das velas de ignição das velas de ignição e retire as velas da cabeça do cilindro.
Verifique o estado dos elétrodos lateral e central, bem como do isolante, certificando-se de que não se encontram danificados.
Important: Uma vela de ignição partida, reparada, suja ou danificada deverá ser substituída imediatamente. Não lixe, raspe ou limpe elétrodos utilizando uma escova de arame porque as limalhas libertadas com essa operação poderão cair para dentro do cilindro. O resultado será sempre um motor danificado.
Ajuste a folga existente entre o elétrodo central e os elétrodos laterais para 0,76 mm; consulte Figura 30. Monte a vela com a folga correta com o vedante e aperte-a com uma força de 23 N·m. Se não utilizar uma chave de aperto, aperte bem a vela.

| Intervalo de assistência | Procedimento de manutenção |
|---|---|
| A cada 800 horas |
|
Existe um filtro no interior da tubagem de combustível. Siga os procedimentos seguintes, quando for necessária a substituição:
Feche a válvula de bloqueio do combustível, liberte a braçadeira de tubos que se encontra no carburador, na zona do filtro, e retire a tubagem de combustível do filtro (Figura 31).

Coloque um recipiente de drenagem debaixo do filtro, liberte as braçadeiras de tubos e retire o filtro.
Monte um novo filtro, tendo o cuidado para virar a seta, que se encontra no corpo do filtro, para longe do depósito de combustível (na direção do carburador).
Coloque as braçadeiras de tubos nas extremidades das tubagens de combustível.
Introduza as tubagens no filtro de combustível e fixe-as com as braçadeiras.
Note: Certifique-se de que a seta existente na zona lateral do filtro se encontra virada para o carburador.
Desligue a bateria antes de reparar a máquina. Desligue o terminal negativo em primeiro lugar e o terminal positivo no final. Ligue o positivo em primeiro lugar e o terminal negativo no final.
Carregue a bateria num espaço aberto e bem ventilado, longe de faíscas e chamas. Retire a ficha do carregador da tomada antes de o ligar ou desligar da bateria. Utilize roupas adequadas e ferramentas com isolamento.
Se tiver de efetuar o arranque da máquina com cabos de bateria, o borne positivo alternativo (que se encontra no solenoide de arranque) pode ser utilizado em vez do borne de bateria positivo (Figura 32).

O bloco de fusíveis (Figura 33) encontra-se debaixo do banco.

| Intervalo de assistência | Procedimento de manutenção |
|---|---|
| A cada 25 horas |
|
Mantenha o nível adequado do eletrólito da bateria e a zona superior da bateria limpa. Se guardar a máquina num local onde as temperaturas sejam muito elevadas, a bateria perde a sua carga mais rapidamente do que num ambiente mais fresco.
Mantenha a zona superior da bateria limpa, lavando-a periodicamente com uma escova molhada em amónia ou numa solução de bicarbonato de sódio. Após a sua limpeza, enxagúe a superfície superior da bateria com água. Não retire a tampa de enchimento durante a limpeza.
Os cabos da bateria deverão encontrar-se bem apertados, de modo a proporcionar um bom contacto elétrico.
Se verificar que existe corrosão nos terminais da bateria, desligue os cabos – o cabo negativo (-) em primeiro lugar – e raspe os contactos e os terminais separadamente. Ligue os cabos, o cabo positivo (+) em primeiro lugar, e aplique vaselina nos terminais.
Deverá verificar o nível do eletrólito da bateria a cada 25 horas de funcionamento ou, se a máquina se encontrar guardada, mensalmente.
O nível das células deverá ser mantido utilizando água destilada ou desmineralizada. Não encha as células acima da linha de enchimento.
Se a máquina se mover enquanto o pedal de tração estiver na posição neutra, ajuste o excêntrico da tração.
Estacione a máquina numa superfície nivelada, desligue o motor, engate o travão de estacionamento e retire a chave.
Desaperte os dois parafusos que fixam o resguardo central à máquina e retire o resguardo (Figura 34).

Levante a roda da frente e uma das rodas traseiras e coloque suportes debaixo do chassis.
Para que a máquina não se mexa durante o ajuste, terá de ser levantada a roda dianteira e uma roda traseira. Isto pode causar que a máquina caia e fira alguém debaixo da máquina.
Certifique-se de que a máquina está bem apoiada, com a roda da frente e uma roda traseira levantada do chão.
Desaperte a porca de bloqueio no excêntrico de tração (Figura 35).

O motor tem de estar a funcionar para que se possa efetuar um ajuste final no excêntrico de tração. Tocar em peças em movimento ou quentes pode provocar lesões graves.
Mantenha as mãos, pés, cara e outras partes do corpo afastadas dos componentes em rotação, da panela de escape e de outras superfícies quentes.
Ligue o motor e rode o excêntrico sextavado (Figura 35) em ambas as direções para determinar a posição intermédia do ponto morto.
Aperte a porca de bloqueio para manter o ajuste.
Desligue o motor.
Instale o resguardo central.
Retire os apoios e baixe a máquina.
Teste a máquina para se certificar de que esta não se movimenta quando o pedal de tração está na posição de ponto morto.
Ajuste a transmissão para neutro; consulte Ajuste da posição neutra da transmissão de tração.
Ative a alavanca da bomba para se certificar de que todas as peças funcionam e assentam corretamente.
Ajuste o parafuso até a folga de ar ser de 0,8 a 2,3 mm; consulte Figura 35.
Verifique o correto funcionamento.
O pedal de tração é ajustado de acordo com a velocidade máxima de transporte e marcha-atrás, mas talvez seja necessário proceder a um novo ajuste se o pedal atingir o curso máximo antes de a alavanca da bomba atingir o curso máximo ou se desejar reduzir a velocidade de transporte.
Para obter a velocidade máxima de transporte, carregue para baixo no pedal de tração. Se o pedal entrara em contacto com o batente (Figura 36) antes de a alavanca da bomba atingir o curso máximo, ajuste-o:

Estacione a máquina numa superfície nivelada, desligue o motor, engate o travão de estacionamento e retire a chave.
Desaperte a porca que prende o batente do pedal.
Aperte o batente do pedal até deixar de estar em contacto com o pedal de tração.
Continue a aplicar uma ligeira carga no pedal de transporte e ajuste o batente do pedal de modo a que entre em contacto ou haja uma folga de 2,5 mm entre a haste do pedal e o batente.
Aperte as porcas.
Estacione a máquina numa superfície nivelada, desligue o motor, engate o travão de estacionamento e retire a chave.
Desaperte a porca que prende o batente do pedal.
Aperte o batente do pedal até se obter a velocidade de transporte desejada.
Aperte a porca que prende o batente do pedal.
A placa de detenção da alavanca de elevação (Figura 38) pode ser ajustada se o engate não ficar suspenso devidamente (seguir o desnível do terreno) durante o funcionamento.
Estacione a máquina numa superfície nivelada, desligue o motor, engate o travão de estacionamento e bloqueie as rodas.
Retire os quatro parafusos que fixam o painel de controlo à estrutura (Figura 37).

Desaperte os dois parafusos que prendem a placa de detenção ao guarda-lamas e estrutura.

O motor tem de estar a funcionar para que se possa ajustar a placa de detenção. Tocar em peças em movimento ou quentes pode provocar lesões graves.
Mantenha as mãos, pés, cara e outras partes do corpo afastadas dos componentes em rotação, da panela de escape e de outras superfícies quentes.
Ligue o motor.
Com o motor a trabalhar e a alavanca de elevação na posição SUSPENSA, deslize a placa de detenção até o cilindro de elevação poder ser estendido e retraído à mão.
Aperte ambos os parafusos de montagem para manter o ajuste.
O funcionamento adequado do regulador depende do ajuste adequado da alavanca do acelerador. Antes de ajustar o carburador, certifique-se de que a alavanca do acelerador está a funcionar corretamente.
Rode o banco para cima.
Desaperte o parafuso de fixação do cabo do acelerador ao motor (Figura 39).

Desloque a alavanca de controlo do acelerador para a posição RáPIDO.
Puxe o cabo do acelerador até que a zona traseira da cavilha entre em contacto com o batente (Figura 39).
Aperte o parafuso do grampo do cabo e verifique a velocidade do motor:
Ralenti alto: 3.350 a 3.450 rpm
Ralenti baixo: 1.650 a 1.850 rpm
Rode o banco para cima.
Desaperte o parafuso de fixação do cabo da alavanca do ar que prende o cabo ao motor (Figura 39).
Desloque a alavanca de controlo do ar para a frente para a posição FECHAR.
Puxe o cabo do ar (Figura 39) até que a borboleta se encontre completamente fechada e, em seguida, aperte o parafuso de fixação do cabo.
Important: Antes de efetuar o ajuste do controlo de velocidade do governador do motor, deverá efetuar o ajuste das alavancas do acelerador e do ar.
O motor deverá encontrar-se em funcionamento durante o ajuste do controlo de velocidade do governador do motor. Tocar em peças em movimento ou quentes pode provocar lesões graves.
Certifique-se de que o pedal de tração está em neutro e engate o travão de estacionamento, antes de efetuar este procedimento.
Mantenha mãos, pés, roupa e outras partes do corpo afastadas de quaisquer componentes em rotação, da panela de escape e de outras superfícies quentes.
Note: Para ajustar o ralenti baixo, proceda a todos os passos seguintes. Se tiver de ajustar apenas o ralenti elevado, avance diretamente para o passo 5.
Ligue o motor e deixe-o funcionar a uma velocidade intermédia durante cerca de 5 minutos para aquecer.
Desloque a alavanca do acelerador para a posição LENTO. Ajuste o parafuso do batente intermédio no sentido contrário ao dos ponteiros do relógio até deixar de estar em contacto com a alavanca do acelerador.
Dobre o batente da mola de velocidade intermédia (Figura 40) até obter uma velocidade de 1.675 ± 1.175 rpm.
Note: Verifique a velocidade com um tacómetro.

Ajuste o parafuso do batente intermédio até a velocidade intermédia atingir 25 a 50 rpm da velocidade intermédia definida no passo 3.
Note: A velocidade do ralenti final tem de ser de 1.650 ± 1.850 rpm.
Desloque a alavanca do acelerador para a posição RáPIDO.
Dobre o batente da mola de velocidade elevada (Figura 40) até obter uma velocidade de 3.350 ± 3.450 rpm.
Em caso de penetração do fluido na pele, consulte imediatamente um médico. O fluido injetado tem de ser cirurgicamente retirado por um médico no prazo de algumas horas.
Certifique-se de que todos os tubos e tubos hidráulicos se encontram bem apertados e em bom estado de conservação antes de colocar o sistema sob pressão.
Mantenha o seu corpo e mãos longe de fugas ou bicos que projetem fluido hidráulico sob pressão.
Utilize um pedaço de cartão ou papel para encontrar fugas do fluido hidráulico.
Elimine com segurança toda a pressão do sistema hidráulico antes de executar qualquer procedimento neste sistema.
| Intervalo de assistência | Procedimento de manutenção |
|---|---|
| Após as pimeiras 8 horas |
|
| A cada 400 horas |
|
Utilize um filtro Toro genuíno para substituição.
Estacione a máquina numa superfície nivelada, desligue o motor, engate o travão de estacionamento e retire a chave.
Desaperte os dois parafusos que fixam o resguardo central à máquina e retire o resguardo (Figura 41).

Coloque um recipiente de escoamento debaixo do filtro hidráulico, que se encontra no lado esquerdo da máquina (Figura 42).

Limpe a zona de montagem do filtro. Coloque um recipiente de escoamento debaixo do filtro. Desaperte lentamente, mas sem retirar, o filtro hidráulico até o óleo passar pela gaxeta e pingar pela zona lateral do filtro.
Note: Se a máquina estiver equipada com um kit hidráulico remoto, a tubagem de sucção pode ser retirada da bomba para drenar o fluido hidráulico.
Retire o filtro quando o fluxo de fluido abrandar.
Lubrifique a junta do filtro de substituição com o fluido hidráulico e gire-a à mão até a junta entrar em contacto com a cabeça do filtro. Em seguida, aperte mais 3/4 de volta.
Note: O filtro deve estar vedado.
Encha o depósito hidráulico com óleo hidráulico até o nível atingir a área assinalada na vareta. Não encha demasiado o depósito. Consulte Verificação do nível do fluido hidráulico.
Ligue e faça o motor trabalhar. Faça funcionar o cilindro de elevação até se estender e recolher e se obter um movimento de rodas para a frente e para trás.
Desligue o motor e verifique o nível de fluido no depósito, adicione mais fluido, se necessário.
Verifique se existem fugas nas ligações.
Instale o resguardo central.
O óleo usado deve ser eliminado de forma adequada.
| Intervalo de assistência | Procedimento de manutenção |
|---|---|
| Em todas as utilizações ou diariamente |
|
Verifique diariamente os tubos e tubos hidráulicos, prestando especial atenção a fugas, tubagens dobradas, suportes soltos, desgaste, juntas soltas e danos provocados pelas condições atmosféricas ou por agentes químicos. Efetue todas as reparações necessárias antes de utilizar a máquina.
Sempre que um componente do sistema hidráulico for reparado ou substituído, substitua o filtro de óleo hidráulico e carregue o sistema hidráulico.
Certifique-se de que o reservatório hidráulico e o filtro estão cheios de fluido sempre que carregar o sistema hidráulico.
Estacione a máquina numa superfície nivelada, desligue o motor, engate o travão de estacionamento e retire a chave.
Desaperte os dois parafusos que fixam o resguardo central à máquina e retire o resguardo (Figura 43).

Levante a roda da frente e uma das rodas traseiras e coloque suportes debaixo do chassis.
Para que a máquina não se mexa durante o ajuste, terá de ser levantada a roda dianteira e uma roda traseira. Isto pode causar que a máquina caia e fira alguém debaixo da máquina.
Certifique-se de que a máquina está bem apoiada, com a roda da frente e uma roda traseira levantada do chão.
Ligue o motor e mova o acelerador para permitir que o motor trabalhe a aproximadamente 1.800 rpm.
Acione a alavanca da válvula de elevação até que a barra do cilindro de elevação se mova para dentro e para fora várias vezes. Se a barra do cilindro não se mover após 10 a 15 segundos ou se a bomba fizer sons anormais, desligue imediatamente o motor e identifique a causa do problema. Inspecione o seguinte:
Filtro ou tubos de sucção soltos
Acoplador na bomba solto ou com defeito
Tubo de sucção bloqueado
Válvula de descarga com carga defeituosa
Bomba com carga defeituosa
Se o cilindro se mover dentro de 10 a 15 segundos, avance para o passo 6.
Utilize o pedal de tração para a frente e em marcha-atrás. As rodas que fiquem levantadas do chão devem rodar na direção certa.
Se as rodas rodarem na direção errada, desligue o motor, retire os tubos da parte de trás da bomba e inverta as localizações.
Se as rodas rodarem na direção certa, desligue o motor e ajuste a mola ajustando o bloqueio do pino (Figura 44). Ajuste a posição neutra da tração; consulte Ajuste da posição neutra da transmissão de tração.

Verifique o ajuste do interruptor de tração; consulte Ajuste do interruptor de tração.
Instale o resguardo central.
| Intervalo de assistência | Procedimento de manutenção |
|---|---|
| Em todas as utilizações ou diariamente |
|
Depois de terminada a operação, lave exaustivamente a máquina com uma mangueira sem agulheta, para que o excesso de pressão da água não cause contaminação ou estragos nos vedantes e rolamentos.
Certifique-se de que as aletas de arrefecimento e a área em torno da entrada de ar de refrigeração do motor se mantêm livres de detritos.
Important: A limpeza do refrigerador de óleo com água poderá acelerar o processo de corrosão, causar danos a estes componentes e compactar os resíduos; consulte Limpeza do refrigerador de óleo.
Após a limpeza, inspecione a máquina para verificar a existência de eventuais fugas de fluido hidráulico, danos ou desgaste nos componentes hidráulicos e mecânicos.
| Intervalo de assistência | Procedimento de manutenção |
|---|---|
| A cada 400 horas |
|
Limpe bem a máquina, os acessórios e o motor.
Verificação da pressão dos pneus.
Verifique todas as juntas e aperte-as sempre que necessário.
Lubrifique todos os bocais de lubrificação e pontos de articulação. Limpe a massa lubrificante em excesso.
Lixe e retoque todas as zonas riscadas, estaladas ou enferrujadas.
Efetue a manutenção da bateria e dos cabos da seguinte forma:
Retire os terminais dos pólos da bateria.
Limpe a bateria, terminais e pólos com uma escova de arame e uma solução de bicarbonato de sódio.
Cubra os terminais do cabo e os pólos da bateria com lubrificante Grafo 112X (peça Toro nº 505-47) ou vaselina para evitar qualquer corrosão.
Carregue a bateria lentamente durante 24 horas, cada 2 meses, para evitar a sulfatização do chumbo da bateria.
Note: A gravidade específica de uma bateria totalmente carregada é de 1.250.
Note: Guarde a bateria num local fresco para evitar que a carga se deteriore mais rapidamente. Para evitar que a bateria congele, certifique-se de que esta se encontra completamente carregada.
Substitua o filtro e o óleo do motor. Consulte Substituição do óleo e do filtro do motor.
Ligue o motor e faça-o funcionar a uma velocidade de ralenti durante 2 minutos.
Limpe e efetue a manutenção da estrutura do filtro de ar. Consulte Manutenção do filtro de ar.
Vede a entrada do filtro de ar e a saída de gases com fita impermeável.
Verifique a tampa do tubo de enchimento de óleo e a tampa do depósito de combustível para garantir que se encontram corretamente colocadas.