| Периодичность технического обслуживания | Порядок технического обслуживания |
|---|---|
| Через первые 20 часа |
|
| Перед каждым использованием или ежедневно |
|
Эта машина представляет собой ездовую часть технологического оборудования, предназначенного для коммерческого использования профессиональными операторами, работающими по найму. Данная машина в основном предназначена для приведения в порядок песчаных ловушек на ухоженных полях для гольфа и коммерческих площадках.
Important: Внимательно прочтите и изучите содержание данного Руководства оператора, чтобы обеспечить максимальную безопасность, оптимизировать рабочие характеристики и научиться правильно использовать эту машину. Невыполнение данных инструкций по эксплуатации или отсутствие надлежащего обучения может привести к травме. Дополнительную информацию по правилам безопасной эксплуатации, включая информацию по технике безопасности и учебные материалы, см. на веб-сайте www.Toro.com.
Вы можете напрямую связаться с компанией Toro, посетив веб-сайт www.Toro.com, для получения информации о технике безопасности при работе с изделием, обучающих материалов, информации о вспомогательных приспособлениях, для помощи в поисках дилера или для регистрации изделия.
Для выполнения технического обслуживания, приобретения оригинальных запчастей Toro или получения дополнительной информации обращайтесь в сервисный центр официального дилера или в отдел технического обслуживания компании Toro. Не забудьте при этом указать модель и серийный номер изделия. На Рисунок 1 показано расположение номера модели и серийного номера. Запишите номера в предусмотренном для этого месте.
Important: С помощью мобильного устройства вы можете отсканировать QR-код на табличке с серийным номером (при наличии), чтобы получить информацию по гарантии и запчастям, а также другие сведения об изделии.

Символ предупреждения об опасности (Рисунок 2), представленный в настоящем руководстве и установленный на машине, указывает на важные сообщения о безопасности, которые необходимо соблюдать для предотвращения несчастных случаев.

Символ предупреждения об опасности расположен над текстом, который сообщает вам о небезопасных действиях или ситуациях, этот символ сопровождается словами: ОПАСНО!, ПРЕДУПРЕЖДЕНИЕ! или ОСТОРОЖНО!.
ОПАСНО! указывает на наличие непосредственной опасности, которая, если не будет устранена, приведет к гибели или серьезной травме.
ПРЕДУПРЕЖДЕНИЕ указывает на наличие потенциальной опасности, которая, если не будет устранена, может привести к гибели или серьезной травме.
ОСТОРОЖНО! указывает на потенциально опасную ситуацию, которая, если ее не предотвратить, может привести к травмам легкой или средней тяжести.
Для выделения информации в данном руководстве используются два слова. Внимание – привлекает внимание к специальной информации, относящейся к механической части машины, и Примечание – выделяет общую информацию, требующую специального внимания.
Данное изделие соответствует требованиям всех соответствующих директив, действующих в Европе. Дополнительные сведения содержатся в отдельном документе «Декларация соответствия (DOC)» для конкретного изделия.
Раздел 4442 или 4443 Калифорнийского свода законов по общественным ресурсам запрещает использовать или эксплуатировать на землях, покрытых лесом, кустарником или травой, двигатель без исправного искрогасительного устройства, описанного в разделе 4442 и поддерживаемого в надлежащем рабочем состоянии; или двигатель должен быть изготовлен, оборудован и проходить обслуживание с учетом противопожарной безопасности.
Прилагаемое Руководство владельца двигателя содержит информацию о требованиях Агентства по охране окружающей среды США (EPA) и (или) Директивы по контролю вредных выбросов штата Калифорния, касающихся систем выхлопа, технического обслуживания и гарантии. Запасные части можно заказать у изготовителя двигателя.
КАЛИФОРНИЯ
Положение 65, Предупреждение
Согласно законам штата Калифорния считается, что выхлопные газы этого изделия содержат химические вещества, которые вызывают рак, врождённые пороки, и представляют опасность для репродуктивной функции.
Полюсные выводы аккумуляторной батареи, клеммы, и сопутствующие принадлежности содержат свинец и соединения свинца - химические вещества, которые в штате Калифорния расцениваются как вызывающие рак и нарушающие репродуктивную функцию. После работы с этими элементами необходимо мыть руки.
Лица, использующие данное вещество, должны иметь в виду, что, согласно информации, имеющейся в распоряжении компетентных органов штата Калифорния, оно содержит химическое соединение (соединения), отнесенные к категории канцерогенных, способных вызвать врождённые пороки и оказывающих вредное воздействие на репродуктивную систему человека.
Для улучшения тяговых характеристик на переднюю часть машины можно установить комплект грузов 100-6442.
Note: Если машина оборудована передним подъемником или навесным оборудованием в виде плуга, комплект грузов не может быть установлен из-за физических препятствий.
Нарушение правил работы с данным изделием может стать причиной травм. Во избежание тяжелых травм всегда соблюдайте все правила техники безопасности.
Использование этого изделия не по прямому назначению может быть опасным для пользователя и находящихся рядом людей.
Перед запуском двигателя прочтите и усвойте содержание настоящего Руководства оператора. Убедитесь, что все лица, эксплуатирующие изделие, знают, как его применять, и понимают все предупредительные надписи.
При работе на данной машине следует быть предельно внимательным. Во избежание травмирования людей или повреждения имущества запрещается отвлекаться во время работы.
Запрещается помещать руки и ноги рядом с движущимися компонентами машины.
Запрещается эксплуатировать данную машину без установленных на ней исправных ограждений и других защитных устройств.
Следите, чтобы во время движения машина находилась на достаточном расстоянии от людей.
Запрещается допускать детей в рабочую зону. Запрещается допускать детей к эксплуатации машины.
Перед техническим обслуживанием или заправкой топливом остановите машину и заглушите двигатель.
Нарушение правил эксплуатации или технического обслуживания машины может привести к травме. Чтобы снизить вероятность травмирования, следует выполнять правила техники безопасности и всегда обращать внимание на символы, предупреждающие об опасности (Рисунок 2, которые имеют следующее значение: «Осторожно!», «Предупреждение!» или «Опасно!» — указания по обеспечению личной безопасности. Несоблюдение данных инструкций может стать причиной травмы или гибели.
Дополнительная информация по технике безопасности приводится по мере необходимости во всем тексте настоящего Руководства оператора.
![]() |
Предупреждающие наклейки и инструкции по технике безопасности должны быть хорошо видны оператору и установлены во всех местах потенциальной опасности. При отсутствии или повреждении наклейки следует установить новую наклейку. |








Note: Определите левую и правую стороны машины относительно места оператора.
Note: Снимите и удалите в отходы все транспортные кронштейны и детали крепления.
Детали, требуемые для этой процедуры:
| Рулевое колесо | 1 |
| Кольцо из пеноматериала | 1 |
| Шайба | 1 |
| Контргайка | 1 |
| Крышка рулевого колеса | 1 |
Поверните передние колеса так, чтобы они были направлены точно вперед.
Наденьте кольцо из пеноматериала на рулевой вал концом меньшего диаметра вниз (Рисунок 3).

Наденьте рулевое колесо на рулевой вал (Рисунок 3).
Закрепите рулевое колесо на рулевом валу с помощью шайбы и стопорной гайки (Рисунок 3).
Затяните контргайку с моментом от 27 до 35 Н∙м.
Вдавите крышку рулевого колеса на штатное место на рулевом колесе (Рисунок 3).
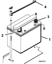
Снимите 2 барашковые гайки и шайбы, которые крепят верхнюю прижимную пластину аккумулятора к боковым удерживающим захватам (Рисунок 4). Снимите верхнюю прижимную пластину и затем аккумулятор.

Детали, требуемые для этой процедуры:
| Основной электролит, удельная плотность 1,260 (не входит в поставку) | – |
Если аккумулятор не заполнен электролитом (т.е. не активирован), долейте в него электролит с удельной плотностью 1,260.
Note: Вы можете приобрести разливной электролит в местном магазине аккумуляторов.
Электролит аккумуляторной батареи содержит серную кислоту, которая является смертельно опасным веществом в случае проглатывания и вызывает тяжелые ожоги.
Не пейте электролит и не допускайте его попадания на кожу, в глаза или на одежду. Используйте очки для защиты глаз и резиновые перчатки для защиты рук.
Заливайте электролит в аккумулятор в месте, где всегда имеется чистая вода для промывки кожи.
Снимите крышки с заливных отверстий аккумуляторной батареи и медленно заполняйте каждый элемент, пока уровень электролита не достигнет линии наполнения.
Установите на место колпачки заливных отверстий и подсоедините к штырям аккумулятора зарядное устройство с током от 3 до 4 А. Заряжайте аккумулятор током от 3 до 4 А в течение 4–8 часов.
При зарядке аккумулятора выделяются взрывоопасные газы.
Запрещается курить рядом с аккумулятором. Не допускайте появления искр или пламени вблизи аккумулятора.
Когда аккумулятор зарядится, отсоедините зарядное устройство от электророзетки и штырей аккумулятора. Дайте аккумулятору выстояться в течение 5–10 минут.
Снимите колпачки с заливных отверстий.
Медленно добавляйте электролит в каждый элемент, пока его уровень не поднимется до линии наполнения.
Important: Не переполняйте аккумулятор электролитом. Попадание электролита на другие части машины приведет к сильной коррозии и повреждению.
Установите колпачки заливных отверстий на место.
Детали, требуемые для этой процедуры:
| Болт (¼ x ⅝ дюйма) | 2 |
| Контргайка (¼ дюйма) | 2 |
Установите аккумулятор на место таким образом, чтобы отрицательная клемма была направлена к задней стороне машины (Рисунок 5).

Неправильное подключение кабелей к аккумулятору может привести к повреждению машины и кабелей, а также вызвать искрение. Искры могут вызвать взрыв аккумуляторных газов, что приведет к получению травмы.
Следует всегда отсоединять отрицательный (черный) кабель аккумулятора перед отсоединением положительного (красного) кабеля.
Следует всегда присоединять положительный (красный) кабель аккумулятора перед присоединением отрицательного (черного) кабеля.
Клеммы аккумуляторной батареи или металлические инструменты могут замкнуться на металлические детали машины, вызвав искрение. Искры могут вызвать взрыв аккумуляторных газов, что приведет к получению травмы.
При демонтаже или установке аккумулятора не допускайте прикосновения его клемм к металлическим частям машины.
Не допускайте короткого замыкания клемм аккумулятора металлическими инструментами на металлические части машины.
Закрепите положительный провод (красный) на положительной (+) клемме болтом (¼ x ⅝ дюйма) и контргайкой (Рисунок 6).

Подсоедините короткий черный провод и отрицательный кабель (черный) к отрицательной (-) клемме аккумулятора болтом (¼ x ⅝ дюйма) и контргайкой (¼ дюйма) (Рисунок 6).
Покройте клеммы и монтажные крепления техническим вазелином для предотвращения коррозии.
Наденьте на положительную клемму (+) резиновый колпачок для предотвращения возможного замыкания на массу.
Установите верхнюю прижимную пластину на боковые захваты аккумулятора, затяните шайбами и барашковыми гайками.
Детали, требуемые для этой процедуры:
| Набор(ы) передних грузов (при необходимости) | – |
Данная машина была спроектирована согласно требованиям стандарта ANSI B71.4-2017. Однако при установке на машину навесного оборудования для соответствия стандартам может потребоваться дополнительный груз.
Для определения комбинаций требуемых дополнительных грузов пользуйтесь приведенной ниже таблицей. Заказывайте запчасти у местного авторизованного дистрибьютора компании Toro.
| Навесное оборудование | Требуемый дополнительный передний груз | Каталожный № набора грузов | Наименование груза | Кол-во |
|---|---|---|---|---|
| Набор для бороны (08755) | 23 кг | 100-6442 | Груз 8 плиток по 6,5 фунта | 1 |
| Механическая щетка Rahn | 23 кг | 100-6442 | Груз 8 плиток по 6,5 фунта | 1 |
| Технологический короб QAS | 23 кг | 100-6442 | Груз 8 плиток по 6,5 фунта | 1 |
Note: Если машина оборудована комплектом для переднего гидравлического подъема (модель 08712), дополнительный груз не требуется.
Детали, требуемые для этой процедуры:
| Наклейка, указывающая год выпуска | 1 |
Приклейте наклейку с указанием года выпуска на машину в месте, показанном на рисунке (Рисунок 7).

Детали, требуемые для этой процедуры:
| Предупреждающая наклейка | 1 |
На машинах, требующих соответствия стандартам ЕС, приклейте предупреждающую наклейку по стандарту EC (№ 136-6164 по каталогу) поверх нижней части наклейки консоли (№ 132-4422 по каталогу).

Педаль управления тягой (Рисунок 9) выполняет 3 функции: обеспечивает движение машины вперед, назад и останов. Для движения вперед нажмите на верхнюю часть педали носком правой стопы, а для движения назад или для облегчения остановки при движении вперед нажмите пяткой на нижнюю часть педали(Рисунок 10). Для останова машины отпустите педаль, чтобы она двигалась свободно, или передвиньте ее в нейтральное положение . При движении вперед оператору запрещается опираться пяткой на реверс ради удобства.


Скорость движения пропорциональна усилию нажатия педали. Для получения максимальной скорости перемещения полностью нажмите педаль, когда дроссельная заслонка установлена в положение Быстро. Для достижения максимальной мощности, а также при движении вверх по склону установите рычаг дроссельной заслонки в положение Быстро, слегка нажимая при этом на педаль для поддержания высоких оборотов двигателя. Если частота вращения двигателя начинает снижаться, слегка отпустите педаль управления тягой, чтобы двигатель мог снова набрать обороты.
Important: Для получения максимальной тяговой мощности переведите рычаг дроссельной заслонки в положение FAST (Быстро) и слегка нажмите педаль тяги.
Двигайтесь на максимальной скорости только при переезде с одного участка на другой.
Запрещается перемещать машину на максимальной скорости, если используется навесное или буксируемое оборудование.
Important: Запрещается движение машины задним ходом с навесным оборудованием в опущенном (рабочем) положении, так как при этом навесное оборудование может получить серьезные повреждения.
Замок зажигания (Рисунок 11), используемый для пуска и останова двигателя, имеет 3 положения: Выкл., Работа и Пуск. Для включения электродвигателя стартера поверните ключ по часовой стрелке в положение Пуск. Когда двигатель запустится, отпустите ключ и дайте ему вернуться в положение Вкл. Для останова двигателя поверните ключ против часовой стрелки в положение Выкл.

Для запуска холодного двигателя закройте воздушную заслонку карбюратора, повернув ручку воздушной заслонки (Рисунок 11) вверх в закрытое положение. После того, как двигатель заведется, отрегулируйте воздушную заслонку на поддержание устойчивой работы двигателя. Как можно скорее откройте воздушную заслонку, передвинув ее вниз в открытое положение. Прогретый двигатель почти или совсем не требует закрытия воздушной заслонки.
Рычаг дроссельной заслонки (Рисунок 11) подсоединен к системе тяг и рычагов, расположенных на карбюраторе, и управляет ее работой. Рычаг имеет 2 положения: Медленно и Быстро. Частоту вращения двигателя можно изменять в интервале между двумя настройками.
Note: Двигатель нельзя заглушить с помощью рычага дроссельной заслонки.
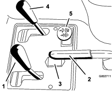
Для подъема навесного оборудования потяните рычаг подъема (Рисунок 12) назад; для опускания навесного оборудования толкните рычаг подъема вперед. Для включения плавающего положения передвиньте рычаг в положение фиксации. Установив навесное оборудование в требуемое положение, отпустите рычаг, и он вернется в нейтральное положение.

Note: Машина оснащена гидроцилиндром подъема двойного действия. В определенных условиях работы к навесному оборудованию может быть приложено давление прижима.
Для включения стояночного тормоза (Рисунок 12) потяните рычаг стояночного тормоза назад. Для отключения стояночного тормоза толкните рычаг вперед.
Note: Для отключения стояночного тормоза можно медленно нажать педаль управления тягой вперед и назад.
Счетчик моточасов (Рисунок 12) показывает полную наработку машины в часах. Счетчик моточасов начинает работать при повороте ключа зажигания в положение Вкл.
Передвиньте рычаг, находящийся на левой стороне сиденья (Рисунок 13), вперед, переместите сиденье в нужное положение и отпустите рычаг, чтобы зафиксировать сиденье в выбранном положении.

Закрывайте клапан отключения подачи топлива(Рисунок 14) перед помещением машины на хранение или транспортировкой ее в прицепе.

Note: Технические характеристики и конструкция могут быть изменены без уведомления.
| Ширина без навесного оборудования | 148 см |
| Ширина с граблями, модель 08751 | 191 см |
| Длина без навесного оборудования | 164 см |
| Высота | 115 см |
| Колесная база | 109 см |
| Чистая масса | |
| Модель 08703 | 452 кг |
| Модель 08705 | 461 кг |
Для улучшения и расширения возможностей машины можно использовать ряд утвержденных компанией Toro вспомогательных приспособлений и навесного оборудования. Обратитесь в сервисный центр официального дилера или дистрибьютора или посетите сайт www.Toro.com, на котором приведен список всех утвержденных навесных орудий и вспомогательных приспособлений.
Для поддержания оптимальных рабочих характеристик машины и регулярного прохождения сертификации безопасности всегда приобретайте только оригинальные запасные части и приспособления компании Toro. Использование запасных частей и приспособлений, изготовленных другими производителями, может быть опасным и привести к аннулированию гарантии на изделие.
Note: Определите левую и правую стороны машины относительно места оператора.
Запрещается допускать к эксплуатации или обслуживанию данной машины детей или неподготовленных людей. Минимальный возраст оператора устанавливается местными правилами и нормами. Владелец несет ответственность за подготовку всех операторов и механиков.
Ознакомьтесь с приемами безопасной эксплуатации оборудования, органами управления и знаками безопасности.
Освойте экстренную остановку машины и двигателя.
Проверьте надежность крепления и исправность органов контроля присутствия оператора, защитных выключателей и щитков. Не приступайте к эксплуатации машины, пока не убедитесь в правильной работе этих устройств.
Перед работой обязательно осмотрите машину, чтобы убедиться в исправном рабочем состоянии компонентов и крепежных деталей. Замените изношенные или поврежденные компоненты и крепежные детали.
Осмотрите участок, где будет использоваться машина, и удалите все посторонние предметы, которые могут быть отброшены машиной.
Будьте предельно осторожны при обращении с топливом. Топливо легко воспламеняется, а его пары взрывоопасны.
Потушите все сигареты, сигары, трубки и другие источники возгорания.
Используйте только разрешенную к применению емкость для топлива.
Запрещается снимать крышку топливного бака и доливать топливо в бак во время работы двигателя или когда двигатель нагрет.
Запрещается доливать или сливать топливо в закрытом пространстве.
Запрещается хранить машину или емкость с топливом в местах, где есть открытое пламя, искры или малая горелка, используемая, например, в водонагревателе или другом оборудовании.
В случае разлива топлива не пытайтесь запустить двигатель; пока пары топлива не рассеются, следите, чтобы не возникло возгорания.
| Периодичность технического обслуживания | Порядок технического обслуживания |
|---|---|
| Через первые 20 часа |
|
| Перед каждым использованием или ежедневно |
|
Двигатель поставляется с заправленным маслом картером, однако до и после первого пуска двигателя необходимо проверить уровень масла.
Емкость картера двигателя с фильтром составляет приблизительно 1,66 л.
Используйте высококачественное моторное масло, удовлетворяющее следующим техническим условиям:
Уровень по классификации API: SL или выше
Предпочтительный тип масла: SAE 30 – свыше 4 °C
Установите машину на ровной поверхности, выключите двигатель, включите стояночный тормоз и извлеките ключ.
Наклоните сиденье вперед.
Выньте масломерный щуп (Рисунок 15) и протрите его чистой ветошью.

Вставьте масломерный щуп в трубку и убедитесь в том, что он вставлен до упора. Выньте щуп из маслозаливной горловины и проверьте уровень масла. Если уровень масла низкий, снимите крышку заливной горловины с крышки клапана и медленно долейте масло до метки Full на щупе.
Important: Следите, чтобы уровень масла находился между верхним и нижним пределами на масломерном щупе. Отказ двигателя может произойти как вследствие переполнения, так и вследствие недостатка моторного масла.
Вставьте масломерный щуп до упора.
Important: Для обеспечения надлежащей герметичности картера двигателя щуп должен быть вставлен в маслозаливную горловину до упора. Нарушение герметичности картера может привести к повреждению двигателя.
Поверните сиденье на место.
Емкость топливного бака: 25 л.
Рекомендуемое топливо:
Для наилучших результатов используйте только чистый, свежий (полученный в течение последних 30 дней), неэтилированный бензин с октановым числом 87 или выше (метод оценки (R+M)/2).
Этиловый спирт: приемлемым считается бензин, содержащий по объему до 10% этилового спирта или 15% MTBE (метил-трет-бутилового эфира). Этиловый спирт и MTBE — это разные вещества. Запрещается использовать бензин с содержанием этилового спирта 15% (E15) по объему. Запрещается использовать бензин, содержащий более 10% этилового спирта по объему, такой как E15 (содержит 15% этилового спирта), E20 (содержит 20% этилового спирта) или E85 (содержит до 85% этилового спирта). Использование запрещенного к применению бензина может привести к нарушениям эксплуатационных характеристик и (или) повреждениям двигателя, которые не будут покрываться гарантией.
Запрещается использовать бензин, содержащий метанол.
Запрещается хранить топливо без стабилизирующей присадки в топливных баках или контейнерах на протяжении всего зимнего периода.
Не добавляйте масло в бензин.
Important: Запрещается использовать топливные присадки, за исключением стабилизатора (кондиционера) топлива. Не используйте стабилизаторы топлива на спиртовой основе, такой как этиловый, метиловый или изопропиловый спирт.
Очистите поверхность вокруг крышки топливного бака (Рисунок 16).
Снимите крышку топливного бака.
Заправляйте бак до уровня, не доходящего примерно на 25 мм до верха бака (нижнего уровня заливной горловины). Не допускайте переполнения.

Установите крышку.
Во избежание возгорания протрите насухо все поверхности, на которые могло попасть топливо.
Important: Запрещается использовать метанол, бензин, содержащий метанол, или бензин, содержащий более 10% этанола, так как это может повредить топливную систему. Не допускается подмешивать в бензин масло.
| Периодичность технического обслуживания | Порядок технического обслуживания |
|---|---|
| Перед каждым использованием или ежедневно |
|
В бак гидросистемы заливается на заводе примерно 18,9 л высококачественной гидравлической жидкости. Уровень гидравлической жидкости следует проверять, когда жидкость холодная. Машина должна находиться в транспортном положении. Если уровень жидкости на измерительном щупе находится ниже отметки Add (Добавить), долейте жидкость, чтобы довести его до середины приемлемого диапазона. Не переполняйте бак. Если уровень жидкости находится между метками Full (Полный) и Add (Добавить), добавлять жидкость не требуется. Уровень гидравлической жидкости следует проверить перед первым запуском двигателя и в дальнейшем проверять ежедневно.
Рекомендуемая жидкость для замены:
| Высококачественная всесезонная гидравлическая жидкость Toro Premium (поставляется в 19-литровых емкостях или 208-литровых бочках – см. документацию по деталям или обратитесь к дистрибьютору компании Toro, чтобы узнать номера деталей по каталогу) |
Рекомендуемая гидравлическая жидкость: Всесезонная гидравлическая жидкость Toro Premium
Другие варианты рабочих жидкостей: при отсутствии жидкости производства компании Toro допускается использование других стандартных рабочих жидкостей на нефтяной основе при условии, что они соответствуют всем указанным далее характеристикам материала и требованиям отраслевых ТУ. Проконсультируйтесь у своего поставщика рабочих жидкостей, чтобы убедиться в том, что она соответствует указанным характеристикам.
Note: Компания Toro не несет ответственности за повреждения, вызванные использованием нерекомендованной заменяющей жидкости, поэтому используйте только продукты от надежных изготовителей, рекомендациям которых можно доверять.
| Противоизносное гидравлическое масло с высоким индексом вязкости и низкой температурой застывания, ISO VG 46, Универсальное | |
| Свойства материалов: | |
| Вязкость, ASTM D445 | сСт при 40 °C 44 – 48 сСт при 100 °C 7,9 – 9,1 |
| Индекс вязкости по ASTM D2270: | 140 или выше |
| Температура текучести, ASTM D97 | От -37 °C до -45 °C |
| FZG, стадия отказа | 11 или лучше |
| Содержание воды (в новой жидкости): | 500 частей на миллион (максимум) |
| Отраслевые ТУ: | |
| Vickers I-286-S, Vickers M-2950-S, Denison HF-0, Vickers 35 VQ 25 (Eaton ATS373-C) | |
Для транспортных средств (в отличие от применения на промышленных предприятиях) необходимо использовать надлежащие загущенные гидравлические жидкости с комплексом противоизносных присадок ZnDTP или ZDDP (но не беззольные жидкости).
Important: Многие гидравлические жидкости почти бесцветны, что затрудняет обнаружение точечных утечек. Красный краситель для добавки в жидкость гидросистемы поставляется во флаконах емкостью 20 мл. Одного флакона достаточно для 15-22л гидравлической жидкости. № по каталогу 44-2500 для заказа у местного официального дистрибьютора компании Toro.
Синтетическая биоразлагаемая гидравлическая жидкость
(поставляется в 19-литровых емкостях или 208-литровых бочках – см. документацию по деталям или обратитесь к дистрибьютору компании Toro, чтобы узнать номера деталей по каталогу)
Эта высококачественная синтетическая биоразлагаемая жидкость была протестирована и признана совместимой с данной моделью машины производства компании Toro. У синтетических жидкостей других торговых марок могут быть проблемы с совместимостью, и компания Toro не может нести ответственность за несанкционированную замену жидкостей.
Note: Данная синтетическая жидкость не совместима с имевшейся ранее в продаже биоразлагаемой жидкостью компании Toro. Для получения дополнительной информации обратитесь к дистрибьютору компании Toro.
Другие варианты рабочих жидкостей:
Mobil EAL Envirosyn H 46 (США)
Mobil EAL Hydraulic Oil 46 (в других странах)
Установите машину на ровной поверхности, выключите двигатель, включите стояночный тормоз и извлеките ключ.
Очистите область вокруг крышки гидравлического бака, чтобы исключить попадание мусора в бак (Рисунок 17).

Снимите крышку с заливной горловины бака.
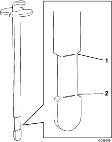
Извлеките масломерный щуп из заливной горловины и протрите его чистой ветошью.
Вставьте щуп в заливную горловину; затем извлеките его и проверьте уровень жидкости.
Note: Уровень жидкости должен быть между верхней и нижней отметками (в суженной области) на щупе (Рисунок 18).

Если уровень жидкости низкий, медленно заливайте в бак соответствующую гидравлическую жидкость, пока уровень не достигнет суженной области на щупе.
Note: Не переполняйте бак.
Установите на место крышку бака.
Important: Для предотвращения загрязнения системы следует перед вскрытием очистить верхнюю поверхность емкости с гидравлической жидкостью. Убедитесь в чистоте выливного желоба и воронки.
| Периодичность технического обслуживания | Порядок технического обслуживания |
|---|---|
| Перед каждым использованием или ежедневно |
|
Перед эксплуатацией машины проверьте давление воздуха в шинах (Рисунок 19). Давление воздуха в передних и задних шинах должно быть следующим:
Шины с протектором: 0,70 бар
Note: Если требуется дополнительное сцепление с поверхностью для работы отвала, снизьте давление до 0,55 бар.
Гладкие шины: от 0,55 до 0,70 бар

| Периодичность технического обслуживания | Порядок технического обслуживания |
|---|---|
| Через первые 8 часа |
|
| Через каждые 100 часов |
|
Затяните зажимные колесные гайки с моментом 95–122 Н∙м.
Владелец или пользователь несет полную ответственность за любые несчастные случаи с людьми, а также за нанесение ущерба имуществу, и должен предпринять все меры для предотвращения таких случаев.
Используйте подходящую одежду, включая защитные очки, нескользящую прочную обувь, длинные брюки и средства защиты органов слуха. Завяжите длинные волосы на затылке и не носите висячие ювелирные украшения.
Запрещается управлять машиной в состоянии болезни, усталости, а также под воздействием алкоголя или сильнодействующих лекарственных препаратов.
Не перевозите на машине пассажиров, а также не допускайте людей и домашних животных в зону работы машины.
Эксплуатируйте машину только в условиях хорошей видимости, чтобы уберечься от ям или скрытых опасностей.
Не работайте на мокрой траве. Пониженная тяга может вызвать проскальзывание.
Прежде чем запускать двигатель, убедитесь, что все приводы находятся в нейтральном положении, включите стояночный тормоз и займите место оператора.
Прежде чем начать движение задним ходом, посмотрите назад и вниз и убедитесь, что путь свободен.
Будьте осторожны, приближаясь к закрытым поворотам, кустарникам, деревьям или к другим объектам, которые могут ухудшать обзор.
Запрещается работать в непосредственной близости от обрывов, канав или насыпей. В случае наезда колесом на край обрыва или канавы, а также в случае обрушения их кромки машина может внезапно опрокинуться.
В случае удара о какой-либо предмет или при появлении аномальной вибрации остановите машину и проверьте навесное оборудование. Перед возобновлением работы необходимо устранить все неисправности.
При выполнении поворотов, а также при пересечении дорог и тротуаров на машине замедляйте ход и будьте внимательны. Всегда уступайте дорогу другим транспортным средствам.
Запрещается включать двигатель в закрытом пространстве, где могут накапливаться выхлопные газы.
Запрещается оставлять работающую машину без присмотра.
Прежде чем покинуть рабочее место оператора, выполните следующие действия:
Установите машину на ровной поверхности.
Опускание навесных орудий.
Включите стояночный тормоз.
Выключите двигатель и извлеките ключ из замка зажигания.
Дождитесь остановки всех движущихся частей.
Запрещается работать на машине, если существует вероятность удара молнией.
Не используйте машину в качестве буксирного автомобиля.
В случаях, когда это необходимо, увлажняйте поверхности перед обработкой, чтобы снизить образование пыли.
Используйте только приспособления, навесные орудия и запасные части, утвержденные к применению компанией Toro®.
Выработайте собственные процедуры и правила для эксплуатации машины на склонах. Эти процедуры должны включать проверку всей площадки, чтобы определить, на каких холмах можно работать безопасно. При выполнении этого осмотра всегда руководствуйтесь здравым смыслом и правильно оценивайте ситуацию.
Основная опасность при работе на склонах — потеря управляемости и опрокидывание машины, которое может привести к травме или гибели. Оператор несет ответственность за безопасную работу на склонах. Эксплуатация машины на любых склонах требует максимальной осторожности.
Основная опасность при работе на склонах — потеря управляемости и опрокидывание машины, которое может привести к травме или гибели. Эксплуатация машины на любых склонах требует максимальной осторожности.
При работе на склоне двигайтесь на низкой скорости.
Если у вас возникают трудности при работе на склоне, не эксплуатируйте на нем машину.
Остерегайтесь ям, выбоин, ухабов, камней и других скрытых препятствий. При движении по неровной поверхности машина может перевернуться. Высокая трава может скрывать различные препятствия.
Выберите низкую скорость хода, чтобы не пришлось останавливаться или переключать передачи, когда вы будете находиться на склоне.
Опрокидывание может произойти еще до потери сцепления колес с покрытием.
Старайтесь не работать на влажной траве. Шины могут потерять сцепление с поверхностью даже при нормальной работе тормозов.
Старайтесь не начинать движение, не останавливаться и не поворачивать на склоне.
Все перемещения на склонах должны быть плавными и выполняться на малой скорости. Не изменяйте резко скорость или направление движения машины.
Запрещается эксплуатировать машину рядом с обрывами, канавами, насыпями или водоемами. При переезде колеса через бровку обрыва или канавы, а также в случае обрушения кромки машина может внезапно опрокинуться. Установите для себя безопасную зону между машиной и любой опасностью (две ширины машины).
Уберите ногу с педали управления тягой, убедитесь, что педаль находится в нейтральном положении, и включите стояночный тормоз.
Установите рычаг воздушной заслонки вперед в положение Вкл. (при запуске холодного двигателя), а рычаг дроссельной заслонки в положение Медленно.
Important: Если машина эксплуатируется при температуре ниже 0°C, дайте ей прогреться перед работой. Это предотвратит повреждение гидростата и контура тяги.
Для запуска двигателя вставьте ключ в замок зажигания и поверните его по часовой стрелке. Когда двигатель заведется, отпустите ключ.
Note: Отрегулируйте воздушную заслонку для поддержание устойчивой работы двигателя.
Important: Для предотвращения перегрева электродвигателя стартера не включайте стартер более, чем на 10 секунд. После непрерывного прокручивания стартером в течение 10 секунд подождите 60 секунд до следующего включения стартера.
Чтобы выключить двигатель, переведите рычаг дроссельной заслонки в положение Медленно и поверните ключ зажигания в положение Выкл.
Note: Для предотвращения случайного запуска выньте ключ из замка зажигания.
Перед постановкой машины на хранение закройте клапан отключения подачи топлива.
Осмотр машины при работающем двигателе может привести к получению травмы.
Прежде чем проверять машину на утечки масла, ослабление крепежа и и другие неисправности, убедитесь, что двигатель выключен и все движущиеся части остановлены.
Отсоединение или неисправность блокировочных выключателей может привести к непредвиденному срабатыванию машины и стать причиной травмы.
Не вмешивайтесь в работу блокировочных выключателей.
Ежедневно проверяйте работу блокировочных выключателей и заменяйте все поврежденные выключатели перед эксплуатацией машины.
Система блокировок предотвращает проворачивание или запуск двигателя, если педаль управления тягой не находится в нейтральном положении. Кроме того, двигатель должен остановиться при перемещении педали управления тягой вперед или назад при отсутствии оператора на сиденье.
Расположите машину на свободной от мусора просторной открытой площадке и убедитесь в отсутствии посторонних лиц. Выключите двигатель.
Займите место оператора и включите стояночный тормоз.
Попытайтесь завести двигатель, перемещая педаль управления тягой вперед и назад.
Note: Если двигатель проворачивается стартером, это может означать, что система блокировок неисправна. Безотлагательно отремонтируйте ее.Если двигатель не проворачивается, то система работает должным образом.
Оставаясь на сиденье, установите педаль управления тягой в нейтральное положение, включите стояночный тормоз и запустите двигатель.
Встаньте с сиденья и медленно нажмите педаль управления тягой.
Note: Двигатель должен остановиться в течение 1–3 секунд. Устраните неисправность, если система не работает надлежащим образом.
Новым двигателям требуется определенное время, чтобы начать работать на полную мощность. В новых системах привода выше трение, и двигатель подвергается дополнительной нагрузке.
Период обкатки занимает первые 8 часов рабочего времени.
Поскольку первые часы эксплуатации имеют решающее значение для безотказной работы машины в будущем, внимательно наблюдайте за ее функционированием и характеристиками, чтобы обнаружить и устранить незначительные неполадки, которые могут перерасти в серьезные проблемы. В период обкатки чаще осматривайте машину на наличие признаков течи масла, ослабленных деталей крепления или других неполадок.
Прежде чем покинуть машину, припаркуйте ее на ровной горизонтальной поверхности, включите стояночный тормоз, выключите двигатель, извлеките ключ и дождитесь остановки всех движущихся частей.
Для уменьшения опасности возгорания очистите от травы и загрязнений глушитель и моторный отсек. Удалите следы утечек масла или топлива.
Перед постановкой машины на хранение в закрытом пространстве дайте двигателю остыть.
Перекрывайте подачу топлива при хранении или транспортировке машины.
Запрещается хранить машину или емкость с топливом вблизи открытого пламени, искр или малых горелок, используемых, например, в водонагревателях или другом оборудовании.
Следите, чтобы все компоненты машины были в исправном состоянии, а все крепежные детали были затянуты.
Если предупреждающая наклейка изношена, повреждена или отсутствует, установите новую наклейку.
В случае экстренной ситуации допускается буксировка машины на небольшое расстояние. Однако не рекомендуется использовать буксировку в качестве стандартной процедуры.
Important: Во избежание выхода из строя системы привода не буксируйте машину со скоростью свыше 1,6 км/ч. Если машину требуется перевезти на расстояние более 50 м, транспортируйте ее на грузовом автомобиле или прицепе. При слишком быстрой буксировке колеса машины могут заблокироваться. Если это произошло, остановите буксировку и подождите, пока давление в контуре тяги не стабилизируется, после чего можно возобновить буксировку на малой скорости.
При погрузке машины на прицеп или грузовик используйте широкий наклонный въезд.
Надежно привяжите машину в точках крепления.
Инструкции по эксплуатации конкретного навесного оборудования см. в Руководстве оператора для данного оборудования.
Попрактикуйтесь в вождении машины, т.к. ее рабочие характеристики отличаются от характеристик многих технологических машин. При эксплуатации машины следует учитывать 2 момента: скорость работы трансмиссии и частоту вращения двигателя.
Для поддержания более-менее постоянной частоты вращения двигателя медленно нажимайте на педаль тяги. Это позволяет двигателю поддерживать скорость движения машины. И наоборот, при быстром нажатии на педаль управления тягой частота оборотов двигателя снижается, что приводит к недостатку крутящего момента двигателя для движения машины. Поэтому для передачи на колеса максимальной мощности передвиньте рычаг дроссельной заслонки в положение Быстро и слегка нажмите на педаль управления тягой. Для сравнения: максимальная скорость движения без нагрузки достигается, когда рычаг дроссельной заслонки находится в положении Быстро, а педаль управления тягой нажимается медленно, но до отказа. Для передачи на колеса максимального крутящего момента следует поддерживать достаточно высокую частоту вращения двигателя.
Во избежание опрокидывания или потери управляемости будьте внимательны при эксплуатации машины.
Будьте осторожны при въезде и выезде из песколовок.
Будьте особо внимательны вблизи канав, ручьев или других опасных мест.
Будьте осторожны при эксплуатации машины на крутых склонах.
Снижайте скорость при выполнении крутых поворотов или при поворотах на склонах.
Старайтесь останавливаться и трогаться с места плавно.
Переключение с задней передачи на переднюю должно производиться только после полной остановки.
Note: Если стыковочный узел навесного оборудования заклинило на стыковочном узле тягового блока, вставьте монтировку или отвертку в паз для поддевания, чтобы разъединить эти части (Рисунок 20).

Note: Определите левую и правую стороны машины (при взгляде с рабочего места).
Если вы оставите ключ в замке зажигания, кто-нибудь может случайно запустить двигатель и нанести серьезные травмы вам или окружающим.
Перед выполнением любого технического обслуживания вынимайте ключ из замка зажигания.
| Периодичность технического обслуживания | Порядок технического обслуживания |
|---|---|
| Через первые 8 часа |
|
| Через первые 20 часа |
|
| Перед каждым использованием или ежедневно |
|
| Через каждые 25 часов |
|
| Через каждые 100 часов |
|
| Через каждые 200 часов |
|
| Через каждые 400 часов |
|
| Через каждые 800 часов |
|
| Через каждые 1500 часов |
|
Important: См. руководство владельца двигателя для получения информации о дополнительном техническом обслуживании.
Note: Чтобы получить электрическую или гидравлическую схему для вашей машины, посетите веб-сайт www.Toro.com.
Скопируйте эту страницу для повседневного использования.
| Пункт проверки при техобслуживании | Дни недели: | ||||||
|---|---|---|---|---|---|---|---|
| Пн. | Вт. | Ср. | Чт. | Пт. | Сб. | Вс. | |
| Проверьте работу защитных блокировок. | |||||||
| Проверьте работу рулевого управления. | |||||||
| Проверьте уровень топлива. | |||||||
| Проверьте уровень масла в двигателе. | |||||||
| Проверьте состояние воздушного фильтра. | |||||||
| Очистите охлаждающие ребра двигателя. | |||||||
| Убедитесь в отсутствии необычных шумов двигателя. | |||||||
| Проверьте, нет ли необычных шумов при работе. | |||||||
| Проверьте уровень гидравлической жидкости. | |||||||
| Проверьте гидравлические шланги на наличие повреждений. | |||||||
| Проверьте систему на наличие утечек жидкостей. | |||||||
| Проверьте давление воздуха в шинах. | |||||||
| Проверьте работу приборов. | |||||||
| Восстановите поврежденное лакокрасочное покрытие. | |||||||
| Отметки о проблемных зонах | ||
| Проверил: | ||
| Пункт | Дата | Информация |
Important: Детали крепления крышек этой машины являются невыпадающими и остаются на крышке после ее демонтажа. Ослабьте все детали крепления на каждой крышке на несколько оборотов, чтобы крышка была свободна, но оставалась закреплена, а затем ослабьте их так, чтобы снять крышку. Это предотвращает случайный срыв болтов с фиксаторов.
Прежде чем регулировать, чистить, ремонтировать машину или покидать рабочее место, выполните следующее:
Установите машину на ровной поверхности.
Переведите рычаг дроссельной заслонки в положение «Малые обороты холостого хода».
Опустите навесное оборудование.
Убедитесь, что педаль управления тягой находится в нейтральном положении.
Включите стояночный тормоз.
Выключите двигатель и извлеките ключ из замка зажигания.
Дождитесь остановки всех движущихся частей.
Прежде чем выполнять техническое обслуживание, дайте компонентам машины остыть.
По возможности не выполняйте техническое обслуживание машины с работающим двигателем. Держитесь на безопасном расстоянии от движущихся частей.
При необходимости используйте подъемные опоры для поддержки машины и компонентов.
Осторожно сбрасывайте давление из компонентов с накопленной энергией.
Механические или гидравлические домкраты могут не удержать машину, что может привести к серьезной травме.
Для поддержки машины используйте подъемные опоры.
Точки поддомкрачивания:
Машина оснащена пресс-масленками, которые необходимо регулярно заправлять универсальной консистентной смазкой № 2 на литиевой основе через каждые 100 часов работы.
Смажьте следующие подшипники и втулки:
Подшипник переднего колеса (1 шт.) (Рисунок 23)

Шарнир педали управления тягой (1 шт.) (Рисунок 24)

Задняя навеска (5 шт.) (Рисунок 25)

Конец штока гидроцилиндра рулевого управления (1 шт.) – только для модели 08705 (Рисунок 26)

Шарнир поворотного кулака (Рисунок 27)
Note: Для утопленной пресс-масленки на шарнире поворотного кулака (Рисунок 27) требуется переходник к смазочному пистолету. Закажите деталь № по кат. 107-1998 Toro у официального дистрибьютора компании Toro.

| Периодичность технического обслуживания | Порядок технического обслуживания |
|---|---|
| Через каждые 100 часов |
|
Тщательно протрите пресс-масленку, чтобы посторонние вещества не могли попасть в подшипник или втулку.
Закачайте консистентную смазку в подшипник или втулку.
Удалите избыток смазки.
Перед проверкой уровня масла или добавлением масла в картер выключите двигатель.
Не изменяйте настройку регулятора оборотов двигателя и не превышайте допустимую частоту вращения двигателя.
| Периодичность технического обслуживания | Порядок технического обслуживания |
|---|---|
| Через первые 20 часа |
|
| Через каждые 100 часов |
|
Установите машину на ровной поверхности, выключите двигатель, включите стояночный тормоз и извлеките ключ.
Снимите маслосливную пробку (Рисунок 28) и дайте маслу стечь в сливной поддон. Когда масло перестанет течь, установите маслосливную пробку на место.

Снимите масляный фильтр (Рисунок 28).
Нанесите тонкий слой чистого масла на новую прокладку фильтра.
Вкручивайте фильтр от руки до тех пор, пока прокладка не коснется переходника фильтра, а затем затяните еще на 1/2-3/4 оборота.
Important: Не допускайте чрезмерной затяжки фильтра.
Добавьте масло в картер двигателя; см. Проверка уровня масла в двигателе.
Утилизируйте должным образом использованное масло.
| Периодичность технического обслуживания | Порядок технического обслуживания |
|---|---|
| Через каждые 200 часов |
|
Проверьте корпус воздухоочистителя на отсутствие повреждений, которые могли бы вызвать утечку воздуха. Замените все поврежденные детали. Проверьте всю систему подачи воздуха на наличие утечек, повреждений, или ослабления хомутов для крепления шлангов.
Не заменяйте воздушный фильтр без необходимости; это только повышает вероятность попадания грязи в двигатель при извлечении фильтра.
Убедитесь, что крышка установлена правильно и плотно прилегает к корпусу воздухоочистителя.
| Периодичность технического обслуживания | Порядок технического обслуживания |
|---|---|
| Через каждые 200 часов |
|
Отпустите защелки, фиксирующие крышку воздухоочистителя на его корпусе (Рисунок 29).

Снимите крышку корпуса воздухоочистителя.
Перед снятием фильтра удалите значительные скопления мусора между наружной стороной фильтра грубой очистки и корпусом с помощью сжатого воздуха низкого давления (40 фунтов на кв. дюйм, чистого и сухого).
Important: Старайтесь не использовать сжатый воздух высокого давления, который может занести грязь через фильтр в воздухозаборный тракт. Описанный процесс очистки предотвращает проникновение мусора в воздухозабор при снятии первичного фильтра.
Снимите и замените фильтр.
Note: Проверьте новый фильтр на отсутствие повреждений при транспортировке, осмотрев уплотнительный конец фильтра и корпус. Не используйте поврежденный фильтрующий элемент. Вставьте новый фильтр, нажимая на наружный обод элемента, чтобы посадить его в корпус. Не давите на упругую середину фильтра.
Note: Во избежание повреждения фильтрующего элемента не рекомендуется очищать использованный элемент.
Очистите канал для выброса грязи, расположенный в съемной крышке.
Извлеките из крышки резиновый выпускной клапан, очистите полость и замените клапан.
Установите крышку таким образом, чтобы резиновый выпускной клапан был в нижнем положении, примерно между «5 и 7 часами», если смотреть с торца.
Зафиксируйте защелки.
| Периодичность технического обслуживания | Порядок технического обслуживания |
|---|---|
| Через каждые 800 часов |
|
Тип: Champion RC14YC (или эквивалентная)
Зазор: 0,76 мм
Note: Свечи зажигания обычно работают в течение длительного времени; однако при нарушении нормальной работы двигателя их необходимо снять и проверить.
Удалите загрязнение вокруг каждой свечи зажигания, чтобы после ее извлечения в цилиндр двигателя не могла попасть грязь.
Отсоедините провода от свечей зажигания и выверните свечи зажигания из головки цилиндра.
Проверьте состояние бокового электрода, центрального электрода и изолятора на отсутствие повреждений.
Important: Треснувшая, загрязненная, или иным образом неисправная свеча зажигания должна быть заменена. Не используйте пескоструйную обработку для очистки электродов , не скоблите электроды и не очищайте их с помощью проволочной щетки, так как абразивная пыль со свечи может случайно попасть в цилиндр. Результатом обычно является повреждение двигателя.
Установите между центральным и боковым электродами зазор 0,76 мм; см. Рисунок 30. Установите свечу зажигания с отрегулированным зазором и уплотнительную прокладку, затяните свечу с моментом 23 Н∙м. Если динамометрический ключ не используется, надежно затяните свечу.

| Периодичность технического обслуживания | Порядок технического обслуживания |
|---|---|
| Через каждые 800 часов |
|
Проходной фильтр встраивается в топливный трубопровод. При необходимости замены фильтра выполните следующие действия:
Закройте отсечной топливный клапан, ослабьте шланговый хомут на обращенной к карбюратору стороне фильтра и отсоедините от фильтра топливный трубопровод (Рисунок 31).

Подставьте под фильтр сливной поддон, ослабьте оставшийся шланговый хомут и снимите фильтр.
Установите новый фильтр так, чтобы стрелка на корпусе фильтра была направлена от топливного бака (к карбюратору).
Наденьте шланговые хомуты на концы топливных трубопроводов.
Установите топливные трубки на топливный фильтр и закрепите их шланговыми хомутами.
Note: Убедитесь в том, что стрелка на боковой стороне фильтра направлена к карбюратору.
Прежде чем приступать к ремонту машины, отсоедините аккумулятор. Сначала отсоедините отрицательную клемму, затем положительную. При повторном подключении аккумулятора сначала подсоедините положительную, затем отрицательную клемму.
Заряжайте аккумулятор в открытом, хорошо проветриваемом месте, вдали от искр и открытого огня. Отсоединяйте зарядное устройство перед подсоединением или отсоединением аккумулятора. Используйте защитную одежду и электроизолированный инструмент.
Если необходимо запустить машину от внешнего источника, вместо положительного штыря аккумулятора можно использовать дополнительный положительный штырь (расположенный на электромагните стартера) (Рисунок 32).

Блок предохранителей (Рисунок 33) расположен под сиденьем.

| Периодичность технического обслуживания | Порядок технического обслуживания |
|---|---|
| Через каждые 25 часов |
|
Поддерживайте надлежащий уровень электролита в аккумуляторе и содержите в чистоте верхнюю поверхность аккумулятора. Если машина хранится при очень высокой температуре, то аккумулятор будет разряжаться гораздо быстрее, чем при хранении машины в прохладном месте.
Поддерживайте чистоту верхней поверхности аккумулятора, для чего периодически промывайте его кистью, смоченной в растворе аммиака или пищевой соды. После очистки промойте верхнюю поверхность водой. При очистке не снимайте заливочные колпачки.
Кабели аккумулятора должны быть затянуты на клеммах, чтобы был хороший электрический контакт.
Если на клеммах появляется коррозия, отсоедините кабели (сначала отрицательный (–) кабель) и зачистите по отдельности зажимы и клеммы. Подсоедините кабели (сначала положительный (+) кабель) и покройте клеммы техническим вазелином.
Проверяйте уровень электролита через каждые 25 часов работы, а если машина находится на хранении, то через каждые 30 дней.
Для поддержания уровня электролита в элементах аккумулятора используйте дистиллированную или деминерализованную воду. Не заливайте электролит в элементы выше уровня метки.
Если машина движется, когда педаль управления тягой находится в нейтральном положении, отрегулируйте кулачок тяги.
Установите автомобиль на ровной поверхности, выключите двигатель, включите стояночный тормоз и извлеките ключ.
Ослабьте 2 винта, которые крепят центральный кожух к машине, и снимите кожух (Рисунок 34).

Приподнимите над полом одно переднее и одно заднее колесо и установите под раму подставки.
Одно переднее и одно заднее колесо должны быть в подвешенном состоянии, иначе машина будет двигаться во время регулировки. Это может привести к падению машины и травмированию находящегося под ней человека.
Убедитесь в надежности опоры машины в положении, когда одно переднее колесо и одно заднее колесо находятся в подвешенном состоянии.
Ослабьте контргайку на кулачке регулировки тяги (Рисунок 35).

Окончательную настройку кулачка регулировки тяги следует выполнять при работающем двигателе. Контакт с движущимися частями или горячими поверхностями может привести к травме.
Держите руки, ноги, лицо и другие части тела на безопасном расстоянии от вращающихся деталей, а также от глушителя и других горячих поверхностей.
Запустите двигатель и поверните шестигранник кулачка (Рисунок 35) в обоих направлениях, чтобы определить среднюю точку хода педали в нейтральном положении.
Затяните контргайку для фиксации регулировки.
Выключите двигатель.
Установите центральный кожух.
Удалите подъемные опоры и опустите машину на пол мастерской.
Убедитесь, что машина не движется, когда педаль управления тягой находится в нейтральном положении.
Отрегулируйте трансмиссию в нейтральном положении; см. Регулировка нейтрали тягового привода.
Активируйте рычаг насоса, чтобы убедиться, что все детали правильно установлены и двигаются свободно.
Регулируйте винт до тех пор, пока зазор не составит от 0,8 до 2,3 мм; см. Рисунок 35.
Проверьте правильность функционирования.
На заводе-изготовителе педаль управления тягой настраивается на максимальную величину транспортной и задней скорости, однако может потребоваться регулировка, если длина хода педали меньше длины хода рычага насоса или если требуется снизить транспортную скорость.
Для получения максимальной транспортной скорости нажмите вниз педаль управления тягой. Если длина хода педали (Рисунок 36) меньше длины хода рычага насоса, отрегулируйте ее:

Установите автомобиль на ровной поверхности, выключите двигатель, включите стояночный тормоз и извлеките ключ.
Ослабьте гайку крепления упора педали.
Завинчивайте упор педали, пока не появится зазор между ним и педалью управления тягой.
Продолжайте прикладывать легкое усилие к педали управления тягой и отрегулируйте упор педали так, чтобы он едва касался педали или чтобы между тягой педали и упором был зазор 2,5 мм.
Затяните гайки.
Установите автомобиль на ровной поверхности, выключите двигатель, включите стояночный тормоз и извлеките ключ.
Ослабьте гайку крепления упора педали.
Вывинчивайте упор педали, пока не будет достигнута требуемая транспортная скорость.
Затяните гайку крепления упора педали.
Если навесное оборудование плохо следует по профилю грунта в процессе эксплуатации, отрегулируйте пластину с фиксирующим пазом рычага подъема (Рисунок 38).
Припаркуйте машину на ровной горизонтальной поверхности, выключите двигатель, включите стояночный тормоз и заблокируйте колеса подставками.
Снимите 4 винта, которые крепят панель управления к раме (Рисунок 37).

Ослабьте два болта, которые крепят пластину с фиксирующим пазом к крылу и раме.

Регулировку пластины с фиксирующим пазом следует выполнять при работающем двигателе. Контакт с движущимися частями или горячими поверхностями может привести к травме.
Держите руки, ноги, лицо и другие части тела на безопасном расстоянии от вращающихся деталей, а также от глушителя и других горячих поверхностей.
Запустите двигатель.
При работающем двигателе и рычаге подъема, установленном в плавающее положение, передвиньте пластину с фиксирующим пазом так, чтобы можно было вручную вытянуть и втянуть шток гидроцилиндра подъема.
Затяните оба монтажных винта для фиксации выполненной регулировки.
Правильная работа дроссельной заслонки зависит от надлежащей регулировки рычага дроссельной заслонки. Прежде чем регулировать карбюратор, убедитесь, что рычаг дроссельной заслонки работает правильно.
Откиньте сиденье вверх.
Ослабьте винт зажима тросика дроссельной заслонки, который крепит тросик к двигателю (Рисунок 39).

Переведите выносной рычаг управления дроссельной заслонкой вперед в положение Быстро.
Сильно потяните за тросик дроссельной заслонки, чтобы задняя часть шарнира коснулась упора (Рисунок 39).
Затяните винт зажима тросика и проверьте частоту вращения двигателя:
Высокая частота холостого хода: от 3 350 до 3 450 об/мин
Малая частота холостого хода: от 1 650 до 1 850 об/мин
Откиньте сиденье вверх.
Ослабьте винт зажима тросика воздушной заслонки, который крепит тросик к двигателю (Рисунок 39).
Переведите выносной рычаг управления воздушной заслонкой вперед в закрытое положение.
Сильно потяните за тросик воздушной заслонки (Рисунок 39), чтобы ее дроссель полностью закрылся; затем затяните винт зажима тросика.
Important: Перед настройкой регулятора частоты вращения двигателя необходимо правильно отрегулировать органы управления дроссельной и воздушной заслонками.
Регулятор оборотов двигателя необходимо настраивать при работающем двигателе. Контакт с движущимися частями или горячими поверхностями может привести к травме.
Перед выполнением этой процедуры убедитесь, что педаль управления тягой находится в нейтральном положении, и включите стояночный тормоз.
Следите, чтобы руки, ноги и другие части тела, а также одежда находились на безопасном расстоянии от вращающихся частей, глушителя и других горячих поверхностей.
Note: Для регулировки малых оборотов холостого хода выполните следующие действия. Если требуется отрегулировать только высокие обороты холостого хода, переходите прямо к этапу 5.
Запустите двигатель и дайте ему поработать при открытой наполовину дроссельной заслонке в течение 5 минут для прогрева.
Переведите рычаг дроссельной заслонки в положение Медленно. Поворачивайте упорный винт холостого хода против часовой стрелки до его выхода из контакта с рычагом дроссельной заслонки.
Отогните язычок пружинодержателя регулируемых оборотов холостого хода (Рисунок 40) так, чтобы получить малую частоту холостого хода в пределах от 1675 до 1175 об/мин.
Note: Проверьте частоту вращения с помощью тахометра.

Отрегулируйте упорный винт холостого хода таким образом, чтобы частота вращения превысила на 25–50 об/мин частоту вращения на этапе 3.
Note: Окончательная частота вращения холостого хода должна составлять 1650–1850 об/мин.
Установите рычаг дроссельной заслонки в положение Быстро.
Отогните язычок пружинодержателя высоких оборотов (Рисунок 40) так, чтобы получить высокую частоту вращения 3350–3450 об/мин.
При попадании жидкости под кожу следует немедленно обратиться за медицинской помощью. Если жидкость оказалась впрыснута под кожу, необходимо, чтобы врач удалил ее хирургическим путем в течение нескольких часов.
Перед подачей давления в гидравлическую систему необходимо проверить исправность всех гидравлических шлангов и трубопроводов, а также плотность затяжки всех гидравлических соединений и штуцеров.
Запрещено приближаться к местам точечных утечек или штуцерам, из которых под высоким давлением выбрасывается гидравлическая жидкость.
Для обнаружения гидравлических утечек следует использовать картон или бумагу.
Перед выполнением любых работ на гидравлической системе необходимо полностью сбросить давление в гидравлической системе безопасным способом.
| Периодичность технического обслуживания | Порядок технического обслуживания |
|---|---|
| Через первые 8 часа |
|
| Через каждые 400 часов |
|
Для замены используйте оригинальный фильтр Toro.
Установите машину на ровной поверхности, выключите двигатель, включите стояночный тормоз и извлеките ключ.
Ослабьте 2 винта, которые крепят центральный кожух к машине, и снимите кожух (Рисунок 41).

Поместите сливной поддон под гидравлический фильтр, расположенный с левой стороны машины (Рисунок 42).

Очистите область вокруг места крепления фильтра.Установите под фильтр сливной поддон. Медленно вывинчивайте, но не снимайте гидравлический фильтр до тех пор, пока масло не потечет через прокладку и не будет капать с боков фильтра.
Note: Если машина оборудована комплектом дистанционного управления гидравликой, то для слива гидравлической жидкости можно снять с насоса всасывающий шланг.
Когда поток масла замедлится, снимите фильтр.
Смажьте гидравлической жидкостью уплотнительную прокладку на сменном фильтре. Заворачивайте фильтр от руки до тех пор, пока уплотнительная прокладка не коснется головки. Затем дополнительно затяните на 3/4 оборота.
Note: Теперь фильтр должен быть герметичным.
Залейте гидравлическую жидкость в гидравлический бак до уровня суженной части на щупе. Не переполняйте бак. См. Проверка уровня гидравлической жидкости
Запустите двигатель. Приведите в действие гидроцилиндр подъема, чтобы он выдвигался и втягивался, а колеса двигались в прямом и обратном направлении.
Заглушите двигатель и проверьте уровень жидкости в баке; при необходимости долейте жидкость.
Проверьте все соединения на наличие течи.
Установите центральный кожух.
Утилизируйте должным образом использованное масло.
| Периодичность технического обслуживания | Порядок технического обслуживания |
|---|---|
| Перед каждым использованием или ежедневно |
|
Ежедневно проверяйте гидравлические трубопроводы и шланги на герметичность, наличие перекрученных шлангов, незакрепленных опор, износа, незакрепленного крепежа, атмосферной и химической коррозии. Перед началом эксплуатации отремонтируйте все, что необходимо.
При ремонте или замене какого-либо компонента гидравлической системы необходимо заменить гидравлический фильтр и заправить гидравлическую систему.
Проследите, чтобы во время заправки гидравлической системы гидравлический бак и фильтр всегда были заполнены жидкостью.
Установите автомобиль на ровной поверхности, выключите двигатель, включите стояночный тормоз и извлеките ключ.
Ослабьте 2 винта, которые крепят центральный кожух к машине, и снимите кожух (Рисунок 43).

Приподнимите над полом одно переднее и одно заднее колесо и установите под раму подставки.
Одно переднее и одно заднее колесо должны быть в подвешенном состоянии, иначе машина будет двигаться во время регулировки. Это может привести к падению машины и травмированию находящегося под ней человека.
Убедитесь в надежности опоры машины в положении, когда одно переднее колесо и одно заднее колесо находятся в подвешенном состоянии.
Запустите двигатель и установите дроссельную заслонку так, чтобы двигатель работал с частотой приблизительно 1800 об/мин.
Активируйте рычаг клапана подъема, чтобы шток гидроцилиндра подъема несколько раз выдвинулся и втянулся. Если шток гидроцилиндра не двигается в течение 10–15 секунд или насос издает нетипичные звуки, немедленно выключите двигатель и определите причину неполадки. Возможные причины неполадок:
Ослаблено крепление фильтра или всасывающего трубопровода.
Ослаблено крепление или возникла неисправность соединительной муфты насоса.
Закупорен всасывающий трубопровод.
Неисправен предохранительный клапан контура питания.
Неисправен питающий насос.
Если гидроцилиндр в течение 10–15 секунд начинает движение, переходите к этапу 6.
Перемещайте педаль управления тягой вперед и назад. Колеса, приподнятые над полом, должны вращаться в соответствующем направлении.
Если колеса вращаются в неправильном направлении, выключите двигатель, снимите трубопроводы с задней стороны насоса и поменяйте их местами.
Если колеса вращаются в правильном направлении, выключите двигатель и отрегулируйте контргайку регулировочного штифта пружины (Рисунок 44). Отрегулируйте нейтральное положение трансмиссии; см. Регулировка нейтрали тягового привода.

Проверьте регулировку блокировочного выключателя тяги; см. Регулировка блокировочного выключателя тяги.
Установите центральный кожух.
| Периодичность технического обслуживания | Порядок технического обслуживания |
|---|---|
| Перед каждым использованием или ежедневно |
|
По окончании работы тщательно вымойте машину из садового шланга без насадки, чтобы чрезмерное давление воды не вызвало загрязнения и повреждения уплотнений и подшипников.
Убедитесь, что охлаждающие ребра и область вокруг воздухозаборника охлаждающего воздуха очищены от загрязнения.
Important: Очистка маслоохладителя водой способствует преждевременной коррозии деталей и уплотнению загрязнения; см. Очистка маслоохладителя.
После чистки осмотрите машину на наличие течи гидравлической жидкости, повреждений или износа гидравлических и механических компонентов.
| Периодичность технического обслуживания | Порядок технического обслуживания |
|---|---|
| Через каждые 400 часов |
|
Тщательно очистите машину, навесное оборудование и двигатель.
Проверьте давление в шинах.
Проверьте весь крепеж на ослабление затяжки; при необходимости подтяните.
Заправьте консистентной смазкой или маслом все масленки и оси поворота. Удалите избыточную смазку.
Слегка обработайте шкуркой и подкрасьте места, где имеются царапины, сколы или ржавчина.
Обслужите аккумулятор и кабели следующим образом:
Снимите клеммы с полюсных штырей аккумулятора.
Очистите аккумуляторную батарею, клеммы и выводы проволочной щеткой и водным раствором пищевой соды.
Для предотвращения коррозии нанесите на кабельные наконечники и на выводы аккумуляторной батареи смазку Grafo 112X (№ 505-47 по каталогу Toro) или технический вазелин.
Чтобы предотвратить сульфатацию пластин аккумулятора, каждые 60 дней медленно перезаряжайте аккумулятор в течение 24 часов.
Note: Удельный вес электролита полностью заряженной аккумуляторной батареи составляет 1,250.
Note: Храните аккумуляторную батарею в прохладном месте во избежание быстрого снижения заряда. Для предотвращения замерзания аккумуляторной батареи храните ее полностью заряженной.
Замените моторное масло и фильтр. См. Замена моторного масла и масляного фильтра
Запустите двигатель и дайте ему проработать на холостом ходу примерно в течение 2 минут.
Тщательно очистите и произведите техническое обслуживание узла воздухоочистителя. См. Обслуживание воздухоочистителя
Загерметизируйте входное отверстие воздухоочистителя и выходное отверстие выхлопной системы водостойкой малярной лентой.
Проверьте крышку маслозаливной горловины и крышку топливного бака, чтобы убедиться, что они надежно закрыты.