| 整備間隔 | 整備手順 |
|---|---|
| 使用開始後最初の 20 時間 |
|
| 使用するごとまたは毎日 |
|
この機械は乗用型の作業用機械であり、専門業務に従事するプロのオペレータが運転操作することを前提として製造されています。この製品は、集約的で高度な管理を受けているゴルフ場などのサンドトラップの整備作業を行うことを主たる目的として製造されております。
この説明書を読んで製品の運転方法や整備方法を十分に理解し、他人に迷惑の掛からないまた適切な方法でご使用ください。この製品を適切かつ安全に使用するのはお客様の責任です。
弊社のウェブサイトwww.Toro.comで、製品の安全な取扱いや運転に関する講習資料、アクセサリ情報の閲覧、代理店についての情報閲覧、お買い上げ製品の登録などを行っていただくことができます。
整備について、また純正部品についてなど、分からないことはお気軽に弊社代理店またはカスタマーサービスにおたずねください。お問い合わせの際には、必ず製品のモデル番号とシリアル番号をお知らせください。これらの番号は、左側フレームレールに打ちつけた銘板に刻印されています。いまのうちに番号をメモしておきましょう。
この説明書では、危険についての注意を促すための警告記号(図 1)を使用しております。これらは死亡事故を含む重大な人身事故を防止するための注意ですから、必ずお守りください。

この他に2つの言葉で注意を促しています。重要「重要」は製品の構造などについての注意点を、注はその他の注意点を表しています。
この製品は、関連する全ての欧州指令に適合しています。詳細については、別添えの規格適合証明書(DOC)をご覧ください。
カリフォルニア州の森林地帯・潅木地帯・草地などでこの機械を使用する場合には、エンジンに同州公共資源法第4442章に規定される正常に機能するスパークアレスタが装着されていること、エンジンに対して森林等の火災防止措置をほどこされていることが義務づけられており、これを満たさない機械は、第4442章または4443章違犯となります。
この製品に使用されているスパーク式着火装置は、カナダの ICES-002 標準に適合しています。
エンジンの保守整備のため、および米国環境保護局(EPA)並びにカリフォルニア州排ガス規制に関連してエンジンマニュアルを同梱しております。エンジンマニュアルはエンジンのメーカーから入手することができます。
カリフォルニア州
第65号決議による警告
カリフォルニア州では、この製品に使用されているエンジンの排気には発癌性や先天性異常などの原因となる物質が含まれているとされております。
牽引性能を高めるために、マシン前面にウェイトキット (100-6442) を追加できます。
Note: マシンにフロントリフトまたはプラウアタッチメントが取り付けられている場合は、物理的に干渉するためウェイトキットは取付られません。
この機械は本来の目的から外れた使用をすると運転者本人や周囲の人間に危険な場合があります。
エンジンを始動する前に必ずこのオペレーターズマニュアルをお読みになり、内容をよく理解してください。
機械の可動部の近くには絶対に手足を近づけないでください。
ガードなどの安全保護機器が正しく取り付けられていない時は、運転しないでください。
排出口の近くに、手足などを近づけないでください。作業中は人や動物を十分に遠ざけてください。
作業場所に子供を近づけないでください。子供に運転させないでください。
整備、燃料補給、詰まりの解除作業などを行う前には、必ずエンジンを停止させてください。
間違った使い方や整備不良は負傷などの人身事故につながります。事故を防止するため、以下に示す安全上の注意や安全注意標識のついている遵守事項は必ずお守りください:注意、警告、および危険 の文字は、人身の安全に関わる注意事項を示しています。これらの注意を怠ると死亡事故などの重大な人身事故が発生する恐れがあります。
このオペレーターズマニュアルの他の場所に書かれている注意事項も必ずお守りください。
このオペレーターズマニュアルや関連する機器のマニュアルをよくお読みください。各部の操作方法や本機の正しい使用方法に十分慣れておきましょう。
オペレータが日本語を読めない場合には、オーナー の責任において、このオペレーターズマニュアル の内容を十分に説明してください。
子供や正しい運転知識のない方には機械を操作させないでください。地域によっては機械のオペレータに年齢制限を設けていることがありますのでご注意ください。
周囲にペットや人、特に子供がいる所では絶対に作業をしないでください。
人を乗せないでください。
本機を運転する人、整備する人すべてに適切なトレーニングを行ってください。トレーニングはオーナーの責任です。特に以下の点についての十分な指導が必要です:
乗用機械を取り扱う上での基本的な注意点と注意の集中;
斜面で機体が滑り始めるとブレーキで制御するこ とは非常に難しくなること。斜面で制御不能となるお もな原因は:
タイヤグリップの不足;
速度の出しすぎ;
ブレーキの不足;
機種選定の不適当;
地表条件、特に傾斜角度を正しく把握していなかった;
ヒッチの取り付けや積荷の重量分配の不適切。
オーナーやユーザーは自分自身や他の安全に責任があり、オペレータやユーザーの注意によって様々な事故を防止することができます。
作業にふさわしい服装をする;安全めがね、すべりにくく安全な靴、聴覚保護具を着用してください。長い髪はまとめてください。装飾品は身に着けないでください。
作業場所を良く観察し、安全かつ適切に作業するにはどのようなアクセサリやアタッチメントが必要かを判断してください。メーカーが認めた以外のアクセサリやアタッチメントを使用しないでください。
必要に応じて、作業現場に事前に水を撒くなどして砂ぼこりを減らすようにしましょう。
オペレータコントロールやインタロックスイッチなどの安全装置が正しく機能しているか、また安全カバーなどが外れたり壊れたりしていないか点検してください。これらが正しく機能しない時には芝刈り作業を行わないでください。
人身事故や物損事故を防止するために、燃料の取り扱いには細心の注意を払ってください。燃料は極めて引火しやすく、またその気化ガスは爆発性があります。
燃料取り扱い前に、引火の原因になり得るタバコ、パイプなど、すべての火気を始末してください。
燃料の保管は必ず認可された容器で行ってください。
エンジン回転中やエンジンが熱い間に燃料タンクのふたを開けたり給油しないでください。
給油はエンジンが十分に冷えてから行ってください。
屋内では絶対に給油しないでください。
ガス湯沸かし器のパイロット火やストーブなど裸火や火花を発するものがある近くでは、絶対に機械や燃料容器を保管・格納しないでください。
トラックの荷台に敷いたカーペットやプラスチックマットなど絶縁体の上で燃料の給油をしないでください。ガソリン容器は車から十分に離し、地面に直接置いて給油してください。
給油は、機械をトラックやトレーラから地面に降ろし、機体を接地させた状態で行ってください。機械を車両に搭載したままで給油を行わなければいけない場合には、大型タンクのノズルからでなく、小型の容器から給油してください。
給油は、給油ノズルを燃料タンクの口に接触させた状態を維持して行ってください。ノズルを開いたままにする器具などを使わないでください。
絶対にタンクから燃料をあふれさせないでください。
給油後は燃料タンクキャップをしっかりと締めてください。
一酸化炭素ガスなどの有毒ガスが溜まるような閉め切った場所ではエンジンを運転しないでください。
作業は日中または十分な照明のもとで行ってください。
エンジンを掛ける前には、アタッチメントをすべて解除し、シフトをニュートラルにし、駐車ブレーキを掛けてください。
回転部やその近くには絶対に手足を近づけないでください。
運転には十分な注意が必要です。転倒や暴走事故を防止するために以下の点にご注意ください:
隠れた穴などの見えない障害に警戒を怠らない。
急な斜面を走行する場合には安全に特に注意する。小さな旋回をする時や斜面で旋回を行う時には必ず減速する。
急停止や急発進をしないこと。後退から前進全速への切り替えは、必ず一旦完全に停止して行う。
バックするときには、後方の安全に注意し、マシンの後部に人がいないことを十分に確認する。
道路付近で作業するときや道路を横断するときは周囲の交通に注意する。常に道を譲る心掛けをもつ。
オプションの牽引バー(P/N 110-1375)を装備している場合は、アタッチメントのオペレーターズマニュアル でヒッチへの最大負荷を確認して使用してください。
荷を引いたり、重機を取り扱う際には安全に十分注意してください。
- 必ず所定ヒッチポイントを使用する。
- 自分が安全に取り扱える重量の限度内で作業を行う
- 急な旋回をしない。バックする時には安全に十分注意する。
道路付近で作業するときや道路を横断するときは通行に注意しましょう。
ガードが破損したり、正しく取り付けられていない状態のままで運転しないでください。インタロック装置は絶対に取り外さないこと、また、正しく調整してお使いください。
エンジンのガバナの設定を変えたり、エンジンの回転数を上げすぎたりしないでください。規定以上の速度でエンジンを運転すると人身事故が起こる恐れが大きくなります。
運転位置を離れる前に:
平坦な場所に停止する:
走行ペダルから足を離し、アタッチメントを降下させる。
駐車ブレーキを掛ける;
エンジンを止め、キーを抜き取る。
移動走行中や作業を休んでいるときはアタッチメントの駆動を止めてください。
次の場合は、アタッチメントの駆動を止め、エンジンを止めてください:
燃料を補給するとき
機械の点検・清掃・整備作業などを行うとき
異物をはね飛ばしたときや機体に異常な振動を感じたとき。機械に損傷がないか点検し、必要があれば修理を行ってください。点検修理が終わるまでは作業を再開しないでください。
エンジンを停止する時にはスロットルを下げておいて下さい。また、燃料バルブの付いている機種では燃料バルブを閉じてください。
バックするときには、足元と後方の安全に十分な注意を払ってください。
旋回するときや道路や歩道を横切るときなどは、減速し周囲に十分な注意を払ってください。
疲れている時、病気の時、アルコールや薬物を摂取した時は運転しないでください。
機械が落雷を受けると最悪の場合死亡事故となります。稲光が見え場合には運転を中止して安全な場所に避難してください。
トレーラやトラックに芝刈り機を積み降ろすときには安全に十分注意してください。
見通しの悪い曲がり角や、茂み、立ち木などの障害物の近くでは安全に十分注意してください。
常に機械全体の安全を心掛け、また、ボルト、ナット、ねじ類が十分に締まっているかを確認してください。
火花や裸火を使用する屋内で本機を保管する場合は、必ず燃料タンクを空にし、火元から十分離してください。
閉めきった場所に本機を保管する場合は、エンジンが十分冷えていることを確認してください。
火災防止のため、エンジンやマフラー、バッテリーの周囲に、余分なグリス、草や木の葉、ホコリなどが溜まらないようご注意ください。
各部品、特に油圧関連部が良好な状態にあるか点検を怠らないでください。消耗したり破損した部品やステッカーは安全のため早期に交換してください。
燃料タンクの清掃などが必要になった場合は屋外で作業を行ってください。
機械の調整中に指などを挟まれないように十分注意してください。
機械の作動をすべて停止し、アタッチメントを下げ、駐車ブレーキを掛け、エンジンを停止し、キーを抜き取ってください。また、必ず機械各部の動きが完全に停止したのを確認してから作業に掛かってください。
必要に応じ、ジャッキなどを利用して機体を確実に支えてください。
機器類を取り外すとき、スプリングなどの力が掛かっている場合があります。取り外しには十分注意してください。
修理を行うときには必ずバッテリーの接続と点火プラグコードの接続を外しておいてください。バッテリーの接続を外すときにはマイナスケーブルを先に外し、次にプラスケーブルを外してください。接続するときにはプラスケーブル先に接続し、次にマイナスケーブルを接続してください。
可動部に手足を近づけないよう注意してください。エンジンを駆動させたままで調整を行うのは可能な限り避けてください。
バッテリーの充電は、火花や火気のない換気の良い場所で行ってください。バッテリーと充電器の接続や切り離しを行うときは、充電器をコンセントから抜いておいてください。また、安全な服装を心がけ、工具は確実に絶縁されたものを使ってください。
油圧系統のラインコネクタは頻繁に点検してください。油圧を掛ける前に、油圧ラインの接続やホースの状態を確認してください。
油圧のピンホールリークやノズルからは作動油が高圧で噴出していますから、手などを近づけないでください。リークの点検には新聞紙やボール紙を使い、絶対に手を直接差し入れたりしないでください。高圧で噴出する作動油は皮膚を貫通し、身体に重大な損傷を引き起こします。万一、油圧オイルが体内に入ったら、直ちに専門医 の治療を受けてください。
油圧系統の整備作業を行う時は、必ずエンジンを停止し、アタッチメントを下降させてシステム内部の圧力を完全に解放してください。
燃料ラインにゆるみや磨耗がないか定期的に点検してください。必要に応じて締め付けや修理交換してください。
エンジンを回転させながら調整を行わなければならない時は、手足や頭や衣服をアタッチメントや可動部に近づけないように十分ご注意ください。特にエンジン側面の回転スクリーンに注意してください。また、無用の人間を近づけないようにしてください。
Toro正規代理店でタコメータによるエンジン回転数検査を受け、安全性と精度を確認しておきましょう。
大がかりな修理が必要になった時、補助が必要な時Toro 正規代理店にご相談ください。
いつも最高の性能と安全性を維持するために、必ずToroの純正部品をご使用ください。他社の部品やアクセサリを御使用になると危険な場合があり、製品保証を受けられなくなる場合がありますのでおやめください。
トレーラやトラックに芝刈り機を積み降ろすときには安全に十分注意してください。
積み込みには、機体と同じ幅のある歩み板を使用してください。
荷台に載せたら、ストラップ、チェーン、ケーブル、ロープなどで機体を確実に固定してください。機体の前後に取り付けた固定ロープは、どちらも、機体を外側に引っ張るように配置してください。
![]() |
セーフティラベルや指示は危険な個所のオペレーターから見やすい部分に貼付してあります。破損したりはがれたりした場合は新しいラベルを貼り直してください。 |








Note: 前後左右は運転位置からみた方向です。
Note: 出荷用のブラケットやとめ具類はすべて取り外して破棄してください。
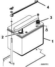
バッテリーの上押さえ棒を両サイドの押さえ棒に固定している蝶ナット(2個)とワッシャを取り外す(図 3)。上押さえ棒を外してバッテリーを取り出す。

この作業に必要なパーツ
| 比重 1.260 のバッテリー液(別途調達してください) | – |
バッテリーの電極部や端子などの部分には鉛や鉛含有物質が含まれており、カリフォルニア州では、これらの物質が癌や先天性異常の原因となるとされている。取り扱い後は手を洗うこと。
バッテリーに液が入っていない場合には、比重 1.260 のバッテリー液を購入してバッテリーの各セルに入れてください。
電解液には硫酸が含まれており、触れると火傷を起こし、飲んだ場合には死亡する可能性がある。
電解液を飲まないこと。また、電解液を皮膚や目や衣服に付けないよう十分注意すること。安全ゴーグルとゴム手袋で目と手を保護すること。
皮膚に付いた場合にすぐに洗浄できるよう、必ず十分な量の真水を用意しておくこと。
バッテリーから各セルのキャップを外し、各セルの上限まで、ゆっくりとバッテリー液を入れる。
各セルにキャップを取り付け、バッテリーを充電器に接続し、充電電流を 3-4 A にセットする。3-4 Aで 4-8 時間充電する。
充電中は爆発性のガスが発生する。
充電中は絶対禁煙を厳守。バッテリーに火気を近づけない。
充電が終わったらチャージャをコンセントから抜き、バッテリー端子からはずす。バッテリーを、5-10 分ほど休ませる。
キャップを取る。
補給ラインの高さまで、各セルにバッテリー液を補給する。
Important: バッテリー液を入れすぎないようにしてください。バッテリー液があふれ出て他の部分に触れると激しい腐食を起こします。
キャップを取り付ける。
この作業に必要なパーツ
| ボルト(¼ x ⅝") | 2 |
| ロックナット(¼") | 2 |
マイナス(-)端子を車体後方に向けてバッテリーを車体に載せる (図 4)。

バッテリーケーブルの配線経路が不適切であるとケーブルがショートを起こして火花が発生する危険がある。それによって水素ガスが爆発を起こし人身事故に至る恐れがある。
ケーブルを取り外す時は、必ずマイナス(黒)ケーブルから取り外し、次にプラス(赤)ケーブルを外す。
ケーブルを取り付ける時は、必ずプラス(赤)ケーブルから取り付け、それからマイナス(黒)ケーブルを取り付ける。
バッテリーの端子に金属製品や車体の金属部分が触れるとショートを起こして火花が発生する。それによって水素ガスが爆発を起こし人身事故に至る恐れがある。
バッテリーの取り外しや取り付けを行うときには、端子と金属を接触させないように注意する。
バッテリーの端子と金属を接触させない。
ボルト(¼ x ⅝")とロックナットで、赤いプラス(+)ケーブルをバッテリーのプラス(+)端子に固定する(図 5)。

ボルト(¼ x ⅝")とロックナット(¼")で、細い黒ワイヤと黒いマイナス(-)ケーブルをバッテリーのマイナス(-)端子に固定する(図 5)。
腐食防止のため、端子と固定金具にワセリンなどを塗布する。
ショート防止のために(+)端子にゴムキャップをかぶせる。
バッテリーの上押さえ棒を両サイドの押さえ棒に取り付け、ワッシャと蝶ナットで固定する。
この作業に必要なパーツ
| 必要に応じたフロントウェイトキット | – |
この機械は ANSI B71.4-2012 適合製品です。しかしながら、以下のアタッチメントを取り付けて使用する場合、上記安全規格に適合するためにはウェイトの搭載が必要となります。
下の表で、必要なウェイトの組み合わせをご確認ください。必要なパーツを弊社代理店からご購入ください。
| アタッチメント | 必要となる前ウェイト | ウェイトキットのパーツ番号 | ウェイトの名称 | 数量 |
|---|---|---|---|---|
| スパイカキット(08755) | 23 kg | 100-6442 | 8 x 3 kg プレートウェイト | 1 |
| ラーングルーマ | 23 kg | 100-6442 | 8 x 3 kg プレートウェイト | 1 |
| QAS 多目的ボックス | 23 kg | 100-6442 | 8 x 3 kg プレートウェイト | 1 |
Note: 前部油圧昇降キット(Model 08712)を搭載している場合には、ウェイトを搭載する必要はありません。

走行ペダル (図 7) には3つの機能があります: 前進走行、後退走行、それに停止です。右足のつま先でペダル前部を踏み込むと前進、かかとでペダル後部を踏み込むと後退ですが、前進中に後退側へ踏むと素早く停止することができます(図 8)。ペダルをニュートラル位置にすると車両は停止します。ペダルから足をはなすだけでもニュートラル位置となります。前進中に、足を休めるつもりで後退側にかかとを乗せないでください。


走行速度はペダルの踏み込み具合に比例します。従って、最高速度を出す場合にはペダルを一杯に踏み込みます(スロットルは高速位置)。馬力を最大にしたい時、例えば上り坂では、エンジン回転数が落ちない程度まで(スロットルはもちろん高速位置で)ペダルの踏み込みを「浅く」してやります。エンジンの回転数が落ちはじめたら、ペダルの踏み込みを少しゆるめてやるのがコツです。
Important: 最大力で牽引するには、スロットルを高速位置にして走行ペダルを少しだけ踏み込みます。
最高速度での走行は移動時のみに使用するようにしてください。
アタッチメントを装着・牽引しての作業や牽引作業には、最高速度での走行はお奨めできません。
Important: アタッチメントを下げた状態(作業位置)にしたまま後退しないでください;アタッチメントに重大な損傷が発生する場合があります。
始動スイッチ(図 9)はエンジンの始動と停止を行うスイッチで、3つの位置があります: OFF, RUN, STARTの 3 位置です。キーを右に回して START 位置にすると、スタータモータが作動します。エンジンが始動したらすぐにキーから手を放す。キーは ON 位置に戻る。キーを OFF 位置に回せばエンジンは停止します。

低温時のエンジン始動には、チョーク(図 9)を上に引きます(チョークを閉じる)。エンジンが始動したら、エンジンがスムーズに回転を続けられるように調整してください。エンジンが始動したら、なるべく早く下位置開位置)に戻すようにしてください。エンジンが温かい時にはチョークは不要です。
スロットルコントロール(図 9)は、キャブレタのスロットルリンクを操作するレバーです。2つのポジションがあります:低速位置と高速位置です。この2つの位置の間で、エンジンの回転数を変化させることができます。
Note: スロットルでエンジンを停止させることはできません。
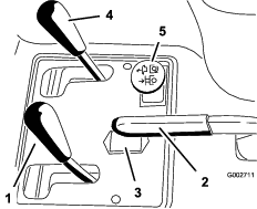
昇降レバー(図 10)を引き上げるとアタッチメントが上昇し、押し下げると下降します。フロート位置はノッチのついている位置です。適当な高さになったら手を放します。レバーはニュートラル位置に戻ります。

Note: 本機の昇降システムには、ダブルアクションシリンダを採用しています。そのため、必要に応じてアタッチメントに下向きの圧力をかけることができます。
駐車ブレーキレバー (図 10)を後ろに引くとブレーキがかかります。レバーを前に倒すと解除となります。
Note: 駐車ブレーキを解除しにくい場合には、走行ペダルをゆっくりと前後に踏んでください。
アワーメータ(図 10)は、本機の積算運転時間を表示します。アワーメータは始動スイッチをON位置にすると作動を開始します。
運転席の横についているレバー(図 11)を前に引いて運転席を希望の位置に動かし、その位置でレバーから手を離すと運転席が固定されます。

長期間保管する場合や搬送する場合には燃料バルブ(図 12)を閉じておく。

Note: 仕様および設計は予告なく変更される場合があります。
| 幅(アタッチメントを含めない) | 148 cm |
| 幅(レーキ08751を装着時) | 191 cm |
| 長さ(アタッチメントを含めない) | 164 cm |
| 高さ | 115 cm |
| ホイールベース | 109 cm |
| 純重量 | |
| モデル 08703 | 452kg |
| モデル 08705 | 461kg |
トロが認定した各種のアタッチメントやアクセサリがそろっており、マシンの機能をさらに広げることができます。詳細は弊社の正規サービスディーラ、または代理店へお問い合わせください;弊社のウェブサイト www.Toro.com でもすべての認定アタッチメントとアクセサリをご覧になることができます。
ようやく手に入れた大切な機械を守り、確かな性能を維持するために、交換部品はトロの純正部品をご使用ください。純正パーツは、トロが設計・指定した、完成品に使用されているものと全く同じ、信頼性の高い部品です。確かな安心のために、トロの純正にこだわってください。
Note: 前後左右は運転位置からみた方向です。
このマニュアルに記載されている安全上の注意やステッカーの記号や表示内容を良く読んでください。オペレータや周囲の人を事故から守る重要な情報が掲載されています。
ぬれ芝、急斜面など滑りやすい場所では転倒して制御できなくなる危険がある。
車輪やローラが溝などに落ちて機体が転倒すると、最悪の場合、死亡事故などの重大な事故となる危険があります。
ROPSの使用方法および注意事項をきちんと読み、それに従うこと。
制御不能になったり転倒事故をおこしたりしないために:
水辺や法面、段差の近くなどでは使用しない。
斜面では速度を落とし、より慎重な運転を心がけましょう。
急旋回したり不意に速度を変えたりしない。
この機械を長時間使用しつづけると聴覚に障害を起こす可能性がある。
運転に際しては聴覚保護具を使用すること。
目、耳、手、足、頭などの保護具を使用されることをお勧めします。

| 整備間隔 | 整備手順 |
|---|---|
| 使用開始後最初の 20 時間 |
|
| 使用するごとまたは毎日 |
|
エンジンにはオイルを入れて出荷していますが、初回運転の前に必ずエンジンオイルの量を確認してください。
油量は約 1.66 リットル(フィルタ共)です。
以下の条件を満たす高品質なエンジンオイルを使用してください:
API 規格:SL またはそれ以上
推奨オイル:SAE 15W30(4°C 以上)
平らな場所に駐車し、エンジンを停止させ、駐車ブレーキを掛けてキーを抜き取る。
運転席を前に倒す。
ディップスティック (図 14)を抜き取り、ウェスできれいに拭う。

ディップスティックを、チューブの根元までもう一度しっかりと差し込む。ディップスティックを抜いて油量を点検する。オイルの量不足している場合は、バルブカバーについている補給口のキャップを取り、ディップスティックの FULL マークまで補給する。
Important: エンジンオイルの量が常時ゲージの上限と下限との間にあるよう、気をつけて管理してください。オイルの入れすぎもオイルの不足も、エンジンの不調や故障の原因となります。
ディップスティックをしっかり差し込んで終了。
Important: エンジンのクランクケースを密閉するために、ディップスティックは根元まで確実に入れてください。差し込みが不十分でクランクケースが完全に密閉されないと、エンジンを損傷する恐れがあります。
運転席を戻す。
燃料タンク容量:25 リットル
使用推奨燃料:
機械の性能を最も良く発揮させるために、オクタン価87以上の、きれいで新しい(購入後30日以内)無鉛ガソリンを使ってください(オクタン価評価法は(R+M)/2 を採用)。
エタノール:エタノールを添加(10% まで)したガソリン、MTBE(メチル第3ブチルエーテル)添加ガソリン(15% まで)を使用することが可能です。エタノールとMTBEとは別々の物質です。エタノール添加ガソリン(15% 添加=E15)は使用できません。エタノール含有率が 10% を超えるガソリン(たとえば E15(含有率 15%)、E20(含有率 20%)、E85(含有率 85%)は絶対に使用してはなりません。これらの燃料を使用した場合には性能が十分に発揮されず、エンジンに損傷が発生する恐れがあり、仮にそのようなトラブルが発生しても製品保証の対象とはなりません。
ガソリン含有メタノールは使用できません。
燃料タンクや保管容器でガソリンを冬越しさせないでください。 冬越しさせる場合には必ずスタビライザ(品質安定剤)を添加してください。
ガソリンにオイルを混合しないでください。
Important: エタノール系、メタノール系のスタビライザはご使用にならないでください。アルコール系のスタビライザ(エタノールまたはメタノールを基材としたもの)は使わないでください。
燃料を補給中、静電気によって火花が発生し、これがガソリンに引火する危険がある。発火したり爆発したりすると、やけどや火災などを引き起こす。
燃料容器は車から十分に離し、地面に直接置いて給油する。
車に乗せたままの容器に燃料を補給しない。車両のカーペットやプラスチック製の床材などが絶縁体となって静電気の逃げ場がなくなるので危険である。
可能であれば、機械を地面に降ろし、車輪を地面に接触させた状態で給油を行う。
機械を車に搭載したままで給油を行わなければいけない場合には、大型タンクのノズルからでなく小型の容器から給油する。
大型タンクのノズルから直接給油しなければならない場合には、ノズルを燃料タンクの口に常時接触させた状態で給油を行う。
燃料を飲み込むと非常に危険で生命に関わる状態を轢き起こし、また、気化した燃料に長期間ふれると身体に重篤な症状や疾病を引き起こします。
燃料ガスを長時間吸い込むのは避けること。
ノズルや燃料タンクの口やコンディショナ容器の口などに顔を近づけない。
目や皮膚に燃料が付着しないようにすること。
燃料タンクのキャップ(図 15)の周囲をきれいに拭く。
燃料タンクのキャップを取る。
タンクの天井(給油口の根元)から約2.5 cm下まで燃料を入れる。入れすぎないこと。

キャップを取り付ける。
こぼれたガソリンは火災防止のためにすぐに拭き取る。
Important: メタノール、メタノール添加ガソリン、10%以上のエタノールを添加したガソリンなどは本機の燃料システムを損傷しますから絶対に使用しないでください。ガソリンにオイルを混合しないでください。
| 整備間隔 | 整備手順 |
|---|---|
| 使用するごとまたは毎日 |
|
油圧オイルタンクに約 18.9 リットルの高品質油圧オイルを満たして出荷しています。油圧オイルの点検は、オイルが冷えている状態で行うのがベストです。マシンは移動走行モードになっていることが必要です。油量を点検し、ディップスティックの ADD マーク以下であれば適正範囲の中ほどまで補給します。入れすぎないようにしてください。油量が ADD マークと FULLマークの間であれば補給の必要はありません。初めての運転の前に必ず油量を確認し、その後は毎日点検してください。
推奨オイルの銘柄を以下に示します:
| Toro プレミアムオールシーズン油圧作動液 (19 リットル缶または 208 リットルドラム缶 — オイルのパーツ番号はパーツカタログをご覧になるか、代理店におたずねください。 |
推奨油圧オイル:Toro プレミアムオールシーズン油圧作動液
他に使用可能なオイル:トロのオイルが入手できない場合は、以下に挙げる特性、条件および産業規格をすべて満たす通常の石油系オイルを使用することができます。オイルの性能や規格がマシンに適合しているかどうかについては専門業者にご相談ください。
Note: 不適切なオイルの使用による損害については弊社は責任を持ちかねますので、品質の確かな製品をお使い下さる様お願いいたします。
| 高粘度インデックス/低流動点アンチウェア油圧作動液, ISO VG 46 | |
| 物性: | |
| 粘度, ASTM D445 | cSt @ 40°C 44-48cSt @ 100°C 7.9-9.1 |
| 粘性インデックス ASTM D2270 | 140 以上 |
| 流動点, ASTM D97 | -37°C--45°C |
| FZG, フェールステージ | 11 以上 |
| 水分含有量(新しい液) | 500ppm (最大) |
| 産業規格: | |
| Vickers I-286-S, Vickers M-2950-S, Denison HF-0, Vickers 35 VQ 25 (Eaton ATS373-C) | |
車両用に製造されている適切な油圧オイル(産業プラント用の油圧オイルではありません)。マルチウェイトタイプの ZnDTP または ZDDP アンチウェア(磨耗防止剤)入りの製品(アッシュレスではありません)を使用してください。
Important: 多くの油圧オイルはほとんど無色透明であり、そのためオイル洩れの発見が遅れがちです。油圧オイル用の着色剤(20ml 瓶)をお使いいただくと便利です。1瓶で 15-22 リットルのオイルに使用できます。パーツ番号は P/N 44-2500。ご注文はトロ社の代理店へ。
合成生分解油圧作動液
(19 リットル缶または 208 リットルドラム缶 — オイルのパーツ番号はパーツカタログをご覧になるか、代理店におたずねください。
この合成生分解高品質オイルは、トロのこのマシンに適合していることが実証されています。他の合成オイルは、シールを腐食させるなどの問題を持っている可能性があります。そのようなオイルを使用されたことを原因とするトラブルについてはトロ社は責任を負いかねます。
Note: この合成オイルは、過去に販売されていた生分解オイルとの互換性がありません。詳細については弊社代理店におたずねください。
上記以外に使用可能な生分解性オイル:
Mobil EAL Envirosyn H 46(米国内)
Mobil EAL Hydraulic Oil 46 (米国外)
平らな場所に駐車し、エンジンを停止させ、駐車ブレーキを掛けてキーを抜き取る。
異物をタンクに入れないよう、油圧オイルタンクのキャップ取り付け部周辺をウェスできれいに拭く(図 16)。

タンクからキャップを取る。
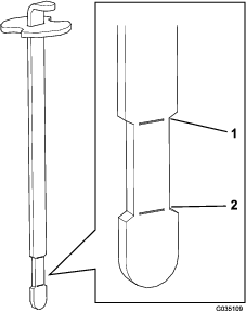
補給口の首からディップスティックを抜き、ウ ェスできれいに拭う。
もう一度首に差し込んで引き抜き、オイルの量を点検する。
Note: 上下限マークの中間位置(ディップスティックのくびれている所)まであればよい(図 17)。

量が不足している場合には、適切なオイルを、ディップスティックの FULL マーク位置までゆっくりと補給する。
Note: 入れすぎないようにしてください。
タンクにキャップを取り付ける。
Important: 油圧回路の汚染を防止するため、オイルの缶を開ける前に、缶のふたの表面をきれいに拭ってください。また、給油ホースやロートなども汚れがないようにしてください。
| 整備間隔 | 整備手順 |
|---|---|
| 使用するごとまたは毎日 |
|
ご使用前にタイヤ空気圧を点検してください(図 18)。適正範囲は前後輪とも:
トレッドタイヤ: 0.7 bar (0.7 kg/cm2 = 10 psi)です。
Note: 排土板作業で接地力を高めたい時には、空気圧を 0.55 bar (0.56 kg/cm2 = 8 psi)まで下げる。
スムースタイヤ:0.55-0.7 bar (0.56-0.7 kg/cm2 = 8-10 psi)

| 整備間隔 | 整備手順 |
|---|---|
| 使用開始後最初の 8 時間 |
|
| 100運転時間ごと |
|
ラグナットを 95~122N·m(9.7~12.5kg.m = 70~90ft-lb)にトルク締めする。
走行ペダルから足を外し、ペダルがニュートラル位置にあることを確認して駐車ブレーキを掛ける。
チョークを前に倒してON位置にし(エンジンが冷えている時)、スロットル レバーは SLOW 位置にセットする。
Important: 外気温が氷点下のときに運転する場合には十分にウォームアップを行ってください。これにより、ハイドロスタットと油圧走行回路を保護することができます。
キーを差し込んで START 位置に回してエンジンを始動する。始動したらキーから手を放す。
Note: エンジンがスムーズに回転を続けられるようにチョークを調節する。
Important: スタータモータを10秒間以上連続で使用するとオーバーヒートする危険があります。 10秒間連続で使用したら、60秒間の休止時間をとってください。
エンジンを停止させるには、スロットル コントロールを低速位置にし、キーをOFF位置に回す。
Note: 事故防止のため、キーは抜き取る。
長期間保管する場合には燃料バルブを閉じておく。
エンジンを掛けたままでの点検は人身事故の危険がある。
機体の点検を行う前に、機械の可動部がすべて完全 に停止していることを必ず確認すること。
インタロックスイッチは安全装置であり、これを取り外すと予期せぬ人身事故が起こり得る。
インタロックスイッチをいたずらしない。
作業前にインタロックスイッチの動作を点検し、不具合があれば作業前に交換修理する。
インタロックシステムは、走行ペダルがニュートラル位置にない限りエンジンが始動(クランキングも)できないようにする安全装置です。また、運転席に着席していないのに走行ペダルが前進方向や後退方向に踏み込まれた場合にもエンジンを停止させます。
周囲に人や障害物のない場所へ車両を移動させる。エンジンを停止する。
着席し、駐車ブレーキを掛ける。
走行ペダルをそれぞれ前進・後退側に踏み込んだ状態でエンジンを始動させてみる。
Note: クランキングする場合はインタロックスイッチが故障している。すぐに修理を行う。クランキングしなければインタロック装置は正常に機能している。
着席したまま、ペダルをニュートラル位置において、駐車ブレーキを掛けた状態で、エンジンを掛ける。
運転席から立ち上がって、走行ペダルを踏み込む。
Note: エンジンが 3 秒以内に停止すれば正常である。正しく作動しない場合には修理する。
緊急時には、本機を牽引して移動することができます。ただし、通常の移動にはこの方法を使わないでください。
Important: トランスミッション機器に損傷を与える危険がありますので、牽引移動時の速度は、1.6 km/h 以下としてください。移動距離が 50m を超える場合は、トラックやトレーラに積んで移送してください。牽引速度が速すぎるとタイヤがロックします。このような場合は、油圧回路が落ち着くまで少し待ち、速度を下げて牽引してください。
エンジンが設計通りの性能を発揮するまでにはある程度の時間が必要です。また、走行・駆動系統も、新しいうちは摩擦抵抗が大きく、エンジンに余分な負担を掛ける傾向があります。
したがって、運転開始直後の8時間を慣らし運転期間としてください。
この期間中の取り扱いは、本機のその後の信頼性を確保する上で非常に重要ですから、各機能や動作を入念に観察し、小さな異常でも早期に発見・解決しておいてください。また、この期間中はオイル漏れや部品のゆるみの点検を頻繁におこなってください。
アタッチメントの操作については、アタッチメントに付属しているオペレーターズマニュアルを参照してください。
サンドプロは他の作業用車両とは異なった運転特性をもっていますから、操作になれるまで十分練習をしてください。特にトランスミッションとエンジン速度との関係に関して2つの点を理解し、その特性に慣れてください。
油圧システムがフルに力を発揮できるよう、ペダル操作はゆっくり行ってください。こうすると、エンジンが負荷や走行速度の変化に合わせて回転速度を維持することができます。ペダルを急に踏み込んでエンジンの回転速度が下がると十分なトルクが得られなくなります。「パワー」が欲しい時には、走行ペダルの踏み込みを「小さく」して、走行速度を下げる必要があります。スロットルはFAST位置で使用します。これとは逆に、同じスロットル位置FASTで、走行ペダルをゆっくり、しかし「いっぱいに」踏み込めば、「速度」は最高となりますが、パワーは低くなります。いずれにせよ「常にエンジンをフル回転させてやること」が油圧装置から最大トルクを引き出すコツなのです。
転倒や暴走事故を防止するために、運転中は注意を集中し以下の点に気をつけてください:
サンドバンカーへの出入りは慎重に行う。
特に、溝や小川などの近くでは十二分の注意を払う。
急な斜面を走行する場合には安全に特に注意する。
小さな旋回をする時や斜面で旋回を行う時には必ず減速する。
急停止や急発進をしないこと。
後退から前進全速への切り替えは、必ず一旦完全に停止して行う。
Note: アタッチメントのアダプタがトラクションユニットのアダプタに引っかかってしまった時は、バールやドライバーなどをスロットに差し込んで外してください(図 19)。

Note: 前後左右は運転位置からみた方向です。
始動キーをつけたままにしておくと、誰でもいつでもエンジンを始動させることができ、危険である。
整備作業の前には必ずキーを抜いておくこと。
| 整備間隔 | 整備手順 |
|---|---|
| 使用開始後最初の 8 時間 |
|
| 使用開始後最初の 20 時間 |
|
| 使用するごとまたは毎日 |
|
| 25運転時間ごと |
|
| 100運転時間ごと |
|
| 200運転時間ごと |
|
| 400運転時間ごと |
|
| 800運転時間ごと |
|
| 1500運転時間ごと |
|
Important: エンジンの整備に関しての詳細は、付属のエンジンマニュアルを参照のこと。
このページをコピーして使ってください。
| 点検項目 | 第 週 | ||||||
|---|---|---|---|---|---|---|---|
| 月 | 火 | 水 | 木 | 金 | 土 | 日 | |
| インタロックの動作を点検する。 | |||||||
| ハンドルの動作を点検する。 | |||||||
| 燃料残量 | |||||||
| エンジンオイルの量を点検する。 | |||||||
| エアフィルタを点検する。 | |||||||
| エンジンの冷却フィンを清掃する。 | |||||||
| エンジンからの異常音がないか点検する。 | |||||||
| 運転操作時の異常音。 | |||||||
| 油圧オイルの量を点検する。 | |||||||
| 油圧ホースの磨耗損傷状態を点検する。 | |||||||
| オイル漏れなど。 | |||||||
| タイヤ空気圧を点検する。 | |||||||
| 計器類の動作を点検する。 | |||||||
| 塗装傷のタッチアップ修理を行う。 | |||||||
| 要注意個所の記録 | ||
| 点検担当者名: | ||
| 内容 | 日付 | 記事 |
Important: カバーについているボルトナット類は、カバーを外しても、カバーから外れません。全部のボルト類を数回転ずつゆるめてカバーが外れかけた状態にし、それから、全部のボルト類を完全にゆるめてカバーを外すようにしてください。このようにすれば、誤ってリテーナからボルトを外してしまうことがありません。
100 運転時間ごとに、グリスフィッティングにNo.2 汎用リチウム系グリスを注入します。
以下のベアリングとブッシュのグリスアップを行ってください:
前輪のベアリング(1ヶ所)(図 22)

走行ペダルのピボット(1ヶ所)(図 23)

リアヒッチ(5ヶ所)(図 24)

ステアリングシリンダのロッド端部(1ヶ所)(モデル 08705 のみ)(図 25)

ステアリングピボット (図 26)
Note: ステアリングピボットの注入部(図 26)は面一フィッティングなので、グリスガン用ノズルアダプタが必要です。 パーツ番号は P/N 107-1998; ご注文は Toro 代理店へ。

| 整備間隔 | 整備手順 |
|---|---|
| 100運転時間ごと |
|
異物を入れてしまわないよう、グリスニップルをきれいに拭く。
グリスガンでグリスを注入する。
はみ出したグリスはふき取る。
| 整備間隔 | 整備手順 |
|---|---|
| 使用開始後最初の 20 時間 |
|
| 100運転時間ごと |
|
平らな場所に駐車し、エンジンを停止させ、駐車ブレーキを掛けてキーを抜き取る。
ドレンプラグ (図 27) を外してオイルを容器に受ける。オイルが抜けたらドレンプラグを取り付ける。

オイルフィルタを外す(図 27)。
新しいフィルタのガスケットに薄くエンジンオイルを塗る。
ガスケットがアダプタに当たるまで手でねじ込み、そこから更に ½-¾ 回転増し締めする。
Important: フィルタを締めつけすぎないように注意してください。
クランクケースにオイルを入れる;エンジンオイルの量を点検するを参照。
使用済みオイルは適切に処分する。
| 整備間隔 | 整備手順 |
|---|---|
| 200運転時間ごと |
|
エアクリーナ本体にリーク原因となる傷がないか点検してください。破損しているものは交換してください。吸気部全体について、リーク、破損、ホースのゆるみなどを点検してください。
早めに整備を行っても意味がありません。むしろフィルタを外したときにエンジン内部に異物を入れてしまう危険が大きくなります。
エアクリーナ本体とカバーが正しく、しっかりと密着しているのを確認してください。
| 整備間隔 | 整備手順 |
|---|---|
| 200運転時間ごと |
|
エアクリーナのカバーをボディーに固定しているラッチを外す(図 28)。

ボディーからカバーを外す。
フィルタを外す前に、低圧のエア(2.75 bar = 2.8 kg/cm2 = 40 psi、異物を含まない乾燥した空気)で、1次フィルタの外側とキャニスタとの間に溜まっている大きなゴミを取り除く。
Important: 高圧のエアは使用しないこと。異物がフィルタを通ってエンジン部へ吹き込まれる恐れがある。このエア洗浄により、1次フィルタを外した時にほこりが舞い上がってエンジン部へ入り込むのを防止することができる。
フィルタを取り外して交換する。
Note: 新しいフィルタに傷がついていないかを点検する。特にフィルタとボディーの密着部に注意する。破損しているフ ィルタは使用しないでください。フィルタをボディ内部にしっかり取り付けます。エレメントの外側のリムをしっかり押さえて確実にボディに密着させてください。フィルタの真ん中の柔らかい部分を持たないでください。
Note: エレメントを洗って再使用しないこと。洗浄によってフィルタの濾紙を破損させる恐れがある。
カバーについている異物逃がしポートを清掃する。
カバーについているゴム製のアウトレットバルブを外し、内部を清掃して元通りに取り付ける。
アウトレットバルブが下向き(後ろから見たとき、時計の5時と7時の間になるように)カバーを取り付ける。
ラッチをしっかりと掛ける。
| 整備間隔 | 整備手順 |
|---|---|
| 800運転時間ごと |
|
タイプ: Champion RC14YC(または同等品)
エアギャップ:0.76 mm
Note: 点火プラグは非常に耐久性のある部品ですが、エンジンが不調の場合には必ず取り外して点検してください。
点火プラグを外した時にエンジン内部に異物が落ちないように、各プラグの周囲をきれいに清掃する。
点火コードをプラグから外し、シリンダヘッドからプラグを外す。
中央と側部の電極、および碍子の状態を点検し、破損していないことを確認する。
Important: 割れ、欠け、汚れその他の不具合のある点火プラグは交換してください。点火プラグにサンドブラストをかけたり、ナイフ状のもので削ったり、ワイヤブラシで清掃したりしないでください。プラグに残った細かい破片がシリンダ内に落ちる恐れがあります。実際にこれが起こるとエンジンを破損します。
エアギャップを 0.76 mm に調整する;図 29を参照。正しく調整された点火プラグをガスケットシールと共にエンジンに取りつけ、23N·m (2.3kg.m = 200in-lb)にトルク締めする。トルクレンチがない場合は十分に締め付ける。

| 整備間隔 | 整備手順 |
|---|---|
| 800運転時間ごと |
|
燃料ラインの途中にインラインフィルタが装着されています。交換が必要になったら、以下の手順で行います:
燃料バルブを閉じ、フィルタのキャブレタ側についているホースクランプをゆるめ、燃料ラインからフィルタを外す(図 30)。

フィルタの下に廃油受けを用意し、もう一方のホースクランプをゆるめてフィルタを取り外す。
新しいフィルタを取り付ける;フィルタ表示されている矢印が燃料タンクと逆方向を向くように(キャブレターに向くように)取り付ける。
ホースクランプを燃料ラインの端までずらす。
新しいフィルタをホースに差し込み、クランプで固定する。
Note: フィルタに付いている矢印がキャブレターに向くように取り付けること。
バッテリーの電極部や端子などの部分には鉛や鉛含有物質が含まれており、カリフォルニア州では、これらの物質が癌や先天性異常の原因となるとされている。取り扱い後は手を洗うこと。
救援用のバッテリーを使ってエンジンを始動させる場合には、バッテリー端子の代わりに救援用プラス端子(スタータソレノイドについている)を利用することができます(図 31)。

ヒューズブロックは座席の下にあります(図 32)。

| 整備間隔 | 整備手順 |
|---|---|
| 25運転時間ごと |
|
バッテリーの液量を正しいレベルに維持し、バッテリー上部を常にきれいにしておいてください。高温環境下で保管すると、涼しい場所で保管した場合に比べてバッテリーは早く放電します。
電解液には硫酸が含まれており、触れると火傷を起こし、飲んだ場合には死亡する可能性がある。
バッテリー液を飲まないこと。
皮膚、目、衣服などに電解液を付着させないよう注意してください。安全ゴーグルとゴム手袋で目と手を保護すること。
皮膚に付いた場合にすぐに洗浄できるよう、必ず十分な量の真水を用意しておくこと。
バッテリー上部はアンモニア水または重曹水に浸したブラシで定期的に清掃してください。清掃後は表面を水で流して下さい。清掃中はセルキャップを外さないでください。
バッテリーのケーブルは、接触不良にならぬよう、端子にしっかりと固定してください。
バッテリーケーブルの接続手順が不適切であるとケーブルがショートを起こして火花が発生する。それによって水素ガスが爆発を起こし人身事故に至る恐れがある。
ケーブルを取り外す時は、必ずマイナス(黒)ケーブルから取り外し、次にプラス(赤)ケーブルを外す。
ケーブルを取り付ける時は、必ずプラス(赤)ケーブルから取り付け、それからマイナス(黒)ケーブルを取り付ける。
端子が腐食した場合は、 ケーブルを外し(マイナスケーブルから先に外すこと)、クランプと端子とを別々に磨いてください。 磨き終わったらケーブルをバッテリーに接続し(プラスケーブルから先に接続すること)、端子にはワセリンを塗布してください。
電解液の量は25運転時間ごとに点検します。格納中は30日ごとに点検します。
各セルへは、蒸留水またはミネラルを含まない水を適正レベルまで補給してください。水を補給するときは上限を超えないように注意してください。
走行ペダルをニュートラル位置にしても本機が動きだすようでしたら、走行カムを調整してください。
平らな場所に駐車し、エンジンを停止させ、駐車ブレーキを掛けてキーを抜き取る。
センターシュラウドを機体に止め付けているねじ2本を外してシュラウドを機体から取り外す(図 33)。

前輪と片方の後輪を持ち上げ、フレームの下にサポートブロックを当てて浮かす。
機体は、必ず前輪と片方の後輪の 二輪を浮かせること;両方浮かせないと調整中に機体が動き出す。万一機体が動き出すと、人身事故や物損事故になる危険がある。
機体を確実にジャッキアップし、前輪と、後輪2輪のうちのどちらか1つを浮かす(と)。
トラクション調整カムのロックナットをゆるめる(図 34)。

走行調整カムの最終調整は、エンジンを回転させながら行う必要がある。可動部や高温部に触れると非常に危険である。
手足や顔や衣服を回転部やマフラなどに近づけないよう十分注意すること。
エンジンを始動し、カム(図 34)を左右に回してニュートラル位置の中心に合わせる。
ロックナットを締めて調整を固定する。
エンジンを停止する。
中央シュラウドを取り付ける。
ジャッキスタンドをはずし、機体を床に下ろす。
試運転を行って調整を確認する。
トランスミッションのニュートラル調整を行う:走行ドライブのニュートラル調整を参照。
ポンプのレバーを操作して、各パーツが正常に動作し適切に着座することを確認する。
ねじを回して、すき間を 0.8-2.3 mm に調整する(図 34)。
動作を確認する。
出荷時には、前進・後退方向ともに最高速度で走行できるように調整してありますが、速度を遅くしたい場合や、ペダルを一杯に踏み込んでいるのにポンプのストロークが最大位置まで来ない場合には、調整を行ってください。
最大速度が出せるように調整が必要かを判断するには、まず走行ペダルを踏み込んでみてください。ポンプのレバーがフルストローク位置に来る前にペダルがストップ(図 35)に当たる場合は、調整が必要です。

平らな場所に駐車し、エンジンを停止させ、駐車ブレーキを掛けてキーを抜き取る。
ペダルストップを固定しているナットをゆるめる。
ペダルストップを締め込んで、走行ペダルから離す。
走行ペダルを軽く踏み込みながら調整を続け、ペダルのロッドがストップにちょうど当たった時または両者のすき間が 2.5 mm になったときにポンプが最大ストロークとなるようにする。
ナットを締めつける。
平らな場所に駐車し、エンジンを停止させ、駐車ブレーキを掛けてキーを抜き取る。
ペダルストップを固定しているナットをゆるめる。
希望の走行速度まで、ペダルストップの位置を高くする。
ペダルストップを固定しているナットを締め付ける。
昇降レバー(図 37)をディテント(くぼみ)にセットしても「フロート」状態(地表面の凹凸に沿って動く)にならない場合には、ディテントプレートを調整します。
平らな場所に駐車し、エンジンを停止させ、駐車ブレーキを掛け、車輪に輪止めを掛ける。
コントロールパネルをフレームに固定しているねじ4本を外す(図 36)。

ディテントプレートフェンダとフレームに固定している2本のボルトをゆるめる。

ディテントプレートの調整はエンジンを作動させて行う必要がある。可動部や高温部に触れると非常に危険である。
手足や顔や衣服を回転部やマフラなどに近づけないよう十分注意すること。
エンジンを掛ける。
エンジンが作動しており昇降レバーがフロート位置にセットされている状態で昇降シリンダのロッドがフリー状態となって手で出し入れできるように、ディテントプレートの位置をずらして調整する。
両方のねじを締めて調整を固定する。
Important: ガバナの速度コントロール調整を行う前に、スロットルとチョークの調整が適正であることを必ず確認してください。
ガバナの速度コントロール調整は、エンジンを作動させながら行う必要がある。可動部や高温部に触れると非常に危険である。
調整を始める前に、走行ペダルがニュートラル位置にあることと、駐車ブレーキが掛かっていることを必ず確認すること。
マフラー等の高温部分や回転部・可動部に手足や衣服などを近づけぬよう十分注意すること。
Note: ローアイドルを調整するには、以下の手順をすべて行ってください。ハイアイドルの調整のみを行う場合には、手順5から始めてください。
エンジンを始動し、ハーフスロットルで約5分間のウォームアップを行う。
スロットルコントロールを低速位置にセットする。アイドルストップねじを左に回して、スロットルレバーに当たらなくなるようにする。
調速アイドルスプリングアンカーの耳(図 39)を曲げて、エンジン速度を 1,675-1,175 rpm に調整する。
Note: タコメータで速度を確認する。

手順 3で設定した回転数よりも25-50 rpm 高くなるように、アイドルストップねじを右に回して調整する。
Note: 最終的にアイドル速度が 1,650-1,850 rpm となる必要がある。
スロットルコントロールを高速位置とする。
高速アイドルスプリングアンカーの耳(図 39)を曲げて、エンジン速度を 3,350~3,450 rpm に調整する。
| 整備間隔 | 整備手順 |
|---|---|
| 使用開始後最初の 8 時間 |
|
| 400運転時間ごと |
|
フィルタはトロ純正品を使用してください。
平らな場所に駐車し、エンジンを停止させ、駐車ブレーキを掛けてキーを抜き取る。
センターシュラウドを機体に止め付けているねじ2本を外してシュラウドを機体から取り外す(図 40)。

機体左側にある油圧オイルフィルタ(図 41)の下に容器を置く。

フィルタ容器の周辺をウェスできれいにぬぐう。フィルタの下にオイルを受ける容器をおく。ガスケット部からオイルが漏れてフィルタの側面を伝わって流れてくるまで、フィルタを外さぬように少しずつゆるめる。
Note: リモート油圧キットを搭載している場合は、吸入側のホースをポンプから外してオイルを抜くことができます。
オイルが流れ出し始めたらフィルタを取りはずす。
新しいフィルタのガスケットにきれいな油圧オイルを塗り、ガスケットが取り付け部に当るまで手でねじ込んで取り付ける。その状態からさらに 3/4 回転締め付ける。
Note: これでフィルタは十分に密着する。
ディップスティックの満タン位置になるまで、油圧オイルタンクにオイルを入れる。入れすぎないこと。 油圧オイルの量を点検するを参照。
エンジンを始動する。エンジンを通常に回転させ、昇降シリンダの動作と車輪の前進後退走行動作を確認する。
エンジンを停止し、タンクの油量を点検し、必要に応じて補給する。
油圧接続部にオイル漏れがないかを点検する。
中央シュラウドを取り付ける。
使用済みオイルは適切に処分する。
| 整備間隔 | 整備手順 |
|---|---|
| 使用するごとまたは毎日 |
|
油圧ライン・油圧ホースにオイル漏れ、ねじれ、支持部のゆるみ、磨耗、フィッティングのゆるみ、風雨や薬品による劣化などがないか毎日点検してください。異常を発見したら必ず運転を行う前に修理してください。
高圧で噴出する作動油は皮膚を貫通し、身体に重大な損傷を引き起こす。
油圧を掛ける前に、油圧ラインやホースに傷や変形がないか接続部が確実に締まっているかを確認する。
油圧のピンホールリークやノズルからは作動油が高圧で噴出しているので、絶対に手などを近づけない。
リークの点検には新聞紙やボール紙を使う。
油圧関係の整備を行う時は、内部の圧力を確実に解放する。
万一、油圧オイルが体内に入ったら、直ちに専門医の治療を受ける。
油圧システムの構成機器を修理・交換した時は、油圧オイルフィルタを交換し、油圧回路のチャージを行う必要があります。
チャージ作業は、必ず、油圧オイルタンクおよびマニホルドのフィルタにオイルが入った状態で行ってください。
平らな場所に駐車し、エンジンを停止させ、駐車ブレーキを掛けてキーを抜き取る。
センターシュラウドを機体に止め付けているねじ2本を外してシュラウドを機体から取り外す(図 42)。

前輪と片方の後輪とを床から浮かせ、フレームの下にサポートブロックを当てて支える。
機体は、必ず前輪と片方の後輪の 二輪を浮かせること;両方浮かせないと調整中に機体が動き出す。万一機体が動き出すと、人身事故や物損事故になる危険がある。
機体を確実にジャッキアップし、前輪と、後輪2輪のうちのどちらか1つを浮かす(と)。
エンジンを始動し、スロットルで約1,800rpmのアイドリングに調整する。
昇降レバーを操作して、昇降シリンダを数回動作させる。10-15 秒たってもシリンダが作動しなかったり、ポンプから異音が聞こえたりしたら、直ちにエンジンを停止し、原因を調べる。以下について点検を行う:
フィルタ又はサクションラインのゆるみ
ポンプのカップラのゆるみ又は不良
サクションラインの詰まり
チャージリリーフバルブの不良
チャージポンプの不良
10-15 秒以内にシリンダが作動すれば、手順 6へ進む。
走行ペダルを前進・後退方向にそれぞれ踏み込んでみる。床から浮いている車輪がそれぞれ正しい方向に回転すればよい。
回転が逆の場合はエンジンを停止し、ポンプ後部のラインを入れ換えて回転方向を修正する。
回転方向が正しければ、エンジンを停止し、スプリング調整ピンのロックナットの調整を行う(図 43)。走行系統のニュートラル調整を行う:走行ドライブのニュートラル調整を参照。

インタロックスイッチの調整を点検する;走行インタロックスイッチの調整を参照。
中央シュラウドを取り付ける。
| 整備間隔 | 整備手順 |
|---|---|
| 使用するごとまたは毎日 |
|
一日の作業を終え、エンジン温度が下がったら、洗車してください。洗車には普通のホースを使用します。ノズルや圧力洗浄器は、シール部分やベアリングに浸水させる恐れがありますので使用しないでください。
冷却フィンや吸気口の周辺にほこりがたまらないようにしてください。
Important: オイルクーラを水で清掃すると、さびが発生したり、各部の破損が早く進む恐れがあり、ほこりが固くこびりつくので避けてください;オイルクーラを清掃するを参照。
洗車が終わったら、各部の磨耗・損傷、油圧機器や可動部の状態などの点検を行ってください。
車体、アタッチメント、エンジンをていねいに洗浄する。
タイヤ空気圧
ボルトナット類にゆるみながいか点検し、必要な締め付けを行う。
グリス注入部やピボット部全部をグリスアップする。にじみ出たグリスはふき取る。
塗装のはがれている部分に軽く磨きをかけ、タッチアップする。
バッテリーとケーブルに以下の作業を行う:
バッテリー端子からケーブルを外す。
バッテリー本体、端子、ケーブル端部を重曹水とブラシで洗浄する。
腐食防止のために両方の端子部にGrafo 112X スキンオーバーグリス(P/N 505-47)またはワセリンを塗る。
電極板の劣化を防止するため、60日ごとに24時間かけてゆっくりと充電する。
Note: 完全充電すると、バッテリー液の比重は 1.250 となります。
Note: 温度が高いとバッテリーは早く放電しますので、涼しい場所を選んで保管してください。 バッテリーを凍結させないためには、完全充電しておくことが大切です。
エンジンオイルとフィルタの交換を行う。エンジンオイルとフィルタの交換を参照。
エンジンを始動し、約2分間のアイドル運転を行う。
エアクリーナをきれいに清掃する。エアクリーナの整備を参照。
エアクリーナの吸気口とエンジンの排気口を防水性のマスキングテープでふさぐ。
オイルタンクと燃料タンクのふたが確実に締まっているのを確認する。