| Underhållsintervall | Underhållsförfarande |
|---|---|
| Efter de första 20 timmarna |
|
| Varje användning eller dagligen |
|
Maskinen är en åkarbetsutrustning som är avsedd att användas av yrkesförare som har anlitats för kommersiellt arbete. Den är främst konstruerad för att underhålla sandgropar på väl underhållna golfbanor och kommersiella anläggningar.
Important: För att öka säkerheten och prestandan samt säkerställa en korrekt hantering av maskinen ska du noggrant läsa och till fullo förstå innehållet i denna bruksanvisning. Om du inte följer driftanvisningarna eller inte får lämplig utbildning kan detta leda till personskador. Du hittar mer information om säker användning, bland annat i form av säkerhetsråd och utbildningsmaterial på https://www.toro.com/sv-se.
Om du behöver utbildningsmaterial för säkerhet och drift, information om tillbehör, hjälp med att hitta en återförsäljare eller om du vill registrera din produkt kan du kontakta Toro via www.toro.com.
Kontakta en auktoriserad återförsäljare eller Toros kundservice och ha produktens modell- och serienummer till hands om du har behov av service, Toro originaldelar eller ytterligare information. Figur 1 visar var du finner produktens modell- och serienummer. Skriv in numren i det tomma utrymmet.
Important: Skanna rutkoden på serienummerdekalen (i förekommande fall) med en mobil enhet för att få tillgång till information om garanti, reservdelar och annat.

Varningssymbolen (Figur 2) som visas i den här bruksanvisningen och på maskinen markerar viktiga säkerhetsmeddelanden som du måste följa för att förhindra olyckor.

Varningssymbolen visas ovanför information som varnar dig för farliga handlingar eller situationer och följs av orden FARA, VARNING eller VAR FÖRSIKTIG.
FARA indikerar en överhängande fara som, om den inte undviks, kommer att leda till dödsfall eller allvarliga personskador.
VARNING indikerar en potentiellt farlig situation som, om den inte undviks, kan leda till dödsfall eller allvarliga personskador.
VAR FÖRSIKTIG indikerar en potentiellt farlig situation som, om den inte undviks, kan leda till mindre eller måttliga personskador.
Två andra beteckningar används för att markera information i denna bruksanvisning. Viktigt anger speciell teknisk information och Observera anger allmän information värd att notera.
Denna produkt uppfyller kraven i alla relevanta europeiska direktiv. Mer information finns i den separata produktspecifika försäkran om överensstämmelse.
Det är ett brott mot avsnitt 4442 eller 4443 i Kaliforniens Public Resource Code att använda eller köra motorn på skogs-, busk- eller grästäckt mark om motorn inte är utrustad med en gnistsläckare som är i fullgott skick, vilket anges i avsnitt 4442, eller utan att motorn är konstruerad, utrustad och underhållen för att förhindra brand.
Den bifogade bruksanvisningen till motorn tillhandahålls för information om den amerikanska miljömyndigheten EPA:s (US Environmental Protection Agency) och Kaliforniens lagstiftning om utsläppskontroll för utsläppssystem, underhåll och garanti. Extra bruksanvisningar kan beställas från motortillverkaren.
KALIFORNIEN
Proposition 65 Varning
Motoravgaserna från denna produkt innehåller kemikalier som av den amerikanska delstaten Kalifornien anses orsaka cancer, fosterskador eller andra fortplantningsskador.
Batteripoler och kabelanslutningar med tillbehör innehåller bly och blyföreningar, kemikalier som den amerikanska delstaten Kalifornien anser kan orsaka cancer och fortplantningsskador. Tvätta händerna efter hantering.
Användning av produkten kan orsaka kemikalieexponering som av den amerikanska delstaten Kalifornien anses orsaka cancer, fosterskador och andra fortplantningsskador.
För ytterligare hjuldrivning kan viktsatsen 100-6442 fästas framtill på maskinen.
Note: Om en främre lyft eller plog är monterade på maskinen kommer viktsatsen inte att rymmas eftersom delarna tar i varandra.
Den här produkten kan orsaka personskador. Följ alltid alla säkerhetsanvisningar för att undvika allvarliga personskador.
Det kan medföra fara för dig och kringstående om maskinen används i andra syften än vad som avsetts.
Läs och förstå innehållet i denna bruksanvisning innan du startar motorn. Se till att alla som använder den här produkten förstår varningarna och vet hur produkten ska användas.
Håll koncentrationen helt på maskinen när du använder den. Ägna dig inte åt aktiviteter som kan distrahera dig, eftersom personskador eller skador på egendom då kan uppstå.
Håll händer och fötter på avstånd från maskinens rörliga komponenter.
Kör endast maskinen om skydd och andra säkerhetsanordningar sitter på plats och fungerar.
Håll kringstående på avstånd från maskinen när den är i rörelse.
Håll barn på säkert avstånd från arbetsområdet. Låt aldrig barn köra maskinen.
Stanna maskinen och stäng av motorn innan du servar eller fyller på bränsle i maskinen.
Felaktigt bruk eller underhåll av maskinen kan leda till personskador. För att minska risken för skador ska du alltid följa säkerhetsanvisningarna och uppmärksamma varningssymbolen (Figur 2) som betyder: Var försiktig, Varning eller Fara – anvisning om personsäkerhet. Underlåtenhet att följa anvisningarna kan leda till personskador eller dödsfall.
Ytterligare säkerhetsinformation finns i den här bruksanvisningen.
![]() |
Säkerhetsdekalerna och säkerhetsinstruktionerna är fullt synliga för föraren och finns nära alla potentiella farozoner. Ersätt dekaler som har skadats eller saknas. |








Note: Vänster och höger sida på maskinen är lika med förarens vänstra respektive högra sida vid normal körning.
Note: Ta bort och släng alla transportfästen och fästanordningar.
Delar som behövs till detta steg:
| Ratt | 1 |
| Skumstoppring | 1 |
| Bricka | 1 |
| Låsmutter | 1 |
| Rattskydd | 1 |
Flytta framhjulet så att det pekar rakt framåt.
Trä på skumstoppringen med den smala änden först på styraxeln (Figur 3).

Trä på ratten på styraxeln (Figur 3).
Fäst ratten vid styraxeln med en bricka och en låsmutter (Figur 3).
Dra åt låsmuttern till 27–35 N·m.
Tryck fast rattskyddet på ratten (Figur 3).
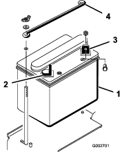
Ta bort de 2 vingmuttrarna och brickorna som fäster batteriets övre låsfäste vid batteriets sidolåsfästen (Figur 4). Ta bort batteriets låsfäste och ta loss batteriet.

Delar som behövs till detta steg:
| Bulkelektrolyt, specifik vikt på 1 260 (medföljer inte) | – |
Om batteriet inte är fyllt med elektrolyt eller aktiverat ska du fylla på batteriet med elektrolyt med specifik vikt på 1,260.
Note: Du kan köpa bulkelektrolyt från närmaste försäljningsställe för batterier.
Batterielektrolyt innehåller svavelsyra, vilket är dödligt vid förtäring och orsakar allvarliga brännskador.
Drick inte av elektrolyten och undvik kontakt med hud, ögon eller kläder. Använd skyddsglasögon för att skydda ögonen och gummihandskar för att skydda händerna.
Fyll på batteriet på en plats där du har tillgång till rent vatten och kan skölja av huden.
Ta bort batteriets påfyllningslock och fyll långsamt på elektrolyt upp till påfyllningsmarkeringen i varje cell.
Sätt tillbaka påfyllningslocken och anslut en 3–4 A batteriladdare till batteriposterna. Ladda batteriet med 3 till 4 ampere under 4 till 8 timmar.
När batteriet laddas bildas explosiva gaser.
Rök aldrig nära batteriet och håll det borta från gnistor och lågor.
Koppla ur laddningsanordningen från eluttaget och batteripolerna när batteriet är laddat. Låt batteriet stå i 5–10 minuter.
Ta bort påfyllningslocken.
Fyll långsamt på elektrolyt upp till påfyllningsmarkeringen i varje cell.
Important: Fyll inte på batteriet för mycket. Elektrolyten kommer att rinna över på andra delar av maskinen och orsaka allvarlig korrosion och slitage.
Sätt tillbaka påfyllningslocken.
Delar som behövs till detta steg:
| Skruv (¼ x ⅝ tum) | 2 |
| Låsmutter (¼ tum) | 2 |
Sätt batteriet på plats med minuspolen riktad mot maskinens bakre del (Figur 5).

Felaktig dragning av batterikablarna kan skada maskinen och kablarna samt orsaka gnistor. Gnistorna kan få batterigaserna att explodera, vilket kan leda till personskador.
Lossa alltid batteriets minuskabel (svart) innan du lossar pluskabeln (röd).
Anslut alltid pluskabeln (röd) innan du ansluter minuskabeln (svart).
Batteriets kabelanslutningar eller metalldelar kan kortslutas mot maskinkomponenter i metall och orsaka gnistor. Gnistorna kan få batterigaserna att explodera, vilket kan leda till personskador.
Låt inte batterianslutningarna komma i kontakt med några av maskinens metalldelar när du monterar eller tar bort batteriet.
Låt inte metalldelar kortsluta mellan batterianslutningarna och maskinens metalldelar.
Fäst pluskabeln (röd) vid pluspolen (+) med en skruv på ¼ x ⅝ tum och en låsmutter (Figur 6).

Fäst den lilla svarta kabeln och minuskabeln (svart) vid batteriets minuspol (–) med en skruv (¼ x ⅝ tum) och en låsmutter (¼ tum) (Figur 6).
Fetta in polerna och monteringsfästena med vaselin för att förhindra korrosion.
Trä gummiskon över pluspolen (+) för att förhindra eventuell kortslutning.
Installera batteriets övre fäste vid batteriets sidolåsfästen och fäst det med brickorna och vingmuttrarna.
Delar som behövs till detta steg:
| Monteringssats för främre vikter efter behov | – |
Maskinen har utformats i enlighet med specifikationerna i ANSI B71.4-2017. När redskap har monterats på maskinen kan det dock krävas ytterligare vikter för att uppfylla standarderna.
Med hjälp av tabellen nedan kan du avgöra hur mycket ytterligare vikt som krävs. Beställ delar från din lokala auktoriserade Toro-återförsäljare.
| Redskap | Ytterligare framvikt som krävs | Artikelnummer för viktsats | Viktbeskrivning | Antal |
|---|---|---|---|---|
| Enhet med pigganordning (08755) | 23 kg | 100-6442 | Viktplatta på 8 x 3 kg | 1 |
| Rahn-trimsats | 23 kg | 100-6442 | Viktplatta på 8 x 3 kg | 1 |
| Verktygslåda till snabbkopplingssystem | 23 kg | 100-6442 | Viktplatta på 8 x 3 kg | 1 |
Note: Ingen ytterligare vikt krävs om maskinen är utrustad med den främre hydraullyftanordningssatsen (modell 08712).
Delar som behövs till detta steg:
| Dekal med uppgift om tillverkningsår | 1 |
Fäst dekalen med uppgift om tillverkningsår på maskinen i området som visas (Figur 7).

Delar som behövs till detta steg:
| Varningsdekal | 1 |
Fäst CE-varningsdekalen (artikelnr 136-6164) ovanför det nedre området på konsoldekalen (artikelnr 132-4422) på maskiner som måste följa CE-bestämmelserna.

Gaspedalen (Figur 9) har tre funktioner: att röra maskinen framåt, att röra maskinen bakåt och att stanna maskinen. Använd tårna respektive hälen på höger fot och tryck ned den främre delen av pedalen för att köra framåt eller den bakre delen av pedalen för att köra bakåt eller stanna när maskinen åker framåt (Figur 10). Låt även pedalen förflytta sig till eller för den till NEUTRALläget när du vill stanna maskinen. Håll inte hälen på backpedalen när du ska köra maskinen framåt


Hastigheten står i proportion till hur mycket gaspedalen trycks ned. Om du vill köra med maxhastigheten ska du trampa ned pedalen helt och ha gasreglaget i det SNABBA LäGET. För att få maximal effekt eller köra upp för en backe ställer du gasreglaget i det SNABBA LäGET samtidigt som du trycker ned gaspedalen något för att behålla ett högt varvtal. När varvtalet börjar sjunka släpper du något på gaspedalen för att öka motorns varvtal igen.
Important: För maximal dragkraft ställer du gasreglaget det SNABBA LäGET och trampar lätt på gaspedalen.
Använd bara maxhastigheten när du kör från ett område till ett annat.
Använd inte maxhastigheten tillsammans med monterade eller bogserade redskap.
Important: Backa inte med redskapet i nedsänkt läge (driftsläge) eftersom det kan skada redskapet allvarligt.
Det finns tre lägen i tändningslåset (Figur 11) som används för att starta och stänga av motorn: AVSTäNGT LäGE, KöRLäGE och STARTLäGE. Vrid nyckeln medurs till STARTLäGET tills startmotorn går igång. Släpp nyckeln när motorn startar så förs den automatiskt till det PåSLAGNA LäGET. Stäng av motorn genom att vrida nyckeln moturs till det AVSTäNGDA LäGET.

När du ska starta en kall motor stänger du förgasarchoken genom att dra chokereglaget (Figur 11) upp till det AVSTäNGDA LäGET. Reglera choken så att motorn går jämnt när den har startats. Öppna choken så snart som möjligt genom att flytta ned den till det öPPNA LäGET. En varm motor kräver lite eller ingen choke.
Gasreglagespaken (Figur 11) ansluter till och reglerar gasreglagelänkningen till förgasaren. Reglaget har två lägen: LåNGSAM och SNABB. Motorhastigheten kan växlas mellan de två inställningarna.
Note: Du kan inte stänga av motorn med gasreglaget.
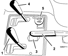
Lyft redskapet genom att dra lyftspaken (Figur 12) bakåt. Sänk redskapet genom att trycka spaken framåt. När du vill ställa in FLYTANDE LäGE flyttar du spaken till spärrläget. När du har lagt i det önskade läget släpper du spaken. Den kommer att återgå till neutralläget.

Note: Maskinen har en dubbelverkande lyftcylinder. Du kan tillämpa ett nedåtgående tryck på redskapet under vissa driftsförhållanden.
Lägg i parkeringsbromsen (Figur 12) genom att dra parkeringsbromsspaken bakåt. Lossa den genom att trycka spaken framåt.
Note: Gaspedalen kanske måste roteras långsamt framåt och bakåt för att parkeringsbromsen ska kopplas ur.
Timmätaren (Figur 12) visar det totala antalet timmar som maskinen har varit i drift. Timmätaren börjar räkna varje gång nyckeln vrids till det PåSLAGNA läget.
Flytta spaken på vänster sida om sätet (Figur 13) framåt, skjut sätet till det önskade läget och släpp spaken för att låsa sätet i det läget.

Stäng bränslekranen (Figur 14) på maskinen vid förvaring eller under släpvagnstransport.

Note: Specifikationer och design kan komma att ändras utan föregående meddelande.
| Bredd utan redskap | 148 cm |
| Bredd med räfsa, modellnummer 08751 | 191 cm |
| Längd utan redskap | 164 cm |
| Höjd | 115 cm |
| Hjulbas | 109 cm |
| Nettovikt | |
| Modell 08703 | 452 kg |
| Modell 08705 | 461 kg |
Det finns ett urval av godkända Toro-redskap och -tillbehör som du kan använda för att förbättra och utöka maskinens kapacitet. Kontakta en auktoriserad återförsäljare eller auktoriserad Toro-distributör, eller gå till www.Toro.com för att se en lista över alla godkända redskap och tillbehör.
Använd endast originalreservdelar och tillbehör från Toro för att garantera optimal prestanda och fortlöpande säkerhet för produkten. Det kan vara farligt att använda reservdelar och tillbehör från andra tillverkare och det kan göra produktgarantin ogiltig.
Note: Vänster och höger sida på maskinen är lika med förarens vänstra respektive högra sida vid normal körning.
Låt aldrig barn eller någon som inte har fått utbildning använda eller utföra underhåll på maskinen. Lokala bestämmelser kan begränsa användarens ålder. Det är ägaren som ansvarar för att utbilda alla förare och mekaniker.
Lär dig hur man använder utrustningen på ett säkert sätt och bekanta dig med manöverreglage och säkerhetsskyltar.
Lär dig att stanna maskinen och motorn snabbt.
Kontrollera att förarnärvaroreglage, säkerhetsbrytare och skydd sitter fast och fungerar som de ska. Kör inte maskinen om dessa inte fungerar som de ska.
Kontrollera att komponenter och fästen är i gott bruksskick innan du använder maskinen. Byt ut slitna eller skadade komponenter och fästen.
Inspektera området där maskinen ska användas och ta bort föremål som maskinen kan slunga omkring.
Var ytterst försiktig när du hanterar bränsle. Det är brandfarligt och dess ångor är explosiva.
Släck alla cigaretter, cigarrer, pipor och övriga antändningskällor.
Använd endast en godkänd bränslebehållare.
Ta inte bort tanklocket och fyll inte på bränsle i bränsletanken medan motorn är igång eller fortfarande är varm.
Fyll inte på eller tappa ut bränsle från maskinen i ett slutet utrymme.
Förvara inte maskinen eller bränslebehållaren i närheten av en öppen låga, gnista eller tändlåga, t.ex. nära en varmvattenberedare eller någon annan utrustning.
Om du spiller ut bränsle ska du inte försöka att starta motorn. Undvik att skapa några gnistor tills bränsleångorna har skingrats.
| Underhållsintervall | Underhållsförfarande |
|---|---|
| Efter de första 20 timmarna |
|
| Varje användning eller dagligen |
|
Motorn levereras med olja i vevhuset. Oljenivån måste dock kontrolleras före och efter du startar motorn för första gången.
Vevhusets kapacitet är ca 1,66 liter med filter.
Använd högkvalitativ motorolja som uppfyller följande specifikationer:
API-klassificering SL eller högre.
Rekommenderad olja: SAE 30 (över 4 ºC)
Parkera maskinen på ett plant underlag, stäng av motorn, koppla in parkeringsbromsen och ta ut nyckeln.
Sväng sätet framåt.
Dra ut oljestickan (Figur 15) och torka av den med en ren trasa.

Sätt i oljestickan i röret och se till att den sitter som den ska. Ta ut oljestickan ur röret och kontrollera oljenivån. Om oljenivån är låg tar du bort påfyllningslocket från ventilkåpan och fyller på tillräckligt med olja så att nivån når upp till markeringen Full på oljestickan.
Important: Kontrollera att oljenivån ligger mellan den övre och den nedre markeringen på oljestickan. Motorn kan skadas om för mycket eller för lite motorolja fylls på.
Sätt ner oljestickan så den sitter ordentligt.
Important: Oljestickan måste sitta helt på plats i röret så att vevhuset försluts på rätt sätt. Om vevhuset inte försluts som det ska kan motorn skadas.
Sväng ner sätet igen.
Bränsletankskapacitet: 25 liter
Rekommenderad bensin:
Använd endast ren och färsk (ej äldre än 30 dagar) blyfri bensin med oktantal 87 eller högre för bästa resultat (klassificeringsmetod (R+M)/2).
Etanol: Bensin som innehåller upp till 10 % etanol (gasohol) eller 15 % MTBE (metyl-tertiär-butyleter) baserat på volym är godkänd. Etanol och MTBE är inte samma sak. Bensin med 15 % etanol (E15) baserat på volym får inte användas. Använd inte bensin som innehåller mer än 10 % etanol baserat på volym, t.ex. E15 (innehåller 15 % etanol), E20 (innehåller 20 % etanol) eller E85 (innehåller upp till 85 % etanol). Användning av ej godkänd bensin kan leda till prestandaproblem och/eller skador på motorn som eventuellt inte omfattas av garantin.
Använd inte bensin som innehåller metanol.
Förvara inte bränsle i bränsletanken eller i en bränsledunk under vintern om inte en stabiliserare används.
Tillför inte olja i bensinen.
Important: Använd inga andra bränsletillsatser än sådana som är avsedda för stabilisering av bränslet. Använd inte alkoholbaserade stabiliserare med t.ex. etanol, metanol eller isopropanol.
Rengör området runt tanklocket (Figur 16).
Ta av tanklocket.
Fyll tanken till ungefär 25 mm från tankens överkant (nedanför påfyllningsrörets smalare del). Fyll inte på för mycket.

Sätt tillbaka locket.
Torka upp allt bränsle som kan ha runnit över för att undvika brandrisk.
Important: Använd aldrig metanol, bensin som innehåller metanol eller gasol som innehåller mer än 10 % etanol, eftersom det kan skada bränslesystemet. Blanda inte olja i bensinen.
| Underhållsintervall | Underhållsförfarande |
|---|---|
| Varje användning eller dagligen |
|
Tanken fylls på fabriken med ca 18,9 liter högkvalitativ hydraulvätska. Det är bäst att kontrollera hydraulvätskan när den är kall. Maskinen ska vara inställd som för transport. Fyll på vätska tills nivån når upp till mitten av godkänt intervall på mätstickan om nivån ligger under markeringen Add. Fyll inte på för mycket i tanken. Du behöver inte fylla på vätska om nivån ligger mellan markeringarna Full och Add. Kontrollera hydraulvätskenivån innan motorn startas för första gången och därefter dagligen.
Rekommenderad utbytesvätska:
| Hydraulvätska av typen Toro Premium All Season (finns i 19 liters dunkar eller 208 liters fat, se reservdelskatalogen eller fråga Toro-återförsäljare om artikelnummer) |
Rekommenderad hydraulvätska: Hydraulvätska av typen Toro Premium All Season
Alternativa vätskor: Om du inte har tillgång till Toro-vätskan kan du använda andra konventionella och petroleumbaserade vätskor, under förutsättning att de uppfyller följande materialegenskaper och branschspecifikationer. Kontrollera med din vätskeleverantör att vätskan uppfyller dessa specifikationer.
Note: Toro ansvarar inte för skador som uppstått till följd av att felaktiga vätskor använts. Använd därför endast produkter från välkända tillverkare som ansvarar för sina rekommendationer.
| Högt viskositetsindex/nötningsförhindrande hydraulvätska, med låg flytpunkt, av typen ISO VG 46 | |
| Materialegenskaper: | |
| Viskositet, ASTM D445 | cSt vid 40 °C 44–48cSt vid 100 °C 7,9–9,1 |
| Viskositetsindex, ASTM D2270 | 140 eller högre |
| Flytpunkt, ASTM D97 | -37 °C till -45 °C |
| FZG, steg för fel | 11 eller bättre |
| Vatteninnehåll (ny vätska) | 500 ppm (max.) |
| Branschspecifikationer: | |
| Vickers I-286-S, Vickers M-2950-S, Denison HF-0, Vickers 35 VQ 25 (Eaton ATS373-C) | |
Lämpliga hydraulvätskor måste vara angivna för mobila maskiner (i motsats till användning på en industriell anläggning), av flerviktstyp, med nötningsförhindrande ZnDTP- eller ZDDP-tillsatspaket (inte en askfri vätsketyp).
Important: Många hydraulvätskor är nästintill färglösa, vilket gör det svårt att upptäcka läckor. Det finns en rödfärgstillsats till hydraulvätskan i flaskor om 20 ml. En flaska räcker till 15–22liter hydraulvätska. Beställ artikelnr 44-2500 från en auktoriserad Toro-återförsäljare.
Syntetisk: Biologiskt nedbrytbar hydraulvätska
(du kan köpa oljan i dunkar om 19 liter eller fat om 208 liter, se reservdelskatalogen eller kontakta din Toro-återförsäljare för information om artikelnummer)
Den här syntetiska, biologiskt nedbrytbara vätskan av hög kvalitet har testats och anses vara kompatibel med denna Toro-modell. Syntetiska vätskor av andra märken kan ha problem med förseglingen och Toro ansvarar inte för icke godkända vätskor.
Note: Denna syntetiska hydraulvätska är inte kompatibel med den biologiskt nedbrytbara hydraulvätskan från Toro som tidigare såldes. Kontakta din Toro-återförsäljare för mer information.
Alternativa vätskor:
Mobil EAL Envirosyn H 46 (USA)
Mobil EAL Hydraulic Oil 46 (internationell)
Parkera maskinen på ett plant underlag, stäng av motorn, koppla in parkeringsbromsen och ta ut nyckeln.
Gör rent omkring locket till hydrauloljetanken för att förhindra att skräp kommer in i tanken (Figur 17).

Skruva av oljetanklocket.
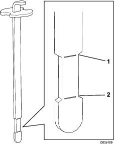
Ta ut oljestickan ur påfyllningsröret och torka av den med en ren trasa.
För in oljestickan i påfyllningsröret; ta ut den igen och kontrollera oljenivån.
Note: Vätskenivån ska vara halvvägs mellan de övre och nedre markeringarna (det avsmalnade området) på mätstickan (Figur 18).

Om vätskenivån är låg fyller du långsamt på lämplig hydraulvätska i tanken tills nivån når upp till det avsmalnade området på mätstickan.
Note: Fyll inte på för mycket i tanken.
Sätt tillbaka tanklocket.
Important: Undvik föroreningar i systemet genom att rengöra öppningen på hydrauloljebehållaren före punktering. Se till att pipen och tratten är rena.
| Underhållsintervall | Underhållsförfarande |
|---|---|
| Varje användning eller dagligen |
|
Kontrollera däcktrycket innan maskinen används (Figur 19). Korrekt lufttryck i fram- och bakdäcken är:
Däck med slitbanor: 0,70 bar
Note: Om knivdriften kräver ytterligare dragning kan du minska trycket till 0,55 bar.
Däck med slät slitbana: 0,55 till 0,70 bar

| Underhållsintervall | Underhållsförfarande |
|---|---|
| Efter de första 8 timmarna |
|
| Var 100:e timme |
|
Dra åt hjulmuttrarna till 95–122 N·m.
Ägaren/operatören kan förebygga och ansvarar för olyckor som kan ge upphov till personskador eller skador på egendom.
Använd lämpliga kläder, inklusive ögonskydd, halkfria och ordentliga skor, långbyxor och hörselskydd. Sätt upp långt hår och använd inte hängande smycken.
Kör inte maskinen om du är sjuk, trött eller påverkad av alkohol eller läkemedel.
Låt aldrig passagerare åka på maskinen och håll kringstående personer och husdjur på avstånd från maskinen under drift.
Använd endast maskinen om du har god sikt, så att du kan undvika gropar och dolda faror.
Kör aldrig maskinen på vått gräs. Försämrat grepp kan göra att maskinen glider.
Se till att alla drivenheter är i neutralläge, parkeringsbromsen är ilagd och du sitter i förarsätet innan du startar motorn.
Titta bakåt och nedåt innan du backar för att se till att vägen är fri.
Var försiktig när du närmar dig hörn med skymd sikt, buskage, träd eller andra objekt som kan försämra sikten.
Kör inte nära stup, diken eller flodbäddar. Maskinen kan välta plötsligt om ett hjul kör över en kant eller kanten ger med sig.
Stanna maskinen och undersök redskapet om du kör på ett föremål eller om maskinen vibrerar på ett onormalt sätt. Reparera alla skador innan du börjar köra maskinen igen.
Sakta ned och var försiktig när du svänger och korsar vägar och trottoarer med maskinen. Lämna alltid företräde.
Låt aldrig motorn gå i ett utrymme där avgaser inte kan komma ut.
Lämna aldrig en maskin som är i gång utan uppsikt.
Gör följande innan du lämnar förarplatsen:
Parkera maskinen på ett plant underlag.
Sänk redskapen.
Lägg i parkeringsbromsen.
Stäng av motorn och tag ut nyckeln.
Vänta tills alla rörliga delar har stannat.
Använd inte maskinen när det finns risk för blixtnedslag.
Använd inte maskinen som bogserfordon.
Våttorka ytorna före underhåll för att minimera dammsamling (vid behov).
Använd endast tillbehör, redskap och reservdelar som har godkänts av Toro®.
Skapa egna rutiner och regler för körning i sluttningar. Rutinerna ska innehålla en kartläggning av arbetsplatsen för att avgöra vilka sluttningar som är säkra för maskindrift. Använd alltid sunt förnuft och ett gott omdöme när du utför kontrollen.
Sluttningar är en betydande faktor vid olyckor som orsakas av att föraren förlorat kontrollen eller att maskinen välter, vilket kan innebära livsfara eller leda till allvarliga personskador. Det är föraren som är ansvarig för säker manövrering i sluttningar. Om du kör maskinen i en sluttning måste du vara extra försiktig.
Sluttningar är en betydande faktor vid olyckor som orsakas av förlorad kontroll eller tippning. Sådana olyckor kan orsaka allvarliga personskador eller dödsfall. Om du kör maskinen i en sluttning måste du vara extra försiktig.
Kör maskinen i en lägre hastighet när du befinner dig i en sluttning.
Om du känner dig osäker när du kör maskinen i sluttningar ska du inte köra där.
Se upp för hål, rötter, ojämnheter, stenar och andra dolda risker. Ojämn terräng kan göra att maskinen välter. Det kan finnas dolda hinder i högt gräs.
Välj en låg hastighet så att du inte behöver stanna eller växla när du kör i en sluttning.
Maskinen kan välta innan däcken förlorar greppet.
Kör aldrig maskinen på vått gräs. Däcken kan förlora greppet oavsett om bromsarna är tillgängliga och fungerar.
Undvik att starta, stänga av eller vända maskinen i en sluttning.
Rörelse i sluttningar ska ske långsamt och gradvis. Ändra inte maskinens hastighet eller riktning tvärt.
Kör inte maskinen nära stup, diken, flodbäddar eller vattendrag. Maskinen kan välta plötsligt om ett hjul kör över en kant eller kanten ger med sig. Håll ett säkert avstånd mellan maskinen och riskfyllda områden (två maskinbredder).
Ta bort foten från gaspedalen, se till att pedalen är i NEUTRALLäGET och koppla in parkeringsbromsen.
Tryck choken framåt till det PåSLAGNA läget (när motorn som startas är kall) och gasreglaget till det LåNGSAMMA läget.
Important: När maskinen körs i en temperatur som understiger 0°C låter du maskinen bli varm innan du använder den. Detta förebygger skador på hydrostaten och drivkretsen.
Sätt i nyckeln i tändningslåset och vrid den medurs för att starta motorn. Släpp nyckeln när motorn startar.
Note: Reglera choken så att motorn kör jämnt.
Important: Undvik att startmotorn överhettas genom att inte låta den gå i mer än 10 sekunder. Om du har försökt starta motorn i 10 sekunder väntar du i 60 sekunder innan du startar den på nytt.
Stäng av motorn genom att flytta gasreglaget till det LåNGSAMMA LäGET och vrid tändningsnyckeln till det AVSTäNGDA LäGET.
Note: Ta ut nyckeln ur tändningen för att undvika oavsiktlig start.
Stäng bränsleväljarkranen innan du ställer maskinen i förvar.
Du kan bli skadad om du inspekterar maskinen medan motorn är igång.
Stäng av motorn och vänta tills alla rörliga delar har stannat innan du kontrollerar om det finns oljeläckor, lösa delar eller andra problem.
Om säkerhetsbrytarna är frånkopplade eller skadade kan maskinen plötsligt aktiveras, vilket i sin tur kan leda till personskador.
Gör inga otillåtna ändringar på säkerhetsbrytarna.
Kontrollera säkerhetsbrytarnas funktion dagligen och byt ut eventuella skadade brytare innan maskinen körs.
Syftet med säkerhetssystemet är att förhindra att motorn startar om inte gaspedalen är i NEUTRALLäGET. Motorn ska dessutom stängas av om gaspedalen flyttas framåt eller bakåt utan att någon sitter i förarsätet.
Parkera maskinen på en öppen plats som är fri från skräp och kringstående. Stäng av motorn.
Sitt på sätet och koppla in parkeringsbromsen.
Tryck gaspedalen framåt och bakåt samtidigt som du försöker starta motorn.
Note: Om motorn går runt kan det vara fel på säkerhetssystemet. Åtgärda felet omedelbart.Om motorn inte går runt fungerar systemet som det ska.
Sitt kvar på sätet med gaspedalen i NEUTRALLäGET och parkeringsbromsen inkopplad och starta motorn.
Lätta från sätet och tryck långsamt ned gaspedalen.
Note: Motorn bör stängas av inom en till tre sekunder. Åtgärda problemet om systemet inte fungerar korrekt.
Det tar tid för nya motorer att komma upp i sin fulla prestanda. Drivsystem har större friktion när de är nya, vilket belastar motorn ytterligare.
Använd de första åtta drifttimmarna för att köra in maskinen.
De första körtimmarna är mycket viktiga för maskinens framtida driftssäkerhet och du bör noga övervaka maskinens funktioner och prestanda så att mindre problem, som kan leda till större problem, identifieras och kan korrigeras. Inspektera maskinen ofta under inkörningen och leta efter tecken på oljeläckage, lösa fästanordningar och andra fel.
Parkera maskinen på ett jämnt underlag, koppla in parkeringsbromsen, stäng av motorn, ta ut nyckeln och vänta tills alla rörliga delar har stannat innan du kliver ur maskinen.
Ta bort gräs och skräp från ljuddämparen och motorrummet för att undvika eldsvåda. Torka upp eventuellt olje- eller bränslespill.
Låt motorn svalna innan maskinen ställs undan i ett slutet utrymme.
Stäng av bränsletillförseln på maskinen vid förvaring och transport.
Förvara aldrig maskinen eller bränslebehållaren i närheten av en öppen låga, gnista eller tändlåga, t.ex. på en varmvattenberedare eller någon annan anordning.
Håll alla maskindelar i gott bruksskick och samtliga beslag åtdragna.
Byt ut slitna och skadade dekaler, eller ersätt de som saknas.
I nödfall kan du bogsera maskinen en kortare sträcka. Vi rekommenderar dock inte att denna metod används som standardprocedur.
Important: Bogsera inte maskinen snabbare än 1,6 km/h eftersom drivsystemet kan skadas. Om maskinen måste flyttas mer än 50 m ska den transporteras på en lastbil eller ett släp. Hjulen kan låsas om maskinen bogseras för snabbt. Om det inträffar ska du avbryta bogseringen och vänta tills trycket i drivkretsen har stabiliserats, innan du fortsätter bogsera maskinen med lägre hastighet.
Använd ramper i fullbredd när du lastar maskinen på en släpvagn eller lastbil.
Bind fast maskinen så att den sitter säkert.
Läs mer specifik information om hur redskapet bör användas i bruksanvisningen för redskapet.
Öva att köra maskinen eftersom dess egenskaper skiljer sig från vissa andra arbetsfordon. Två saker man bör tänka på när man kör fordonet är transmissionen och motorvarvtalet.
Håll motorvarvtalet på en jämn nivå genom att trycka ned gaspedalen långsamt. På det viset kan motorn hänga med fordonets hastighet. Om gaspedalen däremot trycks ned snabbt kommer varvtalet att minska och följden blir att det inte finns tillräckligt med dragkraft för att flytta fordonet. Överför därför maximal kraft till hjulen genom att flytta gasreglaget till det SNABBA läget och bara trycka ned gaspedalen helt lätt. Högsta möjliga hastighet utan last uppnås däremot när gasreglaget är i det SNABBA läget och gaspedalen långsamt trycks ned helt. Håll alltid motorvarvtalet tillräckligt högt för att maximal dragkraft ska överföras till hjulen.
Du måste alltid vara uppmärksam när du använder maskinen för att undvika att den välter eller att du förlorar kontrollen.
Var försiktig när du kör ner i och upp ur sandgropar.
Var mycket försiktig runt diken, bäckar och andra farliga platser.
Var försiktig när du använder maskinen i branta sluttningar.
Sänk farten när du gör tvära svängar eller när du svänger i sluttningar.
Undvik att stanna och starta plötsligt.
Växla inte från backläget till läget helt framåt utan att först stanna helt.
Note: Om redskapshållaren fastnar i hållaren på traktorenheten för du in en bändare/skruvmejsel i bändöppningen för att lossa delarna (Figur 20).

Note: Vänster och höger sida på maskinen är lika med förarens vänstra respektive högra sida vid normal körning.
Om du lämnar nyckeln i tändningslåset kan någon råka starta motorn av misstag och skada dig eller någon annan person allvarligt.
Ta ut nyckeln ur tändningslåset innan du utför något underhåll.
| Underhållsintervall | Underhållsförfarande |
|---|---|
| Efter de första 8 timmarna |
|
| Efter de första 20 timmarna |
|
| Varje användning eller dagligen |
|
| Var 25:e timme |
|
| Var 100:e timme |
|
| Var 200:e timme |
|
| Var 400:e timme |
|
| Var 800:e timme |
|
| Var 1500:e timme |
|
Important: Ytterligare information om underhållsrutiner finns i bruksanvisningen till motorn.
Note: Om du behöver ett el- eller hydraulschema för maskinen hittar du det på www.Toro.com.
Kopiera sidan och använd den regelbundet.
| Kontrollpunkt | Vecka: | ||||||
|---|---|---|---|---|---|---|---|
| Mån. | Tis. | Ons. | Tors. | Fre. | Lör. | Sön. | |
| Kontrollera säkerhetsbrytarnas funktion. | |||||||
| Kontrollera styrningsfunktionen. | |||||||
| Kontrollera bränslenivån. | |||||||
| Kontrollera motoroljenivån. | |||||||
| Kontrollera skicket på luftfiltren. | |||||||
| Rengör motorkylflänsarna. | |||||||
| Kontrollera ovanliga motorljud. | |||||||
| Kontrollera ovanliga driftljud. | |||||||
| Kontrollera hydraulvätskenivån. | |||||||
| Kontrollera att det inte finns skador på hydraulslangarna. | |||||||
| Undersök om systemet har oljeläckor. | |||||||
| Kontrollera däcktrycket. | |||||||
| Kontrollera instrumentfunktionen. | |||||||
| Bättra på skadad lack. | |||||||
| Anteckningar om särskilda problem | ||
| Kontrollen utförd av: | ||
| Artikel | Datum | Information |
Important: Beslagen på maskinens skyddsplåtar är konstruerade så att de ska sitta kvar på plåten efter att de har lossats. Lossa alla fästdon på varje plåt några varv så att plåten sitter löst, men inte är helt loss, och gå sedan tillbaka och lossa dem tills plåten kommer helt loss. Då lossar du inte bultarna från hållarna av misstag.
Gör följande innan du justerar, rengör eller reparerar maskinen, eller när du lämnar den utan uppsikt:
Parkera maskinen på ett plant underlag.
Flytta gasreglaget till läget för låg tomgång.
Sänk redskapet.
Se till att drivningen är i neutralläge.
Lägg i parkeringsbromsen.
Stäng av motorn och tag ut nyckeln.
Vänta tills alla rörliga delar har stannat.
Låt maskinens komponenter svalna innan du utför något underhåll.
Utför om möjligt inget underhåll på maskinen medan motorn är igång. Håll dig på avstånd från rörliga delar.
Stötta upp maskinen eller dess komponenter med domkrafter när så behövs.
Lätta försiktigt på trycket i komponenter som lagrar energi.
Mekaniska eller hydrauliska domkrafter kan eventuellt inte stötta maskinen, vilket kan leda till allvarliga personskador.
Använd pallbockar för att stötta upp maskinen.
Följande domkraftpunkter finns:
Maskinen har smörjnipplar som måste smörjas regelbundet efter var 100:e körtimme med fett på litiumbas nr 2.
Smörj följande lager och bussningar:
Framhjulslagret (1) (Figur 23)

Svängtapp på gaspedal (1) (Figur 24)

Den bakre dragkroken (5) (Figur 25)

Styrcylinderns stavände (1) (endast modell 08705) (Figur 26)

Styrtapp (Figur 27)
Note: För att smörja nippeln på styrtappen (Figur 27) krävs en adapter till fettsprutans munstycke. Beställ Toro-delen med artikelnr 107-1998 från en auktoriserad Toro-återförsäljare.

| Underhållsintervall | Underhållsförfarande |
|---|---|
| Var 100:e timme |
|
Torka av smörjnippeln så att okända partiklar inte kan leta sig in i lagren eller bussningarna.
Pumpa in fett i lagren eller bussningarna.
Torka bort överflödigt fett.
Stäng av motorn innan du kontrollerar oljenivån eller fyller på olja i vevhuset.
Ändra inte varvtalshållarens inställning och övervarva inte motorn.
| Underhållsintervall | Underhållsförfarande |
|---|---|
| Efter de första 20 timmarna |
|
| Var 100:e timme |
|
Parkera maskinen på ett plant underlag, stäng av motorn, koppla in parkeringsbromsen och ta ut nyckeln.
Ta bort avtappningspluggen (Figur 28) och låt oljan rinna ned i ett avtappningskärl. Sätt tillbaka avtappningspluggen när oljan har slutat rinna.

Avlägsna oljefiltret (Figur 28).
Stryk på ett tunt lager ren olja på den nya filterpackningen.
Skruva på filtret för hand tills packningen nuddar vid oljefilteradaptern, dra sedan åt det ytterligare 1/2–3/4 varv.
Important: Dra inte åt filtret för hårt.
Fyll på olja i vevhuset, se Kontrollera oljenivån i motorn.
Kassera förbrukad olja på lämpligt sätt.
| Underhållsintervall | Underhållsförfarande |
|---|---|
| Var 200:e timme |
|
Undersök om luftrenaren har några skador som skulle kunna orsaka en luftläcka. Byt ut skadade komponenter. Kontrollera hela intagssystemet och leta efter läckor, skador eller lösa slangklämmor.
Byt inte ut luftfiltret tidigare än nödvändigt. Det ökar risken för att smuts kommer in i motorn när filtret har avlägsnats.
Kontrollera att kåpan sitter som den ska och sluter tätt runt luftrenarhuset.
| Underhållsintervall | Underhållsförfarande |
|---|---|
| Var 200:e timme |
|
Lossa spärrhakarna som fäster luftrenarkåpan på luftrenarhuset (Figur 29).

Ta bort kåpan från luftrenaren.
Använd lågtrycksluft (2,76 bar, ren och torr) innan du tar bort filtret, för att ta bort stora ansamlingar av skräp som har packats mellan huvudfiltrets utsida och skålen.
Important: Undvik att använda högtrycksluft eftersom den kan tvinga smutsen genom filtret och in i luftintagsröret. Denna rengöringsprocess förhindrar att det kommer in skräp i luftintaget när huvudfiltret tas bort.
Ta bort och byt ut filtret.
Note: Undersök om det nya filtret har några transportskador genom att kontrollera filtrets förseglade ände och själva filtret. Använd inte ett skadat filter. Sätt i det nya filtret genom att trycka på dess yttre kant för att fästa det i behållaren. Tryck inte mitt på filtret där det är böjligt.
Note: Vi rekommenderar inte att du rengör det använda filtret eftersom det då finns risk för att filtret skadas.
Rengör smutsutblåsningens öppning i den avtagbara kåpan.
Ta bort gummiutloppsventilen från kåpan, rengör håligheten och byt ut utloppsventilen.
Montera kåpan och placera gummiutloppsventilen i nedåtläge – mellan ca klockan 5 till klockan 7 sett från änden.
Fäst spärrhakarna.
| Underhållsintervall | Underhållsförfarande |
|---|---|
| Var 800:e timme |
|
Typ: Champion RC14YC (eller motsvarande)
Luftgap: 0,76 mm
Note: Tändstiften håller vanligtvis länge, men du bör kontrollera dem om motorn inte fungerar.
Rengör området runt tändstiftet så att inte främmande partiklar faller ned i cylindern när du tar bort tändstiftet.
Dra av tändkablarna från tändstiften och skruva ur stiften ur cylindertoppen.
Kontrollera sidoelektroden, mittelektroden och isolatorn så att de inte är skadade.
Important: Ett sprucket, skadat eller smutsigt tändstift eller tändstift som inte fungerar av någon annan orsak måste bytas ut. Elektroderna får inte sandblästras, skrapas eller rengöras med en stålborste eftersom partiklar kan lossna från tändstiftet och falla ner i cylindern. Följden är oftast en skadad motor.
Ställ in luftgapet mellan mittelektroden och sidoelektroderna till 0,76 mm. Se Figur 30. Montera tändstiftet med korrekt mellanrum med en packningsförslutning och dra åt stiftet till 23 N·m. Se till att skruva åt stiftet ordentligt om du inte använder en skiftnyckel.

| Underhållsintervall | Underhållsförfarande |
|---|---|
| Var 800:e timme |
|
Det sitter ett filter i bränsleledningen. Använd följande metod när filtret måste bytas ut:
Stäng bränslekranen, lossa slangklämman på filtrets förgasarsida och ta bort bränsleledningen från filtret (Figur 31).

Sätt ett uppsamlingskärl under filtret, lossa den sista slangklämman och ta bort filtret.
Montera det nya filtret så att pilen på filterhuset pekar bort från bränsletanken (mot förgasaren).
Trä på slangklämmorna på bränsleledningarnas ändar.
Trä på bränsleledningarna på bränslefiltret och fäst dem med slangklämmorna.
Note: Se till att pilen på filtrets sida pekar mot förgasaren.
Koppla bort batteriet innan reparation utförs på maskinen. Lossa minusanslutningen först och plusanslutningen sist. Anslut först plusanslutningen och sedan minusanslutningen.
Ladda batteriet i ett öppet och välventilerat utrymme, på avstånd från gnistor och öppna lågor. Koppla ur laddaren innan batteriet ansluts eller kopplas bort. Använd skyddskläder och isolerade verktyg.
Om maskinen måste startas med startkablarna kan den alternativa pluspolen (som sitter på startelektromagneten) användas istället för pluspolen på batteriet (Figur 32).

Säkringsblocket (Figur 33) sitter under sätet.

| Underhållsintervall | Underhållsförfarande |
|---|---|
| Var 25:e timme |
|
Underhåll batteriets elektrolytnivå och håll batteriets ovansida ren. Om maskinen förvaras på en plats med extremt höga temperaturer laddas batteriet ur snabbare än om maskinen förvaras på en sval plats.
Håll batteriets ovansida ren genom att tvätta den med jämna mellanrum med en borste som doppats i ammoniak eller en bikarbonatlösning. Spola ovansidan med vatten efter rengöringen. Ta inte bort påfyllningslocket under rengöringen.
Batteriets kablar måste sitta tätt över polerna för att tillhandahålla god elektrisk kontakt.
Om kabelanslutningarna har utsatts för korrosion lossar du kablarna. Minuskabeln (–) lossas först. Skrapa sedan klämmorna och kabelanslutningarna separat. Anslut kablarna. Pluskabeln (+) ansluts först. Bestryk sedan kabelanslutningarna med vaselin.
Kontrollera elektrolytnivån var 25:e körtimme eller, om maskinen står i förvaring, var 30:e dag.
Håll vätskenivån i cellerna rätt med destillerat eller avsaltat vatten. Fyll inte på cellerna så att vätskan når över påfyllningsmarkeringen.
Justera drivkammen om maskinen rör sig när gaspedalen är i neutralläget.
Parkera maskinen på ett plant underlag, stäng av motorn, koppla in parkeringsbromsen och ta ut nyckeln.
Lossa de två skruvarna som fäster mittskyddet vid maskinen och ta bort skyddet (Figur 34).

Lyft framhjulet och ett av bakhjulen från golvet och placera stöttor under ramen.
Framhjulet och ett av bakhjulen måste lyftas från golvet, annars kommer maskinen att röra sig under justeringen. Det kan leda till att maskinen tippar och skadar någon.
Kontrollera att maskinen har bra stöd. Ett framhjul och ett bakhjul måste vara lyfta från marken.
Lossa låsmuttern på spännmuttern (Figur 35).

Motorn måste vara igång för att slutjusteringen ska kunna utföras på hjuldrivningens justeringskam. Kontakt med rörliga delar eller heta ytor kan leda till personskador.
Håll händer, fötter, ansikte och andra kroppsdelar borta från roterande delar, ljuddämparen och andra heta ytor.
Starta motorn och vrid den sexkantiga kambulten (Figur 35) i bägge riktningar för att fastställa neutrallägets mittpunkt.
Dra åt låsmuttern för att säkra justeringen.
Stäng av motorn.
Montera mittskyddet.
Ta bort domkrafterna och sänk ner maskinen till verkstadsgolvet.
Provkör maskinen för att kontrollera att den står stilla när gaspedalen är i neutralläge.
Justera transmissionens neutralinställning. Läs mer i Justera drivningens neutralinställning.
Aktivera pumpspaken för att försäkra att samtliga delar fungerar obehindrat och är ordentligt säkrade.
Justera skruven tills luftgapet är 0,8 till 2,3 mm. Läs mer i Figur 35.
Kontrollera att allt fungerar som det ska.
Gaspedalen justeras för maximal transporthastighet och backning på fabriken, men en justering kan behövas om pedalen når fullt utslag innan pumpspaken når fullt kolvslag, eller om en minskning av transporthastigheten önskas.
Uppnå maximal transporthastighet genom att trycka ner gaspedalen. Om pedalen nuddar vid stoppet (Figur 36) innan pumpen når fullt kolvslag är en justering nödvändig:

Parkera maskinen på ett plant underlag, stäng av motorn, koppla in parkeringsbromsen och ta ut nyckeln.
Lossa muttern som fäster pedalstoppet.
Dra åt pedalstoppet tills det inte nuddar vid gaspedalen.
Fortsätt att trycka lätt på gaspedalen och justera pedalstoppet så att det bara nuddar vid pedalstången, eller så att ett mellanrum på 2,5 mm finns mellan pedalstången och stoppet.
Dra åt muttrarna.
Parkera maskinen på ett plant underlag, stäng av motorn, koppla in parkeringsbromsen och ta ut nyckeln.
Lossa muttern som fäster pedalstoppet.
Skruva loss pedalstoppet tills den önskade transporthastigheten uppnås.
Dra åt skruven som fäster pedalstoppet.
Justera lyftspakens spärrplatta (Figur 38) om redskapet inte flyter som det ska (följer markens kontur) när det används.
Ställ maskinen på ett plant underlag, stäng av motorn, koppla in parkeringsbromsen och lås fast hjulen.
Ta bort de 4 skruvarna som fäster kontrollpanelen vid ramen (Figur 37).

Ta bort de två bultarna som fäster spärrplattan på ramen.

Motorn måste vara igång så att du kan justera spärrplattan. Kontakt med rörliga delar eller heta ytor kan leda till personskador.
Håll händer, fötter, ansikte och andra kroppsdelar borta från roterande delar, ljuddämparen och andra heta ytor.
Starta motorn.
Ha motorn igång och lyftspaken i FLYTLäGE och skjut sedan på spärrplattan tills lyftcylindern kan dras ut och skjutas tillbaks för hand.
Dra åt båda monteringsskruvarna för att säkra justeringen.
Gasen fungerar som den ska om gasreglaget är korrekt justerat. Innan förgasaren justeras måste du kontrollera att gasreglaget fungerar som det ska.
Sväng sätet uppåt.
Lossa skruven på klämman på gasreglagekabeln som fäster kabeln vid motorn (Figur 39).

För fjärrgasreglaget framåt till det SNABBA LäGET.
Dra i gasvajern tills lekarens baksida rör vid stoppet (Figur 39).
Dra åt skruven på klämman på gasreglagekabeln och kontrollera motorns varvtalsinställning:
Hög tomgång: 3 350–3 450 varv/min.
Låg tomgång: 1 650–1 850 varv/min.
Important: Innan hastighetsreglaget för motorns regulator justeras måste gas- och chokereglagen justeras.
Motorn måste vara igång när hastighetsreglaget för motorns varvtalshållare justeras. Kontakt med rörliga delar eller varma ytor kan leda till personskador.
Kontrollera att gaspedalen är i neutralläge och dra åt parkeringsbromsen innan justeringen utförs.
Håll kläder, händer, fötter och andra kroppsdelar borta från roterande delar, ljuddämparen och andra heta ytor.
Note: Följ stegen nedan för att justera den låga tomgången. Om det bara är den höga tomgången som ska justeras fortsätter du direkt till steg 5.
Starta motorn och låt den gå på halvt gaspådrag i ungefär fem minuter så att den värms upp.
För gasreglaget till det LåNGSAMMA LäGET. Justera tomgångsstoppskruven moturs tills den inte längre nuddar vid gasreglagespaken.
Böj förankringsbrickan till varvtalshållarfjädern (Figur 40) tills tomgångshastigheten är 1 675–1 175 varv/minut.
Note: Kontrollera hastigheten med en varvräknare.

Justera tomgångsstoppskruven tills tomgångshastigheten ökas 25–50 varv/minut över den tomgångshastighet som ställdes in i steg 3.
Note: Den slutliga tomgångshastigheten måste vara 1 650 –1 850 varv/minut.
För gasreglaget till det SNABBA LäGET.
Böj förankringsbrickan till fjädern för hög hastighet (Figur 40) tills den höga tomgångshastigheten är 3 350–3 450 varv/minut.
Uppsök läkare omedelbart om du blir träffad av en hydrauloljestråle och hydrauloljan tränger in i huden. Vätska som trängt in i huden måste opereras bort inom några få timmar av en läkare.
Se till att alla hydrauloljeslangar och -ledningar är i gott skick och att alla hydraulanslutningar och -kopplingar är ordentligt åtdragna innan hydraulsystemet trycksätts.
Håll kropp och händer borta från småläckor eller munstycken som sprutar ut hydraulvätska under högt tryck.
Använd en kartong- eller pappersbit för att hitta hydraulläckor.
Lätta på allt tryck i hydraulsystemet på ett säkert sätt innan något arbete utförs i hydraulsystemet.
| Underhållsintervall | Underhållsförfarande |
|---|---|
| Efter de första 8 timmarna |
|
| Var 400:e timme |
|
Byt ut filtret mot ett originalfilter från Toro.
Parkera maskinen på ett plant underlag, stäng av motorn, koppla in parkeringsbromsen och ta ut nyckeln.
Lossa de två skruvarna som fäster mittskyddet vid maskinen och ta bort skyddet (Figur 41).

Ställ ett uppsamlingskärl under hydrauloljefiltret på maskinens vänstra sida (Figur 42).

Rengör runt området där filtret monteras.Ställ ett uppsamlingskärl under filtret.Lossa långsamt på hydraulfiltret men ta inte bort det helt, tills olja rinner ut ur packningen och droppar ner längs filtrets sida.
Note: Om maskinen är utrustad med en fjärrhydraulsats kan sugslangen tas bort från pumpen och användas för att tappa ut hydrauloljan.
Ta bort filtret när vätskan börjar rinna långsammare.
Smörj packningen på det nya filtret med ren hydraulvätska och vrid fast det för hand tills packningen nuddar vid filterhuvudet. Dra sedan åt det ytterligare 3/4 varv.
Note: Filtret ska nu vara tätat.
Fyll hydraultanken med hydraulolja tills oljan når upp till det smalare området på oljestickan. Överfyll inte tanken. Se Kontrollera hydraulvätskenivån.
Starta och kör motorn. Kör lyftcylindern tills den skjuter ut och dras tillbaks och hjulen rör sig framåt och bakåt.
Stäng av motorn och kontrollera vätskenivån i tanken. Fyll på om det behövs.
Undersök anslutningarna för att se om det finns några läckor.
Montera mittskyddet.
Kassera förbrukad olja på lämpligt sätt.
| Underhållsintervall | Underhållsförfarande |
|---|---|
| Varje användning eller dagligen |
|
Kontrollera hydraulledningarna och -slangarna dagligen för att se om det finns läckor, vridna ledningar, lösa fäststöd, slitage, lösa beslag, väderslitage och kemiskt slitage. Reparera alla eventuella skador innan du kör maskinen igen.
När en hydraulisk komponent repareras eller byts ut ska hydraulfiltret bytas och hydraulsystemet laddas.
Se till att hydraultanken och filtret alltid är fyllda med vätska när hydraulsystemet laddas.
Parkera maskinen på ett plant underlag, stäng av motorn, koppla in parkeringsbromsen och ta ut nyckeln.
Lossa de två skruvarna som fäster mittskyddet vid maskinen och ta bort skyddet (Figur 43).

Lyft framhjulet och ett av bakhjulen från golvet och placera stöttor under ramen.
Framhjulet och ett av bakhjulen måste lyftas från golvet, annars kommer maskinen att röra sig under justeringen. Det kan leda till att maskinen tippar och skadar någon.
Kontrollera att maskinen har bra stöd. Ett framhjul och ett bakhjul måste vara lyfta från marken.
Starta motorn och ställ in gasreglaget så att motorn körs på ungefär 1 800 varv/minut.
Aktivera lyftventilspaken tills lyftcylinderstaven rör sig in och ut upprepade gånger. Om cylinderstaven inte rör sig efter 10–15 sekunder eller om pumpen ger ifrån sig onormala ljud, stänger du omedelbart av motorn och tar reda på vad felet orsakas av. Kontrollera om det beror på följande:
Löst filter eller lösa sugledningar
Lös eller trasig koppling på pumpen
Blockerad sugledning
Trasig laddningsövertrycksventil
Trasig laddningspump
Om cylindern rör sig efter 10–15 sekunder går du vidare till steg 6.
Tryck gaspedalen framåt och bakåt. Hjulen som inte står på golvet ska snurra i rätt riktning.
Om hjulen snurrar i fel riktning stänger du av motorn, tar bort ledningarna på pumpens baksida och byter plats på dem.
Om hjulen snurrar i rätt riktning stänger du av motorn och justerar fjäderjusteringstappens låsmutter (Figur 44). Justera drivningens neutralläge. Se Justera drivningens neutralinställning.

Kontrollera säkerhetsbrytarnas inställning. Läs mer i Justera säkerhetsbrytarna för hjuldrivningen.
Montera mittskyddet.
| Underhållsintervall | Underhållsförfarande |
|---|---|
| Varje användning eller dagligen |
|
När maskinen har använts sköljer du av den med en trädgårdsslang utan munstycke så att förslutningar och lager inte förorenas eller skadas av ett för högt vattentryck.
Se till att kylflänsarna och området runt motorns kylluftsintag är rena från skräp.
Important: Rengöring av oljekylaren med vatten leder till för tidig uppkomst av rost, skadade komponenter och att skräp packas samman. Läs mer i Rengöra oljekylaren.
När du har rengjort maskinen kontrollerar du att det inte finns några hydraulvätskeläckor, skador eller eventuellt slitage på de hydrauliska och mekaniska komponenterna.
Rengör maskinen, redskapen och motorn ordentligt.
Kontrollera däcktrycket.
Kontrollera om något av fästelementen är löst och dra åt om det behövs.
Smörj eller olja samtliga smörjnipplar och svängpunkter. Torka av överflödigt fett.
Sandpappra lätt och bättra på lacken där färgen har skrapats av, flagnat eller i rostiga områden.
Serva batteriet och kablarna på följande sätt:
Ta bort batteriets kabelanslutningar från batteripolerna.
Rengör batteriet, kabelanslutningarna och polerna med en stålborste och bakpulverlösning.
Fetta in kabelanslutningarna och batteripolerna med smörjfett av typen Grafo 112X (skin-over) (Toro-artikelnr 505-47) eller vaselin för att förhindra korrosion.
Ladda långsamt upp batteriet i 24 timmar var 60:e dag för att förhindra att det blysulfateras.
Note: Ett fulladdat batteri har en specifik vikt på 1 250.
Note: Förvara batteriet svalt för att undvika att det laddas ur snabbt. Se till att batteriet är fulladdat för att förhindra att det fryser.
Byt motorolja och oljefilter. Se Byta motoroljan och oljefiltret.
Starta motorn och kör den på tomgång i två minuter.
Rengör och serva luftrenaren ordentligt. Se Serva luftrenaren.
Täta luftrenarens inlopp och avgasutloppet med väderbeständig maskeringstejp.
Kontrollera att oljepåfyllningslocket och tanklocket sitter säkert på plats.