| 维护间隔时间 | 维护程序 |
|---|---|
| 初次使用20小时后 |
|
| 在每次使用之前或每日 |
|
本机器是一款驾乘式多功能设备,需由商业应用领域雇用的专业操作员进行操作。它主要为在保养良好的高尔夫球场和商用体育场地上修整沙坑障碍而设计。
Important: 为获得最大的安全、最佳的性能和最正确的操作,请仔细阅读并完全了解本《操作员手册》的内容。不遵守这些操作说明或不接受适当的培训可能导致人身伤害。如需有关安全操作方法的更多信息,包括安全提示和培训材料,请访问 www.Toro.com。
您可通过访问 www.Toro.com 直接联系 Toro,获取产品安全和操作培训材料、附件信息,查找代理商或注册产品。
当您需要关于维修保养,Toro 真品零件或其他方面的信息时,请联系授权服务经销商或 Toro 客户服务中心,并准备好有关您的产品的型号和序列号等资料。图 1显示了产品上型号和序列号的位置。将型号、序列号写在提供的空白处。
Important: 您可以使用移动设备扫描序列号标贴上的二维码(如配备),以查阅保修、零售及其他产品信息。

本手册和机器上所示的安全警告标志(图 2)用于标识为防止事故而必须遵守的重要安全信息。

安全警报标志出现在提醒不安全的操作或情况的信息上方,后跟单词危险、警告或小心。
危险表示非常紧急的危险情况,如果无法避免,会导致死亡或重伤。
警告表示潜在危险情况,如果无法避免,可能导致死亡或重伤。
小心表示潜在危险情况,如果无法避免,可能导致轻微或中度伤害。
本手册使用其他两个词语来突出信息。重要事项唤起人们对特殊机械信息的注意,而注意则强调值得特别关注的一般信息。
此产品符合欧盟所有相关指令。详情请参阅另外提供的、特定产品的合格证明 (DOC) 单页。
如果该发动机的消火花消声器(定义见第 4442条)工作不正常,或发动机没有进行防火方面的隔离、装备或维护,根据《加利福尼亚州公共资源条例》(California Public Resource Code)第 4442 条或第 4443 条规定,在任何森林、灌木丛或草皮覆盖区域使用和操作该发动机均属违法。
随附的发动机用户手册介绍了美国环境保护局 (EPA) 和加州排放管制法中有关排放系统、维护和保修的信息。更换产品可通过发动机制造商订购。
加利福尼亚州
第65号提案中警告称:
本产品的发动机排出的废气含有加利福尼亚州已知的能致癌、致出生缺陷或损害生殖系统的化学物质。
加利福尼亚州认为电池接柱、接头以及相关配件含铅或铅混合物、化合物,会引发癌症和造成生殖损害。用后请务必洗手。
使用此产品可能导致接触加利福尼亚州已知的能致癌、致出生缺陷或损害生殖系统的化学物质。
要想提升牵引性能,可在机器前部添加配重块套件 100-6442。
Note: 如果机器带有前部提升或雪犁附件,则由于物理干扰,配重块套件将不适用。
本产品可能导致人身伤害。请始终遵循所有安全说明,避免严重的人身伤害。
将本产品用于指定用途以外的其他目的可能会对您和旁观者造成危害。
在启动发动机之前,请首先阅读并理解本操作员手册的内容。确保每个使用此产品的人都知道如何使用,且了解相关警告标志。
操作机器时应全神贯注。不要从事任何引起分心的活动;否则,可能会造成人身伤害或财产损失。
切勿将手脚放在机器的活动组件附近。
请仅在所有防护装置和其他安全装置到位且可在机器上正常工作的情况下才操作机器。
机器移动时让旁观者和宠物远离机器。
让儿童远离操作区。切勿让儿童操作机器。
维修机器或为机器加油之前,请停止机器并关闭发动机。
不当使用或维护本机器可能导致人身伤害。若要减少潜在伤害,请遵循这些安全说明并始终注意安全警告标志(图 2),即“小心”、“警告”或“危险”等个人安全指示。不遵循这些说明可能导致人身伤害甚至死亡事故。
您可以在本操作员手册的各个部分找到所需的其他相关安全信息。
![]() |
任何潜在危险区附近均贴有操作员清晰可见的安全标贴和说明。更换受损或丢失的标贴。 |








Note: 请根据正常操作位置来判定机器的左侧和右侧。
Note: 拆下并丢弃所有运输支架和紧固件。
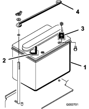
拆下将电池顶部压夹固定到电池侧面压夹的 2 个蝶形螺帽和垫圈 (图 4)。卸下电池顶部压夹,然后取出电池。

此程序中需要的物件:
| 散装电解液,比重为 1.260(未包括) | – |
如果电池没有加注电解液或激活,请为电池添加比重为 1.260 的电解液。
Note: 您可从当地的电池供应商处购买散装电解液。
电池电解液含有硫酸,电解液耗尽将会是致命的,且可能导致严重灼伤。
切勿喝下电解液,避免接触皮肤、眼睛或衣服。佩戴护目镜保护眼睛,佩戴橡胶手套保护双手。
为电池加注电解液后,始终用清水冲洗皮肤。
卸下电池的加液颈盖,缓缓地为每个电池加注电解液,直至液位达到加注线。
装回加液颈盖,将 3~4A 电池充电器连接到电池电极。通过 3~4A 的电流给电池充电,时间为 4 至 8 小时。
给电池充电时会产生可爆炸的气体。
切勿在电池附近吸烟,而且附近不能有火花和明火。
电池充满电之后,把充电器从插座和电瓶电极上断开。让电池停放 5 至 10 分钟。
拆下加液颈盖。
为每个电池缓缓添加电解液,直到液位达到加注线。
Important: 切勿将电池加得过满。否则电解液会溢流到机器的其他部件上,将造成严重腐蚀和老化。
安装加液颈盖。
此程序中需要的物件:
| 螺栓(¼ x ⅝ 英寸) | 2 |
| 锁紧螺母(¼ 英寸) | 2 |
将电池放好,使电池的负极端子朝向机器后面(图 5)。

电池接线不准确会损坏机器和接线,且可能会产生火花。火花可引发电池气体爆炸,从而造成人身伤害。
应始终先断开负极(黑色)电池线,然后才能断开正极(红色)接线。
应始终先连接正极(红色)电池线,然后才能连接负极(黑色)接线。
电池端子或金属工具可能会与机器金属部件发生短路并产生火花。火花可引发电池气体爆炸,从而造成人身伤害。
拆下或安装电池时,切勿让电池端子接触到机器的任何金属部件。
切勿让金属工具短接电池端子和机器的金属部件。
用螺栓(¼ x ⅝ 英寸)和锁紧螺母将正极接线(红色)固定到正极(+)端子(图 6)。

用螺栓(¼ x ⅝ 英寸)和锁紧螺母(¼ 英寸)将小黑色接线和负极接线(黑色)固定到电池的负极(-)端子(图 6)。
在端子和安装紧固件上涂抹石油膏、防止腐蚀。
将橡皮套滑动到正极(+)电池端子上,防止可能发生的短路情况。
将电池顶部压夹安装到电池侧面压夹上,用垫圈和蝶形螺帽固定。
此程序中需要的物件:
| 前配重块套件(如需要) | – |
本机器的设计符合 ANSI B71.4-2017 规范。然而,当附件安装到机器上时,可能需要增加额外的配重块,才能符合该等标准。
使用下图确定需要的额外配重块的组合。从您当地的 Toro 授权经销商处订购零件。
| 附件 | 需要的额外前配重块 | 配重块套件零件号 | 配重块描述 | 要求数量 |
|---|---|---|---|---|
| 穿刺刀套件 (08755) | 23kg | 100-6442 | 8 x 3kg 平板配重块 | 1 |
| Rahn 修整器 | 23kg | 100-6442 | 8 x 3kg 平板配重块 | 1 |
| QAS 实用工具箱 | 23kg | 100-6442 | 8 x 3kg 平板配重块 | 1 |
Note: 如果机器配备了前液压提升套件(型号 08712),将不再需要额外的配重块。
此程序中需要的物件:
| 警告标贴 | 1 |
对于要求符合 CE 标准的机器,请把 CE 警告标贴(零件号 136-6164)粘贴在控制台(零件号 132-4422)的底部区域。

驱动踏板(图 9)有三个功能: 驱动机器前行、后退和停止机器。使用右脚的脚跟和脚尖踩压踏板的顶部可使机器向前移动,踩压踏板的底部可使机器向后移动,或在向前移动时帮助制动(图 10)。要停止机器,请移动踏板或将其移至空档位置。为了便于操作员操作, 机器向前行驶时不要将脚跟放在后退踏板上。


地面行驶速度与驱动踏板向下踩的距离成正比。要获得最大地面行驶速度,应在油门处于快速位置时完全踩下踏板。为了获得最大动力或在需要爬坡的情况下,应将油门设定至快速位置,并轻踩驱动踏板,使发动机保持高转速。当发动机转速开始降低时,稍稍松开踏板,可提高发动机转速。
Important: 若要获得最大的牵引力,请将油门杆移至快速位置,并轻轻踩下驱动踏板。
仅当从一个工作区行驶到另一工作区时使用最大地面行驶速度。
当使用安装的或拖曳的附件时,不要使用最大速度。
Important: 当附件处于下方(操作)位置时不要反向操作机器,否则附件可能受到严重损坏。
点火开关(图 11)用于启动和停止发动机,它有 3 个位置: 关闭、运行和启动。将钥匙顺时针旋转至启动位置,即可接合启动马达。发动机启动后立即松开钥匙,钥匙将移至运行位置。要关闭发动机,可将钥匙逆时针旋转至关闭位置。

要启动冷却的发动机,请将阻风门控制器(图 11)向上拉到“关闭”位置,关闭化油器阻风门。发动机启动之后,调节阻风门以保持发动机平稳运行。尽快将阻风门移至打开位置,打开阻风门。热发动机需要很小阻风或根本不需要阻风。
油门控制杆(图 11)连接到油门联动装置,以操控化油器。该控制杆有 2 个位置:慢速和快速。2 个设定之间的发动机转速是连续可变的。
Note: 使用油门控制杆不能关闭发动机。
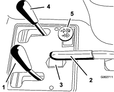
要提升附件,请向后拉提升杆(图 12);把附件降低,然后向前推提升杆。对于浮动位置,应将提升杆移入锁定位置。当达到所需的位置时,松开提升杆,它将回到空档位置。

Note: 机器有一个双作用提升油缸。在某些操作条件下,您可以向附件施加下压力。
要接合手刹(图 12),请向后拉手刹杆。要松开手刹,请向前推手刹杆。
Note: 要分离手刹,您可能还需要前后缓慢旋转驱动踏板。
小时表(图 12)用于显示机器操作的总小时数。将钥匙开关旋至开启位置时,小时表开始计时。
将座椅左侧的调节杆(图 13)向前移动,将座椅滑到所需位置,然后松开调节杆将座椅锁定。

存放或使用拖车运输机器时,应关闭燃油切断阀(图 14)。

Note: 规格与设计如有变更,恕不另行通知。
| 宽度(不带附件) | 148cm |
| 宽度(带耙子,型号 08751) | 191cm |
| 长度(不带附件) | 164cm |
| 高度 | 115cm |
| 轴距 | 109cm |
| 净重 | |
| 型号 08703 | 452kg |
| 型号 08705 | 461kg |
Toro 批准的一系列附件和配件可与机器一同使用,以提升和扩大其能力。请联系您的授权服务代理商或 Toro 授权经销商,或访问 www.Toro.com,获取所有经批准附件和配件的清单。
为保持机器的最佳性能和持续安全证明、请仅使用 Toro 真品更换零件和附件。其他制造商制造的更换件和附件可能引发危险、而且使用非真品可能使产品保修失效。
Note: 请根据正常操作位置来判定机器的左侧和右侧。
切勿让儿童或未接受过培训的人员操作或维修机器。当地法规可能对操作员的年龄有所限制。产品所有人负责培训所有操作员和机械师。
熟悉设备的安全操作、操作员控制装置和安全标识。
了解如何快速停止机器和发动机。
检查操作员到位控制装置、安全开关和挡板是否已安装,以及功能是否正常。如果机器运行不正常,切勿进行操作。
操作之前,始终要先行检查机器,确保组件和紧固件处于良好工作状况。更换磨损或损坏的组件和紧固件。
检查机器将要使用的区域,清除可能被机器抛起的所有物体。
处理燃油时要格外小心。燃油极度易燃,产生的蒸汽会发生爆炸。
应熄灭所有香烟、雪茄、烟斗及其他火源。
仅使用经批准的燃料容器。
在发动机运行或较热时,切勿拆下油箱盖或向油箱加油。
切勿在密闭的空间添加或排放燃油。
切勿将机器或燃油容器存放在有明火、火花或常明火的地方,例如热水器或其他电器上。
如果燃油溢出,切勿尝试启动发动机;避免形成任何火源,直到燃油蒸汽完全消散。
| 维护间隔时间 | 维护程序 |
|---|---|
| 初次使用20小时后 |
|
| 在每次使用之前或每日 |
|
发货时发动机的曲轴箱内带有机油;但是,在首次启动发动机前后仍须检查机油油位。
带滤芯的曲轴箱容量约为 1.66L。
使用符合以下规格的高质量机油:
API 分类等级:SL 或更高
首选机油: SAE 30——高于 4°C
将机器停到水平地面上,关闭发动机,接合手刹,然后拔下点火钥匙。
向前翻转座椅。
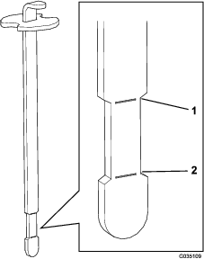
拉出量油尺(图 15),并用干净的抹布擦拭。

将量油尺插入量油尺管道中,并确保它完全插入。从量油尺管道取出量油尺,查看油位。如果油位较低,请从气门室盖上拆下加油颈盖,然后添加足够机油,将油位提高到量油尺上的“已满”标记。
Important: 确保机油油位保持在油量计的上限与下限之间。机油添加过量或不足可能导致发动机故障。
将量油尺固定到位。
Important: 量油尺必须完全固定到量油尺管道,确保发动机曲轴箱适当密封。发动机曲轴箱不密封可能导致发动机损坏。
向下翻转座椅。
油箱容量: 25L。
建议的燃油:
为取得最佳效果,请仅使用干净新鲜(少于 30 天)的无铅汽油(辛烷值为 87 或更高)((R+M)/2 分等法)。
乙醇:在汽油最高可含10%体积的乙醇(乙醇汽油)或15%体积的甲基叔丁基醚 (MTBE) 。乙醇与 MTBE 并不相同。不得使用乙醇体积占15%的(E15)的汽油。切勿使用乙醇体积超过 10% 的汽油,例如 E15(含有 15% 的乙醇)、E20(含有 20% 的乙醇)或 E85(含有高达 85% 的乙醇)。使用未经批准的汽油可能导致超出保修范围的性能问题和/或发动机损坏。
切勿使用含有甲醇的汽油。
切勿在冬季将燃油存放于燃油箱或燃油容器内,除非使用了燃油稳定剂。
切勿将机油添加到汽油中。
Important: 切勿使用燃油稳定剂/调节剂以外的燃油添加剂。切勿使用基于酒精(如乙醇、甲醇或异丙醇)的燃油稳定剂。
清理燃油箱盖 (图 16) 附近的区域。
卸下燃油箱盖。
油箱加油至距油箱顶部(加油颈底部)以下大约 25mm 的位置。切勿过量添加。

盖好燃油箱盖。
擦干净溢出的任何燃油,防止出现火灾危险。
Important: 切勿使用甲醇、包含甲醇的汽油或包含超过 10% 乙醇的乙醇汽油、因为这样燃油系统可能受到损坏。切勿将机油与汽油混合。
| 维护间隔时间 | 维护程序 |
|---|---|
| 在每次使用之前或每日 |
|
液压油箱在出厂时已加满约 18.9L 的高品质液压油。检查液压油的最佳时间是液压油冷却时。机器应处于行驶配置中。如果液压油油位低于量油尺上的“添加”标记,请添加液压油,直至油位达到可接受范围的中间位置。切勿将油箱加得过满。如果液压油油位处于 Full(已满)与 Add(添加)标记之间,则无需添加。首次启动发动机之前请先检查液压油的液位,之后每天都要检查。
推荐的替代液压油为:
| Toro 优质全天候液压油(提供 19L 容器装或 208L 圆桶装——请查看零件文件或联系 Toro 经销商,获取零件号)。 |
推荐液压油:Toro 优质全天候液压油
备选液压油: 如果无法获得 Toro 液压油,可使用符合以下材料性能和行业规格的其他常规、石油基液压油来代替。请与您的液压油供应商核实该液压油是否符合这些规格。
Note: 对于因使用不当替代产品而造成的损坏、Toro 将不承担任何责任、因此、请仅使用信誉好的制造商的产品、他们会对其产品提供支持。
| 高粘度指数/低倾点耐磨液压油、ISO VG 46 多级 | |
| 材料属性: | |
| 粘度,ASTM D445 | cSt @ 40°C 44~48cSt @ 100°C 7.9~9.1 |
| 粘度指数 ASTM D2270 | 140 或更高 |
| 倾点,ASTM D97 | -37°C~-45°C |
| FZG,故障阶段 | 11 或更好 |
| 含水量(新液压油): | 500ppm(最大) |
| 行业规格: | |
| Vickers I-286-S、Vickers M-2950-S、Denison HF-0、Vickers 35 VQ 25 (Eaton ATS373-C) | |
正确的液压油应该是专为移动机械(相对于工业工厂用途)、多重量类型、带 ZnDTP 或 ZDDP 耐磨添加剂的封装液压油(非无灰型液压油)。
Important: 许多液压油都是近乎无色的,所以很难找出泄漏点。我们提供 20ml 瓶装的人造红色染色添加剂,可添加到液压系统的液压油中。一瓶足够添加到 15~22L 的液压油中。可从 Toro 授权经销商处订购零件 44-2500。
合成、可生物降解液压油
(提供 19L 容器装或 208L 圆桶装——请查看零件文件或联系 Toro 经销商,获取零件号)
这种高质量、合成、可生物降解液压油已经过测试,认定与本 Toro 机型兼容。其它品牌的合成液压油可能存在密封兼容性问题,Toro 对未授权的替代品概不承担任何责任。
Note: 此种合成液压油与之前出售的 Toro 可生物降解液压油不兼容。请联系 Toro 经销商,了解更多信息。
备选液压油:
Mobil EAL Envirosyn H 46(美国)
Mobil EAL Hydraulic Oil 46(国际)
| 维护间隔时间 | 维护程序 |
|---|---|
| 在每次使用之前或每日 |
|
操作机器之前,请检查胎压(图 19)。前后轮胎的正确气压如下所示:
花纹轮胎:0.7bar
Note: 如果推土板操作需要额外的牵引,请将压力减至 0.55bar。
光胎: 0.55~0.7bar

| 维护间隔时间 | 维护程序 |
|---|---|
| 初次使用8小时后 |
|
| 每100个小时 |
|
上紧车轮螺母扭矩至 95~122N·m。
所有者/操作员应防止发生可能导致人身伤害或财产损害的事故,并对此承担责任。
穿戴适当的服装,包括护目镜、结实的防滑鞋、长裤和听力保护用具。扎好长发且不要佩戴松散的珠宝首饰。
在生病、疲劳或受酒精或药物影响时,切勿操作机器。
操作机器期间,切勿在机器上搭载乘客,并让旁观者和宠物远离机器。
仅在光线良好的情况下操作机器,以避免坑洞和潜在危险。
避免在湿草地上操作。牵引力的降低可能导致机器滑动。
启动发动机之前,应确保所有驱动装置都处于空档位置、驻车刹车已接合且您处于操作位置。
后退之前观察后面和下面的情况,确定道路无阻碍。
当接近可能遮挡视线的死角、灌木、树木或其他物体时需小心谨慎。
切勿在陡降处、沟渠或路堤附近操作。如果车轮行驶到边缘上或边缘塌陷,机器可能会突然翻倒。
机器撞击物体或内部出现异常振动后,应停止机器并检查附件。恢复操作之前请执行所有必需的修理。
当机器转向或穿越道路和人行道时,请放慢速度并保持谨慎。应始终遵守交通规则。
切勿在无法排放废气的区域运行发动机。
切勿在无人看管的情况下离开运行中的机器。
离开操作位置之前,请执行以下操作:
将机器停放在平地上。
放低附件。
接合驻车刹车。
关闭发动机并拔下钥匙。
等待所有活动件停止。
切勿在面临雷电风险时操作机器。
切勿将机器当作拖车使用。
必要时弄湿表面,以最大程度减少粉尘的产生。
仅使用 Toro 公司批准的附件、配件和更换零件。
制定自己的斜坡操作程序和规则。这些程序必须包括考察现场,以确定哪些斜坡可安全操作机器。执行此类考察时应始终使用常识和良好的判断力。
斜坡是引发失控和翻倒事故的主要因素,这些意外可能导致严重的人身伤害甚至死亡事故。操作员负责斜坡的安全操作。在任何斜坡上操作机器都需要特别小心。
斜坡是引发失控和翻倒事故的主要因素,这些意外可能导致严重的人身伤害甚至死亡事故。在任何斜坡上操作机器都需要特别小心。
在斜坡上应以较低的速度操作机器。
如果您对在斜坡上操作机器有所担心,请不要这样做。
当心坑洞、沟槽、凸起、石头或其他隐藏物体。崎岖不平的地形可能导致机器翻倒。高草可能会隐藏有障碍物。
选择较低的地面行驶速度,这样在斜坡上时就不必停下或换档。
轮胎丧失牵引力之前可能会发生翻滚。
避免在湿草地上操作机器。不论是否有制动器及制动器是否工作正常,轮胎都可能丧失牵引力。
在斜坡上操作机器时避免启动、停止或转向。
在斜坡上应保持所有活动均为缓慢且渐近进行。切勿突然改变机器的速度或方向。
切勿在陡降处、沟渠、路堤或水中操作机器。如果车轮行驶到边缘上或边缘塌陷,机器可能会突然翻倒。应在机器与任何危险之间建立一个安全区域(2 个机器的宽度)。
将脚从驱动踏板上移开,确保踏板处于空档位置,然后接合手刹。
将阻风门控制杆向前推至开启位置(当启动冷却的发动机时),并将油门杆移动到慢速位置。
Important: 在 0°C (32°F) 以下操作机器时,使用前先让机器热机。这可以防止对静液压装置和驱动回路造成损坏。
将钥匙插入点火开关中,顺时针旋转启动发动机。发动机启动之后、松开钥匙。
Note: 调节阻风门,保持发动机平稳运行。
Important: 为防止启动马达过热、启动马达的接合时间切勿超过 10 秒。持续运转 10 秒后,等待 60 秒之后再接合启动马达。
要关闭发动机,可将油门杆移动到慢速位置,并将点火钥匙旋转至关闭位置。
Note: 从点火开关上拔下钥匙,防止意外启动。
存放机器前应关闭燃油切断阀。
在发动机运行时检查机器可能会导致人身伤害。
关闭发动机,等到所有活动件都已停止,然后再检查是否存在漏油、零件松动及其他故障。
如果安全联锁开关断开或损坏,机器可能意外运转并造成人身伤害。
切勿随意改动联锁开关设置。
每日均应检查联锁开关的操作,更换任何损坏的开关,然后再操作机器。
联锁系统旨在防止发动机运转或启动,除非驱动踏板位于空档位置。此外,如果座椅上没有操作员,驱动踏板向前或向后移动时,发动机应关闭。
将机器放置在没有杂物和旁观者的开阔区域。关闭发动机。
坐到座椅上,并接合手刹。
尝试启动发动机时向前后踩压驱动踏板。
Note: 如果发动机转动,表明联锁系统可能存在故障。立即进行维修。如果发动机没有转动,表明系统功能正常。
保持坐在座椅上,驱动踏板处于空档位置,接合手刹,然后启动发动机。
从座椅上站起,缓慢踩下驱动踏板。
Note: 发动机应在 1 至 3 秒钟内关闭。如果系统运转不正常,请解决问题。
新发动机要发挥出全部动力需要一定的时间。驱动系统在新的时候也有较多的摩擦,令发动机承受额外的负载。
最初8小时的操作作为磨合期。
由于机器最初几个小时的运行对未来的可靠性至关重要,因此请密切监控其功能和性能,从而注意到并纠正可能导致大问题的小困难。请在磨合期内经常检查机器是否有任何漏油、松动或任何其他故障的迹象。
在离开机器之前,应将机器停放在水平地面上,接合手刹,关闭发动机,拔下钥匙,并等待所有活动部件停下来。
清除消声器和发动机舱的杂草和杂物,防止发生火灾。清理溢出的机油或燃油。
将机器存放在任何封闭区域之前,需先等发动机冷却。
存放或运送机器前应关闭燃油。
切勿将机器或燃油容器存放在有明火、火花或常明火的地方,例如热水器或其他电器上。
确保机器的所有零件都处于良好工作状况,保持所有紧固件拧紧。
更换所有磨损、损坏或缺失的标贴。
如遇紧急情况,可以短距离拖曳机器。然而,我们不推荐将其作为标准程序。
Important: 拖曳机器的速度切勿超过 1.6km/h,因为过快可能令驱动系统受损。如果您必须移动机器超过 50m 的距离,请使用卡车或拖车来运输。如果拖曳机器的速度过快,轮胎可能会锁死。如果轮胎锁死,请停止拖曳机器,等待驱动回路压力稳定,然后再开始以较低的速度拖曳。
将机器装入拖车或卡车时,请使用全宽坡道。
牢固系紧机器。
参阅附件《操作员手册》,了解附件的具体操作说明。
练习驾驶机器,因为它的操作特性不同于一些多功能工作车。操作车辆时需要考虑的 2 点是变速箱速度和发动机转速。
要保持某一稳定的发动机转速,请缓慢踩下驱动踏板。这可以让发动机跟得上车辆的地面行驶速度。相反,快速踩下驱动踏板可降低发动机转速;结果,导致没有足够扭矩动力来移动车辆。因此,要向车轮传送最大的功率,请将油门移到快速位置,并轻轻踩下驱动踏板。相比之下,当油门处于快速位置,驱动踏板缓慢地完全踩下时,可实现没有负载的最大地面行驶速度。 始终保持足够高的发动机转速,以便向车轮传送最大的扭矩动力。
操作机器时需要特别专注,防止倾翻或失控。
进入和离开沙坑障碍时需小心谨慎。
要格外留意沟渠,小溪或其他障碍物。
在陡坡上操作机器时要特别小心。
急转弯或在坡道上转弯时需减速行驶。
避免突然停止或启动。
在没有完全停下来之前,切勿从后退突然转为全速前进。
Note: 如果附件连接器卡在主机连接器上,请在撬槽内插入撬棍或螺丝刀,将两者分开(图 20)。

Note: 请根据正常操作位置来判定机器的左侧和右侧。
如果将钥匙留在点火开关上,可能会有人无意中启动发动机,对您或其他旁观者造成严重伤害。
执行任何维护前,请拔下点火钥匙。
| 维护间隔时间 | 维护程序 |
|---|---|
| 初次使用8小时后 |
|
| 初次使用20小时后 |
|
| 在每次使用之前或每日 |
|
| 每25个小时 |
|
| 每100个小时 |
|
| 每200个小时 |
|
| 每400个小时 |
|
| 每800个小时 |
|
| 每1500个小时 |
|
Important: 请参阅您的发动机用户手册,了解更多维护程序。
Note: 要获取机器的电气示意图或液压系统示意图,请访问 www.Toro.com。
复印本页以供日常使用。
| 维护检查项 | 第____周: | ||||||
|---|---|---|---|---|---|---|---|
| 周一 | 周二 | 周三 | 周四 | 周五 | 周六 | 周日 | |
| 检查安全联锁操作。 | |||||||
| 检查转向操作。 | |||||||
| 检查燃油油位。 | |||||||
| 检查机油油位。 | |||||||
| 检查空气滤清器的状况。 | |||||||
| 清洁发动机的冷却翅片。 | |||||||
| 检查发动机是否有异常噪音。 | |||||||
| 检查是否有异常的操作噪音。 | |||||||
| 检查液压油油位。 | |||||||
| 检查液压软管是否受损。 | |||||||
| 检查漏液情况。 | |||||||
| 检查轮胎气压。 | |||||||
| 检查仪表工作情况。 | |||||||
| 为掉漆部分补漆。 | |||||||
| 疑点记录 | ||
| 检查人员: | ||
| 项目 | 日期 | 情况 |
Important: 本机器护罩上的紧固件设计来在拆卸后依然保留在护罩上。将各个护罩上的所有紧固件都拧松几圈,这样护罩虽然松开但仍与机器相连,然后进一步拧松各紧固件,直到护罩完全松脱。这样可以防止螺栓与卡环意外脱离。
调整、清洁、维修或离开机器之前,请执行以下操作:
将机器停在水平地面上。
将油门开关移至低怠速位置。
放低附件。
确保驱动踏板处于空档位置。
接合驻车刹车。
关闭发动机并拔下钥匙。
等待所有活动件停止。
待机器组件冷却后再执行维护。
如果可能,切勿在发动机运行时执行维护。远离活动件。
必要时,使用顶车架支撑机器或组件。
小心释放储能组件中的压力。
检查油位或向曲轴箱加油之前,必须关闭发动机。
切勿改变调速器速度或超速运行发动机。
| 维护间隔时间 | 维护程序 |
|---|---|
| 每200个小时 |
|
检查空气滤清器壳体是否存在可能导致空气泄漏的损坏。更换任何受损的组件。检查整个进气系统是否有泄漏、损坏或软管夹松动的情况。
不要等到必须更换之前才更换空气滤清器;因为这样只会增加拆下滤清器时灰尘进入发动机的几率。
确保空气滤清器盖正确盖好,并与空气滤清器壳体密合。
| 维护间隔时间 | 维护程序 |
|---|---|
| 每200个小时 |
|
松开将空气滤清器盖固定到空气滤清器壳体上的搭扣(图 29)。

从空气滤清器壳体上取下空气滤清器盖。
拆下滤清器之前,用低压空气(2.76bar,洁净干燥)去除主滤清器外部与过滤筒之间堆积的大量杂物。
Important: 避免使用会迫使灰尘通过滤清器进入进风管的高压空气。这一清洁过程可以防止杂物在主滤清器拆下时进入进风口。
拆下并更换滤清器。
Note: 检查新滤芯是否在运输途中受损,检查滤清器的密封端和壳体。切勿使用已损坏的滤芯。插入新滤芯,方法是按住滤芯的外缘,将它压入过滤筒中。切勿按压滤芯柔韧的中心部位。
Note: 由于过滤介体可能受损,因此不建议清洁用过的滤芯。
清洁可拆卸盖子上的灰尘弹射口。
拆下盖子上的橡胶排气阀,清洁凹洞并装回排气阀。
安装盖子时,橡胶排气阀要朝下向下的位置——即从末端看约 5 点钟至 7 点钟方向之间。
固定搭扣。
| 维护间隔时间 | 维护程序 |
|---|---|
| 每800个小时 |
|
类型: Champion RC14YC(或同类产品)
气隙:0.76mm
Note: 火花塞通常使用时间较长;但是,只要发动机出现故障,就应取下并检查火花塞。
清洁各个火花塞周围的部位,防止在取出火花塞时杂质落入气缸。
将火花塞电线从火花塞中拉出,将火花塞从气缸盖中取出。
检查侧电极、中心电极和绝缘体的状况,确保没有任何损坏。
Important: 必须更换破裂、污浊、肮脏或其他方面有故障的火花塞。切勿使用钢丝刷喷砂、刮擦或清洗电极,因为砂粒最终会从火花塞中上掉落,进入气缸。结果通常会损坏发动机。
将中心电极与侧电极之间的气隙设置为 0.76mm;请参阅图 30。安装已设定正确气隙、带密封垫片的火花塞,并将火花塞拧紧至 23N∙m。如果没有使用扭矩扳手,请牢固拧紧火花塞。

| 维护间隔时间 | 维护程序 |
|---|---|
| 每800个小时 |
|
嵌入式滤芯是燃油管线的一部分。必须更换时,请采用以下程序:
关闭燃油切断阀,拧松滤芯化油器侧的软管夹,然后从滤芯上拔下燃油管线(图 31)。

在滤芯下面放置一个放油盘、拧松剩余的软管夹、然后拆下滤芯。
安装新的滤芯、确保滤芯壳体上的箭头指向油箱外面(朝向化油器)。
将软管夹滑到燃油管线的端头。
将燃油管线推入燃油滤芯,并用软管夹固定。
Note: 确保滤芯侧面的箭头指向化油器。
维修机器之前先断开电池的连接。首先断开负极端子,然后断开正极端子。首先连接正极端子,然后连接负极端子。
在通风良好的开阔地为电池充电,远离火花和明火。连接电池或断开电池连接之前,拔出充电器。穿上防护服并使用绝缘工具。
如果机器需要跳线启动,可使用替代正极电极(位于启动马达线圈上),而不是正极电池电极(图 32)。

保险丝盒(图 33)位于座椅的下面。

| 维护间隔时间 | 维护程序 |
|---|---|
| 每25个小时 |
|
保持适当的电池电解液,并保持电池顶部清洁。如果机器存放在温度极高的地方,电池电量减弱的速度要比温度较凉爽的地方快。
定期用蘸有氨水或苏打溶液的刷子清洁电池顶部,保持电池顶部洁净。清洁后、用水冲洗顶部表面。清洁时切勿取下加液盖。
电池电缆必须固定在端子上,电气接触良好。
如果电池端子被腐蚀、应断开电缆、首先断开负极 (-) 电缆,单独刮擦各个夹子和端子。连接电缆、首先连接正极 (+) 电缆、在端子上涂抹凡士林。
每运行 25 个小时或每 30 天(如果机器在存放)检查一次电解液液位。
使用蒸馏水或脱盐水维持电池液位。切勿将电解液添加到电池的加注线以上。
如果机器在驱动踏板处于空档位置时移动,则必须调节牵引凸轮。
将机器停到水平地面上,关闭发动机,接合手刹,然后拔下点火钥匙。
拧掉将中央护罩固定到机器的 2 个螺丝,然后取下护罩(图 34)。

将前轮和 1 个后轮抬离地面,在机架下放支撑块。
必须将前轮和 1 个后轮抬离地面,否则机器在调节过程中会发生移动。这可能会导致机器跌落,对机器下面的人造成伤害。
确保机器获得充分支撑,前轮和 1 个后轮被抬离地面。
拧松牵引调节凸轮上的锁紧螺母(图 35)。

对牵引调节凸轮进行最终调节时,发动机必须处于运行状态。接触到活动部件或热表面可能导致人身伤害。
确保您的手、脚、面部及其他身体部位远离旋转部件、消声器和其他热表面。
启动发动机并朝两个方向旋转凸轮六角螺栓(图 35),以确定中档范围的中点。
拧紧固定该调整的锁紧螺母。
关闭发动机。
安装中央护罩。
拆下顶车架,把机器降低到地面上。
试驾机器,确保当驱动踏板处于空档位置时,机器不会发生移动。
调节驱动系统的空档;请参阅将牵引驱动装置调至空档。
活动一下泵杆,确保所有部件都可以自由运转,且安装稳固。
调节螺丝,直至气隙为 0.8~2.3mm;请参阅图 35。
检查操作是否正常。
驱动踏板的最大行驶和后退速度在出厂时已调节好,但如果踏板在泵杆达到全行程之前达到全行程或需要减慢行驶速度,则可能需要进行调整。
要获得最大行驶速度,请踩下驱动踏板。如果踏板在泵杆达到全行程之前接触到限位器(图 36),请调节:

将机器停到水平地面上,关闭发动机,接合手刹,然后拔下点火钥匙。
拧松固定踏板限位器的螺母。
拧紧踏板限位器,直至其不与驱动踏板接触。
继续对驱动踏板施加轻微力量并调节踏板限位器,使它接触到踏板杆或使踏板杆与限位器之间达到 2.5mm 的空隙。
拧紧螺母。
将机器停到水平地面上,关闭发动机,接合手刹,然后拔下点火钥匙。
拧松固定踏板限位器的螺母。
拧松踏板限位器,直至达到所需的行驶速度。
拧紧固定踏板限位器的螺母。
Important: 调节发动机调速器的速度控制之前,首先确保油门和阻风门控制调节适当。
在调节发动机调速器的速度控制时,发动机必须运行。接触到活动部件或热表面可能导致人身伤害。
在执行此程序之前,确保驱动踏板位于“空档”位置并接合手刹。
确保您的手、脚、衣服和其他身体部位远离任何旋转部件、消声器和其他热表面。
Note: 要调节低怠速,请使用所有以下步骤。如果只有高怠速需要调节,请直接转至步骤 5。
如果液体穿透皮肤,请立即就医。如果液压油渗透皮肤,必须在几个小时内由医生进行手术治疗。
在对液压系统施加压力之前,请确保所有液压油软管和管路均处于良好状态、且所有液压连接和接头均紧固到位。
请确保身体和双手远离喷射高压液压油的针孔泄漏点或喷嘴。
使用纸板或纸张找出液压泄漏点。
在对液压系统执行任何工作之前,请先安全释放液压系统中的所有压力。
| 维护间隔时间 | 维护程序 |
|---|---|
| 初次使用8小时后 |
|
| 每400个小时 |
|
使用真品 Toro 滤芯进行更换。
将机器停到水平地面上,关闭发动机,接合手刹,然后拔下点火钥匙。
拧掉将中央护罩固定到机器的 2 个螺丝,然后取下护罩(图 41)。

在位于机器左侧的液压油滤芯下方放置一个放油盘(图 42)。

清洁滤芯安装区域的周围,并在滤芯下面放置一个放油盘。缓慢旋松液压油滤芯,但不要卸下,直到油流过垫片并从滤芯侧面滴下。
Note: 如果机器配备了远程液压套件,为了排出液压油,可将吸油管从泵上拔下。
当油流动缓慢时,拆下滤芯。
用液压油润滑更换滤芯的密封垫片,并用手旋转直到垫片接触到滤芯头。然后再旋转 3/4 圈上紧。
Note: 现在,滤芯应该密封好了。
为液压油箱添加液压油,直到油位达到量油尺的颈缩区域。切勿将油箱加得过满。请参阅检查液压油油位。
启动和运行发动机。操作提升油缸,直至它可以自由伸缩,且车轮可以前后运动。
关闭发动机,检查油箱中的液压油油位,必要时添加液压油。
检查所有连接是否存在泄漏情况。
安装中央护罩。
妥善处置废油。
| 维护间隔时间 | 维护程序 |
|---|---|
| 在每次使用之前或每日 |
|
每日检查液压管线和软管是否有泄漏、管线扭结、支撑架松脱、磨损、接头松开、日久老化及化学变质的情况。操作之前请执行所有必需的修理。
在液压组件维修或更换后,请更换液压油滤芯并为液压系统补油。
在为液压系统补油时,应确保液压油箱和过滤器始终装满油。
将机器停到水平地面上,关闭发动机,接合手刹,然后拔下点火钥匙。
拧掉将中央护罩固定到机器的 2 个螺丝,然后取下护罩(图 43)。

将前轮和 1 个后轮抬离地面,在机架下放支撑块。
必须将前轮和 1 个后轮抬离地面,否则机器在调节过程中会发生移动。这可能会导致机器跌落,对机器下面的人造成伤害。
确保机器获充分支撑,前轮和 1 个后轮被抬离地面。
启动发动机并设置油门,使发动机能够以约 1,800rpm 的转速运行。
操作提升阀杆,让提升油缸杆移入移出几次。如果油缸杆在 10 到 15 秒后没有移动,或者如果泵发出异常声音,请立即关闭发动机并确定原因或问题。检查是否存在以下情况:
滤芯或吸油管松动
泵上的连接器松动或出现故障
吸油管被堵塞
补油泄压阀故障
补油泵故障
如果油缸在 10 至 15 秒钟内发生移动 ,请转至步骤 6。
向前和向后踩动驱动踏板。离开地面的车轮应向正确的方向旋转。
如果车轮的旋转方向错误,请关闭发动机,从泵的后面拔出管线,并掉转位置。
如果车轮的旋转方向正确,请关闭发动机,并调节弹簧调节销锁紧螺母(图 44)。调节驱动空档位置;请参阅将牵引驱动装置调至空档。

检查驱动联锁开关的调节;请参阅调节牵引联锁开关。
安装中央护罩。
彻底清洁机器、附件和发动机。
检查轮胎气压。
请检查所有紧固件看有无松动;必要时请上紧。
为所有黄油嘴和枢轴添加润滑脂或上油。擦除任何多余的润滑脂。
用砂纸轻轻打磨划伤、碎裂或生锈的漆面、并补漆。
按照以下方式维护电池和电缆:
拆下电池电极上的电池端子。
用钢丝刷和小苏打溶液清洁电池、端子和电极。
为电缆端子和电池电极涂抹上 Grafo 112X 表面润滑脂(Toro 零件号:505-47)或凡士林,防止腐蚀。
每 60 天为电池缓慢充电 24 小时,防止电池出现铅硫化现象。
Note: 充满电的电池比重为 1.250。
Note: 将电池存放在凉爽的环境中,以免电池中的电量快速损耗。为了防止电池冻结,请确保它已充满电。