| ໄລຍະຫ່າງການບໍລິການບຳລຸງຮັກສາ | ຂັ້ນຕອນການບຳລຸງຮັກສາ |
|---|---|
| ກ່ອນການນຳໃຊ້ແຕ່ລະເທື່ອ ຫຼື ປະຈຳວັນ |
|
ເຄື່ອງຈັກນີ້ແມ່ນສ່ວນໜຶ່ງທີ່ຂີ່ໄດ້ຂອງອຸປະກອນນຳໃຊ້ປະໂຫຍດທີ່ມີຈຸດປະສົງທີ່ຈະຖືກນຳໃຊ້ໂດຍຜູ້ຊ່ຽວຊານ, ຜູ້ປະຕິບັດການທີ່ຈ້າງງານໃນການນຳໃຊ້ທາງການຄ້າ. ໃນເບື້ອງຕົ້ນມັນຖືກອອກແບບມາສຳລັບການປັບສະພາບກັບດັກຊາຍຢູ່ໃນສະໜາມກ໊ອຟທີ່ມີການບຳລຸງຮັກສາຢ່າງດີ ແລະ ພື້ນທີ່ທາງການຄ້າ. ການນຳໃຊ້ຜະລິດຕະພັນນີ້ເພື່ອຈຸດປະສົງອື່ນນອກເໜືອຈາກການນຳໃຊ້ທີ່ເປັນຈຸດປະສົງຂອງມັນອາດຈະເປັນອັນຕະລາຍຕໍ່ທ່ານ ແລະ ຜູ້ທີ່ຢູ່ໃກ້ຄຽງ.
ອ່ານຂໍ້ມູນນີ້ຢ່າງລະອຽດເພື່ອຮຽນຮູ້ວິທີການນຳໃຊ້ ແລະ ບຳລຸງຮັກສາຜະລິດຕະພັນຂອງທ່ານຢ່າງຖືກຕ້ອງ ແລະ ຫຼີກລ່ຽງການບາດເຈັບ ແລະ ຄວາມເສຍຫາຍຂອງຜະລິດຕະພັນ. ທ່ານຮັບຜິດຊອບໃນການນຳໃຊ້ຜະລິດຕະພັນຢ່າງຖືກຕ້ອງ ແລະ ປອດໄພ.
ເຂົ້າເບິ່ງເວັບໄຊ www.Toro.com ສຳລັບຄວາມປອດໄພຂອງຜະລິດຕະພັນ ແລະ ອຸປະກອນການຝຶກອົບຮົມການນຳໃຊ້, ຂໍ້ມູນກ່ຽວກັບອຸປະກອນເສີມ, ຊ່ວຍຊອກຫາຕົວແທນຈຳໜ່າຍ ຫຼື ເພື່ອລົງທະບຽນຜະລິດຕະພັນຂອງທ່ານ.
ເມື່ອໃດກໍຕາມທີ່ທ່ານຕ້ອງການບໍລິການ, ອາໄຫຼ່ Toro ຂອງແທ້ ຫຼື ຂໍ້ມູນເພີ່ມເຕີມ, ຕິດຕໍ່ຕົວແທນຈຳໜ່າຍບໍລິການທີ່ໄດ້ຮັບອະນຸຍາດ ຫຼື ຝ່າຍບໍລິການລູກຄ້າ Toro ແລະ ໃຫ້ມີລຸ້ນ ແລະ ເລກລຳດັບຂອງຜະລິດຕະພັນຂອງທ່ານກຽມພ້ອມໄວ້. ຮູບສະແດງ 1 ລະບຸບ່ອນຢູ່ຂອງລຸ້ນ ແລະ ເລກລຳດັບໃນຜະລິດຕະພັນ. ຂຽນເລກໃນຊ່ອງທີ່ກຽມໃຫ້.
Important: ດ້ວຍອຸປະກອນມືຖືຂອງທ່ານ, ທ່ານສາມາດສະແກນລະຫັດ QR (ຖ້າໄດ້ຕິດຕັ້ງມານຳ) ຢູ່ໃນສະຫຼາກເລກລຳດັບເພື່ອເຂົ້າເຖິງການຮັບປະກັນ, ອາໄຫຼ່ ແລະ ຂໍ້ມູນຜະລິດຕະພັນອື່ນໆ.

ສັນຍາລັກເຕືອນຄວາມປອດໄພ (ຮູບສະແດງ 2) ສະແດງຢູ່ໃນຄູ່ມືນີ້ ແລະ ໃນເຄື່ອງຈັກລະບຸຂໍ້ຄວາມປອດໄພທີ່ສຳຄັນທີ່ທ່ານຕ້ອງປະຕິບັດຕາມເພື່ອປ້ອງກັນອຸບັດຕິເຫດ.

ສັນຍາລັກເຕືອນຄວາມປອດໄພປາກົດຂຶ້ນເທິງຂໍ້ມູນທີ່ເຕືອນທ່ານຕໍ່ກັບການກະທຳ ຫຼື ສະຖານະການທີ່ບໍ່ປອດໄພ ແລະ ຖືກຕາມດ້ວຍຄຳວ່າ ອັນຕະລາຍ, ຄຳເຕືອນ ຫຼື ລະວັງ.
ອັນຕະລາຍ ຊີ້ບອກສະຖານະການອັນຕະລາຍທີ່ໃກ້ຈະເກີດຂຶ້ນ, ເຊິ່ງຫາກບໍ່ຫຼີກລ່ຽງໄດ້ຈະສົ່ງຜົນເຖິງການເສຍຊີວິດ ຫຼື ການບາດເຈັບສາຫັດ.
ຄຳເຕືອນ ຊີ້ບອກສະຖານະການອັນຕະລາຍທີ່ເປັນໄປໄດ້, ເຊິ່ງຫາກບໍ່ຫຼີກລ່ຽງໄດ້ສາມາດສົ່ງຜົນເຖິງການເສຍຊີວິດ ຫຼື ການບາດເຈັບສາຫັດ.
ລະວັງ ຊີ້ບອກສະຖານະການອັນຕະລາຍທີ່ເປັນໄປໄດ້, ເຊິ່ງຫາກບໍ່ຫຼີກລ່ຽງໄດ້ອາດຈະສົ່ງຜົນເຖິງການບາດເຈັບເລັກນ້ອຍ ຫຼື ປານກາງ.
ປຶ້ມຄູ່ມືນີ້ໃຊ້ຄຳສັບອື່ນສອງຄຳເພື່ອເນັ້ນຂໍ້ມູນ. ສຳຄັນ ຮຽກຮ້ອງໃຫ້ເອົາໃຈໃສ່ໃນຂໍ້ມູນຂ່າວສານກົນຈັກພິເສດ ແລະ ຂໍ້ສັງເກດ ເພື່ອເນັ້ນໜັກເຖິງຂໍ້ມູນທົ່ວໄປທີ່ສົມຄວນໄດ້ຮັບຄວາມສົນໃຈເປັນພິເສດ.
ຜະລິດຕະພັນນີ້ປະຕິບັດຕາມຄຳສັ່ງແນະນຳຂອງເອີຣົບທີ່ກ່ຽວຂ້ອງທັງໝົດ. ສຳລັບລາຍລະອຽດ, ກະລຸນາເບິ່ງເອກະສານຖະແຫຼງການວ່າດ້ວຍການປະຕິບັດຕາມ (DOC) ສະເພາະຂອງຜະລິດຕະພັນແຍກຕ່າງຫາກ.
ມັນເປັນການລະເມີດກົດໝາຍຊັບພະຍາກອນສາທາລະນະຂອງລັດຄາລິຟໍເນຍພາກທີ 4442 ຫຼື 4443 ໃນການນຳໃຊ້ ຫຼື ນຳໃຊ້ເຄື່ອງຈັກໃນດິນທີ່ມີປ່າໄມ້ປົກຫຸ້ມ, ພຸ່ມໄມ້ປົກຫຸ້ມ ຫຼື ຫຍ້າປົກຫຸ້ມ, ເວັ້ນເສຍແຕ່ວ່າເຄື່ອງຈັກມີເຄື່ອງກວດຈັບປະກາຍໄຟຕາມທີ່ໄດ້ກຳນົດໄວ້ໃນພາກທີ 4442, ມີລຳດັບຂັ້ນຕອນການເຮັດວຽກທີ່ມີປະສິດທິພາບ ຫຼື ເຄື່ອງຈັກຖືກສ້າງຂຶ້ນ, ຕິດຕັ້ງ ແລະ ຮັກສາໄວ້ສຳລັບການປ້ອງກັນໄຟໄໝ້.
ປຶ້ມຄູ່ມືຂອງເຈົ້າຂອງເຄື່ອງຈັກທີ່ໃຫ້ມາແມ່ນມີຂໍ້ມູນທີ່ກ່ຽວຂ້ອງກັບໜ່ວຍງານປົກປ້ອງສິ່ງແວດລ້ອມຂອງສະຫະລັດ (US Environmental Protection Agency, EPA) ແລະ ລະບຽບການຄວບຄຸມການປ່ອຍອາຍພິດຂອງຄາລິຟໍເນຍກ່ຽວກັບລະບົບການປ່ອຍອາຍພິດ (California Emission Control Regulation), ການບຳລຸງຮັກສາ ແລະ ການຮັບປະກັນ. ການປ່ຽນແທນອາດຈະຖືກສັ່ງຊື້ຜ່ານຜູ້ຜະລິດເຄື່ອງຈັກ.
CALIFORNIA
ຄຳເຕືອນຂອງກົດໝາຍ Proposition 65
ທໍ່ໄອເສຍເຄື່ອງຈັກຈາກຜະລິດຕະພັນນີ້ມີສານເຄມີທີ່ຮູ້ຈັກດີ ໃນ ລັດຄາລີຟໍເນຍ ທີ່ເຮັດໃຫ້ເກີດມະເຮັງ, ຄວາມຜິດປົກກະຕິໃນການເກີດລູກ, ຫຼື ອັນຕະລາຍຕໍ່ການຈະເລີນພັນອື່ນໆ.
ຂົ້ວແບດເຕີລີ່, ຂົ້ວໄຟຟ້າ ແລະ ອຸປະກອນທີ່ກ່ຽວຂ້ອງທີ່ມີ ທາດກົ່ວ ແລະ ສ່ວນປະກອບຂອງທາດກົ່ວ, ສານເຄມີທີ່ລັດຄາລີຟໍເນຍ ຮູ້ຈັກດີທີ່ເຮັດໃຫ້ເກີດມະເຮັງແລະ ເປັນອັນຕະລາຍຕໍ່ການຈະເລີນພັນ. ໃຫ້ລ້າງມືຫຼັງຈາກນຳໃຊ້.
ການນຳໃຊ້ຜະລິດຕະພັນນີ້ອາດຈະເຮັດໃຫ້ສຳຜັດກັບສານເຄມີທີ່ຮູ້ຈັກດີໃນ ລັດຄາລີຟໍເນຍ ວ່າເປັນສາເຫດກໍ່ໃຫ້ເກີດມະເຮັງ, ຄວາມຜິດປົກກະຕິໃນການເກີດລູກ, ຫຼື ອັນຕະລາຍຕໍ່ການຈະເລີນພັນອື່ນໆ.
ສຳລັບປະສິດທິພາບການດຶງເພີ່ມເຕີມ, ຊຸດເຄື່ອງມືນ້ຳໜັກ 100-6442 ສາມາດເພີ່ມເຂົ້າໃສ່ດ້ານໜ້າຂອງເຄື່ອງຈັກ.
Note: ຖ້າເຄື່ອງຈັກຖືກເຮັດໃຫ້ພໍດີກັບຕົວຍົກດ້ານໜ້າ ຫຼື ເຄື່ອງຕິດກັບໄຖ, ຊຸດເຄື່ອງມືນ້ຳໜັກຈະບໍ່ພໍດີເນື່ອງຈາກການເຂົ້າລົບກວນທາງກາຍະພາບ.
ຜະລິດຕະພັນນີ້ສາມາດເຮັດໃຫ້ເກີດການບາດເຈັບສ່ວນຕົວໄດ້. ຕ້ອງປະຕິບັດຕາມຄຳແນະນຳກ່ຽວກັບຄວາມປອດໄພທຸກຄັ້ງເພື່ອຫຼີກລ່ຽງການບາດເຈັບສາຫັດຕໍ່ຕົວເອງ
ອ່ານ ແລະ ທຳເຂົ້າໃຈເນື້ອໃນຂອງຄູ່ມືຜູ້ໃຊ້ນີ້ກ່ອນທີ່ຈະເລີ່ມຕິດຈັກ. ໃຫ້ແນ່ໃຈວ່າທຸກໆຄົນທີ່ໃຊ້ຜະລິດຕະພັນນີ້ຮູ້ວິທີນຳໃຊ້ມັນ ແລະ ເຂົ້າໃຈຄຳເຕືອນຕ່າງໆ.
ໃຫ້ໃຊ້ຄວາມເອົາໃຈໃສ່ຢ່າງເຕັມທີ່ຂອງທ່ານໃນຂະນະທີ່ນຳໃຊ້ເຄື່ອງຈັກ. ຢ່າເຂົ້າຮ່ວມໃນກິດຈະກຳໃດໆທີ່ກໍ່ໃຫ້ເກີດການລົບກວນ; ຖ້າບໍ່ດັ່ງນັ້ນອາດຈະເກີດມີການບາດເຈັບ ຫຼື ຄວາມເສຍຫາຍຕໍ່ຊັບສິນໄດ້.
ຢ່າວາງມື ຫຼື ຕີນຂອງທ່ານໃກ້ກັບສ່ວນປະກອບທີ່ເຄື່ອນໄຫວຂອງເຄື່ອງຈັກ.
ຢ່ານຳໃຊ້ເຄື່ອງຈັກໂດຍບໍ່ມີການປົກປ້ອງຄົບຊຸດ ແລະ ອຸປະກອນປ້ອງກັນຄວາມປອດໄພອື່ນໆຢູ່ໃນສະຖານທີ່ ແລະ ເຮັດວຽກຢູ່ກັບເຄື່ອງຈັກ.
ຮັກສາເຄື່ອງຈັກໃຫ້ໄກຈາກຜູ້ຢືນຢູ່ໃກ້ໃນຂະນະທີ່ມັນກຳລັງເຄື່ອນທີ່.
ກັນເດັກນ້ອຍອອກຈາກພື້ນທີ່ບ່ອນເຮັດວຽກ. ຢ່າປ່ອຍໃຫ້ເດັກນ້ອຍນຳໃຊ້ເຄື່ອງຈັກ.
ຢຸດເຄື່ອງຈັກ ແລະ ມອດຈັກກ່ອນກວດສ້ອມບຳລຸງຮັກສາ ຫຼື ໃສ່ນ້ຳມັນເຄື່ອງຈັກ.
ການນຳໃຊ້ ຫຼື ການບຳລຸງຮັກສາເຄື່ອງຈັກທີ່ບໍ່ຖືກຕ້ອງນີ້ອາດຈະເຮັດໃຫ້ເກີດການບາດເຈັບໄດ້.
ເພື່ອຫຼຸດຜ່ອນການບາດເຈັບທີ່ອາດຈະເກີດຂຶ້ນ, ໃຫ້ປະຕິບັດຕາມຄຳແນະນຳກ່ຽວກັບຄວາມປອດໄພເຫຼົ່ານີ້
ແລະ ໃຫ້ເອົາໃຈໃສ່ກັບສັນຍາລັກເຕືອນຄວາມປອດໄພສະເໝີ
, ເຊິ່ງໝາຍເຖິງຂໍ້ຄວນລະວັງ,
ຄຳເຕືອນ ຫຼື ອັນຕະລາຍ, ເຊິ່ງກໍ່ແມ່ນຄຳແນະນຳຄວາມປອດໄພສ່ວນບຸກຄົນ. ການບໍ່ປະຕິບັດຕາມຄຳແນະນຳເຫຼົ່ານີ້ອາດຈະເຮັດໃຫ້ມີການບາດເຈັບສ່ວນຕົວ
ຫລື ເສຍຊີວິດ.
ທ່ານສາມາດຊອກຫາຂໍ້ມູນຄວາມປອດໄພເພີ່ມເຕີມໃນບ່ອນທີ່ຈຳເປັນໄດ້ຕະຫຼອດປຶ້ມຄູ່ມືນີ້.
![]() |
ສະຫຼາກ ແລະ ຄຳແນະນຳກ່ຽວກັບຄວາມປອດໄພແມ່ນສາມາດໃຫ້ຜູ້ນຳໃຊ້ເບິ່ງເຫັນໄດ້ງ່າຍ ແລະ ຕັ້ງຢູ່ໃກ້ກັບພື້ນທີ່ໃດໜຶ່ງທີ່ອາດຈະເກີດອັນຕະລາຍ. ປ່ຽນສະຫຼາກໃດໜຶ່ງທີ່ເສຍຫາຍ ຫຼື ຫາຍໄປ. |







Note: ກໍານົດດ້ານຊ້າຍ ແລະ ຂວາຂອງເຄື່ອງຈັກຈາກຕໍາແຫນ່ງການໃຊ້ງານປົກກະຕິ.
Note: ຖອດລາງຈັບ ແລະ ຕົວຮັດທັງໝົດອອກ ແລະ ກຳຈັດຖິ້ມ.
ອາໄຫຼ່ທີ່ຈຳເປັນສຳລັບຂັ້ນຕອນນີ້:
| ພວງມະໄລ | 1 |
| ປອກໂຟມ | 1 |
| ແຫວນຮອງ | 1 |
| ນັອດລັອກຕົວແມ່ | 1 |
| ຝາປົກພວງມະໄລ | 1 |
ເຄື່ອນລໍ້ໜ້າເພື່ອໃຫ້ມັນຊີ້ໄປຊື່ທາງໜ້າ.
ເລື່ອນປອກໂຟມໄປຫາເພົາພວງມະໄລຈາກສົ້ນນ້ອຍກ່ອນ (ຮູບສະແດງ 3).

ເລື່ອນພວງມະໄລໃສ່ແກນພວງມະໄລ (ຮູບສະແດງ 3).
ຍຶດພວງມະໄລໃສ່ເພົາພວງມະໄລໃຫ້ແໜ້ນດ້ວຍແຫວນຮອງ ແລະ ນັອດລັອກຕົວແມ່ (ຮູບສະແດງ 3).
ບິດນັອດລັອກໃຫ້ໄດ້ 27 ຫາ 35 N∙m (20 ເຖິງ 26 ft-lb).
ກົດຝາປົກພວງມະໄລໃສ່ຕຳແໜ່ງຢູ່ໃນພວງມະໄລ (ຮູບສະແດງ 3).
ອາໄຫຼ່ທີ່ຈຳເປັນສຳລັບຂັ້ນຕອນນີ້:
| ບ່ອນນັ່ງ | 1 |
ເອົານັອດຕົວຜູ້ຢູ່ຫຼັງທີ່ຍຶດບ່ອນນັ່ງໃສ່ລາງນັ້ນອອກ ແລະ ກຳຈັດຖິ້ມ.
ເອົານັອດຕົວແມ່ອອກຈາກເຫຼັກຄ້ຳການຂົນສົ່ງ ແລະ ເອົາເຫຼັກຄ້ຳອອກຖິ້ມ. ຮັກສານັອດຕົວແມ່ໄວ້.
ຍຶດບ່ອນນັ່ງໃສ່ຖານບ່ອນນັ່ງດ້ວຍນັອດຕົວແມ່ທີ່ເອົາອອກມາກ່ອນ 4 ຕົວນັ້ນ, ໃຫ້ເບິ່ງ ຮູບສະແດງ 4.

ຊອກຫາສາຍສຽບໄຟເຄື່ອງຈັກ ແລະ ຕໍ່ມັນໃສ່ສະວິດບ່ອນນັ່ງ (ຮູບສະແດງ 4).
ຍຶດສາຍສຽບໄຟໃສ່ຖານບ່ອນນັ່ງດ້ວຍສາຍສຽບໄຟ.
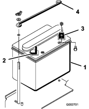
ເອົານັອດປີກຕົວແມ່ 2 ນັອດ ແລະ ແຫວນຮອງທີ່ຮັດແບັດເຕີຣີດ້ານເທິງໃສ່ຕົວຮັດແບັດເຕີຣີດ້ານຂ້າງອອກ (ຮູບສະແດງ 5). ເອົາຕົວຮັດແບັດເຕີຣີດ້ານເທິງອອກ ແລະ ເອົາແບັດເຕີຣີອອກ.

ອາໄຫຼ່ທີ່ຈຳເປັນສຳລັບຂັ້ນຕອນນີ້:
| ນ້ຳກົດລວມ, ຄວາມຖ່ວງຈໍາເພາະ 1.260 (ບໍ່ລວມຢູ່ນຳ) | – |
ຖ້າແບັດເຕີຣີຍັງບໍ່ໄດ້ເຕີມນ້ຳກົດ ຫຼື ເປີດໃຊ້ງານ, ເຕີມນ້ຳກົດທີ່ມີແຮງໂນ້ມຖ່ວງສະເພາະ 1.260 ໃສ່ແບັດເຕີຣີ.
Note: ທ່ານສາມາດຊື້ນ້ຳກົດລວມໄດ້ຈາກຮ້ານຂາຍແບັດເຕີຣີໃນທ້ອງຖິ່ນ.
ນ້ຳກົດແບັດເຕີຣີບັນຈຸມີກົດຊູນຟູຣິກເຊິ່ງເຮັດໃຫ້ເປັນອັນຕະລາຍເຖິງຊີວິດ, ຖ້າຫາກກິນເຂົ້າໄປ ແລະ ເຮັດໃຫ້ເກີດການບາດແຜຮຸນແຮງ.
ຢ່າດື່ມນ້ຳກົດ ແລະ ຫຼີກລ່ຽງການສຳຜັດກັບຜິວໜັງ, ຕາ ຫຼື ເຄື່ອງນຸ່ງ. ໃສ່ແວ່ນຕາຄວາມປອດໄພເພື່ອປ້ອງກັນຕາຂອງທ່ານ ແລະ ຖົງມືຢາງເພື່ອປ້ອງກັນມືຂອງທ່ານ.
ຕື່ມນ້ຳກົດແບັດເຕີຣີໃນບ່ອນທີ່ມີນ້ໍາສະອາດສໍາລັບການລ້າງຜິວໜັງຢູ່ສະເໝີ.
ເອົາຝາປິດຮູເຕີມອອກຈາກແບັດເຕີຣີ ແລະ ຄ່ອຍໆເຕີມແຕ່ລະຫ້ອງຈົນກ່ວານ້ຳກົດຈະຮອດຂີດເຕີມ.
ປ່ຽນຝາປິດຮູເຕີມ ແລະ ເຊື່ອມຕໍ່ຫົວສາກແບັດເຕີຣີ 3 ຫາ 4 A ໃສ່ຫົວແບັດເຕີຣີ. ສາກແບັດເຕີຣີໃນອັດຕາ 3 ເຖິງ 4 A ເປັນເວລາ 4 ຫາ 8 ຊົ່ວໂມງ.
ການສາກແບັດເຕີຣີເຮັດໃຫ້ເກີດອາຍແກັສທີ່ສາມາດລະເບີດໄດ້.
ຢ່າສູບຢາຢູ່ໃກ້ແບັດເຕີຣີ ແລະ ໃຫ້ປະກາຍໄຟ ແລະ ແປວໄຟຢູ່ຫ່າງຈາກແບັດເຕີຣີ.
ເມື່ອສາກແບັດແຕີຣີແລ້ວ, ໃຫ້ຖອດເຄື່ອງສາກໄຟອອກຈາກສາຍສາກໄຟຟ້າ ແລະ ຫົວແບັດເຕີຣີ. ປ່ອຍໃຫ້ແບັດເຕີຣີພັກຢູ່ເປັນເວລາ 5 ຫາ 10 ນາທີ.
ຖອດຝາປິດຮູເຕີມອອກ.
ຕື່ມນ້ຳກົດໃສ່ແຕ່ລະຫ້ອງຊ້າໆຈົນກ່ວາລະດັບຂຶ້ນຮອດຂີດເຕີມ.
Important: ຢ່າເຕີມແບັດເຕີຣີຈົນລົ້ນ. ນ້ຳກົດຈະລົ້ນເຂົ້າໄປໃນສ່ວນອື່ນໆຂອງເຄື່ອງຈັກ ແລະ ເຮັດໃຫ້ເກີດການກັດກ່ອນ ແລະ ການເສື່ອມສະພາບຢ່າງຮຸນແຮງ.
ໃສ່ຝາປິດຮູເຕີມ.
ອາໄຫຼ່ທີ່ຈຳເປັນສຳລັບຂັ້ນຕອນນີ້:
| ນັອດຕົວຜູ້ (¼ x ⅝ ນິ້ວ) | 2 |
| ນັອດລັອກຕົວແມ່ (¼ ນິ້ວ) | 2 |
ຕັ້ງແບັດເຕີຣີໃສ່ບ່ອນດ້ວຍການໃຫ້ຫົວດ້ານລົບວາງຢູ່ໃນຕຳແໜ່ງໄປດ້ານຫຼັງຂອງເຄື່ອງຈັກ (ຮູບສະແດງ 6).

ການໃສ່ສາຍແບັດເຕີຣີທີ່ບໍ່ຖືກຕ້ອງສາມາດເຮັດໃຫ້ເຄື່ອງຈັກ ແລະ ສາຍໄຟເສຍຫາຍ ແລະ ກໍ່ໃຫ້ເກີດປະກາຍໄຟໄດ້. ປະກາຍໄຟສາມາດເຮັດໃຫ້ແກ໊ສໃນແບັດເຕີຣີລະເບີດ, ເຊິ່ງເຮັດໃຫ້ມີການບາດເຈັບສ່ວນບຸກຄົນ.
ຄວນຖອດສາຍໄຟລົບ (ສີດຳ) ຂອງແບັດເຕີຣີຢູ່ຕະຫຼອດກ່ອນທີ່ຈະຖອດສາຍໄຟບວກ (ສີແດງ).
ເຊື່ອມຕໍ່ສາຍໄຟບວກ (ສີແດງ) ຂອງແບັດເຕີຣີຢູ່ຕະຫຼອດກ່ອນທີ່ຈະເຊື່ອມຕໍ່ສາຍໄຟລົບ (ສີດໍາ).
ຫົວແບັດເຕີຣີ ຫຼື ເຄື່ອງມືໂລຫະສາມາດຊັອດໃສ່ສ່ວນປະກອບເຄື່ອງຈັກທີ່ເປັນໂລຫະ, ເຮັດໃຫ້ເກີດປະກາຍໄຟໄດ້. ປະກາຍໄຟສາມາດເຮັດໃຫ້ແກ໊ສໃນແບັດເຕີຣີລະເບີດ, ເຊິ່ງເຮັດໃຫ້ມີການບາດເຈັບສ່ວນບຸກຄົນ.
ເມື່ອຖອດ ຫຼື ຕິດຕັ້ງແບັດເຕີຣີ, ຢ່າປ່ອຍໃຫ້ຫົວແບັດເຕີຣີສຳລັບກັບສ່ວນຂອງເຄື່ອງຈັກທີ່ເປັນໂລຫະ.
ຢ່າປ່ອຍໃຫ້ເຄື່ອງມືໂລຫະຊັອດລະຫວ່າງຫົວແບັດເຕີຣີ ແລະ ສ່ວນຂອງເຄື່ອງຈັກທີ່ເປັນໂລຫະ.
ຍຶດສາຍດ້ານບວກ (ສີແດງ) ໃສ່ຫົວດ້ານບວກ (+) ດ້ວຍນັອດຕົວຜູ້ (¼ x ⅝ ນິ້ວ) ແລະ ນັອດລັອກຕົວແມ່ (ຮູບສະແດງ 7).

ຍຶດສາຍສີດຳນ້ອຍ ແລະ ສາຍໄຟລົບ (ສີດຳ) ໃສ່ຫົວດ້ານລົບ (-) ຂອງແບັດເຕີຣີດ້ວຍນັອດຕົວຜູ້ (¼ x ⅝ ນິ້ວ) ແລະ ນັອດລັອກຕົວແມ່ (¼ ນິ້ວ) (ຮູບສະແດງ 7).
ເຄືອບຫົວໝໍ້ໄຟ ແລະ ຕົວຮັດຍຶດດ້ວຍເຈວປີໂຕຼລຽມເພື່ອປ້ອງກັນການເຂົ້າໝ້ຽງ.
ເລື່ອນໂກບຢາງໄປໃສ່ປາຍຂົ້ວບວກ (+) ເພື່ອປ້ອງກັນບໍ່ໃຫ້ເກີດການຊັອດທີ່ອາດຈະເກີດຂຶ້ນ.
ຕິດຕັ້ງຕົວຮັດແບັດເຕີຣີດ້ານເທິງໃສ່ຕົວຮັດແບັດເຕີຣີດ້ານຂ້າງ ແລະ ຍຶດມັນດ້ວຍແຫວນຮອງ ແລະ ນັອດປີກຕົວແມ່.
ອາໄຫຼ່ທີ່ຈຳເປັນສຳລັບຂັ້ນຕອນນີ້:
| ຊຸດເຄື່ອງມືນ້ຳໜັກດ້ານໜ້າຕາມທີ່ຈຳເປັນ | – |
ເຄື່ອງຈັກນີ້ໄດ້ຖືກອອກແບບໃຫ້ສອດຄ່ອງກັບ ANSI B71.4-2017. ເຖິງແນວໃດກໍຕາມ, ເມື່ອສິ່ງທີ່ຕິດມານຳຖືກຕິດຕັ້ງຢູ່ໃນເຄື່ອງຈັກ, ອາດຈະຈຳເປັນຕ້ອງມີນ້ຳໜັກເພີ່ມເຕີມເພື່ອປະຕິບັດຕາມມາດຕະຖານ.
ໃຊ້ຕາຕະລາງຢູ່ລຸ່ມນີ້ເພື່ອກຳນົດການລວມຂອງນ້ຳໜັກເພີ່ມເຕີມທີ່ຕ້ອງການ. ສັ່ງຊື້ອາໄຫຼ່ຈາກຜູ້ຈຳໜ່າຍ Toro ຂອງທ່ານທີ່ໄດ້ຮັບອະນຸຍາດ.
| ສິ່ງທີ່ຕິດມານຳ | ນ້ຳໜັກທີ່ຕ້ອງການ | ຊຸດເຄື່ອງມືນ້ຳໜັກ | ຈຳນວນຊຸດເຄື່ອງມື |
|---|---|---|---|
| ຊຸດເຄື່ອງມືຕົວເຈາະ | 23 ກລ (50 ປອນ) | ອາໄຫຼ່ເບີ 100-6442 | 1 |
| Rahn Groomer |
Note: ສຳລັບເຄື່ອງຈັກລຸ້ນ 08705, ຢ່າຕິດຕັ້ງຊຸດເຄື່ອງມືນ້ຳໜັກ, ຖ້າເຄື່ອງຈັກຂອງທ່ານຖືກປະກອບມາພ້ອມກັບຊຸດເຄື່ອງມືກອບຍົກດ້ານໜ້າ.
ຕິດຕັ້ງຊຸດເຄື່ອງມືນ້ຳໜັກ; ໃຫ້ເບິ່ງຄຳແນະນຳການຕິດຕັ້ງສຳລັບຊຸດເຄື່ອງມືນ້ຳໜັກ.
ອາໄຫຼ່ທີ່ຈຳເປັນສຳລັບຂັ້ນຕອນນີ້:
| ສະຫຼາກບອກປີຜະລິດ | 1 |
ນຳໃຊ້ສະຫຼາກບອກປີຜະລິດໃສ່ເຄື່ອງຈັກຢູ່ໃນບໍລິເວນທີ່ສະແດງ (ຮູບສະແດງ 8).


ແປ້ນຂັບເຄື່ອນ (ຮູບສະແດງ 10) ມີ 3 ໜ້າທີ່ຄື: ເພື່ອເຄື່ອນເຄື່ອງຈັກໄປໜ້າ, ເຄື່ອນມັນກັບຫຼັງ ແລະ ເພື່ອຢຸດເຄື່ອງຈັກ. ການໃຊ້ສົ້ນຕີນ ຫຼື ໂປ້ຕີນເບື້ອງຂວາຂອງທ່ານ, ກົດດ້ານເທິງຂອງແປ້ນເພື່ອເຄື່ອນໄປໜ້າ ແລະ ດ້ານລຸ່ມຂອງແປ້ນເພື່ອເຄື່ອນກັບຫຼັງ ຫຼື ເພື່ອຊ່ວຍຢຸດໃນເວລາກຳລັງເຄື່ອນໄປໜ້າ (ຮູບສະແດງ 11). ປ່ອຍໃຫ້ແປ້ນຢຽບເຄື່ອນ ຫຼື ເຄື່ອນມັນໄປຕຳແໜ່ງ ເກຍຫວ່າງ ເພື່ອຢຸດເຄື່ອງຈັກ.
Important: ເມື່ອຂັບຂີ່ເຄື່ອງຈັກໄປໜ້າ, ໃຫ້ວາງສົ້ນຕີນຂອງທ່ານໄວ້ເທິ່ງບ່ອນພັກຕີນ; ຢ່າວາງສົ້ນຕີນຂອງທ່ານໄວ້ເທິງແຜ່ນປີ້ນຄືນຂອງແປ້ນຂັບເຄື່ອນ.


ຄວາມໄວພື້ນດິນແມ່ນເປັນສັດສ່ວນກັບວ່າທ່ານກົດແປ້ນຂັບເຄື່ອນໄດ້ໄກເທົ່າໃດ. ສຳລັບຄວາມໄວພື້ນດິນສູງສຸດ, ກົດແປ້ນຢຽບຈົນສຸດໃນຂະນະທີ່ຄັນເລັ່ງຢູ່ໃນຕຳແໜ່ງໄວ . ເພື່ອໃຫ້ໄດ້ກຳລັງສູງສຸດ ຫຼື ເມື່ອຂຶ້ນພູ, ໃຫ້ຄັນເລັ່ງຢູ່ໃນຕຳແໜ່ງໄວໃນຂະນະທີ່ກຳລັງກົດແປ້ນຂັບເຄື່ອນເລັກນ້ອຍເພື່ອຮັກສາຄວາມໄວເຄື່ອງຈັກໄວ້ສູງ. ເມື່ອຄວາມໄວເຄື່ອງຈັກເລີ່ມຫຼຸດລົງ, ປ່ອຍແປ້ນຢຽບໂດຍເລັກນ້ອຍເພື່ອປ່ອຍໃຫ້ຄວາມໄວເພີ່ມຂຶ້ນ.
Important: ສຳລັບກຳລັງດຶງສູງສຸດ, ເຄື່ອນຄັນເລັ່ງໄປທີ່ຕຳແໜ່ງໄວ ແລະ ກົດແປ້ນຂັບເຄື່ອງລົງເບົາໆ.
Important: ໃຊ້ຄວາມໄວພື້ນດິນສູງສຸດພຽງແຕ່ເມື່ອຂັບຂີ່ລະຫວ່າງບ່ອນເຮັດວຽກເທົ່ານັ້ນ.ຢ່າໃຊ້ຄວາມໄວສູງສຸດເມື່ອໃຊ້ສິ່ງທີ່ຕິດມານຳທີ່ຕິດໃສ່ ຫຼື ລາກໄປ.
Important: ຢ່ານຳໃຊ້ເຄື່ອງຈັກໃນການປີ້ນຄືນດ້ວຍສິ່ງທີ່ຕິດມານຳຢູ່ໃນຕຳແໜ່ງ (ການໃຊ້ງານ) ຜ່ອນລົງ, ຖ້າບໍ່ດັ່ງນັ້ນສ່ວນທີ່ຕິດມານຳສາມາດໄດ້ຮັບຄວາມເສຍຫາຍຢ່າງຮ້າຍແຮງໄດ້.
ປຸ່ມຕິດຈັກ (ຮູບສະແດງ 12) ໃຊ້ໃນການຕິດຈັກ ແລະ ມອດຈັກ, ມີ 3 ຕຳແໜ່ງຄື: ປິດ, ແລ່ນເຄື່ອງ ແລະ ຕິດຈັກ. ໝຸນກະແຈໄປຕາມທິດເຂັມໂມງຫາຕຳແໜ່ງຕິດຈັກເພື່ອໃສ່ມໍເຕີເຄື່ອງຕິດຈັກ. ປ່ອຍກະແຈເມື່ອຈັກຕິດ ແລະ ກະແຈເຄື່ອນໄປຫາຕຳແໜ່ງເປີດ. ເພື່ອມອດຈັກ, ໝຸນກະແຈໄປຕາມທິດທວນເຂັມໂມງຫາຕຳແໜ່ງ ປິດ .

ເພື່ອຕິດຈັກເຢັນ, ປິດເຄື່ອງຄຸມອາກາດເຂົ້າຫາຈັກ (ຊົກ) ຂອງເຄື່ອງຈຸດລະເບີດໂດຍການເຄື່ອນຕົວຄວບຄຸມເຄື່ອງຄຸມອາກາດເຂົ້າຫາຈັກ (ຊົກ) (ຮູບສະແດງ 12) ໄປຫາຕຳແໜ່ງປິດແລ້ວ. ຫຼັງຈາກຈັກຕິດ, ຄວບຄຸມເຄື່ອງຄຸມອາກາດເຂົ້າຫາຈັກ (ຊົກ) ເພື່ອໃຫ້ຈັກຕິດຢູ່ຢ່າງຄ່ອງຕົວ. ທັນທີທີ່ເປັນໄປໄດ້, ເປີດເຄື່ອງຄຸມອາກາດເຂົ້າຫາຈັກ (ຊົກ) ໂດຍການເຄື່ອນມັນລົງຫາຕຳແໜ່ງເປີດ. ຈັກອຸ່ນບໍ່ຈຳເປັນຕ້ອງໃຊ້ເຄື່ອງຄວບຄຸມອາກາດເຂົ້າຫາຈັກ (ຊົກ) ຫຼື ໃຊ້ເລັກນ້ອຍ.
ຄັນຄວບຄຸມຄັນເລັ່ງ (ຮູບສະແດງ 12) ຕໍ່ກັບ ແລະ ໃຊ້ງານຕົວເຊື່ອມຕໍ່ຄັນເລັ່ງໃສ່ເຄື່ອງຈຸດລະເບີດ. ການຄວບຄຸມມີ 2 ຕຳແໜ່ງຄື: ຊ້າ ແລະ ໄວ. ຄວາມໄວເຄື່ອງຈັກສາມາດປ່ຽນແປງໄດ້ລະຫວ່າງການຕັ້ງຄ່າ 2 ອັນ.
Note: ທ່ານບໍ່ສາມາດມອດຈັກດ້ວຍການໃຊ້ການຄວບຄຸມຄັນເລັ່ງໄດ້.
ເພື່ອຍົກສິ່ງທີ່ຕິດມານ້ຳຂຶ້ນ, ດຶງຄັນໂຍກຍົກ (ຮູບສະແດງ 13) ກັບຄືນ; ເພື່ອປ່ອຍສິ່ງທີ່ຕິດມານຳຕ່ຳລົງ, ຊຸກຄັນໂຍກໄປທາງໜ້າ. ສຳລັບຕຳແໜ່ງລອຍ, ເຄື່ອນຄັນໂຍກໄປໃນຕຳແໜ່ງກັ້ນ. ເມື່ອທ່ານຮອດຕຳແໜ່ງທີ່ຕ້ອງການແລ້ວ, ປ່ອຍຄັນໂຍກ ແລະ ມັນຈະກັບຄືນຫາຕຳແໜ່ງເກຍຫວ່າງ.

Note: ເຄື່ອງຈັກມີລູກສູບຍົກເຮັດໜ້າທີ່ໄດ້ສອງເທົ່າ. ທ່ານສາມາດນຳໃຊ່ຄວາມດັນຫຼຸດລົງໃສ່ສິ່ງທີ່ຕິດມານຳສຳລັບສະພາບການໃຊ້ງານສະເພາະໄດ້.
ເພື່ອໃສ່ເບຣກມື (ຮູບສະແດງ 13), ດຶງຄັນເບຣກມືກັບຫຼັງ. ເພື່ອປົດມັນ, ຊຸກຄັນໂຍກໄປທາງໜ້າ.
Note: ທ່ານອາດຈະຕ້ອງໝຸນແປ້ນຂັບເຄື່ອນໄປທາງໜ້າ ແລະ ຄືນຫຼັງຊ້າໆເພື່ອປົດເບຣກມືໄດ້.
ເຄື່ອງວັດແທກຊົ່ວໂມງ (ຮູບສະແດງ 13) ສະແດງເຖິງຊົ່ວໂມງທັງໝົດຂອງການເຮັດວຽກຂອງເຄື່ອງຈັກ. ເຄື່ອງວັດແທກຊົ່ວໂມງເລີ່ມຕົ້ນເຮັດໜ້າທີ່ເມື່ອທ່ານບິດສະວິດກະແຈໄປສູ່ຕຳແໜ່ງເປີດ.
ເຄື່ອນຄັນໂຍກຢູ່ດ້ານຊ້າຍຂອງບ່ອນນັ່ງ (ຮູບສະແດງ 14)ໄປທາງໜ້າ, ເລື່ອນບ່ອນນັ່ງໄປບ່ອນທີ່ຕ້ອງການ ແລະ ປ່ອຍຄັນໂຍກເພື່ອລັອກບ່ອນນັ່ງໃຫ້ຢູ່ໃນຕໍາແໜ່ງ.

ປິດວາວປິດນ້ຳມັ້ນ (ຮູບສະແດງ 15) ເມື່ອເກັບມ້ຽນເຄື່ອງຈັກ ຫຼື ຂົນສົ່ງມັນຢູ່ເທິງລົດລາກ.

Note: ຂໍ້ກຳນົດສະເພາະ ແລະ ການອອກແບບແມ່ນມີການປ່ຽນແປງໂດຍບໍ່ຕ້ອງແຈ້ງ.
| ລວງກວ້າງໂດຍບໍ່ມີສິ່ງຕິດມານຳ | 148 ຊມ (58 ນິ້ວ) |
| ລວງກວ້າງພ້ອມຄາດ, ລຸ້ນ 08751 | 191 ຊມ (75 ນິ້ວ) |
| ລວງຍາວໂດຍບໍ່ມີສິ່ງຕິດມານຳ | 164 ຊມ (64-½ ນິ້ວ) |
| ລວງສູງ | 115 ຊມ (45-¼ ນິ້ວ) |
| ຖານລໍ້ | 109 ຊມ (42-¾ ນິ້ວ) |
| ນ້ຳໜັກສຸດທິ | |
| ລຸ້ນ 08703 | 452 ກລ (996 ປອນ) |
| ລຸ້ນ 08705 | 461 ກລ (1,017 ປອນ) |
ການຄັດເລືອກສິ່ງທີ່ຕິດມານຳ ແລະ ອຸປະກອນເສີມທີ່ໄດ້ຮັບການອະນຸມັດຈາກ Toro ແມ່ນມີໃຫ້ໃຊ້ກັບເຄື່ອງຈັກເພື່ອຍົກລະດັບ ແລະ ຂະຫຍາຍຄວາມສາມາດຂອງມັນ. ຕິດຕໍ່ຕົວແທນຈຳໜ່າຍບໍລິການທີ່ໄດ້ຮັບອະນຸຍາດ ຫຼື ຕົວແທນຈຳໜ່າຍ Toro ທີ່ໄດ້ຮັບອະນຸຍາດ ຫຼື ເຂົ້າໄປທີ່ www.Toro.com ສຳລັບລາຍຊື່ສິ່ງທີ່ຕິດມານຳ ແລະ ອຸປະກອນເສີມທີ່ຖືກອະນຸມັດທັງໝົດ.
ເພື່ອຮັບປະກັນການປະຕິບັດງານທີ່ດີທີ່ສຸດ ແລະ ການຢັ້ງຢືນຄວາມປອດໄພຂອງເຄື່ອງຈັກຢ່າງຕໍ່ເນື່ອງ, ໃຫ້ນຳໃຊ້ແຕ່ອາໄຫຼ່ ແລະ ອຸປະກອນປ່ຽນຖ່າຍຂອງ Toro ເທົ່ານັ້ນ. ອາໄຫຼ່ປ່ຽນຖ່າຍ ແລະ ອຸປະກອນເສີມທີ່ຜະລິດໂດຍຜູ້ຜະລິດອື່ນໆອາດຈະເປັນອັນຕະລາຍ, ແລະ ການນຳໃຊ້ດັ່ງກ່າວອາດເຮັດໃຫ້ການຄ້ຳປະກັນຂອງສິນຄ້າເປັນໂມຄະ.
ຈອດເຄື່ອງຈັກຢູ່ໃນບ່ອນພຽງໄດ້ລະດັບ, ໃສ່ເບຣກມື, ມອດຈັກ, ຖອດກະແຈ ແລະ ລໍຖ້າໃຫ້ທຸກພາກສ່ວນເຄື່ອນໄຫວຢຸດກ່ອນອອກຈາກເຄື່ອງຈັກ.
ຢ່າປ່ອຍໃຫ້ເດັກນ້ອຍ ຫຼື ຄົນທີ່ບໍ່ໄດ້ຮັບການຝຶກອົບຮົມເຮັດວຽກ ຫຼື ບຳລຸງຮັກສາເຄື່ອງຈັກ. ລະບຽບການໃນທ້ອງຖິ່ນອາດຈະຈຳກັດອາຍຸຂອງຜູ້ນຳໃຊ້. ເຈົ້າຂອງມີຄວາມຮັບຜິດຊອບໃນການຝຶກອົບຮົມຜູ້ປະຕິບັດການ ແລະ ຊ່າງກົນຈັກທັງໝົດ.
ທຳຄວາມຄຸ້ນເຄີຍກັບການດຳເນີນງານທີ່ປອດໄພຂອງອຸປະກອນ, ການຄວບຄຸມຂອງຜູ້ນຳໃຊ້ ແລະ ປ້າຍສັນຍານຄວາມປອດໄພ.
ຮູ້ວິທີການຢຸດເຄື່ອງຈັກ ແລະ ຈັກຢ່າງໄວ.
ກວດເບິ່ງວ່າສິ່ງຄວບຄຸມຜູ້ໃຊ້ງານ-ການປະກົດຕົວຢູ່, ສະວິດຄວາມປອດໄພ ແລະ ແຜ່ນບັງປ້ອງກັນໄດ້ຕິດໃສ່ ແລະ ໃຊ້ງານໄດ້ຢ່າງດີ. ຢ່ານຳໃຊ້ເຄື່ອງຈັກນອກຈາກວ່າພວກມັນນຳໃຊ້ໄດ້ປົກກະຕິ.
ກ່ອນທີ່ຈະໃຊ້ງານ, ຕ້ອງກວດກາເຄື່ອງຈັກຢູ່ສະເໝີເພື່ອຮັບປະກັນວ່າອົງປະກອບ ແລະ ຕົວຮັດແໜ້ນຢູ່ໃນສະພາບການເຮັດວຽກທີ່ດີ. ປ່ຽນອົງປະກອບ ແລະ ຕົວຮັດແໜ້ນທີ່ເປ່ເພ ຫຼື ເສຍຫາຍຄືນໃໝ່.
ກວດກາບໍລິເວນທີ່ທ່ານຈະໃຊ້ເຄື່ອງຈັກ ແລະ ເອົາວັດຖຸທັງໝົດທີ່ເຄື່ອງຈັກສາມາດຈະເຮັດໃຫ້ເກີດການຟົ້ງຂຶ້ນໄດ້ນັ້ນອອກ.
ໃຊ້ຄວາມລະມັດລະວັງທີ່ສຸດໃນການຈັດການກັບນໍ້າມັນເຊື້ອໄຟ. ມັນໄວໄຟ ແລະ ອາຍແກັສຂອງມັນລະເບີດໄດ້.
ມອດຢາສູບ, ຊິກາ, ບັ້ງສູບຢາ ແລະ ແຫຼ່ງອື່ນໆທີ່ສາມາດຈຸດໄຟໄດ້.
ໃຊ້ຖັງນໍ້າມັນເຊື້ອໄຟທີ່ອະນຸມັດໃຫ້ເທົ່ານັ້ນ.
ຢ່າເປີດຝາປິດນໍ້າມັນເຊື້ອໄຟ ຫຼື ເຕີມນໍ້າມັນເຊື້ອໄຟໃນຂະນະທີ່ເຄື່ອງຈັກກຳລັງແລ່ນ ຫຼື ຮ້ອນ.
ຢ່າເຕີມ ຫຼື ເທນ້ຳມັນເຊື້ອໄຟອອກຢູ່ໃນບ່ອນທີ່ປິດ.
ຢ່າເກັບມ້ຽນເຄື່ອງຈັກ ຫຼື ຖັງນໍ້າມັນເຊື້ອໄຟໄວ້ບ່ອນທີ່ມີແປວໄຟ, ປະກາຍໄຟ ຫຼື ໄຟທົດລອງເຊັ່ນ: ເທິງເຄື່ອງຕົ້ມນ້ຳຮ້ອນ ຫຼື ເຄື່ອງໃຊ້ອື່ນໆ.
ຖ້າທ່ານເຮັດນໍ້າມັນເຊື້ອໄຟກະເດັນ, ຢ່າພະຍາຍາມຕິດຈັກ; ຫຼີກລ່ຽງການສ້າງແຫຼ່ງທີ່ມາຂອງການຈຸດໄຟຈົນກວ່າອາຍນ້ຳມັນເຊື້ອໄຟລະເຫີຍໄປໝົດແລ້ວ.
ຄວາມຈຸຂອງຖັງນໍ້າມັນ: 25 ລິດ (5-½ ແກນລອນສະຫະລັດ).
ນ້ຳມັນທີ່ແນະນຳ:
ເພື່ອໃຫ້ໄດ້ຜົນດີທີ່ສຸດ, ໃຫ້ໃຊ້ແຕ່ນ້ຳມັນແອັດຊັງທີ່ສະອາດ, ສົດ (ອາຍຸບໍ່ເກີນ 30 ວັນ), ບໍ່ມີສານຊືນທີ່ມີອັດຕາອັອກເທນ 87 ຫຼື ສູງກວ່າ ((R+M)/2 ວິທີຄິດໄລ່ອັດຕາ).
ເອທານອລ: ນ້ຳມັນແອັດຊັງທີ່ມີເອທານອລສູງເຖິງ 10% (ແກ໊ສໂຊຮອລ) ຫຼື 15% MTBE (methyl tertiary butyl ether) ໂດຍບໍລິມາດແມ່ນຍອມຮັບໄດ້. ເອທານອລ ແລະ MTBE ແມ່ນບໍ່ຄືກັນ. ນ້ຳມັນແອັດຊັງທີ່ມີເອທານອລ (E15) 15% ໂດຍບໍລິມາດແມ່ນບໍ່ອະນຸມັດໃຫ້ນຳໃຊ້. ຢ່າໃຊ້ນ້ຳມັນແອັດຊັງທີ່ມີເອທານອລຫຼາຍກວ່າ 10% ໂດຍບໍລິມາດເຊັ່ນ: E15 (ມີເອທານອລ 15%), E20 (ມີເອທານອລ 20%) ຫຼື E85 (ມີເອທານອລສູງເຖິງ 85%). ການໃຊ້ນ້ຳມັນແອັດຊັງທີ່ບໍ່ໄດ້ຮັບອະນຸມັດອາດຈະເຮັດໃຫ້ເກີດບັນຫາທາງດ້ານປະສິດທິພາບ ແລະ/ຫຼື ເກີດຄວາມເສຍຫາຍຕໍ່ເຄື່ອງຈັກ, ເຊິ່ງອາດຈະບໍ່ໄດ້ຮັບການຄຸ້ມຄອງພາຍໃຕ້ການຮັບປະກັນ.
ຢ່າໃຊ້ນ້ຳມັນແອັດຊັງທີ່ມີເມທານອລ.
ຢ່າເກັບຮັກສານ້ຳມັນເຊື້ອໄຟໄວ້ໃນຖັງນ້ຳມັນເຊື້ອໄຟ ຫຼື ພາຊະນະບັນຈຸນ້ຳມັນເຊື້ອໄຟຕະຫຼອດລະດູໜາວ, ນອກຈາກວ່າໄດ້ນຳໃຊ້ຕົວຮັກສາຄວາມສະຖຽນຂອງນ້ຳມັນເຊື້ອໄຟແລ້ວ
ຢ່າເຕີມນ້ຳມັນເຄື່ອງໃສ່ນ້ຳມັນແອັດຊັງ.
Important: ຢ່າໃຊ້ສານເຕີມນ້ຳມັນເຊື້ອໄຟອື່ນນອກເໜືອຈາກຕົວຮັກສາຄວາມສະຖຽນ/ຕົວປັບສະພາບນ້ຳມັນເຊື້ອໄຟ. ຢ່າໃຊ້ຕົວປັບສະພາບນ້ຳມັນເຊື້ອໄຟທີ່ມີຖານເປັນເຫຼົ້າເຊັ່ນ: ເອທານອລ, ເມທານອລ ຫຼື ໄອໂສໂປຣພານອລ.
ທຳຄວາມສະອາດອ້ອມຮອບຝາຖັງນ້ຳມັນເຊື້ອໄຟ (ຮູບສະແດງ 16).
ເອົາຝາປິດຖັງນໍ້າມັນເຊື້ອໄຟອອກ.
ຕື່ມໃສ່ຖັງນໍ້າມັນປະມານ 25 ມມ (1 ນິ້ວ) ຢູ່ກ້ອງເພດານຖັງ (ດ້ານລຸ່ມສຸດຂອງຄໍຕົວເຕີມ. ຢ່າເຕີມຈົນລົ້ນ.

ອັດຝາປິດຄືນ.
ເຊັດນໍ້າມັນເຊື້ອໄຟທີ່ອາຈະຮົ່ວກະຈາຍນັ້ນອອກເພື່ອປ້ອງກັນອັນຕະລາຍຈາກໄຟ.
Important: ຢ່າໃຊ້ເມທານອລ, ນ້ຳມັນແອັດຊັງທີ່ມີເມທານອລ ຫຼື ແກ໊ສໂຊຮອລທີ່ມີເອທານອລຫຼາຍກວ່າ 10% ເພາະວ່າລະບົບນ້ຳມັນສາມາດເປ່ເພໄດ້. ຢ່າປະສົມນ້ຳມັນເຄື່ອງກັບນ້ຳມັນແອັດຊັງ.
ກວດເບິ່ງຂັ້ນຕອນດຳເນີນການປະຈຳວັນຕໍ່ໄປນີ້ກ່ອນໃຊ້ງານເຄື່ອງຈັກ:
| ໄລຍະຫ່າງການບໍລິການບຳລຸງຮັກສາ | ຂັ້ນຕອນການບຳລຸງຮັກສາ |
|---|---|
| ກ່ອນການນຳໃຊ້ແຕ່ລະເທື່ອ ຫຼື ປະຈຳວັນ |
|
ຖ້າຫາກວ່າສະວິດເຊື່ອມຕໍ່ຄວາມປອດໄພຖືກຕັດຂາດ ຫຼື ເສຍຫາຍ, ເຄື່ອງສາມາດປະຕິບັດງານໂດຍບໍ່ຄາດຄິດ ແລະ ກໍ່ໃຫ້ເກີດການບາດເຈັບຕໍ່ບຸກຄົນໄດ້.
ຢ່າແຕະຕ້ອງປຸ່ມອິນເຕີລັອກ.
ກວດເບິ່ງການປະຕິບັດງານຂອງປຸ່ມອິນເຕີລັອກທຸກໆມື້ ແລະ ປ່ຽນປຸ່ມທີ່ເສຍຫາຍກ່ອນທີ່ຈະໃຊ້ງານເຄື່ອງຈັກ.
ຈຸດປະສົງຂອງລະບົບອິນເຕີລັອກແມ່ນເພື່ອປ້ອງກັນບໍ່ໃຫ້ເຄື່ອງຈັກແກວ່ງ ຫຼື ຕິດຈັກ, ນອກຈາກວ່າແປ້ນຂັບເຄື່ອນຢູ່ໃນຕຳແໜ່ງເກຍຫວ່າງ. ນອກຈາກນັ້ນ, ຈັກຄວນຈະມອດ, ຖ້າແປ້ນຂັບເຄື່ອນຖືກເຄື່ອນໄປດ້ານໜ້າ ຫຼື ຖອຍຫຼັງໂດຍບໍ່ມີຜູ້ຄວບຄຸມຢູ່ໃນບ່ອນນັ່ງ.
ວາງຕຳແໜ່ງເຄື່ອງຈັກຢູ່ໃນພື້ນທີ່ໂລ່ງກວ້າງໂດຍບໍ່ມີຂີ້ເຫຍື້ອ ແລະ ຄົນຢືນຢູ່ໃກ້. ມອດຈັກ.
ນັ່ງຢູ່ໃນບ່ອນນັ່ງ ແລະ ໃສ່ເບຣກມື.
ກົດແປ້ນຂັບເຄື່ອນໄປໜ້າ ແລະ ຖອຍຫຼັງໃນຂະນະທີ່ພະຍາຍາມຕິດຈັກ.
Note: ຖ້າຈັກແກວ່ງ, ອາດຈະມີຄວາມຜິດປົກກະຕິຢູ່ໃນລະບົບຄວາມປອດໄພ-ອິນເຕີລັອກ. ສ້ອມແປງມັນທັນທີ.ຖ້າ ຈັກບໍ່ແກວ່ງ, ລະບົບໃຊ້ງານຢູ່ຢ່າງຖືກຕ້ອງ.
ໃຫ້ນັ່ງຢູ່ກັບບ່ອນນັ່ງພ້ອມກັບໃຫ້ແປ້ນຂັບເຄື່ອນຢູ່ໃນຕຳແໜ່ງເກຍຫວ່າງ ແລະ ໃສ່ເບຣກມືໄວ້ ແລະ ຕິດຈັກ.
ລຸກຂຶ້ນຈາກບ່ອນນັ່ງ ແລະ ກົດແປ້ນຂັບເຄື່ອນຊ້າໆ.
Note: ຈັກຄວນຈະມອດພາຍໃນ 1 ຫາ 3 ວິນາທີ. ແກ້ໄຂບັນຫາ, ຖ້າລະບົບບໍ່ເຮັດວຽກໄດ້ຢ່າງຖືກຕ້ອງ.
Note: ກໍານົດດ້ານຊ້າຍ ແລະ ຂວາຂອງເຄື່ອງຈັກຈາກຕໍາແຫນ່ງການໃຊ້ງານປົກກະຕິ.
ເຈົ້າຂອງ/ຜູ້ປະຕິບັດງານສາມາດປ້ອງກັນ ແລະ ມີຄວາມຮັບຜິດຊອບຕໍ່ອຸບັດຕິເຫດທີ່ອາດຈະເຮັດໃຫ້ເກີດການບາດເຈັບສ່ວນຕົວ ຫຼື ຄວາມເສຍຫາຍທາງຊັບສິນ.
ໃສ່ເຄື່ອງນຸ່ງທີ່ເໝາະສົມ, ລວມທັງການປ້ອງກັນຕາ; ກັນມື່ນ, ການປ້ອງກັນຕີນ; ໂສ້ງຂາຍາວ ແລະ ເຄື່ອງປ້ອງກັນສຽງ. ມັດຜົມຍາວໄວ້ດ້ານຫຼັງ ແລະ ຢ່າໃສ່ເຄື່ອງປະດັບຫຼວມໆ.
ຢ່າໃຊ້ເຄື່ອງຈັກໃນຂະນະທີ່ບໍ່ສະບາຍ, ອິດເມື່ອຍ ຫຼື ຢູ່ພາຍໃຕ້ອິດທິພົນຂອງສິ່ງມຶນເມົາ ຫຼື ສິ່ງເສບຕິດ.
ຢ່າໃຫ້ຜູ້ໂດຍສານຂຶ້ນເທິງເຄື່ອງຈັກ ແລະ ໃຫ້ຜູ້ຢູ່ໃກ້ ແລະ ສັດລ້ຽງຢູ່ຫ່າງຈາກເຄື່ອງຈັກໃນລະຫວ່າງການປະຕິບັດງານ.
ນຳໃຊ້ເຄື່ອງຈັກພຽງແຕ່ບ່ອນທີ່ເບິ່ງເຫັນໄດ້ດີເພື່ອຫຼີກລ່ຽງຂຸມ ຫຼື ອັນຕະລາຍທີ່ເຊື່ອງຢູ່.
ຫຼີກລ່ຽງການໃຊ້ງານເທິງຫຍ້າປຽກ. ການຫຼຸດຜ່ອນການເຄື່ອນທີ່ອາດຈະເຮັດໃຫ້ເຄື່ອງຈັກໄຫຼໄປ.
ກ່ອນທີ່ທ່ານຈະຕິດຈັກ, ຮັບປະກັນວ່າເປັນເກຍຫວ່າງ, ໃສ່ເບຣກມືໄວ້ຢູ່ ແລະ ທ່ານຢູ່ໃນຕຳແໜ່ງປະຕິບັດງານ.
ເບິ່ງທາງຫຼັງ ແລະ ດ້ານລຸ່ມກ່ອນທີ່ຈະຖອຍເພື່ອໃຫ້ແນ່ໃຈວ່າເສັ້ນທາງປອດໄພ.
ໃຊ້ຄວາມລະມັດລະວັງໃນເວລາທີ່ເຂົ້າໄປໃນບໍລິເວນທີ່ເບິ່ງບໍ່ເຫັນ, ຟຸ່ມໄມ້, ຕົ້ນໄມ້ ຫຼື ວັດຖຸອື່ນໆທີ່ອາດເຮັດໃຫ້ທ່ານເບິ່ງບໍ່ເຫັນ.
ຢ່າໃຊ້ງານຢູ່ໃກ້ຈຸດຕົກ, ຄອງນ້ຳ, ຄັນຄູ ຫຼື ບ່ອນເປັນເນີນ. ເຄື່ອງຈັກດັ່ງກ່າວສາມາດກິ້ງໄດ້ຢ່າງກະທັນຫັນ, ຖ້າຫາກວ່າລໍ້ແລ່ນຂ້າມຂອບ ຫຼື ຖ້າຂອບມີທາງເປີດໃຫ້.
ມອດເຄື່ອງຈັກ ແລະ ກວດເບິ່ງສິ່ງທີ່ຕິດມານຳຫຼັງຈາກຕຳເອົາວັດຖຸ ຫຼື ຖ້າມີການສັ່ນສະເທືອນຜິດປົກກະຕິຢູ່ໃນເຄື່ອງຈັກ. ເຮັດການສ້ອມແປງທີ່ຈຳເປັນທັງໝົດກ່ອນທີ່ຈະເລີ່ມການນຳໃຊ້ຕໍ່.
ຊ້າລົງ ແລະ ໃຊ້ຄວາມລະມັດລະວັງໃນເວລາທີ່ລ້ຽວ ແລະ ຂ້າມຖະໜົນ ແລະ ທາງຍ່າງທີ່ຢູ່ກັບເຄື່ອງຈັກ. ໃຫ້ຮ້ອງສະເໝີວ່າລະວັງລົດມາ.
ຢ່າແລ່ນເຄື່ອງຈັກຢູ່ໃນພື້ນທີ່ບ່ອນທີ່ມີອາຍເສຍປິດ.
ຢ່າປ່ອຍໃຫ້ເຄື່ອງຈັກຕິດຢູ່ໂດຍທີ່ບໍ່ມີຄົນຢູ່ນຳ.
ກ່ອນອອກຈາກຕຳແໜ່ງປະຕິບັດງານ, ໃຫ້ເຮັດດັ່ງຕໍ່ໄປນີ້:
ຈອດເຄື່ອງຈັກຢູ່ໃນພື້ນພຽງໄດ້ລະດັບ.
ປ່ອຍສິ່ງທີ່ຕິດມານຳຕ່ຳລົງ.
ໃສ່ເບຣກມື.
ມອດຈັກ ແລະ ຖອດກະແຈ.
ລໍຖ້າໃຫ້ທຸກພາກສ່ວນທີ່ເຄື່ອນຍ້າຍຢູ່ນັ້ນຢຸດ.
ຢ່າໃຊ້ເຄື່ອງຈັກເມື່ອມີຄວາມສ່ຽງຕໍ່ການເກີດຟ້າຜ່າ.
ຢ່ານຳໃຊ້ເຄື່ອງຈັກເປັນພາຫະນະລາກແກ່.
ເມື່ອຈຳເປັນ, ຫົດນ້ຳພື້ນຜິວໃຫ້ປຽກກ່ອນປັບສະພາບເພື່ອຫຼຸດຜ່ອນການເຮັດໃຫ້ເກີດມີຝຸ່ນໜ້ອຍສຸດ.
ໃຊ້ແຕ່ອຸປະກອນເສີມ, ສິ່ງທີ່ຕິດມານຳ ແລະ ອາໄຫຼ່ປ່ຽນທີ່ອະນຸມັດໂດຍ Toro ເທົ່ານັ້ນ.
ກຳນົດຂັ້ນຕອນດຳເນີນການຂອງທ່ານເອງ ແລະ ກົດລະບຽບຕ່າງໆສຳລັບການໃຊ້ງານໃນບ່ອນຄ້ອຍຊັນ. ຂັ້ນຕອນດຳເນີນການເຫຼົ່ານີ້ຕ້ອງລວມມີການສຳຫຼວດສະໜາມເພື່ອກຳນົດວ່າຄວາມຄ້ອຍຊັນໃດມີຄວາມປອດໄພຕໍ່ການດຳເນີນງານຂອງເຄື່ອງຈັກ. ໃຊ້ສາມາດສຳນຶກທົ່ວໄປ ແລະ ການຕັດສິນໃຈທີ່ດີຢູ່ສະເໝີໃນເວລາທີ່ດຳເນີນການສຳຫຼວດເບິ່ງນີ້.
ບ່ອນຄ້ອຍຊັນແມ່ນປັດໃຈຕົ້ນຕໍທີ່ກ່ຽວຂ້ອງກັບການສູນເສຍການຄວບຄຸມ ແລະ ອຸບັດຕິເຫດໃນການພິກປີ້ນ, ເຊິ່ງອາດຈະເຮັດໃຫ້ມີການບາດເຈັບສາຫັດ ຫຼື ເສຍຊີວິດໄດ້. ຜູ້ນຳໃຊ້ມີໜ້າທີ່ຮັບຜິດຊອບໃນການປະຕິບັດງານໃນບ່ອນຄ້ອຍຊັນທີ່ປອດໄພ. ການໃຊ້ເຄື່ອງຈັກຢູ່ເທິງບ່ອນຄ້ອຍຊັນໃດກໍ່ຕາມແມ່ນຕ້ອງມີຄວາມລະມັດລະວັງເປັນພິເສດ.
ບ່ອນຄ້ອຍຊັນແມ່ນປັດໃຈຕົ້ນຕໍທີ່ກ່ຽວຂ້ອງກັບການສູນເສຍການຄວບຄຸມ ແລະ ອຸບັດຕິເຫດໃນການອຽງທັບ, ເຊິ່ງອາດຈະເຮັດໃຫ້ມີການບາດເຈັບສາຫັດ ຫຼື ເສຍຊີວິດໄດ້. ການໃຊ້ເຄື່ອງຈັກຢູ່ເທິງບ່ອນຄ້ອຍຊັນໃດກໍ່ຕາມແມ່ນຕ້ອງມີຄວາມລະມັດລະວັງເປັນພິເສດ.
ໃຊ້ງານເຄື່ອງຈັກດ້ວຍຄວາມໄວຕ່ຳລົງເມື່ອທ່ານຢູ່ບ່ອນຄ້ອຍຊັນ.
ຖ້າທ່ານຮູ້ສຶກວ່າການໃຊ້ງານເຄື່ອງຈັກຢູ່ບ່ອນຄ້ອຍຊັນບໍ່ແມ່ນສິ່ງທີ່ງ່າຍ, ຢ່ານຳໃຊ້ມັນ.
ເບິ່ງຂຸມ, ຮອຍແຕກ, ກ້ອນຫີນ ຫຼື ວັດຖຸອື່ນໆທີ່ເຊື່ອງຢູ່. ພູມສັນຖານທີ່ບໍ່ລຽບສາມາດເຮັດໃຫ້ເຄື່ອງຈັກປີ້ນໄດ້. ຫຍ້າທີ່ສູງສາມາດປິດບັງສິ່ງກີດຂວາງຕ່າງໆໄດ້.
ເລືອກຄວາມໄວພື້ນດິນຕ່ຳເພື່ອທີ່ທ່ານຈະບໍ່ຕ້ອງຢຸດ ຫຼື ປ່ຽນເກຍໃນຂະນະທີ່ຢູ່ບ່ອນຄ້ອຍຊັນ.
ການປີ້ນສາມາດເກີດຂຶ້ນໄດ້ກ່ອນຢາງລໍ້ເສຍແຮງລາກ.
ຫຼີກລ່ຽງການໃຊ້ງານເຄື່ອງຈັກເທິງຫຍ້າປຽກ. ຢາງລົດໂລອາດຈະເສຍແຮງລາກໂດຍບໍ່ຄຳນຶງເຖິງວ່າມີເບຣກຢູ່ບໍ່ ແລະ ເບຣກໃຊ້ງານໄດ້ບໍ່.
ຫຼີກລ່ຽງການຕິດຈັກ, ມອດຈັກ ຫຼື ລ້ຽວເຄື່ອງຈັກຢູ່ບ່ອນຄ້ອຍຊັນ.
ຮັກສາທຸກການເຄື່ອນໄຫວໃນບ່ອນຄ້ອຍຊັນໄປຊ້າໆ ແລະ ເທື່ອລະໜ້ອຍ. ຢ່າປ່ຽນຄວາມໄວ ຫຼື ທິດທາງເຄື່ອງຈັກກະທັນຫັນ.
ຢ່າໃຊ້ງານເຄື່ອງຈັກຢູ່ໃກ້ຈຸດຕົກ, ຄອງນ້ຳ, ຄັນຄູ ຫຼື ແຫຼ່ງນ້ຳ. ເຄື່ອງຈັກດັ່ງກ່າວສາມາດກິ້ງໄດ້ຢ່າງກະທັນຫັນ, ຖ້າຫາກວ່າລໍ້ແລ່ນຂ້າມຂອບ ຫຼື ຂອບຕົກເຂົ້າໃນ. ສ້າງໃຫ້ມີພື້ນທີ່ປອດໄພລະຫວ່າງເຄື່ອງຈັກ ແລະ ອັນຕະລາຍ (ຄວາມກວ້າງເຄື່ອງຈັກ 2 ອັນ).
ເອົາຕີນຂອງທ່ານອອກຈາກແປ້ນຂັບເຄື່ອນ, ຮັບປະກັນວ່າແປ້ນຢູ່ໃນຕໍາແໜ່ງ ເກຍຫວ່າງ ແລະ ໃສ່ເບຣກມືໄວ້.
ຊຸກຄັນເຄື່ອງຄຸມອາກາດເຂົ້າຫາຈັກ (ຊົກ) ໄປທາງໜ້າຫາຕຳແໜ່ງເປີດ (ເມື່ອຕິດຈັກເຢັນ) ແລະ ຄັນເລັ່ງໄປຕຳແໜ່ງຊ້າ.
Important: ເມື່ອກຳລັງໃຊ້ງານເຄື່ອງຈັກຢູ່ໃນອຸນຫະພູມໜ້ອຍກວ່າ 0°C (32°F), ໃຫ້ເວລາຈັກອຸ່ນເຄື່ອງກ່ອນນຳໃຊ້ມັນ. ນີ້ປ້ອງກັນຄວາມເສຍຫາຍຕໍ່ໄຮໂດຼສະແຕັດ ແລະ ບ້ວງການຂັບເຄື່ອນ.
ສຽບກະແຈໃສ່ສະວິດບ່ອນຕິດຈັກ ແລະ ໝຸນມັນໄປຕາມທິດເຂັມໂມງເພື່ອຕິດຈັກ. ຖອອອດກະແຈອອກເມື່ອຈັກຕິດແລ້ວ.
Note: ຄວບຄຸມເຄື່ອງຄຸມອາກາດເຂົ້າຫາຈັກ (ຊົກ) ເພື່ອໃຫ້ຈັກຕິດຢູ່ຢ່າງຄ່ອງຕົວ.
Important: ເພື່ອປ້ອງກັນບໍ່ໃຫ້ມໍເຕີເຄື່ອງຕິດຈັກມີຄວາມຮ້ອນເກີນໄປ, ຢ່າເປີດເຄື່ອງຕິດຈັກດົນກວ່າ 10 ວິນາທີ. ຫຼັງຈາກ 10 ວິນາທີຂອງການແກວ່ງຢ່າງຕໍ່ເນື່ອງ, ລໍຖ້າ 60 ວິນາທີກ່ອນທີ່ຈະເລີ່ມການຕິດມໍເຕີເຄື່ອງຕິດຈັກອີກຄັ້ງ.
ເພື່ອມອດຈັກ, ເຄື່ອນການຄວບຄຸມຄັນເລັ່ງໄປທີ່ຕຳແໜ່ງຊ້າ ແລະ ໝຸນກະແຈຕິດຈັກໄປທີ່ມອດ.
Note: ຖອດກະແຈອອກຈາກປຸ່ມເພື່ອປ້ອງກັນການຕິດຈັກໂດຍບັງເອີນ.
ປິດວາວປິດນ້ຳມັ້ນກ່ອນເກັບຮັກສາເຄື່ອງຈັກ.
ການກວດກາເຄື່ອງຈັກໃນຂະນະທີ່ຈັກກຳລັງແລ່ນສາມາດເຮັດໃຫ້ເກີດການບາດເຈັບໄດ້.
ມອດຈັກ ແລະ ລໍຖ້າໃຫ້ທຸກພາກສ່ວນທີ່ເຄື່ອນຍ້າຍຢູ່ນັ້ນຢຸດກ່ອນທີ່ຈະກວດເບິ່ງການຮົ່ວໄຫຼຂອງນ້ຳມັນ, ອາໄຫຼ່ທີ່ຫຼວມ ແລະ ຄວາມຜິດປົກກະຕິອື່ນໆ.
ຈັກໃໝ່ໃຊ້ເວລາເພື່ອພັດທະນາໃດ້ເຕັມກຳລັງ. ລະບົບຂັບເຄື່ອນມີແຮງສຽດສີຫຼາຍກວ່າເມື່ອພວກມັນຍັງໃໝ່, ເຮັດໃຫ້ມີການໂຫຼດເພີ່ມເຕີມໃນຈັກ.
ໃຫ້ເວລາໃຊ້ງານ 8 ຊົ່ວໂມງທຳອິດສຳລັບໄລຍະການເຂົ້າໃຊ້ທຳອິດ.
ເນື່ອງຈາກຊົ່ວໂມງທຳອິດຂອງການໃຊ້ງານມີຄວາມສຳຄັນທີ່ສຸດຕໍ່ຄວາມສາມາດເພິ່ງພາໃນອະນາຄົດຂອງເຄື່ອງຈັກ, ໃຫ້ຕິດຕາມການເຮັດໜ້າທີ່ ແລະ ປະສິດທິພາບການໃຊ້ງານຢ່າງໃກ້ຊິດເພື່ອທີ່ທ່ານຈະສາມາດສັງເກດເຫັນ ແລະ ແກ້ໄຂຄວາມຫຍຸ້ງຍາກເລັກນ້ອຍ, ເຊິ່ງສາມາດນຳໄປສູ່ບັນຫາໄດ້. ໝັ່ນກວດກາເຄື່ອງຈັກເລື້ອຍໆໃນລະຫວ່າງໄລຍະການເຂົ້າໃຊ້ທຳອິດສຳລັບສັນຍານຂອງນ້ຳມັນຮົ່ວ, ຕັດຮັດແໜ້ນຫຼວມ ຫຼື ການບໍ່ເຮັດໜ້າທີ່ອື່ນໃດໜຶ່ງໄດ້.
ໃຫ້ເບິ່ງຄູ່ມືຜູ້ໃຊ້ສຳລັບຄຳແນະນຳການໃຊ້ງານສະເພາະສຳລັບສິ່ງທີ່ຕິດມານຳ.
ຝຶກການຂັບເຄື່ອງຈັກເພາະວ່າຄຸນລັກສະນະການໃຊ້ງານຂອງມັນແຕກຕ່າງໄປຫຼາຍກວ່າພາຫະນະອັດຖະປະໂຫຍດບາງປະເພດ. 2 ຈຸດທີ່ຄວນພິຈາລະນາເມື່ອໃຊ້ງານພາກຫະນະແມ່ນຄວາມໄວເກຍ ແລະ ຄວາມໄວຈັກ.
ເພື່ອຮັກສາຄວາມໄວຈັກຄົງທີ່, ໃຫ້ກົດແປ້ນຂັບເຄື່ອນຊ້າໆ. ນີ້ປ່ອຍໃຫ້ຈັກຮັກສາຄວາມໄວພື້ນດິນຂອງພາຫະນະໄວ້. ໃນທາງກົງກັນຂ້າມ, ການຊຸກແປ້ນຂັບເຄື່ອນລົງຢ່າງໄວຫຼຸດຄວາມໄວຈັກລົງ; ດ້ວຍຜົນໄດ້ຮັບດັ່ງກ່າວ, ຈະບໍ່ມີກຳລັງແຮງບິດພໍທີ່ຈະເຄື່ອນພາຫະນະໄດ້. ດັ່ງນັ້ນ, ເພື່ອໂອນກຳລັງສູງສຸດໄປຫາລໍ້, ເຄື່ອນຄັນເລັ່ງໄປທີ່ໄວ ແລະ ກົດແປ້ນຂັບເຄື່ອງລົງເບົາໆ. ໂດຍການປຽບທຽບ, ຄວາມໄວພື້ນດິນສູງສຸດໂດຍບໍ່ມີຜົນໄດ້ຮັບການໂຫຼດເມື່ອຄັນເລັ່ງຢູ່ໃນຕຳແໜ່ໄວ ແລະ ແປ້ນຂັບເຄື່ອນຊ້າໆ, ແຕ່ຖືກກົດຈົນສຸດ. ໃຫ້ຮັກສາຄວາມໄວຈັກໄວ້ສູງພຽງພໍຢູ່ສະເໝີເພື່ອສົ່ງກຳລັງແຮງບິດສູງສຸດໄປຫາລໍ້.
ການໃຊ້ງານເຄື່ອງຈັກຮຽກຮ້ອງໃຫ້ມີຄວາມເອົາໃຈໃສ່ເພື່ອປ້ອງກັນການອຽງທັບ ຫຼື ການສູນເສຍການຄວບຄຸມ.
ໃຊ້ຄວາມລະມັດລະວັງເມື່ອເຂົ້າໄປ ແລະ ອອກຈາກກັບດັກຊາຍ.
ໃຊ້ຄວາມລະມັດລະວັງຫຼາຍທີ່ສຸດບໍລິເວນຄອງ, ຫ້ວຍ ຫຼື ອັນຕະລາຍອື່ນໆ.
ໃຊ້ຄວາມລະມັດລະວັງເມື່ອໃຊ້ງານເຄື່ອງຈັກຢູ່ບ່ອນຄ້ອຍຊັນຫຼາຍ.
ຫຼຸດຄວາມໄວຂອງທ່ານລົງເມື່ອເຮັດການລ້ຽວທັນທີ ຫຼື ເມື່ອລ້ຽງຢູ່ເປີ້ນພູ.
ຫຼີກລ່ຽງການຢຸດ ແລະ ການຕິດຈັກທັນທີ.
ຢ່າໄປຈາກການຖອຍຫຼັງແລ້ວອອກໄປທາງໜ້າເລີຍໂດຍບໍ່ມີການຢຸດໃຫ້ຢູ່ດີກ່ອນ.
Note: ຖ້າຕົວປັບສິ່ງທີ່ຕິດມານຳຕິດຄ້າງໃສ່ຕົວປັບໜ່ວຍຕັດ, ສອດເຫຼັກແງະ ຫຼື ໄຂຄວງເຂົ້າໄປໃນຊ່ອງແງະເພື່ອປົດສ່ວນຕ່າງໆ (ຮູບສະແດງ 17).

ຈອດເຄື່ອງຈັກຢູ່ໃນບ່ອນພຽງໄດ້ລະດັບ, ໃສ່ເບຣກມື, ມອດຈັກ, ຖອດກະແຈ ແລະ ລໍຖ້າໃຫ້ທຸກພາກສ່ວນເຄື່ອນໄຫວຢຸດກ່ອນອອກຈາກເຄື່ອງຈັກ.
ອານາໄມຫຍ້າ ແລະ ສິ່ງເສດເຫຼືອຈາກທໍ່ເກັບສຽງ ແລະ ສ່ວນຕ່າງໆຂອງເຄື່ອງຈັກເພື່ອຊ່ວຍປ້ອງກັນໄຟໄໝ້. ອະນາໄມນໍ້າມັນເຄື່ອງ ຫຼື ນໍ້າມັນເຊື້ອໄຟທີ່ກະເດັນອອກ.
ປ່ອຍໃຫ້ເຄື່ອງຈັກເຢັນລົງກ່ອນທີ່ຈະເກັບຮັກສາເຄື່ອງຈັກໄວ້ຢູ່ໃນບ່ອນປິດໃດໜຶ່ງ.
ປິດນໍ້າມັນເຊື້ອໄຟກ່ອນການເກັບມ້ຽນ ຫຼື ການຂົນສົ່ງເຄື່ອງຈັກ.
ຢ່າເກັບເຄື່ອງຈັກ ຫຼື ຖັງນໍ້າມັນເຊື້ອໄຟໄວ້ບ່ອນທີ່ມີແປວໄຟ, ປະກາຍໄຟ ຫຼື ໄຟທົດລອງເຊັ່ນ: ເທິງເຄື່ອງຕົ້ມນ້ຳຮ້ອນ ຫຼື ເທິງເຄື່ອງໃຊ້ອື່ນໆ.
ຮັກສາອາໄຫຼ່ທຸກອັນຂອງເຄື່ອງຈັກໃຫ້ຢູ່ໃນສະພາບການເຮັດວຽກທີ່ດີ ແລະ ຫັນສ່ວນປະກອບຕ່າງໆໃຫ້ແໜ້ນ.
ປ່ຽນທຸກສະຫຼາກທີ່ຫຼຸ້ຍຫ້ຽນ, ເປ່ເພ ຫຼື ຫາຍໄປ.
ໃນກໍລະນີສຸກເສີນ, ທ່ານສາມາດລາກເຄື່ອງຈັກໄປໄລຍະທາງສັ້ນໄດ້. ເຖິງແນວໃດກໍຕາມ, ພວກເຮົາບໍ່ແນະນຳໃຫ້ເຮັດແນວນີ້ເປັນຂັ້ນຕອນດຳເນີນການມາດຕະຖານ.
Important: ຢ່າລາກເຄື່ອງຈັກໄວກວ່າ 1.6 ກມ/ຊມ (1 ໄມຕໍ່ຊົ່ວໂມງ) ເພາະວ່າອາດຈະເກີດມີຄວາມເສຍຫາຍຕໍ່ລະບົບຂັບເຄື່ອນໄດ້. ຖ້າທ່ານຕ້ອງເຄື່ອນເຄື່ອງຈັກໄປໄກກວ່າ 50 ມ (55 ຫຼາ), ໃຫ້ຂົນສົ່ງມັນເທິງລົດບັນທຸກ ຫຼື ລົດລາກ. ຢາງລໍ້ອາດຈະລັອກ, ຖ້າທ່ານລາກເຄື່ອງຈັກໄວເກີນໄປ. ຖ້າເກີດເປັນແນວນີ້ຂຶ້ນມາ, ໃຫ້ຢຸດລາກເຄື່ອງຈັກ ແລະ ລໍຖ້າໃຫ້ຄວາມດັນວົງຈອນການເຄື່ອນທີ່ຄົງຕົວກ່ອນເລີ່ມການລາກອີກໃນຄວາມໄວຊ້າລົງ.
ໃຊ້ທາງລາດເຕັມຄວາມກ້ວາງສຳລັບການໂຫຼດເຄື່ອງຈັກໃສ່ລົດພ່ວງ ຫຼື ລົດບັນທຸກ.
ມັດເຄື່ອງຈັກໃຫ້ຮັບປະກັນ.
Note: ເພື່ອໃຫ້ໄດ້ແຜນຜັງໄຟຟ້າ ຫຼື ແຜນຜັງລະບົບໄຮໂດຼລິກສຳລັບເຄື່ອງຈັກຂອງທ່ານ, ໃຫ້ເບິ່ງ www.Toro.com.
ກ່ອນທີ່ຈະດັດປັບ, ທຳຄວາມສະອາດ, ສ້ອມແປງ ຫຼື ອອກຈາກເຄື່ອງ, ເຮັດດັ່ງຕໍ່ໄປນີ້:
ຈອດເຄື່ອງຈັກຢູ່ໃນພື້ນບ່ອນພຽງໄດ້ລະດັບ.
ຍ້າຍປຸ່ມຄັນເລັ່ງໄປທີ່ຕຳແໜ່ງກາລັງຕີຕ່ຳ.
ປ່ອຍສິ່ງທີ່ຕິດມານຳຕ່ຳລົງ.
ຮັບປະກັນວ່າການຂັບເຄື່ອນຢູ່ໃນເກຍຫວ່າງ.
ໃສ່ເບຣກມື.
ມອດຈັກ ແລະ ຖອດກະແຈ.
ລໍຖ້າໃຫ້ທຸກພາກສ່ວນທີ່ເຄື່ອນຍ້າຍຢູ່ນັ້ນຢຸດ.
ປ່ອຍໃຫ້ອົງປະກອບຂອງເຄື່ອງຈັກເຢັນກ່ອນປະຕິບັດການບຳລຸງຮັກສາ.
ຖ້າເປັນໄປໄດ້, ຢ່າດຳເນີນການບຳລຸງຮັກສາໃນຂະນະທີ່ເຄື່ອງຈັກກຳລັງແລ່ນຢູ່. ຢູ່ຫ່າງຈາກຊິ້ນສ່ວນເຄື່ອນໄຫວ.
ໃຊ້ກະລິກຄ້ຳເພື່ອຮອງຮັບເຄື່ອງຈັກ ຫຼື ສ່ວນປະກອບຕ່າງໆເມື່ອຈຳເປັນ.
ປ່ອຍຄວາມດັນອອກຈາກສ່ວນປະກອບທີ່ມີພະລັງງານເກັບໄວ້ຢ່າງລະມັດລະວັງ.
| ໄລຍະຫ່າງການບໍລິການບຳລຸງຮັກສາ | ຂັ້ນຕອນການບຳລຸງຮັກສາ |
|---|---|
| ຫລັງຈາກ 8 ຊົ່ວໂມງທໍາອິດ |
|
| ກ່ອນການນຳໃຊ້ແຕ່ລະເທື່ອ ຫຼື ປະຈຳວັນ |
|
| ຫຼັງຈາກການນຳໃຊ້ແຕ່ລະຄັ້ງ |
|
| ທຸກໆ 25 ຊົ່ວໂມງ |
|
| ທຸກໆ 100 ຊົ່ວໂມງ |
|
| ທຸກໆ 200 ຊົ່ວໂມງ |
|
| ທຸກໆ 500 ຊົ່ວໂມງ |
|
| ທຸກໆ 800 ຊົ່ວໂມງ |
|
| ທຸກໆ 1,000 ຊົ່ວໂມງ |
|
| ທຸກໆ 1,500 ຊົ່ວໂມງ |
|
| ທຸກໆ 2,000 ຊົ່ວໂມງ |
|
Important: ໃຫ້ເບິ່ງປຶ້ມຄູ່ມືຂອງຜູ້ໃຊ້ເຄື່ອງຈັກຂອງທ່ານສຳລັບຂັ້ນຕອນການບຳລຸງຮັກສາເພີ່ມເຕີມ.
ເຮັດຊ້ຳຄືນຕາມໜ້ານີ້ສຳລັບການນຳໃຊ້ປົກກະຕິ.
| ລາຍການກວດກາການບຳລຸງຮັກສາ | ສຳລັບອາທິດຂອງ: | ||||||
|---|---|---|---|---|---|---|---|
| ຈັນ. | ອັງຄານ. | ພຸດ. | ພະຫັດ. | ສຸກ. | ເສົາ. | ອາທິດ. | |
| ກວດເບິ່ງການປະຕິບັດງານດ້ານຄວາມປອດໄພຂອງອິນເຕີລັອກ. | |||||||
| ກວດກາເບິ່ງການປະຕິບັດງານຂອງພວງມະໄລ. | |||||||
| ກວດເບິ່ງລະດັບນ້ຳມັນເຊື້ອໄຟ. | |||||||
| ກວດເບິ່ງລະດັບນ້ຳມັນເຄື່ອງຈັກ. | |||||||
| ກວດເບິ່ງສະພາບຂອງໝໍ້ກອງອາກາດ. | |||||||
| ກວດເບິ່ງສັນທຳຄວາມເຢັນຂອງຈັກ. | |||||||
| ກວດເບິ່ງສຽງລົບກວນຂອງເຄື່ອງຈັກທີ່ຜິດປົກກະຕິ. | |||||||
| ກວດເບິ່ງສຽງປະຕິບັດການທີ່ຜິດປົກກະຕິ. | |||||||
| ກວດເບິ່ງລະດັບຂອງນ້ຳໄຮມັນໂດຼລິກ. | |||||||
| ກວດເບິ່ງຄວາມເສຍຫາຍຂອງທໍ່ໄຮໂດຼລິກ. | |||||||
| ກວດເບິ່ງການຮົ່ວໄຫຼຂອງແຫຼວ. | |||||||
| ການກວດເບິ່ງຄວາມດັນຂອງຢາງລົດ. | |||||||
| ກວດເບິ່ງການປະຕິບັດງານຂອງເຄື່ອງມື. | |||||||
| ສຳຜັດກັບສີທີ່ລອກ. | |||||||
| ການບັນທຶກບໍລິເວນທີ່ໜ້າເປັນຫ່ວງ | ||
| ການກວດກາປະຕິບັດໄປຕາມ: | ||
| ລາຍການ | ວັນທີ | ຂໍ້ຄວາມ |
Note: ກໍານົດດ້ານຊ້າຍ ແລະ ຂວາຂອງເຄື່ອງຈັກຈາກຕໍາແຫນ່ງການໃຊ້ງານປົກກະຕິ.
ຖ້າທ່ານປະກະແຈໄວ້ໃນຢູ່ໃນສະວິດຕິດຈັກ, ບາງຄົນສາມາດຕິດຈັກໄດ້ໂດຍບັງເອີນ ແລະ ເຮັດໃຫ້ທ່ານ ຫຼື ຄົນອື່ນທີ່ຢືນຢູ່ໃກ້ໄດ້ຮັບບາດເຈັບຮ້າຍແຮງໄດ້.
ຖອດກະແຈອອກຈາກບ່ອນຕິດຈັກກ່ອນທີ່ທ່ານຈະເຮັດການບຳລຸງຮັກສາໃດໜຶ່ງ.
Important: ຕົວຮັດແໜ້ນໃນຝາປົກຂອງເຄື່ອງຈັກນີ້ອອກແບບມາເພື່ອໃຫ້ຢູ່ໃນຝາປົກຫຼັງຈາກການເອົາອອກ. ມາຍຕົວຮັດແໜ້ນທັງໝົດໃນຝາປົກແຕ່ລະອັນດ້ວຍການບິດສອງສາມຮອບເພື່ອໃຫ້ຝາປົກຫຼວມ, ແຕ່ຍັງຕິດຢູ່, ຈາກນັ້ນກັບຄືນໄປ ແລະ ມາຍພວກມັນໃຫ້ຫຼວມຈົນກວ່າຝາປົກເສລີ. ອັນນີ້ປ້ອງກັນບໍ່ໃຫ້ທ່ານແກະເອົານັອດຕົວຜູ້ອອກໄປຈາກຕົວຮັກສາມັນໄວ້ໂດຍບັງເອີນ.
ກະລິກຄ້ຳ ຫຼື ກະລິກໄຮໂດຼລິກອາດຈະບໍ່ຄ້ຳເຄື່ອງຈັກໄດ້ ແລະ ເຮັດໃຫ້ເກີດການບາດເຈັບຮ້າຍແຮງໄດ້.
ໃຊ້ກະລິກຄ້ຳເພື່ອຄ້ຳເຄື່ອງຈັກ.
ຈຸດຄ້ຳແມ່ນມີດັ່ງຕໍ່ໄປນີ້:
ເຄື່ອງຈັກມີຂໍ້ຕໍ່ກະແລັດທີ່ຕ້ອງໄດ້ຮັບການຫຼໍ່ມື່ນເປັນປົກກະຕິດ້ວຍກະແລັດຣີທຽມເບີ 2 ຫຼັງຈາກການໃຊ້ງານທຸກໆ 100 ຊົ່ວໂມງ.
ໃສ່ນ້ຳມັນຫຼໍ່ມື່ນລູກບີ່ ແລະ ປອກລູກບີ່ຕໍ່ໄປນີ້:
ລູກບີ່ລໍ້ໜ້າ (1) (ຮູບສະແດງ 20)

ແກນໝຸນແປ້ນຂັບເຄື່ອນ (1) (ຮູບສະແດງ 21)

ເພົາເກາະດ້ານຫຼັງ (5) (ຮູບສະແດງ 22)

ປາຍກ້ານສູບພວງມະໄລ (1)—ລຸ້ນ 08705 ເທົ່ານັ້ນ (ຮູບສະແດງ 23)

ແກນໝຸນ (ຮູບສະແດງ 24)
Note: ຂໍ້ຕໍ່ຊະລ້າງຢູ່ໃນແກນໝຸນ (ຮູບສະແດງ 24) ຈຳເປັນຕ້ອງມີຕົວປັບຫົວສີດປືນ. ສັ່ງຊື້ອາໄຫຼ່ Toro ເບີ 107-1998 ຈາກຜູ້ຈຳໜ່າຍ Toro ຂອງທ່ານທີ່ໄດ້ຮັບອະນຸຍາດ.

| ໄລຍະຫ່າງການບໍລິການບຳລຸງຮັກສາ | ຂັ້ນຕອນການບຳລຸງຮັກສາ |
|---|---|
| ທຸກໆ 100 ຊົ່ວໂມງ |
|
ເຊັດຂໍ້ຕໍ່ກະແລັດໃຫ້ສະອາດເພື່ອບໍ່ໃຫ້ມີສິ່ງແປກປອມຖືກບັງຄັບເຂົ້າໄປໃນລູກບີ່ ຫຼື ປອກລູກບີ່.
ໂປ່ມກະແລັດໃສ່ລູກບີ່ ແລະ ປອກລູກບໍ່.
ເຊັດນ້ຳມັນກະແລັດສ່ວນເກີນອອກ.
ມອດຈັກກ່ອນກວດການ້ຳມັນ ຫຼື ຕື່ມນ້ຳມັນເຄື່ອງໃສ່ຖັງຂໍ້ຫວ່ຽງ.
ຢ່າປ່ຽນແປງຄວາມໄວຕົວບັນຊາ ຫຼື ເລັ່ງຄວາມໄວເຄື່ອງຈັກເກີນ.
ໃຊ້ນ້ຳມັນເຄື່ອງຈັກທີ່ມີຄຸນນະພາບສູງທີ່ຕອບສະໜອງໄດ້ຕາມຂໍ້ມູນຈຳເພາະຄື:
ລະດັບການຈັດປະເພດ API: SL ຫຼື ສູງກວ່າ
ຄວາມໜຽວນ້ຳມັນເຄື່ອງ: SAE 30—ສູງກວ່າ 4°C (40°F)
| ໄລຍະຫ່າງການບໍລິການບຳລຸງຮັກສາ | ຂັ້ນຕອນການບຳລຸງຮັກສາ |
|---|---|
| ກ່ອນການນຳໃຊ້ແຕ່ລະເທື່ອ ຫຼື ປະຈຳວັນ |
|
ຈັກຖືກຈັດສົ່ງມາພ້ອມກັບນ້ຳມັນເຄື່ອງຢູ່ໃນຂໍ້ຫວ່ຽງ; ເຖິງແນວໃດກໍຕາມ, ທ່ານຕ້ອງກວດເບິ່ງລະດັບນ້ຳມັນເຄື່ອງກ່ອນ ແລະ ຫຼັງຈາກທ່ານເລີ່ມຕິດຈັກເທື່ອທຳອິດ.
ຈອດເຄື່ອງຈັກຢູ່ໃນລະດັບພື້ນດິນ, ມອດຈັກ, ໃສ່ເບຣກມື ແລະ ຖອດກະແຈ.
ເລື່ອນບ່ອນນັ່ງໄປທາງໜ້າ.
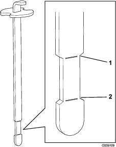
ດຶງເຫຼັກແທກນ້ຳມັນເຄື່ອງອອກ (ຮູບສະແດງ 25) ແລະ ເຊັດມັນດ້ວຍຜ້າທີ່ສະອາດ.

ສຽບເຫຼັກແທກນ້ຳມັນເຄື່ອງໄປໃນທໍ່ ແລະ ເຮັດໃຫ້ແນ່ໃຈວ່າມັນລົງໄປຈຳແລ້ວ. ຖອດເຫຼັກແທກນ້ຳມັນເຄື່ອງອອກຈາກທໍ່ ແລະ ກວດເບິ່ງລະດັບນ້ຳມັນເຄື່ອງ. ຖ້າລະດັບນ້ຳມັນເຄື່ອງຕ່ຳ, ຖອດຝາປິດຄໍເຕີມອອກຈາກຝາປິດວາວ ແລະ ເຕີມນ້ຳມັນເຄື່ອງທີ່ລະບຸໄວ້ໃຫ້ພຽງພໍເພື່ອຍົກລະດັບໃຫ້ຮອດຂີດໝາຍເຕັມຖັງໃນເຫຼັກແທກນ້ຳມັນ.
Important: ໃຫ້ແນ່ໃຈວ່າຮັກສາໄດ້ລະດັບນ້ຳມັນເຄື່ອງໃນລະຫວ່າງຂີດໝາຍດ້ານເທິງ ແລະ ລຸ່ມໃນເຫຼັກແທກນ້ຳມັນເຄື່ອງ. ຖ້າທ່ານຕື່ມນ້ຳມັນເຄື່ອງເກີນຂີດໝາຍ ຫຼື ຕ່ຳກວ່າຂີດໝາຍ, ທ່ານອາດຈະເຮັດໃຫ້ເຄື່ອງຈັກເກີດຄວາມເສຍຫາຍໄດ້ເມື່ອໃຊ້ງານມັນ.
ຕິດຕັ້ງເຫຼັກແທກນ້ຳມັນໃສ່ບ່ອນຂອງມັນໃຫ້ແໜ້ນ.
Important: ທ່ານຕ້ອງໃສ່ເຫຼັກແທກນ້ຳມັນໄປໃຫ້ສຸດຢູ່ໃນທໍ່ເພື່ອອັດຂໍ້ຫວ່ຽງຈັກໃຫ້ຖືກຕ້ອງ. ການບໍ່ປິດຂໍ້ຫວ່ຽງຈັກອາດຈະເຮັດໃຫ້ເກີດຄວາມເສຍຫາຍຕໍ່ຈັກໄດ້.
ເລື່ອນບ່ອນນັ່ງລົງທາງລຸ່ມ.
| ໄລຍະຫ່າງການບໍລິການບຳລຸງຮັກສາ | ຂັ້ນຕອນການບຳລຸງຮັກສາ |
|---|---|
| ທຸກໆ 100 ຊົ່ວໂມງ |
|
ຄວາມຈຸນ້ຳມັນເຄື່ອງຖັງຂໍ້ຫວ່ຽງ: ໂດຍປະມານ 1.66 ລິດ (1-¾ ຄະວອດສະຫະລັດ) ກັບໝໍ້ກອງ.
ຈອດເຄື່ອງຈັກຢູ່ໃນລະດັບພື້ນດິນ, ມອດຈັກ, ໃສ່ເບຣກມື ແລະ ຖອດກະແຈ.
ຖອດນັອດປ່ອຍນ້ຳມັນເຄື່ອງ (ຮູບສະແດງ 26) ແລະ ປ່ອຍໃຫ້ນ້ຳມັນໄຫຼລົງໃນອ່າງໂຕ່ງ. ເມື່ອນ້ໍາມັນຢຸດແລ້ວ, ໃສ່ດອນອັດການລະບາຍຄືນ.

ເອົາໝໍ້ກອງນໍ້າມັນເຄື່ອງອອກ (ຮູບສະແດງ 26).
ໃຊ້ການເຄືອບດວ້ຍນ້ຳມັນເຄື່ອງສະອາດບາງໆໃສ່ແຫວນກັນຊືມໝໍ້ກອງໃໝ່.
ຮັດກຽວໝໍ້ກອງດ້ວຍມືຈົນກວ່າແຫວນຈະສຳຜັດກັບຕົວປັບໝໍ້ກອງ; ຈາກນັ້ນຮັດໃຫ້ແໜ້ນອີກ ½ ຫາ ¾ ຮອບ.
Important: ຢ່າຮັດໝໍ້ກອງແໜ້ນເກີນໄປ.
ຕື່ມນ້ຳມັນເຄື່ອງທີ່ລະບຸໄວ້ໃສ່ຖັງຂໍ້ຫວ່ຽງ; ໃຫ້ເບິ່ງ ການກວດເບິ່ງລະດັບນ້ຳມັນເຄື່ອງຈັກ.
ກຳຈັດນ້ຳມັນໃຊ້ແລ້ວຖິ້ມຢ່າງຖືກຕ້ອງ.
| ໄລຍະຫ່າງການບໍລິການບຳລຸງຮັກສາ | ຂັ້ນຕອນການບຳລຸງຮັກສາ |
|---|---|
| ທຸກໆ 200 ຊົ່ວໂມງ |
|
ກວດເບິ່ງຕົວໝໍ້ກອງອາກາດສຳລັບຄວາມເສຍຫາຍທີ່ສາມາດເຮັດໃຫ້ເກີດການຮົ່ວຂອງອາກາດໄດ້. ປ່ຽນສ່ວນປະກອບທີ່ເປ່ເພເສຍຫາຍ. ກວດເບິ່ງລະບົບການດູດອາກາດທັງໝົດສຳລັບການຮົ່ວໄຫຼ, ຄວາມເສຍຫາຍ ຫຼື ປອກຮັດທໍ່ຫຼວມ.
ຢ່າປ່ຽນໝໍ້ກອງອາກາດກ່ອນຄວາມຈຳເປັນ, ການເຮັດແນວນັ້ນແມ່ນພຽງແຕ່ເພີ່ມໂອກາດທີ່ໃຫ້ຄວາມເປື້ອນເຂົ້າໄປໃນເຄື່ອງຈັກໃນເວລາທີ່ທ່ານຖອດໝໍ້ກອງອອກ.
ໃຫ້ແນ່ໃຈວ່າໄດ້ໃສ່ຝາປິດຢ່າງຖືກຕ້ອງ ແລະ ປິດດ້ວຍຕົວໝໍ້ກອງອາກາດແລ້ວ.
| ໄລຍະຫ່າງການບໍລິການບຳລຸງຮັກສາ | ຂັ້ນຕອນການບຳລຸງຮັກສາ |
|---|---|
| ທຸກໆ 200 ຊົ່ວໂມງ |
|
ປົດສະຫຼັກທີ່ຝາປິດຕົວກອງອາກາດໃຫ້ເຂົ້າກັບຕົວກອງອາກາດ (ຮູບສະແດງ 27).

ຖອດຝາປິດອອກຈາກຕົວໝໍ້ກອງອາກາດ.
ກ່ອນທີ່ຈະເອົາໝໍ້ກອງອອກ, ໃຊ້ອາກາດທີ່ມີຄວາມກົດດັນຕ່ຳ (40 psi, ສະອາດ ແລະ ແຫ້ງ) ເພື່ອຊ່ວຍກຳຈັດສິ່ງເສດເຫຼືອທີ່ໃຫຍ່ຢູ່ລະຫວ່າງດ້ານນອກຂອງຕົວກອງຕົ້ນຕໍ ແລະ ຖັງ.
Important: ຫຼີກລ່ຽງການນຳໃຊ້ອາກາດທີ່ມີຄວາມດັນສູງທີ່ສາມາດບັງຄັບໃຫ້ຝຸ່ນຜ່ານຕົວກອງເຂົ້າໄປໃນທໍ່ດູດອາກາດ. ຂະບວນການທຳຄວາມສະອາດນີ້ປ້ອງກັນບໍ່ໃຫ້ສິ່ງເສດເຫຼືອເຂົ້າໄປໃນເມື່ອເອົາໝໍ້ກອງຕົ້ນຕໍອອກ.
ເອົາໝໍ້ກອງອອກ ແລະ ປ່ຽນໝໍ້ກອງ.
Note: ກວດກາໝໍ້ກອງໃໝ່ສຳລັບຄວາມເສຍຫາຍໃນການຂົນສົ່ງ, ກວດເບິ່ງປາຍກັນຊືມຂອງໝໍ້ກອງ ແລະ ຕົວເຄື່ອງ. ຢ່າໃຊ້ອົງປະກອບທີ່ເສຍຫາຍ. ໃສ່ໝໍ້ກອງໃໝ່ເຂົ້າໄປໂດຍການໃຊ້ແຮງດັນໃສ່ຂອບທາງນອກຂອງອົງປະກອບເພື່ອວາງມັນຢູ່ໃນກ່ອງ. ຢ່າໃຊ້ຄວາມດັນໃສ່ໃຈກາງທີ່ມີຄວາມຍືດຍຸ່ນຂອງໝໍ້ກອງ.
Note: ບໍ່ແນະນຳໃຫ້ທຳຄວາມສະອາດຂອງອົງປະກອບທີ່ນຳໃຊ້ແລ້ວເນື່ອງຈາກອາດຈະມີຄວາມເປັນໄປໄດ້ທີ່ຈະມີຄວາມເສຍຫາຍຕໍ່ຕົວກາງໝໍ້ກອງ.
ທຳຄວາມສະອາດຊ່ອງລະບາຍຄວາມເປື້ອນທີ່ຢູ່ໃນຝາປິດທີ່ຖອດອອກໄດ້.
ຖອດວາວຢາງບ່ອນປ່ອຍອອກຈາກຝາປິດ, ທຳຄວາມສະອາດຝາອັດປາກກ່ອງ ແລະ ປ່ຽນວາວບ່ອນປ່ອຍອອກ.
ຕິດຕັ້ງຝາປິດປັບວາວຢາງບ່ອນປ່ອຍອອກໃນຕໍາແໜ່ງທີ່ລົງທາງລຸ່ມ—ລະຫວ່າງເຂັມໂມງຊີ້ປະມານ 5 ໂມງຫາ 7 ໂມງເມື່ອເບິ່ງຈາກທາງປາຍ.
ໃສ່ສະຫຼັກໃຫ້ແໜ້ນ.
| ໄລຍະຫ່າງການບໍລິການບຳລຸງຮັກສາ | ຂັ້ນຕອນການບຳລຸງຮັກສາ |
|---|---|
| ທຸກໆ 100 ຊົ່ວໂມງ |
|
ປະເພດ: ແຊ້ມປ້ຽນ RC14YC (ຫຼື ທຽບເທົ່າ)
ຊ່ອງຫວ່າງອາກາດ: 0.76 ມມ (0.030 ນິ້ວ)
Note: ປົກກະຕິຫົວທຽນຈະມີອາຍຸໃຊ້ໄດ້ດົນນານ; ເຖິງແນວໃດກໍຕາມ, ທ່ານຄວນຈະເອົາພວກມັນອອກມາ ແລະ ກວດກາເບິ່ງເມື່ອຈັກມີຄວາມຂັດຂ້ອງ.
ອະນາໄມອ້ອມຮອບຫົວທຽນແຕ່ລະຕົວເພື່ອບໍ່ໃຫ້ສິ່ງແປກປອມສາມາຕົກລົງໃສ່ລູກສູບເມື່ອເອົາຫົວທຽນອອກແລ້ວ.
ດຶງສາຍຫົວທຽນອອກຈາກຫົວທຽນ ແລະ ເອົາຫົວສຽບອອກຈາກຫົວລູກສູບ.
ກວດເບິ່ງສະພາບຂອງຂົ້ວໄຟຟ້າທາງດ້ານຂ້າງ, ຂົ້ວໄຟຟ້າຢູ່ເຄິ່ງກາງ ແລະ ສະນວນຫຸ້ມເພື່ອໃຫ້ແນ່ໃຈວ່າບໍ່ມີຄວາມເສຍຫາຍ.
Important: ປ່ຽນຫົວທຽນທີ່ແຕກ, ສົກກະປົກ, ເປື້ອນ ຫຼື ໃຊ້ການບໍ່ໄດ້. ຢ່າໃຊ້ກະດາດຊາຍຖູ, ຂູດ ຫຼື ທຳຄວາມສະອາດຂົ້ວໄຟຟ້າດ້ວຍການໃຊ້ແປງລວດຖູເພາະວ່າສຸດທ້າຍແລ້ວເສດຊາຍອາດຈະອອກມາຈາກຫົວສຽບ, ຕົກລົງໄປໃສ່ລູກສູບ ແລະ ເຮັດໃຫ້ຈັກເສຍຫາຍໄດ້.
ຕັ້ງຊ່ອງຫວ່າງອາກາດລະຫວ່າງຂົ້ວໄຟຟ້າຢູ່ເຄິ່ງກາງ ແລະ ຂົ້ວໄຟຟ້າດ້ານຂ້າງເປັນ 0.76 ມມ (0.030 ນິ້ວ); ໃຫ້ເບິ່ງ ຮູບສະແດງ 28. ຕິດຕັ້ງຫົວທຽນທີ່ມີຊ່ອງຫວ່າງຢ່າງຖືກຕ້ອງດ້ວຍຕົວອັດຢ່ວງ ແລະ ຮັດຫົວສຽບໃຫ້ແໜ້ນເປັນ 23 N∙m (200 in-lb). ຖ້າບໍ່ໃຊ້ກະແຈບິດ, ໃຫ້ຮັດຫົວສຽບໃຫ້ແໜ້ນດີ.

| ໄລຍະຫ່າງການບໍລິການບຳລຸງຮັກສາ | ຂັ້ນຕອນການບຳລຸງຮັກສາ |
|---|---|
| ທຸກໆ 500 ຊົ່ວໂມງ |
|
ໝໍ້ກອງໃນສາຍຖືກເອົາລວມເຂົ້າໃນສາຍນ້ຳມັນເຊື້ອໄຟ. ໃຊ້ຂັ້ນຕອນດຳເນີນການຕໍ່ໄປນີ້ເມື່ອຈຳເປັນຕ້ອງໄດ້ປ່ຽນໃໝ່:
ປິດວາວອັດນ້ຳມັນ, ມາຍປອກຮັດທໍ່ຢູ່ດ້ານເຄື່ອງຈຸດລະເບີດຂອງໝໍ້ກອງໃຫ້ຫຼວມ ແລະ ເອົາສາຍນ້ຳມັນອອກຈາກໝໍ້ກອງ (ຮູບສະແດງ 29).

ວາງອ່າງລະບາຍໄວ້ກ້ອງໝໍ້ກອງ, ມາຍປອກຮັດທໍ່ທີ່ຍັງເຫຼືອໃຫ້ຫຼວມ ແລະ ຖອດໝໍ້ກອງອອກ.
ຕິດຕັ້ງໝໍ້ກອງໃໝ່ຕາມລູກສອນໃນໝໍ້ກອງຊີ້ອອກໄປຈາກຖັງນ້ຳມັນ (ໄປຍັງເຄື່ອງຈຸດລະເບີດ).
ເລື່ອນປອກຮັດທໍ່ໄປໃສ່ປາຍຂອງສາຍນ້ຳມັນ.
ຊຸກສາຍນ້ຳມັນໄປຍັງໝໍ້ກອງນ້ຳມັນ ແລະ ຮັດພວກມັນໃຫ້ແໜ້ນດ້ວຍປອກຮັດທໍ່.
Note: ໃຫ້ແນ່ໃຈວ່າລູກສອນຢູ່ດ້ານຂອງໝໍ້ກອງຊີ້ໄປຍັງເຄື່ອງຈຸດລະເບີດ.
| ໄລຍະຫ່າງການບໍລິການບຳລຸງຮັກສາ | ຂັ້ນຕອນການບຳລຸງຮັກສາ |
|---|---|
| ທຸກໆ 500 ຊົ່ວໂມງ |
|
ຍົກຢາງລົດດ້ານຫຼັງຂຶ້ນຈາກພື້ນ ແລະ ຄ້ຳເຄື່ອງຈັກດ້ວຍກະລິກຄ້ຳ.
ເອົານັອດຮັດລໍ້ 4 ນັອດທີ່ຍຶດລໍ້ໃສ່ຫົວເພົາອອກ ແລະ ເອົາລໍ້ລົດ ແລະ ຢາງອອກລົດ(ຮູບສະແດງ 30).

ຖອດນັອດຫົວກຽວໜ້າແປນ 4 ນັອດ (¼ x ⅝ ນິ້ວ) ທີ່ຍຶດຝາຄອບລໍ້ໃສ່ຂອບຂອງເຄື່ອງຈັກ (ຮູບສະແດງ 31).

ການເຂົ້າເຖິງບໍລິເວນຂອບໃນແຜງດ້ານລຸ່ມຂອງຕູ້ຄວບຄຸມເຄື່ອງຈັກ, ດຶງໝໍ້ກອງຖັງຄາບອນໄປດ້ານຫຼັງ ແລະ ອອກຈາກທໍ່ຢູ່ປາຍຂອງຖັງຄາບອນ (ຮູບສະແດງ 32).

ສອດໝໍ້ກອງຖັງຄາບອນໄປໃໝ່ເຂົ້າໄປໃສ່ທໍ່ຢາງຢູ່ປາຍຂອງຖັງຄາບອນ (ຮູບສະແດງ 32).
ຈັດລຽງຮູຢູ່ໃນຝາຄອບລໍ້ກັບກອບຂອງເຄື່ອງຈັກ (ຮູບສະແດງ 31) ແລະ ຮັດຝາຄອບໃສ່ກອບດ້ວຍນັອດຫົວກຽວໜ້າແປນ (¼ x ⅝ ນິ້ວ) ທີ່ທ່ານເອົາອອກຢູ່ໃນຂັ້ນຕອນ 3.
ປະກອບຢາງ ແລະ ລໍ້ໃສ່ເພົາຂອງຫົວເພົາລໍ້ (ຮູບສະແດງ 30) ດ້ວຍນັອດຮັດລໍ້ 4 ນັອດທີ່ທ່ານເອົາອອກຢູ່ໃນຂັ້ນຕອນ 2 ແລະ ຮັດນັອດໃຫ້ແໜ້ນດ້ວຍມື.
ເອົາກະລິກຄ້ຳອອກ ແລະ ປ່ອຍເຄື່ອງຈັກຕ່ຳລົງ ພື້ນດິນ.
ບິດນັອດຮັດລໍ້ເຂົ້າ; ໃຫ້ເບິ່ງ ການບິດນັອດຮັດລໍ້ລົດ.
ຕັດເຊື່ອມຕໍ່ແບັດເຕີຣີກ່ອນທີ່ຈະສ້ອມແປງເຄື່ອງຈັກ. ຕັດເຊື່ອມຕໍ່ສາຍຂົ້ວລົບກ່ອນ ແລະ ຂົ້ວບວກສຸດທ້າຍ. ເຊື່ອມຕໍ່ປາຍຂົ້ວບວກເຂົ້າກ່ອນ ແລະ ຂົ້ວລົບສຸດທ້າຍ.
ສາກແບັດເຕີຣີໃນບ່ອນທີ່ເປີດ, ມີອາກາດຖ່າຍເທດີ, ຫ່າງຈາກປະກາຍໄຟ ແລະ ແປວໄຟ. ຖອດສາຍສາກໄຟກ່ອນທີ່ຈະເຊື່ອມຕໍ່ ຫຼື ຕັດເຊື່ອມຕໍ່ແບັດເຕີຣີ. ໃສ່ເຄື່ອງນຸ່ງປ້ອງກັນ ແລະ ໃຊ້ເຄື່ອງມືປ້ອງກັນ.
ຖ້າທ່ານຈຳເປັນຕ້ອງໄດ້ຕໍ່ພ່ວງຕິດຈັກ, ທ່ານສາມາດໃຊ້ຫົວຂົ້ວບວກຕົວເລືອກອື່ນ (ຕັ້ງຢູ່ໃນຂົດລວດຕົວຕິດຈັກ) ແທນຫົວແບັດເຕີຣີຂົ້ວບວກ (ຮູບສະແດງ 33).

ກ່ອງຟິວ (ຮູບສະແດງ 34) ຕັ້ງຢູ່ກ້ອງເບາະນັ່ງ.

| ໄລຍະຫ່າງການບໍລິການບຳລຸງຮັກສາ | ຂັ້ນຕອນການບຳລຸງຮັກສາ |
|---|---|
| ທຸກໆ 25 ຊົ່ວໂມງ |
|
ຮັກສາລະດັບນ້ຳກົດຂອງແບັດເຕີຣີໃຫ້ເໝາະສົມ ແລະ ຮັກສາໃຫ້ດ້ານເທິງຂອງແບັດເຕີຣີສະອາດ. ຖ້າເຄື່ອງຈັກຖືກເກັບໄວ້ໃນສະຖານທີ່ບ່ອນມີອຸນຫະພູມສູງຫຼາຍ, ແບັດເຕີຣີເສື່ອມສະພາບໄວຂຶ້ນຫຼາຍກວ່າບ່ອນທີ່ເຄື່ອງຈັກເກັບຢູ່ບ່ອນທີ່ອຸນຫະພູມເຢັນ.
ຮັກສາດ້ານເທິງຂອງແບັດເຕີຣີໃຫ້ສະອາດໂດຍການລ້າງເປັນໄລຍະດ້ວຍແປງຖູທີ່ຈຸ່ມໃນແອມໂມເນຍ ຫຼື ສານລະລາຍໂຊດາໄຟ. ລ້າງພື້ນຜິວດ້ານເທິງດ້ວຍນ້ຳຫຼັງຈາກທຳຄວາມສະອາດ. ຢ່າເອົາຝາປິດບ່ອນເຕີມອອກໃນເວລາທຳຄວາມສະອາດ.
ສາຍໄຟແບັດເຕີຣີຕ້ອງມັດໃຫ້ແໜ້ນຢູ່ເທິງຂົ້ວເພື່ອໃຫ້ມີການສຳຜັດໄຟຟ້າໄດ້ດີ.
ຖ້າການກັດກ່ອນເກີດຂຶ້ນຢູ່ຂົ້ວແບັດເຕີຣີ, ຖອດສາຍໄຟ, ສາຍ (-) ກ່ອນ ແລະ ຂູດຂາໜີບ ແລະ ຂົ້ວແຍກຕ່າງຫາກ. ເຊື່ອມຕໍ່ສາຍສາກ, ສາຍບວກ (+) ກ່ອນ ແລະ ເຄືອບຂົ້ວດ້ວຍເຈວນ້ຳມັນ.
ກວດເບິ່ງລະດັບນ້ຳກົດທຸກໆ 25 ຊົ່ວໂມງເຮັດວຽກ ຫຼື ຖ້າເມື່ອເຄື່ອງຈັກຢູ່ໃນບ່ອນເກັບຮັກສາແມ່ນທຸກໆ 30 ວັນ.
ຮັກສາລະດັບຫ້ອງດ້ວຍນ້ຳກັ່ນ ຫຼື ນ້ຳບໍ່ມີແຮ່ທາດ. ຢ່າຕື່ມໃສ່ຫ້ອງຕ່າງໆຈົນເໜືອຂີດຕື່ມ.
| ໄລຍະຫ່າງການບໍລິການບຳລຸງຮັກສາ | ຂັ້ນຕອນການບຳລຸງຮັກສາ |
|---|---|
| ກ່ອນການນຳໃຊ້ແຕ່ລະເທື່ອ ຫຼື ປະຈຳວັນ |
|
ກວດເບິ່ງຄວາມດັນລົມຢ່າງກ່ອນໃຊ້ງານເຄື່ອງຈັກ (ຮູບສະແດງ 35). ແຮງດັນອາກາດທີ່ຖືກຕ້ອງຢູ່ໃນຢາງໜ້າ ແລະ ຢາງຫຼັງແມ່ນມີດັ່ງຕໍ່ໄປນີ້:
ຢາງດອກ: 7.0 bar (10 psi)
Note: ຖ້າຈຳເປັນຕ້ອງມີແຮງການດຶງເພີ່ມເຕີມສຳລັບການດຳເນີນການໃບມີດ, ຫຼຸດຄວາມດັນລົງເຖິງ 5.5 bar (8 psi).
ຢາງລຽບ: 55 ຫາ 70 bar (8 ຫາ 10 psi)

| ໄລຍະຫ່າງການບໍລິການບຳລຸງຮັກສາ | ຂັ້ນຕອນການບຳລຸງຮັກສາ |
|---|---|
| ຫລັງຈາກ 8 ຊົ່ວໂມງທໍາອິດ |
|
| ທຸກໆ 100 ຊົ່ວໂມງ |
|
ບິດນັອດລໍ້ໃຫ້ໄດ້ 95 ຫາ 122 N∙m (70 ເຖິງ 90 ft-lb).
ຖ້າເຄື່ອງຈັກເຄື່ອນໄຫວໃນເວລາທີ່ແປ້ນຂັບເຄື່ອນຢູ່ໃນຕໍາແຫນ່ງເກຍຫວ່າງ, ປັບລູກບ້ຽວຂັບເຄື່ອນ.
ຈອດເຄື່ອງຈັກຢູ່ໃນລະດັບພື້ນດິນ, ມອດຈັກ, ໃສ່ເບຣກມື ແລະ ຖອດກະແຈ.
ມາຍນັອດກຽວ 2 ນັອດທີ່ຍຶດຝາຄອບຢູ່ເຄິ່ງກາງໃສ່ເຄື່ອງຈັກໃຫ້ຫຼວມ ແລະ ເອົາຝາຄອບອອກ (ຮູບສະແດງ 36).

ຍົກລໍ້ໜ້າ ແລະ ລໍ້ຫຼັງ 1 ລໍ້ຂຶ້ນຈາກພື້ນ ແລະ ວາງທ່ອນຮອງຮັບພາຍໃຕ້ກອບ.
ລໍ້ໜ້າ ແລະ ລໍ້ຫຼັງ 1 ລໍ້ຕ້ອງໄດ້ຍົກຂຶ້ນຈາກພື້ນດິນ ຫຼື ບໍ່ດັ່ງນັ້ນ, ເຄື່ອງຈັກຈະເຄື່ອນຍ້າຍໃນລະຫວ່າງການດັດປັບ. ນີ້ສາມາດເຮັດໃຫ້ເຄື່ອງຈັກຍຸບລົງ ແລະ ເຮັດໃຫ້ຄົນຢູ່ກ້ອງເຄື່ອງຈັກໄດ້ຮັບບາດເຈັບ.
ໃຫ້ແນ່ໃຈວ່າເຄື່ອງຈັກຖືກຄ້ຳໄວ້ຢ່າງດີດ້ວຍການໃຫ້ລໍ້ໜ້າ ແລະ ລໍ້ຫຼັງ 1 ລໍ້ຍົກຂຶ້ນເໜືອພື້ນດິນ.
ລັອກໃສ່ລູກບ້ຽວປັບແຮງຂັບເຄື່ອນ (ຮູບສະແດງ 37).

ເຄື່ອງຈັກຕ້ອງໄດ້ແລ່ນເພື່ອວ່າທ່ານຈະສາມາດດຳເນີນການປັບລູກບ້ຽວປັບແຮງຂັບເຄື່ອນສຸດທ້າຍໄດ້. ການສຳຜັດກັບພາກສ່ວນເຄື່ອນໄຫວ ຫຼື ພື້ນຜິວທີ່ຮ້ອນອາດຈະເຮັດໃຫ້ເກີດການບາດເຈັບສ່ວນຕົວໄດ້.
ຮັກສາມື, ຕີນ, ໃບໜ້າ ແລະ ພາກສ່ວນຂອງຮ່າງກາຍຂອງໃຫ້ຢູ່ຫ່າງຈາກພາກສ່ວນທີ່ໝຸນ, ທໍ່ໄອເສຍ ແລະ ພື້ນຜິວອື່ນໆທີ່ຮ້ອນ.
ຕິດຈັກ ແລະ ໝຸນລູກບ້ຽວຫົກຫຼ່ຽມ (ຮູບສະແດງ 37) ຢູ່ໃນທັງສອງທິດທາງເພື່ອກຳນົດຈຸດເຄິ່ງກາງຂອງໄລຍະເກຍຫວ່າງ.
ຫັນນັອດລັອກແມ່ໃຫ້ແໜ້ນເພື່ອຮັບປະກັນການດັດປັບ.
ມອດຈັກ.
ຕິດຕັ້ງຝາຄອບເຄິ່ງກາງ.
ເອົາກະລິກຄ້ຳອອກ ແລະ ປ່ອຍເຄື່ອງຈັກຕ່ຳລົງໄປທີ່ລະດັບພື້ນຮ້ານສ້ອມແປງ.
ທົດລອງຂັບເຄື່ອງຈັກເພື່ອຮັບປະກັນວ່າມັນບໍ່ເຄື່ອນເໜັງໄດ້ເມື່ອແປ້ນຂັບເຄື່ອນຢູ່ໃນເກຍຫວ່າງ.
ປັບເກຍໃຫ້ເປັນເກຍຫວ່າງ, ໃຫ້ເບິ່ງ ການປັບປ່ຽນການຂັບເຄື່ອນສຳລັບເກຍຫວ່າງ.
ເປີດໃຊ້ຄັນໂຍກປ້ຳເພື່ອໃຫ້ແນ່ໃຈວ່າທຸກພາກສ່ວນໃຊ້ງານຢ່າງເອກະລາດ ແລະ ຕັ້ງຢູ່ຢ່າງຖືກຕ້ອງ.
ປັບນັອດກຽວຈົນກວ່າຊ່ອງຫວ່າງອາກາດເປັນ 0.8 ຫາ 2.3 ມມ (0.030 ຫາ 0.09 ນິ້ວ); ໃຫ້ເບິ່ງ ຮູບສະແດງ 37
ກວດເບິ່ງການໃຊ້ງານທີ່ເໝາະສົມ.
ແປ້ນຂັບເຄື່ອນຖືກປັບໃຫ້ໄດ້ຄວາມໄວການຂົນສົ່ງສູງສຸດ ແລະ ກັບຄືນໄປທີ່ໂຮງງານ, ແຕ່ການປັບອາດຈະຕ້ອງໄດ້ເຮັດ, ຖ້າແປ້ນມາສູ່ຄວາມຕຶງເຕັມກ່ອນຄັນໂຍກປ້ຳມາຮອດຄວາມຕຶງເຕັມ ຫຼື ຖ້າຕ້ອງການໃຫ້ຫຼຸດລົງໄດ້ຄວາມໄວການຂົນສົ່ງທີ່ຕ້ອງການ.
ເພື່ອໃຫ້ໄດ້ຄວາມໄວການຂົນສົ່ງສູງສຸດ, ກົດແປ້ນຂັບເຄື່ອນລົງ. ຖ້າແປ້ນຢຽບລົງໄປຈຳບ່ອນຢຸດ (ຮູບສະແດງ 38) ກ່ອນຄັນໂຍກປ້ຳຮອດຄວາມຕຶງເຕັມ, ໃຫ້ປັບມັນ:

ຈອດເຄື່ອງຈັກຢູ່ໃນລະດັບພື້ນດິນ, ມອດຈັກ, ໃສ່ເບຣກມື ແລະ ຖອດກະແຈ.
ມາຍນັອດຕົວແມ່ທີ່ຍຶດບ່ອນຢຸດແປ້ນຂັບເຄື່ອນໃຫ້ຫຼວມ.
ຮັດບ່ອນຢຸດແປ້ນຂັບເຄື່ອນໃຫ້ແໜ້ນຈົນກວ່າມັນບໍ່ສຳຜັດກັບແປ້ນຂັບເຄື່ອນ.
ສືບຕໍ່ໃຊ້ການໂຫຼດເບົາໃນແປ້ນຂັບເຄື່ອນການຂົນສົ່ງ ແລະ ປັບບ່ອນຢຸດແປ້ນຂັບເຄື່ອນເພື່ອໃຫ້ມັນພຽງແຕ່ສຳຜັດ ຫຼື ໄດ້ຊ່ອງຫວ່າງ 2.5 ມມ (0.100 ນິ້ວ) ລະຫວ່າງແທ່ງເຫຼັກແປ້ນຂັບເຄື່ອນ ແລະ ບ່ອນຢຸດ.
ຫັນນັອດຕົວແມ່ໃຫ້ແໜ້ນ.
ຈອດເຄື່ອງຈັກຢູ່ໃນລະດັບພື້ນດິນ, ມອດຈັກ, ໃສ່ເບຣກມື ແລະ ຖອດກະແຈ.
ມາຍນັອດຕົວແມ່ທີ່ຍຶດບ່ອນຢຸດແປ້ນຂັບເຄື່ອນໃຫ້ຫຼວມ.
ຮັດກຽວບ່ອນຢຸດແປ້ນຢຽບເຂົ້າຈົນກວ່າໄດ້ຄວາມໄວການຂົນສົ່ງທີ່ຕ້ອງການ.
ຮັດນັອດຕົວແມ່ທີ່ຍຶດບ່ອນຢຸດແປ້ນຂັບເຄື່ອນໃຫ້ແໜ້ນ.
ປັບແຜ່ນກັ້ນຂອງຄັນໂຍກຍົກ (ຮູບສະແດງ 40) ຖ້າສິ່ງທີ່ຕິດມານຳບໍ່ລອຍຕົວຢ່າງຖືກຕ້ອງ (ປະຕິບັດຕາມເສັ້ນລະດັບພື້ນ) ໃນລະຫວ່າງການດຳເນີນການ.
ຈອດເຄື່ອງຈັກຢູ່ໃນບ່ອນພຽງໄດ້ລະດັບ, ມອດຈັກ, ໃສ່ເບຣກມື ແລະ ໝູນຕັນລໍ້.
ເອົານັອດ 4 ອັນທີ່ຍຶດແຜງຄວບຄຸມໃສ່ກອບອອກ (ຮູບສະແດງ 39).

ມາຍນັອດຕົວຜູ້ 2 ຕົວທີ່ຍຶດແຜ່ນກັ້ນໃສ່ຕົວກັ້ນ ແລະ ກອບ.

ເຄື່ອງຈັກຕ້ອງໄດ້ຕິດຢູ່ເພື່ອວ່າທ່ານຈະສາມາດປັບແຜ່ນກັ້ນໄດ້. ການສຳຜັດກັບພາກສ່ວນເຄື່ອນໄຫວ ຫຼື ພື້ນຜິວທີ່ຮ້ອນອາດຈະເຮັດໃຫ້ເກີດການບາດເຈັບສ່ວນຕົວໄດ້.
ຮັກສາມື, ຕີນ, ໃບໜ້າ ແລະ ພາກສ່ວນຂອງຮ່າງກາຍຂອງໃຫ້ຢູ່ຫ່າງຈາກພາກສ່ວນທີ່ໝຸນ, ທໍ່ໄອເສຍ ແລະ ພື້ນຜິວອື່ນໆທີ່ຮ້ອນ.
ຕິດຈັກ.
ດ້ວຍຈັກທີ່ຕິດຢູ່ ແລະ ຄັນໂຍກຍົກຢູ່ໃນຕຳແໜ່ງລອຍ, ເລື່ອນແຜ່ນກັ້ນໄປຈົນກວ່າລູກສູບຍົກສາມາດຂະຫຍາຍອອກ ແລະ ຫົດຄືນດ້ວຍມືໄດ້.
ຫັນນັອດກຽວຕິດທັງສອງຕົວໃຫ້ແໜ້ນເພື່ອຮັບປະກັນການດັດປັບ.
ການໃຊ້ງານຄັນເລັ່ງທີ່ເໝາະສົມແມ່ນຂຶ້ນກັບການປັບການຄວບຄຸມຄັນເລັ່ງທີ່ເໝາະສົມ. ກ່ອນປັບເຄື່ອງຈຸດລະເບີດ, ໃຫ້ແນ່ໃຈວ່າການຄວບຄຸມຄັນເລັ່ງກຳລັງໃຊ້ງານໄດ້ຢ່າງຖືກຕ້ອງ.
ເລື່ອນບ່ອນນັ່ງຂຶ້ນທາງເທິງ.
ມາຍນັອດກຽວຫົວໜີບສາຍຄັນເລັ່ງທີ່ຍຶດສາຍໃສ່ຈັກໃຫ້ຫຼວມ (ຮູບສະແດງ 41).

ເຄື່ອນຄັນຄວບຄຸມຄັນເລັ່ງທາງໄກໄປທາງໜ້າຫາຕຳແໜ່ງໄວ.
ດຶງສາຍຄັນເລັ່ງໃຫ້ແຮງຈົນກວ່າດ້ານຫຼັງຂອງຂໍກຽວສຳຜັດບ່ອນຢຸດ (ຮູບສະແດງ 41).
ຮັດນັອດກຽວຫົວໜີບສາຍໃຫ້ແໜ້ນ ແລະ ກວດເບິ່ງຄວາມໄວຈັກ:
ການຕິດກາລັງຕີແຮງ: 3,350 ຫາ 3,450 ຮອບຕໍ່ນາທີ
ການຕິດກາລັງຕີຄ່ອຍ: 1,650 ຫາ 1,850 ຮອບຕໍ່ນາທີ
Important: ກ່ອນປັບການຄວບຄຸມຄວາມໄວຕົວຄວບຄຸມຈັກ, ໃຫ້ແນ່ໃຈການຄວບຄຸມຄັນເລັ່ງ ແລະ ຊົກຖືກປັບຢ່າງຖືກຕ້ອງ.
ຈັກຈະຕ້ອງແລ່ນຢູ່ໃນລະຫວ່າງການປັບການຄວບຄຸມຄວາມໄວຕົວຄວບຄຸມຈັກ. ການສຳຜັດກັບພາກສ່ວນເຄື່ອນໄຫວ ຫຼື ພື້ນຜິວທີ່ຮ້ອນອາດຈະເຮັດໃຫ້ເກີດການບາດເຈັບສ່ວນຕົວໄດ້.
ໃຫ້ແນ່ໃຈວ່າແປ້ນຂັບເຄື່ອນຢູ່ໃນເກຍຫວ່າງ ແລະ ໃສ່ເບຣກມືແລ້ວກ່ອນດຳເນີນການຂັ້ນຕອນນີ້.
ຮັກສາມື, ຕີນ, ເຄື່ອງນຸ່ງ ແລະ ພາກສ່ວນຂອງຮ່າງກາຍຂອງໃຫ້ຢູ່ຫ່າງຈາກພາກສ່ວນທີ່ໝຸນໃດໜຶ່ງ, ທໍ່ໄອເສຍ ແລະ ພື້ນຜິວອື່ນໆທີ່ຮ້ອນ.
Note: ເພື່ອປັບການຕິດກາລັງຕີຕ່ຳ, ໃຫ້ໃຊ້ຂັ້ນຕອນຕໍ່ໄປນີ້: ພຽງແຕ່ຖ້າຈະປັບການຕິດກາລັງຕີສູງເທົ່ານັ້ນ, ແມ່ນໃຫ້ດຳເນີນໄປຫາຂັ້ນຕອນ 5 ໂດຍກົງ.
ຕິດຈັກ ແລະ ປ່ອຍໃຫ້ມັນຕິດໃນສະພາບເຄິ່ງຄັນເລັ່ງເປັນເວລາປະມານ 5 ນາທີເພື່ອອຸ່ນເຄື່ອງ.
ເຄື່ອນຕົວຄວບຄຸມຄັນເລັ່ງໄປທີ່ການຕັ້ງຄ່າຊ້າ. ປັບນັອດກຽວການຢຸດກາລັງຕີໄປຕາມທິດທວນເຂັມໂມງຈົນກວ່າມັນບໍ່ສຳຜັດກັບຄັນໂຍກຄັນເລັ່ງອີກ.
ກົ່ງຕົວກັ້ນຈ່ອງສະປຣິງກາລັງຕີທີ່ຄຸ້ມຄອງໄວ້ (ຮູບສະແດງ 42) ເພື່ອໃຫ້ໄດ້ຄວາມໄວກາລັງຕີທີ່ 1,675 ຫາ 1,875 ຮອບຕໍ່ນາທີ.
Note: ກວດເບິ່ງຄວາມໄວດ້ວຍເຄື່ອງແທກຄວາມໄວ.

ປັບນັອດກຽວຕົວຢຸດກາລັງຕີຈົນກວ່າຄວາມໄວກາລັງຕີເລີ່ມຂຶ້ນຮອດ 25 ຫາ 50 ຮອບຕໍ່ນາທີເໜືອຄວາມໄວກາລັງຕີທີ່ຕັ້ງໄວ້ຢູ່ໃນຂັ້ນຕອນ 3.
Note: ຄວາມໄວກາລັງຕີສຸດທ້າຍຕ້ອງຢູ່ທີ່ 1,650 ຫາ 1,850 ຮອບຕໍ່ນາທີ.
ເຄື່ອນຕົວຄວບຄຸມຄັນເລັ່ງໄປທີ່ຕຳແໜ່ງໄວ.
ກົ່ງຕົວກັ້ນຈ່ອງສະປຣິງຄວາມໄວສູງ (ຮູບສະແດງ 42) ເພື່ອໃຫ້ໄດ້ຄວາມໄວສູງທີ່ 3,350 ຫາ 3,450 ຮອບຕໍ່ນາທີ.
ຂໍການປິ່ນປົວທາງການແພດທັນທີ, ຖ້າມີການສີດຂອງແຫຼວເຂົ້າໄປໃນຜິວໜັງ. ຂອງແຫຼວທີ່ສີດເຂົ້າຕ້ອງໄດ້ຮັບການຜ່າຕັດເອົາອອກໂດຍທ່ານໝໍພາຍໃນສອງສາມຊົ່ວໂມງ.
ຮັບປະກັນວ່າທໍ່ ແລະ ສາຍເຊື່ອມຕໍ່ຂອງແຫຼວໄຮໂດຼລິກທັງໝົດຢູ່ໃນສະພາບດີ ແລະ ທຸກໆການເຊື່ອມຕໍ່ໄຮໂດຼລິກ ແລະ ຂໍ້ຕໍ່ຕ່າງໆແໜ້ນກ່ອນທີ່ຈະນຳໃຊ້ຄວາມກົດດັນຕໍ່ລະບົບໄຮໂດຼລິກ.
ຮັກສາຮ່າງກາຍ ແລະ ມືຂອງທ່ານໃຫ້ຢູ່ຫ່າງຈາກການຮົ່ວໄຫຼຂອງຮູ ຫຼື ຮູທີ່ເຮັດໃຫ້ສີດນ້ຳມັນໄຮໂດຼລິກຄວາມດັນສູງ.
ໃຊ້ເຈ້ຍແຂງ ຫຼື ເຈ້ຍເພື່ອຊອກຫາການຮົ່ວຂອງໄຮໂດຼລິກ.
ຜ່ອນແຮງດັນທັງໝົດໃນລະບົບໄຮໂດຼລິກລົງຢ່າງປອດໄພກ່ອນທີ່ຈະປະຕິບັດວຽກງານໃດໜຶ່ງໃນລະບົບໄຮໂດຼລິກ.
| ໄລຍະຫ່າງການບໍລິການບຳລຸງຮັກສາ | ຂັ້ນຕອນການບຳລຸງຮັກສາ |
|---|---|
| ກ່ອນການນຳໃຊ້ແຕ່ລະເທື່ອ ຫຼື ປະຈຳວັນ |
|
ກວດເບິ່ງສາຍ ແລະ ທໍ່ໄຮໂດຼລິກປະຈຳວັນສຳລັບການຮົ່ວໄຫຼ, ສາຍຫງິກງໍ, ຕົວຕິດຕັ້ງຫຼວມ, ຫຼຸ້ຍຫ້ຽນ, ຂໍ້ຕໍ່ຫຼວມ, ການເສື່ອມສະພາບຈາກດິນຟ້າອາກາດ ແລະ ການເສື່ອມສະພາບທາງເຄມີ. ທຳການສ້ອມແປງທີ່ຈຳເປັນທັງໝົດກ່ອນທີ່ຈະດຳເນີນງານ.
ທ້ອງອ່າງແມ່ນໄດ້ໃສ່ນ້ຳມັນໄຮໂດຼລິກທີ່ມີຄຸນນະພາບສູງເຕັມຢູ່ໂຮງງານ. ກວດເບິ່ງລະດັບຂອງນ້ຳມັນໄຮໂດຼລິກກ່ອນທີ່ທ່ານຈະຕິດຈັກເທື່ອທຳອິດ ແລະ ປະຈຳວັນຫຼັງຈາກນັ້ນ; ໃຫ້ເບິ່ງ ການກວດເບິ່ງລະດັບນ້ຳມັນໄຮໂດຼລິກ.
ນ້ຳມັນໄຮໂດຼລິກທີ່ແນະນຳ: Toro PX Extended Life Hydraulic Fluid; ມີຢູ່ໃນຕຸກ 19 ລິດ (5 ແກນລອນສະຫະລັດ) ຫຼື 208 ລິດ (55 ແກນລອນສະຫະລັດ).
Note: ເຄື່ອງຈັກທີ່ປ່ຽນຖ່າຍນ້ຳມັນຕາມທີ່ແນະນຳບໍ່ຈຳເປັນຕ້ອງປ່ຽນນ້ຳມັນ ແລະ ປ່ຽນໝໍ້ກອງເລື້ອຍໆ.
ນ້ຳມັນໄຮໂດຼລິກທາງເລືອກ: ຖ້າບໍ່ມີ Toro PX Extended Life Hydraulic Fluid, ທ່ານອາດຈະໃຊ້ນ້ຳມັນໄຮໂດຼລິກແບບທຳມະດາທີ່ມີຂໍ້ມູນຈຳເພາະທີ່ມີຢູ່ໃນຂອບເຂດທີ່ລະບຸໄວ້ສຳລັບຄຸນສົມບັດວັດສະດຸຕໍ່ໄປນີ້ ແລະ ມັນຖືກຕ້ອງຕາມມາດຕະຖານອຸດສາຫະກຳ. ຢ່າໃຊ້ນໍ້າມັນສັງເຄາະ. ປຶກສາກັບຕົວແທນຈຳໜ່າຍນ້ຳມັນຫຼໍ່ລື່ນເພື່ອກຳນົດຜະລິດຕະພັນທີ່ໜ້າພໍໃຈ.
Note: Toro ບໍ່ຮັບຜິດຊອບຕໍ່ຄວາມເສຍຫາຍທີ່ເກີດຈາກການປ່ຽນທີ່ບໍ່ຖືກຕ້ອງ, ສະນັ້ນໃຊ້ຜະລິດຕະພັນຈາກຜູ້ຜະລິດທີ່ມີຊື່ສຽງຜູ້ທີ່ຈະຢູ່ເບື້ອງຫຼັງການແນະນຳຂອງພວກເຂົາເທົ່ານັ້ນ.
| ຄຸນສົມບັດຂອງວັດສະດຸ: | ||
| ຄວາມໜຽວ, ASTM D445 | cSt @ 40°C (104°F) 44 ເຖິງ 48 | |
| ດັດຊະນີຄວາມໜຽວ ASTM D2270 | 140 ຫຼື ສູງກວ່າ | |
| ຈຸດຖອກ, ASTM D97 | -37°C ເຖິງ -45°C (-34°F ເຖິງ -49°F) | |
| ຂໍ້ກຳນົດສະເພາະທາງອຸດສາຫະກຳ: | Eaton Vickers 694 (I-286-S, M-2950-S/35VQ25 ຫຼື M-2952-S) | |
Note: ນ້ຳມັນໄຮໂດຼລິກຫຼາຍອັນເກືອບບໍ່ມີສີ, ເຮັດໃຫ້ມີຄວາມຫຍຸ້ງຍາກໃນການກວດການຮົ່ວໄຫຼ. ສານເຕີມສີຍ້ອມສີແດງສຳລັບນ້ຳມັນໄຮໂດຼລິກແມ່ນມີຢູ່ໃນຂວດ 20 ມລ (0.67 fl oz). ຕຸກແມ່ນພຽງພໍສຳລັບນ້ຳມັນໄຮໂດຼລິກປະມານ 15 ຫາ 22 ລິດ (4 ຫາ 6 ແກນລອນສະຫະລັດ). ສັ່ງຊື້ອາໄຫຼ່ເບີ 44-2500 ຈາກຜູ້ຈຳໜ່າຍ Toro ຂອງທ່ານທີ່ໄດ້ຮັບອະນຸຍາດ.
Important: ນ້ຳມັນໄຮໂດຼລິກຍ່ອຍສະຫຼາຍທາງຊີວະໄດ້ເປັນສານສັງເຄາະເກຣດພຣີມ້ຽມຂອງໂທໂຣ (Toro Premium Synthetic Biodegradable Hydraulic Fluid) ແມ່ນນ້ຳມັນຊີວະພາບທີ່ສັງເຄາະພຽງຢ່າງດຽວທີ່ຖືກຮັບຮອງໂດຍ Toro. ນ້ຳມັນນີ້ສາມາດໃຊ້ໄດ້ກັບ elastomers ທີ່ໃຊ້ໃນລະບົບບົບໄຮໂດຼລິກ Toro ແລະ ເໝາະສົມກັບສະພາບອຸນຫະພູມທີ່ກວ້າງຂວາງ. ນ້ຳມັນນີ້ສາມາດໃຊ້ໄດ້ກັບນ້ຳມັນແຮ່ທາດທຳມະດາ, ແຕ່ສຳລັບການຍ່ອຍສະຫຼາຍທາງຊີວະ ແລະ ປະສິດຕິພາບສູງສຸດ, ຄວນລ້າງນ້ຳມັນທຳມະດາອອກຈາກລະບົບໄຮໂດຼລິກໃຫ້ໝົດ. ນ້ຳມັນມີຢູ່ໃນຖັງ 19 ລິດ (5 ແກນລອນສະຫະລັດ) ຫຼື ຖັງ 208 ລິດ (55 ແກນລອນສະຫະລັດ) ຈາກຕົວແທນຈຳໜ່າຍ Toro ຂອງທ່ານ.
| ໄລຍະຫ່າງການບໍລິການບຳລຸງຮັກສາ | ຂັ້ນຕອນການບຳລຸງຮັກສາ |
|---|---|
| ກ່ອນການນຳໃຊ້ແຕ່ລະເທື່ອ ຫຼື ປະຈຳວັນ |
|
ທ້ອງອ່າງແມ່ນໄດ້ໃສ່ນ້ຳມັນໄຮໂດຼລິກທີ່ແນະນຳຢູ່ໂຮງງານ. ເວລາທີ່ດີທີ່ສຸດໃນການກວດເບິ່ງຂອງແຫຼວໄຮໂດຼລິກແມ່ນເວລາທີ່ມັນເຢັນ.
ຍົກສິ່ງທີ່ຕິດມານຳຂອງໄຮໂດຼລິກທັງໝົດຂຶ້ນຫາຕຳແໜ່ງການຂົນສົ່ງ.
ຈອດເຄື່ອງຈັກຢູ່ໃນລະດັບພື້ນດິນ, ມອດຈັກ, ໃສ່ເບຣກມື ແລະ ຖອດກະແຈ.
ທຳຄວາມສະອາດບໍລິເວນຮອບຝາປິດທ້ອງອ່າງໄຮໂດຼລິກເພື່ອປ້ອງກັນບໍ່ໃຫ້ຂີ້ເຫຍື້ອເຂົ້າໄປຖັງ (ຮູບສະແດງ 43).

ເອົາຝາປິດອອກຈາກທ້ອງອ່າງ.
ຖອດເຫຼັກແທກນ້ຳມັນເຄື່ອງອອກຈາກຄໍຫົວເຕີມ ແລະ ເຊັດມັນດ້ວຍຜ້າທີ່ສະອາດ.
ໃສ່ເຫຼັກແທກນ້ຳມັນເຂົ້າໄປໃນຄໍຫົວເຕີມ; ຫຼັງຈາກນັ້ນເອົາມັນອອກ ແລະ ກວດເບິ່ງລະດັບຂອງຂອງແຫຼວ (ຮູບສະແດງ 44).
ເມື່ອເຕີມຂອງແຫຼວໄຮໂດຼລິກໃສ່ທ້ອງຖ່າງຢ່າງຖືກຕ້ອງແລ້ວ, ທ່ານຄວນຈະເຫັນລະດັບຂອງແຫຼວລະຫວ່າງຂີດໝາຍດ້ານເທິງ ແລະ ດ້ານລຸ່ມ (ບໍລິເວນເປັນຄໍຕ່ຳລົງ) ໃນເຫຼັກແທກນ້ຳມັນເຄື່ອງ.
Important: ຖ້າຫາກລະດັບຂອງແຫຼວຢູ່ລະຫວ່າງຂີດໝາຍເທິງ ແລະ ລຸ່ມ, ບໍ່ຈຳເປັນຕ້ອງເຕີມຂອງແຫຼວເພີ່ມ.

ຖ້າລະດັບຂອງແຫຼວຕ່ຳເກີນໄປ, ໃຫ້ຕື່ມຂອງແຫຼວໄຮໂດຼລິກທີ່ລະບຸໄວ້ໃສ່ທ້ອງອ່າງຊ້າໆຈົນກວ່າລະດັບຂອງແຫຼວຮອດບໍລິເວນເປັນຄໍລົງລຸ່ມຢູ່ໃນເຫຼັກແທກນ້ຳມັນ.
Important: ເພື່ອປ້ອງກັນການປົນເປື້ອນລະບົບ, ທຳຄວາມສະອາດພື້ນຜິວຂອງພາຊະນະບັນຈຸຂອງແຫຼວໄຮໂດຼລິກກ່ອນເປີດພວກມັນ. ໃຫ້ແນ່ໃຈວ່າປາກເທ ແລະ ຈວຍສະອາດ.
Important: ຢ່າເຕີມຂອງແຫຼວໄຮໂດຼລິກໃສ່ທ້ອງອ່າງຈົນລົ້ນ.
ໃສ່ຝາປິດທ້ອງອ່າງ.
| ໄລຍະຫ່າງການບໍລິການບຳລຸງຮັກສາ | ຂັ້ນຕອນການບຳລຸງຮັກສາ |
|---|---|
| ທຸກໆ 800 ຊົ່ວໂມງ |
|
| ທຸກໆ 1,000 ຊົ່ວໂມງ |
|
ຈອດເຄື່ອງຈັກຢູ່ໃນລະດັບພື້ນດິນ, ມອດຈັກ, ໃສ່ເບຣກມື ແລະ ຖອດກະແຈ.
ມາຍນັອດກຽວ 2 ນັອດທີ່ຍຶດຝາຄອບຢູ່ເຄິ່ງກາງໃສ່ເຄື່ອງຈັກໃຫ້ຫຼວມ ແລະ ເອົາຝາຄອບອອກ (ຮູບສະແດງ 45).

ທານ້ຳມັນຫຼໍ່ມື່ນໃສ່ຢ່ວງປິດກັນຊຶມໃນໝໍ້ກອງທີ່ນຳມາປ່ຽນດ້ວຍຂອງແຫຼວໄຮໂດຼລິກສະອາດ.
ວາງອ່າງລະບາຍໄວ້ກ້ອງໝໍ້ກອງໄຮໂດຼລິກ, ເຊິ່ງຕັ້ງຢູ່ທີ່ດ້ານຊ້າຍຂອງເຄື່ອງຈັກ (ຮູບສະແດງ 46).

ທຳຄວາມສະອາດພື້ນທີ່ຮອບບໍລິເວນທີ່ຕິດຕັ້ງໝໍ້ກອງ.
Note: ໃຫ້ເອົາໝໍ້ກອງທີ່ຈະມາປ່ຽນນັ້ນໄວ້ຢູ່ບ່ອນຢື້ເຖິງກ່ອນຈະປ່ຽນໝໍ້ກອງເກົ່າອອກ.
ເອົາໝໍ້ກອງໄຮໂດຼລິກອອກຈາກຫົວໜໍ້ກອງ.
ຕິດຕັ້ງໝໍ້ກອງໄຮໂດຼລິກໃໝ່ (ຮູບສະແດງ 46) ໂດຍການບິດມັນດ້ວຍມືຈົນກວ່າຢ່ວງຮອງສຳຜັດຫົວໝໍ້ກອງ, ຈາກນັ້ນຮັດໝໍ້ກອງໄປອີກ ¾ ຮອບ.
ກວດເບິ່ງລະດັບຂອງແຫຼວໄຮໂດຼລິກ ແລະ ຕື່ມຂອງແຫຼວໄຮໂດຼລິກທີ່ລະບຸໄວ້ໃສ່ຕາມທີ່ຈຳເປັນ, ໃຫ້ເບິ່ງ ການກວດເບິ່ງລະດັບນ້ຳມັນໄຮໂດຼລິກ
ຕິດຕັ້ງຝາຄອບເຄິ່ງກາງ.
| ໄລຍະຫ່າງການບໍລິການບຳລຸງຮັກສາ | ຂັ້ນຕອນການບຳລຸງຮັກສາ |
|---|---|
| ທຸກໆ 800 ຊົ່ວໂມງ |
|
| ທຸກໆ 2,000 ຊົ່ວໂມງ |
|
ຄວາມຈຸຂອງທ້ອງອ່າງ: 18.9 ລິດ (5 ແກນລອນສະຫະລັດ)
ໃຊ້ໝໍ້ກອງແທ້ຂອງ Toro ສຳລັບການໃຊ້ໃນການປ່ຽນໃໝ່, ໃຫ້ເບິ່ງປຶ້ມລາຍການອາໄຫຼ່ສຳລັບເຄື່ອງຈັກຂອງທ່ານ.
ເອົາຝາປິດອອກຈາກທ້ອງອ່າງໄຮໂດຼລິກ (ຮູບສະແດງ 47).

ປ້ຳຂອງແຫຼວໄຮໂດຼລິກຈາກທ້ອງອ່າງໄຮໂດຼລິກ (ຮູບສະແດງ 47).
ຕື່ມຂອງແຫຼວໄຮໂດຼລິກທີ່ລະບຸໄວ້ໃສ່ທ້ອງອ່າງໄຮໂດຼລິກຈົນກວ່າລະດັບມັນຂຶ້ນເຖິງບໍລິເວນຄໍຕ່ຳລົງຂອງເຫຼັກແທກນ້ຳມັນ; ໃຫ້ເບິ່ງ ການກວດເບິ່ງລະດັບນ້ຳມັນໄຮໂດຼລິກ.
Important: ຢ່າຕື່ມຂອງແຫຼວໄຮໂດຼລິກໃສ່ຖັງຈົນລົ້ນ.
ຕິດຈັກ ແລະ ປ່ອຍໃຫ້ຈັກຕິດຢູ່. ໃຊ້ງານລູກສູບຍົກຈົນກວ່າມັນຢືດອອກ ແລະ ຫົດຄືນ ແລະ ໄປທາງໜ້າ ແລະ ຈົນບັນລຸໄດ້ການເຄື່ອນໄຫວລໍ້ຖອຍຄືນ.
ມອດຈັກ ແລະ ກວດເບິ່ງລະດັບຂອງແຫຼວໄຮໂດຼລິກຢູ່ໃນທ້ອງອ່າງ; ຕື່ມຂອງແຫຼວໃສ່, ຖ້າຈຳເປັນ.
ກວດເບິ່ງການຮົ່ວໄຫຼ.
ສ້ອມແປງໄຮໂດຣລິກທີ່ຮົ່ວ.
ຕິດຕັ້ງຝາຄອບເຄິ່ງກາງ.
ເມື່ອມີການສ້ອມແປງ ຫຼື ປ່ຽນອົງປະກອບໄຮໂດຼລິກ, ໃຫ້ປ່ຽນໝໍ້ກອງໄຮໂດຼລິກ ແລະ ໃຫ້ສາກລະບົບໄຮໂດຼລິກ.
ໃຫ້ແນ່ໃຈວ່າທ້ອງອ່າງໄຮໂດຼລິກ ແລະ ໝໍ້ກອງມີຂອງແຫຼວຕື່ມໄວ້ຢູ່ຕະຫຼອດເວລາເມື່ອກຳລັງສາກລະບົບໄຮໂດຼລິກ.
ຈອດເຄື່ອງຈັກຢູ່ໃນລະດັບພື້ນດິນ, ມອດຈັກ, ໃສ່ເບຣກມື ແລະ ຖອດກະແຈ.
ມາຍນັອດກຽວ 2 ນັອດທີ່ຍຶດຝາຄອບຢູ່ເຄິ່ງກາງໃສ່ເຄື່ອງຈັກໃຫ້ຫຼວມ ແລະ ເອົາຝາຄອບອອກ (ຮູບສະແດງ 48).

ຍົກລໍ້ໜ້າ ແລະ ລໍ້ຫຼັງ 1 ລໍ້ຂຶ້ນຈາກພື້ນ ແລະ ວາງທ່ອນຮອງຮັບພາຍໃຕ້ກອບ.
ລໍ້ໜ້າ ແລະ ລໍ້ຫຼັງ 1 ລໍ້ຕ້ອງໄດ້ຍົກຂຶ້ນຈາກພື້ນດິນ ຫຼື ບໍ່ດັ່ງນັ້ນ, ເຄື່ອງຈັກຈະເຄື່ອນຍ້າຍໃນລະຫວ່າງການດັດປັບ. ນີ້ສາມາດເຮັດໃຫ້ເຄື່ອງຈັກຍຸບລົງ ແລະ ເຮັດໃຫ້ຄົນຢູ່ກ້ອງເຄື່ອງຈັກໄດ້ຮັບບາດເຈັບ.
ໃຫ້ແນ່ໃຈວ່າເຄື່ອງຈັກຖືກຄ້ຳໄວ້ຢ່າງດີດ້ວຍການໃຫ້ລໍ້ໜ້າ ແລະ ລໍ້ຫຼັງ 1 ລໍ້ຍົກຂຶ້ນເໜືອພື້ນດິນ.
ຕິດຈັກ ແລະ ຕັ້ງຄັນເລັ່ງເພື່ອປ່ອຍໃຫ້ຈັກຕິດຢູ່ໂດຍປະມານ 1,800 ຮອບຕໍ່ນາທີ.
ກະຕຸ້ນຄັນໂຍກວາວຍົກຈົນກວ່າກ້ານລູກສູບຍົກເຄື່ອນທີ່ເຂົ້າ ແລະ ອອກຫຼາຍໆຄັ້ງ. ຖ້າການລູກສູບບໍ່ເຄື່ອນເໜັງຫຼັງຈາກ 10 ຫຼື 15 ວິນາທີ ຫຼື ປ້ຳສົ່ງສຽງຜິດປົກກະຕິອອກມາ, ໃຫ້ມອດຈັກທັນທີ ແລະ ຊອກຫາສາເຫດ ຫຼື ບັນຫາ. ກວດກາເບິ່ງດັ່ງຕໍ່ໄປນີ້:
ໝໍ້ກອງ ຫຼື ສາຍດູດຫຼວມ
ຂໍ້ຕໍ່ຫຼວມ ຫຼື ມີຄວາມຂັດຂ້ອງຢູ່ໃນປ້ຳ
ສາຍດູດຕັນ
ວາວລະບາຍການສາກຂັດຂ້ອງ
ປ້ຳສາກຂັດຂ້ອງ
ຖ້າລູກສູບເຄື່ອນເໜັງໃນ 10 ຫາ 15 ວິນາທີ, ໃຫ້ສືບຕໍ່ໄປຫາຂັ້ນຕອນ 6.
ໃຊ້ງານແປ້ນຂັບເຄື່ອນໄປໜ້າ ແລະ ຖອຍຫຼັງ. ລໍ້ທີ່ຫວິດຈາກພື້ນຄວນປິ່ນໃນທິດທາງທີ່ຖືກຕ້ອງ.
ຖ້າລໍ້ປິ່ນໄປຜິດທາງ, ໃຫ້ມອດຈັກ, ເອົາສາຍອອກຈາກດ້ານຫຼັງປ້ຳ ແລະ ປີ້ນບ່ອນ.
ຖ້າລໍ້ປິ່ນໄປຖືກທາງ, ມອດຈັກ ແລະ ປັບນັອດລັອກສະຫຼັກປັບສະປຣິງ (ຮູບສະແດງ 49). ປັບຕຳແໜ່ງເກຍຫວ່າງການດຶງ, ໃຫ້ເບິ່ງ ການປັບປ່ຽນການຂັບເຄື່ອນສຳລັບເກຍຫວ່າງ.

ກວດເບິ່ງກັບປັບສະວິດອິນເຕີລັອກການດຶງ, ໃຫ້ເບິ່ງ ການປັບສະວິດອິນເຕີລັອກຂັບເຄື່ອນ.
ຕິດຕັ້ງຝາຄອບເຄິ່ງກາງ.
| ໄລຍະຫ່າງການບໍລິການບຳລຸງຮັກສາ | ຂັ້ນຕອນການບຳລຸງຮັກສາ |
|---|---|
| ຫຼັງຈາກການນຳໃຊ້ແຕ່ລະຄັ້ງ |
|
ລ້າງເຄື່ອງຈັກຢ່າງລະອຽດດ້ວຍທໍ່ນ້ຳຫົດສວນໂດຍບໍ່ມີຫົວສີດເພື່ອວ່າແຮງດັນຂອງນໍ້າຫຼາຍເກີນໄປບໍ່ເຮັດໃຫ້ເກີດການປົນເປື້ອນ ແລະ ມີຄວາມເສຍຫາຍຕໍ່ສິ່ງໃຊ້ປິດ ແລະ ລູກບີ່.
ໃຫ້ແນ່ໃຈວ່າຄີທຳຄວາມເຢັນ ແລະ ບໍລິເວນຮອບບ່ອນນຳເອົາຄວາມເຢັນເຂົ້າຖືກຮັກສາໄວ້ໂດຍປາສະຈາກຂີ້ເຫຍື້ອ.
Important: ການທຳຄວາມສະອາດເຄື່ອງທຳຄວາມເຢັນນ້ຳມັນດ້ວຍນ້ຳກໍ່ໃຫ້ເກີດການເຂົ້າໝ້ຽງໄວກ່ອນກຳນົດ ແລະ ເຮັດໃຫ້ເກີດຄວາມເສຍຫາຍຕໍ່ສ່ວນປະກອບ ແລະ ເກີດຂີ້ເຫຍື້ອອັດແໜ້ນເຂົ້າ, ໃຫ້ເບິ່ງ ການທຳຄວາມສະອາດເຄື່ອງທຳຄວາມເຢັນນ້ຳມັນເຄື່ອງ.
ກວດກາເຄື່ອງຈັກສຳລັບການຮົ່ວໄຫຼຂອງນ້ໍາມັນໄຮໂດຼລິກ, ຄວາມເສຍຫາຍ ຫຼື ການຫ້ຽນຂອງສ່ວນປະກອບຂອງໄຮໂດຼລິກ ແລະ ສ່ວນປະກອບກົນຈັກ.
| ໄລຍະຫ່າງການບໍລິການບຳລຸງຮັກສາ | ຂັ້ນຕອນການບຳລຸງຮັກສາ |
|---|---|
| ທຸກໆ 500 ຊົ່ວໂມງ |
|
ທຳຄວາມສະອາດເຄື່ອງຈັກ, ສິ່ງທີ່ຕິດມາ ແລະ ຕົວຈັກໃຫ້ທົ່ວ.
ຈອດເຄື່ອງຈັກຢູ່ໃນບ່ອນພຽງໄດ້ລະດັບ, ໃສ່ເບຣກມື, ມອດຈັກ, ຖອດກະແຈ ແລະ ລໍຖ້າໃຫ້ທຸກພາກສ່ວນເຄື່ອນໄຫວຢຸດກ່ອນອອກຈາກເຄື່ອງຈັກ.
ກວດເບິ່ງຄວາມດັນຂອງຢາງລົດ; ໃຫ້ເບິ່ງ ການກວດເບິ່ງຄວາມດັນຂອງຢາງລົດ.
ກວດເບິ່ງຕົວຮັດທັງໝົດສຳລັບຄວາມຫຼວມ; ຮັດໃຫ້ແໜ້ນຕາມຄວາມຈຳເປັນ.
ໃສ່ກະແລັດ ຫຼື ນ້ຳມັນເຄື່ອງຂໍ້ຕໍ່ກະແລັດທັງໝົດ ແລະ ຈຸດແກນ; ໃຫ້ເບິ່ງ ການໃສ່ນ້ຳມັນກະແລັດເຄື່ອງຈັກ.
ເຊັດກະດາດຊາຍບາງໆ ແລະ ໃຊ້ການທາສີສຳຜັດໃສ່ບໍລິເວນທີ່ຖືກຂູດ ແຕກ ຫຼື ເຂົ້າໝ້ຽງ.
ປ່ຽນນ້ຳມັນເຄື່ອງຈັກ ແລະ ໝໍ້ກອງ; ໃຫ້ເບິ່ງ ການປ່ຽນນ້ຳມັນເຄື່ອງຈັກ ແລະ ໝໍ້ກອງ.
ຕິດຈັກ ແລະ ແລ່ນມັນດ້ວຍຄວາມໄວກາລັງຕີເປັນເວລາ 2 ນາທີ.
ມອດຈັກ; ຖອດກະແຈ ແລະ ລໍຖ້າການເຄື່ອນໄຫວທັງໝົດຢຸດກ່ອນອອກຈາກເຄື່ອງຈັກ.
ທຳຄວາມສະອາດໃຫ້ທົ່ວ ແລະ ບຳລຸງຮັກສາສ່ວນປະກອບເຕົ້າກອງອາກາດ; ໃຫ້ເບິ່ງ ການບຳລຸງຮັກສາເຕົ້າກອງອາກາດ.
ປິດທາງເຂົ້າກອງອາກາດ ແລະ ທໍ່ໄອເສຍອອກດ້ວຍສະກັອດເຈ້ຍປ້ອງກັນທຸກສະພາບອາກາດ.
ກວດເບິ່ງຝາປິດຄໍເຕີມນ້ຳມັນເຄື່ອງ ແລະ ຝາປິດຖັງນ້ຳມັນເພື່ອໃຫ້ແນ່ໃຈວ່າພວກມັນຢູ່ກັບທີ່ຢ່າງຮັບປະກັນ.
ຖອດສາຍຂົ້ວແບັດເຕີຣີອອກຈາກຫົວແບັດເຕີຣີ.
ອະນາໄມແບັດເຕີຣີ, ຂົ້ວ ແລະ ຫົວໂດຍໃຊ້ຝອຍຂັດ ແລະ ສານລະລາຍໂຊດາໄຟ.
ເຄືອບຂົ້ວສາຍໄຟ ແລະ ຫົວແບດເຕີຣີດ້ວຍກະແລັດເຄືອບຜິວ Grafo 112X (ອາໄຫຼ່ Toro 505-47) ເພື່ອປ້ອງກັນການກັດກ່ອນ.
ສາກແບັດເຕີຣີຢ່າງຊ້າໆເປັນເວລາ 60 ຊົ່ວໂມງທຸກໆ 24 ວັນເພື່ອປ້ອງກັນການກາຍເປັນຊືນຊັລເຟດຂອງແບັດເຕີຣີ.
Note: ແຮງໂນ້ມຖ່ວງສະເພາະຂອງແບັດເຕີຣີທີ່ສາກເຕັມແລ້ວວັດແທກທີ່s 1.250.
Note: ເກັບຮັກສາແບັດເຕີຣີໄວ້ໃນບັນຍາກາດເຢັນເພື່ອຫຼີກລ່ຽງການເສື່ອມສະພາບຂອງການສາກໃນແບັດເຕີຣີໄວຂຶ້ນ. ເພື່ອປ້ອງກັນບໍ່ໃຫ້ແບັດເຕີຣີແຂງຕົວ, ໃຫ້ແນ່ໃຈວ່າໄດ້ສາກມັນໄວ້ເຕັມດີ.