| Интервал сервисног одржавања | Поступак одржавања |
|---|---|
| Пре сваке употребе или свакодневно |
|
Ova mašina je traktor kosilica sa rotacionim sečivom namenjena za upotrebu od strane stručnog, unajmljenog operatera u komercijalnoj primeni. Prvenstveno je projektovana za košenje trave na održavanim travnjacima u parkovima i na sportskim i komercijalnim terenima. Korišćenje ovog proizvoda za namene za koje nije predviđen može da bude opasno po vas i okolne posmatrače.
Pažljivo pročitajte ove informacije da biste naučili kako da pravilno koristite i održavate svoj uređaj i kako da izbegnete povrede i oštećenje proizvoda. Pravilno i bezbedno rukovanje proizvodom je vaša odgovornost.
Posetite www.Toro.com za materijale u vezi sa bezbednošću i za obuku za korišćenje proizvoda, za informacije o dodatnoj opremi, za pomoć u pronalaženju prodavca ili da biste registrovali svoj proizvod.
Kad god vam je potreban servis, originalni Toro delovi ili dodatne informacije, obratite se ovlašćenom serviseru ili Toro korisničkoj službi i pripremite broj modela i serijski broj vašeg proizvoda. Слика 1 pokazuje lokaciju modela i serijskog broja na proizvodu. Zapišite brojeve u za to predviđenom prostoru.
Important: Možete da mobilnim uređajem skenirate QR kôd na nalepnici sa serijskim brojem (ako je deo opreme) kako biste pristupili informacijama o garanciji, delovima i drugim informacijama o proizvodu.

Simbol za bezbednosno upozorenje (Слика 2) prikazan u ovom priručniku i na mašini radi označavanja važnih bezbednosnih poruka koje morate da pratite da biste izbegli nezgode.

Ovaj simbol za bezbednosno upozorenje se pojavljuje iznad informacija koje vas upozoravaju na radnje ili situacije koje nisu bezbedne i pratiće ga reč OPASNOST, UPOZORENJE ili OPREZ.
OPASNOST označava neminovnu opasnu situaciju koja će, ukoliko se ne izbegne, dovesti do teške povrede ili smrtnog slučaja.
UPOZORENJE označava potencijalno opasnu situaciju koja bi mogla, ukoliko se ne izbegne, dovesti do teške povrede ili smrtnog slučaja.
OPREZ označava potencijalno opasnu situaciju koja može, ukoliko se ne izbegne, dovesti do manje ili umereno teške povrede.
Ovaj priručnik koristi druge dve reči za isticanje informacija. Važno skreće pažnju na posebne mehaničke informacije, a Napomena naglašava opšte informacije koje zaslužuju posebnu pažnju.
Ovaj proizvod zadovoljava sve relevantne evropske direktive; za detalje pogledajte odvojeni list deklaracije o usklađenosti (DOC) za određeni proizvod.
Rukovanje motorom na bilo kom zemljištu prekrivenom šumom, grmljem ili travom predstavlja kršenje člana 4442 ili člana 4443 kalifornijskog Zakona o javnim resursima ako motor nije opremljen hvatačem varnica, kako je definisano u članu 4442, održavanom u ispravnom stanju, ili konstruisan, opremljen i održavan tako da se spreči pojava požara.
Priloženi priručnik za vlasnike motora obezbeđen je radi pružanja informacija o propisima američke Agencije za zaštitu životne sredine (EPA) i države Kalifornije u pogledu kontrole emisije kod emisionih sistema, održavanja i garancije. Zamene se mogu naručiti preko proizvođača motora.
Ako je ova mašina opremljena uređajem za telematiku, obratite se svom ovlašćenom Toro distributeru za uputstva za aktiviranje uređaja.
|
Sertifikacija za elektromagnetnu kompatibilnost |
|
Domaći: Ovaj uređaj je u skladu sa FCC pravilima, deo 15. Rad podleže sledećim dvama uslovima: (1) Ovaj uređaj ne sme izazivati štetne smetnje i (2) ovaj uređaj mora da prihvati sve smetnje koje mogu biti primljene, uključujući smetnju koja može izazvati neželjeni rad. |
|
FCC ID: APV-3640LB IC: 5843C-3640LB |
|
Ova oprema je testirana i zaključeno je da je u skladu sa ograničenjima klase B digitalnih uređaja, u skladu sa FCC pravilima, deo 15. Ta ograničenja su osmišljena tako da pruže zaštitu od štetnih smetnji u kućnoj instalaciji. Ova oprema stvara, koristi i može da zrači energiju radio frekvencije i, ako se ne instalira i koristi u skladu da uputstvom, može da dovede do štetnih smetnji u radio komunikaciji. Međutim, ne postoji garancija da neće doći do smetnje na određenoj instalaciji. Ako ova oprema izazove štetne smetnje u prijemu radio i televizijskog signala, što se može utvrditi isključivanjem i uključivanjem opreme, preporučuje se da korisnik pokuša da otkloni smetnje pomoću jedne ili više sledećih mera:
|
|
Argentina |
![]() |
|
Australija |
![]() |
|
Maroko |
|
|---|---|
|
AGREE PAR L’ANRT MAROC |
|
|
Numero d’agrement: |
MR00004789ANRT20024 |
|
Delivre d’agrement: |
11/4/2024 |
|
Novi Zeland |
|
|
|
Južna Koreja |
![]() |
КАЛИФОРНИЈА
Предлог 65 Упозорење
У савезној држави Калифорнија познато је да издувни гасови дизел-мотора и неке њихове компоненте изазивају карцином, оштећења плода и друге репродуктивне проблеме.
У савезној држави Калифорнија познато је да стубићи и клеме акумулатора, као и додатна опрема, садрже олово и оловна једињења који изазивају карцином и репродуктивне проблеме. Оперите руке након руковања.
У савезној држави Калифорнија познато је да употреба овог производа може довести до излагања хемикалијама које изазивају карцином, оштећења плода и друге репродуктивне проблеме.
Ovaj proizvod je u stanju da amputira šake i stopala i da baca predmete. Uvek poštujte sva bezbednosna uputstva kako biste izbegli tešku telesnu povredu.
Pre pokretanja motora, s razumevanjem pročitajte sadržaj ovog priručnika za operatera.
Usredsredite svu pažnju dok upravljate mašinom. Nemojte se baviti aktivnostima koje odvlače pažnju; u suprotnom može doći do povrede ili materijalne štete.
Nemojte da rukujete mašinom ako svi štitnici i drugi sigurnosni zaštitni uređaji nisu na mestu i ne funkcionišu pravilno na mašini.
Držite šake i stopala podalje od rotirajućih delova. Držite se podalje od otvora za pražnjenje.
Vodite računa da posmatrači i deca budu van radnog prostora. Nemojte nikada dozvoliti deci da koriste mašinu.
Pre nego što napustite položaj operatera, zaustavite motor, uklonite ključ i sačekajte da se svi pokretni delovi zaustave. Pre podešavanja, servisiranja, čišćenja ili odlaganja mašine, sačekajte da se ohladi.
Nepravilna upotreba ili održavanje ove mašine
može dovesti do povrede. Kako biste smanjili mogućnost
za povredu, poštujte ova bezbednosna uputstva i uvek obratite
pažnju na simbol za bezbednosno upozorenje
, koje označava Pažnju,
Upozorenje ili Opasnost – uputstvo za ličnu bezbednost.
Nepoštovanje ovih uputstava može dovesti do telesne
povrede ili smrtnog ishoda.
![]() |
Bezbednosne nalepnice i uputstva su lako vidljivi operateru i nalaze se u blizini svake oblasti sa potencijalnom opasnošću. Zamenite svaku nalepnicu koja je oštećena ili nedostaje. |





















Zalepite na deo br. 112-5297 za CE* za mašine serije 4500 (model br. 30885)

Zalepite na deo br. 112-5297 za CE* za mašine serije 4700 (model br. 30887)

Note: Utvrdite levu i desnu stranu mašine iz uobičajenog položaja operatera.
Делови потребни за овај поступак:
| Nalepnica upozorenja | 1 |
| CE nalepnica | 1 |
| Nalepnica sa godinom proizvodnje | 1 |
Na mašinama koje podležu CE usaglašenosti, zamenite nalepnicu upozorenja (127-6647 [za model 30885] ili 127-6648 [za model 30887]), CE nalepnicu, i nalepnicu sa godinom proizvodnje (Слика 3).

Делови потребни за овај поступак:
| Nosač sigurnosne brave poklopca motora | 1 |
| Zakivka | 2 |
| Podloška | 1 |
| Zavrtanj (¼ x 2") | 1 |
| Kontranavrtka (¼") | 1 |
Otkačite sigurnosnu bravu poklopca motora sa nosača sigurnosne brave poklopca motora.
Skinite 2 zakivke koje pričvršćuju nosač sigurnosne brave poklopca motora za poklopac motora (Слика 4).

Skinite nosač sigurnosne brave poklopca motora sa poklopca motora.
Poravnavajući rupe za montažu, postavite CE sigurnosni nosač i nosač sigurnosne brave poklopca motora na poklopac motora (Слика 5).
Note: Sigurnosni nosač mora biti do poklopca motora. Nemojte skidati zavrtanj i navrtku sa kraka sigurnosnog nosača.

Poravnajte podloške sa rupama na unutrašnjoj strani poklopca motora.
Zakivkama pričvrstite nosače i podloške za poklopac motora (Слика 5).
Zakačite sigurnosnu bravu za nosač sigurnosne brave poklopca motora (Слика 6).

Postavite zavrtanj na drugi krak nosača sigurnosne brave poklopca motora da blokirate sigurnosnu bravu na mestu (Слика 7). Zategnite zavrtanj ali nemojte zatezati navrtku.

Opcioni strugač zadnjeg valjka najbolje radi kada postoji ravnomeran razmak od 0,5 do 1 mm između strugača i valjka.
Olabavite mazalice i montažni vijak (Слика 8).

Povucite strugač gore ili dole dok ne dobijete razmak od 0,5 do 1 mm između šipke i valjka.
Zategnite mazalicu i vijak na 41 N∙m naizmeničnim redosledom.
Obratite se ovlašćenom distributeru kompanije Toro za odgovarajuću pregradu za malčiranje.
Temeljno očistite otpatke sa rupa za montažu na zadnjem zidu i levom zidu komore.
Montirajte pregradu za malčiranje u zadnji otvor i pričvrstite je uz pomoć 5 vijaka sa prirubnicom (Слика 9).

Proverite da pregrada za malčiranje ne ometa vrh sečiva i da ne prodire unutar površine zadnjeg zida komore.
Korišćenje sečiva sa visokim podizanjem zajedno sa pregradom za malčiranje može dovesti do loma sečiva, i izazvati telesnu povredu ili smrtni ishod.
Nemojte koristiti sečivo sa visokim podizanjem zajedno sa pregradom.
Parkirajte mašinu na ravnoj površini.
Za mašine Groundsmaster 4500 i 4700, otpustite kablove jedinica za sečenje br. 4 i 5 (Слика 39).
Za mašine Groundsmaster 4700, otpustite brave jedinica za sečenje br. 6 i 7 (Слика 42).
Spustite jedinice za sečenje.
Aktivirajte parkirnu kočnicu.
Isključite motor i uklonite ključ.
Proverite pritisak u pneumaticima pre upotrebe; pogledajte Provera pritiska u pneumaticima.
Important: Održavajte pritisak u svim pneumaticima da biste osigurali dobar kvalitet košenja i pravilan rad mašine. Nemojte premalo naduvati pneumatike.
Proverite nivo maziva zadnje osovine pre nego što prvi put pokrenete motor; pogledajte Provera maziva zadnje osovine.
Proverite nivo ulja pre pokretanja motora; pogledajte Provera nivoa motornog ulja.
Proverite nivo hidraulične tečnosti pre pokretanja motora; pogledajte Provera nivoa hidraulične tečnosti.
Proverite sistem za hlađenje pre pokretanja motora; pogledajte Provera sistema za hlađenje.
Podmažite mašinu pre upotrebe; pogledajte Podmazivanje ležajeva i čaura.
Important: Nepodmazivanje mašine na pravilan način će dovesti do prevremenog kvara kritičnih delova.

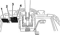
Papučica gasa (Слика 10) kontroliše kretanje unapred i unazad. Pritisnite gornji deo papučice da biste se kretali unapred a donji deo da biste se kretali unazad. Kad su jedinice za sečenje potpuno podignute, papučica kontroliše brzinu motora i kretanja kao kod automobila.
Note: Za hitno zaustavljanje mašine sklonite stopalo sa papučice gasa i pritisnite papučice kočnice. To je najbrži način da se mašina zaustavi.
Postoje 2 nožne papučice koje pokreću kočnice pojedinačnih točkova radi lakšeg okretanja, parkiranja i boljeg prianjanja na nagibima. Papučice su spojene bravom prilikom korišćenja parkirne kočnice i transporta (Слика 10).
Brava za povezivanje papučica spaja papučice da bi se aktivirala parkirna kočnica (Слика 10).
Da biste nagnuli volan ka sebi, pritisnite papučicu nadole, povucite stub volana ka sebi dok ne dođe u najudobniji položaj, pa pustite papučicu (Слика 10). Da biste pomerili volan od sebe, pritisnite papučicu i pustite je kada volan bude u željenom radnom položaju.
Da aktivirate parkirnu kočnicu (Слика 10) spojite papučice jednu za drugu bravom za povezivanje papučica i pritisnite desnu papučicu kočnice dok aktivirate odvojeni gornji deo papučice. Da otpustite parkirnu kočnicu pritisnite 1 papučicu kočnice dok se brava parkirne kočnice ne uvuče.
Prekidač kontakta (Слика 11) ima 3 položaja: OFF (isključeno), ON/PREHEAT (uključeno/predzagrevanje), i START (pokretanje).

Prekidač za PTO ima dva položaja: IZVUčEN (AKTIVIRAN) i UVUčEN (DEAKTIVIRAN). Izvucite dugme za PTO da aktivirate sečiva jedinice za sečenje. Utisnite dugme za PTO da deaktivirate sečiva jedinice za sečenje (Слика 11).
Ovaj prekidač (Слика 11) kontroliše 2 opsega brzine mašine: visok i nizak.
Odaberite položaj H/L AUTO da omogućite mašini da automatski bira visoku ili nisku brzinu.
Odaberite položaj za NISKU brzinu da ručno podesite samo nisku brzinu.
Položaj prekidača možete da menjate u bilo kom trenutku, ali mašina će preći iz jednog u drugi opseg brzine samo kada je papučica gasa u neutralnom položaju a mašina zaustavljena.
Note: Da dođete do visoke brzine u položaju H/L AUTO, deaktivirajte PTO i potpuno podignite jedinice za sečenje.
Note: Ako vam je prekidač u položaju H/L AUTO, ne možete da spustite kućišta iz potpuno podignutog položaja ako papučica gasa nije u neutralnom položaju a mašina zaustavljena.
Prekidač tempomata aktivira tempomat koji održava željenu brzinu kretanja (Слика 12). Pritiskom na zadnji deo prekidača tempomat se isključuje, srednji položaj prekidača uključuje funkciju tempomata, a na prednjem delu prekidača se podešava željena brzina kretanja.
Kad je tempomat podešen, možete da menjate brzinu koristeći InfoCenter (Слика 34).

Prekidači za podizanje podižu i spuštaju jedinice za sečenje (Слика 11). Pritisnite prekidače unapred da spustite jedinice za sečenje a unazad da podignete jedinice za sečenje. Kada pokrećete mašinu, sa jedinicama za sečenje u spuštenom položaju pritisnite prekidač za podizanje nadole da omogućite jedinicama za sečenje da lebde i kose.
Note: Jedinice za sečenje se ne spuštaju dok je mašina u visokom opsegu brzine, i ne spuštaju se i ne podižu ako vi niste u sedištu. Takođe, jedinice za sečenje se spuštaju kad je ključ u položaju ON (uključeno) a vi ste u sedištu.
Pritisnite prekidač za svetlo nagore da bi svetla bila u položaju ON (uključeno) (Слика 11).
Pritisnite prekidač za svetlo nadole da bi svetla bila u položaju OFF (isključeno).
Pomoću utičnice (Слика 13) možete napajati opcionu dodatnu električnu opremu koja radi na 12V.

Torbicu koristite za držanje stvari (Слика 13).
Pomerite prema spolja polugu za podešavanje sedišta koja se nalazi pored sedišta, gurnite sedište u željeni položaj, pa otpustite polugu da biste fiksirali sedište u tom položaju (Слика 14).

Okrećite zavrtanj da podesite ugao naslona za ruku (Слика 14).
Pomerite polugu da podesite ugao naslona (Слика 14).
Merač težine pokazuje kada je sedište podešeno prema težini operatera (Слика 14). Podesite visinu postavljanjem vešanja u okviru zelene zone.
Pomoću ove poluge podesite sedište prema svojoj težini (Слика 14). Povucite polugu gore da povećate pritisak vazduha a gurnite je dole da smanjite pritisak vazduha. Podešavanje je ispravno kad se merač težine nalazi u zelenoj zoni.
LCD displej sistema InfoCenter (Слика 11) prikazuje informacije o vašoj mašini, kao što su radni status, razne dijagnostike i druge informacije o mašini.
Koji će se ekran prikazati zavisi od toga koje dugme odaberete. Namena svakog dugmeta se može promeniti u zavisnosti od toga šta je potrebno u datom trenutku.

| Opis | 4500-D | Слика 15 oznake | 4700-D | Слика 15 oznake | |
|---|---|---|---|---|---|
| Širina košenja | 280 cm | D | 380 cm | F | |
| Ukupna širina | |||||
| Jedinice za sečenje spuštene | 286 cm | E | 391 cm | G | |
| Jedinice za sečenje podignute (transport) | 224 cm | A | 224 cm | A | |
| Razmak točkova | |||||
| Prednji | 224 cm | B | 224 cm | B | |
| Zadnji | 141 cm | M | 141 cm | M | |
| Visina sa ROPS | |||||
| Podignut | 226 cm | C | 226 cm | C | |
| Spušten | 165 cm | 165 cm | |||
| Ukupna dužina | |||||
| Jedinice za sečenje spuštene | 370 cm | H | 370 cm | H | |
| Jedinice za sečenje podignute (transport) | 370 cm | L | 370 cm | L | |
| Rastojanje od tla do najniže tačke vozila | 15 cm | 15 cm | |||
| Osnova točkova | 171 cm | K | 171 cm | K | |
| Neto težina | 1937 kg | 2277 kg | |||
| (sa jedinicama za sečenje a bez goriva) | |||||
Note: Specifikacije i dizajn mogu da se promene bez najave.
| Dužina | 86,4 cm |
| Širina | 86,4 cm |
| Visina | 24,4 cm do oslonca nosača |
| 26,7 cm pri visini košenja od 2 cm | |
| 34,9 cm pri visini košenja od 10 cm | |
| Težina | 88 kg |
Radi poboljšanja i proširenja mogućnosti mašine, za korišćenje sa njom je dostupan izbor dodatne opreme i priključaka koje je odobrila kompanija Toro. Za listu odobrene dodatne opreme i priključaka obratite se ovlašćenom serviseru ili ovlašćenom distributeru kompanije Toro ili posetite www.Toro.com.
Koristite samo originalne zamenske delove i dodatnu opremu kompanije Toro. Zamenski delovi i dodatna oprema drugih proizvođača mogu biti opasni i njihovo korišćenje može da poništi garanciju za proizvod.
Note: Utvrdite levu i desnu stranu mašine iz uobičajenog položaja operatera.
Nemojte nikada dozvoliti deci ili neobučenim osobama da koriste ili servisiraju mašinu. Lokalni propisi mogu da ograniče starost operatera. Vlasnik je odgovoran za obuku svih operatera i mehaničara.
Upoznajte se sa bezbednim korišćenjem opreme, komandama operatera i bezbednosnim znacima.
Pre nego što napustite položaj operatera, zaustavite motor, uklonite ključ i sačekajte da se svi pokretni delovi zaustave. Pre podešavanja, servisiranja, čišćenja ili odlaganja mašine, sačekajte da se ohladi.
Znajte kako da brzo zaustavite mašinu i isključite motor.
Proverite da li su kontrole za prisustvo operatera, bezbednosni prekidači i štitnici pričvršćeni i da li pravilno funkcionišu. Nemojte koristiti mašinu ako ne funkcioniše pravilno.
Pre košenja, uvek pregledajte mašinu da biste se uverili da su sečiva, zavrtnji sečiva i sklopovi za sečenje u dobrom radnom stanju. Zamenite istrošena ili oštećena sečiva i zavrtnje zamenom čitavog kompleta, kako biste očuvali ravnotežu.
Pregledajte prostor na kom ćete koristiti mašinu i uklonite sve predmete koje bi mašina mogla odbaciti.
Ovaj proizvod stvara elektromagnetno polje. Ako imate ugrađeni elektronski medicinski uređaj, obratite se zdravstvenom radniku pre korišćenja ovog proizvoda.
Budite izuzetno pažljivi prilikom rukovanja gorivom. Zapaljivo je a njegova isparenja su eksplozivna.
Ugasite sve cigarete, cigare, lule i druge izvore paljenja.
Koristite samo odobreni kanister za gorivo.
Nemojte skidati poklopac za gorivo niti puniti rezervoar dok motor radi ili je vruć.
Nemojte dosipati niti prazniti gorivo u zatvorenom prostoru.
Nemojte skladištiti mašinu ni kanister sa gorivom na mestu na kom postoji otvoreni plamen, varnica ili pomoćni plamenik, kao na kotlu za grejanje vode ili drugim aparatima.
Ako prospete gorivo, nemojte pokušavati da pokrenete motor; izbegavajte stvaranje bilo kakvog izvora paljenja dok se isparenja od goriva ne rasprše.
Pre nekog što pokrenete motor i koristite mašinu, proverite nivo ulja u kućištu motora; pogledajte Provera nivoa motornog ulja.
Pre nekog što pokrenete motor i koristite mašinu, proverite sistem za hlađenje; pogledajte Provera sistema za hlađenje.
Pre nekog što pokrenete motor i koristite mašinu, proverite hidraulični sistem; pogledajte Provera nivoa hidraulične tečnosti.
Ispraznite vodu i druge zagađivače iz separatora za vodu; pogledajte Ispuštanje vode iz separatora za gorivo i vodu.
Proverite da li zadnja osovina i menjačka kutija negde cure; pogledajte Provera da li zadnja osovina i menjačka kutija cure.
Kapacitet rezervoara za gorivo: 83 l
Important: Koristite samo dizel gorivo sa ultra niskim sadržajem sumpora. Gorivo sa višim sadržajem sumpora degradira katalizator oksidacije dizela (DOC), što izaziva probleme sa radom i skraćuje radni vek delova motora.Nepoštovanje sledećih upozorenja može da ošteti motor.
Nikada nemojte koristiti kerozin ili benzin umesto dizel goriva.
Nikada nemojte mešati kerozin ili korišćeno mašinsko ulje sa dizel gorivom.
Nikada nemojte držati gorivo u kanisterima koji sa unutrašnje strane imaju oplatu od cinka.
Nemojte koristiti aditive za gorivo.
Cetanski broj: 45 ili više
Sadržaj sumpora: ultra-nizak sadržaj sumpora (<15 ppm)
| Specifikacije dizel goriva | Lokacija |
| ASTM D975 | SAD |
| Klasa 1-D S15 | |
| Klasa 2-D S15 | |
| EN 590 | Evropska unija |
| ISO 8217 DMX | Međunarodno |
| JIS K2204 klasa 2 | Japan |
| KSM-2610 | Koreja |
Koristite samo čisto, sveže dizel gorivo ili biodizel goriva.
Kupujte gorivo u količinama koje mogu da se potroše u roku od 180 dana kako biste osigurali svežinu goriva.
Koristite letnje dizel gorivo (klasa 2-D) pri temperaturama iznad -7 °C a zimsko gorivo (klasa 1-D ili mešavina klasa 1-D/2-D) ispod navedene temperature.
Note: Korišćenje zimskog goriva pri nižim temperaturama obezbeđuje nižu tačku paljenja i karakteristike protoka pri hladnom vremenu koje olakšavaju pokretanje i smanjuju začepljenje filtera za gorivo.Korišćenje letnjeg goriva iznad -7 °C doprinosi dužem životnom veku pumpe za gorivo i većoj snazi u odnosu na zimsko gorivo.
Ova mašina može da koristi i gorivo koje je mešavina sa biodizelom do B20 (20% biodizela, 80% naftnog dizela).
Sadržaj sumpora: ultra-nizak sadržaj sumpora (<15 ppm)
Specifikacije biodizel goriva: ASTM D6751 ili EN14214
Specifikacije mešavine goriva: ASTM D975, EN590, ili JIS K2204
Important: Naftni dizel u mešavini mora biti ultra niskog sadržaja sumpora.
Poštujte sledeće mere opreza:
Mešavine sa biodizelom mogu da oštete ofarbane površine.
Po hladnom vremenu koristite B5 (sadržaj biodizela 5%) ili mešavine sa manje biodizela.
Proveravajte zaptivače, creva, zaptivke u kontaktu sa gorivom jer vremenom mogu degradirati.
Neko vreme nakon prelaska na mešavine sa biodizelom se može očekivati začepljenje filtera za gorivo.
Za više informacija o biodizelu obratite se ovlašćenom distributeru kompanije Toro.


Napunite rezervoar do visine od oko 6 do 13 mm do vrha rezervoara, ne grla za punjenje, dizel gorivom klase 2-D.
Note: Ako je moguće, napunite rezervoar nakon svake upotrebe; time će se smanjiti nakupljanje kondenzacije u rezervoaru za gorivo.
| Интервал сервисног одржавања | Поступак одржавања |
|---|---|
| Пре сваке употребе или свакодневно |
|
Pravilan pritisak u pneumaticima iznosi od 1,38 bara.
Important: Održavajte preporučeni pritisak u svim pneumaticima da biste osigurali dobar kvalitet košenja i pravilan rad mašine. Nemojte premalo naduvati pneumatike.Proverite pritisak u svim pneumaticima pre korišćenja mašine.

| Интервал сервисног одржавања | Поступак одржавања |
|---|---|
| Након првог сата |
|
| Након првих 10 сати |
|
| Сваких 200 сати |
|
Zategnite navrtke točkova momentom od 115 do 136 N∙m redosledom prikazanim na Слика 18 i Слика 19.


Nepoštovanje odgovarajućeg obrtnog momenta navrtki točkova može da dovede do telesne povrede.
Zategnite navrtke točkova do odgovarajućeg obrtnog momenta.
Da biste izbegli povredu ili smrtni ishod u slučaju prevrtanja, držite rol-bar u podignutom i zaključanom položaju i koristite sigurnosni pojas.
Proverite da je sedište pričvršćeno bravom sedišta.
Zaštita u slučaju prevrtanja ne postoji ako je zaštitni ram u donjem položaju.
Nemojte koristiti mašinu na neravnom terenu ili na kosini sa zaštitnim ramom u donjem položaju.
Spustite zaštitni ram samo kada je to apsolutno neophodno.
Nemojte nositi sigurnosni pojas kada je zaštitni ram u donjem položaju.
Vozite polako i pažljivo.
Podignite rol-bar čim rastojanje do prepreke to dozvoli.
Pažljivo proverite da li ima slobodnog prostora iznad glave (tj. grana, okvira za vrata ili električnih žica) pre vožnje ispod bilo kakvih predmeta i nemojte ih dodirivati.
Important: Uvek koristite sigurnosni pojas kada je zaštitni ram u podignutom i zaključanom položaju. Nemojte koristiti sigurnosni pojas kada je zaštitni ram u spuštenom položaju.
Important: Spustite rol-bar samo kad je to neophodno.
Important: Proverite da je sedište pričvršćeno bravom sedišta.


Important: Rotacione jedinice za sečenje često kose oko 6 mm niže nego jedinica za sečenje sa cilindrom sa istim referentnim podešavanjem. Možda će biti potrebno da se referentne mere za rotacione jedinice za sečenje postave na 6 mm iznad mera za jedinice za sečenje sa cilindrom koje kose na istom području.
Important: Pristup zadnjim jedinicama za sečenje se znatno poboljšava uklanjanjem jedinice za sečenje sa mašine.
Parkirajte mašinu na ravnoj površini, aktivirajte parkirnu kočnicu, spustite jedinicu za sečenje do zemlje, isključite motor i uklonite ključ.
Olabavite zavrtanj koji pričvršćuje svaki nosač za visinu sečenja za ploču za visinu sečenja (napred i sa svake strane) kako je prikazano na Слика 22.
Počevši od prednjeg podešavanja, skinite zavrtanj.

Pridržavajući komoru, uklonite odstojnik (Слика 22).
Pomerite komoru do željene visine sečenja i postavite odstojnik u odgovarajuću rupu i prorez za visinu sečenja (Слика 23).

Postavite ploču sa urezanim navojem u ravni sa odstojnikom.
Postavite zavrtanj i zategnite rukom.
Ponovite korake 4 do 7 za podešavanje svake strane.
Zategnite sva 3 zavrtnja na 41 N·m. Uvek prvo zategnite prednji zavrtanj.
Note: Za podešavanja za više od 3,8 cm bi moglo biti potrebno privremeno postavljanje na neku među-visinu da bi se sprečilo sputavanje (npr. promena sa visine sečenja od 3,1 cm na 7 cm).
| Интервал сервисног одржавања | Поступак одржавања |
|---|---|
| Пре сваке употребе или свакодневно |
|
Ako su prekidači bezbednosne blokade isključeni ili oštećeni, mašina može neočekivano da se aktivira i izazove telesnu povredu.
Nemojte vršiti neovlašćene izmene na prekidačima za blokiranje.
Svakodnevno proveravajte ispravnost prekidača za blokiranje i pre korišćenja mašine zamenite svaki prekidač koji je oštećen.
Prekidači blokade su projektovani da isključe mašinu ako ustanete sa sedišta kad je papučica gasa pritisnuta. Međutim, možete ustati sa sedišta dok motor radi kad je papučica gasa u NEUTRALNOM položaju. Iako motor i dalje radi kada deaktivirate prekidač za PTO i otpustite papučicu gasa, isključite motor pre nego što ustanete sa sedišta.
Parkirajte mašinu na ravnoj površini, aktivirajte parkirnu kočnicu, spustite jedinice za sečenje i okrenite ključ u položaj OFF (isključeno).
Pritisnite papučicu gasa i okrenite ključ u položaj ON (uključeno).
Note: Ako motor zavergla, postoji neispravnost u sistemu za blokiranje. Ispravite tu neispravnog pre nego što budete rukovali mašinom.
Okrenite ključ u položaj ON (uključeno), ustanite sa sedišta i postavite prekidač za PTO u ON (uključeno).
Note: PTO ne bi trebalo da se aktivira. Ako se PTO aktivira, postoji neispravnost u sistemu za blokiranje. Ispravite tu neispravnog pre nego što budete rukovali mašinom.
Aktivirajte parkirnu kočnicu, okrenite ključ u položaj ON (uključeno) i pomerite papučicu gasa iz NEUTRALNOG.
Note: InfoCenter prikazuje poruku traction denied“ (vuča odbijena) i mašina ne bi trebalo da se kreće. Ako se mašina kreće, postoji neispravnost u sistemu za blokiranje. Ispravite tu neispravnog pre nego što budete rukovali mašinom.
| Интервал сервисног одржавања | Поступак одржавања |
|---|---|
| Пре сваке употребе или свакодневно |
|
Note: Spustite jedinice za sečenje na čist deo travnjaka ili tvrdu površinu kako bi se izbeglo bacanje prašine i otpadaka.
Da proverite ovo vreme zaustavljanja sedite u sedište i deaktivirajte PTO. Osluškujte rotaciona sečiva i zabeležite koliko je vremena potrebno da se sečiva potpuno zaustave. Ako je potrebno duže od 7 sekundi, podesite kočioni ventil. Pozovite ovlašćenog distributera kompanije Toro za pomoć kod tog podešavanja.
Ovo sečivo je projektovano za odlično podizanje i disperziju u skoro svim uslovima. Ako je potrebno više ili manje podizanja i veća ili manja brzina izbacivanja, razmislite o drugom sečivu.
Karakteristike: Odlično podizanje i disperzija u većini uslova.
Ovo sečivo generalno ima najbolji učinak kod nižih visina košenja – 1,9 do 6,4 cm.
Karakteristike:
Izbacivanje ostaje ravnomernije pri nižim visinama košenja.
Izbacivanje ima manju tendenciju bacanja ulevo čime se dobija čistiji izgled oko bankera i ferveja.
Niža potrebna snaga pri nižim visinama i gustom travnjaku.
Ovo sečivo generalno ima bolji učinak kod viših visina košenja – 7 do 10 cm.
Karakteristike:
Više podizanje i veća brzina izbacivanja
Retka ili mlitava trava se značajno pokupi pri višim visinama košenja
Mokra ili lepljiva pokošena trava se efikasnije izbacuje čime se smanjuje zapušenje u jedinici za sečenje.
Zahteva više konjskih snaga za korišćenje
Obično izbacuje više nalevo i može stvarati otkos u redovima pri nižim visinama košenja
Korišćenje sečiva sa visokim podizanjem zajedno sa pregradom za malčiranje može dovesti do loma sečiva, i izazvati telesnu povredu ili smrtni ishod.
Nemojte koristiti sečivo sa visokim podizanjem zajedno sa pregradom za malčiranje.
Ovo sečivo je projektovano za odlično malčiranje lišća.
Karakteristika: Odlično malčiranje lišća
| Sečivo sa jedrom pod uglom | Sečivo sa visokim podizanjem i paralelnim jedrom(Nemojte koristiti sa pregradom za malčiranje) | Pregrada za malčiranje | Strugač valjka | |
| Košenje trave: visina košenja 1,9 do 4,4 cm | Preporučuje se za većinu primena | Može raditi dobro sa laganom ili retkom travom | Dokazano poboljšava disperziju i učinak nakon košenja kod trava iz severnih krajeva koje se kose najmanje 3 puta nedeljno i skida se manje od ⅓ vlati trave. Nemojte koristiti sa sečivom sa visokim podizanjem i paralelnim jedrom | Koristite ga kad god se na valjcima nakupi trava ili se vidi veliko, pljosnato grumenje trave. Strugači mogu da povećaju formiranje grumenja kod određenih primena. |
| Košenje trave: visina košenja 5 do 6,4 cm | Preporučuje se za guste ili bujne travnjake | Preporučuje se za tanke ili retke travnjake | ||
| Košenje trave: visina košenja 7 do 10 cm | Može raditi dobro na bujnom travnjaku | Preporučuje se za većinu primena | ||
| Malčiranje lišća | Preporučuje se za korišćenje sa pregradom za malčiranje | Nije dozvoljeno | Koristiti samo sa sečivom sa kombinovanim jedrom, atomskim sečivom ili sečivom sa jedrom pod uglom | |
| Za | Ravnomerno izbacivanje pri nižim visinama košenja; čistiji izgled oko bankera i ferveja; niža potrebna snaga | Više podizanje i veća brzina izbacivanja; retka ili mlitava trava se pokupi pri visokoj visini košenja; mokra ili lepljiva pokošena trava se efikasno izbacuje | Može poboljšati disperziju i izgled kod određenih primena; veoma dobro za malčiranje lišća | Smanjuje nakupljanje na valjku kod određenih primena |
| Protiv | Ne podiže travu dobro kod primena sa visokom visinom košenja; mokra ili lepljiva trava se nakuplja u komori, što dovodi do lošeg kvaliteta košenja i više potrebne snage | Potrebno je više snage za rad kod određenih primena; obično stvara otkos u redovima pri nižim visinama košenja kod bujne trave; nemojte koristiti sa pregradom za malčiranje | Trava će se nakupiti u komori ako pokušate da uklonite previše trave dok je pregrada postavljena |
Displej prikazuje informacije o mašini, kao što su radni status, razne dijagnostike i druge informacije o mašini. Postoji više ekrana na displeju. Te ekrane možete da menjate u bilo kom trenutku pritiskom na bilo koje dugme displeja, a zatim biranjem odgovarajuće strelice.

Note: Namena svakog dugmeta se može promeniti u zavisnosti od toga šta je potrebno u datom trenutku. Svako dugme je obeleženo ikonicom koja prikazuje njegovu trenutnu funkciju.
![]() | Brojač radnih sati |
![]() | Podešavanja virtuelnog graničnika papučice |
![]() | Operater mora da sedne na sedište. |
![]() | Parkirna kočnica je aktivirana. |
![]() | Temperatura rashladne tečnosti motora (°C ili °F) |
![]() | Vuča ili papučica gasa |
![]() | Tempomat je aktiviran. |
![]() | Zahtev za regeneraciju radi resetovanja |
| Zahtev za regeneraciju kod parkirane mašine ili radi oporavka | |
![]() | Regeneracija kod parkirane mašine ili radi oporavka je u toku. |
![]() | Visoke temperature izduvnih gasova |
![]() | Neispravnost kod dijagnostike za kontrolu azotnih oksida; odvezite mašinu nazad u prodavnicu i obratite se ovlašćenom distributeru kompanije Toro (verzija softvera U i kasnije). |
![]() | Priključno vratilo (PTO) je deaktivirano. |
![]() | PTO je uključen. |
![]() | Akumulator |
![]() | Upozorenje |
![]() | Aktivno |
![]() | Neaktivno |
![]() | Prethodno |
![]() | Sledeće |
![]() | Povećavanje |
![]() | Smanjivanje |
![]() | Prethodni ekran |
![]() | Sledeći ekran |
![]() | Povećavanje vrednosti |
![]() | Smanjivanje vrednosti |
![]() | Meni |
![]() | Pomeranje nagore/nadole |
![]() | Pomeranje ulevo/udesno |
![]() | Temperatura hidraulične tečnosti (°C ili °F) |
![]() | Brzo ili veliki domet (transport) |
![]() | Sporo ili mali domet (košenje) |
![]() | Ventilator (obrtanje ventilatora) |
![]() | Sve jedinice za sečenje u gornjem položaju |
![]() | Sve jedinice za sečenje u donjem položaju |
![]() | Centralne jedinice za sečenje u gornjem položaju |
![]() | Centralne jedinice za sečenje u donjem položaju |
![]() | Leve jedinice za sečenje u gornjem položaju |
![]() | Leve jedinice za sečenje u donjem položaju |
![]() | Desne jedinice za sečenje u gornjem položaju |
![]() | Desne jedinice za sečenje u donjem položaju |
![]() | Blokirano |
Može
se pristupiti samo unosom PIN kôda
Da biste pristupili sistemu InfoCenter menija, pritisnite dugme za pristup meniju dok ste na glavnom ekranu. To vas dovodi do glavnog menija. Pogledajte sledeće tabele za kratak pregled opcija koje su na raspolaganju u menijima:
| Glavni meni – stavka menija | Opis |
| Faults (Greške) | Meni Faults (greške) sadrži spisak skorašnjih grešaka kod mašine. Pogledajte Priručnik za servisiranje ili se obratite ovlašćenom distributeru kompanije Toro za više informacija o meniju Faults (greške) i informacijama u njemu. |
| Service (Servis) | Meni Service (servis) sadrži informacije o mašini kao što su broj sati korišćenja, brojači i drugi slični brojevi. |
| Diagnostics (Dijagnostika) | Meni Diagnostics (dijagnostika) prikazuje stanje svakog prekidača, senzora i izlaza komandi. Ovo možete koristiti za rešavanje određenih problema pošto brzo dobijete informaciju koje komande mašine su ON (uključene), a koje su OFF (isključene). |
| Settings (Podešavanja) | Meni Settings (Podešavanja) omogućava da prilagođavate i menjate promenljive konfiguracije na displeju. |
| Machine Settings (Podešavanja mašine) | Meni Machine Settings (Podešavanja mašine) omogućava da podesite pragove za ubrzanje, brzinu i kontrateg. |
| About (O proizvodu) | Meni About (o proizvodu) navodi broj modela, serijski broj i verziju softvera vaše mašine. |
| Service (servis) – stavka menija | Opis |
| Hours (sati) | Navodi se koliko su ukupno sati mašina, motor i PTO uključeni, kao i koliko sati je mašina transportovana, i kada je potreban sledeći servis.. |
| Counts (brojač) | Navode se razna brojanja koje je mašina izvršila. |
Papučica gasa![]() | |
Vučna pumpa![]() | |
| Ventilator | Pokazuje da li je ventilator aktivan u sledećim slučajevima: visoka temperatura motora, visoka temperatura ulja, visoka temperatura motora ili hidraulike i ventilator uključen |
| Brzina potrošnje goriva | Prikazuje brzinu potrošnje goriva. |
| DPF Regeneration (DPF regeneracija) | Pod-meniji za opcije regeneracije filtera dizel čestica i rad DPF |
| Diagnostics (dijagnostika) – stavka menija | Opis |
| Left Cutting Unit | Pogledajte Priručnik za servisiranje ili se obratite ovlašćenom distributeru kompanije Toro za više informacija o meniju Engine Run i informacijama u njemu. |
| Center Cutting Unit | |
| Right Cutting Unit | |
| Traction | |
| HI/LO Range | |
| PTO | |
| Engine | |
CAN Statistics (CAN statistika)![]() |
| Settings (podešavanja) – stavka menija | Opis |
| Enter PIN (Unos PIN koda) | Omogućava osobi (nadzorniku/mehaničaru) koju je vaša kompanija ovlastila da pomoću PIN koda pristupi zaštićenim menijima. |
| Backlight (Pozadinsko osvetljenje) | Kontrola osvetljenosti LCD displeja. |
| Language (Jezik) | Služi za izbor jezika koji se koristi u sistemu InfoCenter*. |
| Font Size (Veličina fonta) | Kontrola veličine fonta na displeju. |
| Units (jedinice) | Služi za izbor jedinica koje se koriste za InfoCenter (engleske ili metričke). |
Protected Menus (zaštićeni meniji)![]() | Omogućava osobi koju je vaša kompanija ovlastila da pomoću PIN kôda pristupi zaštićenim menijima |
Protect Settings (zaštita podešavanja)![]() | Pruža mogućnost promene podešavanja u zaštićenim podešavanjima. |
Note: Meni Machine Settings (Podešavanja mašine) prikazuje se samo nakon unosa PIN koda.
Machine Settings (Podešavanja mašine)
– stavka menija![]() | Opis |
Mow Speed (brzina košenja) ![]() | Služi za kontrolu maksimalne brzine prilikom košenja (niski opseg) |
Trans. Speed (brzina transporta) ![]() | Služi za kontrolu maksimalne brzine prilikom transporta (visoki opseg) |
Smart Power (pametno upravljanje snagom) ![]() | Služi za uključivanje i isključivanje funkcije Smart Power (pametno upravljanje snagom) |
Counterbalance (protivteža) ![]() | Služi za kontrolu količine protivteže koju primenjuju jedinice za sečenje |
Turnaround (režim za okretanje) ![]() | Služi za uključivanje i isključivanje funkcije Turnaround (režim za okretanje) |
Acceleration (ubrzavanje) ![]() | Podešavanja Low (nisko), Medium (srednje) i High (visoko) služe za kontrolu koliko brzo se brzina kretanja menja kad pritisnete papučicu gasa. |
Zaštićeno
pod Protected Menus (zaštićeni meniji) – može
se pristupiti samo unosom PIN kôda
| About (o proizvodu) – stavka menija | Opis |
| Model | Navodi se broj modela mašine. |
| SN (serijski broj) | Navodi se serijski broj mašine. |
| Machine Controller Revision (revizija kontrolera mašine) | Navodi se revizija softvera za glavni kontroler. |
| S/W Revision (Revizija softvera) | Navodi se revizija softvera primarnog kontrolera. |
InfoCenter Revision (Revizija sistema InfoCenter)![]() | Navodi se revizija softvera za InfoCenter |
Secondary software (Sekundarni softver)![]() | Prikazuje broj dela i reviziju kontrolera jedinice za sečenje za model Groundsmaster 4700. |
| Faza V | Prikazuje da“ ili ne“ u zavisnosti od motora. |
Postoje podešavanja radne konfiguracije koja se mogu podesiti u meniju SETTINGS (PODEšAVANJA) u sistemu InfoCenter.Da biste zaključali ta podešavanja, koristite PROTECTED MENU (Zaštićeni meni).
Note: U trenutku isporuke imate inicijalni kôd-lozinku koju je isprogramirao vaš distributer.
Note: Fabrički podešen PIN kôd za vašu mašinu je ili 0000 ili 1234.Ako ste promenili PIN kôd i zaboravili ga, obratite se ovlašćenom distributeru kompanije Toro za pomoć.
Iz menija MAIN MENU (Glavni meni), listajte nadole do menija SETTINGS (Podešavanja) i pritisnite dugme za izbor (Слика 25).

U meniju SETTINGS (Podešavanja) pronađite opciju ENTER PIN (Unesite PIN) i pritisnite dugme za izbor (Слика 26A).

Da biste uneli PIN kôd, pritisnite dugme za navigaciju nagore/nadole dok se ne pojavi tačna prva cifra, a zatim pritisnite desno dugme za navigaciju da pređete na sledeću cifru (Слика 26B i Слика 26C). Ponavljajte ovaj korak dok ne unesete poslednju cifru.
Pritisnite dugme za izbor.
Note: Ako displej prihvati PIN kôd i zaštićeni meni se otključa, reč PIN“ se prikazuje u gornjem desnom uglu ekrana.
Da biste zaključali zaštićeni meni, okrenite prekidač kontakta u položaj OFF (isključeno), a zatim u položaj ON (uključeno).
U meniju SETTINGS (Podešavanja), pronađite opciju PROTECT SETTINGS (Zaštita podešavanja).
Da biste pregledali i menjali podešavanja bez
unošenja PIN kôda, pomoću dugmeta za izbor promenite PROTECT SETTINGS (Zaštita podešavanja)
na
(isključeno).
Da biste pregledali i menjali podešavanja uz
unošenje PIN kôda, pomoću dugmeta za izbor promenite PROTECT SETTINGS (Zaštita podešavanja)
na
(uključeno),
podesite PIN kôd, pa okrenite ključ u prekidaču
za paljenje u položaj OFF (Isključeno)
a zatim u položaj ON (Uključeno).
Tajmer vremena do servisa resetuje sate vremena do servisa nakon obavljanja zakazanog postupka održavanja.
U meniju SETTINGS (Podešavanja) pronađite opciju ENTER PIN (Unesite PIN) i pritisnite dugme za izbor.
Unesite PIN; pogledajte odeljak Pristupanje zaštićenim menijima“.
U menijuSERVICE (Servis) pronađite opciju HOURS (Sati) i pritisnite dugme za izbor.
Pronađite opciju SERVICE DUE (Vreme do servisa).
Note: Ako je došlo vreme za servis, prikazuje se NOW (Sada) pored opcije SERVICE DUE (Vreme do servisa).
Obeležite interval servisa i pritisnite dugme za izbor.
Note: Interval servisa (250 sati, 500 sati itd.) nalazi se pored opcije SERVICE DUE (Vreme do servisa).Interval servisa je stavka zaštićenog menija.
Kada se pojavi ekran RESET SERVICE TIMER? (Resetovanje tajmera za servis?), pritisnite dugme za izbor za odgovor YES (Da) ili dugme za povratak za odgovor NO (Ne).
Kada izaberete odgovor YES (Da), interval na ekranu se briše i vraća na izbor sati servisa.
Odabrano podešavanje se prikazuje kao X na stubičastom grafikonu brzine kretanja zajedno sa podešavanjima za tempomat i graničnik papučice. X u stubiću označava da je supervizor ograničio maksimalnu brzinu (Слика 31).
Note: Ovo podešavanje se čuva u memoriji i primenjuje na brzinu kretanja dok ga ne promenite.
U MACHINE SETTINGS (PODEšAVANJA MAšINE, listajte nadole do menija MOW SPEED (BRZINA KOšENJA).
Koristite levo i desno dugme za navigaciju da biste povećali maksimalnu brzinu košenja u koracima od 5% na glavnom ekranu i koracima od 10% u meniju MACHINE SETTINGS (Podešavanja mašine). Opseg za glavni ekran je od 10 do 100%, a opseg MACHINE SETTINGS (Podešavanja mašine) je od 30 do 100%.
Odabrano podešavanje se prikazuje kao X na stubičastom grafikonu brzine kretanja zajedno sa podešavanjima za tempomat i graničnik papučice. X u stubiću označava da je supervizor ograničio maksimalnu brzinu (Слика 31).
Note: Ovo podešavanje se čuva u memoriji i primenjuje na brzinu kretanja dok ga ne promenite.
U MACHINE SETTINGS (PODEšAVANJA MAšINE, listajte nadole do menija TRANSPORT SPEED (Brzina transporta).
Koristite levo i desno dugme za navigaciju da biste povećali maksimalnu brzinu košenja u koracima od 5% na glavnom ekranu i koracima od 10% u meniju MACHINE SETTINGS (Podešavanja mašine). Opseg za glavni ekran je od 10 do 100%, a opseg MACHINE SETTINGS (Podešavanja mašine) je od 30 do 100%.
U meniju SETTINGS (Podešavanja) pronađite opciju SMART POWER (Pametno upravljanje snagom).
Pritisnite desno dugme za navigaciju da biste prešli sa opcije ON (Uključeno) na opciju OFF (Isključeno) i obrnuto.
U meniju MACHINE SETTINGS (Podešavanja mašine) pronađite opciju COUNTERBALANCE (Protivteža).
Pritisnite desno dugme za navigaciju da biste izabrali Counterbalance (Protivteža) i da birate između podešavanja LOW (Niska), MEDIUM (Srednja) i HIGH (Visoka).
U meniju MACHINE SETTINGS (Podešavanja mašine) pronađite opciju ACCELERATION (Ubrzanje).
Pritisnite desno dugme za navigaciju da biste prelazili iz jedne od opcija LOW (Nisko), MEDIUM (Srednje) i HIGH (Visoko) u drugu.
U meniju SETTINGS (Podešavanja) pronađite opciju TURNAROUND (Režim za okretanje).
Pritisnite desno dugme da birate između ON (Uključeno) i OFF (Isključeno).
Note: Ako vam je tako pogodnije, možda ćete odlučiti da izvršite regeneraciju kod parkirane mašine pre nego što količina čađi dostigne 100%, pod uslovom da je motor radio više od 50 sati od poslednje uspešne regeneracije radi resetovanja, regeneracije kod parkiranog vozila ili regeneracije radi oporavka.
Koristite meni Technician (Tehničare) da biste videli aktuelno stanje kontrole regeneracije motora i aktuelnu količinu čađi.
U meniju SETTINGS (Podešavanja), pronađite opciju DPF RENGERATION (DPF regeneracija) i pritisnite dugme za izbor.
U meniju DPF RENGERATION (DPF regeneracija) pronađite opciju TECHNICIAN (Tehničar) i pritisnite dugme za izbor.


Trepćuće crveno svetlo – aktivna greška
Stalno crveno svetlo – aktivno obaveštenje
Stalno plavo svetlo – kalibracija / poruke dijaloga
Stalno zeleno svetlo – normalan rad
Ova mašina prikazuje procenjene brzine vuče u procentima.
Brzina se prikazuje između 10 i 100% za ekrane tempomata i virtuelnog graničnika papučice, a u meniju MACHINE SETTINGS (Podešavanja mašine) prikazuje se između 30 i 100%.
Prilikom pokretanja mašine po hladnom vremenu, režim zagrevanja ograničava brzinu motora na prazan hod niske brzine na kraći period nakon pokretanja motora, sprečavajući potencijalno oštećenje komponenti prilikom rada mašine sa hladnim uljem.
Ikona snežne pahulje
na ekranu sistema InfoCenter označava
kada je režim zagrevanja aktivan. Nemojte da koristite mašinu
dok se režim zagrevanja ne završi.
Vlasnik/operater može da spreči i odgovoran je za nezgode koje mogu dovesti do telesne povrede ili oštećenja imovine.
Nosite odgovarajuću odeću, uključujući zaštitu za oči; dugačke pantalone; izdržljivu neklizajuću obuću; i zaštitu za uši. Vežite dugu kosu i nemojte nositi široku odeću ili labavi nakit.
Nemojte da rukujete mašinom kada ste bolesni, umorni ili pod uticajem alkohola ili opijata.
Usredsredite svu pažnju dok upravljate mašinom. Nemojte se baviti aktivnostima koje odvlače pažnju; u suprotnom može doći do povrede ili materijalne štete.
Pre neko što pokrenete motor, proverite da su svi pogoni u neutralnom položaju, da je parkirna kočnica aktivirana i da ste vi u položaju operatera.
Nemojte prevoziti putnike na mašini i vodite računa da posmatrači i deca budu van radnog prostora.
Rukujte mašinom samo u uslovima dobre vidljivosti kako biste izbegli rupe i skrivene opasnosti.
Izbegavajte košenje na mokroj travi. Slabije prianjanje bi moglo da izazove proklizavanje mašine.
Držite šake i stopala podalje od rotirajućih delova. Držite se podalje od otvora za pražnjenje.
Pogledajte nazad i dole pre kretanja unazad da biste se uverili da je put slobodan.
Budite pažljivi kada prilazite slepim uglovima, žbunju, drveću ili drugim predmetima koji mogu da vam zaklone pogled.
Zaustavite sečiva kad god ne kosite.
Zaustavite mašinu, uklonite ključ i sačekajte da se svi pokretni delovi zaustave pre nego što pregledate priključak nakon udara u neki predmet ili ako u mašini postoje neuobičajene vibracija. Obavite sve potrebne popravke pre nego što nastavite sa radom.
Usporite i budite oprezni prilikom okretanja mašine i prelaska puteva i trotoara. Uvek prepustite prvenstvo prolaza.
Deaktivirajte pogon jedinice za sečenje, isključite motor, uklonite ključ i sačekajte da se svako kretanje zaustavi pre nego podešavate visinu košenja (osim u slučaju da je možete podesiti iz položaja operatera).
Motor pokrećite samo u dobro provetrenom prostoru. Izduvni gasovi sadrže ugljen-monoksid, koji je smrtonosan ako se udiše.
Nikada ne ostavljajte bez nadzora mašinu koja radi.
Pre nego što napustite položaj operatera, uradite sledeće:
Parkirajte mašinu na ravnoj površini.
Deaktivirajte priključno vratilo i spustite priključke.
Aktivirajte parkirnu kočnicu.
Isključite motor i uklonite ključ.
Sačekajte da se svi pokreti zaustave.
Rukujte mašinom samo u uslovima dobre vidljivosti. Nemojte koristiti mašinu kada postoji opasnost od grmljavine.
Nemojte koristiti mašinu kao vozilo za vuču.
Koristite samo dodatnu opremu, priključke i zamenske delove koje je odobrila kompanija Toro.
Tempomat (ako je deo opreme) koristite samo kada mašinu koristite na otvorenom, ravnom terenu bez prepreka i gde mašina može da se kreće konstantnom brzinom bez prekida.
ROPS je delotvoran sigurnosni uređaj i sastavni deo mašine.
Nemojte ukloniti nijedan deo ROPS sistema sa mašine.
Proverite da je sigurnosni pojas pričvršćen za mašinu.
Povucite pojas preko krila i ukopčajte ga u kopču sa druge strane sedišta.
Da iskopčate sigurnosni pojas, držite pojas, pritisnite dugme kopče da ga otpustite, pa usmerite pojas da se vrati na mesto. Proverite da možete brzo da otpustite pojas u hitnoj situaciji.
Pažljivo proverite da li postoje prepreke nad glavom i nemojte ih zakačiti.
Održavajte ROPS sistem u bezbednom radnom stanju tako što ćete ga periodično temeljno pregledati za oštećenja i paziti da svi pričvršćivači za montiranje uvek budu zategnuti.
Zamenite oštećene delove ROPS sistema. Nemojte ih popravljati niti prepravljati.
Kabina koju je montirala kompanija Toro je rol-bar.
Uvek vezujte sigurnosni pojas.
Sklopivi rol-bar držite u podignutom i zaključanom položaju i vezujte sigurnosni pojas kada rukujete mašinom sa rol-barom u podignutom položaju.
Privremeno spustite sklopivi rol-bar samo kad je to neophodno. Nemojte nositi sigurnosni pojas kada je rol-bar sklopljen.
Imajte na umu da ne postoji zaštita pri prevrtanju kada je sklopivi rol-bar u spuštenom položaju.
Proverite prostor koji ćete kositi i nikada nemojte sklapati sklopivi rol-bar na prostorima gde postoje nagibi, strmine ili voda.
Nagibi su glavni faktor povezan sa gubitkom kontrole i nezgodama sa prevrtanjem, što može dovesti do teške povrede ili smrtnog ishoda. Vi ste odgovorni za bezbedno upravljanje na nagibu. Korišćenje mašine na bilo kom nagibu zahteva dodatnu pažnju.
Procenite uslove na lokaciji da biste odredili da li je nagib bezbedan za korišćenje mašine, što uključuje pregledanje lokacije. Taj pregled uvek obavite koristeći zdrav razum i dobro rasuđivanje.
Pregledajte dole navedena uputstva za nagibe za potrebe upravljanja mašinom na nagibu i da biste utvrdili da li možete da upravljate mašinom u uslovima koji vladaju tog dana i na tom mestu. Promene u terenu mogu dovesti do promene u radu mašine na nagibu.
Izbegavajte pokretanje, zaustavljanje ili okretanje mašine na nagibima. Izbegavajte nagle promene brzine ili pravca. Skrećite polako i postepeno.
Nemojte upravljati mašinom u uslovima kada je u pitanje dovedeno prianjanje, upravljanje ili stabilnost.
Uklonite ili obeležite prepreke poput jaraka, rupa, brazdi, izbočina, kamenja ili drugih skrivenih opasnosti. Visoka trava može da sakriva prepreke. Neravan teren može da prevrne mašinu.
Imajte u vidu da korišćenje mašine na mokroj travi, poprečno po nagibima ili nizbrdo može dovesti do gubitka prianjanja mašine. Gubitak prianjanja pogonskih točkova može dovesti do klizanja i gubitka mogućnosti kočenja i upravljanja.
Budite izuzetno pažljivi kada upravljate mašinom blizu strmina, jaraka, nasipa, vodenih opasnosti ili drugih opasnih mesta. Mašina bi mogla iznenada da se prevrne ako točak pređe preko ivice ili se ivica uruši. Uspostavite sigurnu zonu između mašine i svake opasnosti.
Prepoznajte opasnosti pri dnu nagiba. Ako postoje opasnosti, kosite nagib mašinom kojom rukuje pešak.
Ako je moguće, kada radite na nagibima držite jedinice za sečenje spuštene do zemlje. Podizanje jedinica za sečenje dok radite na nagibima može dovesti do toga da mašina postane nestabilna.
Budite izuzetno pažljivi sa sistemima za prikupljanje trave ili drugim priključcima. Oni mogu da promene stabilnost mašine i dovedu do gubitka kontrole.
Ova mašina ima sistem za gas sličan automobilskom, kojim se upravlja pomoću papučice gasa.
Ova mašina nema poseban prekidač ili ručicu gasa.
Kad sklonite stopalo sa papučice gasa mašina dinamički koči dok se ne zaustavi.
Komande papučice su optimizovane tako da obezbede reaktivan ali stabilan odziv, što vam omogućava da održavate postojanu kontrolu na neravnom terenu, a da pritom možete brzo, glatko da kočite.
Tokom transporta papučica gasa radi slično onoj u automobilu i menja brzinu motora i kretanja u zavisnosti od položaja papučice gasa.
Prilikom košenja brzina motora se automatski povećava na prazan hod visoke brzine.
Ako je motor u praznom hodu niske brzine, obavljanje radnje kao što je podizanje jedinica za sečenje ili pritiskanje papučice gasa automatski podiže brzinu motora na minimalnu radnu brzinu, čime se obezbeđuje dovoljno snage za efikasno obavljanje te radnje.
Ograničite vreme rada mašine u praznom hodu u skladu sa preporukama za regeneraciju filtera dizel čestica (DPF). Isključite mašinu da sprečite produženi rad u praznom hodu.
Maksimalne brzine u podešavanjima menija zaštićenog PIN kôdom podešava supervizor kako bi ograničio maksimalnu brzinu kretanja mašine.
Brzine kretanja koje se mogu ostvariti upotrebom papučice gasa, tempomata i graničnika papučice su sve ograničene maksimalnim brzinama podešenim u meniju zaštićenom PIN kôdom.
Kad pokrenete motor i temperatura hidraulične tečnosti je niska, brzina motora se automatski povećava kako bi se optimizirao rad i zagrejala mašina. Brzina motora se automatski vraća u prazan hod niske brzine kad temperatura hidraulične tečnosti dostigne normalan radni opseg.
Pod normalnim radnim uslovima predviđeno je da ova mašina radi u položaju H/L AUTO na prekidaču za opseg brzine (Слика 29). Ovaj položaj omogućava mašini da automatski prelazi iz niskog u visoki opseg brzine i obrnuto, u zavisnosti od toga da li se mašina koristi za košenje ili transportovanje.
Kad odaberete položaj za NIZAK opseg na prekidaču za opseg brzine (Слика 29), mašina će uvek raditi u niskom opsegu brzine. Ovo podešavanje je poželjno za rad u krugu prodavnice, utovar na prikolicu ili istovar sa prikolice, penjanje uz strme nagibe i bilo koji drugi rad gde više brzine kretanja iz visokog opsega brzine nisu poželjne.
Ako ima neka prepreka na putu, podignite jedinice za sečenje da pokosite oko nje.
Kada transportujete mašinu od jednog do drugog mesta rada, aktivirajte opseg AUTO HI/LOW, isključite PTO i podignite jedinice za sečenje u potpuno podignuti položaj. To omogućava papučici gasa da radi kao u automobilu.
Uvek vozite polako na neravnom terenu.
Da biste se upoznali sa funkcijama mašine, vežbajte da radite sa njom.
Podignite jedinice za sečenje, deaktivirajte parkirnu kočnicu, pritisnite papučicu gasa unapred i pažljivo se odvezite na otvoreni prostor.
Vežbajte vožnju mašine, zato što ima hidrostatički sistem prenosa i njene karakteristike se mogu razlikovati od karakteristika drugih mašina za održavanje travnjaka.
Vežbajte kretanje unapred i unazad, kao i pokretanje i zaustavljanje mašine. Da zaustavite mašinu, sklonite stopalo sa papučice gasa i pustite je da se vrati u NEUTRALNI položaj.
Note: Kada se mašinom krećete nizbrdo, možda ćete morati da koristite papučicu za kretanje unazad da biste se zaustavili.
Da biste se brzo zaustavili, sklonite stopalo sa papučice gasa i pritisnite papučice kočnice.
Vežbajte vožnju oko prepreka sa jedinicama za sečenje podignutim i spuštenim. Budite pažljivi kada vozite između uskih predmeta da ne biste oštetili mašinu ili jedinice za sečenje.
Ova mašina ima 2 opsega brzine kretanja: nizak i visok. Prekidač za opseg brzina vam omogućava da odaberete sledeće položaje (Слика 29):
Automatski visok/nizak opseg:
Odabirom položaja H/L AUTO omogućavate mašini da automatski bira između visokog i niskog opsega brzine. Položaj H/L AUTO se može uporediti sa odabirom opcije D (vožnja) u automobilu sa automatskim menjačem.
Note: Da bi se sprečilo oštećenje travnjaka, mašina će prelaziti iz niskog u visoki opseg i obrnuto samo kad je papučica gasa u NEUTRALNOM položaju a točkovi prestali da se kreću.
Note: Jedinice za sečenje se ne mogu spustiti iz položaja za transport dok vozite mašinu u visokom opsegu brzine.
Kad je odabran položaj H/L AUTO a jedinice za sečenje su spuštene radi košenja, opseg brzine je ograničen na nizak opseg.
Da dođete do visokog opsega brzine, odaberite položaj H/L AUTO na prekidaču za opseg brzine, deaktivirajte PTO i potpuno podignite jedinice za sečenje.
Kada je odabran položaj H/L AUTO, mašina će automatski prelaziti iz visokog u nizak opseg brzine kretanja u zavisnosti od položaja jedinica za sečenje i/ili položaja prekidača za PTO.
Nizak opseg:
Kada se na prekidaču odabere položaj za NIZAK opseg, mašina u svakom trenutku ostaje u niskom opsegu brzine. Položaj za NIZAK opseg se može uporediti sa odabirom opcije 2, 1 ILI L u automobilu sa automatskim menjačem.
Kada se odabere položaj za NIZAK opseg, mašina radi samo u niskom opsegu brzine.
Koristite položaj za NIZAK opseg kad utovarujete mašinu na prikolicu ili se krećete po uskom prostoru kao što je prodavnica.

Ova papučica kontroliše brzinu mašine pri kretanju unapred i unazad kao i dinamičko kočenje kad je vratite u neutralni položaj.
Papučica gasa je sistem za gas sličan automobilskom – brzina motora i brzina mašine reaguju na kretanje papučice.
Tokom transporta papučica gasa radi slično onoj u automobilu i menja brzinu motora i kretanja u zavisnosti od položaja papučice gasa.
Motor prilikom košenja automatski podiže brzinu na prazan hod visoke brzine kako bi optimizovao učinak košenja, a papučica gasa kontroliše samo brzinu kretanja.
Što više pritisnete papučicu unapred ili unazad, to će se mašina brže kretati.
Da kontrolisano i glatko zaustavite mašinu prilikom transporta ili košenja, stopalom vratite papučicu gasa u neutralni položaj brzinom kojom želite.
Da aktivirate maksimalno kočenje, sklonite stopalo sa papučice gasa i pustite je da se vrati u neutralni položaj. Mašina dinamički koči dok se ne zaustavi.
Ovakav sistem vuče vam omogućava da prilagodite podešavanja za ubrzavanje tako da odgovaraju potrebama operatera i uslovima terena. Pogledajte Razumevanje režima ubrzavanja za promenu podešavanja.

Funkcija virtuelnog graničnika papučice (VPS) vam omogućava da postavite privremena ograničenja maksimalne brzine vuče za opseg košenja i za opseg transporta.
Da biste pristupili ovoj funkciji, izaberite InfoCenter dugme za navigaciju gore ili dole iz glavnog menija (Слика 31).
Koristite VPS da prilagodite maksimalnu brzinu vuče prema vašem nivou udobnosti ili da odgovara primeni.
Ne možete da podesite ograničenje brzine VPS veće od maksimalne brzine vuče zaštićene od strane nadzornika.
VPS je privremeno podešavanje. Ova funkcija se vraća na podešavanja brzine supervizora kada se ključ prebaci u položaj OFF (isključeno).
Kada se brzina vuče promeni od strane supervizora u zaštićenim podešavanjima menija ili od strane vas kroz VPS, papučica vuče se automatski reprogramira da koristi puni hod papučice između neutralnog položaja i novog podešavanja maksimalne brzine.
Smanjenje podešavanja maksimalne brzine vuče vam omogućava da precizno kontrolišete sistem vuče.

Dok koristite VPS, privremeno smanjite maksimalnu brzinu za sledeće zadatke:
Košenje prolaska za čišćenje na ferveju.
Rad u radionici ili blizu radionice za održavanje.
Utovar mašine na prikolicu.
Note: Niža maksimalna brzina omogućava bolju kontrolu prilikom izvođenja ovih zadataka.
Important: Za hitno zaustavljanje mašine sklonite stopalo sa papučice gasa i pritisnite papučice kočnice.
Samo u niskom opsegu brzine, možete koristiti kočnice pojedinačno kod okretanja ili radi boljeg prianjanja. Kada koristite kočnice pojedinačno uradite sledeće:
Iskopčajte bravu za povezivanje papučica (Слика 32).
Za pomoć pri okretanju, pritisnite odgovarajuću papučicu kočnice na strani na koju se okrećete. To omogućava manji radijus okretanja.
Note: Pažljivo koristite pojedinačne kočnice, naročito na mekoj ili mokroj travi, jer može doći do slučajnog kidanja travnjaka.
Za pomoć kod prianjanja lagano pritisnite papučicu kočnice koja odgovara prednjem točku koji proklizava. Na primer, u nekim situacijama na nagibima dešava se da točak koji je uzbrdo proklizava i slabo prianja. Ako se to dogodi, postepeno i isprekidano pritiskajte papučicu kočnice koja je uzbrdo dok taj točak ne prestane da proklizava. Ova radnja povećava prianjanje točka koji je nizbrdo.

Prekidač tempomata aktivira tempomat koji održava željenu brzinu kretanja. Pritiskom na zadnji deo prekidača tempomat se isključuje, srednji položaj prekidača uključuje funkciju tempomata, a na prednjem delu prekidača se podešava željena brzina kretanja.
Kada je prekidač tempomata aktiviran i brzina podešena (Слика 33), pomoću sistema InfoCenter možete podešavati brzinu na koju je tempomat podešen (Слика 31 i Слика 34).
Da deaktivirate tempomat uradite sledeće:
Ako ste u visokom opsegu brzine pritisnite papučicu za kretanje unazad, pritisnite radne kočnice ili pritisnite prekidač tempomata u položaj OFF (isključeno).
Ako ste u niskom opsegu brzine, pritisnite papučicu za kretanje unazad, pritisnite radne kočnice, isključite prekidač za PTO ili pritisnite prekidač tempomata u položaj OFF (isključeno).

Podesite tempomat za velike razdaljine bez mnogo prepreka.
Na neravnom terenu upravljajte brzinom pomoću sistema InfoCenter.
Koristite tempomat za okretanje na sledeći način:
Podesite tempomat na sporiju brzinu pri kojoj možete lako i bezbedno da se okrećete.
Pritisnite papučicu gasa da povećate brzinu prilikom košenja.
Sklonite stopalo sa papučice dok se okrećete za sledeći prolaz košenja.
Mašina će usporiti na nisku brzinu na koju je tempomat podešen i moći ćete da izvedete efikasan okret pri konstantnoj brzini.
Kad se okrenete, pomoću papučice gasa ponovo povećajte brzinu mašine za sledeći prolaz košenja.
Ovo podešavanje određuje koliko brzo mašina menja brzinu kretanja i vrši usporavanje u niskom opsegu brzine. Uđite u zaštićene menije u sistemu InfoCenter da promenite režim ubrzavanja. Režim ubrzavanja ima sledeća 3 položaja:
Nizak – sporo ubrzavanje i usporavanje
Srednji – srednje ubrzavanje i usporavanje
Visok – najbrže ubrzavanje i usporavanje
Režim za okretanje vam omogućava jednostavno upravljanje pomoću jednog dodira za podizanje jedinica za sečenje iznad travnjaka uz privremeno zaustavljanje sečiva, što vam omogućava da se usredsredite na voženje mašine na kraju prolaza košenja ili dok obilazite oko prepreka.
Note: Režim za okretanje je funkcija u zaštićenim podešavanjima.
Kad je režim za okretanje podešen u položaj ON (uključeno), nakratko pritisnete prekidač za podizanje unazad (Слика 11) da automatski podignete sve jedinice za sečenje iz lebdećeg položaja na unapred podešenu visinu, uz automatsku deaktivaciju PTO. Da nastavite sa košenjem, pritisnite prekidač za podizanje unapred. Sve jedinice za sečenje se spuštaju, a PTO se ponovo aktivira.
Kad je režim za okretanje postavljen u položaj OFF (isključeno), jedinice za sečenje ručno podižete iz lebdećeg položaja pritiskanjem i držanjem svih prekidača za podizanje unazad dok se jedinice za podizanje ne podignu na željenu visinu. Za mašine Groundsmaster 4700 pritisnite sva 3 prekidača za podizanje da podignete svih 7 jedinica za sečenje (Слика 11). PTO se ne deaktivira dok se jedinice za sečenje ne podignu na istu unapred podešenu visinu na koju se jedinice za sečenje podižu kad je režim za okretanje postavljen u položaj ON (uključeno).
Note: Podrazumevano podešavanje za režim za okretanje je položaj ON (uključeno).
Sistem protivteže održava hidraulički povratni pritisak na cilindre za podizanje jedinica za sečenje. Sistem protivteže prati pritisak prianjanja u realnom vremenu i dinamički menja povratni pritisak na cilindre za podizanje radi optimizacije mogućnosti prianjanja i izgleda nakon košenja. Protivtežni pritisak je fabrički podešen na optimalnu ravnotežu između izgleda nakon košenja i mogućnosti prianjanja za većinu uslova i stanja travnjaka. Smanjenje podešene protivteže može dati stabilniju jedinicu za sečenje ali može smanjiti mogućnost prianjanja. Povećanje podešene protivteže može povećati mogućnost prianjanja, ali može dovesti do lošeg izgleda nakon košenja; pogledajte Podešavanje protivteže.
Podešavanja protivteže koja se mogu prilagođavati su sledeća:
Niska – najviše težine na jedinicama za sečenje, a najmanje težine na pogonskim točkovima
Srednja – srednja težina na jedinicama za sečenje i pogonskim točkovima
Visoka – najmanje težine na jedinicama za sečenje, a najviše težine na pogonskim točkovima mašine
Sa funkcijom Smart Power (pametno upravljanje snagom) operater ne mora da osluškuje brzinu motora u uslovima velikog opterećenja. Funkcija Smart Power sprečava zagušenje mašine u teškim uslovima košenja tako što automatski kontroliše brzinu mašine i optimizuje učinak košenja.
Note: Podrazumevano podešavanje za funkciju Smart Power je položaj ON (uključeno).
Important: Odzračite sistem za gorivo ako se desilo bilo šta od sledećeg:
Motor se isključio usled nedostatka goriva.
Obavljano je održavanje komponenti sistema za gorivo.
Sklonite stopalo sa papučice gasa i pobrinite se da papučica bude u NEUTRALNOM položaju. Proverite da je parkirna kočnica aktivirana.
Okrenite ključ u položaj za RAD. Svetleći indikator bi trebalo da zasvetli.
Kad se svetleći indikator priguši, okrenite ključ u položaj za POKRETANJE.
Important: Nemojte pokretati starter duže od 15 sekundi u jednom pokušaju zato što može doći do prevremenog kvara startera. Ako se motor ne upali nakon 15 sekundi, okrenite ključ u položaj OFF (isključeno), proverite komande i postupke, sačekajte još 15 sekundi pa ponovite postupak pokretanja.
Otpustite ključ čim se motor pokretne i pustite ga da se vrati u položaj za RAD.
Kad je temperatura ispod -7 °C, starter može da radi 30 sekundi, pa da se isključi 60 sekundi, u dva pokušaja.
Important: Isključite motor i pustite ga da se ohladi pre nego što proverite da li ima curenja ulja, labavih delova i drugih kvarova.
Important: Pustite motor da radi u praznom hodu 5 minuta pre nego što ga isključite nakon rada pod punim opterećenjem. To omogućava turbokompresoru da se ohladi pre isključivanja motora. U protivnom se može javiti prevremeno kvarenje turbokompresora.
Note: Spustite jedinice za sečenje do zemlje kad god je mašina parkirana. Time se sistem oslobađa hidrauličkog opterećenja, sprečava habanje delova sistema a takođe se sprečava i slučajno spuštanje jedinica za sečenje.
Okrenite prekidač za PTO u položaj OFF (isključeno).
Aktivirajte parkirnu kočnicu.
Okrenite ključ za paljenje u položaj OFF (isključeno).
Izvadite ključ da biste sprečili slučajno pokretanje.
Note: Košenje trave brzinom koja motoru daje opterećenje podstiče regeneraciju DPF filtera.
Deaktivirajte kočnicu, deaktivirajte PTO i podignite jedinice za sečenje.
Izaberite H/L AUTO ili NIZAK položaj na prekidaču za opseg brzine. Pogledajte odeljak Korišćenje prekidača za visok i nizak opseg brzine.
Note: Kad je odabran položaj H/L AUTO a jedinice za sečenje su podignute, mašina automatski bira visok opseg brzine.
Koristeći papučicu gasa kao u automobilu, odvezite mašinu do mesta rada.
Poravnajte mašinu izvan područja košenja za prvi prolaz košenja.
Spustite jedinice za sečenje pomoću prekidača.
Kratko pritisnite prekidač za podizanje (GM4500) ili srednji prekidač za podizanje (GM4700) unazad da podignete jedinice za sečenje u položaj za okretanje.
Note: Položaj za okretanje je dostupan samo ako se aktivira u zaštićenim menijima u sistemu InfoCenter. Kratkim pritiskanjem prekidača, bez držanja, podižu se jedinice za sečenje u položaj za okretanje i zaustavlja okretanje sečiva dok se jedinice za sečenje ne spuste.
Povucite dugme za PTO da aktivirate jedinice za sečenje.
Note: Kad spustite jedinice za sečenje i aktivirate prekidač za PTO, brzina motora se automatski povećava na prazan hod visoke brzine.
Koristeći papučicu gasa, polako priđite površini za košenje i kada prednje jedinice za sečenje budu iznad površine za košenje, spustite jedinice za sečenje pomoću prekidača.
Note: Vežbajte kako biste bili sigurni da se jedinice za sečenje ne spuštaju prerano i ne kose površinu koja nije predviđena.
Počnite sa košenjem.
Kad završite jedan prolaz košenja, kratko pritisnite prekidač za podizanje (GM4500) ili srednji prekidač za podizanje (GM4700) unazad da podignete jedinice za sečenje u položaj za okretanje.
Izvršite okret u obliku suze kako biste se brzo poravnali za sledeći prolaz.
Pritisnite prekidač za podizanje (GM4500) ili srednji prekidač za podizanje (GM4700) nadole da automatski spustite jedinice za sečenje iz položaja za okretanje i nastavite sa košenjem.
Filter dizel čestica (DPF) uklanja čađ iz izduva motora.
Proces regeneracije DPF filtera koristi toplotu iz izduva motora koja je povećana katalizatorom da bi nakupljenu čađ pretvorila u pepeo.
Da bi DPF filter ostao čist, imajte na umu sledeće:
Neka motor radi pri punoj brzini kada je to moguće da bi se podstaklo automatsko čišćenje DPF filtera.
Koristite odgovarajuće motorno ulje.
Što ređe držite motor u praznom hodu.
Koristite samo dizel gorivo sa ultraniskim sadržajem sumpora.
Imajte funkciju DPF filtera na umu dok rukujete mašinom i održavate je. Motor pod opterećenjem obično proizvodi dovoljno visoku temperaturu za DPF regeneraciju.
Important: Što ređe držite motor u praznom hodu ili rukujte mašinom pri maloj brzini motora, kako bi se što manje čađi nakupljalo na DPF filteru.
Izduvni gasovi su vreli (oko 600 °C tokom regeneracije DPF filtera. Vreli izduvni gasovi mogu da povrede vas ili druge.
Nemojte puštati motor da radi u zatvorenom prostoru.
Uverite se da nema zapaljivih materijala u blizini izduvnog sistema.
Pobrinite se da vreo izduvni gas ne dođe u dodir sa površinama koje toplota može da ošteti.
Nemojte dodirivati delove vrelog izduvnog sistema.
Nemojte stajati u blizini izduvne cevi mašine.
| Ikona | Definicija ikone |
![]() | • Ikona za regeneraciju u stanju parkiranja ili oporavka – regeneracija je zatražena. |
| • Odmah izvršite regeneraciju. | |
![]() | • Regeneracija je potvrđena i zahtev se obrađuje. |
![]() | • Regeneracija je u toku, a temperatura izduva je povišena. |
![]() | • Kvar sistema za kontrolu azotnih oksida; mašini je potrebno servisiranje. |
| Vrsta regeneracije | Uslovi koji dovode do regeneracije DPF filtera | Opis rada DPF filtera |
|---|---|---|
| Passive (pasivna regeneracija) | Dešava se tokom redovnog rada mašine pri visokoj brzini motora ili visokom opterećenju motora | • InfoCenter ne prikazuje ikonicu koja signalizira pasivnu regeneraciju. |
| • Tokom pasivne regeneracije, DPF filter obrađuje izduvne gasove visoke temperature, oksidira štetne emisije i spaljuje čađ pretvarajući ga u pepeo. | ||
| Assist (potpomognuta regeneracija) | Dešava se zbog niske brzine motora, niskog opterećenja motora ili kada računar otkrije da DPF filter postaje začepljen čađu. | • InfoCenter ne prikazuje ikonu koja ukazuje na potpomognutu regeneraciju. |
| • Tokom potpomognute regeneracije, računar motora podešava postavke motora kako bi podigao temperaturu izduvnih gasova. | ||
| Reset (regeneracija radi resetovanja) | Dešava se na svakih 100 sati | • Kada se u sistemu InfoCenter prikaže
ikonica za visoku temperaturu izduvnih gasova , to znači da je
regeneracija u toku. |
| Odvija se i ako normalan rad motora nadmaši dozvoljenu količinu nakupljanja čađi unutar filtera | ||
| • Tokom regeneracije radi resetovanja, računar motora održava povećanu brzinu motora kako bi obezbedio regeneraciju filtera. |
| Vrsta regeneracije | Uslovi koji dovode do regeneracije DPF filtera | Opis rada DPF filtera |
|---|---|---|
| Parked (Regeneracija kod parkirane mašine) | Odvija se jer računar utvrđuje da automatsko čišćenje DPF filtera nije bilo dovoljno | • Kada se prikaže ikona
za regeneraciju radi resetovanja / regeneraciju kod parkirane mašine
ili za regeneraciju radi oporavka , odnosno ako je zatražena regeneracija. |
| Odvija se i zato što pokrećete regeneraciju kod parkirane mašine | ||
| Može da se odvija jer je pokrenuta inhibicija regeneracije i onemogućila je automatsko čišćenje DPF filtera | • Što pre izvršite regeneraciju kod parkirane mašine kako biste izbegli potrebu za regeneracijom radi oporavka. | |
| Može biti uzrokovano korišćenjem pogrešnog goriva ili motornog ulja. | • Za regeneraciju kod parkirane mašine je potrebno 30 do 60 minuta. | |
| • Morate imati najmanje ¼ rezervoara goriva u rezervoaru. | ||
| • Morate parkirati mašinu da biste izvršili regeneraciju kod parkirane mašine. | ||
| Recovery (Regeneracija radi oporavka) | Do nje dolazi zato što je zanemaren zahtev za regeneraciju kod parkirane mašine, čime se omogućava kritično zapušavanje DPF filtera | • Kada se prikaže ikona za regeneraciju
radi resetovanja / regeneraciju kod parkirane mašine ili za
regeneraciju radi oporavka , odnosno ako je zatražena regeneracija
radi oporavka. |
| • Za regeneraciju radi oporavka je potrebno do 3 sata. | ||
| • Morate imati najmanje ½ rezervoara goriva u mašini. | ||
| • Morate parkirati mašinu da biste izvršili regeneraciju radi oporavka. |
Iz menija MAIN MENU (Glavni meni), listajte nadole do menija SERVICE (Servisiranje) i pritisnite dugme za izbor.
U meniju SERVICE (Servis) pronađite opciju DPF REGENERATION (DPF regeneracija) i pritisnite dugme za izbor.
Izaberite funkciju za regeneraciju koja vam je potrebna.

Otvorite meni DPF REGENERATION (DPF regeneracija) i pronađite opciju LAST REGEN (Poslednja regeneracija).
Izaberite unos LAST REGEN (Poslednja regeneracija).
Pomoću polja LAST REGEN utvrdite koliko sati je motor radio od prošle regeneracije radi resetovanja, kod parkiranog vozila ili radi oporavka.
Izaberite dugme za povratak da biste se vratili na ekran DPF REGENERATION (DPF regeneracija).

Regeneracija radi resetovanja proizvodi povišene izduvne gasove. Ako rukujete mašinom oko drveća, žbunja, visoke trave ili drugih biljaka ili materijala osetljivih na visoke temperature, možete da koristite podešavanje INHIBIT REGEN (inhibicija regeneracije) da sprečite računar motora da izvrši regeneraciju radi resetovanja.
Note: Opcija INHIBIT REGEN (Inhibicija regeneracije) se uvek koristi kada se vrši održavanje na mašini u zatvorenom prostoru.
Note: Ako podesite da InfoCenter inhibira regeneraciju, InfoCenter prikazuje obaveštenje na svakih 15 minuta dok motor zahteva regeneraciju radi resetovanja.
Important: Kada isključite motor i ponovo ga pokrenete, podešavanje za inhibiciju regeneracije podrazumevano se podešava na OFF (Isključeno).
Otvorite meni DPF REGENERATION (DPF regeneracija) i listajte do opcije INHIBIT REGEN (Inhibicija regeneracije).
Izaberite unos INHIBIT REGEN (Inhibicija regeneracije).
Promenite podešavanje za inhibiciju regeneracije iz OFF (ISKLJUčENO) u ON (UKLJUčENO).
Proverite da mašina ima dovoljno goriva u rezervoaru za vrstu regeneracije koju ćete vršiti:
Regeneracija kod parkirane mašine: Proverite da imate ¼ rezervoara goriva pre nego što vršite regeneraciju kod parkirane mašine.
Regeneracija radi oporavka: Proverite da imate ½ rezervoara goriva pre nego što vršite regeneraciju radi oporavka.
Premestite mašinu u spoljašnji prostor bez zapaljivih materijala ili predmeta koje toplota može da ošteti.
Parkirajte mašinu na ravnoj površini, postavite sve komande u položaj NEUTRAL (NEUTRALNO), deaktivirajte PTO i spustite jedinice za sečenje.
Aktivirajte parkirnu kočnicu i pustite motor da postigne malu brzinu u praznom hodu.
Kada računar motora zatraži regeneraciju kod parkirane mašine, pratite poruke na InfoCenter ekranu.
Important: Računar mašine otkazuje regeneraciju DPF filtera ako povećate brzinu motora sa praznog hoda niske brzine ili otpustite parkirnu kočnicu.
Otvorite meni DPF REGENERATION (DPF regeneracija) i listajte do opcije PARKED REGEN (Regeneracija kod parkirane mašine) ili RECOVERY REGEN (Regeneracija radi oporavka).
Izaberite unos PARKED REGEN (Regeneracija kod parkirane mašine) ili RECOVERY REGEN (Regeneracija radi oporavka).
Note: Za pokretanje regeneracije radi oporavka neophodno je da unesete tačan PIN kôd.
Na ekranu REGEN PARAMETERS (Parametri regeneracije) potvrdite da imate ¼ rezervoara goriva ako vršite regeneraciju kod parkirane mašine ili ½ rezervoara goriva ako vršite regeneraciju radi oporavka. Potvrdite da je parkirna kočnica aktivirana i da je brzina motora podešena na prazan hod male brzine. Pritisnite dugme za izbor da biste nastavili.
Na ekranu INITIATE DPF REGEN (POKRETANJE DPF REGENERACIJE) izaberite sledeće dugme da nastavite dalje.
InfoCenter prikazuje poruku INITIATE DPF REGEN (Pokretanje DPF regeneracije).
Note: Po potrebi pritisnite ikonu za otkazivanje da biste otkazali proces regeneracije.
InfoCenter prikazuje poruku o vremenu potrebnom za regeneraciju.
InfoCenter prikazuje početni ekran i pojavljuje
se ikona za potvrdu regeneracije
.
Note: Dok se vrši DPF regeneracija, na InfoCenter ekranu se
prikazuje ikona za visoku temperaturu izduvnih gasova
.
Kada računar motora završi regeneraciju kod parkirane mašine ili regeneraciju radi oporavka, InfoCenter prikazuje obaveštenje. Pritisnite bilo koje dugme da biste prešli na početni ekran.
Note: Ako regeneracija ne uspe da se završi, pratite obaveštenja i pritisnite bilo koje dugme da biste prešli na početni ekran.
Koristite podešavanje PARKED REGEN CANCEL (OTKAZIVANJE REGENERACIJE KOD PARKIRANE MAšINE) ili RECOVERY REGEN CANCEL (OTKAZIVANJE REGENERACIJE RADI OPORAVKA) da biste otkazali proces regeneracije kod parkirane mašine ili proces regeneracije radi oporavka koji je u toku.
Otvorite meni DPF REGENERATION (DPF regeneracija) i pronađite opciju PARKED REGEN (Regeneracija kod parkirane mašine) ili RECOVERY REGEN (Regeneracija radi oporavka).
Pritisnite dugme za izbor da biste otkazali regeneraciju kod parkirane mašine ili regeneraciju radi oporavka.

Ventilatorom za hlađenje motora uobičajeno upravlja mašina. Mašina ima mogućnost da obrne ventilator kako bi oduvao otpatke sa zadnje maske. Pod normalnim radnim okolnostima, mašina upravlja brzinom i smerom ventilatora na osnovu temperature rashladne i hidraulične tečnosti, a ventilator automatski obrće smer kako bi oduvao otpatke sa zadnje maske.
Možete ručno obrnuti smer pritiskanjem 2 spoljna dugmeta ili 2 unutrašnja dugmeta levo i desno za InfoCenter (Слика 38) na 2 sekunde – ventilator izvršava ručno iniciran ciklus rada u obrnutom smeru. Obrnite smer ventilatora kada je zadnja maska zapušena ili pre pomeranja mašine u radionicu ili u prostor za skladištenje.

Često menjajte obrazac košenja kako biste izbegli loš izgled nakon košenja izazvan stalnim košenjem u istom pravcu.
Pogledajte Vodič za rešavanje problema sa izgledom nakon košenja koji možete naći na www.Toro.com.
Da počnete sa košenjem, aktivirajte jedinice za sečenje, pa polako priđite površini za košenje. Kada prednje jedinice za sečenje budu iznad površine za košenje, spustite jedinice za sečenje.
Da biste postigli profesionalno pravolinijsko košenje sa prugama koje je poželjno kod nekih primena, pronađite drvo ili drugi predmet u daljini i vozite pravo prema njemu.
Čim prednje jedinice za sečenje stignu do ivice površine za košenje, podignite jedinice za sečenje i izvršite okret u obliku suze kako biste se brzo poravnali za sledeći prolaz.
Za jedinice za košenje se mogu pribaviti pregrade za malčiranje koje se pričvršćuju zavrtnjima. Pregrade za malčiranje imaju dobar učinak kad održavate travnjak prema redovnom rasporedu, da ne biste morali da uklanjate više od 25 mm izrastka u jednom košenju. Ako sečete previše izrastka kad su pregrade za malčiranje montirane, izgled nakon košenja može biti narušen, a potrebna snaga za košenje travnjaka se povećava. Pregrade za malčiranje dobro služe i u jesen za usitnjavanje opalog lišća.
Skidajte najviše oko 25 mm ili ⅓ vlati trave prilikom košenja. Možda ćete morati da izaberete veću visinu košenja na izuzetno bujnoj i gustoj travi.
Oštro sečivo seče pravilno, bez kidanja ili komadanja vlati trave kao što to čini tupo sečivo. Kidanje i komadanje dovodi do toga da trava postane smeđa na ivicama, što usporava rast i povećava osetljivost na bolesti. Proverite da je sečivo u dobrom stanju i da ima puno jedro; pogledajte Servisiranje ravni sečiva.
Proverite da su komore za sečenje u dobrom stanju. Ispravite sve iskrivljene delove komora kako biste osigurali pravilno rastojanje između vrha sečiva i komore. Da biste sprečili oštećene travnjaka ili loš izgled nakon košenja, proverite da u valjcima i okretnim zglobovima nema slobodnog hoda.
Nakon košenja detaljno operite mašinu baštenskim crevom bez mlaznice da biste izbegli kontaminaciju i oštećenje zaptivki i ležajeva zbog prevelikog pritiska vode. Pazite da prljavština ili pokošena trava ne dospeju u hladnjak ili hladnjak ulja. Nakon čišćenja pregledajte mašinu da proverite da li ima eventualnih curenja hidraulične tečnosti, oštećenja ili pohabanih hidrauličnih i mehaničkih komponenti, te proverite da li su sečiva jedinica za sečenje oštra.
Pre nego što napustite položaj operatera, zaustavite motor, uklonite ključ i sačekajte da se svi pokretni delovi zaustave. Pre podešavanja, servisiranja, čišćenja ili odlaganja mašine, sačekajte da se ohladi.
Da biste pomogli u sprečavanju požara, pobrinite se da se u jedinicama za sečenje, pogonima, izduvnim loncima, rashladnim rešetkama i odeljku motora ne nakupljaju trava i nečistoće. Očistite prosuto ulje ili gorivo.
Ako su jedinice za sečenje u položaju za transport, primenite sigurnosno mehaničko zaključavanje (ako postoji) pre nego što mašinu ostavite bez nadzora.
Neka se motor ohladi pre nego što ostavite mašinu u bilo koji zatvoreni prostor.
Uklonite ključ i isključite dovod goriva (ako je deo opreme) pre skladištenja ili transporta mašine.
Nikada nemojte skladištiti mašinu ili kanister sa gorivom na mestu na kom postoji otvoreni plamen, varnica ili pomoćni plamenik, kao na kotlu za grejanje vode ili drugim aparatima.
Sigurnosne pojaseve održavajte i čistite prema potrebi.
Koristite gurtne za skladištenje jedinica za sečenje da sprečite spuštanje prednjih spoljnih jedinica za sečenje dok je mašina parkirana preko noći ili kad se skladišti na duže. Gurtne za skladištenje jedinica za sečenje možete koristiti i da sprečite sleganje jedinica za sečenje dok se mašina transportuje sa jednog na drugo mesto koje treba kositi.

Proverite da je parkirna kočnica deaktivirana.
Parkirajte mašinu na ravnoj površini.
Aktivirajte parkirnu kočnicu.
Podignite jedinice za sečenje do kraja.
Poravnajte gurtnu sa nosećim vratilom kraka za podizanje prednje spoljašnje jedinice za košenje (Слика 40).

Navucite omču gurtne na noseće vratilo dok se gurtna ne smesti u žljeb na vratilu (Слика 40).
Ponovite korak 5 i 6 za prednju spoljašnju jedinicu za sečenje na drugoj strani mašine.
Important: Skinite gurtne sa nosećih vratila pre nego što spustite jedinice za sečenje
Note: Kad ne koristite gurtne, odložite ih na sigurno mesto.
Proverite da je parkirna kočnica deaktivirana.
Parkirajte mašinu na ravnoj površini.
Aktivirajte parkirnu kočnicu.
Sa jedinicama za sečenje spuštenim, uvucite omču gurtne u urez na ojačanju nosača valjka (Слика 41).

Koristite 2 zadnje transportne brave za jedinice za sečenje br. 6 i 7 (Слика 15) kada pomerate mašinu na velikim rastojanjima, neravnom terenu, prilikom transporta ili kada skladištite mašinu.

Uklonite ključ i isključite dovod goriva (ako je deo opreme) pre skladištenja ili transporta mašine.
Budite pažljivi prilikom utovara ili istovara mašine sa ili na prikolicu ili kamion.
Koristite rampe pune širine za utovar mašine na prikolicu ili kamion.
Čvrsto privežite mašinu.
U hitnom slučaju možete da pomerite mašinu unapred aktiviranjem funkcije zaobilaženja na hidrauličnoj pumpi promenljive radne zapremine i guranjem ili vučenjem mašine.
Important: Nemojte gurati mašinu brže od 3 do 4,8 km/h. Ako je gurate ili vučete brže, može doći do oštećenja transmisije.Odušni ventili moraju biti otvoreni kad god vučete ili gurate mašinu.
Otvorite poklopac motora i pronađite odušne ventile (Слика 43) na vrhu pumpe, iza akumulatora/spremnika.
Okrenite svaki ventil tri kruga u smeru suprotnom od smera kretanja kazaljke na satu da ga otvorite i omogućite tečnosti interno zaobilaženje.
Note: Nemojte otvoriti ventil više od tri kruga.Zbog zaobilaženja tečnosti možete da polako pomerate mašinu bez oštećivanja prenosa.


Gurajte ili vucite mašinu unapred.
Important: Ako morate da gurate ili vučete mašinu unazad, pogledajte Komplet za vučenje unazad (deo br. 136-3620).
Završite sa vučenje ili guranjem mašine i zatvorite odušne ventile. Zategnite ventil momentom od 70 N∙m.
Note: Za privezivanje mašine koristite trake odobrene od strane američkog Ministarstva za transport (DOT) na 4 ugla.
Sa obe strane rama šasije pored platforme za operatera
Na zadnjem braniku


Note: Utvrdite levu i desnu stranu mašine iz uobičajenog položaja operatera.
Important: Dodatne postupke održavanja potražite u priručniku za vlasnika motora.
Important: Ako vršite održavanje mašine i sa uključenim motorom koristite crevo za izvlačenje izduvnih gasova, postavite podešavanje za inhibiciju regeneracije u položaj ON (uključeno); pogledajte Podešavanje Inhibit Regen (inhibicija regeneracije).
Note: Preuzmite besplatni primerak električne ili hidraulične šeme tako što ćete posetiti www.Toro.com i potražiti vašu mašinu na vezi Manuals (priručnici) na početnoj strani.
Pre nego što napustite položaj operatera, uradite sledeće:
Parkirajte mašinu na ravnoj površini.
Deaktivirajte priključno vratilo i spustite priključke.
Aktivirajte parkirnu kočnicu.
Isključite motor i uklonite ključ.
Sačekajte da se svi pokreti zaustave.
Nosite odgovarajuću odeću, uključujući zaštitu za oči; dugačke pantalone i izdržljivu neklizajuću obuću. Držite šake, stopala, odeću, nakit i dugu kosu dalje od pokretnih delova.
Ako ostavite ključ u prekidaču, neko bi mogao slučajno da pokrene motor i da ozbiljno povredi vas ili nekog od posmatrača. Pre bilo kakvog održavanja, uklonite ključ iz prekidača.
Pre održavanja sačekajte da se komponente mašine ohlade.
Ako su jedinice za sečenje u položaju za transport, primenite sigurnosno mehaničko zaključavanje (ako je deo opreme) pre nego što mašinu ostavite bez nadzora.
Ako je moguće, nemojte vršiti održavanje dok motor radi. Držite se podalje od pokretnih delova.
Motor pokrećite samo u dobro provetrenom prostoru. Izduvni gasovi sadrže ugljen-monoksid, koji je smrtonosan ako se udiše.
Poduprite mašinu podupiračima kad god radite ispod nje.
Pažljivo oslobodite pritisak iz komponenti sa uskladištenom energijom.
Sve delove mašine održavajte u dobrom radnom stanju i vodite računa da svi zavrtnji budu dobro pritegnuti, naročito oni za pričvršćivanje sečiva.
Zamenite sve pohabane ili oštećene nalepnice.
Da biste obezbedili bezbedan, optimalan učinak mašine, koristite samo originalne zamenske delove kompanije Toro. Zamenski delovi drugih proizvođača mogu biti opasni i njihovo korišćenje može da poništi garanciju za proizvod.
| Интервал сервисног одржавања | Поступак одржавања |
|---|---|
| Након првог сата |
|
| Након првих 10 сати |
|
| Након првих 50 сати |
|
| Након првих 200 сати |
|
| Пре сваке употребе или свакодневно |
|
| Сваких 50 сати |
|
| Сваких 100 сати |
|
| Сваких 200 сати |
|
| Сваких 400 сати |
|
| Сваких 500 сати |
|
| Сваких 800 сати |
|
| Сваких 1.000 сати |
|
| Сваких 2.000 сати |
|
| Сваких 3.000 сати |
|
| Пре складиштења |
|
| Сваке 2 године |
|
Ako ostavite ključ u prekidaču kontakta neko bi mogao slučajno da pokrene motor i da ozbiljno povredi vas ili nekog od posmatrača.
Pre bilo kakvog održavanja uklonite ključ.
Umnožite ovu stranicu radi redovne upotrebe.
| Stavka održavanja koju treba proveriti | Za nedelju: | ||||||
|---|---|---|---|---|---|---|---|
| ponedeljak | utorak | sreda | četvrtak | petak | subota | nedelja | |
| Proverite rad bezbednosne blokade. | |||||||
| Proverite rad kočnice. | |||||||
| Proverite nivo ulja u motoru. | |||||||
| Proverite nivo tečnosti u rashladnom sistemu. | |||||||
| Ispraznite separator za vodu i gorivo. | |||||||
| Proverite filter za vazduh, čašicu za prašinu i ventil za ispuštanje vazduha. | |||||||
| Proverite da li motor proizvodi neobične zvuke.1 | |||||||
| Proverite da li na hladnjaku i rešetki ima otpadaka. | |||||||
| Proverite da li se čuju neobični zvuci pri radu. | |||||||
| Proverite nivo hidraulične tečnosti. | |||||||
| Proverite da li ima oštećenja na hidrauličnim crevima. | |||||||
| Proverite da li ima curenja tečnosti. | |||||||
| Proverite nivo goriva. | |||||||
| Proverite pritisak u pneumaticima. | |||||||
| Proverite rad instrumenata. | |||||||
| Proverite podešavanje za visinu košenja. | |||||||
| Podmažite sve mazalice.2 | |||||||
| Očistite mašinu. | |||||||
| Popravite oštećenu farbu. | |||||||
|
1Proverite grejač i mlaznice brizgaljke ako je primećeno teško pokretanje, previše dima ili neravnomeran rad. 2Odmah nakon svakog pranja, bez obzira na navedeni interval. |
|||||||
Important: Dodatne postupke održavanja potražite u priručniku za operatera za vaš motor.
| Inspekciju izvršio: | ||
| Predmet | Datum | Informacije |
Sledeće tačke koristite kao tačke oslonca kod podizanja mašine:
Prednji kraj mašine – kod rama šasije mašine, ispred pogonskih motora točkova (Слика 46)
Important: Nemojte podupirati mašinu kod pogonskih motora točkova. Držite opremu za podizanje dalje od hidrauličnih cevi i creva.

Zadnji kraj mašine – na sredini osovine (Слика 47)
Postavite podupirače preciziranog kapaciteta sa obe strane kućišta menjača i ispod osovine.
Important: Nemojte podupirati mašinu kod spone.

Nagnite poklopac motora da pristupite šasiji kako je prikazano na Слика 48.

Nagnite sedište da pristupite odeljku hidrauličnog podizača kako je prikazano na Слика 49.

| Интервал сервисног одржавања | Поступак одржавања |
|---|---|
| Сваких 50 сати |
|
Specifikacija maziva: litijumova mast br. 2
Lokacije mazalica i količine su sledeće:
Okretni ležajevi vratila kočnice (5) kako je prikazano na Слика 50

Okretne čaure zadnje osovine (2) kako je prikazano na Слика 51

Kuglični zglobovi cilindra za upravljanje (2) kako je prikazano na (Слика 52)

Kuglični zglobovi spone (2) kako je prikazano na (Слика 52)
Čaure osovinice rukavca (2) kako je prikazano na Слика 52
Important: Podmažite gornju mazalicu na osovinici rukavca najviše jednom godišnje (2 stiska).
Čaure kraka za podizanje (1 na svakoj jedinici za sečenje) kako je prikazano na Слика 53

Čaure cilindra za podizanje (2 na svakoj jedinici za sečenje) kako je prikazano na Слика 53
Ležajevi osovine vretena jedinice za sečenje (2 na svakoj jedinici za sečenje) kako je prikazano na Слика 54
Note: Možete koristiti bilo koju od mazalica, koja god je pristupačnija. Ubrizgajte mast u mazalicu dok se mala količina ne pojavi na dnu kućišta vretena (ispod jedinice za sečenje).

Čaure nosećeg kraka jedinice za sečenje (1 na svakoj jedinici za sečenje) kako je prikazano na Слика 54
Ležajevi zadnjeg valjka (2 na svakoj jedinici za sečenje) kako je prikazano na Слика 55

Important: Pazite da se kanal za podmazivanje u svakom nosaču valjka poravna sa otvorom za podmazivanje na svakom kraju vratila valjka. Da biste lakše poravnali kanal i otvor, postoji i oznaka za poravnavanje na 1 kraju vratila valjka.
Isključite motor i uklonite ključ pre nego što proveravate ulje ili dolivate ulje u kućište motora.
Nemojte menjati brzinu regulatora niti prekoračivati projektovanu brzinu motora.
| Интервал сервисног одржавања | Поступак одржавања |
|---|---|
| Сваких 400 сати |
|
Proverite da li telo čistača vazduha ima oštećenja koja bi mogla da dovedu do curenja vazduha. Zamenite ga ako je oštećen. Proverite ceo ulazni sistem da utvrdite da li ima curenja, oštećenja ili labavih stezaljki za crevo.
Servisirajte filter čistača vazduha samo kada indikator za servis (Слика 56) to zatraži. Promena filtera za vazduh pre nego što to bude potrebno samo povećava verovatnoću da prljavština uđe u motor kada menjate filter.

Important: Proverite da je poklopac pravilno nalegao i da zaptiva sa telom čistača vazduha.
Zamenite čistač vazduha (Слика 57).


Note: Nemojte čistiti korišćeni element jer čišćenje može da ošteti filterski medijum.
Important: Nikada ne pokušavajte da očistite sigurnosni filter (Слика 58). Zamenite sigurnosni filter nakon svaka 3 servisiranja primarnog filtera.

Resetujte indikator (Слика 56) ako je crven.
Koristite kvalitetno motorno ulje sa niskim sadržajem pepela koje ispunjava ili premašuje sledeće specifikacije:
API servisna kategorija CJ-4 ili viša
ACEA servisna kategorija E6
JASO servisna kategorija DH-2
Important: Korišćenje motornog ulja koje nije API CJ-4 ili više, ACEA E6 ili JASO DH-2 bi moglo da izazove začepljenje DPF filtera ili oštećenje motora.
Koristite sledeće gradacije viskoznosti motornog ulja:
Prvi izbor ulja: SAE 15W-40 (iznad -17,5°C)
Alternativno ulje: SAE 10W-30 ili 5W-30 (sve temperature)
Motorno ulje Toro Premium Engine Oil gradacije viskoznosti 15W-40 ili 10W-30 je dostupno kod ovlašćenog distributera kompanije Toro. Pogledajte Katalog delova za brojeve delova.
| Интервал сервисног одржавања | Поступак одржавања |
|---|---|
| Пре сваке употребе или свакодневно |
|
Motor se isporučuje sa uljem u kućištu motora; međutim, nivo ulja se mora proveriti pre i posle prvog pokretanja motora.
Important: Proveravajte nivo ulja svaki dan. Ako je nivo ulja iznad oznake Full (puno) na mernoj šipki, motorno ulje može biti razblaženo gorivom;Ako je nivo ulja iznad oznake Full (puno), promenite ulje u motoru.
Najbolje vreme za proveru ulja je kada je motor hladan, pre nego što je pokrenut tog dana. Ako je već bio pokrenut, pustite da se ulje ocedi nazad u taložnik ulja najmanje 10 minuta pre nego što proverite nivo. Ako je nivo ulja kod oznake Add (dosuti) na mernoj šipki ili ispod nje, dospite ulje tako da nivo ulja dođe do oznake Full (puno). Nemojte prepuniti motor uljem.
Important: Neka nivo motornog ulja bude između gornje i donje granice na mernoj šipki; motor bi mogao da se pokvari ako ga pokrećete sa previše ili premalo ulja.
Proverite nivo motornog ulja; pogledajte Слика 59.


Note: Kada koristite drugačije ulje, iscedite staro ulje iz kućišta motora pre nego što dosipate novo.
Oko 5,7 l sa filterom.
| Интервал сервисног одржавања | Поступак одржавања |
|---|---|
| Сваких 500 сати |
|
Note: Da resetujete indikator vremena do servisa u sistemu InfoCenter, pogledajte Podešavanje tajmera vremena do servisa.
Pokrenite motor i pustite ga da radi 5 minuta da bi se ulje zagrejalo.
Parkirajte mašinu na ravnoj površini, aktivirajte parkirnu kočnicu, isključite motor i uklonite ključ.
Zamenite motorno ulje i filter (Слика 60).


Dodajte ulje u kućište motora; pogledajteKapacitet ulja u kućištu motora i Provera nivoa motornog ulja.
| Интервал сервисног одржавања | Поступак одржавања |
|---|---|
| Сваких 3.000 сати |
|
U odeljku Motor“ priručnika za servisiranje potražite informacije o rasklapanju i sklapanju katalizatora oksidacije dizela i filtera čađi DPF filtera.
Obratite se ovlašćenom distributeru kompanije Toro radi zamenskih delova ili servisiranja katalizatora oksidacije dizela i filtera čađi.
Obratite se ovlašćenom distributeru kompanije Toro da vam resetuje upravljačku jedinicu motora (ECU) kada ugradite čist DPF filter.
Gorivo i isparenja od goriva su pod određenim uslovima izuzetno zapaljivi i eksplozivni. Požar ili eksplozija goriva može da izazove opekotine kod vas i drugih osoba, kao i materijalnu štetu.
Pomoću levka punite rezervoar za gorivo napolju, na otvorenom prostoru, kada je motor isključen i hladan. Obrišite gorivo koje se prospe.
Nemojte da punite rezervoar za gorivo do vrha. Sipajte gorivo u rezervoar dok nivo ne bude 6 do 13 mm ispod dna grla za punjenje. Taj prazan prostor u rezervoaru omogućava širenje goriva.
Nikada nemojte pušiti prilikom rukovanja gorivom i udaljite se od otvorenog plamena i mesta gde varnica može da zapali isparenja od goriva.
Gorivo držite u čistom, bezbednosno odobrenom kanistru sa zatvorenim čepom.
| Интервал сервисног одржавања | Поступак одржавања |
|---|---|
| Сваких 800 сати |
|
| Пре складиштења |
|
Osim u navedenim servisnim intervalima, ispraznite i očistite rezervoar ako sistem za gorivo postane zaprljan ili ako ćete skladištiti mašinu na duži vremenski period. Upotrebite čisto gorivo da biste isprali rezervoar.
| Интервал сервисног одржавања | Поступак одржавања |
|---|---|
| Сваких 400 сати |
|
Pregledajte da li su cevovodi dotrajali, oštećeni ili su im spojevi labavi.

| Интервал сервисног одржавања | Поступак одржавања |
|---|---|
| Пре сваке употребе или свакодневно |
|
Ispraznite vodu iz separatora za gorivo i vodu kako je prikazano na (Слика 62).

| Интервал сервисног одржавања | Поступак одржавања |
|---|---|
| Сваких 400 сати |
|
Zamenite kanister filtera za gorivo kako je prikazano na Слика 63.

| Интервал сервисног одржавања | Поступак одржавања |
|---|---|
| Сваких 400 сати |
|
Očistite prostor oko glave filtera za gorivo (Слика 64).

Skinite filter i očistite površinu za montažu glave filtera (Слика 64).
Podmažite zaptivač filtera čistim motornim uljem za podmazivanje; dodatne informacije potražite u priručniku za vlasnika motora.
Montirajte suvi kanister filtera rukom, dok zaptivač ne dođe u kontakt sa glavom filtera, a zatim ga okrenite još za ½ kruga.
Obavite pripremno punjenje filtera i vodova do pumpe visokog pritiska; pogledajte Pripremno punjenje sistema za gorivo.
Pokrenite motor i ponovo proverite da li curi oko glave filtera.
Cev za uzimanje goriva, koja se nalazi u rezervoaru za gorivo, opremljena je mrežicom koja sprečava da otpaci ulaze u sistem za gorivo. Po potrebi izvadite cev za uzimanje goriva i očistite mrežicu.
Skinite stezaljku koja pričvršćuje crevo za dovod goriva za priključak cevi za uzimanje goriva (Слика 65).

Odvojite crevo od priključka (Слика 65).
Izvadite cev za uzimanje goriva iz rezervoara za gorivo (Слика 65).
Note: Izvadite cev pravo iz čaure u rezervoaru.
Očistite otpatke sa mrežice na kraju cevi za uzimanje goriva (Слика 65).
Uvucite cev za uzimanje goriva kroz gumenu čauru u rezervoar (Слика 65).
Note: Pazite da cev za uzimanje goriva u potpunosti nalegne u gumenu čauru.
Montirajte crevo za dovod na priključak cevi za uzimanje goriva, pa pričvrstite crevo stezaljkom koju ste skinuli u koraku 1.
Obavite pripremno punjenje sistema za gorivo pre nego što prvi put pokrenete motor, nakon što ostanete bez goriva ili nakon održavanja sistema za gorivo (npr. pražnjenja separatora za gorivo i vodu, zamene creva za gorivo).
Za pripremno punjenje sistema za gorivo obavite sledeće korake:
Proverite da u rezervoaru ima goriva.
Obavite sledeće korake za pripremno punjenje filtera i vodova do pumpe visokog pritiska kako biste sprečili habanje ili oštećenje pumpe:
Okrenite ključ u položaj ON (uključeno) na 15 do 20 sekundi.
Okrenite ključ u položaj OFF (isključeno) na 30 do 40 sekundi.
Note: To omogućava prestanak napajanja upravljačke jedinice motora (ECU).
Okrenite ključ u položaj ON (uključeno) na 15 do 20 sekundi.
Pregledajte da li negde curi oko filtera i creva.
Important: Nemojte koristiti starter motora za pokretanje motora radi pripremnog punjenja sistema za gorivo.
Pre popravljanja mašine odvojite akumulator. Prvo odvojite negativni terminal, pa zatim pozitivni. Prvo povežite pozitivni terminal, pa zatim negativni.
Akumulator punite na otvorenom, dobro provetrenom prostoru, dalje od varnica i plamena. Pre priključivanja ili isključivanja akumulatora, iskopčajte punjač. Nosite zaštitnu odeću i koristite izolovane alate.
| Интервал сервисног одржавања | Поступак одржавања |
|---|---|
| Сваких 50 сати |
|
Important: Pre zavarivanja na mašini, iskopčajte negativni kabl sa akumulatora da biste sprečili oštećenje električnog sistema. Takođe morate da iskopčate kontrolere za motor, InfoCenter i mašinu pre zavarivanja na mašini.
Note: Održavajte terminale i celo kućište akumulatora čistim jer se prljav akumulator sporo prazni. Da biste očistili akumulator, operite celo kućište rastvorom sode bikarbone i vode. Isperite čistom vodom. Premažite stubove akumulatora i konektore kabla Grafo 112X (skin-over) mazivom (Toro br. dela 505-47) ili vazelinom kako biste sprečili koroziju.
Olabavite bravu poklopca desnog spremnika i podignite poklopac (Слика 68).
Elektroliti u akumulatoru sadrže sumpornu kiselinu koja je smrtonosna ako se konzumira i izaziva teške opekotine.
Nemojte da progutate elektrolit i izbegavajte kontakt sa kožom, očima ili odećom. Nosite zaštitne naočare za zaštitu očiju i gumene rukavice za zaštitu ruku.
Punite akumulator na mestu gde je uvek dostupna čista voda za ispiranje kože.
Skinite gumeni poklopac sa pozitivnog terminala i pregledajte akumulator.
Skinite negativni kabl (crni) sa negativnog (-) terminala i pozitivni kabl (crveni) sa pozitivnog (+) terminala akumulatora (Слика 66).
Nepravilno sprovođenje kablova akumulatora može dovesti do oštećenja mašine i kablova i izazvati varničenje. Varnice mogu dovesti do eksplozije gasova iz akumulatora, a time i do telesne povrede.
Uvek odspojite negativni (crni) kabl akumulatora pre nego što odspojite pozitivni (crveni) kabl.
Uvek spojite pozitivni (crveni) kabl akumulatora pre nego što spojite negativni (crni) kabl.
Može doći do kratkog spoja terminala akumulatora ili metalnih alata sa metalnim komponentama i pojave varnica. Varnice mogu dovesti do eksplozije gasova iz akumulatora, a time i do telesne povrede.
Pri uklanjanju ili postavljanju akumulatora, vodite računa da terminali akumulatora ne dodirnu metalne delove mašine.
Vodite računa da ne dođe do kratkog spoja između terminala akumulatora i metalnih delova mašine.

Povežite punjač od 3 A do 4 A sa stubićima akumulatora. Akumulator punite 4 do 8 sati na 3 A do 4 A.
Punjenje akumulatora proizvodi gasove koji mogu da eksplodiraju.
Nemojte nikada pušiti u blizini akumulatora i držite ga dalje od varnica i plamena.
Kada se akumulator napuni, isključite punjač iz električne utičnice i odvojite ga sa stubića akumulatora.
Postavite pozitivni kabl (crveni) na pozitivni (+) terminal i negativni kabl (crni) na negativni (-) terminal akumulatora (Слика 66).
Pričvrstite kablove za stubiće pomoću zavrtanja i navrtki.
Note: Pazite da je pozitivni (+) terminal postavljen do kraja na stubić i da je kabl postavljen tako da prianja uz akumulator. Kabl ne sme da dodiruje poklopac akumulatora.
Premažite oba priključka akumulatora Grafo 112X (skin-over) mazivom, deo br. 505-47, vazelinom ili laganom mašću kako biste sprečili koroziju.
Navucite gumeni poklopac preko pozitivnog terminala.
Zatvorite panel konzole i pričvrstite bravu.
Blok osigurača za mašinu se nalazi u desnom spremniku


| Интервал сервисног одржавања | Поступак одржавања |
|---|---|
| Сваких 400 сати |
|
Ne bi trebalo da bude aksijalnog hoda u planetarnim pogonima/pogonskim točkovima (tj. točkovi ne treba da se pomeraju kad ih vučete ili gurate u smeru paralelnom sa osom).
Parkirajte mašinu na ravnoj površini, aktivirajte parkirnu kočnicu, spustite jedinice za sečenje, isključite motor i uklonite ključ.
Poduprite zadnje točkove i podignite prednji kraj mašine, pa postavite podupirače pod prednju osovinu/ram.
Mašina na dizalici može biti nestabilna i skliznuti sa dizalice, te povrediti osobu koja se nalazi ispod nje.
Ne pokrećite motor dok je mašina na dizalici.
Uvek uklonite ključ iz prekidača pre nego što siđete sa mašine.
Blokirajte točkove kad podižete mašinu pomoću dizalice.
Poduprite mašinu podupiračima.
Uhvatite jedan prednji pogonski točak i gurnite/povucite ga prema mašini i od nje, i obratite pažnju da li se pokreće.

Ponovite korak 3 za drugi pogonski točak.
Ako se ijedan od točkova pomera, obratite se ovlašćenom distributeru kompanije Toro za generalnu opravku planetarnog pogona.
| Интервал сервисног одржавања | Поступак одржавања |
|---|---|
| Сваких 400 сати |
|
Specifikacija maziva: kvalitetno mazivo za zupčanike SAE 85W-140
Parkirajte mašinu na ravnoj površini i postavite točak tako da čep za punjenje bude u položaju 12 sati na časovniku, čep za proveru u položaju 3 sata, a čep za drenažu u položaju 6 sati (Слика 72).

Skinite čep za proveru koji se nalazi u položaju 3 sata (Слика 72).
Nivo ulja treba da bude na dnu otvora za čep za proveru.

Ako je nivo ulja nizak, skinite čep za punjenje koji se nalazi u položaju 12 sati i sipajte ulje dok ne počne da ističe iz otvora u položaju 3 sata.
Proverite da li na O-prstenu čep(ov)a ima znakova habanja ili oštećenja.
Note: Po potrebi zamenite O-prsten(e).
Postavite čep(ove).
Ponovite korake od 1 do 5 na sklopu planetarnih zupčanika sa druge strane mašine.
| Интервал сервисног одржавања | Поступак одржавања |
|---|---|
| Након првих 50 сати |
|
| Сваких 800 сати |
|
Specifikacija maziva: kvalitetno mazivo za zupčanike SAE 85W-140
Kapacitet maziva kućišta planetarnog pogona i kočnice: 0,65 l
Parkirajte mašinu na ravnoj površini i postavite točak tako da čep za punjenje bude u položaju 12 sati na časovniku, čep za proveru u položaju 3 sata, a čep za drenažu u položaju 6 sati; pogledajte Слика 72 u Provera maziva planetarnog zupčastog pogona.
Skinite čep za punjenje koji se nalazi u položaju 12 sati i čep za proveru koji se nalazi u položaju 3 sata (Слика 74).

Postavite posudu za istakanje ispod glavčine planetarnog pogona, skinite čep za drenažu koji se nalazi u položaju 6 sati i pustite ulje da istekne do kraja (Слика 74).
Proverite da li na O-prstenima čepova za punjenje, proveru i drenažu ima znakova habanja ili oštećenja.
Note: Po potrebi zamenite O-prsten(e).
Postavite čep za drenažu u drenažni otvor kućišta planetarnog pogona (Слика 74).
Postavite posudu za istakanje ispod kućišta kočnice, skinite čep za drenažu i pustite ulje da istekne do kraja (Слика 75).

Proverite da li na O-prstenu čepa ima znakova habanja ili oštećenja i postavite čep za drenažu u kućište kočnice.
Note: Po potrebi zamenite O-prsten.
Kroz otvor za čep za punjenje polako sipajte u planetarni pogon 0,65 l kvalitetnog maziva za zupčanike SAE 85W-140 wt.
Important: Ako se planetarni pogon napuni pre nego što se u njega sipa 0,65 l ulja, sačekajte 1 sat ili postavite čep i pomerite mašinu oko tri metra da bi se ulje rasporedilo kroz ceo kočioni sistem. Zatim izvadite čep i sipajte preostalo ulje.

Postavite čep za punjenje i čep za proveru.
Obrišite kućište planetarnog pogona i kočnice (Слика 77).

Ponovite korake od 1 do 7 u Ispuštanje ulja planetarnog zupčastog pogona i korake od 1 do 3 u ovoj proceduri za sklop planetarnog pogona/kočnice na drugoj strani mašine.
| Интервал сервисног одржавања | Поступак одржавања |
|---|---|
| Пре сваке употребе или свакодневно |
|
Pogledajte da li zadnja osovina i menjačka kutija zadnje osovine negde cure.

| Интервал сервисног одржавања | Поступак одржавања |
|---|---|
| Сваких 400 сати |
|
Zadnja osovina se puni mazivom za zupčanike SAE 85W-140. Kapacitet je 2,4 l. Svakog dana pogledajte da li negde curi.
Parkirajte mašinu na ravnoj površini, aktivirajte parkirnu kočnicu, spustite jedinice za sečenje, isključite motor i uklonite ključ.
Skinite čep za proveru sa jednog kraja osovine i proverite da je nivo maziva do dna otvora (Слика 79).
Note: Ako je nivo nizak, skinite čep za punjenje i dodajte dovoljno maziva da nivo dođe do dna otvora za čep za proveru.

| Интервал сервисног одржавања | Поступак одржавања |
|---|---|
| Након првих 200 сати |
|
| Сваких 800 сати |
|
Specifikacija maziva: kvalitetno mazivo za zupčanike SAE 85W-140
Kapacitet osovine: 2,4 l
Parkirajte mašinu na ravnoj površini, aktivirajte parkirnu kočnicu, spustite jedinice za sečenje, isključite motor i uklonite ključ.
Očistite prostor oko 3 čepa za drenažu – po 1 na svakom kraju i 1 u sredini (Слика 80).

Skinite čepove za proveru nivoa ulja i poklopac glavnog ventilacionog otvora osovine radi lakše drenaže maziva za zupčanike.
Skinite čepove za drenažu i pustite da mazivo za zupčanike iscuri u posude.
Postavite čepove.
Skinite čep za proveru i sipajte u osovinu oko 2,4 l maziva za zupčanike 85W-140 ili dok nivo maziva ne dođe do dna otvora.
Postavite čep za proveru.
| Интервал сервисног одржавања | Поступак одржавања |
|---|---|
| Сваких 400 сати |
|
Menjačka kutija se puni mazivom za zupčanike SAE 85W-140. Kapacitet je 0,5 l. Svakog dana pogledajte da li negde curi.
Parkirajte mašinu na ravnoj površini, aktivirajte parkirnu kočnicu, spustite jedinice za sečenje, isključite motor i uklonite ključ.
Skinite čep za proveru/punjenje sa leve strane menjačke kutije i proverite da je nivo maziva do dna otvora (Слика 81).
Note: Ako je nivo nizak, dodajte dovoljno maziva da nivo dođe do dna otvora.

| Интервал сервисног одржавања | Поступак одржавања |
|---|---|
| Сваких 800 сати |
|
Parkirajte mašinu na ravnoj površini, aktivirajte parkirnu kočnicu, spustite jedinice za sečenje, isključite motor i uklonite ključ.
Izmerite rastojanje od ose do ose (u visini osovine) na prednjem i zadnjem kraju upravljačkih pneumatika (Слика 82).
Note: Izmerena vrednost na prednjem kraju mora biti 3 mm manja od vrednosti na zadnjem kraju.

Da podesite uvlačenje izvadite rascepku i navrtku sa kugličnog zgloba spone (Слика 83). Skinite kuglični zglob spone sa nosača kućišta osovine.

Olabavite stezaljke na oba kraja spona (Слика 83).
Okrenite razdvojeni kuglični zglob prema unutra ili prema spolja za 1 ceo krug i pritegnite stezaljku na slobodnom kraju spone.
Okrenite ceo sklop spone u istom smeru (prema unutra ili prema spolja) za 1 ceo krug i pritegnite stezaljku na spojenom kraju spone.
Montirajte kuglični zglob na nosač kućišta osovine, pritegnite navrtku rukom, pa izmerite pozitivno uvlačenje.
Po potrebi ponovite postupak.
Zategnite navrtku i montirajte novu rascepku kada podešavanje bude ispravno.
Gutanje rashladne tečnosti motora može da izazove trovanje; držite van domašaja dece i kućnih ljubimaca.
Ispuštanje vrele rashladne tečnosti pod pritiskom ili dodirivanje vrelog hladnjaka i okolnih delova može da izazove teške opekotine.
Uvek pustite motor da se ohladi najmanje 15 minuta pre nego što skidate poklopac hladnjaka.
Koristite krpu kada otvarate poklopac hladnjaka, i otvorite poklopac polako kako bi para mogla da izađe.
Nemojte rukovati mašinom ako poklopci nisu na mestu.
Držite prste, šake i odeću dalje od rotirajućeg ventilatora i pogonskog kaiša.
Rezervoar rashladnog sredstva napunjen je u fabrici rastvorom vode i rashladnog sredstva na bazi etilen glikola sa produženim rokom trajanja u razmeri 50/50.
Important: Koristite komercijalno dostupna rashladna sredstva koja zadovoljavaju specifikacije navedene u tabeli standarda za rashladna sredstva sa produženim rokom trajanja.Nemojte koristiti tradicionalna (zelena) rashladna sredstva tehnologije neorganske kiseline (IAT) u mašini. Nemojte mešati tradicionalna rashladna sredstva i sredstva sa produženim rokom trajanja.
|
Tip rashladnog sredstva na bazi etilen glikola |
Tip inhibitora korozije |
|
Antifriz sa produženim rokom trajanja |
Tehnologija organske kiseline (OAT) |
|
Important: Nemojte se uzdati u boju rashladnog sredstva da biste prepoznali razliku između tradicionalnog (zelenog) rashladnog sredstva tehnologije neorganske kiseline (IAT) i rashladnog sredstva sa produženim rokom trajanja.Proizvođači rashladnih sredstava mogu da oboje rashladna sredstva sa produženim rokom trajanja u jednu od sledećih boja: crvena, roze, narandžasta, žuta, plava, plavo-zelena, ljubičasta i zelena. Koristite rashladno sredstvo koje zadovoljava specifikacije iz tabele standarda za rashladna sredstva sa produženim rokom trajanja. |
|
|
ATSM International |
SAE International |
|
D3306 i D4985 |
J1034, J814 i 1941 |
Important: Koncentrat rashladnog sredstva bi trebalo da bude pomešan sa vodom u razmeri 50/50.
Poželjno: kada mešate rashladno sredstvo iz koncentrata, mešajte ga sa destilovanom vodom.
Poželjna opcija: ako destilovana voda nije dostupna, koristite unapred pomešano razblaženo sredstvo umesto koncentrata.
Minimalni zahtevi: ako destilovana voda i unapred pomešano rashladno sredstvo nisu dostupni, pomešajte koncentrovano rashladno sredstvo sa čistom pijaćom vodom.
| Интервал сервисног одржавања | Поступак одржавања |
|---|---|
| Пре сваке употребе или свакодневно |
|
Kapacitet rashladnog sistema: 8,5 l.
Rotirajući ventilatori i pogonski kaiševi mogu da izazovu telesne povrede.
Nemojte rukovati mašinom ako štitnici nisu na mestu.
Držite prste, šake i odeću dalje od rotirajućeg ventilatora i pogonskog kaiša.
Pre radova na održavanju isključite motor i uklonite ključ.
Parkirajte mašinu na ravnoj površini, aktivirajte parkirnu kočnicu, spustite jedinice za sečenje, isključite motor i uklonite ključ.
Pažljivo skinite poklopac hladnjaka.

Proverite nivo rashladne tečnosti u hladnjaku. Hladnjak treba da bude napunjen do vrha grla za punjenje a ekspanziona posuda napunjena do oznake FULL (puno) (Слика 84).
Ako je nivo rashladne tečnosti nizak, dodajte mešavinu vode i etilen glikol antifriza u razmeri 50/50; pogledajte Specifikacija rashladnog sredstva. Nemojte koristiti samo vodu ni rashladne tečnosti na bazi alkohola/metanola.
Postavite poklopac hladnjaka i čep ekspanzione posude.
| Интервал сервисног одржавања | Поступак одржавања |
|---|---|
| Пре сваке употребе или свакодневно |
|
Ova mašina je opremljena hidrauličkim pogonskim sistemom ventilatora koji automatski (ili ručno) obrće smer kako bi smanjio nakupljanje otpadaka na hladnjaku ulja/hladnjaku i maski. Iako ova funkcija skraćuje vreme koje je potrebno za čišćenje hladnjaka ulja/hladnjaka, ne eliminiše potrebu za rutinskim čišćenjem. I dalje treba obavljati periodično čišćenje i pregledanje hladnjaka/hladnjaka ulja.
Parkirajte mašinu na ravnoj površini, aktivirajte parkirnu kočnicu, spustite jedinice za sečenje, isključite motor i uklonite ključ.
Sačekajte da se mašina ohladi; pogledajte Bezbednost pri održavanju i Bezbednost sistema za hlađenje.
Odbravite i otvorite zadnju masku (Слика 85).
Note: Da biste skinuli masku, podignite je sa zglobnih osovinica.
Detaljno očistite masku od svih otpadaka.

Detaljno očistite obe strane hladnjaka ulja i hladnjaka komprimovanim vazduhom (Слика 86).
Note: Počnite od prednje strane i oduvajte otpatke ka zadnjoj strani. Zatim čistite od zadnje strane i duvajte ka prednjoj. Ponovite postupak nekoliko puta dok ne skinete svu prljavštinu i otpatke.

Important: Čišćenje hladnjaka ulja/hladnjaka vodom dovodi do prevremene korozije, oštećenja komponenti, kao i sabijanja otpadaka.
Zatvorite zadnju masku i pričvrstite je bravom.
Radne kočnice treba podesiti kada papučica kočnice ima više od 25 mm slobodnog hoda ili kada kočnice ne rade efikasno. Slobodan hod je rastojanje za koje se papučica kočnice pomeri pre nego što osetite otpor kočenja.
Parkirajte mašinu na ravnoj površini, aktivirajte parkirnu kočnicu, spustite jedinice za sečenje, isključite motor i uklonite ključ.
Otpustite bravu za povezivanje papučica kočnice tako da obe papučice rade nezavisno jedna od druge.
Da biste smanjili slobodan hod papučica kočnice, dotegnite kočnice na sledeći način:
Olabavite prednju navrtku na kraju sajle kočnice sa navojima (Слика 87).

Zategnite zadnju navrtku da pomerite sajlu unazad dok papučice kočnice ne budu imale 13 do 25 mm slobodnog hoda.
Kad kočnice budu ispravno podešene, zategnite prednje navrtke.
| Интервал сервисног одржавања | Поступак одржавања |
|---|---|
| Сваких 100 сати |
|
Za pravilnu zategnutost kaiša defleksija treba da bude 10 mm kada se sila od 4,5 kg primeni na kaiš na pola puta između remenica.
Ako defleksija nije 10 mm olabavite montažne zavrtnje alternatora (Слика 78).
Note: Povećajte ili smanjite zategnutost kaiša alternatora i zategnite zavrtnje. Ponovo proverite defleksiju kaiša da biste bili sigurni da je zategnutost ispravna.

Ako se tečnost ubrizga u kožu odmah potražite pomoć lekara. Ubrizganu tečnost mora hirurški da ukloni doktor u roku od nekoliko sati.
Proverite da su sva creva i vodovi za hidrauličnu tečnost u dobrom stanju i da su svi hidraulički spojevi i priključci zategnuti pre nego što primenjujete pritisak na hidraulični sistem.
Držite telo i šake dalje od curenja u tankom mlazu ili mlaznica koje izbacuju hidrauličnu tečnost pod visokim pritiskom.
Koristite karton ili papir da biste otkrili gde curi hidraulična tečnost.
Bezbedno oslobodite sav pritisak iz hidrauličnog sistema pre nego što vršite bilo kakve radove na hidrauličnom sistemu.
Rezervoar se u fabrici puni kvalitetnom hidrauličnom tečnošću. Proverite nivo hidraulične tečnosti pre nego što prvi put pokrenete motor i svakog dana nakon toga; pogledajte Provera nivoa hidraulične tečnosti.
Preporučena hidraulična tečnost: Toro PX Extended Life Hydraulic Fluid; na raspolaganju u kofama od 19 l ili buradima od 208 l.
Note: Mašini koja koristi preporučenu tečnost za zamenu je ređe potrebna zamena tečnosti i filtera.
Alternativne hidraulične tečnosti: Ako tečnost Toro PX Extended Life Hydraulic Fluid nije dostupna, možete koristiti drugu konvencionalnu hidrauličnu tečnost na bazi nafte čije su specifikacije unutar navedenog opsega za sva sledeća bitna svojstva i koja ispunjava industrijske standarde. Nemojte koristiti sintetičku tečnost. Konsultujte se sa vašim distributerom maziva kako biste odredili odgovarajući proizvod.
Note: Toro ne preuzima odgovornost za štetu načinjenu neodgovarajućim zamenama, prema tome koristite proizvode samo od uglednih proizvođača koji stoje iza svojih preporuka.
| Bitna svojstva: | ||
| Viskoznost, ASTM D445 | cSt @ 40 °C 44 do 48 | |
| Indeks viskoznosti ASTM D2270 | 140 ili više | |
| Tačka tečljivosti, ASTM D97 | -37 °C do -45 °C | |
| Industrijske specifikacije: | Eaton Vickers 694 (I-286-S, M-2950-S/35VQ25 ili M-2952-S) | |
Note: Mnoge hidraulične tečnosti su skoro bezbojne, pa je teško uočiti curenje. Crvena boja za hidrauličnu tečnost je dostupna u bočicama od 20 ml. Jedna bočica je dovoljna za 15 do 22 l hidraulične tečnosti. Naručite deo br. 44-2500 od ovlašćenog distributera kompanije Toro.
Important: Toro Premium Synthetic Biodegradable Hydraulic Fluid je jedina sintetička biorazgradiva tečnost koju je odobrila kompanija Toro. Ova tečnost je kompatibilna sa elastomerima koji se koriste u hidrauličnim sistemima kompanije Toro i pogodna je za širok opseg temperaturnih uslova. Ova tečnost je kompatibilna sa konvencionalnim mineralnim uljima, ali radi maksimalne biorazgradivosti i učinka, hidraulični sistem treba temeljno isprati od konvencionalnih tečnosti. Ulje je dostupno u kantama od 19 l ili buradima od 208 l kod ovlašćenog distributera kompanije Toro.
| Интервал сервисног одржавања | Поступак одржавања |
|---|---|
| Пре сваке употребе или свакодневно |
|
Parkirajte mašinu na ravnoj površini, aktivirajte parkirnu kočnicu, spustite jedinice za sečenje, isključite motor i uklonite ključ.
Proverite nivo hidraulične tečnosti (Слика 89).


| Интервал сервисног одржавања | Поступак одржавања |
|---|---|
| Сваких 800 сати |
|
| Сваких 2.000 сати |
|
| Сваке 2 године |
|
Kapacitet hidraulične tečnosti: 28,4 l
Ako tečnost postane zaprljana, obratite se ovlašćenom distributeru kompanije Toro zbog toga što sistem mora da se ispere. Zaprljana tečnost izgleda mlečno ili crno u poređenju sa čistim uljem.
Parkirajte mašinu na ravnoj površini, aktivirajte parkirnu kočnicu, spustite jedinice za sečenje, isključite motor i uklonite ključ.
Podignite poklopac motora.
Skinite povratni vod kućišta sa dna rezervoara i pustite hidrauličnu tečnost da ističe u veliku posudu za istakanje.
Montirajte crevo kada hidraulična tečnost prestane da ističe.
Napunite rezervoar hidrauličnom tečnošću; pogledajte Servisiranje hidraulične tečnosti.
Important: Koristite samo specificirane hidraulične tečnosti. Druge tečnosti mogu da izazovu oštećenja sistema.
Postavite poklopac rezervoara.
Okrenite ključ u prekidaču kontakta u položaj ON (uključeno) da pokrenete motor. Upotrebite sve komande hidraulike da bi se hidraulična tečnost rasporedila kroz ceo sistem i proverite da li negde curi.
Okrenite ključ u prekidaču kontakta u položaj OFF (isključeno).
Proverite nivo tečnosti i dodajte dovoljno da bi nivo stigao do oznake FULL (puno) na mernoj šipki. Nemojte prepuniti rezervoar.
| Интервал сервисног одржавања | Поступак одржавања |
|---|---|
| Сваких 800 сати |
|
| Сваких 1.000 сати |
|
Koristite Toro zamenske filtere označene kao deo br. 94-2621 za zadnji kraj mašine (jedinice za sečenje) a deo br. 75-1310 za prednji (napojni) kraj mašine.
Important: Korišćenje drugog filtera bi moglo da poništi garanciju za neke delove.
Nagnite sedište operatera da biste imali pristup filteru pritiska za košenje; pogledajte Pristup odeljku hidrauličnog podizača

Zamenite napojni filter hidraulike u odeljku hidrauličnog podizača kako je prikazano na Слика 91.


Spustite i pričvrstite sedište operatera.
Zamenite povratni filter sa desne strane mašine (Слика 91).
Pokrenite motor i pustite ga da radi oko 2 minuta kako bi se izbacio vazduh iz sistema. Isključite motor i proverite da li negde curi.
| Интервал сервисног одржавања | Поступак одржавања |
|---|---|
| Пре сваке употребе или свакодневно |
|
| Сваке 2 године |
|
Svakodnevno pregledajte cevi i creva za hidrauličnu tečnost da utvrdite da li ima curenja, presavijenih vodova, labavih nosača, habanja, labavih priključaka i propadanja uzrokovanog vremenskim uslovima i hemijskim dejstvom. Obavite sve potrebne popravke pre korišćenja mašine.
Hidraulična tečnost koja ističe pod pritiskom može da probije kožu i izazove povrede.
Ako se tečnost ubrizga u kožu odmah potražite pomoć lekara.
Proverite da su sva creva i vodovi za hidrauličnu tečnost u dobrom stanju i da su svi hidraulički spojevi i priključci zategnuti pre nego što primenjujete pritisak na hidraulični sistem.
Držite telo i šake dalje od curenja u tankom mlazu ili mlaznica koje izbacuju hidrauličnu tečnost pod visokim pritiskom.
Koristite karton ili papir da biste otkrili gde curi hidraulična tečnost.
Bezbedno oslobodite sav pritisak iz hidrauličnog sistema pre nego što vršite bilo kakve radove na hidrauličnom sistemu.
Parkirajte mašinu na ravnoj površini, aktivirajte parkirnu kočnicu, spustite jedinice za sečenje, isključite motor i uklonite ključ.
Raskačite i skinite hidraulični motor sa jedinice za sečenje (Слика 92). Pokrijte vrh vretena kako biste sprečili prljanje.

Skinite čiviju osovine (za mašine Groundsmaster 4500) ili osiguravajuću navrtku (za mašine Groundsmaster 4700) koja pričvršćuje noseći ram jedinice za sečenje za obrtni oslonac kraka za podizanje (Слика 93).

Odgurajte jedinicu za sečenje od mašine.
Postavite jedinicu za sečenje na mesto ispred mašine.
Navucite noseći ram jedinice za sečenje na obrtni oslonac kraka za podizanje (Слика 93). Pričvrstite jedinicu za sečenje za obrni oslonac pomoću čivije osovine (za mašine Groundsmaster 4500) ili osiguravajuće navrtke (za mašine Groundsmaster 4700).
Montirajte hidraulični motor na jedinicu za sečenje (Слика 92). Pazite da je zaptivni prsten na mestu i da nije oštećen.
Podmažite vreteno.
Pregledajte prednji valjak za habanje, prekomerno klimanje ili sputavanje. Servisirajte ili zamenite valjak ili njegove delove ako postoji bilo koje od navedenih stanja.
Skinite montažni zavrtanj valjka (Слика 94).
Uvucite izbijač kroz kraj kućišta valjka i izbijte suprotni ležaj naizmeničnim kuckanjem po suprotnoj strani unutrašnjeg prstena ležaja. Trebalo bi da 1,5 mm ivice unutrašnjeg prstena bude vidljivo.

Izgurajte drugi ležaj na presi.
Pregledajte kućište valjka, ležajeve i odstojnik ležaja za oštećenja (Слика 94). Zamenite sve oštećene delove i sklopite ih.
Pritisnite prvi ležaj u kućište valjka (Слика 94). Pritiskajte samo spoljni prsten ili unutrašnji i spoljni prsten jednako.
Postavite odstojnik (Слика 94).
Pritisnite drugi ležaj u kućište valjka (Слика 94). Pritiskajte jednako unutrašnji i spoljni prsten dok unutrašnji prsten ne dodirne odstojnik.
Montirajte sklop valjka u ram jedinice za sečenje.
Proverite da nema više od 1,5 mm razmaka između sklopa valjka i nosača za montažu valjka na ramu jedinice za sečenje. Ako je razmak veći od 1,5 mm, postavite dovoljno podloški prečnika 5/8" da popuni prazninu.
Important: Ako se sklop valjka pričvrsti sa razmakom većim od 1,5 mm, stvara se bočno opterećenje na ležaju što može dovesti do prevremenog kvara ležaja.
Zategnite montažni zavrtanj na 108 N·m.
Periodično proveravajte da li je sečivo istrošeno ili oštećeno.
Budite pažljivi prilikom provere sečiva. Sečiva umotajte ili nosite rukavice i budite pažljivi kada ih servisirate. Sečiva samo menjajte ili oštrite; nemojte ih nikada ispravljati ni variti.
Na mašinama sa više sečiva, vodite računa jer rotiranje jednog sečiva može dovesti do rotiranja ostalih.
Jedinica za sečenje stiže iz fabrike podešena na visinu košenja od 5 cm sa nagibom sečiva od 7,9 mm. Leva i desna visina su takođe fabrički podešene tako da među njima bude razlika od ± 0,7 mm.
Jedinica za sečenje je projektovana da izdrži udare sečiva bez deformisanja komore. Ako sečivo udari u čvrst predmet, pregledajte ga za oštećenja i pregledajte da li je ravan sečiva precizna.
Skinite hidraulični motor sa jedinice za sečenje i skinite jedinicu za sečenje sa mašine.
Pomoću dizalice (ili najmanje 2 osobe) podignite jedinicu za sečenje na ravan sto.
Obeležite jedan kraj sečiva bojom ili markerom. Koristite taj kraj sečiva za proveru svih visina.
Postavite oštricu obeleženog kraja sečiva u položaj 12 sati na časovniku (pravo napred u smeru košenja) (Слика 95) i izmerite visinu od stola do oštrice sečiva.

Okrenite obeleženi kraj sečiva u položaje 3 i 9 sati (Слика 95) i izmerite visine.
Uporedite izmerenu visinu u položaju 12 sati sa podešavanjem za visinu košenja. Treba da bude unutar 0,7 mm. Visine u položajima 3 i 9 sati na časovniku treba da budu 1,6 do 6,0 mm više od visine u položaju 12 sati a do 2,2 mm jedna od druge.
Ako bilo koja od tih mera nije u okviru navedenih specifikacija, idite na Podešavanje ravni sečiva.
Počnite od prednjeg podešavanja (menjajte jedan po jedan nosač).
Skinite nosač za visinu košenja (prednji, levi ili desni) sa rama jedinice za sečenje (Слика 96).
Podesite regulacione pločice od 1,5 mm i/ili regulacionu pločicu od 0,7 mm između rama jedinice za sečenje i nosača kako biste postigli željeno podešavanje visine (Слика 96).

Montirajte nosač za visinu košenja na ram jedinice za sečenje sa preostalim regulacionim pločicama postavljenim ispod nosača za visinu košenja.
Pričvrstite zavrtanj sa usadnom glavom/odstojnik i navrtku sa prirubnicom.
Note: Zavrtanj sa usadnom glavom/odstojnik se drže zajedno pomoću lepka za osiguranje navoja kako bi se sprečilo da odstojnik upadne u ram jedinice za sečenje.
Proverite visinu u položaju 12 sati i podesite je po potrebi.
Utvrdite da li samo jedan ili oba (desni i levi) nosača za visinu košenja treba da se podese.
Note: Ako je strana u položaju 3 ili 9 sati za 1,6 do 6,0 mm viša od nove prednje visine, nikakvo podešavanje nije potrebno za tu stranu. Podesite drugu stranu tako da bude ± 2,2 mm od ispravne strane.
Podesite desni i/ili levi nosač za visinu košenja ponavljanjem koraka 1 do 4.
Pričvrstite noseće vijke i navrtke sa prirubnicom.
Proverite visine u položaju 12, 3 i 9 sati.
Zamenite sečivo ako udari u tvrd predmet ili je van ravnoteže ili iskrivljeno. Uvek koristite originalna zamenska sečiva kompanije Toro kako biste osigurali bezbednost i optimalan učinak.
Parkirajte mašinu na ravnoj površini, podignite jedinicu za sečenje u položaj za transport, aktivirajte parkirnu kočnicu, isključite motor i uklonite ključ.
Note: Blokirajte ili zaključajte jedinicu za sečenje da ne bi slučajno pala.
Uhvatite kraj sečiva pomoću krpe ili debelo postavljene rukavice.
Skinite zavrtanj sečiva, prsten protiv struganja i sečivo sa osovine vretena (Слика 97).

Montirajte sečivo, prsten protiv struganja i zavrtanj sečiva i zategnite zavrtanj sečiva na 115 do 149 N∙m.
Important: Kako bi se obezbedilo pravilno košenje, zakrivljeni deo sečiva mora da bude upereno prema unutrašnjosti kosilice.
Note: Nakon udarca u strano telo, zategnite sve navrtke remenice vretena momentom od 115 do 149 N∙m.
Prilikom provere i servisiranja sečiva kosilice, treba obratiti pažnju na dva elementa – jedro i oštricu. I oštrice i jedro, odnosno uzdignuti deo sečiva nasuprot oštrici, doprinose kvalitetu košenja. Jedro je važno zbog toga što podiže travu u uspravan položaj čime se postiže ravnomerno košenje. Međutim, jedro se tokom rada postepeno haba. Kako se jedro haba, kvalitet košenja opada, čak i ako su oštrice naoštrene. Oštrica sečiva mora da bude oštra da bi se trava sekla a ne kidala. Jasno se vidi da je oštrica tupa kada su vrhovi travki smeđi i iskidani. Da biste to ispravili, naoštrite oštrice.
Parkirajte mašinu na ravnoj površini, podignite jedinicu za sečenje, aktivirajte parkirnu kočnicu, postavite papučicu gasa u NEUTRALNI položaj, postavite ručicu za PTO u položaj OFF (isključeno), isključite motor i uklonite ključ iz paljenja.
Pažljivo pregledajte rezne krajeve sečiva, naročito tamo gde se sastaju njegov ravan i zakrivljeni deo (Слика 98).
Note: Pošto pesak i abrazivni materijali mogu da pohabaju metal koji povezuje ravan i zakrivljeni deo sečiva, proverite sečivo pre nego što koristite kosilicu. Ako primetite habanje (Слика 98), zamenite sečivo.

Pregledajte oštrice svih sečiva i naoštrite ih ako su tupe ili iskrzane (Слика 99).
Note: Naoštrite samo vrh oštrice i održavajte originalni ugao sečenja da biste osigurali oštrinu (Слика 99). Sečivo ostaje balansirano ako uklonite jednaku količinu metala sa obe oštrice.

Note: Skinite sečiva i naoštrite ih na brusilici. Nakon oštrenja oštrica, montirajte sečivo pomoću prstena protiv struganja i zavrtnja sečiva; pogledajte Skidanje i montiranje sečiva jedinice za sečenje.
Pre nego što napustite položaj operatera, zaustavite motor, uklonite ključ i sačekajte da se svi pokretni delovi zaustave. Pre podešavanja, servisiranja, čišćenja ili odlaganja mašine, sačekajte da se ohladi.
Nemojte skladištiti mašinu ni kanister sa gorivom na mestu na kom postoji otvoreni plamen, varnica ili pomoćni plamenik, kao na kotlu za grejanje vode ili drugim aparatima.
Important: Nemojte koristiti braktičnu niti recikliranu vodu za čišćenje mašine.
Temeljno očistite vučnu jedinicu, jedinice za sečenje i motor.
Proverite pritisak u pneumaticima. Naduvajte sve pneumatike vučne jedinice na 0,83 bara do 1,03 bara.
Proverite sve pričvršćivače i zategnite one koji su labavi.
Podmažite sve mazalice i tačke obrtanja. Obrišite višak maziva.
Lagano išmirglajte i popravite farbu na ofarbanim mestima koja su ogrebana, ispucala ili zarđala. Popravite sva ulubljenja na metalnoj karoseriji.
Servisirajte akumulator i kablove na sledeći način:
Skinite terminale akumulatora sa stubića akumulatora.
Note: Uvek prvo odvojite negativni terminal, pa zatim pozitivni. Uvek prvo povežite pozitivni terminal, pa zatim negativni.
Očistite akumulator, terminale i stubiće žičanom četkom i rastvorom sode bikarbone.
Premažite terminale kablova i stubiće akumulatora mašću Grafo 112X (skin-over) (deo broj 505-47) ili petrolejskim gelom kako biste sprečili koroziju.
Polako punite akumulator na svakih 60 dana po 24 sata kako biste sprečili sulfaciju olova u bateriji.
Ispraznite motorno ulje iz kartera i zamenite čep.
Skinite i bacite filter za ulje. Postavite novi filter za ulje.
Napunite karter predviđenom količinom motornog ulja.
Okrenite ključ u prekidaču u položaj ON (uključeno), pokrenite motor i pustite ga da radi u praznom hodu oko 2 minuta.
Okrenite ključ u prekidaču u položaj OFF (isključeno).
Temeljno ispraznite svo gorivo iz rezervoara za gorivo, cevovoda i sklopa filtera za gorivo i separatora za vodu.
Isperite rezervoar za gorivo svežim, čistim dizel gorivom.
Pričvrstite sve priključke sistema za gorivo.
Temeljno očistite i servisirajte sklop čistača vazduha.
Zadihtujte ulaz čistača vazduha i izlaz izduva trakom otpornom na vremenske uslove.
Proverite antifriz i dodajte po potrebi prema očekivanim minimalnim temperaturama u vašem regionu.
Ako će jedinice za sečenje biti skinute sa vučne jedinice na neko vreme, montirajte čep za vreteno na vrhove vretena da bi se vretena zaštitila od prašine i vode.
