| Interval servisa održavanja | Postupak održavanja |
|---|---|
| Prije svake uporabe ili svakodnevno |
|
Ovaj je uređaj traktorska rotacijska kosilica namijenjena profesionalnim korisnicima za komercijalnu primjenu. Prvenstveno je namijenjena košenju trave na dobro održavanim travnjacima u parkovima i na sportskim i komercijalnim terenima. Upotreba ovog proizvoda u bilo koju drugu svrhu osim one za koju je namijenjen može biti opasno za vas i prolaznike.
Pažljivo pročitajte ove informacije kako biste naučili ispravno upravljati uređajem i održavati ga te kako biste izbjegli tjelesne ozljede i oštećenja uređaja. Odgovorni ste za ispravno i sigurno upravljanje uređajem.
Na internetskoj stranici tvrtke Toro www.Toro.com možete dobiti informacije o sigurnosti uređaja, materijale za obuku rukovatelja, informacije o dodatnoj opremi, pomoć pri nalaženju distributera ili možete registrirati uređaj.
Ako vam je potreban servis, originalni dijelovi proizvođača Toro ili dodatne informacije, obratite se ovlaštenom serviseru ili službi za korisnike tvrtke Toro i pripremite broj modela i serijski broj svog uređaja. Slika 1 prikazuje lokaciju broja modela i serijskog broja na uređaju. Upišite brojeve na za to predviđeno mjesto.
Important: S pomoću mobilnog uređaja možete skenirati QR kod na naljepnici sa serijskim brojem (ako postoji) kako biste pristupili podacima o jamstvu i dijelovima te ostalim informacijama o proizvodu.

U ovom priručniku i na uređaju nalazi se simbol sigurnosnog upozorenja (Slika 2) radi prepoznavanja važnih sigurnosnih poruka kojih se morate pridržavati kako biste spriječili nesreće.

Simbol sigurnosnog upozorenja pojavljuje se iznad informacija koje vas upozoravaju na opasne radnje ili situacije te nakon njega slijedi riječ OPASNOST, UPOZORENJE ili OPREZ.
OPASNOST označava neposredno opasnu situaciju koja će, ako se ne spriječi, sigurno dovesti do teških ozljeda ili smrti.
UPOZORENJE označava potencijalno opasnu situaciju koja bi, ako se ne spriječi, mogla dovesti do teških ozljeda ili smrti.
OPREZ označava potencijalno opasnu situaciju koja, ako se ne spriječi, može dovesti do lakših ili umjerenih ozljeda.
U priručniku se informacije ističu još dvjema riječima. Riječ Važno upućuje na posebne mehaničke informacije, a riječ Napomena na opće informacije na koje treba obratiti posebnu pažnju.
Ovaj je uređaj u skladu sa svim relevantnim direktivama EU-a. Za više detalja pogledajte zasebnu izjavu o sukladnosti (DOC) za ovaj uređaj.
Prema točki 4442. ili točki 4443. Zakona o očuvanju javnih resursa savezne države Kalifornije zabranjeno je upotrebljavati uređaj na šumskim, grmovitim ili travnatim površinama ako njegov motor nije opremljen hvatačem iskri na način opisan u točki 4442., ako nije održavan u ispravnom stanju ili ako motor nije izrađen, opremljen i održavan na način da sprječava požare.
Priložene upute za upotrebu motora isporučuju se radi pružanja informacija povezanih s Američkom agencijom za zaštitu okoliša (EPA) i kalifornijskom uredbom o kontroli emisijskih sustava, održavanju i jamstvu. Zamjenski dijelovi mogu se naručiti od proizvođača motora.
Ako je ovaj uređaj opremljen uređajem za telematiku, obratite se ovlaštenom distributeru tvrtke Toro za upute za aktiviranje uređaja.
|
Certifikat elektromagnetske kompatibilnosti |
|
Kućanstva: proizvod je u skladu s dijelom 15. propisa Savezne komisije za komunikacije (FCC). Rukovanje njime podliježe sljedećim dvama uvjetima: (1) uređaj ne smije stvarati štetne smetnje i (2) uređaj mora prihvatiti bilo koje smetnje koje može primiti, uključujući smetnje koje mogu uzrokovati neispravan rad. |
|
FCC ID: APV-3640LB IC: 5843C-3640LB |
|
Ispitano je i utvrđeno da je uređaj sukladan s ograničenjima za digitalne uređaje klase B, u skladu s dijelom 15. propisa Savezne komisije za komunikacije (FCC). Ta ograničenja služe za razumnu zaštitu od štetnih interferencija u stambenim instalacijama. Ta oprema generira, upotrebljava i može zračiti radiofrekvencijsku energiju i, ako se ne instalira i ne upotrebljava u skladu s uputama, može uzrokovati štetne radiokomunikacijske interferencije. Međutim, ne može se zajamčiti da se neće pojaviti smetnje u određenoj konfiguraciji uređaja. Ako oprema ometa radijski ili televizijski signal, što možete utvrditi tako da opremu isključite i ponovno uključite, korisnik može poduzeti neke od sljedećih mjera:
|
|
Argentina |
![]() |
|
Australija |
![]() |
|
Maroko |
|
|---|---|
|
AGREE PAR L’ANRT MAROC |
|
|
Numero d’agrement: |
MR00004789ANRT20024 |
|
Delivre d’agrement: |
11/4/2024 |
|
Novi Zeland |
|
|
|
Južna Koreja |
![]() |
KALIFORNIJA
Upozorenje prema kalifornijskom zakonu Proposition 65
Savezna država Kalifornija utvrdila je da ispušni plinovi dizelskog motora i neke njihove sastavnice uzrokuju rak, urođene mane ili druge posljedice štetne za reproduktivno zdravlje.
Kleme akumulatora, polovi i povezana oprema sadržavaju olovo i olovne spojeve, odnosno kemikalije za koje je Savezna država Kalifornija utvrdila da uzrokuju rak i posljedice štetne za reproduktivno zdravlje. Operite ruke nakon rukovanja.
Uporabom ovog proizvoda možete biti izloženi kemikalijama za koje je Savezna država Kalifornija utvrdila da uzrokuju rak, urođene mane ili druge posljedice štetne za reproduktivno zdravlje.
Ovaj uređaj može amputirati ruke i noge i odbacivati predmete. Uvijek se pridržavajte svih sigurnosnih uputa kako biste izbjegli teške tjelesne ozljede.
S razumijevanjem pročitajte ove Upute za upotrebu prije pokretanja motora.
Pozorno upravljajte uređajem. Ne bavite se aktivnostima koje vas ometaju; u suprotnom može doći do ozljeda ili oštećenja imovine.
Ne upravljajte uređajem ako na njemu nisu postavljeni svi štitovi i drugi funkcionalni zaštitni uređaji koji ispravno rade.
Držite ruke i noge podalje od rotirajućih dijelova. Ne približavajte se otvorima izbacivača.
Osigurajte da prolaznici i djeca budu izvan područja rada uređaja. Nikad ne dopuštajte djeci da upravljaju uređajem.
Prije nego što napustite položaj rukovatelja, ugasite motor, izvadite ključ i pričekajte da se svi pomični dijelovi zaustave. Pustite da se uređaj ohladi prije podešavanja, održavanja, čišćenja ili skladištenja.
Neispravna upotreba ili održavanje ovog uređaja
može dovesti do ozljeda. Kako biste smanjili mogućnost
ozljeda, pridržavajte se ovih sigurnosnih uputa i uvijek obraćajte
pažnju na simbol sigurnosnog upozorenja
, koji označava Oprez,
Upozorenje ili Opasnost – upute za osobnu sigurnost. Nepridržavanje
uputa može dovesti do tjelesnih ozljeda ili smrti.
![]() |
Sigurnosne naljepnice i upute lako su vidljive korisniku i nalaze se blizu svih područja potencijalne opasnosti. Zamijenite sve naljepnice koje su oštećene ili otpale. |





















Nalijepiti preko dijela br. 112-5297 za oznaku CE* za uređaje serije 4500 (model br. 30885)

Nalijepiti preko dijela br. 112-5297 za oznaku CE* za uređaje serije 4700 (model br. 30887)

Note: Odredite lijevu i desnu stranu uređaja s uobičajenog vozačevog položaja.
Dijelovi potrebni za ovaj postupak:
| Naljepnica upozorenja | 1 |
| Naljepnica s oznakom CE | 1 |
| Naljepnica godine proizvodnje | 1 |
Na uređajima koji moraju imati CE oznaku zamijenite naljepnicu upozorenja (127-6647 [za model 30885] ili 127-6648 [za model 30887]), naljepnicu CE oznake i naljepnicu godine proizvodnje (Slika 3).

Dijelovi potrebni za ovaj postupak:
| Nosač zasuna poklopca motora | 1 |
| Zakovica | 2 |
| Podloška | 1 |
| Vijak (¼ × 2") | 1 |
| Sigurnosna matica (¼") | 1 |
Otkvačite zasun poklopca motora od nosača zasuna poklopca motora.
Uklonite 2 zakovice s pomoću kojih je nosač zasuna poklopca motora učvršćen na poklopac (Slika 4).

Uklonite nosač zasuna poklopca motora s poklopca motora.
Tijekom poravnavanja rupa za postavljanje, stavite nosač brave s CE oznakom i nosač zasuna poklopca motora na poklopac motora (Slika 5).
Note: Nosač brave mora biti naslonjen na poklopac motora. Ne uklanjajte vijak i maticu s ručice nosača brave.

Poravnajte podložne pločice s rupama na unutarnjoj strani poklopca motora.
Zakovicama pričvrstite nosače i podloške na poklopac motora (Slika 5).
Zakvačite sigurnosnu bravu na nosač sigurnosne brave poklopca motora (Slika 6).

Stavite vijak u drugu ručicu nosača zasuna poklopca motora kako biste postavili zasun u potreban položaj (Slika 7). Pritegnite vijak, no nemojte pritegnuti maticu.

Opcionalni strugač stražnjeg valjka najbolje radi kad se između strugača i valjka nalazi jednoliki razmak od 0,5 do 1 mm.
Otpustite mazalicu i vijak za postavljanje (Slika 8).

Pomičite strugač gore ili dolje dok ne nastane razmak od 0,5 do 1 mm između šipke i valjka.
Pritegnite mazalicu i vijak na 41 Nm naizmjeničnim redoslijedom.
Kontaktirajte ovlaštenog distributera tvrtke Toro za ispravan odbojnik za malčiranje.
Temeljito očistite prljavštinu iz rupa za postavljanje na stražnjem zidu i lijevom zidu komore.
Postavite odbojnik za malčiranje u stražnjem otvoru i pričvrstite ga s pomoću 5 prirubnih vijaka (Slika 9).

Odbojnik za malčiranje ne smije dodirivati vrh noža i prodirati u prostor stražnjeg zida komore.
Upotreba noža za visoko podizanje u kombinaciji s odbojnikom za malčiranje mogla bi rezultirati lomom noža, a to bi za posljedicu moglo imati tjelesnu ozljedu ili smrt.
Nemojte upotrebljavati nož za visoko podizanje zajedno s odbojnikom.
Parkirajte uređaj na ravnoj površini.
Za kosilice Groundsmaster 4500 i 4700 otpustite kabele jedinice za rezanje br. 4 i br. 5 (Slika 39).
Za kosilice Groundsmaster 4700 otpustite zasune jedinice za rezanje br. 6 i br. 7 (Slika 42).
Spustite jedinice za rezanje.
Aktivirajte ručnu kočnicu.
Ugasite motor i izvadite ključ.
Provjerite tlak u gumama prije upotrebe; pogledajte Provjera tlaka u gumama.
Important: Održavajte tlak u svim gumama kako biste osigurali dobru kvalitetu košnje i ispravan rad uređaja. U gumama mora biti dovoljno zraka.
Provjerite razinu maziva stražnje osovine prije prvog pokretanja motora; pogledajte Provjeravanje maziva za stražnju osovinu.
Provjerite razinu motornog ulja prije pokretanja motora; pogledajte Provjera razine motornog ulja.
Provjerite razinu hidraulične tekućine prije pokretanja motora; pogledajte Provjera razine hidraulične tekućine.
Provjerite rashladni sustav prije pokretanja motora; pogledajte Provjera rashladnog sustava.
Podmažite uređaj prije upotrebe; pogledajte Podmazivanje ležaja i čahura.
Important: Neispravno podmazivanje uređaja rezultirat će preranim otkazivanjem kritičnih dijelova.

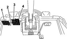
Papučica snage (Slika 10) kontrolira rad unaprijed i unatrag. Pritisnite vrh papučice za kretanje uređaja prema naprijed i dno papučice za kretanje unatrag. Kad su jedinice za rezanje podignute do kraja, papučica upravlja brzinom motora i vožnje kao u automobilu.
Note: U slučajevima iznenadnog kočenja, maknite stopalo s papučice snage i zatim pritisnite papučice kočnice. To je najbrži način za zaustavljanje uređaja.
Uređaj ima 2 papučice za upravljanje pojedinačnim kočnicama kotača i pomoć pri okretanju, parkiranju i boljem prianjanju na padinama. Zasun spaja papučice za rad ručne kočnice i transport (Slika 10).
Zasun za zaključavanje papučice povezuje papučice kako bi se aktivirala ručna kočnica (Slika 10).
Kako biste pomaknuli upravljač prema sebi, pritisnite papučicu prema dolje, povlačite upravljački stup prema sebi dok ne nađete najudobniji položaj i zatim otpustite papučicu (Slika 10). Kako biste udaljili upravljač od sebe, pritisnite papučicu i otpustite je kad upravljač bude u željenom položaju za rad.
Za aktivaciju ručne kočnice (Slika 10) povežite papučice s pomoću zasuna za zaključavanje papučice i pritisnite desnu papučicu za kočenje prema dolje, istovremeno aktivirajući malu papučicu. Za otpuštanje ručne kočnice, pritišćite jednu od papučica kočnice sve dok se zasun za parkirnu kočnicu potpuno ne uvuče.
Ključ za paljenje (Slika 11) ima 3 položaja: OFF (ISKLJUčENO), ON/PREHEAT (UKLJUčENO/PREDGRIJAVANJE) i START (POKRETANJE).

Prekidač PTO uređaja ima 2 položaja: OUT (ENGAGE) [VANI (AKTIVIRAN)] i IN (DISENGAGE) [UNUTRA (DEAKTIVIRAN)]. Povucite PTO gumb prema van za aktivaciju noževa jedinice za rezanje. Pritisnite gumb prema unutra za deaktivaciju noževa jedinice za rezanje (Slika 11).
Ovim se prekidačem (Slika 11) upravlja dvjema brzinama uređaja; malom i velikom.
Odaberite položaj H/L AUTO (VELIKA/MALA BRZINA – AUTOM.) kako bi uređaj automatski prebacivao između velike i male brzine.
Odaberite položaj LOW (NISKO) kako biste ručno odabrali isključivo malu brzinu.
Možete mijenjati položaj prekidača u bilo kojem trenutku, no uređaj će prebacivati između raspona brzina samo kad je papučica snage u neutralnom položaju, a uređaj je zaustavljen.
Note: Za postizanje velike brzine u položaju H/L AUTO (VELIKA/MALA BRZINA – AUTOM.) isključite PTO uređaj i podignite jedinice za rezanje u najviši položaj.
Note: Ako se prekidač nalazi u položaju H/L AUTO (VELIKA/MALA BRZINA – AUTOM.), ne možete spustiti kosišta iz najvišeg položaja osim ako papučica snage nije u neutralnom položaju, a uređaj zaustavljen.
Prekidačem tempomata odabire se i zadržava tempomat željene brzine vožnje (Slika 12). Pritiskom na stražnji dio prekidača isključuje se tempomat, središnji dio prekidača služi za aktivaciju funkcije tempomata, a prednji dio prekidača pritišće se za odabir brzine vožnje.
Nakon postavljanja tempomata možete promijeniti brzinu s pomoću sustava InfoCenter (Slika 34).

Prekidači za podizanje služe za podizanje i spuštanje jedinica za rezanje (Slika 11). Pritisnite prekidače prema naprijed kako biste spustili jedinice za rezanje, a prema unatrag kako biste podigli jedinice za rezanje. Prilikom pokretanja uređaja, dok su jedinice za rezanje u spuštenom položaju, pritisnite prekidač za podizanje prema dolje kako bi se jedinice za rezanje mogle slobodno pomicati i kositi.
Note: Jedinice za rezanje ne spuštaju se pri velikoj brzini vožnje i ne podižu se ili spuštaju ako niste u sjedalu. Također, jedinice za rezanje spuštaju se dok je ključ stavljen u položaj ON (UKLJUčENO), a vi sjedite u sjedalu.
Pritisnite prekidač za svjetlo prema gore za uključivanje svjetala (položaj ON (UKLJUčENO) (Slika 11)).
Pritisnite prekidač za svjetlo prema dolje za isključivanje svjetala (položaj OFF (ISKLJUčENO)).
Upotrijebite priključak (Slika 13) za napajanje dodatne električne opreme od 12V.

Upotrijebite držač vrećice za pohranu (Slika 13).
Pomaknite ručicu za podešavanje sjedala koja se nalazi sa strane sjedala prema van, pomaknite sjedalo do željenog položaja i otpustite ručicu kako biste učvrstili sjedalo (Slika 14).

Okrećite okretni gumb za podešavanje nagiba naslona za ruke (Slika 14).
Pomičite ručicu za podešavanje nagiba naslona sjedala (Slika 14).
Mjerač težine pokazuje kad je sjedalo prilagođeno težini rukovatelja (Slika 14). Podesite visinu tako da postavite ovjes unutar raspona zelenog područja.
S pomoću ove ručice prilagodite sjedalo svojoj težini (Slika 14). Podignite ručicu za povećanje tlaka zraka i spustite ručicu za smanjenje tlaka zraka. Podešavanje je uspjelo kad se mjerač težine nalazi u zelenom području.
Na LCD zaslonu sustava InfoCenter (Slika 11) prikazuju se informacije o uređaju, kao što su operativno stanje, razne dijagnostike i druge informacije o uređaju.
Prikazi na zaslonu ovise o gumbima koje odaberete. Namjena svakog gumba može se promijeniti ovisno o tome što je u tom trenutku potrebno.

| Opis | 4500-D | Oznaka na Slika 15 | 4700-D | Oznaka na Slika 15 | |
|---|---|---|---|---|---|
| Širina košnje | 280 cm | D | 380 cm | F | |
| Ukupna širina | |||||
| Jedinice za rezanje spuštene | 286 cm | E | 391 cm | G | |
| Jedinice za rezanje podignute (transport) | 224 cm | A | 224 cm | A | |
| Širina staze | |||||
| Sprijeda | 224 cm | B | 224 cm | B | |
| Straga | 141 cm | M | 141 cm | M | |
| Visina s ROPS-om | |||||
| Podignut | 226 cm | C | 226 cm | C | |
| Spušten | 165 cm | 165 cm | |||
| Ukupna duljina | |||||
| Jedinice za rezanje spuštene | 370 cm | H | 370 cm | H | |
| Jedinice za rezanje podignute (transport) | 370 cm | L | 370 cm | L | |
| Visina podvozja | 15 cm | 15 cm | |||
| Međuosovinski razmak | 171 cm | K | 171 cm | K | |
| Neto težina | 1937 kg | 2277 kg | |||
| (uključujući jedinice za rezanje i bez goriva) | |||||
Note: Specifikacije i dizajn podložni su promjenama bez obavijesti.
| Dužina | 86,4 cm |
| Širina | 86,4 cm |
| Visina | 24,4 cm do nosača |
| 26,7 cm pri visini košnje od 1,9 cm | |
| 34,9 cm pri visini košnje od 10,2 cm | |
| Težina | 88 kg |
Dostupan je niz priključaka i dodatne opreme za poboljšavanje i proširivanje mogućnosti uređaja koje je odobrila tvrtka Toro. Obratite se ovlaštenom serviseru ili distributeru tvrtke Toro ili posjetite stranicu www.Toro.com za popis svih odobrenih priključaka i dodatne opreme.
Upotrebljavajte isključivo originalne zamjenske dijelove i dodatnu opremu tvrtke Toro. Zamjenski dijelovi i dodatni pribor drugih proizvođača mogu biti opasni, a njihova uporaba može poništiti jamstvo.
Note: Odredite lijevu i desnu stranu uređaja s uobičajenog vozačevog položaja.
Nikad ne dopuštajte djeci ili nestručnim osobama da upravljaju uređajem ili da ga servisiraju. Dobna granica za rukovatelje može biti ograničena lokalnim propisima. Vlasnik je odgovoran za obuku svih rukovatelja i mehaničara.
Upoznajte se sa sigurnim radom s opremom, komandama i sigurnosnim znakovima.
Prije nego što napustite položaj rukovatelja, ugasite motor, izvadite ključ i pričekajte da se svi pomični dijelovi zaustave. Pustite da se uređaj ohladi prije podešavanja, održavanja, čišćenja ili skladištenja.
Morate znati brzo zaustaviti uređaj i ugasiti motor.
Provjerite jesu li komande, sigurnosni prekidači i štitovi postavljeni i rade li ispravno. Ako ne rade ispravno, ne upravljajte uređajem.
Prije košenja uvijek pregledajte uređaj kako biste osigurali da su noževi, vijci noževa i sklopovi za rezanje u ispravnom radnom stanju. Zamijenite istrošene ili oštećene noževe i matične vijke u grupama kako bi se održala ravnoteža.
Pregledajte područje na kojem namjeravate upotrebljavati uređaj i uklonite sve predmete koje bi uređaj mogao odbaciti.
Ovaj uređaj proizvodi elektromagnetsko polje. Ako vam je ugrađen elektronički medicinski implantat, savjetujte se s liječnikom prije uporabe ovog uređaja.
Budite krajnje oprezni pri rukovanju gorivom. Gorivo je zapaljivo, a njegove pare su eksplozivne.
Ugasite sve cigarete, cigare, lule i druge izvore paljenja.
Upotrebljavajte samo odobrene spremnike za gorivo.
Ne uklanjajte čep spremnika za gorivo i ne dolijevajte gorivo u spremnik dok je motor upaljen ili vruć.
Ne dolijevajte i ne ispuštajte gorivo u zatvorenom prostoru.
Nemojte skladištiti uređaj ili spremnik za gorivo u blizini otvorenog plamena, iskri ili žižaka poput onih na bojlerima ili drugim uređajima.
Ako prolijete gorivo, nemojte pokretati motor i nemojte pokretati druge izvore paljenja dok pare goriva ne ispare.
Prije pokretanja motora i korištenja uređaja provjerite razinu motornog ulja u kućištu motora; pogledajte Provjera razine motornog ulja.
Prije pokretanja motora i korištenja uređaja provjerite rashladni sustav; pogledajte Provjera rashladnog sustava.
Prije pokretanja motora i korištenja uređaja provjerite hidraulički sustav; pogledajte Provjera razine hidraulične tekućine.
Ispustite vodu ili druge onečišćivače iz separatora vode; pogledajte Ispuštanje vode iz separatora vode i goriva.
Provjerite ima li curenja u stražnjoj osovini i mjenjačkoj kutiji stražnje osovine; pogledajte Provjeravanje stražnje osovine i mjenjačke kutije za curenja.
Kapacitet spremnika za gorivo: 83 l
Important: Upotrebljavajte samo dizelsko gorivo s vrlo niskim sadržajem sumpora. Gorivo s visokim stopama sumpora oštećuje katalizator oksidacije dizelskog goriva (DOC) što uzrokuje probleme u radu i skraćuje vijek trajanja komponenti motora.Nepridržavanje sljedećih upozorenja može dovesti do oštećenja motora.
Nikad ne upotrebljavajte kerozin ili benzin umjesto dizelskog goriva.
Nikad ne miješajte kerozin ili korišteno motorno ulje s dizelskim gorivom.
Nikad ne držite gorivo u spremnicima koji s unutarnje strane imaju pocinčanu oplatu.
Nemojte koristiti aditive za gorivo.
Cetanski broj: 45 ili viši
Sadržaj sumpora: Vrlo niski sadržaj sumpora (<15 ppm)
| Oznaka dizelskog goriva | Lokacija |
| ASTM D975 | SAD |
| Br. 1-D S15 | |
| Br. 2-D S15 | |
| EN 590 | Europska unija |
| ISO 8217 DMX | Međunarodno |
| JIS K2204 Razred 2 | Japan |
| KSM-2610 | Koreja |
Upotrebljavajte samo čisto i svježe dizelsko gorivo ili biodizelska goriva.
Kupujte gorivo u količinama koje se mogu iskoristiti u roku od 180 dana kako biste osigurali da je gorivo svježe.
Upotrebljavajte ljetno dizelsko gorivo (br. 2-D) na temperaturama iznad -7 °C i zimsko (br. 1-D ili mješavinu br. 1-D/2-D) ispod te temperature.
Note: Upotreba zimskog goriva na nižim temperaturama osigurava niže plamište i svojstva hladnog toka koji olakšavaju pokretanje i smanjuju začepljenje filtra za gorivo.Upotreba ljetnog goriva na temperaturama iznad -7 °C pridonosi dužem trajanju pumpe za gorivo i većoj snazi u usporedbi sa zimskim gorivom.
Za ovaj se uređaj može upotrebljavati i mješavina biodizela do B20 (20 % biodizel i 80 % fosilni dizel).
Sadržaj sumpora: Vrlo niski sadržaj sumpora (<15 ppm)
Oznaka biodizelskog goriva: ASTM D6751 ili EN14214
Oznaka mješavine goriva: ASTM D975, EN590 ili JIS K2204
Important: Udio fosilnog dizela mora imati vrlo niski sadržaj sumpora.
Pridržavajte se sljedećih upozorenja:
Mješavine biodizela mogu oštetiti obojene površine.
Upotrebljavajte B5 (udio biodizela 5 %) ili slabije mješavine kad je hladnije.
Kontrolirajte dinamičke brtve, crijeva i statičke brtve koje dolaze u dodir s gorivom jer se mogu s vremenom oštetiti.
Začepljenje filtra goriva moguće je neko vrijeme nakon prelaska na mješavine biodizela.
Kontaktirajte ovlaštenog distributera tvrtke Toro za više informacija o biodizelu.


Napunite spremnik do između 6 i 13 mm ispod vrha spremnika a ne otvora za ulijevanje dizelskim gorivom br. 2-D.
Note: Ako je moguće, napunite spremnik za gorivo nakon svake upotrebe; time će se smanjiti mogućnost nakupljanja kondenzacije unutar spremnika za gorivo.
| Interval servisa održavanja | Postupak održavanja |
|---|---|
| Prije svake uporabe ili svakodnevno |
|
Ispravan tlak zraka u gumama je 1,38 bara.
Important: Održavajte preporučeni tlak u svim gumama kako biste osigurali dobru kvalitetu košnje i ispravan rad uređaja. Osigurajte da su gume dovoljno napuhane.Provjerite tlak zraka u svim gumama prije upravljanja uređajem.

| Interval servisa održavanja | Postupak održavanja |
|---|---|
| Nakon prvog sata |
|
| Nakon prvih 10 sati |
|
| Svakih 200 sati |
|
Pritegnite pritezne matice kotača na 115 – 136 Nm redoslijedom prikazanim na Slika 18 i Slika 19.


Neispravno pritegnute pritezne matice kotača mogle bi prouzročiti tjelesnu ozljedu.
Pritegnite pritezne matice kotača do ispravne vrijednosti momenta sile.
Kako biste izbjegli ozljede ili smrt u slučaju prevrtanja, držite zaštitni luk u podignutom i zaključanom položaju i vežite se sigurnosnim pojasom.
Osigurajte da je sjedalo učvršćeno pomoću spojnika sjedala.
Spušteni zaštitni luk ne pruža zaštitu od prevrtanja.
Ne upravljajte uređajem na neravnom terenu ili padinama ako je zaštitni luk spušten.
Spustite zaštitni luk samo ako je to neophodno.
Nemojte se vezati sigurnosnim pojasom kada je zaštitni luk u spuštenom položaju.
Vozite polako i oprezno.
Podignite zaštitni luk čim budete imali dovoljno visinskog prostora.
Prije vožnje ispod bilo kojeg objekta (npr. grane, vrata, električne žice) pažljivo provjerite razmak iznad glave i ne dodirujte ga.
Important: Uvijek se vežite sigurnosnim pojasom kada je zaštitni luk u podignutom i zaključanom položaju. Nemojte se vezati sigurnosnim pojasom kada je zaštitni luk u spuštenom položaju.
Important: Spustite zaštitni luk samo ako je to potrebno.
Important: Osigurajte da je sjedalo učvršćeno pomoću spojnika sjedala.


Important: Rotacijske jedinice za rezanje često kose približno 6 mm niže od cilindrične jedinice za rezanje s istom izmjerenom postavkom visine. Možda će biti potrebno postaviti visinu rotacijske jedinice za rezanje na 6 mm iznad visine cilindričnih jedinica za rezanje koje režu na istom području.
Important: Pristup stražnjim jedinicama za rezanje uvelike se olakšava skidanjem jedinice za rezanje s uređaja.
Parkirajte uređaj na ravnoj površini, aktivirajte parkirnu kočnicu, spustite jedinicu za rezanje na tlo, zaustavite motor i izvadite ključ za paljenje.
Otpustite vijak koji pričvršćuje svaki nosač za visinu košnje na ploču za visinu košnje (prednja i bočne strane) kako je prikazano na Slika 22.
Uklonite vijak tako da započnete s prednje strane.

Pridržavajte komoru i za to vrijeme uklonite odstojnik (Slika 22).
Pomaknite komoru na željenu visinu košnje i stavite odstojnik u rupu i utor željene visine košnje (Slika 23).

Postavite pločicu s navojima tako da je u ravnini s odstojnikom.
Stavite vijak i prstima ga pritegnite.
Ponovite korake od 4 do 7 kako biste podesili svaku stranu.
Pritegnite sva 3 vijka na 41 Nm. Uvijek prvo pritegnite prednji vijak.
Note: Kod podešavanja većih od 3,8 cm možda će biti potrebno privremeno sastavljanje na srednju visinu kako bi se spriječilo zapinjanje (npr. promjena visina košnje s 3,1 na 7 cm).
| Interval servisa održavanja | Postupak održavanja |
|---|---|
| Prije svake uporabe ili svakodnevno |
|
Ako su prekidači sigurnosnog sustava blokiranja odspojeni ili oštećeni, uređaj bi se mogao neočekivano pokrenuti i uzrokovati tjelesne ozljede.
Nemojte raditi bespotrebne izmjene na prekidačima sustava.
Svakodnevno provjeravajte rad prekidača sigurnosnog sustava blokiranja i zamijenite oštećene prekidače prije upravljanja uređajem.
Prekidači sigurnosnog sustava blokiranja služe kako bi isključili uređaj ako se podignete sa sjedala dok je papučica snage pritisnuta. Možete se podignuti sa sjedala dok motor radi, a papučica snage je u neutralnom položaju NEUTRAL. Iako motor i dalje radi kad isključite prekidač PTO uređaja i otpustite papučicu snage, ugasite motor prije nego što se podignete sa sjedala.
Parkirajte uređaj na ravnoj površini, aktivirajte ručnu kočnicu, spustite jedinice za rezanje i okrenite ključ za paljenje u položaj OFF (ISKLJUčENO).
Pritisnite papučicu snage i okrenite ključ za paljenje u položaj ON (UKLJUčENO).
Note: Ako se motor pokrene, to znači da sigurnosni sustav blokiranja ne radi ispravno. Popravite kvar prije upravljanja uređajem.
Okrenite ključ za paljenje u položaj ON (UKLJUčENO), podignite se sa sjedala i stavite prekidač PTO uređaja u položaj ON (UKLJUčENO).
Note: PTO uređaj ne bi se trebao uključiti. Ako se PTO uređaj uključi, to znači da sigurnosni sustav blokiranja ne radi ispravno. Popravite kvar prije upravljanja uređajem.
Aktivirajte ručnu kočnicu, okrenite ključ za paljenje u položaj ON (UKLJUčENO) i maknite papučicu snage iz neutralnog položaja NEUTRAL.
Note: Na zaslonu sustava InfoCenter prikazat će se poruka traction denied” (blokirana isporuka snage) i uređaj se ne bi trebao pomaknuti. Ako se uređaj ipak pomakne, to znači da sigurnosni sustav blokiranja ne radi ispravno. Popravite kvar prije upravljanja uređajem.
| Interval servisa održavanja | Postupak održavanja |
|---|---|
| Prije svake uporabe ili svakodnevno |
|
Note: Spustite jedinice za rezanje na čisti dio travnjaka ili tvrdu površinu kako biste izbjegli odbacivanje prašine i krhotina.
Kako biste provjerili vrijeme zaustavljanja, sjedite na sjedalo i isključite PTO uređaj. Slušajte okreću li se rotirajući noževi i zabilježite vrijeme potrebno da se noževi potpuno zaustave. Ako je za to potrebno više od 7 sekundi, podesite ventil za kočenje. Nazovite ovlaštenog distributera tvrtke Toro ako trebate pomoć pri navedenom podešavanju.
Ovaj nož omogućuje izvrsno podizanje i raspršivanje u skoro svim uvjetima. Ako vam je potrebno veće ili manje podizanje ili veća ili manja brzina izbacivanja, odaberite drugačiji nož.
Obilježja: odlično podizanje i raspršivanje u većini uvjeta
Nož najbolje radi kod manjih visina košnje od 1,9 do 6,4 cm.
Obilježja:
Izbacivanje je ujednačenije pri manjim visinama košnje.
Izbacivanje rijetko ide na lijevu stranu što omogućuje čišći izgled oko tla bunkera i fairwaya.
Manje snage pri manjim visinama i gustoj travi.
Nož obično bolje radi kod većih visina košnje od 7 do 10 cm.
Obilježja:
Više podizanja i veća brzina izbacivanja
Rijetka ili slaba trava značajno se podiže pri većim visinama košnje.
Mokra ili ljepljiva pokošena trava bolje se izbacuje i na taj način smanjuje začepljenje jedinice za rezanje.
Potrebno je više snage za rad.
Raspršivanje uglavnom ide dalje ulijevo i ostavlja redove otkosa pri manjim brzinama košnje.
Upotreba noža za visoko podizanje u kombinaciji s odbojnikom za malčiranje mogla bi rezultirati lomom noža, a to bi za posljedicu moglo imati tjelesnu ozljedu ili smrt.
Nemojte upotrebljavati nož za visoko podizanje zajedno s odbojnikom za malčiranje.
Ovaj je nož namijenjen za izvrsno malčiranje lišća.
Obilježje: izvrsno malčiranje lišća
| Nož s kutnim krilom | Nož za visoko podizanje s paralelnim krilom(nemojte upotrebljavati s odbojnikom za malčiranje) | Odbojnik za malčiranje | Strugač valjka | |
| Košenje trave: visina košnje od 1,9 do 4,4 cm | Preporučeno u većini primjena | Mogao bi dobro raditi na tankoj ili rijetkoj travi | Dokazano povećava izbacivanje i učinkovitost nakon košenja sjevernih vrsta trava koje se kose najmanje tri puta tjedno i reže se manje od trećine vlati trave. Nemojte upotrebljavati s nožem za visoko podizanje s paralelnim krilom | Upotrebljavajte ga kad god se na valjcima nakupi trava ili su vidljive velike, plosnate nakupine trave. Strugači mogu povećati stvaranje nakupina kod određenih primjena. |
| Košenje trave: visina košnje od 5 do 6,4 cm | Preporučeno za gustu ili bujnu travu | Preporučeno za tanku ili rijetku travu | ||
| Košenje trave: visina košnje od 7 do 10 cm | Mogao bi dobro raditi na bujnoj travi | Preporučeno u većini primjena | ||
| Malčiranje lišća | Preporučeno za upotrebu s odbojnikom za malčiranje | Nije dopušteno | Upotrebljavajte samo s nožem s kombiniranim krilom, atomskim nožem ili nožem s kutnim krilom | |
| Prednosti | Ujednačeno izbacivanje pri manjoj visini košnje; čišći izgled oko bunkera i fairwaya; zahtijeva manju snagu | Više podizanja i veća brzina izbacivanja; rijetka ili slaba trava podiže se pri većoj visini košnje; mokra ili ljepljiva pokošena trava učinkovito se izbacuje | Mogao bi poboljšati izbacivanje i izgled pri određenim primjenama za košnju trave; vrlo dobar za malčiranje lišća | Smanjuje nakupljanje na valjku kod određenih primjena |
| Nedostaci | Ne podiže dobro travu primjena s velikom visinom košnje; mokra ili ljepljiva trava obično se nakuplja u komori, što dovodi do loše kvalitete košnje i zahtijeva veću snagu | Zahtijeva više snage za rad u određenim primjenama; često ostavlja redove otkosa pri manjoj visini košnje bujne trave; nemojte upotrebljavati s odbojnikom za malčiranje | Trava će se nakupljati u komori ako pokušate ukloniti višak trave dok je odbojnik postavljen |
Na zaslonu se prikazuju informacije o uređaju, kao što su operativno stanje, razne dijagnostike i druge informacije o uređaju. Na zaslonu se prikazuje više prikaza. Možete se u bilo kojem trenutku prebacivati s jednog zaslona na drugi pritiskanjem bilo kojeg gumba zaslona i odabirom odgovarajuće strelice.

Note: Namjena svakog gumba može se promijeniti ovisno o tome što je u tom trenutku potrebno. Svaki je gumb označen ikonom koja prikazuje njegovu trenutačnu funkciju.
![]() | Brojač sati rada |
![]() | Postavke funkcije Virtual Pedal Stop |
![]() | Rukovatelj mora sjediti na sjedalu. |
![]() | Aktivirana je parkirna kočnica. |
![]() | Temperatura rashladne tekućine motora (°C ili °F) |
![]() | Snaga ili papučica snage |
![]() | Tempomat je aktiviran. |
![]() | Zahtjev za periodičku regeneraciju na čekanju |
| Zahtjev za potpunu regeneraciju ili regeneraciju za oporavak | |
![]() | U tijeku je potpuna regeneracija ili regeneracija za oporavak. |
![]() | Visoka temperatura ispušnih plinova |
![]() | Neispravna dijagnostika kontrole dušikovih oksida; odvezite uređaj natrag na prodajno mjesto i kontaktirajte svog ovlaštenog distributera tvrtke Toro (verzija softvera U i novija). |
![]() | Isključen je PTO uređaj. |
![]() | PTO uređaj je uključen. |
![]() | Akumulator |
![]() | Upozorenje |
![]() | Aktivno |
![]() | Neaktivno |
![]() | Prethodno |
![]() | Sljedeće |
![]() | Povećanje |
![]() | Smanjenje |
![]() | Prethodni zaslon |
![]() | Sljedeći zaslon |
![]() | Povećanje vrijednosti |
![]() | Smanjenje vrijednosti |
![]() | Izbornik |
![]() | Pomicanje prema gore/dolje |
![]() | Pomicanje ulijevo/udesno |
![]() | Temperatura hidraulične tekućine (°C ili °F) |
![]() | Velika brzina (transport) |
![]() | Mala brzina (košnja) |
![]() | Ventilator (mijenjanje smjera okretanja ventilatora) |
![]() | Sve jedinice za rezanje podignute |
![]() | Sve jedinice za rezanje spuštene |
![]() | Središnje jedinice za rezanje podignute |
![]() | Središnje jedinice za rezanje spuštene |
![]() | Lijeve jedinice za rezanje podignute |
![]() | Lijeve jedinice za rezanje spuštene |
![]() | Desne jedinice za rezanje podignute |
![]() | Desne jedinice za rezanje spuštene |
![]() | Zaključano |
Pristup
moguć samo uz unos PIN-a
Da biste pristupili izbornicima sustava InfoCenter, pritisnite gumb za pristup izborniku dok ste na glavnom zaslonu. Time se prebacujete na glavni izbornik. U sljedećim tablicama potražite kratak opis opcija dostupnih u izbornicima:
| Glavni izbornik – Stavka izbornika | Opis |
| Faults (Kvarovi) | U izborniku Kvarovi nalazi se popis nedavnih kvarova uređaja. Pročitajte Priručnik za održavanje ili kontaktirajte ovlaštenog distributera tvrtke Toro za više informacija o izborniku Kvarovi i ondje sadržanim informacijama. |
| Service (Upotreba) | U izborniku Upotreba nalaze se informacije o uređaju, kao što su sati upotrebe, brojači i drugi slični brojevi. |
| Diagnostics (Dijagnostika) | U izborniku Dijagnostika prikazuje se stanje svih prekidača, senzora i komandi uređaja. Tu opciju možete upotrijebiti za rješavanje određenih problema jer ćete brzo dobiti informacije o tome koje su komande uređaja UKLJUčENE, a koje ISKLJUčENE. |
| Settings (Postavke) | Izbornik Postavke omogućuje vam prilagođavanje i izmjenu konfiguracijskih varijabli na zaslonu. |
| Machine Settings (Postavke uređaja) | Izbornik Postavke uređaja omogućuje vam podešavanje ograničenja ubrzanja, brzine i protuteže. |
| About (Informacije o uređaju) | U izborniku Informacije o uređaju navode se broj modela, serijski broj i verzija softvera uređaja. |
| Upotreba – Stavka izbornika | Opis |
| Hours (Sati) | Sadržava popis ukupnog broja sati tijekom kojih su uređaj, motor i PTO uređaj bili uključeni, kao i broja sati tijekom kojih je uređaj bio prenošen i u stanju koje zahtjeva servis. |
| Counts (Brojač) | Sadrži popis brojenja koje je uređaj proveo. |
Papučica snage![]() | |
Pogonska pumpa![]() | |
| Ventilator | Pokazuje da je ventilator aktivan u sljedećim slučajevima: visoka temperatura motora, visoka temperatura ulja, visoka temperatura motora ili hidrauličnog pogona i ventilator uključen |
| Potrošnja goriva | Prikazuje potrošnju goriva. |
| DPF Regeneration (Regeneracija DPF filtra) | Opcija za regeneraciju filtra krutih čestica za dizelske motore i podizbornici DPF filtra |
| Dijagnostika – Stavka izbornika | Opis |
| Left Cutting Unit | Pročitajte Priručnik za održavanje ili kontaktirajte ovlaštenog distributera tvrtke Toro za više informacija o izborniku Engine Run (Rad motora) i ondje sadržanih informacija. |
| Center Cutting Unit | |
| Right Cutting Unit | |
| Traction | |
| HI/LO Range | |
| PTO | |
| Motor | |
CAN Statistics (Statistika CAN sabirnice)![]() |
| Postavke – Stavka izbornika | Opis |
| Enter PIN (Unos PIN-a) | Omogućuje osobi (nadzorniku/mehaničaru) koju je ovlastila vaša tvrtka da pristupi zaštićenim izbornicima s pomoću PIN-a. |
| Backlight (Pozadinsko svjetlo) | Upravlja svjetlinom LCD zaslona. |
| Language (Jezik) | Upravlja jezikom koji se upotrebljava u sustavu InfoCenter*. |
| Font Size (Veličina fonta) | Upravlja veličinom fonta na zaslonu. |
| Units (Jedinice) | Upravlja jedinicama koje se upotrebljavaju u sustavu InfoCenter (engleske ili metričke). |
Protected Menus (Zaštićeni izbornici)![]() | Omogućuje osobi koju je ovlastila vaša tvrtka da pristupi zaštićenim izbornicima s pomoću PIN-a. |
Protect Settings (Zaštita postavki)![]() | Daje mogućnost promjene postavki u zaštićenim postavkama. |
Note: Izbornik Postavke uređaja prikazat će se samo nakon unosa PIN-a.
Postavke uređaja – Stavka izbornika![]() | Opis |
Mow Speed (Brzina košnje) ![]() | Upravlja maksimalnom brzinom košnje (niski raspon) |
Trans. Speed (Brzina tijekom transporta) ![]() | Upravlja najvećom brzinom tijekom transporta (visoki raspon) |
Smart Power ![]() | Uključuje i isključuje opciju Smart Power |
Counterbalance (Protuteža) ![]() | Upravlja količinom protuteže koju primjenjuju jedinice za rezanje |
Turnaround (Zaokret) ![]() | Uključuje i isključuje opciju zaokreta |
Acceleration (Ubrzanje) ![]() | Postavke Low (Nisko), Medium (Srednje) i High (Visoko) upravljaju time koliko se brzo mijenja brzina vožnje kad pomičete papučicu snage. |
Zaštićeno
pod Protected Menus (Zaštićeni izbornici) –
pristup moguć samo uz unos PIN-a
| Informacije o uređaju – Stavka izbornika | Opis |
| Model | Navodi se broj modela uređaja. |
| SN (Serijski broj) | Navodi se serijski broj uređaja. |
| Machine Controller Revision (Revizija regulatora uređaja) | Navodi se revizija softvera za glavni regulator. |
| S/W Revision (Revizija softvera) | Navodi se revizija softvera za glavni regulator. |
InfoCenter Revision (Revizija sustava InfoCenter)![]() | Navodi se revizija softvera za sustav InfoCenter. |
Secondary software (Sekundarni softver)![]() | Prikazuje broj dijela i reviziju kontrolera jedinice za rezanje za model Groundsmaster 4700. |
| Stage V (Stupanj V.) | Prikazuje da ili ne, ovisno o motoru. |
Neke postavke konfiguracija za rad mogu se podesiti u izbornikuPOSTAVKE sustava InfoCenter.Te postavke možete zaključati u ZAšTIćENOM IZBORNIKU.
Note: Početnu lozinku postavlja vaš distributer u trenutku isporuke.
Note: Tvornički zadani PIN za uređaj glasi 0000 ili 1234.Ako ste promijenili PIN i zaboravili ga, za pomoć se obratite ovlaštenom distributeru tvrtke Toro.
Na GLAVNOM IZBORNIKU pomaknite se dolje na izbornik POSTAVKE i gumb za odabir (Slika 25).

U izborniku POSTAVKE pomaknite se na stavku ENTER PIN (Unos PIN-a) i pritisnite gumb za odabir (Slika 26A).

Da biste unijeli PIN, pritišćite gumbe za pomicanje gore i dolje dok se ne pojavi točna prva znamenka, a zatim pritisnite desni gumb kako biste se prebacili na sljedeću znamenku (Slika 26B i Slika 26C). Ponavljajte taj korak dok ne unesete sve znamenke.
Pritisnite gumb za odabir.
Note: Ako zaslon prihvati PIN i otključa se zaštićeni izbornik, u gornjem desnom kutu zaslona pojavljuje se riječ PIN”.
Za zaključavanje zaštićenog izbornika okrenite ključ za paljenje u položaj ISKLJUčENO i zatim u položaj UKLJUčENO.
U izborniku POSTAVKE pomaknite se dolje do stavke PROTECT SETTINGS (Zaštita postavki).
Da biste pregledali i promijenili postavke bez unošenja
PIN-a, promijenite ZAšTITU POSTAVKI na
(Isključeno)
pomoću gumba za odabir.
Da biste pregledali i promijenili postavke pomoću
PIN-a, gumbom za odabir promijenite ZAšTITU POSTAVKI na
(Uključeno),
postavite PIN i okrenite ključ za paljenje u položaj ISKLJUčENO i zatim u položaj UKLJUčENO.
Tajmer za servisiranje ponovno postavlja broj sati do servisa nakon provođenja redovitog postupka održavanja.
U izborniku POSTAVKE pomaknite se na stavku ENTER PIN (Unos PIN-a) i pritisnite gumb za odabir.
Unesite PIN; pogledajte odjeljak Pristup zaštićenim izbornicima.
U izbornikuUPOTREBA pomaknite se na stavku HOURS (Sati) i pritisnite gumb za odabir.
Pomaknite se dolje do SERVICE DUE (Vrijeme do servisa).
Note: Ako je trenutačno potrebno servisiranje, pokraj poruke SERVICE DUE (Vrijeme do servisa) prikazuje se NOW (Sada).
Označite interval servisiranja i pritisnite gumb za odabir.
Note: Interval servisiranja (250 sati, 500 sati itd.) prikazuje se pored porukeSERVICE DUE (Vrijeme do servisa).Interval servisiranja je stavka zaštićenog izbornika.
Kad se pojavi zaslon RESET SERVICE TIMER? (Resetirati interval servisiranja?) pritisnite gumb za odabir kako biste odabrali YES (Da) ili gumb za povratak kako biste odabrali NO (Ne).
Odabirom opcije YES (Da) zaslon intervala servisiranja se briše i vraća se na odabir sati do servisiranja.
Odabrana postavka prikazana je kao X na stupčastom dijagramu brzine vožnje, zajedno s postavkama tempomata i graničnika papučice snage. Oznaka X na dijagramu pokazuje da je najveću dopuštenu brzinu ograničio nadzornik (Slika 31).
Note: Ova se postavka zadržava u memoriji i primjenjuje se na brzinu vožnje dok je ne promijenite.
U izbornikuPOSTAVKE UREđAJA pomaknite se dolje do stavke MOW SPEED (Brzina košnje).
S pomoću lijevog i desnog gumba povećajte maksimalnu brzinu košnje u koracima od 5 % na glavnom zaslonu te u koracima od 10 % u izborniku POSTAVKE UREđAJA. Raspon na glavnom zaslonu je 10 do 100 %, a u izborniku POSTAVKE UREđAJA je 30 do 100 %.
Odabrana postavka prikazana je kao X na stupčastom dijagramu brzine vožnje, zajedno s postavkama tempomata i graničnika papučice snage. Oznaka X na dijagramu pokazuje da je najveću dopuštenu brzinu ograničio nadzornik (Slika 31).
Note: Ova se postavka zadržava u memoriji i primjenjuje se na brzinu vožnje dok je ne promijenite.
U izbornikuPOSTAVKE UREđAJA pomaknite se dolje do stavke TRANSPORT SPEED (Brzina pri transportu).
S pomoću lijevog i desnog gumba povećajte maksimalnu brzinu košnje u koracima od 5 % na glavnom zaslonu te u koracima od 10 % u izborniku POSTAVKE UREđAJA. Raspon na glavnom zaslonu je 10 do 100 %, a u izborniku POSTAVKE UREđAJA je 30 do 100 %.
U izborniku POSTAVKE pomaknite se dolje do stavke SMART POWER.
Pritisnite desni gumb za odabir između opcija ON (Uključeno) i OFF (Isključeno).
U izborniku POSTAVKE UREđAJA pomaknite se dolje do stavke COUNTERBALANCE (Protuteža).
Pritisnite desni gumb za odabir protuteže i odabir između opcija LOW (NISKO), MEDIUM (SREDNJE) i HIGH (VISOKO).
U izborniku POSTAVKE UREđAJA pomaknite se dolje na stavku ACCELERATION (Ubrzanje).
Pritisnite desni gumb za odabir između opcija LOW (Nisko), MEDIUM (Srednje) i HIGH (Visoko).
U izborniku POSTAVKE pomaknite se dolje na stavku TURNAROUND (Zaokret).
Pritisnite desni gumb za odabir između ON (Uključeno) i OFF (Isključeno).
Note: Ako je tako jednostavnije, možda se odlučite provesti potpunu regeneraciju prije nego što količina čađe dosegne 100 %, pod uvjetom da je motor radio više od 50 sati od posljednje uspješne periodične, potpune ili regeneracije za oporavak.
U izbornikuza servisera možete vidjeti trenutačno stanje kontrole regeneracije motora i trenutačnu razinu čađe.
U izborniku POSTAVKE pomaknite se na stavku DPF RENGERATION (Regeneracija DPF filtra) i pritisnite gumb za odabir.
U izborniku REGENERACIJA DPF FILTRA pomaknite se dolje na izbornik TECHNICIAN (Izbornik za servisera) i pritisnite gumb za odabir.


Ako treperi crveno – aktivna greška
Ako svijetli crveno – aktivna obavijest
Ako svijetli plavo – kalibracija/poruke
Ako svijetli zeleno – normalan rad
Na uređaju se prikazuju procijenjene brzine vožnje kao postotak.
Brzina se prikazuje u rasponu između 10 i 100 % na zaslonima tempomata i funkcije Virtual Pedal Stop, te između 30 i 100 % u izborniku POSTAVKE UREđAJA.
Pri pokretanju uređaja u hladnim vremenskim uvjetima način rada za zagrijavanje nakratko ograničava brzinu motora na prazan hod s niskim brojem okretaja nakon pokretanja motora kako bi se spriječila moguća oštećenja komponenti zbog upravljanja uređajem s hladnim uljem.
Ikona pahulje
u sustavu InfoCenter pokazuje da je aktivan način
rada za zagrijavanje. Nemojte upravljati uređajem dok ne završi
zagrijavanje.
Vlasnik/rukovatelj može spriječiti nesreće koje mogu uzrokovati tjelesne ozljede ili oštećenja imovine i odgovoran je za njih.
Nosite prikladnu odjeću, uključujući zaštitu za oči, duge hlače, čvrstu obuću otpornu na proklizavanje i zaštitu za sluh. Zavežite kosu ako je duga i nemojte nositi labavu odjeću ili viseći nakit.
Ne upravljajte kosilicom ako ste bolesni, umorni ili pod utjecajem alkohola ili droga.
Pozorno upravljajte uređajem. Ne bavite se aktivnostima koje vas ometaju; u suprotnom može doći do ozljeda ili oštećenja imovine.
Prije pokretanja motora osigurajte da su svi pogoni u neutralnom položaju, da je ručna kočnica aktivirana i da ste na vozačevom položaju.
Nemojte prevoziti putnike na uređaju i osigurajte da su prolaznici i djeca izvan područja rada uređaja.
Upravljajte uređajem samo kad je vidljivost dobra kako biste izbjegli rupe ili skrivene opasnosti.
Izbjegavajte košenje mokre trave. Smanjeno trenje može dovesti do proklizavanja uređaja.
Držite ruke i noge podalje od rotirajućih dijelova. Ne približavajte se otvorima izbacivača.
Pogledajte prema natrag i dolje prije vožnje unatrag kako biste provjerili da je put slobodan.
Budite oprezni pri približavanju oštrim zavojima, grmlju, stablima ili drugim predmetima koji bi vam mogli zakloniti vidno polje.
Zaustavite noževe kad god ne kosite.
Zaustavite uređaj, izvadite ključ i pričekajte da se svi pomični dijelovi zaustave prije nego što pregledate priključak nakon sudara s objektom ili ako uređaj proizvodi neobične vibracije. Izvršite sve potrebne popravke prije nastavljanja s radom.
Usporite i budite oprezni pri skretanju i prelaženju cesta i pločnika. Uvijek poštujte pravo prednosti drugih sudionika u prometu.
Isključite pogon jedinice za rezanje, isključite motor, izvadite ključ i pričekajte da se svi pomični dijelovi zaustave prije podešavanja visine košnje (osim ako je možete podesiti iz radnog položaja).
Motor smije raditi samo u dobro prozračenim prostorima. Ispušni plinovi sadržavaju ugljični monoksid, koji u slučaju udisanja može uzrokovati smrt.
Nikad ne ostavljajte upaljen uređaj bez nadzora.
Prije nego što napustite položaj rukovatelja, učinite sljedeće:
Parkirajte uređaj na ravnoj površini.
Isključite PTO uređaj i spustite priključke.
Aktivirajte ručnu kočnicu.
Ugasite motor i izvadite ključ.
Pričekajte da se svi pomični dijelovi zaustave.
Upravljajte uređajem samo u uvjetima dobre vidljivosti. Ako postoji opasnost od munja, nemojte upravljati uređajem.
Ne upotrebljavajte uređaj kao vučno vozilo.
Upotrebljavajte samo dodatnu opremu, priključne i zamjenske dijelove koje je odobrio Toro.
Koristite tempomat (ako postoji) samo kad se uređaj nalazi na otvorenoj, ravnoj površini bez prepreka na kojoj se može bez prekida kretati stalnom brzinom.
ROPS je cjelovit i učinkovit sigurnosni uređaj.
Nemojte uklanjati komponente ROPS-a s uređaja.
Provjerite je li sigurnosni pojas pričvršćen na uređaj.
Povucite remen pojasa preko krila i ukopčajte ga u kopču na drugoj strani sjedala.
Za otkopčavanje sigurnosnog pojasa, primite pojas, pritisnite gumb na kopči da biste otkopčali pojas i usmjerite pojas prema otvoru za automatsko uvlačenje pojasa. Provjerite biste li u hitnom slučaju mogli brzo otkopčati pojas.
Pažljivo provjerite ima li prepreka iznad glave i ne dodirujte ih.
Održavajte ROPS u sigurnom radnom stanju tako da povremeno temeljito pregledate ima li oštećenja i održavate sve pričvrsnice dobro pritegnutima.
Zamijenite oštećene komponente ROPS-a. Nemojte ih popravljati ili izmjenjivati.
Kabina koju postavlja tvrtka Toro je zaštitni luk.
Uvijek se vežite sigurnosnim pojasom.
Držite sklopivi zaštitni luk u podignutom i zaključanom položaju i vežite se sigurnosnim pojasom tijekom upravljanja uređajem sa zaštitnim lukom u podignutom položaju.
Privremeno spustite sklopivi zaštitni luk samo ako je to neophodno. Nemojte se vezati sigurnosnim pojasom kada je zaštitni luk spušten.
Imajte na umu da spušteni zaštitni luk ne pruža zaštitu od prevrtanja.
Provjerite površinu na kojoj namjeravate kositi i nikad ne spuštajte sklopivi zaštitni luk na površinama koje imaju padine, litice ili vodu.
Nagibi su jedan od glavnih čimbenika koji uzrokuju gubitak kontrole nad uređajem i nesreće s prevrtanjem, što može uzrokovati teške ozljede ili smrt. Vi ste odgovorni za sigurno upravljanje na padini. Upravljanje uređajem na bilo kojoj padini zahtijeva dodatnu pozornost.
Ocijenite uvjete na lokaciji i pregledajte lokaciju kako biste utvrdili je li padina sigurna za upravljanje uređajem. Pri pregledavanju terena uvijek razumno prosuđujte.
Pročitajte upute za upravljanje uređajem na padinama navedene u nastavku i utvrdite možete li upravljati strojem u uvjetima na toj lokaciji i toga dana. Promjene terena mogu uzrokovati promjenu u radu uređaja na padinama.
Izbjegavajte pokretanje, zaustavljanje ili skretanje na padinama. Nemojte naglo mijenjati brzinu ili smjer. Skrećite polako i postupno.
Nemojte upravljati uređajem u uvjetima kada su trenje, upravljanje ili stabilnost upitni.
Uklonite ili označite prepreke kao što su jarci, rupe, kamenje, brazde i izbočine na terenu ili ostale skrivene opasnosti. Visoka trava može zakloniti pogled na prepreke. Neravan teren može uzrokovati prevrtanje uređaja.
Uzmite u obzir da upravljanje uređajem na mokroj travi, na padinama ili nizbrdo može uzrokovati gubitak trenja. Gubitak trenja pogonskih kotača može dovesti do proklizavanja ili gubitka kočenja i upravljanja.
Budite krajnje oprezni pri upravljanju uređajem u blizini litica, jaraka, nasipa, vode ili drugih opasnosti. Ako kotači prijeđu preko rubova ili se rub uruši, može doći do naglog prevrtanja uređaja. Uspostavite sigurnu udaljenost između uređaja i opasnosti.
Utvrdite opasnosti u podnožju padine. Ako postoje opasnosti, pokosite padinu uređajem kojim se upravlja pješke.
Ako je moguće, neka jedinica(e) za rezanje bude(u) spuštena(e) do tla tijekom rada na padinama. Podizanje jedinice(a) za rezanje na padinama može destabilizirati uređaj.
Budite krajnje oprezni sa sustavima za skupljanje trave i drugim priključcima. Oni mogu utjecati na stabilnost uređaja i dovesti do gubitka kontrole nad uređajem.
Ovaj uređaj ima prigušnicu kao automobil kojom se upravlja putem papučice snage.
Ovaj uređaj nema zaseban prekidač prigušnice ili polugu za upravljanje položajem prigušnice.
Kad maknete stopalo s papučice snage, uređaj dinamički koči dok se ne zaustavi.
Komande papučica optimizirane su da daju reaktivan ali stabilan odgovor, omogućavajući vam da zadržite stalnu kontrolu na zahtjevnom terenu, pritom zadržavajući mogućnost brzog i nesmetanog kočenja.
Prilikom transporta papučica snage radit će na način sličan automobilu i mijenjati brzinu motora i vožnje ovisno o položaju papučice snage.
Prilikom košenja, brzina motora automatski će se podići na prazan hod s visokim brojem okretaja.
Ako je motor u praznom hodu s niskim brojem okretaja, obavljanje funkcije poput podizanja jedinica za rezanje ili pritiskanje papučice snage podiže brzinu motora na najmanju radnu brzinu, osiguravajući dovoljno snage za učinkovito izvršavanje funkcije.
Ograničite vrijeme praznog hoda motora prema preporuci za regeneraciju DPF filtra. Isključite uređaj kako biste spriječili produljeno vrijeme praznog hoda.
Maksimalne brzine određene u postavkama izbornika zaštićenih PIN-om postavlja nadzornik kako bi ograničio maksimalnu brzinu vožnje uređaja.
Brzina vožnje, tempomata i graničnika papučice snage koje se mogu postići ograničene su maksimalnim brzinama postavljenima u izborniku zaštićenom PIN-om.
Kad pokrenete motor, a temperatura hidraulične tekućine je niska, brzina motora automatski se poveća kako bi optimizirala rad i zagrijava uređaj. Brzina motora automatski se vraća u prazan hod s niskim brojem okretaja nakon što se temperatura hidraulične tekućine vrati u normalni radni raspon.
U uobičajenim uvjetima rada ovaj je uređaj namijenjen za rad u položaju H/L AUTO (VELIKA/MALA BRZINA – AUTOM.) na prekidaču za raspon brzine (Slika 29). Ovaj položaj omogućuje uređaju automatsko prebacivanje između male i velike brzine, ovisno o tome služi li uređaj za košenje ili transport.
Ako odaberete položaj LOW (NISKO) na prekidaču za raspon brzine (Slika 29), uređaj će uvijek raditi unutar raspona male brzine. Ova je postavka poželjna za rad u servisu, području utovara ili istovara s prikolice, penjanja uz strme nagibe ili za bilo koji drugi oblik rada pri kojem nisu poželjne velike brzine vožnje.
Ako se na putu nalazi prepreka, podignite jedinice za rezanje za košnju oko nje.
Pri transportu uređaja između područja rada aktivirajte raspon AUTO HI/LOW (VELIKA/MALA BRZINA – AUTOM.), isključite PTO uređaj i podignite jedinice za rezanje u najviši položaj. Time se omogućuje da papučica snage radi kao u automobilu.
Uvijek vozite polako u zahtjevnim područjima.
Za upoznavanje s karakteristikama uređaja, vježbajte upravljanje uređajem.
Podignite jedinice za rezanje, deaktivirajte ručnu kočnicu, pritisnite papučicu snage prema naprijed i pažljivo vozite do otvorenog područja.
Vježbajte vožnju jer uređaj ima hidrostatski prijenos i njegove se karakteristike mogu razlikovati od drugih uređaja za održavanje travnjaka.
Vježbajte kretanje unaprijed i unatrag te pokretanje i zaustavljanje uređaja. Za zaustavljanje uređaja maknite stopalo s papučice snage i pustite je neka se vrati u neutralni položaj NEUTRAL.
Note: Pri kretanju uređaja niz padinu, možda ćete za zaustavljanje morati upotrijebiti papučicu za vožnju unatrag.
Maknite stopalo s papučice snage i pritisnite papučice kočnice za brzo zaustavljanje.
Vježbajte vožnju oko prepreka dok su jedinice za rezanje podignute i spuštene. Pažljivo vozite kroz uske prolaze između predmeta kako ne biste oštetili uređaj ili jedinice za rezanje.
Ovaj uređaj ima 2 raspona brzine – malu i veliku brzinu. Prekidač raspona brzine omogućuje odabir sljedećih položaja (Slika 29):
Raspon High/Low Auto (Velika/mala brzina – Autom.):
Odabir položaja H/L AUTO (VELIKA/MALA BRZINA – AUTOM.) omogućuje da uređaj automatski prebacuje između raspona velike i male brzine. Položaj H/L AUTO (VELIKA/MALA BRZINA – AUTOM.) usporediv je s položajem D (vožnja) u automobilu s automatskim prijenosom.
Note: Kako bi se spriječilo moguće oštećenje travnjaka, uređaj će prebacivati između raspona male i velike brzine samo kad je papučica snage u neutralnom položaju NEUTRAL, a kotači se ne okreću.
Note: Jedinice za rezanje ne mogu se spustiti iz transportnog položaja dok uređaj vozite u rasponu velike brzine.
Ako je odabran položaj H/L AUTO (VELIKA/MALA BRZINA – AUTOM.) i jedinice za rezanje su spuštene radi košnje, raspon brzine ograničava se na raspon male brzine.
Za prebacivanje u raspon velike brzine, odaberite položaj H/L AUTO (VELIKA/MALA BRZINA – AUTOM.) na prekidaču raspona brzine, isključite PTO uređaj i podignite jedinice za rezanje u najviši položaj.
Kad je odabran položaj H/L AUTO (VELIKA/MALA BRZINA – AUTOM.), uređaj će automatski prebacivati između raspona velike i male brzine vožnje, ovisno o položaju jedinica za rezanje i/ili položaju prekidača PTO uređaja.
Niski raspon:
Odabirom položaja LOW (NISKO) na prekidaču uređaj u svakom trenutku ostaje raditi u rasponu male brzine. Položaj LOW (NISKO) usporediv je s položajem 2, 1 ILI L u automobilu s automatskim prijenosom.
Kad je odabran položaj LOW (NISKO), uređaj radi samo i rasponu male brzine.
Upotrebljavajte položaj LOW (NISKO) pri utovaru uređaja na prikolicu ili kretanju uskim područjima poput servisa.

Ovom se papučicom upravlja brzinom kretanja uređaja unaprijed i unatrag te dinamičkim kočenjem kada je stavite u neutralni položaj.
Papučica snage predstavlja prigušnicu kao u automobilu – brzina motora i brzina uređaja reagiraju na pomicanje papučice.
Prilikom transporta papučica snage radit će na način sličan automobilu i mijenjati brzinu motora i vožnje ovisno o položaju papučice snage.
Prilikom košenja, motor automatski podiže broj okretaja u praznom hodu kako bi se optimizirao učinak košenja, a papučica snage kontrolira samo brzinu vožnje.
Što više gurate papučicu naprijed ili unatrag, to će se uređaj brže kretati.
Kako bi se uređaj lagano i kontrolirano zaustavio prilikom transporta ili košenja, stopalom vratite papučicu snage u neutralni položaj brzinom koja vama odgovara.
Da biste omogućili maksimalno kočenje, maknite stopalo s papučice snage kako bi se mogla vratiti u neutralni položaj. Uređaj se zaustavlja s pomoću dinamičkog kočenja.
Takav sustav vožnje omoguće vam da podesite postavke ubrzanja u skladu s vašim željama i uvjetima na terenu. Pogledajte Način rada ubrzanja za promjenu postavki.

Funkcija Virtual Pedal Stop (VPS) omogućuje privremeno postavljanje ograničenja maksimalne brzine vožnje za košnju i za transport.
Navedenoj opciji pristupite odabirom gumba za gore ili dolje sustava InfoCenter u glavnom izborniku (Slika 31).
S pomoću funkcije VPS maksimalnu brzinu vožnje prilagodite sebi ili primjeni.
Ne možete podesiti ograničenje brzine funkcije VPS na brzinu veću od zaštićene maksimalne brzine vožnje koju je postavio nadzornik.
VPS je privremena postavka. Ova se značajka vraća na postavke brzine nadzornika kad se ključ pomakne u položaj ISKLJUčENO.
Kada nadzornik promijeni brzinu vožnje u postavkama zaštićenog izbornika ili kada je vi promijenite s pomoću funkcije VPS, papučica snage automatski se reprogramira za upotrebu punog raspona kretanja od neutralnog položaja do nove maksimalne brzine.
Smanjenje maksimalne brzine vožnje omogućuje vam da precizno kontrolirate sustav vožnje.

Dok koristite funkciju VPS, privremeno smanjite maksimalnu brzinu za sljedeće zadatke:
Pri posljednjem prelasku preko fairwaya.
Rad u radionici ili blizu nje.
Utovar uređaja na prikolicu.
Note: Niža maksimalna brzina omogućuje bolju kontrolu tijekom izvođenja ovih zadataka.
Important: U slučajevima iznenadnog kočenja, maknite stopalo s papučice snage i zatim pritisnite papučice kočnice.
Samo u slučaju raspona male brzine možete upotrebljavati kočnice pojedinačno radi okretanja ili boljeg prianjanja. U slučaju pojedinačne upotrebe kočnice učinite sljedeće:
Odspojite zasun za zaključavanje papučice (Slika 32).
Za pomoć pri skretanju pritisnite papučicu kočnice koja odgovara strani na koju skrećete. Na taj ćete način dobiti uži radijus skretanja.
Note: Pažljivo upotrebljavajte pojedinačne kočnice, posebno na mekanoj ili mokroj travi, jer bi se travnjak mogao slučajno pokidati.
Za pomoć u obliku trenja primijenite lagani pritisak na papučicu kočnice koja odgovara prednjoj gumi koja proklizava. Na primjer, na određenim padinama kotač za kretanje uzbrdo proklizava i slabo prianja. Dođe li do toga, postupno i povremeno pritišćite papučicu kočnice za kretanje uzbrdo dok kotač za kretanje uzbrdo ne prestane proklizavati. Na taj se način povećava trenje na kotaču za spuštanje nizbrdo.

Prekidačem tempomata odabire se i zadržava tempomat željene brzine vožnje. Pritiskom na stražnji dio prekidača isključuje se tempomat, središnji dio prekidača služi za aktivaciju funkcije tempomata, a prednji dio prekidača pritišće se za odabir brzine vožnje.
Nakon što je prekidač tempomata aktiviran, a brzina je postavljena (Slika 33), podesite postavku brzine tempomata s pomoću sustava InfoCenter (Slika 31 i Slika 34).
Tempomat deaktivirajte na sljedeći način:
Ako ste u rasponu velike brzine, pritisnite papučicu snage za vožnju unatrag, pritisnite radne kočnice ili pritisnite prekidač tempomata u položaj OFF (ISKLJUčENO).
Ako ste u rasponu male brzine, pritisnite papučicu snage za vožnju unatrag, pritisnite radne kočnice, isključite prekidač PTO uređaja, ili pritisnite prekidač tempomata u položaj OFF (ISKLJUčENO).

Postavite brzinu tempomata za veće udaljenosti bez puno prepreka.
Na zahtjevnom terenu kontrolirajte brzinu s pomoću sustava InfoCenter.
S pomoću tempomata kontrolirajte zaokrete na sljedeći način:
Postavite tempomat na manju brzinu pri kojoj se osjećate ugodno i sigurno dok se okrećete.
Pritisnite papučicu snage da biste povećali brzinu za košnje tijekom prvog prelaska kosilicom.
Maknite stopalo s papučice dok se okrećete za drugi prelazak.
Uređaj će usporiti do male brzine tempomata i na taj vam način omogućiti učinkovit zaokret pri stalnoj brzini.
Nakon okreta povećajte brzinu uređaja s pomoću papučice snage za sljedeći prelazak kosilicom.
Ova postavka određuje koliko brzo uređaj mijenja brzinu vožnje te učinke usporavanja uređaja u rasponu male brzine. Uđite u zaštićene izbornike u sustavu InfoCenter za promjenu načina rada ubrzanja. Ubrzanje ima 3 položaja:
Nisko – malo ubrzanje i usporavanje
Srednje – srednje ubrzanje i usporavanje
Visoko – najveće ubrzanje i usporavanje
Način rada zaokreta omogućuje vam jednostavnu kontrolu s pomoću jednog dodira za podizanje jedinica za rezanje iznad travnjaka i privremeno zaustavljanje noževa za to vrijeme, što vam omogućuje da se fokusirate na vožnju uređaja na kraju prelaska kosilicom ili dok obilazite druge prepreke.
Note: Način rada zaokreta značajka je dostupna u zaštićenom izborniku.
Nakon postavljanja načina rada zaokreta u položaj ON (UKLJUčENO), kratko pritisnite prekidač za podizanje prema natrag (Slika 11) za automatsko podizanje svih jedinica za rezanje iz neutralnog položaja na unaprijed određenu visinu, automatski deaktivirajući PTO uređaj. Za nastavak košnje pritisnite prekidač za podizanje prema unaprijed. Sve se jedinice za rezanje spuštaju i PTO uređaj se ponovno pokreće.
Kad je način rada zaokreta postavljen na OFF (ISKLJUčENO), ručno podižete jedinice za rezanje iz neutralnog položaja pritišćući i držeći sve prekidače za podizanje prema unatrag dok se sve jedinice za rezanje ne podignu do željene visine. Za uređaje Groundsmaster 4700 pritisnite sva 3 prekidača za podizanje kako biste podignuli svih 7 jedinica za rezanje (Slika 11). PTO uređaj se ne deaktivira dok se jedinice za rezanje ne podignu na istu unaprijed određenu visinu do koje se jedinice za rezanje podižu kad je način rada zaokreta postavljen u položaj ON (UKLJUčENO).
Note: Način rada zaokreta zadano je postavljen u položaj ON (UKLJUčENO).
Sustav protuteže održava hidraulički protutlak na cilindrima za podizanje jedinica za rezanje. Sustav protuteže prati pritisak prianjanja u stvarnom vremenu i dinamički mijenja protutlak cilindara za podizanje radi optimizacije sposobnosti prianjanja i izgleda nakon košnje. Pritisak protuteže tvornički je postavljen na optimalnu ravnotežu izgleda nakon košnje i sposobnosti prianjanja u većini uvjeta travnjaka. Smanjenje postavke protuteže može rezultirati stabilnijom jedinicom za rezanje, ali može i smanjiti sposobnost prianjanja. Povećanje postavke protuteže može povećati sposobnost prianjanja, ali može i rezultirati lošim izgledom nakon košnje; pogledajte Postavljanje opcije Protuteža.
Postavke protuteže koje se mogu podešavati jesu sljedeće:
Niska – najviše težine na jedinicama za rezanje i najmanje težine na pogonskim kotačima
Srednja – srednja težina na jedinicama za rezanje i pogonskim kotačima
Visoka – najmanje težine na jedinicama za rezanje i najviše težine na pogonskim kotačima uređaja
Uz pomoć značajke Smart Power rukovatelj ne mora osluškivati brzinu motora u uvjetima velikog opterećenja. Značajka Smart Power sprečava motor od zapinjanja u zahtjevnim uvjetima rezanja tako što automatski kontrolira brzinu uređaja i optimizira performanse rezanja.
Note: Zadano je značajka Smart Power postavljena u položaj ON (UKLJUčENO).
Important: Odzračite sustav goriva dogodi li se koja od navedenih situacija:
Motor se ugasio zbog nedostatka goriva.
Izvršeno je održavanje komponenti sustava goriva.
Maknite stopalo s papučice snage i provjerite je li u neutralnom položaju NEUTRAL. Provjerite je li ručna kočnica aktivirana.
Okrenite ključ u položaj rad RUN (RAD). Indikator žarnice trebao bi zasvijetliti.
Nakon što se indikator žarnice priguši, okrenite ključ za paljenje u položaj START (POKRETANJE).
Important: Nemojte aktivirati starter motora na dulje od 15 sekundi odjednom jer bi moglo doći do preranog otkazivanja pokretača. Ako se motor ne pokrene nakon 15 sekundi, okrenite ključ u položaj OFF (ISKLJUčENO), provjerite komande i procedure, pričekajte dodatnih 15 sekundi i ponovite postupak pokretanja.
Čim se motor pokrene, otpustite ključ i pustite da se vrati u položaj RUN (RAD).
Ako je temperatura ispod –7 °C, starter motora može raditi 30 sekundi, a zatim biti isključen 60 sekundi, i tako 2 puta.
Important: Ugasite motor i pustite ga da se ohladi prije nego što provjerite curi li ulje, ima li labavih dijelova ili postoje li druge nepravilnosti.
Important: Pustite motor da radi u praznom hodu 5 minuta prije nego što ga ugasite nakon rada pod punim opterećenjem. Na taj se način omogućuje hlađenje turbopuhala prije gašenja motora. Nepridržavanje toga moglo bi dovesti do preranog otkazivanja turbopuhala.
Note: Spustite jedinice za rezanje na tlo kad god je uređaj parkiran. Na taj se način smanjuje hidrauličko opterećenje sustava, sprečava trošenje dijelova sustava i također sprečava slučajno spuštanje jedinica za rezanje.
Pomaknite prekidač PTO uređaja u položaj ISKLJUčENO.
Aktivirajte ručnu kočnicu.
Okrenite ključ za paljenje u položaj OFF (ISKLJUčENO).
Izvadite ključ kako biste spriječili slučajno pokretanje.
Note: Košnja trave brzinom koja opterećuje motor povećava potrebu za regeneracijom DPF filtra.
Otpustite kočnicu, isključite PTO uređaj i podignite jedinice za rezanje.
Odaberite položaj H/L AUTO (VELIKA/MALA BRZINA – AUTOM.) ili LOW (NISKO) s pomoću prekidača za raspon brzine. Pogledajte dio Upotreba prekidača za raspon male i velike brzine.
Note: Ako je odabran položaj H/L AUTO (VELIKA/MALA BRZINA – AUTOM.) i jedinice za rezanje su podignute, uređaj će automatski odabrati raspon velike brzine.
Odvezite kosilicu do mjesta košnje s pomoću papučice snage koja je slična papučici gasa na automobilu.
Poravnajte uređaj izvan područja košnje za prvi prelazak kosilicom.
Spustite jedinice za rezanje s pomoću jednog ili više preklopnih prekidača.
Pritisnite prekidač za podizanje (GM4500) ili prekidač za srednje podizanje (GM4700) prema natrag kako biste podigli jedinice za rezanje u položaj za zaokret.
Note: Položaj za zaokret dostupan je samo ako je aktiviran u zaštićenim izbornicima u sustavu InfoCenter. Kada se kratko pritisne preklopni prekidač, a da ga se ne drži pritisnutim, podiže se jedinica za rezanje u položaj za zaokret i zaustavlja se rotacija noževa dok se ne spuste jedinice za rezanje.
Povucite prekidač PTO uređaja za aktivaciju jedinica za rezanje.
Note: Brzina motora automatski se podiže do praznog hoda s visokim brojem okretaja kad spustite jedinice za rezanje i aktivirate prekidač PTO uređaja.
S pomoću papučice snage polako se približite području košnje i spustite jedinice za rezanje s pomoću preklopnog prekidača nakon što prednje jedinice za rezanje budu iznad područja košnje.
Note: Vježbajte kako mogli kontrolirati da se jedinice za rezanje ne spuštaju prerano ili da ne kose područje koje ne želite.
Počnite kositi područje.
Kad završite prelazak kosilicom, pritisnite prekidač za podizanje (GM4500) ili prekidač za srednje podizanje (GM4700) prema natrag kako biste podignuli jedinice za rezanje u položaj za zaokret.
Napravite okret u obliku suze kako biste se brzo pripremili za sljedeći prelazak.
Pritisnite prekidač za podizanje (GM4500) ili prekidač za srednje podizanje (GM4700) prema dolje kako biste automatski spustili jedinice za rezanje iz položaja zaokreta i nastavite košnju.
Filtar čestica čađe (DPF filtar) uklanja čađu iz ispušnih plinova motora.
U postupku regeneracije DPF filtra koristi se toplina iz ispušnih plinova motora pojačana katalizatorom kako bi se nakupljena čađa pretvorila u pepeo.
Za čišćenje DPF filtra imajte na umu sljedeće:
Kad je to moguće, pustite motor da radi u punoj brzini kako biste potaknuli čišćenje DPF filtra.
Upotrebljavajte ispravno motorno ulje.
Što manje držite motor u praznom hodu.
Upotrebljavajte samo dizelsko gorivo s vrlo niskim sadržajem sumpora.
Upravljajte uređajem i održavajte ga imajući na umu funkciju DPF filtra. Motor pod opterećenjem u pravilu proizvodi odgovarajuću temperaturu ispušnih plinova za regeneraciju DPF filtra.
Important: Što više smanjite vrijeme tijekom kojeg je motor u praznom hodu ili upravljanje motorom pri maloj brzini motora kako biste smanjili skupljanje čađe u DPF filtru.
Temperatura ispušnih plinova je visoka (približno 600 °C) tijekom regeneracije DPF filtra. Vrući ispušni plinovi mogu ozlijediti vas ili druge osobe.
Motor ne smije raditi u zatvorenom prostoru.
Uklonite sve zapaljive materijale iz blizine ispušnog sustava.
Pazite da vrući ispušni plinovi ne dodirnu površine koje su osjetljive na toplinu.
Nemojte dodirivati vruće komponente ispušnog sustava.
Nemojte stajati u blizini ispušne cijevi uređaja.
| Ikona | Definicija ikone |
![]() | • Ikona potpune regeneracije ili regeneracije za oporavak – potrebna je regeneracija. |
| • Odmah izvršite regeneraciju. | |
![]() | • Potvrđena je regeneracija i zahtjev se obrađuje. |
![]() | • U tijeku je regeneracija i temperatura ispušnih plinova je povišena. |
![]() | • Neispravan rad sustava kontrole dušikovih oksida; potreban je servis. |
| Vrsta regeneracije | Uvjeti koji uzrokuju regeneraciju DPF filtra | Opis rada DPF filtra |
|---|---|---|
| Passive (pasivna) | Odvija se tijekom normalnog rada uređaja pri velikoj brzini motora ili velikom opterećenju motora | • Sustav InfoCenter ne prikazuje ikonu koja označava pasivnu regeneraciju. |
| • Za vrijeme pasivne regeneracije DPF filtar obrađuje ispušne plinove pri visokoj temperaturi, oksidirajući štetne emisije i sagorijevajući čađu u pepeo. | ||
| Assist (dopunska) | Odvija se zbog male brzine motora, malog opterećenja motora ili nakon što računalo zabilježi da je DPF filtar začepljen čađom | • Sustav InfoCenter ne prikazuje ikonu koja označava dopunsku regeneraciju. |
| • Za vrijeme dopunske regeneracije, računalo motora podešava postavke motora kako bi se podigla temperatura ispušnih plinova. | ||
| Reset (periodična) | Odvija se svakih 100 sati | • Kad se u sustavu InfoCenter pojavi ikona
visoke temperature ispušnih plinova , to znači da je
regeneracija u tijeku. |
| Odvija se i ako normalan rad motora premaši dopuštenu akumulaciju čađe u filtru | ||
| • Tijekom periodične regeneracije računalo motora održava povišenu brzinu motora kako bi se osigurala regeneracija filtra. |
| Vrsta regeneracije | Uvjeti koji uzrokuju regeneraciju DPF filtra | Opis rada DPF filtra |
|---|---|---|
| Parked (potpuna) | Odvija se jer je računalo utvrdilo da automatsko čišćenje DPF filtra nije bilo dovoljno. | • Kad se pojavi ikona periodične
regeneracije na čekanju / potpune regeneracije ili regeneracije
za oporavak ili je potrebna regeneracija. |
| Također se odvija jer ste pokrenuli postupak potpune regeneracije | ||
| Može se odviti jer je pokrenuta zabrana regeneracije te je deaktivirano automatsko čišćenje DPF filtra | • Izvršite potpunu regeneraciju čim prije kako biste izbjegli potrebu za regeneracijom za oporavak. | |
| Može biti posljedica korištenja neispravnog goriva ili motornog ulja | • Potpuna regeneracija traje između 30 i 60 minuta. | |
| • Morate imati najmanje ¼ spremnika za gorivo ispunjenu gorivom. | ||
| • Uređaj mora biti parkiran da bi se izvršila potuna regeneracija. | ||
| Recovery (za oporavak) | Odvija se jer je zanemaren zahtjev za potpunu regeneraciju, što je dovelo do teškog začepljenja DPF filtra | • Kad se pojavi ikona periodične regeneracije
na čekanju / potpune regeneracije ili regeneracije za
oporavak ,
potrebna je regeneracija za oporavak. |
| • Regeneracija za oporavak traje približno 3 sata. | ||
| • Morate imati najmanje ½ spremnika za gorivo napunjenog gorivom. | ||
| • Uređaj mora biti parkiran da bi se izvršila regeneracija za oporavak. |
Na GLAVNOM IZBORNIKU pomaknite se dolje na izbornik SERVICE (UPOTREBA) i pritisnite gumb za odabir.
U izborniku SERVICE (Upotreba) pomaknite se do stavke DPF REGENERATION (Regeneracija DPF filtra) i pritisnite gumb za odabir.
Odaberite vrstu regeneracije koju trebate.

Pristupite izbornikuDPF REGENERATION (Regeneracija DPF filtra) i pomaknite se do opcije LAST REGEN (Posljednja regeneracija).
Odaberite LAST REGEN (Posljednja regeneracija).
S pomoću polja LAST REGEN (Posljednja regeneracija) utvrdite koliko je sati motor radio od posljednje periodične, potpune ili regeneracije za oporavak.
Odaberite gumb za povratak kako biste se vratili na zaslon izbornika DPF REGENERATION (Regeneracija DPF filtra).

Periodična regeneracija proizvodi povećanu količinu ispušnih plinova motora. Ako upravljate uređajem u blizini stabala, grmlja, visoke trave ili drugih biljaka i materijala osjetljivih na temperaturu, možete odabrati postavkuINHIBIT REGEN (Zabrana regeneracije) kako biste spriječili računalo motora u pokretanju periodične regeneracije.
Note: Opcija INHIBIT REGEN (Zabrana regeneracije) uvijek se upotrebljava tijekom održavanja uređaja u zatvorenom prostoru.
Note: Ako podesite sustav InfoCenter da zabrani regeneraciju, u njemu će se prikazati obavijest svakih 15 minuta dok motor šalje zahtjev za periodičnu regeneraciju.
Important: Kad ugasite motor i ponovno ga pokrenete, postavka Inhibit Regen (Zabrana regeneracije) automatski se vraća na OFF (Isključeno).
Pristupite izbornikuDPF REGENERATION (Regeneracija DPF filtra) i pomaknite se dolje do opcije INHIBIT REGEN (Zabrana regeneracije).
Odaberite INHIBIT REGEN (Zabrana regeneracije).
Promijenite postavku zabrane regeneracije s OFF (Isključeno) na ON (Uključeno).
Uređaj mora imati dovoljno goriva u spremniku za vrstu regeneracije koju provodite:
Potpuna regeneracija: Morate imati najmanje ¼ spremnika za gorivo ispunjenog gorivom prije pokretanja potpune regeneracije.
Regeneracija za oporavak: Morate imati najmanje ½ spremnika za gorivo ispunjenog gorivom prije pokretanja regeneracije za oporavak.
Pomaknite uređaj na otvoreno i udaljite ga od zapaljivih materijala ili predmeta koji su osjetljivi na toplinu.
Parkirajte uređaj na ravnoj površini, stavite sve komande u NEUTRALNI položaj, isključite PTO i spustite jedinice za rezanje.
Aktivirajte ručnu kočnicu i pustite da motor postigne stanje niskog praznog hoda.
Ako računalo motora pošalje zahtjev za potpunu regeneraciju, pratite poruke u sustavu InfoCenter.
Important: Računalo uređaja poništava DPF regeneraciju ako povećate brzinu motora iz praznog hoda s niskim brojem okretaja ili otpustite ručnu kočnicu.
Pristupite izbornikuDPF REGENERATION (Regeneracija DPF filtra) i pomaknite se dolje do opcije PARKED REGEN (Potpuna regeneracija) ili RECOVERY REGEN (Regeneracija za oporavak).
Odaberite PARKED REGEN (Potpuna regeneracija) ili RECOVERY REGEN (Regeneracija za oporavak).
Note: Za pokretanje regeneracije za oporavak morate unijeti ispravan PIN.
Na zaslonu REGEN PARAMETERS (Parametri regeneracije) provjerite je li ¼ spremnika za gorivo ispunjena gorivom ako provodite potpunu regeneraciju odnosno ½ spremnika ako provodite regeneraciju za oporavak. Provjerite je li ručna kočnica aktivirana i je li brzina motora postavljena na prazan hod s niskim brojem okretaja. Za nastavak pritisnite gumb za odabir.
Na zaslonu INITIATE DPF REGEN (Pokreni regeneraciju DPF filtra) pritisnite gumb za nastavak.
U sustavu InfoCenter prikazuje se poruka INITIATE DPF REGEN (Pokreni regeneraciju DPF filtra).
Note: Ako je potrebno, pritisnite ikonu za poništavanje kako biste poništili postupak regeneracije.
U sustavu InfoCenter prikazuje se vrijeme potrebno za izvršenje.
U sustavu InfoCenter prikazuje se početni zaslon
i pojavljuje se ikona potvrde regeneracije
.
Note: Dok je regeneracija DPF filtra u tijeku, na zaslonu sustava
InfoCenter prikazana je ikona visoke temperature ispušnih plinova
.
Nakon što računalo motora završi postupak potpune regeneracije ili regeneracije za oporavak, u sustavu InfoCenter prikazuje se obavijest. Pritisnite bilo koji gumb da biste se vratili na početni zaslon.
Note: Ako se postupak regeneracije ne dovrši, pratite obavijest i pritisnite bilo koji gumb da biste se vratili na početni zaslon.
Poništite postupak potpune regeneracije ili regeneracije za oporavak u tijeku s pomoću postavke PARKED REGEN CANCEL (Poništavanje potpune regeneracije) ili RECOVERY REGEN CANCEL (Poništavanje regeneracije za oporavak).
Pristupite izbornikuDPF REGENERATION (Regeneracija DPF filtra), pomaknite se do opcije PARKED REGEN (Potpuna regeneracija) ili RECOVERY REGEN (Regeneracija za oporavak).
Pritisnite gumb za odabir kako biste poništili potpunu regeneraciju ili regeneraciju za oporavak.

Ventilatorom za hlađenje motora obično upravlja uređaj. Uređaj može okrenuti ventilator kako bi otpuhao prljavštinu sa stražnje maske. U uobičajenim uvjetima rada uređaj kontrolira brzinu i smjer ventilatora ovisno o temperaturi rashladne tekućine i radne tekućine, i ventilator automatski okreće smjer kako bi otpuhao prljavštinu sa stražnje maske.
Možete ručno okrenuti ventilator pritiskom na 2 vanjska gumba ili 2 unutarnja lijeva i desna gumba sustava InfoCenter (Slika 38) u trajanju od 2 sekunde – ventilator izvodi ručno pokrenut ciklus okretanja. Okrenite ventilator kad je stražnja maska začepljena ili prije pomicanja uređaja u servis ili na mjesto skladištenja.

Često mijenjajte obrasce košenja kako biste smanjili mogućnost lošeg izgleda nakon košnje izazvanog stalnim košenjem u istom smjeru.
Pogledajte Priručnik za izgled nakon košnje (After-cut Appearance Troubleshooting Guide) dostupan na www.Toro.com.
Da biste počeli s košenjem, uključite jedinice za rezanje i zatim se polako približite području koje želite kositi. Kad se jedinice za rezanje nalaze iznad područja za košnju, spustite ih.
Kako biste postigli profesionalno košenje ravnih linija i pruga koji su poželjni u pojedinim primjenama, pronađite stablo ili drugi predmet u daljini i vozite se ravno prema njemu.
Čim prednje jedinice za rezanje dođu do ruba područja košnje, podignite jedinice za rezanje i napravite zaokret u obliku suze kako biste se brzo pripremili za sljedeći prelazak.
Odbojnici za malčiranje pričvršćeni vijcima dostupni su za jedinice za rezanje. Odbojnici za malčiranje rade dobro ako redovito održavate travnjak kako ne biste morali uklanjati više od 25 mm narasle trave tijekom jednog košenja. Kad pokosite previše narasle trave dok je odbojnik za malčiranje postavljen, izgled nakon košnje mogao bi se pogoršati, a snaga potrebna za košnju travnjaka povećati. Odbojnici za malčiranje također dobro rade u slučaju usitnjavanja lišća ujesen.
Nemojte odrezati više od približno 25 mm ili ⅓ vlati trave prilikom košnje. Na iznimno bujnim i gustim travnjacima možda ćete morat povećati visinu košnje.
Oštar nož kosi čisto i bez trganja ili komadanja vlati trave kao što to čini tupi nož. Od trganja i komadanja krajevi vlati trave posmeđe, što usporava rast i povećava vjerojatnost bolesti. Nož mora biti u dobrom stanju i krilo noža mora biti potpuno; pogledajte Servisiranje plohe noža.
Komore za rezanje moraju biti u dobrom stanju. Izravnajte sve savijene dijelove komore kako bi bio pravilan razmak između vrha noža i komore. Na valjcima i zakretnim zglobovima ne smije biti slobodnog hoda kako bi se spriječilo oštećenje travnjaka ili loš izgled nakon košnje.
Nakon košenja temeljito operite uređaj s pomoću crijeva za vodu bez mlaznice kako biste izbjegli onečišćenje i oštećenje brtvi i ležajeva kao posljedicu prekomjernog pritiska vode. Hladnjak i hladnjak za ulje ne smiju biti prljavi ni prekriveni pokošenom travom. Nakon čišćenja pregledajte jesu li na uređaju vidljivi znakovi curenja hidraulične tekućine, oštećenja ili znakovi trošenja hidrauličnih i mehaničkih komponenti, i provjerite jesu li noževi jedinica za rezanje oštri.
Prije nego što napustite položaj rukovatelja, ugasite motor, izvadite ključ i pričekajte da se svi pomični dijelovi zaustave. Pustite da se uređaj ohladi prije podešavanja, održavanja, čišćenja ili skladištenja.
Kako biste spriječili požar, osigurajte da na jedinicama za rezanje, pogonima, prigušivačima, rešetkama za hlađenje i motornom prostoru nema naslaga trave i krhotina. Očistite proliveno ulje ili gorivo.
Ako su jedinice za rezanje u transportnom položaju, upotrijebite pozitivno mehaničko zaključavanje (ako je dostupno) prije nego što ostavite uređaj bez nadzora.
Pustite da se motor ohladi prije skladištenja uređaja u bilo kojem zatvorenom prostoru.
Izvadite ključ i isključite dovod goriva (ako je ugrađen) prije skladištenja ili tegljenja uređaja.
Nikad nemojte skladištiti uređaj ili spremnik za gorivo u blizini otvorenog plamena, iskri ili žižaka poput onih na bojlerima ili drugim uređajima.
Po potrebi održavajte i čistite sigurnosne pojaseve
Upotrebljavajte vezice za skladištenje jedinica za rezanje kako se prednje vanjske jedinice za rezanje ne bi spustile dok je uređaj parkiran preko noći ili ako ga se skladišti na dulje vrijeme. Vezice za skladištenje jedinica za rezanje također možete iskoristiti kako biste spriječili da se jedinice za rezanje spuste dok se uređaj prenosi s jedne na drugu zadaću košenja.

PTO uređaj mora biti deaktiviran.
Parkirajte uređaj na ravnoj površini.
Aktivirajte ručnu kočnicu.
Podignite jedinice za rezanje u najviši položaj.
Poravnajte vezicu s osovinom nosača poluge za podizanje za prednju vanjsku jedinicu za rezanje (Slika 40).

Stavite petlju vezice na osovinu nosača tako da vezica u potpunosti sjedne u utor (Slika 40).
Ponovite korake 5 i 6 za prednju vanjsku jedinicu za rezanje na drugoj strani uređaja.
Important: Maknite vezice s osovina nosača prije spuštanja jedinca za rezanje
Note: Spremite vezice kad ih ne upotrebljavate.
PTO uređaj mora biti deaktiviran.
Parkirajte uređaj na ravnoj površini.
Aktivirajte ručnu kočnicu.
Dok su jedinice za rezanje spuštene, provucite petlju vezice kroz otvor na potpornoj ploči nosača valjka (Slika 41).

Upotrijebite 2 stražnja zasuna za transport za jedinice za rezanje br. 6 i 7 (Slika 15) prilikom micanja uređaja na velike udaljenosti, na zahtjevnom terenu, prilikom transporta ili skladištenja uređaja.

Izvadite ključ i isključite dovod goriva (ako je ugrađen) prije skladištenja ili tegljenja uređaja.
Budite oprezni pri utovaru ili istovaru uređaja na prikolicu ili kamion.
Za utovar uređaja na prikolicu ili kamion upotrebljavajte pune rampe.
Čvrsto vežite uređaj.
U hitnim slučajevima možete pomaknuti uređaj prema naprijed aktivirajući funkciju zaobilaženja u hidrauličnoj pumpi s reguliranim protokom i gurajući ili tegleći uređaj.
Important: Nemojte gurati ili tegliti uređaj brže od 3 do 4,8 km/h. U slučaju guranja ili tegljenja pri većoj brzini moglo bi doći do oštećenja unutarnjeg prijenosa.Ventili za ograničenje tlaka moraju biti otvoreni kad god gurate ili teglite uređaj.
Otvorite poklopac i pronađite ventile za ograničenje tlaka (Slika 43) na vrhu pumpe, iza akumulatora / kutija za pohranu.
Zaokrenite svaki ventil 3 puta u smjeru suprotnom kazaljci na satu da biste otvorili i omogućili unutarnje preusmjeravanje tekućine.
Note: Ne otvarajte ventil za više od 3 okreta. Zbog toga što je tekućina preusmjerena, možete polako pomicati uređaj bez oštećenja prijenosa.


Gurnite ili teglite uređaj prema naprijed.
Important: Ako morate gurnuti ili tegliti uređaj prema unatrag, pogledajte Komplet za tegljenje unatrag (Reverse Tow Kit) (dio br. 136-3620).
Završite s guranjem ili tegljenjem uređaja i zatvorite ventile za ograničenje tlaka. Pritegnite ventil na 70 Nm.
Note: Upotrijebite trake odgovarajućeg razreda koje ispunjavaju uvjete američkog Ministarstva prometa (DOT) u 4 kuta kako biste zavezali uređaj.
Sa svake strane okvira kraj platforme rukovatelja
Na stražnjem braniku


Note: Odredite lijevu i desnu stranu uređaja s uobičajenog vozačevog položaja.
Important: Pročitajte upute za upotrebu motora za detalje o dodatnim postupcima održavanja.
Important: Ako je uređaj podvrgnut održavanju, a motor radi s vodom za ekstrakciju ispušnih plinova motora, podesite postavku zabrane regeneracije (Inhibit Regen) na ON (UKLJUčENO); pogledajte Postavljanje zabrane regeneracije (Inhibit Regen).
Note: Na internetskoj stranici tvrtke Toro www.Toro.com možete preuzeti besplatan primjerak električne ili hidrauličke sheme i potražiti svoj uređaj na poveznici Upute na početnoj stranici.
Prije nego što napustite položaj rukovatelja, učinite sljedeće:
Parkirajte uređaj na ravnoj površini.
Isključite PTO uređaj i spustite priključke.
Aktivirajte ručnu kočnicu.
Ugasite motor i izvadite ključ.
Pričekajte da se svi pomični dijelovi zaustave.
Nosite prikladnu odjeću, uključujući zaštitu za oči, duge hlače i čvrstu obuću otpornu na proklizavanje. Držite ruke, noge, odjeću, nakit ili dugu kosu podalje od pomičnih dijelova.
Ako ostavite ključ u prekidaču, netko bi slučajno mogao pokrenuti motor i nanijeti vama i prolaznicima teške ozljede. Izvadite ključ iz prekidača prije bilo kakvog održavanja.
Pustite da se komponente uređaja ohlade prije održavanja.
Ako su jedinice za rezanje u transportnom položaju, upotrijebite pozitivno mehaničko zaključavanje (ako je ugrađeno) prije nego što ostavite uređaj bez nadzora.
Ako je moguće, ne obavljajte održavanje dok je motor u pogonu. Držite se podalje od pomičnih dijelova.
Motor smije raditi samo u dobro prozračenim prostorima. Ispušni plinovi sadržavaju ugljični monoksid, koji u slučaju udisanja može uzrokovati smrt.
Upotrijebite podmetače za pridržavanje uređaja dok radite ispod uređaja.
Pažljivo otpuštajte pritisak iz komponenti s pohranjenom energijom.
Održavajte sve dijelove uređaja u ispravnom radnom stanju i pazite da budu učvršćeni, osobito dijelovi za spajanje noževa.
Zamijenite sve istrošene ili oštećene naljepnice.
Da biste osigurali siguran i optimalan rad uređaja, upotrebljavajte samo originalne zamjenske dijelove Toro. Zamjenski dijelovi drugih proizvođača mogu biti opasni, a njihova uporaba može poništiti jamstvo.
| Interval servisa održavanja | Postupak održavanja |
|---|---|
| Nakon prvog sata |
|
| Nakon prvih 10 sati |
|
| Nakon prvih 50 sati |
|
| Nakon prvih 200 sati |
|
| Prije svake uporabe ili svakodnevno |
|
| Svakih 50 sati |
|
| Svakih 100 sati |
|
| Svakih 200 sati |
|
| Svakih 400 sati |
|
| Svakih 500 sati |
|
| Svakih 800 sati |
|
| Svakih 1000 sati |
|
| Svakih 2000 sati |
|
| Svakih 3000 sati |
|
| Prije skladištenja |
|
| Svake 2 godine |
|
Ako ostavite ključ u prekidaču za paljenje, netko bi slučajno mogao pokrenuti motor i nanijeti vama i prolaznicima teške ozljede.
Uklonite ključ prije bilo kakvog održavanja.
Kopirajte ovu stranicu za osobnu upotrebu.
| Stavka za održavanje | Za tjedan: | ||||||
|---|---|---|---|---|---|---|---|
| Ponedjeljak | Utorak | Srijeda | Četvrtak | Petak | Subota | Nedjelja | |
| Provjerite rad sigurnosnog sustava blokiranja. | |||||||
| Provjerite rad kočnice. | |||||||
| Provjerite razinu motornog ulja. | |||||||
| Provjerite razinu tekućine u rashladnom sustavu. | |||||||
| Ispraznite separator vode i goriva. | |||||||
| Provjerite filtar zraka, spremnik za prašinu i odušni ventil. | |||||||
| Provjerite neobične zvukove motora.1 | |||||||
| Provjerite ima li prljavštine u hladnjaku ili rešetki. | |||||||
| Provjerite neobične zvukove tijekom rada. | |||||||
| Provjerite razinu hidraulične tekućine. | |||||||
| Provjerite oštećenja na hidrauličnim cijevima. | |||||||
| Provjerite propuštanje tekućine. | |||||||
| Provjerite razinu goriva. | |||||||
| Provjerite tlak u gumama. | |||||||
| Provjerite rad instrumenata. | |||||||
| Provjerite prilagodbu visine košnje. | |||||||
| Podmažite sve mazalice.2 | |||||||
| Očistite uređaj. | |||||||
| Popravite oštećenu boju. | |||||||
|
1Provjerite žarnicu i sapnice ubrizgača ako je pokretanje motora otežano, prisutna je pretjerana količina dima ili je zabilježen otežan rad motora. 2Odmah nakon svakog pranja, neovisno o navedenom vremenskom intervalu. |
|||||||
Important: Pročitajte upute za upotrebu motora za detalje o dodatnim postupcima održavanja.
| Pregled obavio/la: | ||
| Stavka | Datum | Informacije |
Za podizanje uređaja poslužite se sljedećim točkama:
Prednja strana uređaja – na okviru uređaja, ispred motora pogona kotača (Slika 46)
Important: Nemojte podupirati uređaj kod motora pogonsa kotača. Neka oprema za podizanje bude udaljena od hidrauličnih cijevi i crijeva.

Stražnja strana uređaja – na središtu osovine (Slika 47)
Stavite podmetače za pridržavanje točno određenog kapaciteta na obje strane mjenjačke kutije i ispod osovine.
Important: Nemojte podupirati uređaj na veznoj šipci.

Nagnite poklopac motora kako biste pristupili šasiji kako je prikazano na Slika 48.

Nagnite sjedalo kako biste pristupili odjeljku hidrauličnog podizanja kako je prikazano na Slika 49.

| Interval servisa održavanja | Postupak održavanja |
|---|---|
| Svakih 50 sati |
|
Specifikacija maziva: Litijska mast, tip 2
Lokacije mjesta za podmazivanje i količine su kako slijedi:
Okretni ležajevi vratila kočnice (5) kako je prikazano na Slika 50

Okretne čahure stražnje osovine (2) kako je prikazano na Slika 51

Kuglasti zglobovi cilindra za upravljanje (2) kako je prikazano na Slika 52

Kuglasti zglobovi vezne šipke (2) kako je prikazano na Slika 52
Čahure svornjaka rukavca (2) kako je prikazano na Slika 52
Important: Podmažite gornji priključak na svornjaku rukavca najviše jednom godišnje (2 pumpe).
Čahure poluge za podizanje (1 po jedinici za rezanje) kako je prikazano na Slika 53

Čahure cilindra za podizanje (2 po jedinici za rezanje) kako je prikazano na Slika 53
Ležajevi vretenaste osovine jedinice za rezanje (2 po jedinici za rezanje) kako je prikazano na Slika 54
Note: Možete upotrijebiti bilo koji priključak, koji god je dostupniji. Uštrcajte mazivo u priključak dok se mala količina ne pojavi na dnu kućišta vretena (ispod jedinice za rezanje).

Čahure nosača poluge jedinice za rezanje (1 po jedinici za rezanje) kako je prikazano na Slika 54
Ležajevi stražnjeg valjka (2 po jedinici za rezanje) kako je prikazano na Slika 55

Important: Utor za podmazivanje na svakom nosaču valjka mora biti poravnat s otvorom za podmazivanje na svakom kraju osovine valjka. Za lakše poravnanje utora i otvora, na 1 kraju osovine valjka nalazi se oznaka za poravnanje.
Ugasite motor i izvadite ključ prije provjeravanja ili dodavanja ulja u kućište motora.
Nemojte mijenjati postavke regulatora motora ili opterećivati motor prekomjernom brzinom.
| Interval servisa održavanja | Postupak održavanja |
|---|---|
| Svakih 400 sati |
|
Provjerite ima li kućište pročistača zraka oštećenja koja bi mogla uzrokovati ispuštanje zraka. Ako je oštećen, zamijenite ga. Pregledajte cijeli usisni sustav i provjerite ima li znakova curenja, oštećenja ili neučvršćenih stezaljki.
Servisirajte filtar pročistača zraka samo ako je to potrebno prema indikatoru servisiranja (Slika 56). Promjena filtra zraka prije nego što je to potrebno samo povećava vjerojatnost ulaska prašine u motor kad maknete filtar.

Important: Osigurajte da je poklopac ispravno postavljen i da je zabrtvljen s kućištem pročistača zraka.
Zamijenite pročistač zraka (Slika 57).


Note: Nemojte čistiti korišteni element jer njegovo čišćenje može oštetiti medij filtra.
Important: Nikad ne pokušavajte očistiti sigurnosni filtar (Slika 58). Zamijenite sigurnosni filtar nakon svaka 3 servisa primarnog filtra.

Resetirajte indikator (Slika 56) ako pokazuje crveno.
Upotrebljavajte visokokvalitetno motorno ulje niske razine SAPS-a koje ispunjava ili premašuje sljedeće specifikacije:
Kategorija API servisa CJ-4 ili više
Kategorija ACEA servisa E6
Kategorija JASO servisa DH-2
Important: Upotreba motornog ulja osim kategorija API CJ-4 ili više, ACEA E6, ili JASO DH-2 može rezultirati začepljenjem filtra krutih čestica za dizelske motore ili oštećenjem motora.
Upotrebljavajte motorno ulje sljedeće gradacije viskoznosti:
Poželjno ulje: SAE 15W-40 (iznad –17,7 °C)
Zamjensko ulje: SAE 10W-30 ili 5W-30 (sve temperature)
Motorno ulje Toro Premium Engine Oil viskozne gradacije 15W-40 ili 10W-30 dostupno je preko vašeg ovlaštenog distributera tvrtke Toro. Pogledajte Katalog dijelova (Parts Catalog) za brojeve dijelova.
| Interval servisa održavanja | Postupak održavanja |
|---|---|
| Prije svake uporabe ili svakodnevno |
|
Motor se dostavlja s uljem u bloku motora; međutim, razina ulja mora se provjeriti prije i poslije prvog pokretanja motora.
Important: Svaki dan provjerite razinu motornog ulja. Ako je razina motornog ulja iznad oznake Full (Puno) na šipki za mjerenje razine ulja, motorno ulje može se razrijediti gorivom;Ako je razina motornog ulja iznad oznake Full (Puno), promijenite motorno ulje.
Najbolje je provjeriti motorno ulje kad je motor hladan prije prvog pokretanja u danu. Ako je već radio, prije provjeravanja pustite da se ulje najmanje 10 minuta cijedi natrag u karter. Ako je razina ulja do oznake Add (Dodati) na šipki za mjerenje ili ispod nje, dodajte još ulja kako bi se razina podigla do oznake Full (Puno). Nemojte uliti previše ulja u motor.
Important: Neka razina motornog ulja bude između gornje i donje granice na šipki za mjerenje; moglo bi doći do kvara motora ako radi s previše ili premalo ulja.
Provjerite razinu motornog ulja; pogledajte Slika 59.


Note: Kod upotrebe drugačijeg ulja, do kraja ispustite staro ulje iz bloka motora prije dodavanja novog ulja.
Približno 5,7 l s filtrom.
| Interval servisa održavanja | Postupak održavanja |
|---|---|
| Svakih 500 sati |
|
Note: Za resetiranje indikatora da je potreban servis (service due”) u sustavu InfoCenter; pogledajte Postavljanje tajmera za servisiranje (Service Due Timer).
Pokrenite motor i pustite da radi 5 minuta kako bi se ulje moglo zagrijati.
Parkirajte uređaj na ravnoj površini, aktivirajte ručnu kočnicu, ugasite motor i izvadite ključ za paljenje.
Zamijenite motorno ulje i filtar (Slika 60).


Dodajte ulje u blok motora; pogledajte Kapacitet ulja bloka motora i Provjera razine motornog ulja.
| Interval servisa održavanja | Postupak održavanja |
|---|---|
| Svakih 3000 sati |
|
Pročitajte dio koji se odnosi na motor u Priručniku za održavanje za više informacija o rastavljanju i sastavljanju katalizatora oksidacije dizelskog goriva i filtra čađe DPF filtra.
Kontaktirajte svojeg ovlaštenog distributera tvrtke Toro za zamjenske dijelove ili usluge servisiranja katalizatora oksidacije dizelskog goriva i filtra čađe.
Obratite se ovlaštenom distributeru tvrtke Toro da vam resetira elektroničku upravljačku jedinicu (ECU) motora nakon što ugradite čisti DPF filtar.
U određenim su uvjetima dizelsko gorivo i pare goriva iznimno zapaljivi i eksplozivni. Vatre ili eksplozije uzrokovane gorivom mogu dovesti do opeklina vas i drugih ljudi i oštećenja imovine.
Koristeći lijevak punite spremnik za gorivo na otvorenom kad je motor ugašen i hladan. Obrišite gorivo ako se prolije.
Nemojte do kraja napuniti spremnik za gorivo. Dolijevajte gorivo u spremnik dok razina ne bude između 6 i 13 mm ispod dna otvora za ulijevanje. Taj prazni prostor u spremniku omogućuje da se gorivo proširi.
Nikad nemojte pušiti dok rukujete gorivom i držite se podalje od otvorenog plamena ili mjesta na kojima bi se pare goriva mogle zapaliti iskrom.
Skladištite gorivo u čistom, sigurnosno odobrenom spremniku i držite čep zatvorenim.
| Interval servisa održavanja | Postupak održavanja |
|---|---|
| Svakih 800 sati |
|
| Prije skladištenja |
|
Osim navedenog intervala servisiranja, ispraznite i očistite spremnik ako sustav goriva postane onečišćen ili ako namjeravate spremiti uređaj na duže razdoblje. Isperite spremnik čistim gorivom.
| Interval servisa održavanja | Postupak održavanja |
|---|---|
| Svakih 400 sati |
|
Provjerite jesu li cijevi za dovod goriva istrošene, oštećene ili labave.

| Interval servisa održavanja | Postupak održavanja |
|---|---|
| Prije svake uporabe ili svakodnevno |
|
Ispustite vodu iz separatora vode i goriva kako je prikazano na (Slika 62).

| Interval servisa održavanja | Postupak održavanja |
|---|---|
| Svakih 400 sati |
|
Zamijenite kanistar filtra goriva kako je prikazano na Slika 63.

| Interval servisa održavanja | Postupak održavanja |
|---|---|
| Svakih 400 sati |
|
Očistite područje oko glave filtra goriva (Slika 64).

Uklonite filtar i očistite pričvrsnu površinu glave filtra (Slika 64).
Podmažite brtvu filtra čistim motornim uljem za podmazivanje; pročitajte Upute za upotrebu motora za više informacija.
Ručno postavite kanistar suhog filtra dok brtva ne dodirne glavu filtra i zatim je okrenite dodatnih ½ okreta.
Pripremite filtar i cijevi do visokotlačne pumpe; pogledajte Pripremanje sustava goriva.
Pokrenite motor i pogledajte postoje li znakovi curenja oko glave filtra.
Cijev za gorivo, koja se nalazi unutar spremnika za gorivo, na sebi ima filtar koji sprečava ulazak prljavštine u sustav goriva. Izvadite cijev za gorivo i očistite filtar po potrebi.
Maknite stezaljku kojom je crijevo za dovod goriva pričvršćeno na priključak cijevi za gorivo (Slika 65).

Odvojite crijevo od priključka (Slika 65).
Izvadite cijev za gorivo iz spremnika za gorivo (Slika 65).
Note: Podignite cijev ravno iz čahure u spremniku.
Očistite prljavštinu s filtra na kraju cijevi za gorivo (Slika 65).
Umetnite cijev za gorivo kroz gumenu čahuru i u spremnik (Slika 65).
Note: Cijev za gorivo mora čvrsti sjesti na mjesto u gumenoj čahuri.
Postavite crijevo za dovod na priključak cijevi za gorivo i pričvrstite crijevo stezaljkom koju ste uklonili u koraku 1.
Pripremite sustav goriva prije nego što prvi put pokrenete motor, nakon što vam ponestane goriva ili nakon postupka održavanja sustava goriva (npr. pražnjenje separatora vode/goriva, zamjena crijeva za gorivo).
Za pripremu sustava goriva pratite sljedeće korake:
U spremniku mora biti goriva.
Poduzmite sljedeće korake za pripremu filtra i cijevi do visokotlačne pumpe kako biste spriječili trošenje ili oštećenje pumpe:
Okrenite ključ do položaja ON (UKLJUčENO) na 15 do 20 sekundi.
Okrenite ključ do položaja OFF (ISKLJUčENO) na 30 do 40 sekundi.
Note: Na taj se način gasi elektronička upravljačka jedinica (ECU).
Okrenite ključ do položaja ON (UKLJUčENO) na 15 do 20 sekundi.
Provjerite postoje li znakovi curenja oko filtra i cijevi.
Important: Nemojte upotrebljavati starter motora za pokretanje motora kako biste pripremili sustav goriva.
Odspojite akumulator prije popravljanja uređaja. Prvo odspojite negativni priključak, a zatim pozitivni. Prvo spojite pozitivni priključak, a zatim negativni.
Punite akumulator na otvorenom, dobro prozračenom mjestu, daleko od iskri i plamena. Isključite punjač prije spajanja ili odspajanja akumulatora. Nosite zaštitnu odjeću i upotrebljavajte izolirane alate.
| Interval servisa održavanja | Postupak održavanja |
|---|---|
| Svakih 50 sati |
|
Important: Prije provođenja radova varenja na uređaju negativni kabel odspojite od akumulatora kako biste spriječili oštećenje električnog sustava. Također, morate odspojiti motor, sustav InfoCenter i upravljačke sklopove uređaja prije provođenja radova varenja na uređaju.
Note: Priključci akumulatora i cijelo kućište akumulatora moraju biti čisti jer se prljav akumulator polako prazni. Operite kućište otopinom sode bikarbone i vode kako biste očistili akumulator. Isperite čistom vodom. Kako biste spriječili koroziju, premažite kabelske konektore i kleme mašću za popravak Grafo 112X (Toro, dio br. 505-47) ili vazelinom.
Otpustite zasun poklopca desne kutije za pohranu i podignite poklopac (Slika 68).
Elektrolit akumulatora sadrži sumpornu kiselinu, koja je smrtonosna ako se proguta i uzrokuje teške opekline.
Nemojte piti elektrolit i spriječite dodir s kožom, očima ili odjećom. Nosite zaštitne naočale kako biste zaštitili oči i gumene rukavice za zaštitu ruku.
Punite akumulator na mjestima na kojima uvijek ima čiste vode za ispiranje kože.
Maknite gumenu kapicu s pozitivnog priključka i pregledajte akumulator.
Maknite negativni kabel (crni) s negativnog (–) priključka i pozitivni kabel (crveni) s pozitivnog (+) priključka akumulatora (Slika 66).
Neispravno usmjeravanje kabela akumulatora može dovesti do oštećenja uređaja i kabela, uzrokujući iskrenje. Iskre mogu uzrokovati eksploziju plinova akumulatora i tako dovesti do tjelesnih ozljeda.
Uvijek odspojite negativni (crni) kabel akumulatora prije odspajanja pozitivnog (crvenog) kabela.
Uvijek spojite pozitivni (crveni) kabel akumulatora prije spajanja negativnog (crnog) kabela.
Priključci akumulatora ili metalni alati mogu uzrokovati kratki spoj s metalnim komponentama i tako izazvati iskrenje. Iskre mogu uzrokovati eksploziju plinova akumulatora i tako dovesti do tjelesnih ozljeda.
Pri uklanjanju ili postavljanju akumulatora ne dopustite da priključci akumulatora dođu u dodir s bilo kojim metalnim dijelom uređaja.
Ne dopustite da dođe do kratkog spoja s metalnim alatima između priključaka akumulatora i metalnih dijelova uređaja.

Priključite punjač akumulatora od 3 do 4 A na kleme. Punite akumulator brzinom od 3 do 4 A tijekom razdoblja od 4 do 8 sati.
Punjenje akumulatora stvara plinove koji mogu eksplodirati.
Nikad nemojte pušiti u blizini akumulatora, a iskre i plamen držite podalje od akumulatora.
Kad se akumulator napuni, odspojite punjač s utičnice i klema.
Stavite pozitivni kabel (crveni) na pozitivni (+) priključak i negativni kabel (crni) na negativni (–) priključak akumulatora (Slika 66).
Pričvrstite kablove na kleme s pomoću vijaka i matica.
Note: Pozitivni (+) priključak mora biti u potpunosti pričvršćen na klemu, a kabel mora biti postavljen blizu akumulatora. Kabel ne smije dodirivati poklopac akumulatora.
Kako biste spriječili koroziju, premažite oba spoja akumulatora mašću za popravak Grafo 112X, dio br. 505-47, vazelinom ili laganom mašću.
Pomaknite gumenu kapicu preko pozitivnog priključka.
Zatvorite poklopac konzole i pričvrstite zasun.
Kutija s osiguračima uređaja nalazi se u desnoj kutiji za pohranu


| Interval servisa održavanja | Postupak održavanja |
|---|---|
| Svakih 400 sati |
|
Kod planetnih pogona / pogonskih kotača ne bi se smio pojavljivati aksijalni hod (npr. kotači se ne bi smjeli kretati kad ih povučete ili gurnete u smjeru paralelnom s osi).
Parkirajte uređaj na ravnoj površini, aktivirajte ručnu kočnicu, spustite jedinice za rezanje, ugasite motor i izvadite ključ za paljenje.
Blokirajte stražnje kotače i podignite prednji dio uređaja, a prednju osovinu / okvir oslonite na podmetače za pridržavanje.
Uređaj možda neće biti stabilan na podmetaču i može skliznuti s njega te ozlijediti osobe ispod njega.
Nemojte pokretati motor dok se uređaj nalazi na podmetaču.
Uvijek izvadite ključ iz prekidača prije silaska s uređaja.
Blokirajte gume kad podižete uređaj s pomoću podmetača.
Poduprite uređaj podmetačima.
Primite 1 od prednjih pogonskih kotača i gurnite/povucite prema uređaju i od njega, prateći ima li kretanja.

Ponovite korak 3 za drugi pogonski kotač.
Ako se bilo koji kotač pomakne, obratite se ovlaštenom distributeru tvrtke Toro da rekonstruira planetni pogon.
| Interval servisa održavanja | Postupak održavanja |
|---|---|
| Svakih 400 sati |
|
Specifikacija maziva: visokokvalitetno mazivo za zupčanike SAE 85W-140
Parkirajte uređaj na ravnu površinu i stavite kotač u položaj u kojem je čep otvora za punjenje na 12 sati, čep otvora za provjeru na 3 sata, a čep otvora za pražnjenje na 6 sati (Slika 72).

Maknite čep za provjeru s položaja od 3 sata (Slika 72).
Razina ulja trebala bi biti na dnu otvora za provjeru.

Ako je razina ulja niska, maknite čep otvora za punjenje s položaja od 12 sati i dodajte ulje dok ne počne istjecati iz otvora na položaju od 3 sata.
Provjerite na O-prstenu ima li znakova trošenja ili oštećenja čepa (ili čepova).
Note: Zamijenite O-prsten(ove) po potrebi.
Vratite čep(ove).
Ponovite korake 1 do 5 na sklopu planetnog zupčanika na drugoj strani uređaja.
| Interval servisa održavanja | Postupak održavanja |
|---|---|
| Nakon prvih 50 sati |
|
| Svakih 800 sati |
|
Specifikacija maziva: visokokvalitetno mazivo za zupčanike SAE 85W-140
Kapacitet podmazivanja kućišta planetnog pogona i sustava kočenja: 0,65 l
Parkirajte uređaj na ravnu površinu i stavite kotač u položaj u kojem je čep otvora za punjenje na 12 sati, čep otvora za provjeru na 3 sata, a čep otvora za pražnjenje na 6 sati; pogledajte Slika 72 u Provjeravanje maziva planetnog zupčastog pogona.
Maknite čep otvora za punjenje na položaju od 12 sati i čep otvora za provjeru na položaju od 3 sata (Slika 74).

Stavite posudu za pražnjenje ispod glavčine planetnog pogona, maknite čep otvora za pražnjenje na položaju od 6 sati i pustite da ulje potpuno iscuri (Slika 74).
Provjerite ima li na O-prstenovima znakova trošenja ili oštećenja čepova otvora za punjenje, provjeru i pražnjenje.
Note: Zamijenite O-prsten(ove) po potrebi.
Stavite čep otvora za pražnjenje u otvor za pražnjenje kućišta planetnog pogona (Slika 74).
Stavite posudu za pražnjenje ispod kućišta sustava kočenja, maknite čep otvora za pražnjenje i pustite da ulje potpuno iscuri (Slika 75).

Provjerite O-prsten za čep i ima li znakova trošenja ili oštećenja i vratite čep otvora za pražnjenje na kućište sustava kočenja.
Note: Zamijenite O-prsten po potrebi.
Kroz otvor za punjenje polako napunite kućište planetnog pogona s 0,65 l visokokvalitetnog maziva za zupčanike SAE 85W-140 wt.
Important: Ako se planetni pogon napuni prije nego što dodate 0,65 l ulja, pričekajte 1 sat ili stavite čep i pomaknite uređaj približno 3 m da bi se ulje raspodijelilo kroz sustav kočenja. Zatim maknite čep i dodajte ostatak ulja.

Vratite čep otvora za punjenje i čep otvora za provjeru.
Prebrišite kućište planetnog pogona i kućište sustava kočenja (Slika 77).

Ponovite korake 1 do 7 u Pražnjenje planetnog zupčastog pogona i korake 1 do 3 iz ovog postupka za sklop planetnog pogona / sustava kočenja na drugoj strani uređaja.
| Interval servisa održavanja | Postupak održavanja |
|---|---|
| Prije svake uporabe ili svakodnevno |
|
Pregledajte ima li curenja na stražnjoj osovini i mjenjačkoj kutiji stražnje osovine.

| Interval servisa održavanja | Postupak održavanja |
|---|---|
| Svakih 400 sati |
|
Stražnja osovina ispunjena je mazivom za zupčanike SAE 85W-140. Kapacitet je 2,4 l. Svakodnevno pregledavajte ima li curenja.
Parkirajte uređaj na ravnoj površini, aktivirajte ručnu kočnicu, spustite jedinice za rezanje, ugasite motor i izvadite ključ za paljenje.
Maknite čep otvora za provjeru s 1 kraja osovine i pobrinite se da maziva ima do dna otvora (Slika 79).
Note: Ako je razina niska, maknite čep otvora za punjenje i dodajte dovoljno maziva da razina dođe do dna otvora za provjeru.

| Interval servisa održavanja | Postupak održavanja |
|---|---|
| Nakon prvih 200 sati |
|
| Svakih 800 sati |
|
Specifikacija maziva: visokokvalitetno mazivo za zupčanike SAE 85W-140
Kapacitet osovine: 2,4 l
Parkirajte uređaj na ravnoj površini, aktivirajte ručnu kočnicu, spustite jedinice za rezanje, ugasite motor i izvadite ključ za paljenje.
Očistite područje oko 3 čepa otvora za pražnjenje – 1 na svakom kraju i 1 u središtu (Slika 80).

Skinite čepove otvora za provjeru razine ulja i poklopac glavnog ventilacijskog otvora osovine kako biste olakšali pražnjenje maziva za zupčanike.
Maknite čepove otvora za pražnjenje i pustite da se mazivo za zupčanike isprazni u posude.
Vratite čepove.
Maknite čep otvora za provjeru i napunite osovinu s približno 2,4 l maziva za zupčanike 85W-140 ili dok mazivo ne dođe do dna otvora.
Vratite čep otvora za provjeru.
| Interval servisa održavanja | Postupak održavanja |
|---|---|
| Svakih 400 sati |
|
Mjenjačka kutija ispunjena je mazivom za zupčanike SAE 85W-140. Kapacitet je 0,5 l. Svakodnevno pregledavajte ima li curenja.
Parkirajte uređaj na ravnoj površini, aktivirajte ručnu kočnicu, spustite jedinice za rezanje, ugasite motor i izvadite ključ za paljenje.
Maknite čep otvora za provjeru/punjenje s lijeve strane mjenjačke kutije i pobrinite se da je mazivo dodano do dna otvora (Slika 81).
Note: Ako je razina niska, dodajte dovoljno maziva da se razina podigne do dna otvora.

| Interval servisa održavanja | Postupak održavanja |
|---|---|
| Svakih 800 sati |
|
Parkirajte uređaj na ravnoj površini, aktivirajte ručnu kočnicu, spustite jedinice za rezanje, ugasite motor i izvadite ključ za paljenje.
Izmjerite udaljenost od središta do središta (na visini osovine) na prednjoj i stražnjoj strani upravljačkih guma (Slika 82).
Note: Prednja mjera mora biti 3 mm manja od stražnje mjere.

Za podešavanje, maknite rascjepku i maticu s bilo kojeg kuglastog zgloba vezne šipke (Slika 83). Maknite kuglasti zglob vezne šipke s potpore kućišta osovine.

Otpustite stezaljke na oba kraja veznih šipki (Slika 83).
Zaokrenite odspojeni kuglasti zglob prema unutra ili prema van za 1 cijeli krug i pričvrstite stezaljku na labavom dijelu vezne šipke.
Zaokrenite cijeli sklop vezne šipke u istom smjeru (prema unutra ili prema van) za 1 cijeli krug i pričvrstite stezaljku na povezani dio vezne šipke.
Stavite kuglasti zglob na potporu kućišta osovine, prstima zategnite maticu i izmjerite konvergenciju.
Ponovite postupak po potrebi.
Pritegnite maticu i postavite novu rascjepku nakon ispravnog podešavanja.
Gutanje rashladne tekućine može uzrokovati trovanje; držite izvan dohvata djece i kućnih ljubimaca.
Izbacivanje vruće rashladne tekućine pod tlakom ili diranje vrućeg hladnjaka ili okolnih dijelova može uzrokovati teške opekline.
Uvijek pustite da se motor hladi barem 15 minuta prije uklanjanja čepa hladnjaka.
Pri otvaranju čepa hladnjaka upotrijebite krpu i polako otvorite čep kako bi para mogla izaći.
Ne upravljajte uređajem bez poklopaca.
Držite prste, ruke i odjeću podalje od rotirajućeg ventilatora i pogonskog remena.
Spremnik rashladne tekućine u tvornici se puni otopinom vode i rashladne tekućine produljenog vijeka trajanja na osnovi etilen-glikola u omjeru 50:50.
Important: Upotrebljavajte samo rashladne tekućine dostupne na tržištu koje zadovoljavaju specifikacije iz tablice standarda rashladne tekućine produljenog vijeka trajanja.Nemojte upotrebljavati tradicionalnu (zelenu) anorgansku rashladnu tekućinu (IAT). Nemojte miješati tradicionalnu rashladnu tekućinu i rashladnu tekućinu produljenog vijeka trajanja.
|
Rashladna tekućina na osnovi etilen-glikola |
Inhibitor korozije |
|
Rashladna tekućina produljenog vijeka trajanja |
Tehnologija organske kiseline (OAT) |
|
Important: Nemojte se oslanjati na boju rashladne tekućine za određivanje razlike između tradicionalne (zelene) anorganske rashladne tekućine (IAT) i rashladne tekućine produljenog vijeka trajanja.Proizvođači rashladnih tekućina mogu obojati rashladnu tekućinu produljenog vijeka trajanja u sljedeće boje: crvena, ružičasta, narančasta, žuta, plava, plavozelena, ljubičasta i zelena. Upotrebljavajte rashladnu tekućinu koja zadovoljava specifikacije iz tablice standarda rashladne tekućine produljenog vijeka trajanja. |
|
|
ATSM International |
SAE International |
|
D3306 i D4985 |
J1034, J814 i 1941 |
Important: Omjer rashladne tekućine i vode trebao bi iznositi 50:50.
Poželjno: Kad miješate rashladnu tekućinu iz koncentrata, miješajte je s destiliranom vodom.
Poželjni izbor: Ako destilirana voda nije dostupna, upotrijebite prethodno izmiješanu rashladnu tekućinu, a ne koncentrat.
Minimalni zahtjev: Ako nisu dostupni ni destilirana voda ni prethodno pripremljena rashladna tekućina, pomiješajte koncentrat rashladne tekućine s čistom vodom za piće.
| Interval servisa održavanja | Postupak održavanja |
|---|---|
| Prije svake uporabe ili svakodnevno |
|
Kapacitet rashladnog sustava: 8,5 l.
Rotirajući ventilatori i pogonski remeni mogu uzrokovati tjelesne ozljede.
Ne upravljajte uređajem bez postavljenih štitova.
Držite prste, ruke i odjeću podalje od rotirajućeg ventilatora i pogonskog remena.
Prije održavanja ugasite motor i izvadite ključ.
Parkirajte uređaj na ravnoj površini, aktivirajte ručnu kočnicu, spustite jedinice za rezanje, ugasite motor i izvadite ključ za paljenje.
Pažljivo maknite čep hladnjaka.

Provjerite razinu rashladne tekućine u hladnjaku. Hladnjak bi trebao biti napunjen do vrha otvora za ulijevanje, a ekspanzijska posuda do oznake FULL (PUNO) (Slika 84).
Ako je razina rashladne tekućine niska, dodajte mješavinu vode i antifriza na bazi etilen-glikola u omjeru 50:50; pogledajte Specifikacija rashladne tekućine. Ne upotrebljavajte samo vodu ili rashladne tekućine na bazi alkohola/metanola.
Vratite čep hladnjaka i čep ekspanzijske posude.
| Interval servisa održavanja | Postupak održavanja |
|---|---|
| Prije svake uporabe ili svakodnevno |
|
Ovaj je uređaj opremljen hidrauličnim pogonskim sustavom ventilatora koji automatski (ili ručno) mijenja smjer za smanjenje nakupljanja prljavštine na hladnjaku ulja / hladnjaku i maski. Zahvaljujući toj opciji može se smanjiti vrijeme potrebno za čišćenje hladnjaka ulja / hladnjaka, ali ona ne isključuje rutinsko čišćenje. Periodično čišćenje i pregled hladnjaka / hladnjaka ulja i dalje je potrebno.
Parkirajte uređaj na ravnoj površini, aktivirajte ručnu kočnicu, spustite jedinice za rezanje, ugasite motor i izvadite ključ za paljenje.
Pričekajte dok se uređaj ohladi; pogledajte Sigurnost pri održavanju i Sigurnost rashladnog sustava.
Odspojite i širom otvorite stražnju masku (Slika 85).
Note: Masku maknite tako da je podignete s osovinica šarki.
Temeljito očistite masku od sve prljavštine.

Temeljito očistite obje strane hladnjaka ulja i hladnjaka s pomoću komprimiranog zraka (Slika 86).
Note: Krenite s prednje strane i ispušite prljavštinu prema stražnjoj strani. Zatim čistite počevši od stražnje strane i ispuhujte prema prednjoj strani. Ponovite postupak nekoliko puta dok ne uklonite sve otpatke i prljavštinu.

Important: Čišćenje hladnjaka ulja / hladnjaka vodom može dovesti do prijevremene korozije na komponentama i pretvoriti prljavštinu u kompaktnu masu.
Zatvorite stražnju masku i pričvrstite je s pomoću zasuna.
Podesite radne kočnice ako je slobodan hod papučice kočnice veći od 25 mm ili ako kočnice ne rade učinkovito. Slobodan hod je udaljenost za koju se papučica kočnice pomakne prije nego što osjetite otpor kočenja.
Parkirajte uređaj na ravnoj površini, aktivirajte ručnu kočnicu, spustite jedinice za rezanje, ugasite motor i izvadite ključ za paljenje.
Otpustite zasun za zaključavanje s papučica kočnice kako bi obje papučice radile neovisno jedna o drugoj.
Za smanjenje slobodnog hoda papučica kočnice, pritegnite kočnice kako slijedi:
Otpustite prednju maticu na kraju kabela kočnice s navojima (Slika 87).

Pritegnite stražnju maticu kako biste pomaknuli kabel prema natrag dok slobodan hod papučica kočnice ne bude između 13 i 25 mm.
Pritegnite prednje matice nakon što propisno podesite kočnice.
| Interval servisa održavanja | Postupak održavanja |
|---|---|
| Svakih 100 sati |
|
Odgovarajuća napetost remena omogućuje otklon od 10 mm kod primjene sile od 4,5 kg na remen pola puta između remenica.
Ako otklon nije 10 mm, otpustite montažne vijke alternatora (Slika 78).
Note: Povećajte ili smanjite napetost remena alternatora i pritegnite vijke. Ponovno provjerite otklon remena kako biste osigurali da je napetost ispravna.

Odmah potražite liječničku pomoć ako tekućina uđe pod kožu. Tekućinu pod kožom mora unutar nekoliko sati kirurški ukloniti liječnik.
Prije vršenja pritiska na hidraulički sustav provjerite jesu li sva crijeva za hidrauličnu tekućinu u dobrom stanju i jesu li sve hidrauličke veze i spojnice pritegnute.
Držite ruke i tijelo podalje od rupica ili ubrizgača koji izbacuju hidrauličnu tekućinu pod visokim pritiskom.
Nađite mjesta propuštanja hidraulične tekućine pomoću kartona ili papira.
Prije obavljanja radova na hidrauličkom sustavu sigurno otpustite sav pritisak u hidrauličkom sustavu.
Spremnik se u tvornici puni visokokvalitetnom hidrauličnom tekućinom. Provjerite razinu hidraulične tekućine prije prvog pokretanja motora i svakodnevno nakon toga; pogledajte Provjera razine hidraulične tekućine.
Preporučena hidraulična tekućina: Hidraulična tekućina produljenog vijeka trajanja Toro PX; dostupna u kantama od 19 l i bačvama od 208 l.
Note: Uređaj u kojem se upotrebljava preporučena zamjenska tekućina zahtijeva rjeđe zamjene tekućine i filtara.
Zamjenske hidraulične tekućine: Ako hidraulična tekućina produljenog vijeka trajanja Toro PX nije dostupna, možete upotrijebiti drugu konvencionalnu hidrauličnu tekućinu na bazi nafte čije su specifikacije unutar navedenog raspona za sva sljedeća materijalna svojstva i koja zadovoljava industrijske standarde. Nemojte upotrebljavati sintetičku tekućinu. Nađite zadovoljavajuć proizvod u dogovoru sa svojim distributerom maziva.
Note: Toro ne preuzima odgovornost za štetu uzrokovanu upotrebom neprikladnih zamjenskih tekućina, stoga upotrebljavajte samo proizvode uglednih proizvođača koji će stajati iza svojih preporuka.
| Materijalna svojstva: | ||
| Viskoznost, ASTM D445 | cSt @ 40 °C 44 do 48 | |
| Indeks viskoznosti, ASTM D2270 | 140 ili više | |
| Stinište, ASTM D97 | -37 °C do -45 °C | |
| Industrijske specifikacije: | Eaton Vickers 694 (I-286-S, M-2950-S/35VQ25 ili M-2952-S) | |
Note: Većina hidrauličnih tekućina je gotovo bezbojna, što otežava uočavanje curenja. Dostupno je crveno bojilo za hidrauličnu tekućinu u bočicama od 20 ml. Jedna je bočica dovoljna za količinu od 15 do 22 l hidraulične tekućine. Naručite dio br. 44-2500 od svog ovlaštenog distributera tvrtke Toro.
Important: Sintetička biorazgradiva hidraulična tekućina Toro Premium jedina je sintetička biorazgradiva tekućina koju je odobrila tvrtka Toro. Ta je tekućina kompatibilna s elastomerima koji se upotrebljavaju u hidrauličkim sustavima tvrtke Toro i primjerena je za širok raspon temperatura. Kompatibilna je i s konvencionalnim mineralnim uljima, ali kako bi biorazgradivost i učinkovitost bile na najvišoj mogućoj razini, trebalo bi temeljito isprati konvencionalnu tekućinu iz hidrauličkog sustava. Ulje je dostupno u kantama od 19 l ili bačvama od 208 l kod ovlaštenog distributera tvrtke Toro.
| Interval servisa održavanja | Postupak održavanja |
|---|---|
| Prije svake uporabe ili svakodnevno |
|
Parkirajte uređaj na ravnoj površini, aktivirajte ručnu kočnicu, spustite jedinice za rezanje, ugasite motor i izvadite ključ za paljenje.
Provjerite razinu hidraulične tekućine (Slika 89).


| Interval servisa održavanja | Postupak održavanja |
|---|---|
| Svakih 800 sati |
|
| Svakih 2000 sati |
|
| Svake 2 godine |
|
Kapacitet hidraulične tekućine: 28,4 l
Ako tekućina postane onečišćena, obratite se ovlaštenom distributeru tvrtke Toro jer je sustav potrebno isprati. Onečišćena tekućina mliječno je bijele ili crne boje u usporedbi s čistim uljem.
Parkirajte uređaj na ravnoj površini, aktivirajte ručnu kočnicu, spustite jedinice za rezanje, ugasite motor i izvadite ključ za paljenje.
Podignite poklopac.
Odspojite povratnu cijev kućišta s dna spremnika i pustite hidrauličnu tekućinu da istječe u veliku posudu za pražnjenje.
Postavite cijev nakon što se hidraulična tekućina prestane prazniti.
Napunite spremnik hidrauličnom tekućinom; pogledajte Održavanje hidraulične tekućine.
Important: Upotrebljavajte samo navedene hidraulične tekućine. Druge tekućine mogle bi oštetiti sustav.
Stavite poklopac na spremnik.
Okrenite ključ u prekidaču za paljenje u položaj ON (UKLJUčENO) za pokretanje motora. Upotrijebite sve hidraulične komande za širenje hidraulične tekućine kroz cijeli sustav i provjerite ima li znakova curenja.
Okrenite ključ u prekidaču za paljenje u položaj OFF (ISKLJUčENO).
Provjerite razinu tekućine i dodajte je dovoljno da se podigne razina do oznake FULL (PUNO) na šipki za mjerenje. Nemojte prepuniti spremnik.
| Interval servisa održavanja | Postupak održavanja |
|---|---|
| Svakih 800 sati |
|
| Svakih 1000 sati |
|
Upotrebljavajte zamjenske filtre Toro dio br. 94-2621 za stražnji dio uređaja (jedinice za rezanje) i dio br. 75-1310 za prednji dio uređaja (punjenje).
Important: Upotreba drugog filtra mogla bi rezultirati poništenjem jamstva na pojedinim komponentama.
Nagnite sjedalo rukovatelja za pristup filtru tlaka kosilice; pogledajte Pristup odjeljku hidrauličnog podizanja

Zamijenite hidraulični filtar punjenja u odjeljku za hidraulično podizanje kako je prikazano na Slika 91.


Spustite i osigurajte vozačevo mjesto.
Zamijenite filtar povrata na desnoj strani uređaja (Slika 91).
Pokrenite motor i pustite ga da radi oko 2 minute da pročisti zrak iz sustava. Isključite motor i provjerite je li došlo do curenja.
| Interval servisa održavanja | Postupak održavanja |
|---|---|
| Prije svake uporabe ili svakodnevno |
|
| Svake 2 godine |
|
Svakodnevno provjerite ima li na hidrauličnim vodovima curenja, savijenih vodova, labavih montažnih nosača, trošenja, labavih pričvrsnih elemenata, oštećenja zbog vremenskih prilika i kemijskih oštećenja. Izvršite sve potrebne popravke prije nastavljanja s radom uređaja.
Hidraulična tekućina koja izlazi pod pritiskom može prodrijeti kroz kožu i uzrokovati ozljede.
Odmah potražite liječničku pomoć ako tekućina prodre kroz kožu.
Prije vršenja pritiska na hidraulički sustav provjerite jesu li sva crijeva za hidrauličnu tekućinu u dobrom stanju i jesu li sve hidrauličke veze i spojnice zategnute.
Držite ruke i tijelo podalje od rupica ili ubrizgača koji izbacuju hidrauličnu tekućinu pod visokim pritiskom.
Nađite mjesta propuštanja hidraulične tekućine pomoću kartona ili papira.
Prije obavljanja radova na hidrauličkom sustavu sigurno otpustite sav pritisak u hidrauličkom sustavu.
Parkirajte uređaj na ravnoj površini, aktivirajte ručnu kočnicu, spustite jedinice za rezanje, ugasite motor i izvadite ključ za paljenje.
Odspojite i skinite hidraulični motor iz jedinice za rezanje (Slika 92). Pokrijte vrh vretena kako biste spriječili onečišćenje.

Skinite rascjepku (za uređaje Groundsmaster 4500) ili prstenastu maticu (za uređaje Groundsmaster 4700) koja pričvršćuje nosivi okvir jedinice za rezanje za okretni klin poluge za podizanje (Slika 93).

Gurnite jedinicu za rezanje dalje od uređaja.
Postavite jedinicu za rezanje u položaj ispred uređaja.
Pomaknite nosivi okvir jedinice za rezanje na okretni klin poluge za podizanje (Slika 93). Pričvrstite jedinicu za rezanje na klin s pomoću rascjepke (za uređaje Groundsmaster 4500) ili prstenaste matice (za uređaje Groundsmaster 4700).
Postavite hidraulični motor na jedinicu za rezanje (Slika 92). O-prsten mora biti na mjestu i neoštećen.
Podmažite vreteno.
Provjerite ima li na prednjem valjku znakova trošenja, prekomjerne nestabilnosti ili savijanja. Servisirajte ili zamijenite valjak ili komponente pojavi li se koje od navedenih stanja.
Uklonite montažni vijak valjka (Slika 94).
Uvucite probojac kroz kraj kućišta valjka i provucite suprotan ležaj naizmjeničnim kuckanjem po suprotnoj strani unutarnjeg prstena ležaja. Trebalo bi biti vidljivo 1,5 mm unutarnjeg prstena.

Izgurajte drugi ležaj.
Pregledajte kućište valjka, ležajeve i odstojnik ležaja za oštećenja (Slika 94). Zamijenite oštećene komponente i složite ih.
Pritisnite prvi ležaj u kućište valjka (Slika 94). Pritisnite samo vanjski prsten ili podjednako vanjski i unutarnji prsten.
Umetnite odstojnik (Slika 94).
Pritisnite drugi ležaj u kućište valjka (Slika 94). Jednoliko pritišćite unutarnji i vanjski prsten dok unutarnji prsten ne dodirne odstojnik.
Vratite sklop valjka u okvir jedinice za rezanje.
Provjerite je li maksimalni razmak između sklopa valjka i držača nosača okvira valjka u okviru jedinice za rezanje 1,5 mm. Ako je razmak veći od 1,5 mm, postavite dovoljno podloški promjera ⅝ inča kako bi nadomjestile razliku u razmaku.
Important: Postavljanje sklopa valjka s razmakom većim od 1,5 mm uzrokuje bočno opterećenje na ležaj i može prouzročiti prerano otkazivanje ležaja
Pritegnite montažni vijak na 108 Nm.
Povremeno provjerite jesu li noževi istrošeni ili oštećeni.
Budite oprezni pri pregledavanju noževa. Pri održavanju noževa budite oprezni i zamotajte noževe ili nosite rukavice. Nikad ne ravnajte ili varite noževe, samo ih mijenjajte ili oštrite.
Budite oprezni s kosilicama s višestrukim noževima jer okretanje jednog noža može uzrokovati okretanje drugih noževa.
Jedinica za rezanje ima tvornički postavljenu visinu košnje od 5 cm i nagib noža od 7,9 mm. Lijeva i desna visina također su tvornički određene unutar ± 0,7 mm jedna od druge.
Jedinica za rezanje oblikovana je tako da otporna na djelovanje noža bez deformacija komore. Ako nož udari o tvrdi predmet, pregledajte ga za oštećenja i je li ploha noža precizna.
Maknite hidraulični motor iz jedinice za rezanje i maknite jedinicu za rezanje iz uređaja.
S pomoću dizalice (ili uz pomoć najmanje 2 osobe) stavite jedinicu za rezanje na ravan stol.
Označite 1 kraj noža flomasterom ili markerom. Upotrebljavajte taj kraj noža za provjeru svih visina.
Stavite oštricu označenog kraja noža u položaj od 12 sati (ravno naprijed u smjeru košenja) (Slika 95) i izmjerite visinu od stola do oštrice noža.

Zaokrenite označeni kraj noža na položaje od 3 i 9 sati (Slika 95) i izmjerite visine.
Usporedite visinu izmjerenu u položaju od 12 sati s postavkom visine košnje. Trebala bi biti unutar 0,7 mm. Visina položaja od 3 i 9 sati trebale bi biti od 1,6 do 6,0 mm više od položaja od 12 sati i unutar 2,2 mm jedna od druge.
Ako ni jedna od tih mjera nije unutar specifikacija, nastavite do Podešavanje plohe noža.
Počnite s prednjim podešavanjem (promijenite jedan po jedan nosač).
Maknite nosač za visinu košnje (prednji, lijevi ili desni) s okvira jedinice za rezanje (Slika 96).
Podesite podmetke od 1,5 mm i/ili 0,7 mm između okvira i nosača jedinice za rezanje za postizanje željene visine (Slika 96).

Postavite nosač za visinu košnje na okvir jedinice za rezanje s preostalim podmetcima postavljenima ispod nosača za visinu košnje.
Pričvrstite imbus vijak / odstojnik i prirubnu maticu.
Note: Imbus vijak / odstojnik međusobno su povezani pomoću sredstva za osiguranje vijaka kako odstojnik ne bi upao u okvir jedinice za rezanje.
Provjerite visinu položaja od 12 sati i podesite po potrebi.
Utvrdite treba li prilagoditi 1 ili oba nosača za visinu košnje (desni i lijevi).
Note: Ako je strana položaja od 3 ili 9 sati od 1,6 do 6,0 mm viša od nove prednje visine, tada na toj strani nije potrebno podešavanje. Podesite drugu stranu unutar ± 2,2 mm u odnosu na ispravnu stranu.
Podesite desni i/ili lijevi nosač za visinu košnje ponavljajući korake 1 do 4.
Pričvrstite noseće vijke i prirubne matice.
Provjerite visine na položajima od 12, 3 i 9 sati.
Zamijenite nož ako udari o tvrdi predmet ili ako je neuravnotežen ili iskrivljen. Uvijek upotrebljavajte originalne zamjenske noževe tvrtke Toro kako biste osigurali sigurnost i optimalnu učinkovitost.
Parkirajte uređaj na ravnoj površini, podignite jedinicu za rezanje u transportni položaj, aktivirajte parkirnu kočnicu, ugasite motor i izvadite ključ za paljenje.
Note: Blokirajte ili zaključajte jedinicu za rezanje kako ne bi slučajno pala.
Držite kraj noža s pomoću krpe ili debele rukavice.
Uklonite vijak noža, zaštitu od skalpiranja travnjaka i nož s vratila vretena (Slika 97).

Postavite nož, zaštitu od skalpiranja travnjaka i vijak noža te pritegnite vijak noža na 115 do 149 Nm.
Important: Kako bi se osiguralo pravilno košenje, zakrivljeni dio noža mora biti usmjeren prema unutrašnjosti jedinice za rezanje.
Note: Nakon sudara sa stranim tijelom, pritegnite sve matice remenice vretena na vrijednosti od 115 do 149 Nm.
Kod provjere i servisiranja noža kosilice potrebno je uzeti u obzir dva elementa: krilo i oštricu. I oštrice i krilo, odnosno uzdignuti dio nasuprot oštrici, doprinose dobroj kvaliteti košnje. Krilo je važno jer podiže travu prema gore i na taj način omogućuje ravnomjerno košenje. Međutim, krilo se s vremenom troši tijekom rada. Kako se krilo troši, tako se smanjuje kvaliteta košnje, iako su oštrice oštre. Oštrica noža mora biti oštra kako bi se trava rezala, a ne trgala. Oštrica je očito tupa ako su vrhovi vlati trave smeđii potrgani. Naoštrite oštrice kako biste to ispravili.
Parkirajte uređaj na ravnoj površini, podignite jedinicu za rezanje, aktivirajte ručnu kočnicu, stavite papučicu snage u neutralni položaj NEUTRAL, stavite polugu PTO uređaja u položaj OFF (ISKLJUčENO), ugasite motor i izvadite ključ za paljenje.
Pažljivo pregledajte oštrice noža, posebno točke na kojima se susreću ravni i zakrivljeni dijelovi noža (Slika 98).
Note: Zbog toga što pijesak i abrazivni materijal mogu prouzročiti trošenje metala koji povezuje ravne i zakrivljene dijelove noža, provjerite nož prije korištenja kosilice. Ako su vidljivi znakovi trošenja (Slika 98), zamijenite nož.

Provjerite oštrice svih noževa i naoštrite oštrice ako su tupe ili neravne (Slika 99).
Note: Naoštrite samo vrh oštrice i zadržite originalni kut rezanja kako biste osigurali oštrinu (Slika 99). Nož zadržava ravnotežu ako uklonite istu količinu metala s obje oštrice.

Note: Maknite noževe i naoštrite ih na brusilici. Nakon oštrenja oštrica, postavite nož, zaštitu od skalpiranja travnjaka i vijak noža; pogledajte Uklanjanje i postavljanje noževa jedinica za rezanje.
Prije nego što napustite položaj rukovatelja, ugasite motor, izvadite ključ i pričekajte da se svi pomični dijelovi zaustave. Pustite da se uređaj ohladi prije podešavanja, održavanja, čišćenja ili skladištenja.
Nemojte skladištiti uređaj ili spremnik za gorivo u blizini otvorenog plamena, iskri ili žižaka poput onih na bojlerima ili drugim uređajima.
Important: Za čišćenje uređaja nemojte upotrebljavati slankastu ili tehnološku vodu.
Temeljito očistite kosilicu, jedinice za rezanje i motor.
Provjerite tlak u gumama. Sve gume kosilice moraju biti napuhane na vrijednost od 0,83 do 1,03 bara (83 do 103 kPa).
Provjerite čvrstoću svih pričvrsnica i učvrstite ih po potrebi.
Podmažite sve mazalice i okretne točke. Obrišite višak maziva.
Lagano obrusite i upotrijebite boju za popravak na obojenim površinama koje su izgrebane, oguljene ili zahrđale. Popravite udubljenja na karoseriji ako ih ima.
Održavajte akumulator i kabele na sljedeći način:
Uklonite priključke akumulatora iz klema.
Note: Uvijek prvo odspojite negativni priključak, a zatim pozitivni. Uvijek prvo spojite pozitivni priključak, a zatim negativni.
Očistite akumulator, priključke i kleme pomoću žičane četke i otopine sode bikarbone.
Kako biste spriječili koroziju, premažite kabelske priključke i kleme mašću za popravak Grafo 112X (dio br. 505-47) ili vazelinom.
Polako punite akumulator svakih 60 dana tijekom 24 sata kako biste spriječili sulfataciju akumulatora.
Ispraznite motorno ulje iz posude za ulje i vratite čep za pražnjenje na mjesto.
Uklonite i bacite filtar ulja. Stavite novi filtar ulja.
Napunite posudu za ulje naznačenom količinom motornog ulja.
Okrenite ključ u prekidaču na položaj ON (UKLJUčENO), pokrenite motor i pustite ga da radi u praznom hodu približno 2 minute.
Okrenite ključ u prekidaču u položaj OFF (ISKLJUčENO).
Do kraja ispustite gorivo iz spremnika za gorivo, cijevi i sklopa filtra goriva / separatora za vodu.
Isperite spremnik za gorivo svježim, čistim dizelskim gorivom.
Učvrstite sve priključke za gorivo.
Temeljito očistite i servisirajte sklop pročistača zraka.
Zabrtvite ulaz pročistača zraka i ispušni otvor s pomoću trake otporne na vremenske uvjete.
Provjerite antifriz i dodajte po potrebi za očekivanu najnižu temperaturu na vašem području.
Ako su jedinice za rezanje odvojene od kosilice tijekom bilo kojeg vremenskog razdoblja, postavite čep otvora vretena na vrh vretena kako biste zaštitili vretena od prašine i vode.
