| Vedlikeholdsintervall | Vedlikeholdsprosedyre |
|---|---|
| Etter de 20 første timene |
|
| For hver bruk eller daglig |
|
Maskinen er et kjøretøy som er beregnet for bruk av profesjonelle, innleide operatører i kommersielle applikasjoner. Det er hovedsakelig utformet for å behandle sandbunkere-/fang på godt vedlikeholde golfbaner og kommersielle områder.
Les denne håndboken nøye, slik at du lærer å bruke og vedlikeholde produktet på riktig måte og unngår person- eller produktskade. Du har ansvar for å bruke produktet på en riktig og sikker måte.
Du kan kontakte Toro direkte på www.Toro.com for materialer for produktsikkerhet og opplæring i bruk, og informasjon om tilbehør, hjelp til å finne en forhandler eller for å registrere produktet ditt.
Hvis maskinen må repareres eller du trenger originale Toro-deler eller mer informasjon, kan du kontakte et autorisert forhandlerverksted eller Toros kundeserviceavdeling. Ha modell- og serienummer for hånden når du tar kontakt. Disse numrene er stemplet på en plate som sitter på venstre rammeskinne. Skriv inn numrene i de tomme feltene.
Denne brukerhåndboken identifiserer mulige farer og identifiserer sikkerhetsbeskjeder gjennom sikkerhetsvarslingssymbolet (Figur 1) som varsler om en fare som kan føre til alvorlige skader eller dødsfall hvis man ikke tar de anbefalte forhåndsreglene.

I tillegg brukes to ord for å utheve informasjon. Viktig gjør oppmerksom på spesiell mekanisk informasjon og Obs henviser til generell informasjon som er verdt å huske.
Dette produktet er i samsvar med alle relevante europeiske direktiver. Se eget samsvarserklæringsskjema for produktet for detaljert informasjon.
Det er i strid med Californias Public Resource Code, avsnitt 4442 eller 4443, å bruke denne motoren i skogs-, busk- eller gressområder med mindre motoren er utstyrt med en fungerende gnistfanger, som definert i avsnitt 4442, eller en motor som er beregnet, utstyrt og vedlikeholdt for å unngå brann.
Dette tenningssystemet er i samsvar med Canadas ICES-002
Den vedlagte brukerhåndboken for motoren inneholder informasjon om amerikanske miljømyndigheters (EPA) og Californias utslippskontrollreguleringer for utslippssystemer, vedlikehold og garanti. Du kan bestille nye brukerhåndbøker fra motorprodusenten.
CALIFORNIA
Proposition 65-advarsel
Staten California kjenner til at motoreksosen fra dette produktet inneholder kjemikalier som kan forårsake kreft, fosterskader eller skade forplantningsevnen på andre måter.
For ekstra trekkraft kan vektsettet (100-6442) legges til på maskinens forside.
Note: Hvis maskinen er utstyrt med frontløft- eller plogtilbehør, vil tilbehøret være i veien slik at vektsettet ikke passer.
Feilaktig bruk og vedlikehold av maskinen kan føre
til personskade. Følg alltid disse forsiktighetsreglene
for å unngå at det skjer en ulykke, og ta alltid hensyn
til sikkerhetsvarselsymbolet
, som betyr Forsiktig, Advarsel eller Fare –
personlige sikkerhetsinstruksjoner. Hvis ikke disse instruksjonene
tas hensyn til, kan dette føre til at noen blir alvorlig skadet
eller drept.
Les brukerhåndboken og annet opplæringsmateriale nøye. Gjør deg godt kjent med alle kontroller, sikkerhetssignaler og riktig bruk av utstyret.
Hvis brukeren eller mekanikeren ikke kan lese språket i brukerhåndboken, er det eieren som er ansvarlig for å forklare dette materiellet for dem.
Barn eller personer som ikke har lest bruksanvisningen, må ikke få lov til bruke eller utføre service på maskinen. Det kan hende at lokale forskrifter setter en aldersgrense for bruk.
Ikke bruk kjøretøyet hvis andre personer, spesielt barn, eller dyr befinner seg i nærheten.
Ta aldri med passasjerer.
Alle førere og mekanikere bør selv sørge for at de får profesjonell opplæring. Eieren er ansvarlig for opplæring av brukerne. En slik opplæring bør legge vekt på:
Hvor nødvendig forsiktighet og konsentrasjon er når man kjører en plentraktor.
At man ikke får kontroll over en plentraktor som sklir i en bakke ved å bremse. De vanligste årsakene til at man mister kontroll over maskinen er:
for dårlig bakkegrep,
for høy hastighet,
utilstrekkelig bremsing,
at denne spesielle maskintypen ikke passer til arbeidet,
at det ikke er tatt hensyn til bakkeforhold, spesielt skråninger eller
feil kupling eller fordeling av belastning.
Eieren/brukeren kan forhindre og er ansvarlig for ulykker eller skader som personer og eiendom utsettes for.
Ha på deg passende klær, inkludert vernebriller, sklisikkert og kraftig fottøy og hørselsvern. Sett opp langt hår. Ikke bruk smykker.
Vurder terrenget for å avgjøre hvilket tilbehør og utstyr som er nødvendig for å gjøre jobben på en sikker og riktig måte. Bruk bare tilbehør og utstyr som er godkjent av produsenten.
Kontroller at brukerens kontroller, sikkerhetsbryterne og verneplatene er montert og virker riktig. Ikke bruk maskinen hvis disse ikke fungerer som de skal.
Håndter bensin svært forsiktig for å unngå skade på person eller eiendom. Bensin er meget brannfarlig, og bensindamp er eksplosiv.
Slukk alle sigaretter, sigarer, piper og andre tennkilder.
Bruk kun en godkjent drivstoffkanne.
Ikke ta av lokket på drivstofftanken eller fyll drivstoff mens motoren går.
La motoren bli kald før du fyller på mer drivstoff.
Du må aldri fylle drivstoff på maskinen innendørs.
Oppbevar aldri maskinen eller drivstoffkannen hvor det er åpen ild, gnist eller kontrollampe som på en varmtvannstank eller andre apparater.
Fyll aldri opp kanner inne i et kjøretøy, på en lastebil eller på en tilhenger med en plastfôring. Sett alltid beholdere på bakken, borte fra kjøretøyet, før de fylles.
Utstyr må tas ut av lastebilen eller tilhengeren og fylles med drivstoff på bakken. Hvis dette ikke lar seg gjøre, fyll drivstoff på slikt utstyr med en bærbar kanne i stedet for direkte fra bensinpumpen.
Påfyllingstuten må være i kontakt med kanten på drivstofftanken eller kannens åpning hele tiden, helt til du er ferdig med å fylle. Ikke bruk utstyr for låsing av munnstykket i åpen stilling.
Hvis du søler drivstoff på klær, bytt klær umiddelbart.
Ikke overfyll drivstofftanken.
Sett på igjen lokket på drivstofftanken og stram godt til.
Motoren må ikke brukes på et lukket sted der giftig kullos og andre eksosgasser kan samle seg.
Kjøretøyet må bare brukes i dagslys eller der det er god kunstig belysning.
Før du forsøker å starte motoren, må du koble ut alt tilbehør, sette motoren i nøytral og sette på parkeringsbremsen.
Hold hender og føtter borte fra roterende deler.
Du må være oppmerksom når du bruker maskinen. Slik forhindrer du at kjøretøyet velter eller at du mister kontroll:
Hold utkikk etter hull eller andre skjulte farer.
Vær svært forsiktig når du bruker kjøretøyet i bratte hellinger. Reduser hastigheten når du tar skarpe svinger eller svinger i en helling.
Unngå å starte og stoppe plutselig. Ikke gå fra revers til full hastighet fremover uten å stoppe helt i mellomtiden.
Pass på at ingen står bak kjøretøyet før du rygger.
Se opp for trafikk når du krysser eller er i nærheten av veier. Overhold vikeplikten.
Hvis den valgfrie trekkoblingen, delenr. 110-1375, er montert på maskinen, se tilbehørets brukerhåndbok for maksimal koblingsbelastning.
Vær forsiktig under sleping av last eller ved bruk av tungt utstyr.
Bruk kun godkjente koblinger til slepeutstyr.
Begrens lasten til en vekt som du har full kontroll over.
Unngå brå svinger. Vær forsiktig når du rygger.
Se opp for trafikk når du krysser eller er i nærheten av veier.
Maskinen må ikke brukes hvis verneplatene er defekte eller uten at sikkerhetsanordningene sitter på plass. Kontroller at alle sperrene er montert, at de er riktig justert og at de fungerer som de skal.
Innstillingen av motorregulatoren må ikke forandres og motoren må ikke ruses. Hvis motoren går på for høyt turtall, øker faren for personskader.
Før du forlater førerens plass:
Stopp gressklipperen på en jevn flate.
Slipp opp trekkpedalen og senk tilbehøret.
Sett på parkeringsbremsen.
Stopp motoren og ta ut nøkkelen.
Sørg for å koble ut drevet til tilleggsutstyret når du transporterer maskinen fra et sted til et annet, eller når den ikke brukes.
Stopp motoren og koble ut drivkraften til utstyret
før du fyller drivstoff,
før du sjekker, rengjør eller utfører arbeid på maskinen;
etter at du har truffet en gjenstand eller hvis det oppstår unormal vibrasjon. Undersøk om maskinen ble skadet, og reparer den før du starter den og bruker utstyret igjen.
Reduser gassen når du vil stoppe motoren. Hvis motoren har en stengingsventil, skal drivstofftilførselen skrus av når du er ferdig med å bruke kjøretøyet.
Se bak- og nedover før du rygger, slik at du ikke kjører på noen.
Kjør sakte, og vær forsiktig når du svinger og krysser veier og fortau.
Ikke bruk maskinen når du er syk, trett eller påvirket av alkohol eller andre rusmidler.
Lynnedslag kan forårsake alvorlige skader eller dødsfall. Hvis du ser/hører at lyn og tordenvær nærmer seg der du er, må du ikke bruke maskinen. Søk tilflukt!
Vær forsiktig når du skal sette maskinen på en tilhenger eller lastebil, og når du skal sette den ned på bakken igjen.
Vær forsiktig når du nærmer deg hjørner, busker, trær eller annet som reduserer synsfeltet.
Hold alle muttere, bolter og skruer godt strammet slik at utstyret er trygt å bruke.
En maskin med drivstoff på tanken må aldri oppbevares innendørs der drivstoffdamp kan komme i kontakt med en åpen flamme eller gnister.
La motoren bli kald før maskinen settes på et lukket sted.
Unngå brannfare ved å holde motoren, lyddemper, batterirommet og området der drivstoff oppbevares, fritt for gress, løv og for mye fett.
Hold alle delene i god stand, og sørg for at delene og de hydrauliske koblingene er tette. Skift ut slitte eller skadde deler og merker.
Hvis du må tømme drivstofftanken, skal dette gjøres utendørs.
Vær forsiktig når du justerer maskinen slik at du unngår å klemme fingre mellom bevegelige deler og faste deler.
Koble fra drivverket, senk tilbehøret, sett på parkeringsbremsen, stopp motoren og ta ut nøkkelen. Vent til alle bevegelige deler har stoppet før du foretar justeringer, rengjøring eller reparasjoner.
Bruk jekkstøtter til å støtte komponentene når det er nødvendig.
Vær forsiktig når du reduserer trykket i komponenter under trykk.
Koble fra batteriet og fjern ledningen fra tennpluggen før du utfører eventuelle reparasjoner. Koble kabelen fra den negative klemmen først, og deretter den andre kabelen fra den positive klemmen. Koble til den positive kabelen først og den negative sist.
Hold hender og føtter borte fra bevegelige deler. Du må aldri foreta justeringer mens motoren går hvis du kan unngå det.
Lad batterier i et åpent, godt ventilert område, borte fra gnister og åpen ild. Trekk ut laderen før du kobler den til eller fra batteriet. Ha på deg beskyttelsesklær og bruk verktøy som er isolert.
Kontroller at alle koblingene for hydrauliske ledninger er tette, og at alle hydrauliske slanger og ledninger er i god stand før systemet settes under trykk.
Hold kropp og hender borte fra hull eller dyser som sprøyter ut hydraulisk væske under høyt trykk. Bruk papp eller papir til å lete etter lekkasjer, ikke hendene. Hydraulikkolje som kommer ut under trykk, kan trenge gjennom huden og forårsake alvorlige skader. Oppsøk legehjelp øyeblikkelig hvis væske sprøytes inn under huden.
Før du kobler fra eller utfører vedlikehold eller reparasjoner på det hydrauliske systemet, må du slippe ut alt trykket i systemet ved å stoppe motoren og senke tilbehøret til bakkenivå.
Kontroller med jevne mellomrom at drivstoffledningene er tette, og at de ikke er slitte. Stram og reparer dem etter behov.
Hvis du må ha motoren i gang for å utføre en vedlikeholdsjustering, må du passe på at klær, hender, føtter og andre kroppsdeler ikke kommer i nærheten av tilbehør eller bevegelige deler, særlig skjermen på siden av motoren. Hold alle unna.
La en autorisert Toro-forhandler kontrollere maksimal hastighet med en turteller, slik at det blir utført på en sikker og nøyaktig måte.
Ta kontakt med en autorisert Toro-forhandler hvis det er nødvendig med store reparasjoner eller du trenger hjelp.
For å oppnå optimal ytelse og holde maskinen i sikkerhetsgodkjent stand, bruker du bare ekte Toro-reservedeler og -tilbehør. Reservedeler og tilbehør som er laget av andre produsenter kan være farlige, og de kan derfor føre til at garantien blir ugyldig.
Vær forsiktig når du skal sette maskinen på en tilhenger eller lastebil, og når du skal sette den ned på bakken igjen.
Bruk ramper med full bredde for å laste maskinen inn i en tilhenger eller lastebil.
Fest maskinen godt med stropper, kjetting, kabel eller tau. Både de fremre og bakre stroppene må ledes nedover og utover fra maskinen
Denne enheten har et garantert lydstyrkenivå på 97 dBA, med en usikkerhetsverdi (K) på 1 dBA.
Lydstyrkenivået ble fastsatt iht. prosedyrene som er beskrevet i ISO 11094.
Denne enheten har et lydtrykknivå på 83 dBA ved operatørens øre, med en usikkerhetsverdi (K) på 1 dBA.
Lydtrykknivået ble fastsatt iht. prosedyrene som er beskrevet i EN ISO 11201.
Bruk hørselsvern.
Hånd-arm
Målt vibrasjonsnivå for høyre hånd = 0.27 m/s2
Målt vibrasjonsnivå for venstre hånd = 0.29 m/s2
Usikkerhetsverdi (K) = 0,5 m/s2
Målte verdier ble fastsatt iht. prosedyrene som er beskrevet i EN 1032.
Hele kroppen
Målt vibrasjonsnivå = 0,5 m/s2
Usikkerhetsverdi (K) = 0,5 m/s2
Målte verdier ble fastsatt iht. prosedyrene som er beskrevet i EN 1032.
![]() |
Sikkerhetsmerker og -instruksjoner er lett synlige for føreren og er plassert i nærheten av alle områder som representerer en potensiell fare. Bytt ut alle merker som er ødelagte eller mangler. |







Note: Angi hva som er høyre og venstre side på maskinen ved å sitte i normal arbeidsstilling.
Note: Fjern og kast alle transportbraketter og -fester.
Deler som er nødvendige for dette trinnet:
| Ratt | 1 |
| Skumkrage | 1 |
| Skive | 1 |
| Låsemutter | 1 |
| Rattdeksel | 1 |
Flytt forhjulet slik at det peker rett fremover.
Før skumkragen, den minste enden først, på rattstangen (Figur 2).

Før rattet på rattstangen (Figur 2).
Fest rattet på rattstangen med en skive og en låsemutter (Figur 2).
Trekk til låsemutteren med et moment på 27–35 N·m.
Trykk rattdekslet på plass på rattet (Figur 2).
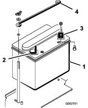
Fjern de to vingemutrene og skivene som fester batteriholderen på toppen til sidebatteriholderne (Figur 3). Fjern batteriholderen på toppen, og fjern batteriet.

Deler som er nødvendige for dette trinnet:
| Elektrolytt med egenvekt på 1.260 (ikke inkludert) | – |
Batteripoler, klemmer og tilknyttet tilbehør inneholder bly og blyforbindelser, kjemikalier som er kjente i staten California for å føre til kreft og forplantningsskader. Vask hendene etter at du har håndtert et batteri.
Hvis batteriet ikke er fylt med elektrolytt eller ikke er aktivert, må du kjøpe elektrolytt med spesifikk vekt på 1.260 fra en lokal batterileverandør og tilsette i batteriet.
Elektrolytten i batteriet inneholder svovelsyre, en dødelig gift som også kan forårsake alvorlige brannskader.
Ikke drikk elektrolytt, og unngå kontakt med hud, øyne og klær. Bruk vernebriller for å beskytte øynene og gummihansker for å beskytte hendene.
Fyll batteriet i nærheten av rent vann som kan brukes til å skylle huden.
Fjern påfyllingslokkene fra batteriet, og fyll forsiktig hver celle med elektrolytt til nivået er like over påfyllingslinjen.
Sett på igjen påfyllingslokkene, og koble en batterilader på 3–4 A til batteripolene. Lad batteriet med 3 til 4 A i 4 til 8 timer.
Når batteriet lades, utvikles det gasser som kan eksplodere.
Røyk aldri i nærheten av batteriet og hold gnister og åpen ild borte fra batteriet.
Når batteriet er oppladet, kobler du laderen fra strømuttaket og batteripolene. La batteriet sitte i 5–10 minutter.
Fjern påfyllingslokkene.
Fyll elektrolytt forsiktig på hver celle til nivået når opp til påfyllingslinjen.
Important: Ikke fyll for mye på batteriet. Elektrolytt kan renne ned i andre deler av maskinen, noe som fører til korrosjon og ødeleggelse.
Sett på påfyllingslokkene.
Deler som er nødvendige for dette trinnet:
| Bolt (1/4 x 5/8 tomme) | 2 |
| Låsemutter (¼ tomme) | 2 |
Sett batteriet på plass, med den negative terminalen plassert mot baksiden av maskinen (Figur 4).

Feilaktig ruting av batterikabler kan skade maskinen og kablene og forårsake gnister. Gnistene kan føre til at batterigassene eksploderer, noe som kan forårsake personskade.
Ta alltid av den negative (svarte) batterikabelen før du kobler fra den positive (røde) kabelen.
Koble alltid til den positive (røde) batterikabelen før du setter på den negative (svarte) kabelen.
Batteripolene eller metallverktøy kan kortslutte mot metallkomponenter og forårsake gnister. Gnistene kan føre til at batterigassene eksploderer, noe som kan forårsake personskade.
Når du fjerner eller monterer batteriet, må du passe på at batteripolene ikke berører metalldeler på maskinen.
La ikke metallverktøy kortslutte mellom batteripolene og metalldeler på maskinen.
Fest den positive kabelen (rød) til den positive polen (+) med en bolt (1/4 x 5/8 tommer) og en låsemutter (Figur 5).

Fest den lille, svarte ledningen og den negative kabelen (svart) ved batteriets negative pol (-) med en bolt (1/4 x 5/8 tomme) og låsemutter (1/4 tomme) (Figur 5).
Smør klemmene og monteringsfestene med vaselin for å forhindre korrosjon.
Skyv gummihetten over den positive polen (+) for å forhindre muligheten for kortslutning.
Installer den øverste batteriholderen mot sidebatteriholderne, og fest den med skiver og vingemutre.
Deler som er nødvendige for dette trinnet:
| Frontvekt(er) etter behov | – |
Denne maskinen har blitt designet i henhold til standardene ANSI B71.4-2012. Når det er montert tilbehør på maskinen er det imidlertid nødvendig med ekstra vekt for å være i overensstemmelse med standardene.
Bruk diagrammet nedenfor for å bestemme kombinasjon av tilleggsvekt. Bestill deler fra en autorisert Toro-forhandler.
| Tilbehør | Nødvendig frontvekt påkrevd | Vektens delenummer | Vektbeskrivelse | Ant. |
|---|---|---|---|---|
| Piggsett (08755) | 23 kg | 100-6442 | 8 x 3 kg vektplate | 1 |
| Rahn-trimsats | 23 kg | 100-6442 | 8 x 3 kg vektplate | 1 |
| QAS-verktøyboks | 23 kg | 100-6442 | 8 x 3 kg vektplate | 1 |
Note: Det er ikke nødvendig med ekstravekt hvis maskinen er utstyrt med front hydraulikkheissett, modell 08712.

Trekkpedalen (Figur 7) har tre funksjoner: bevege maskinen forover, bakover og stanse maskinen. Bruk hæl og tå på høyre fot til å trykke ned fremre del av pedalen for å kjøre fremover og bakre del av pedalen for å kjøre bakover eller for å hjelpe til med å stoppe under fremoverkjøring (Figur 8). La pedalen bevege seg, eller beveg den til NøYTRAL posisjon for å stoppe maskinen. Ikke hvil hælen på ryggeputen for å være komfortabel når du kjører maskinen forover.


Bakkehastigheten er proporsjonal med hvor langt ned du trykker pedalen. Hvis du vil oppnå maksimal bakkehastighet, trykker du pedalen helt ned når gassen er i hurtigstillingen. For å oppnå maksimal kraft når du kjører i oppoverbakke, sett gassen i hurtigstillingen mens du trykker pedalen litt ned for å opprettholde høyt turtall. Når motorhastigheten begynner å reduseres, slipp pedalen litt opp for å øke motorhastigheten.
Important: For maksimal trekkraft skal gassen stå i hurtigstillingen og trekkpedalen skal bare trykkes lett ned.
Bruk kun maksimum kjørehastighet når du kjører fra ett område til et annet.
Maksimum hastighet anbefales ikke når du bruker montert eller tauet tilbehør.
Important: Ikke bruk i revers med tilbehøret i senket stilling (driftsstilling), dette kan påføre skade på tilbehøret.
Tenningsbryteren (Figur 9) som brukes til å starte og stoppe motoren, har tre stillinger: Av, kjør og start. Vri deretter nøkkelen med urviseren til start-stillingen for å starte motoren. Slipp nøkkelen når motoren starter. Nøkkelen går automatisk til på-stillingen. Når du har stanset motoren, vrir du nøkkelen mot urviseren til stillingen Av.

For å starte en kald motor, må du lukke forgasserchoken ved å flytte chokekontrollen (Figur 9) opp til lukkestillingen. Når motoren er startet, regulerer du choken slik at motoren går jevnt. Åpne choken så raskt som mulig ved å flytte den ned til stillingen Åpen. En varm motor trenger lite eller ingen choke.
Gasskontrollspaken (Figur 9)er forbundet til og betjener gasskoblingen til forgasseren. Kontrollen har to stillinger: Hurtig og langsom. Motorhastigheten kan varieres mellom de to innstillingene.
Note: Motoren kan ikke stoppes med gasskontrollen.
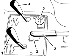
For å heve tilbehøret, trekk løftespaken (Figur 10) tilbake; for å senke tilbehøret skyv spaken fremover. For å gå til FLYTEstilling, beveger du spaken til sperrestillingen. Når ønsket stilling blir nådd, slipp spaken og den går tilbake til nøytral.

Note: Maskinen har en dobbeltvirkende løftesylinder. Du kan påføre nedovertrykk på tilbehøret for visse driftsforhold.
For å aktivere parkeringsbremsen (Figur 10), trekk spaken for parkeringsbremsen bakover. Når du vil koble den fra, skyver du spaken fremover.
Note: Du må kanskje bevege trekkpedalen sakte forover og bakover for å slippe opp parkeringsbremsen.
Timetelleren (Figur 10) viser hvor mange timer motoren har vært i drift. Timemåleren starter når du roterer nøkkelbryteren til På-stilling.
Flytt spaken på venstre side av setet (Figur 11) fremover, skyv setet til ønsket stilling og frigjør spaken slik at setet låses i denne stillingen.

Lukk drivstoffavstengingsventilen (Figur 12) under lagring eller transport av maskinen på tilhenger.

Note: Spesifikasjoner og konstruksjon kan forandres uten varsel.
| Bredde uten tilbehør | 148 cm |
| Bredde med rake, modell 08751 | 191 cm |
| Lengde uten tilbehør | 164 cm |
| Høyde | 115 cm |
| Akselavstand | 109 cm (42-3/4 tommer) |
| Nettovekt Modell 08703 Modell 08705 | 452 kg461 kg |
Et utvalg av Toro-godkjent tilbehør som kan brukes sammen med maskinen for å forbedre og utvide dens funksjoner er tilgjengelig. Kontakt et autorisert forhandlerverksted eller distributør, eller besøk www.Toro.com for å få en liste over alt godkjent tilbehør.
Bruk originale Toro-deler for å beskytte Toro-utstyret og opprettholde dets optimale ytelse. Når det gjelder pålitelighet, leverer Toro reservedeler designet for utstyrets nøyaktige tekniske spesifikasjoner. Insister på Toro-deler for ro i sinnet.
Note: Angi høyre og venstre side av maskinen fra normal bruksposisjon.
Vi ber deg om å se nøye på alle sikkerhetsinstruksjoner og symboler i avsnittet om sikkerhet. Kunnskap om dette kan forhindre personskader.
Hvis du klipper på vått gress eller i bratte skråninger kan det føre til at maskinen sklir og at du mister kontrollen.
Hvis hjulene kjører over en kant kan det føre til velt, som igjen kan resultere i alvorlig skade, dødsfall eller drukning.
Les og følg instruksjonene og advarslene for veltebøylebeskyttelsen.
Hvordan unngå at kjøretøyet sklir samt tap av kontroll:
Ikke bruk gressklipperen i nærheten av kanter eller vann.
Reduser hastigheten og vær svært forsiktig i skråninger.
Ikke start eller skift hastighet plutselig.
Denne maskinen har en lydstyrke som kan føre til hørselsskade hvis du utsettes for denne lydstyrken i lengre perioder.
Bruk hørselsvern når du bruker denne maskinen.
Det anbefales at du bruker beskyttelsesutstyr til øynene, ørene, hendene, føttene og hodet.

| Vedlikeholdsintervall | Vedlikeholdsprosedyre |
|---|---|
| Etter de 20 første timene |
|
| For hver bruk eller daglig |
|
Motoren leveres med olje i veivhuset. Oljenivået må imidlertid kontrolleres før og etter at motoren startes for første gang.
Veivhusets kapasitet er omtrent 1,66 liter med filteret.
Bruk motorolje av høy kvalitet som møter følgende spesifikasjoner:
API-klassifiseringsnivå: SL eller høyere
Anbefalt olje: SAE 30 (over 4 °C)
Sett maskinen på en jevn flate.
Vipp setet fremover.
Trekk ut peilestaven (Figur 14) og tørk den med en ren fille.

Sett peilestaven inn i røret, og pass på at den når helt ned. Fjern peilestaven fra røret og sjekk oljenivået. Hvis oljenivået er lavt, må du ta av tanklokket fra ventildekslet og fylle på nok olje til nivået når opp til Full-merket på peilestaven.
Important: Kontroller at oljenivået holdes mellom øvre og nedre grense på oljemåleren. Motorsvikt kan inntreffe som et resultat av for mye eller for lite motorolje.
Sett peilestaven på plass.
Important: Peilestaven må plasseres helt ned i røret for å forsegle veivhuset. Hvis man ikke forsegler veivhuset kan det føre til skade på motoren.
Vipp setet ned.
Important: Kontroller oljenivået daglig eller etter hver 8. driftstime. Skift oljen etter første 20 driftstimer, og skift deretter olje og filter hver 100. driftstime under normale forhold. Hvis motoren brukes under ekstremt støvete eller skitne forhold, må du imidlertid bytte oljen oftere.
Drivstofftankkapasitet: 25 liter
Anbefalt drivstoff:
For å få best resultat anbefales det å bruke kun ren, fersk (mindre enn 30 dager gammel) og blyfri bensin med oktankvalitet på 87 eller høyere (vurderingsmetode (R+M)/2)).
Etanol: Bensin med opptil 10 % etanol (alkoholbensin) eller 15 % MTBE (metyltertiærbutyleter) i volum er akseptabelt. Etanol og MTBE er ikke det samme. Bensin med 15 % etanol (E15) i volum er ikke godkjent for bruk. Ikke bruk bensin som inneholder mer enn 10 % etanol i volum, som f.eks. E15 (inneholder 15 % etanol), E20 (inneholder 20 % etanol) eller E85 (inneholder opptil 85 % etanol). Bruk av bensin som ikke er godkjent kan forårsake problemer og/eller motorskade som kanskje ikke dekkes av garanti.
Ikke bruk bensin som inneholder metanol.
Ikke oppbevar drivstoff i drivstofftanken eller i drivstoffbeholdere over vinteren, med mindre du bruker drivstoffstabilisator.
Ikke bland olje i bensinen.
Important: Ikke bruk andre tilsetningsstoffer i bensinen enn drivstoffstabilisator/kondisjoneringsmiddel. Ikke bruk alkoholbaserte drivstoffstabilisatorer som for eksempel etanol, metanol eller isopropanol.
Bensin er meget brannfarlig, og under visse forhold svært eksplosivt. Brann eller eksplosjon forårsaket av bensin kan påføre deg og andre brannskader samt ødelegge eiendom.
Fyll opp drivstofftanken utendørs på et åpent område når motoren er nedkjølt. Tørk opp bensinsøl.
Fyll aldri på drivstofftanken inni en lukket tilhenger.
Tanken må ikke fylles helt opp. Fyll bensin på tanken helt til nivået er 6 til 13 mm under bunnen av påfyllingshalsen. Tomrommet i tanken gir bensinen plass til å utvide seg.
Røyk aldri mens du håndterer bensin, og hold deg unna åpen ild eller steder der bensingassen kan antennes av gnister.
Bensin må oppbevares på en godkjent kanne, utenfor barns rekkevidde. Kjøp aldri mer bensin enn til 30 dagers forbruk.
Ikke bruk uten at hele eksossystemet er på plass og i korrekt arbeidstilstand.
Under enkelte forhold ved fylling av drivstoff kan statisk elektrisitet føre til at gnister antenner drivstoffdamp. Brann eller eksplosjon forårsaket av drivstoff kan påføre deg og andre brannskader samt ødelegge eiendom.
Plasser alltid drivstoffbeholderne på bakken i god avstand fra sprederen før du fyller drivstoff.
Ikke fyll opp en drivstoffbeholder inne i et kjøretøy eller på en lastebil eller tilhenger, fordi tepper eller presenninger kan isolere beholderen og hemme utladning av eventuell statisk elektrisitet.
Når dette lar seg gjøre, skal drivstoffdrevet utstyr tas ut av lastebilen eller tilhengeren og fylles med drivstoff mens hjulene står på bakken.
Hvis dette ikke lar seg gjøre, og maskinen må fylles med drivstoff mens den står på en lastebil eller tilhenger, bør du bruke en kanne til å fylle drivstoff i stedet for å fylle direkte fra pumpen.
Hvis det er helt nødvendig å fylle drivstoff direkte fra pumpen, må påfyllingstuten være i kontakt med kanten på drivstofftanken eller kannens åpning helt til du er ferdig med å fylle.
Bensin kan føre til skader eller dødsfall hvis den svelges. Hvis du utsettes for damp fra drivstoff over lengre tid, kan dette føre til alvorlig skade og sykdom.
Unngå innånding av damp fra drivstoff over lengre tid.
Hold ansiktet unna dyse og drivstofftank og åpningen til kondisjoneringsmiddelet.
Hold drivstoffet unna øyne og hud.
Rengjør området rundt drivstofftanklokket (Figur 15).
Fjern drivstofftanklokket.
Fyll på tanken til om lag 25 mm under toppen av tanken (bunnen av påfyllingshalsen). Ikke fyll på for mye.

Sett på lokket.
Tørk opp eventuelt bensinsøl for å unngå brannfare.
Important: Bruk aldri metanol, bensin som inneholder metanol, eller gasohol som inneholder mer enn 10 % etanol, da dette kan skade motorens drivstoffsystem. Bensinen må ikke blandes med olje.
| Vedlikeholdsintervall | Vedlikeholdsprosedyre |
|---|---|
| For hver bruk eller daglig |
|
Beholderen fylles på i fabrikken med rundt 18,9 l hydraulikkvæske av høy kvalitet. Den beste tiden for å sjekke hydraulikkoljen er når væsken er kald. Maskinen må være i transportkonfigurasjon. Hvis oljenivået er under Add-merket på peilestaven, tilfør mer olje til oljenivået er i midten av det godkjente området. Ikke overfyll tanken. Hvis oljenivået er mellom Full- og Add-merkene, trenger du ikke fylle på mer olje. Kontroller nivået på den hydrauliske oljen før du starter maskinen for første gang, og deretter hver dag.
Anbefalte erstatningsvæsker er:
| Toro Premium All Season Hydraulic Fluid (tilgjengelig i beholdere på 19 l eller fat på 208 l – se deledokumentasjon eller ta kontakt med Toro-forhandleren for å finne delenumre) |
Anbefalt hydraulikkvæske: Toro Premium All Season Hydraulic Fluid
Alternative væsker: Hvis Toro-væske ikke er tilgjengelig, kan andre konvensjonelle, petroleumsbaserte væsker benyttes, såfremt de oppfyller alle følgende materialegenskaper og industrispesifikasjoner. Hør med oljeleverandøren din for å få vite om oljen oppfyller disse spesifikasjonene.
Note: Toro er ikke ansvarlig for skader som skyldes uegnede erstatninger. Bruk bare produkter fra anerkjente produsenter som kan stå for sine anbefalinger.
| Hydraulikkvæske med høy viskositetsindeks og lavt flytepunkt, anti-slitasje, ISO VG 46 flergrads | |
| Materielle egenskaper: | |
| Viskositet, ASTM D445 | cSt ved 40 °C (104 °F) 44 til 48cSt ved 100 °C (212 °F) 7,9 til 9,1 |
| Viskositetsindeks ASTM D2270 | 140 eller høyere |
| Flytepunkt, ASTM D97 | -37 til -45 °C |
| FZG, sviktstadium | 11 eller bedre |
| Vanninnhold (ny væske): | 500 ppm (maks.) |
| Bransjespesifikasjoner: | |
| Vickers I-286-S, Vickers M-2950-S, Denison HF-0, Vickers 35 VQ 25 (Eaton ATS373-C) | |
Riktige hydraulikkvæsker må angis for mobile maskiner (i motsetning til bruk på industrianlegg), for forskjellig vekt, med ZnDTP- eller ZDDP-tilsetningsstoffpakke mot slitasje (ikke askeløs væsketype).
Important: Mange hydrauliske oljer er nesten fargeløse, noe som gjør det vanskelig å oppdage lekkasjer. Et rødt fargestoff for den hydrauliske oljen er tilgjengelig i flasker på 20 ml. Én flaske er nok til 15–22 liter med hydraulikkolje. Bestill delenr. 44-2500 fra en autorisert Toro-forhandler.
Syntetisk, biologisk nedbrytbar hydraulikkvæske
(tilgjengelig i beholdere på 19 l eller fat på 208 l – se deledokumentasjon eller ta kontakt med Toro-forhandleren for å finne delenumre)
Denne syntetiske, biologisk nedbrytbare væsken av høy kvalitet har blitt testet og funnet å være kompatibel med denne Toro-modellen. Andre merker med syntetiske væsker kan ha problemer med forseglingskompatibilitet, og Toro kan ikke ta ansvar for uegnede erstatninger.
Note: Denne syntetiske væsken er ikke kompatibel med Toros biologisk nedbrytbare væske som tidligere ble solgt. Ta kontakt med en Toro-forhandler for mer informasjon.
Alternative væsker:
Mobil EAL Envirosyn H 46 (US)
Mobil EAL Hydraulic Oil 46 (internasjonal)
Parker maskinen på en jevn flate, senk tilbehøret og stopp motoren.
Rengjør området rundt lokket på hydraulikkvæsketanken slik at det ikke kommer rusk inn i tanken (Figur 16).

Ta lokket av tanken.
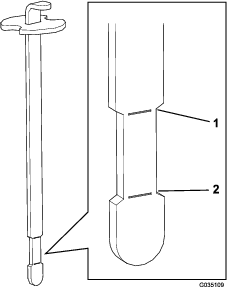
Fjern peilestaven fra påfyllingshalsen, og tørk av den med en ren fille.
Før peilestaven ned i påfyllingshalsen før du tar den ut og kontroller oljenivået.
Note: Oljenivået må være mellom de øvre og nedre merkene (innsnevret område) på peilestaven (Figur 17).

Hvis væskenivået er lavt, fyller du beholderen med egnet hydraulikkvæske til nivået når det innsnevrede området på peilestaven.
Note: Ikke overfyll tanken.
Sett lokket på beholderen.
Important: For å hindre at systemet forurenses, rengjør toppen på hydraulikkvæsketankene før du lager hull. Pass på at påfyllingstuten og trakten er rene.
| Vedlikeholdsintervall | Vedlikeholdsprosedyre |
|---|---|
| For hver bruk eller daglig |
|
Sjekk dekktrykket før du bruker maskinen (Figur 18). Korrekt lufttrykk i for- og bakdekkene er:
Profilerte dekk: 0,7 bar
Note: Hvis det kreves ekstra trekkraft til drift av kniv, bør du redusere trykket til 0,55 bar.
Glatte dekk: 0,55 til 0,7 bar

| Vedlikeholdsintervall | Vedlikeholdsprosedyre |
|---|---|
| Etter de 8 første timene |
|
| Hver 100. driftstime |
|
Stram hakemutrene til 61 til 75 N·m.
Ta foten av trekkpedalen og kontroller at den står i NøYTRAL, og aktiver parkeringsbremsen.
Skyv chokespaken forover til På-posisjon (ved oppstart av kald motor), og sett gasspaken til SAKTE-posisjon.
Important: Varm maskinen opp før bruk ved bruk i temperaturer under 0 °C. Dette forhindrer skade på hydrostaten og trekkløkken.
Sett nøkkelen inn i tenningsbryteren, og vri den med klokken for å starte motoren. Slipp nøkkelen når motoren starter.
Note: Juster choke så motoren kjører jevnt.
Important: Starteren må ikke tilkobles lengre enn 10 sekunder for å unngå overoppheting av startmotoren. Etter 10 sekunder sammenhengende omdreining må du vente 60 sekunder før du aktiverer startmotoren igjen.
For å stoppe motoren, flytt gasskontrollen til stillingen for SAKTE kjøring og vri om tenningsnøkkelen til AV.
Note: Ta nøkkelen ut av tenningen for å unngå at kjøretøyet startes ved et uhell.
Steng drivstoffavstengingskranen før du setter maskinen til oppbevaring.
Inspeksjon av maskinen mens motoren er i gang kan føre til personskade.
Slå av motoren, og vent til alle bevegelige deler har stoppet før du kontrollerer om maskinen har oljelekkasjer, løse deler eller andre feil.
Hvis sikkerhetssperrebryterne blir frakoblet eller skadet, kan maskinen uventet settes i gang og forårsake personskader.
Ikke rør sperrebryterne.
Kontroller sperrebryterne daglig, og bytt ut ødelagte brytere før du bruker maskinen.
Formålet med sperresystemet er å hindre motoren i å kjøre eller starte med mindre trekkpedalen står i NøYTRAL stilling. Motoren skal dessuten stoppe hvis trekkpedalen blir flyttet enten fremover eller bakover uten en operatør i setet.
Sett maskinen på et åpent område uten gjenstander og tilskuere. Stopp motoren.
Sitt i førersetet, og koble inn parkeringsbremsen.
Trykk ned trekkpedalen frem- og bakover mens du prøver å starte motoren.
Note: Hvis motoren ikke starter, kan det være en feil i sperresystemet. Reparer feilen umiddelbart.Hvis motoren starter, fungerer systemet som det skal.
Sitt på setet, med trekkpedalen i NøYTRAL posisjon og parkeringsbremsen på, og start motoren.
Reis deg fra setet, og trykk trekkpedalen sakte ned.
Note: Motoren skal nå stoppe i løpet av ett til tre sekunder. Finn årsaken til problemet hvis systemet ikke fungerer riktig.
I nødstilfeller kan du taue kjøretøyet over korte avstander. Vi anbefaler imidlertid ikke å bruke dette som standardprosedyre.
Important: Ikke tau maskinen raskere enn 1,6 km/t, da drivsystemet kan bli skadet. Hvis maskinen må flyttes mer enn 50 meter, transporter den på en lastebil eller tilhenger. Dekkene kan låse seg hvis maskinen taues for raskt. Hvis dette oppstår, stopp tauingen av maskinen og vent til trekkretsen har stabilisert seg før du gjenopptar tauingen ved langsommere hastighet.
Nye motorer trenger tid til å utvikle full styrke. Drivsystemer har mer friksjon når de er nye og legger ekstra belastning på motoren.
Regn med de første åtte driftstimene i innkjøringsperioden.
Ettersom de første driftstimene er avgjørende for hvor driftssikker maskinen blir i fremtiden, bør du følge nøye med på funksjonene og ytelsen slik at små feil oppdages og rettes opp før de blir store. Undersøk maskinen ofte under innkjøringsfasen for å kontrollere om det finnes oljelekkasje, løse fester eller andre feil.
Se brukerhåndboken for tilbehøret for spesifikke driftsinstruksjoner for tilbehøret.
Øv deg på å kjøre maskinen, den har ulike driftsegenskaper enn noen tjenestekjøretøyer. To ting det er viktig å tenke på under betjening av maskinen, er girhastighet og turtall.
For å holde et noenlunde konstant turtall, trykker du trekkpedalen sakte ned. På denne måten kan motoren holde tritt med kjøretøyets kjørehastighet. Hvis du trykker trekkpedalen for raskt ned, vil du redusere turtallet slik at du ikke har nok momentkraft til å bevege kjøretøyet. For å overføre maksimal kraft til hjulene, bør du derfor sette gassen til HURTIG og trykke trekkpedalen lett ned. Med gassen i HURTIG-posisjonen og trekkpedalen sakte, men helt trykket ned, får du til sammenligning maksimal bakkehastighet uten belastning. Hold alltid turtallet høyt nok til å overføre maksimal momentkraft til hjulene.
Påse at maskinen ikke velter under bruk eller at du mister kontroll over den.
Vær forsiktig når du kjører inn og ut av sandfang/-bunkere.
Utvis ekstra forsiktighet rundt grøfter, bekker eller andre farer.
Vær svært forsiktig når du bruker kjøretøyet i bratte hellinger.
Reduser hastigheten når du tar skarpe svinger eller svinger i en helling.
Unngå å starte og stoppe plutselig.
Ikke gå fra revers til full hastighet fremover uten å stoppe helt i mellomtiden.
Note: Hvis tilbehørsadapteren setter seg fast i adapteren til trekkenheten, føres et brekkjern eller en skrutrekker inn i åpningssporet for å koble delene fra hverandre (Figur 19).

Note: Angi hva som er høyre og venstre side på maskinen ved å sitte i normal arbeidsstilling.
Dersom du lar nøkkelen stå i tenningsbryteren, kan noen starte motoren uten at det er tilsiktet, noe som kan påføre deg eller andre personer alvorlige skader.
Fjern nøkkelen fra tenningen før du begynner med vedlikeholdsarbeid.
| Vedlikeholdsintervall | Vedlikeholdsprosedyre |
|---|---|
| Etter de 8 første timene |
|
| Etter de 20 første timene |
|
| For hver bruk eller daglig |
|
| Hver 25. driftstime |
|
| Hver 100. driftstime |
|
| Hver 200. driftstime |
|
| Hver 400. driftstime |
|
| Hver 800. driftstime |
|
| Hver 1500. driftstime |
|
Important: Hvis du vil ha mer informasjon om vedlikeholdsprosedyrer, ser du i brukerhåndboken for motoren.
Ta kopi av denne siden for rutinemessig bruk.
| Vedlikeholdskontrollpunkt | For uke: | ||||||
|---|---|---|---|---|---|---|---|
| Ma. | Ti. | On. | To. | Fr. | Lø. | Sø. | |
| Kontroller at sikkerhetssperrene virker ordentlig. | |||||||
| Sjekk at styringen virker som den skal. | |||||||
| Kontroller drivstoffnivået. | |||||||
| Kontroller motoroljenivået. | |||||||
| Kontroller luftfilterets tilstand. | |||||||
| Rengjør kjøleribbene på motoren. | |||||||
| Kontroller uvanlige motorlyder. | |||||||
| Kontroller uvanlige driftslyder. | |||||||
| Kontroller nivået på hydraulikkvæsken. | |||||||
| Kontroller om de hydrauliske slangene er skadet. | |||||||
| Kontroller om det har oppstått væskelekkasjer. | |||||||
| Kontroller trykket i dekkene. | |||||||
| Kontroller at instrumentene virker. | |||||||
| Lakker over ødelagt maling. | |||||||
| Bemerkninger om spesielle områder | ||
| Kontroll utført av: | ||
| Punkt | Dato | Informasjon |
Important: Festene på maskinens deksler er utformet for å sitte på dekselet når dekselet er fjernet. Løsne alle festene på hvert deksel noen omdreininger, slik at dekselet sitter løsere, men ikke er helt løst, og gå så tilbake og løsne dem helt slik at dekselet løsner. Dette forhindrer at du fjerner boltene helt fra holderne.
Mekaniske eller hydrauliske jekker klarer kanskje ikke å støtte maskinen og kan forårsake alvorlige personskade.
Bruk jekkstøtter når du støtter maskinen.
Jekkepunktene er som følger:
Maskinen har smørenipler som må smøres regelmessig etter hver 100. driftstime med litiumbasert universalsmørefett nr. 2.
Smør følgende lagre og bøssinger:
Forhjulslager (1) (Figur 22)

Dreieledd for trekkpedal (1) (Figur 23)

Bakre kobling (5) (Figur 24)

Styresylinderstagende (1) (kun modell 08705) (Figur 25)

Akselstyretapper (Figur 26)
Note: Smøreniplene på styringsdreietappen (Figur 26) krever en adapter for munnstykke på smørepistol. Bestill Toro-delenr. 107–1998 fra en autorisert Toro-forhandler.

| Vedlikeholdsintervall | Vedlikeholdsprosedyre |
|---|---|
| Hver 100. driftstime |
|
Tørk av smøreniplene slik at fremmedmateriale ikke kan komme inn i lagrene eller hylsene.
Pump smørefett inn i lageret eller hylsen.
Tørk bort overflødig fett.
| Vedlikeholdsintervall | Vedlikeholdsprosedyre |
|---|---|
| Etter de 20 første timene |
|
| Hver 100. driftstime |
|
Sett maskinen på en jevn flate, og skru av motoren.
Fjern tappepluggen (Figur 27), og la oljen renne ned i et tappefat. Når oljen slutter å renne, setter du tappepluggen på igjen.

Ta av oljefilteret (Figur 27).
Stryk et tynt lag med ren olje på den nye filterpakningen.
Skru på filteret til pakningen kommer i kontakt med filteradapteren. Stram deretter filteret med ytterligere en 1/2 til 3/4 omdreining.
Important: Filteret må ikke trekkes til for hardt.
Tilsett olje til veivhuset. Se Kontrollere motoroljenivået.
Kasser oljen på en forsvarlig måte.
| Vedlikeholdsintervall | Vedlikeholdsprosedyre |
|---|---|
| Hver 200. driftstime |
|
Kontroller om huset til luftrenseren er skadet, da dette kan føre til luftlekkasje. Skift eventuelle ødelagte komponenter. Kontroller hele inntakssystemet for lekkasje, skade eller løse slangeremmer.
Ikke skift luftfilteret før det er nødvendig, da dette bare vil øke faren for at det kommer smuss inn i motoren når filteret er fjernet.
Pass på at dekselet sitter korrekt på og er forseglet rundt huset til luftrenseren.
| Vedlikeholdsintervall | Vedlikeholdsprosedyre |
|---|---|
| Hver 200. driftstime |
|
Utløs låsene som fester luftrenserdekslet til luftrenserhuset (Figur 28).

Fjern dekslet fra luftrenserens kropp.
Før du tar av filteret bruker du luft under lavt trykk (2,76 bar, ren og tørr) for å fjerne store oppsamlinger av smuss mellom utsiden av det primære filteret og boksen.
Important: Unngå bruk av luft under høyt trykk, som kan presse smuss gjennom filteret og inn i inntakstrakten. Denne rengjøringprosessen forhindrer at smuss flyttes til inntaket når hovedfilteret fjernes.
Ta ut og skift ut filteret.
Note: Inspiser det nye filteret for transportskade, kontroller forseglingsenden av filteret og kroppen. Ikke bruk et ødelagt filter. Sett inn det nye filteret ved å påføre trykk på den utvendige kanten av elementet for å sette det på plass i boksen. Ikke trykk på det elastiske midtpunktet til filteret.
Note: Det anbefales ikke at det brukte elementet rengjøres, da det er mulighet for at filtermediet blir skadet.
Rengjør smussutstøtingsporten i det avtakbare dekslet.
Fjern uttaksventilen i gummi fra dekslet, rengjør hulrommet og sett inn igjen uttaksventilen.
Monter dekselet med uttaksventilen i gummi vendt nedover – mellom urviserstillingene kl. 5 til kl. 7 sett fra enden.
Fest låsene.
| Vedlikeholdsintervall | Vedlikeholdsprosedyre |
|---|---|
| Hver 800. driftstime |
|
Type: Champion RC14YC (eller tilsvarende)
Luftgap: 0,76 mm
Note: Tennpluggene varer vanligvis lenge, men du bør fjerne og kontrollere dem hvis motoren svikter.
Rengjør området rundt hver tennplugg slik at fremmedlegemer ikke faller ned i sylinderen når tennpluggen er fjernet.
Trekk tennpluggledningene av tennpluggene, og fjern tennpluggene fra topplokket.
Kontroller tilstanden til elektroden på siden, elektroden i midten og isolatoren for å sikre det ikke er skader.
Important: En tennplugg som er sprukket eller skitten, eller som ikke virker, må skiftes ut. Elektrodene må ikke sandblåses, skrapes eller rengjøres ved bruk av stålbørste fordi partikler kan falle av tennpluggen og inn i sylinderen. Dette resulterer vanligvis i en ødelagt motor.
Angi elektrodeavstand mellom den midtre elektroden og elektrodene på siden til 0,76 mm. Se Figur 29. Monter den riktig innstilte tennpluggen med pakning, og stram pluggen til 23 N·m. Hvis du ikke bruker momentnøkkel, trekker du pluggen godt til.

| Vedlikeholdsintervall | Vedlikeholdsprosedyre |
|---|---|
| Hver 800. driftstime |
|
Det finnes et innebygd filter i drivstoffledningen. Bruk den følgende prosedyren ved utskifting:
Steng drivstoffavstengingsventilen, løsne slangeklemmen på forgassersiden av filteret og fjern drivstoffslangen fra filteret (Figur 30).

Plasser et tappefat under filteret, løsne den gjenværende slangeklemmen og ta ut filteret.
Monter det nye filteret slik at pilen på filteret peker bort fra drivstofftanken (mot forgasseren).
Skyv slangeklemmer på begge endene av drivstoffslangene.
Skyv drivstoffslangene på drivstoffilteret, og fest dem med slangeklemmene.
Note: Kontroller at pilen på siden av filteret peker mot forgasseren.
Batteripoler, klemmer og tilknyttet tilbehør inneholder bly og blyforbindelser, kjemikalier som er kjente i staten California for å føre til kreft og forplantningsskader. Vask hendene etter at du har håndtert et batteri.
Hvis maskinen må kaldstartes, kan du bruke den alternative positive polen (på startsolenoiden) i stedet for den positive batteripolen (Figur 31).

Sikringblokken (Figur 32) er plassert under setet.

| Vedlikeholdsintervall | Vedlikeholdsprosedyre |
|---|---|
| Hver 25. driftstime |
|
Batteriets elektrolyttnivå må være riktig, og toppen av batteriet må holdes ren. Hvis du oppbevarer maskinen på et sted der temperaturen er ekstremt høy, tappes batteriet raskere enn hvis du oppbevarer maskinen på et kjølig sted.
Elektrolytten i batteriet inneholder svovelsyre, en dødelig gift som også kan forårsake alvorlige brannskader.
Du må ikke drikke elektrolytt.
Unngå kontakt med hud, øyne eller klær. Bruk vernebriller for å beskytte øynene og gummihansker for å beskytte hendene.
Fyll batteriet i nærheten av rent vann som kan brukes til å skylle huden.
Hold toppen av batteriet rent ved å vaske det regelmessig med en børste dyppet i ammoniakk eller natron. Skyll overflaten med vann etter rengjøring. Ikke ta av påfyllingslokket mens du rengjør.
For å oppnå god elektrisk kontakt, må batterikablene sitte fast på batteripolene.
Feilaktig ruting av batterikabler kan skade maskinen og kablene og forårsake gnister. Gnistene kan føre til at batterigassene eksploderer, noe som kan forårsake personskade.
Ta alltid av den negative (svarte) batterikabelen før du kobler fra den positive (røde) kabelen.
Koble alltid til den positive (røde) batterikabelen før du setter på den negative (svarte) kabelen.
Hvis det er rust på batteripolene, kobler du fra kablene, den negative (-) kabelen først, og skraper av klemmene og polene hver for seg. Koble kablene til igjen, den positive (+) kabelen først, og smør deretter vaselin på polene.
Kontroller elektrolyttnivået hver 25. driftstime eller, hvis maskinen er på lager, hver 30. dag.
Oppretthold cellenivået med destillert vann eller vann uten mineraler. Ikke fyll cellene over fyllelinjen.
Dersom maskinen beveger seg når trekkpedalen står i nøytral stilling, må trekkammen justeres.
Sett maskinen på en jevn flate, og skru av motoren.
Løsne de to skruene som fester senterdekselet til maskinen og fjern dekselet (Figur 33).

Hev forhjulet og et bakhjul fra bakken, og plasser støtteblokker under rammen.
Forhjulet og et bakhjul må være hevet fra bakken, for å unngå at maskinen beveger seg når den justeres. Dette kan føre til at maskinen faller og skader noen under maskinen.
Pass på at maskinen støttes tilstrekkelig, med forhjulet og ett bakhjul hevet fra bakken.
Løsne låsemutteren på trekkjusteringskammen (Figur 34).

Motoren må være i gang slik at du kan utføre den endelige justeringen av trekkjusteringskammen. Kontakt med bevegelige deler eller varme overflater kan føre til personskade.
Hold hender, føtter og andre kroppsdeler borte fra roterende deler, lyddemperen og andre varme overflater.
Start motoren, og roter den sekskantede kambolten (Figur 34) i begge retninger for å finne midtstillingen på det nøytrale spennet.
Stram låsemutteren for å sikre justeringen.
Stopp motoren.
Monter senterdekselet.
Ta bort jekkstøttene, og senk maskinen ned på verkstedsgulvet.
Prøvekjør maskinen for å kontrollere at den ikke beveger seg når trekkpedalen står i nøytral.
Juster girkassen for frigiret; se Justere trekkdrivet for nøytral.
Bruk pumpespaken til å kontrollere at alle delene virker som de skal, og at de er godt festet.
Juster skruen til elektrodeavstanden er 0,8 til 2,3 mm. Se Figur 34.
Sjekk at det fungerer som det skal.
Trekkpedalen er justert for maksimal transporthastighet og rygging ved fabrikken. Det kan imidlertid være nødvendig med en justering hvis pumpespaken når fullt stempelslag før du har tråkket pedalen helt inn, eller hvis du vil redusere transporthastigheten.
For å oppnå maksimal transporthastighet, trykk ned trekkpedalen. Juster pedalen hvis den kommer i kontakt med sperren (Figur 35) før pumpespaken når fullt stempelslag:

Parker maskinen på en jevn flate, slå av motoren og aktiver parkeringsbremsen.
Løsne mutteren som sikrer pedalstopperen.
Stram pedalstopperen helt til den ikke lenger kommer i kontakt med pedalen.
Fortsett å legge lett trykk på transportpedalen og juster pedalsperren slik at den såvidt kommer i kontakt eller det en avstand på 0,25 mm mellom pedalstangen og sperren.
Trekk til mutterene.
Parker maskinen på en jevn flate, slå av motoren og aktiver parkeringsbremsen.
Løsne mutteren som sikrer pedalstopperen.
Skru pedalstopperen inn til du har oppnådd ønsket transporthastighet.
Stram mutteren som sikrer pedalstopperen.
Juster sperreplaten for løftespaken (Figur 37) hvis tilbehøret ikke flyter som det skal (følger bakkekonturene) under betjening.
Parker maskinen på en jevn flate, slå av motoren, aktiver parkeringsbremsen og blokker hjulene.
Fjern de fire skruene som fester kontrollpanelet til rammen (Figur 36).

Løsne de to boltene som fester sperreplaten til skjermen og rammen.

Motoren må være i gang slik at du kan justere sperreplaten. Kontakt med bevegelige deler eller varme overflater kan føre til personskade.
Hold hender, føtter og andre kroppsdeler borte fra roterende deler, lyddemperen og andre varme overflater.
Start motoren.
Med motoren i gang og løftespaken i svevestillingen, skyv sperreplaten til løftesylinderen kan strekkes ut og trekkes tilbake for hånd.
Stram begge monteringsskruene for å feste justeringen.
Det er viktig at gasskontrollen er riktig justert for at gassen skal fungere som den skal. Kontroller at gasskontrollen fungerer som den skal før du justerer forgasseren.
Vipp setet opp.
Løsne klemskruen som fester gasskabelen til motoren (Figur 38).

Flytt gasskontrollen fremover til hurtig-stillingen.
Dra kraftig i gasskabelen til bakdelen av svivelen kommer i kontakt med stopperen (Figur 38).
Trekk til klemskruen til kabelen og kontroller turtallet:
Høyt tomgangsturtall: 3400 ± 50 o/min
Lavt tomgangsturtall: 1750 ± 100 o/min
Important: Før du justerer turtallsregulatoren, sørg for at gass- og chokekontroller er riktig justert.
Motoren må være i gang mens du justerer motorhastighetsregulatoren. Kontakt med bevegelige deler eller varme overflater kan føre til personskade.
Påse at trekkpedalen er i nøytral og aktiver parkeringsbremsen før du utfører denne prosedyren.
Hold klær, hender, føtter og andre kroppsdeler borte fra roterende deler, lyddemperen og andre varme overflater.
Note: For å justere tomgang på lavt turtall, utfør de følgende trinnene. Hvis du bare skal justere tomgang på høyt turtall, gå direkte til trinn 5.
Start motoren og la den gå med halv gass i omtrent fem minutter for å bli varm.
Flytt gasskontrollen til sakte-innstillingen. Juster anslagsskruen for tomgang mot klokken til den ikke lenger kommer i kontakt med gasspaken.
Bøy ankerspissens blindfjær (Figur 39) for å oppnå en tomgangshastighet på 1725 ± 50 o/min.
Note: Kontroller hastigheten med en turteller.

Juster anslagsskruen for tomgang til tomgangshastigheten er 25 til 50 o/min. mer enn tomgangshastigheten som er angitt i trinn 3.
Note: Den endelige tomgangshastigheten må være 1750 ± 100 o/min.
Sett gasspaken i hurtig-stillingen.
Bøy ankerspissen for høyhastighetsfjæren (Figur 39)for å oppnå en topphastighet på 3400 ± 50 o/min.
| Vedlikeholdsintervall | Vedlikeholdsprosedyre |
|---|---|
| Etter de 8 første timene |
|
| Hver 400. driftstime |
|
Bruk alltid et originalt Toro-filter.
Sett maskinen på en jevn flate, og skru av motoren.
Løsne de to skruene som fester senterdekselet til maskinen og fjern dekselet (Figur 40).

Plasser et tappefat under hydraulikkfilteret på venstre side av maskinen (Figur 41).

Rengjør området rundt der filteret skal festes. Plasser et tappefat under filteret. Løsne det hydrauliske filteret sakte, men ikke fjern det, til oljen flyter forbi pakningen og drypper ned på siden av filteret.
Note: Hvis maskinen er utstyrt med et eksternt hydraulikksett, kan sugeslangen fjernes fra pumpen for å tømme hydraulikkvæsken.
Fjern filteret når væskestrømmen stopper.
Smør pakningen på reservefilteret med hydraulisk olje og drei det for hånd til pakningen kommer i kontakt med filterhodet. Stram deretter filteret med ytterligere en 3/4 omdreining.
Note: Filteret skal nå være forseglet.
Fyll hydraulikktanken med hydraulikkvæske til nivået når det innsnevrede området på peilestaven. Ikke fyll for mye på tanken. Se Kontrollere nivået på hydraulikkvæsken.
Start motoren og la den gå. Driv løftesylinderen til den strekker seg ut til bake og det er frem- og tilbakebevegelse i hjulet.
Stopp motoren og kontroller væskenivået i tanken. Tilsett væske om nødvendig.
Kontroller at det ikke finnes lekkasjer i noen koblinger.
Monter senterdekselet.
Kasser oljen på en forsvarlig måte.
| Vedlikeholdsintervall | Vedlikeholdsprosedyre |
|---|---|
| For hver bruk eller daglig |
|
Undersøk hydrauliske ledninger og slanger daglig for å kontrollere at det ikke er lekkasjer, at det ikke er knekk på dem, at ingen monteringsstøtter er løse, at ingen beslag er løse og at de ikke er slitt på grunn av værforhold eller kjemisk forringelse. Foreta alle nødvendige reparasjoner før bruk.
Hydraulisk væske som kommer ut under trykk, kan trenge gjennom huden og forårsake personskader.
Kontroller at alle hydraulikkslanger og ledninger er i god stand, og at alle hydrauliske koblinger og beslag er tette, før det hydrauliske systemet settes under trykk.
Hold kropp og hender borte fra hull eller dyser som sprøyter ut hydraulisk væske under høyt trykk.
Bruk kartong eller papir til å finne lekkasjer.
Før du utfører vedlikehold eller reparasjoner på det hydrauliske systemet, må du forsiktig slippe ut alt trykket.
Oppsøk legehjelp øyeblikkelig hvis olje sprøytes inn under huden.
Når en hydraulisk komponent blir reparert eller skiftet ut, skal hydraulikkfilteret også skiftes og hydraulikksystemet fylles opp.
Kontroller at hydraulikktanken og -filteret alltid er fylt med væske når hydraulikksystemet fylles.
Sett maskinen på en jevn flate, og skru av motoren.
Løsne de to skruene som fester senterdekselet til maskinen og fjern dekselet (Figur 42).

Hev forhjulet og et bakhjul fra bakken, og plasser støtteblokker under rammen.
Forhjulet og et bakhjul må være hevet fra bakken, for å unngå at maskinen beveger seg når den justeres. Dette kan føre til at maskinen faller og skader noen under maskinen.
Pass på at maskinen støttes tilstrekkelig, med forhjulet og ett bakhjul hevet fra bakken.
Start motoren, og still gassen slik at motoren går med ca. 1800 o/min.
Aktiver løfteventilspaken til løfteventilstangen beveger seg inn og ut flere ganger. Hvis sylinderstangen ikke flytter seg etter 10–15 sekunder eller det kommer unormale lyder fra pumpen, slå av motoren umiddelbart og finn årsaken eller problemet. Kontroller det følgende:
Løst filter eller sugeledning
Løs eller defekt kobling på pumpen
Blokkert sugeledning
Defekt fyllavlastningsventil
Defekt fyllepumpe
Hvis sylinderen beveger seg i løpet av 10–15 sekunder fortsett du til trinn 6.
Betjen trekkpedalen frem- og bakover. Hjulene som er hevet fra bakken skal rotere i riktig retning.
Hvis hjulene roterer i feil retning, stopp motoren, fjern ledningene fra baksiden av pumpen og reverser plasseringene.
Hvis hjulene roterer i riktig retning, stopp motoren og juster låsemutteren for fjærtappen (Figur 43). Juster trekkpedalens nøytrale stilling. Se Justere trekkdrivet for nøytral.

Kontroller justeringen av trekksperrebryteren. Se Justere sperrebryteren for trekkdrivet.
Monter senterdekselet.
| Vedlikeholdsintervall | Vedlikeholdsprosedyre |
|---|---|
| For hver bruk eller daglig |
|
Etter at du har brukt maskinen, vasker du den godt ved hjelp av en hageslange uten munnstykke for at overflødig vanntrykk ikke skal forurense eller skade forseglinger og lagre.
Påse at kjøleribbene og området rundt luftinntaket holdes fritt for rusk.
Important: Hvis du rengjør oljekjøleren med vann, vil dette føre til korrosjon og skader på komponenter, og vil presse sammen rusk. Se Rengjøre oljekjøleren.
Etter vask, inspiser maskinen for mulige hydrauliske lekkasjer, skade eller slitasje på de hydrauliske og mekaniske komponentene.
Rengjør maskinen, tilbehøret og motoren grundig.
Kontroller trykket i dekkene.
Kontroller alle festene. Stram dem om nødvendig.
Smør alle smørenipler og omdreiningspunkter. Tørk opp overflødig smøremiddel.
Bruk litt sandpapir på og mal malte områder som har fått riper eller rust.
Overhal batteriet og kablene:
Ta batteriklemmene av batteripolene.
Rengjør batteriet, klemmene og polene med en stålbørste og en oppløsning av natron.
Smør kabelklemmene og batteripolene med Grafo 112X smørefett (Toro delenummer 505-47) eller vaselin for å hindre korrosjon.
Lad batteriet sakte opp i 24 timer hver 60. dag for å forhindre blysulfatering av batteriet.
Note: Egenvekten til et fulladet batteri er 1,250.
Note: Lagre batteriet på et kjølig sted for å hindre at batteriladningen forringes raskt. Pass på at batteriet er fulladet, for å forhindre at det fryser.
Skift motoroljen og oljefilteret. Se Skifte motorolje og filter.
Start motoren, og la den gå på tomgang i to minutter.
Rengjør og overhal luftrenseren grundig. Se Overhale luftrenseren.
Forsegl inntaket til luftrenseren og eksosåpningen med værbestandig maskeringsteip.
Kontroller at oljelokket og tanklokket er godt skrudd til.