| Wartungsintervall | Wartungsmaßnahmen |
|---|---|
| Nach 20 Betriebsstunden |
|
| Bei jeder Verwendung oder täglich |
|
Diese Maschine ist ein Aufsitznutzfahrzeug und sollte nur von geschulten Lohnarbeitern in gewerblichen Anwendungen eingesetzt werden. Sie ist hauptsächlich für das Konditionieren von Sandbunkern auf gepflegten Golfplätzen und öffentlichen Anlagen gedacht.
Lesen Sie diese Informationen sorgfältig durch, um sich mit dem ordnungsgemäßen Einsatz und der Wartung des Geräts vertraut zu machen und Verletzungen und eine Beschädigung des Geräts zu vermeiden. Sie tragen die Verantwortung für einen ordnungsgemäßen und sicheren Einsatz des Geräts.
Wenden Sie sich für Unterlagen zur Produktsicherheit und der Bedienerschulung, für Zubehörinformationen, für den örtlichen Vertragshändler oder für die Registrierung des Produkts direkt an Toro unter www.Toro.com.
Wenden Sie sich an Ihren Toro-Vertragshändler oder Kundendienst, wenn Sie eine Serviceleistung, Originalersatzteile von Toro oder zusätzliche Informationen benötigen. Halten Sie hierfür die Modell- und Seriennummern Ihres Produkts griffbereit. Diese Nummern sind auf einer Platte eingestanzt, die sich an der linken Rahmenschiene befindet. Tragen Sie hier die Modell- und Seriennummern des Geräts ein.
In dieser Anleitung werden potenzielle Gefahren beschrieben, und Sicherheitshinweise sind mit dem Sicherheitswarnsymbol (Bild 1) gekennzeichnet. Dieses Warnsymbol weist auf eine Gefahr hin, die zu schweren oder tödlichen Verletzungen führen kann, wenn Sie die empfohlenen Sicherheitsvorkehrungen nicht einhalten.

In dieser Anleitung werden zwei Begriffe zur Hervorhebung von Informationen verwendet. Wichtig weist auf spezielle mechanische Informationen hin, und Hinweis hebt allgemeine Informationen hervor, die Ihre besondere Beachtung verdienen.
Dieses Produkt entspricht allen relevanten europäischen Richtlinien. Weitere Angaben finden Sie in der separaten produktspezifischen Konformitätsbescheinigung.
Entsprechend dem California Public Resource Code Section 4442 oder 4443 ist der Einsatz des Motors in bewaldeten oder bewachsenen Gebieten ohne richtig gewarteten und funktionsfähigen Funkenfänger, wie in Section 4442 definiert, oder ohne einen Motor verboten, der nicht für die Brandvermeidung konstruiert, ausgerüstet und gewartet ist.
Die Zündanlage entspricht dem kanadischen Standard ICES-002
Die beiliegende Motoranleitung enthält Angaben zu den Emissionsbestimmungen der US Environmental Protection Agency (EPA) und den Kontrollvorschriften von Kalifornien zu Emissionsanlagen, der Wartung und Garantie. Sie können einen Ersatz beim Motorhersteller anfordern.
KALIFORNIEN
Warnung zu Proposition 65
Die Motorauspuffgase dieses Produkts enthalten Chemikalien wirken laut den Behörden des Staates Kalifornien krebserregend, verursaschen Geburtsschäden oder andere Defekte des Reproduktionssystems.
Für zusätzliche Traktion kann das Ballastkit 100-6442 an der Vorderseite der Maschine angebracht werden.
Note: Wenn die Maschine mit einem Fronthub- oder einem Schneepfluganbaugerät ausgestattet ist, kann das Ballastkit aufgrund physischer Beeinträchtigungen nicht verwendet werden.
Unsachgemäßer Einsatz oder falsche Wartung
der Maschine kann zu Verletzungen führen.
Halten Sie diese
Sicherheitsanweisungen immer ein, um die Gefahr möglicher Verletzungen
zu verringern. Achten Sie immer auf das Warnsymbol, es bedeutet VORSICHT, WARNUNG oder GEFAHR – Sicherheitshinweis“. Wenn der Hinweis nicht beachtet wird, kann es zu Verletzungen und
Todesfällen kommen.
Lesen Sie die Bedienungsanleitung und weiteres Schulungsmaterial gründlich durch. Machen Sie sich mit den Bedienelementen, Sicherheitsschildern und der korrekten Anwendung des Geräts vertraut.
Wenn der Bediener oder Mechaniker nicht die für diese Bedienungsanleitung verwendete Sprache versteht, muss der Besitzer dieses Material erläutern.
Lassen Sie die Maschine nie von Kindern oder Personen bedienen oder warten, die mit diesen Anweisungen nicht vertraut sind. Eventuell ist in örtlichen Vorschriften ein Mindestalter für den Bediener vorgesehen.
Nehmen Sie die Maschine nie in Betrieb, wenn sich Personen, insbesondere Kinder, oder Haustiere in der Nähe aufhalten.
Nehmen Sie nie Passagiere mit.
Alle Fahrer und Mechaniker müssen sich um eine professionelle und praktische Schulung bemühen. Der Besitzer ist für die Schulung der Bediener verantwortlich. Hierbei muss Wert auf Folgendes gelegt werden:
die Bedeutung von Vorsicht und Konzentration bei der Arbeit mit Aufsitzmaschinen;
die Kontrolle über eine Aufsitzmaschine, die an einer Hanglage ins Rutschen kommt, lässt sich nicht durch den Einsatz der Bremse wiedergewinnen. Die Hauptgründe für den Kontrollverlust sind:
Unzureichende Bodenhaftung.
Zu hohe Geschwindigkeit
Unzureichendes Bremsen
Nicht geeigneter Maschinentyp für die Aufgabe
Mangelhafte Beachtung des Bodenzustands, insbesondere an Hanglagen
Falsch angebaute Geräte und falsche Lastverteilung.
Der Besitzer bzw. Bediener ist für Unfälle oder Verletzungen von Dritten sowie Sachschäden verantwortlich und kann diese verhindern.
Tragen Sie geeignete Kleidung, u. a. eine Schutzbrille, rutschfeste Arbeitsschuhe und einen Gehörschutz. Binden Sie lange Haare hinten zusammen. Tragen Sie keinen Schmuck.
Begutachten Sie das Gelände, um das notwendige Zubehör und die Anbaugeräte zu bestimmen, die zur korrekten und sicheren Durchführung der Arbeit erforderlich sind. Verwenden Sie nur vom Hersteller zugelassene Zubehör- und Anbaugeräte.
Prüfen Sie, ob die erforderlichen Sitzkontaktschalter, Sicherheitsschalter und Schutzbleche vorhanden sind und einwandfrei funktionieren. Nehmen Sie die Maschine nur in Betrieb, wenn diese richtig funktionieren.
Passen Sie beim Umgang mit Kraftstoff besonders auf, um Körperverletzungen oder Sachschäden zu vermeiden. Kraftstoff ist schnell entflammbar, und die Dämpfe sind explosiv.
Machen Sie alle Zigaretten, Zigarren, Pfeifen und andere Zündquellen aus.
Verwenden Sie nur einen vorschriftsmäßigen Benzinkanister.
Nehmen Sie den Tankdeckel nie bei laufendem Motor ab und betanken Sie nicht bei laufendem Motor.
Lassen Sie vor dem Betanken den Motor abkühlen.
Betanken Sie die Maschine nie in geschlossenen Räumen.
Lagern Sie die Maschine oder den Benzinkanister nie an Orten mit offener Flamme, Funken oder Zündflamme, z. B. Warmwasserbereiter, oder andere Geräte.
Füllen Sie den Kanister nie im Fahrzeug oder auf einem Pritschenwagen oder Anhänger mit einer Verkleidung aus Kunststoff. Stellen Sie die Benzinkanister vor dem Auffüllen immer vom Fahrzeug entfernt auf den Boden.
Nehmen Sie Geräte vom Pritschenwagen oder Anhänger und tanken Sie sie auf dem Boden auf. Falls dies nicht möglich ist, betanken Sie solche Geräte mit einem tragbaren Kanister anstatt an einer Zapfsäule.
Der Stutzen sollte den Rand des Benzintanks oder die Behälteröffnung beim Auftanken ständig berühren. Verwenden Sie keinen Stutzen ohne automatische Stoppeinrichtung.
Wenn Sie Kraftstoff auf die Kleidung verspritzen, wechseln Sie sofort die Kleidung.
Füllen Sie den Kraftstofftank nie zu voll.
Setzen Sie den Tankdeckel auf und schrauben Sie ihn fest zu.
Lassen Sie den Motor nicht in geschlossenen, unbelüfteten Räumen laufen, da sich dort gefährliches Kohlenmonoxid und andere Auspuffgase ansammeln können.
Setzen Sie die Maschine nur bei Tageslicht oder guter künstlicher Beleuchtung ein.
Kuppeln Sie vor einem Anlassversuch des Motors alle Anbaugeräte aus, schalten auf Neutral und aktivieren Sie die Feststellbremse.
Halten Sie Hände und Füße von sich drehenden Teilen fern.
Der Einsatz der Maschine erfordert Ihre ganze Aufmerksamkeit. So vermeiden Sie Umkippen oder einen Verlust der Kontrolle über das Fahrzeug:
Achten Sie auf Löcher und andere versteckte Gefahren.
Passen Sie besonders auf, wenn Sie die Maschine auf steilen Hängen einsetzen. Verringern Sie die Geschwindigkeit, wenn Sie scharf oder auf Hangseiten wenden.
Vermeiden Sie es, unvermittelt abzubremsen oder loszufahren. Schalten Sie nur bei komplettem Stillstand von Vorwärts auf Rückwärts oder umgekehrt.
Schauen Sie vor dem Rückwärtsfahren hinter sich und stellen Sie sicher, dass sich niemand hinter der Maschine aufhält.
Achten Sie beim Überqueren und in der Nähe von Straßen auf den Verkehr. Geben Sie immer Vorfahrt.
Wenn die optionale Zugstange der Anbauvorrichtung (Bestellnummer 110-1375) an der Maschine montiert ist, finden Sie in der Bedienungsanleitung des Anbaugerätes die maximale Abschlepplast.
Gehen Sie beim Abschleppen schwerer Lasten und dem Einsatz schweren Zubehörs mit Vorsicht um.
Verwenden Sie nur die zulässigen Abschlepppunkte.
Transportieren Sie nur Lasten, die Sie sicher beherrschen können.
Vermeiden Sie scharfes Wenden. Passen Sie beim Rückwärtsfahren auf.
Achten Sie beim Überqueren und in der Nähe von Straßen auf den Verkehr.
Setzen Sie die Maschine nie mit beschädigten Schutzblechen, -schildern und ohne angebrachte Sicherheitsvorrichtungen ein. Stellen Sie sicher, dass alle Sicherheitsschalter montiert, richtig eingestellt und funktionsfähig sind.
Verändern Sie nie die Einstellung des Motorfliehkraftreglers, und überdrehen Sie niemals den Motor. Durch das Überdrehen des Motors steigt die Verletzungsgefahr.
Vor dem Verlassen des Fahrersitzes ist Folgendes zu tun:
Halten Sie auf einer ebenen Fläche an.
Lösen Sie das Fahrpedal und senken Sie die Anbaugeräte ab.
Aktivieren Sie die Feststellbremse.
Stellen Sie den Motor ab und ziehen Sie den Zündschlüssel ab.
Kuppeln Sie den Antrieb der Anbaugeräte aus, wenn die Maschine nicht verwendet oder transportiert wird.
Stellen Sie in den folgenden Situationen den Motor ab und kuppeln Sie den Antrieb der Anbaugeräte aus:
Vor dem Tanken.
Vor Kontroll-, Reinigungs- oder anderen Arbeiten an der Maschine.
Nach dem Kontakt mit einem Fremdkörper oder bei Auftreten von ungewöhnlichen Vibrationen. Untersuchen Sie die Maschine auf Schäden und führen Sie die notwendigen Reparaturen durch, bevor Sie das Gerät erneut starten und betreiben.
Reduzieren Sie vor dem Abstellen des Motors die Einstellung der Gasbedienung und drehen Sie nach dem Abschluss des Einsatzes den Kraftstoffhahn zu, wenn der Motor mit einem Kraftstoffhahn ausgestattet ist.
Schauen Sie hinter sich und nach unten, um vor dem Rückwärtsfahren sicherzustellen, dass der Weg frei ist.
Fahren Sie beim Wenden und beim Überqueren von Straßen und Gehsteigen vorsichtig und langsam.
Setzen Sie die Maschine nicht ein, wenn Sie müde oder krank sind oder unter Alkohol- oder Drogeneinfluss stehen.
Blitzschlag kann zu schweren oder tödlichen Verletzungen führen. Setzen Sie die Maschine nicht ein, wenn Sie Blitze sehen oder Donner hören, und gehen Sie an eine geschützte Stelle.
Gehen Sie beim Laden und Abladen der Maschine auf einen/von einem Anhänger oder Pritschenwagen vorsichtig vor.
Seien Sie vorsichtig, wenn Sie sich nicht gut einsehbaren Biegungen, Sträuchern, Bäumen und anderen Objekten nähern, die Ihre Sicht behindern können.
Halten Sie alle Muttern und Schrauben fest angezogen, damit das Gerät in einem sicheren Betriebszustand bleibt.
Bewahren Sie das Gerät innerhalb eines Gebäudes nie mit Kraftstoff im Tank auf, wenn dort Dämpfe eine offene Flamme oder Funken erreichen könnten.
Lassen Sie den Motor abkühlen, bevor Sie die Maschine in einem geschlossenen Raum abstellen.
Halten Sie, um die Brandgefahr zu verringern, den Motor, Auspuff, das Batteriefach und den Kraftstofftankbereich von Gras, Laub und überflüssigem Fett frei.
Alle Teile müssen in gutem Zustand gehalten werden, und alle Teile und hydraulischen Verbindungen müssen festgezogen sein. Ersetzen Sie abgenutzte und beschädigte Teile und Schilder.
Das Ablassen von Kraftstoff aus dem Tank muss im Freien erfolgen.
Passen Sie beim Einstellen der Maschine besonders auf, um ein Einklemmen der Finger zwischen den beweglichen und starren Teilen der Maschine zu vermeiden.
Kuppeln Sie die Antriebe aus, senken das Anbaugerät ab, aktivieren die Feststellbremse, stellen den Motor ab und ziehen den Zündschlüssel. Lassen Sie vor dem Einstellen, Reinigen und Reparieren alle beweglichen Teile zum Stillstand kommen.
Stützen Sie die Maschine bei Bedarf auf Stützböcken ab.
Lassen Sie den Druck aus Maschinenteilen mit gespeicherter Energie vorsichtig ab.
Klemmen Sie die Batterie ab und ziehen Sie den Zündkerzenstecker ab, bevor Sie Reparaturen durchführen. Klemmen Sie immer zuerst die Minusklemme und dann die Plusklemme ab. Schließen Sie immer zuerst das Pluskabel und dann das Minuskabel wieder an.
Berühren Sie keine beweglichen Teile mit den Händen und Füßen. Bei laufendem Motor sollten keine Einstellungen vorgenommen werden.
Laden Sie die Batterie in offenen, gut belüfteten Bereichen und nicht in der Nähe von Funken und offenem Feuer auf. Ziehen Sie das Ladegerät aus der Steckdose, bevor Sie es an die Batterie anschließen oder abklemmen. Tragen Sie Schutzkleidung und verwenden Sie isoliertes Werkzeug.
Stellen Sie sicher, dass alle hydraulischen Anschlüsse fest angezogen sind, und dass sich alle hydraulischen Schläuche und Leitungen in einwandfreiem Zustand befinden, bevor Sie die Anlage unter Druck stellen.
Halten Sie Ihren Körper und Ihre Hände von Nadellöchern und Düsen fern, aus denen Hydrauliköl unter hohem Druck ausgestoßen wird. Verwenden Sie zum Ausfindigmachen von undichten Stellen Pappe oder Papier und niemals Ihre Hände. Unter Druck austretendes Hydrauliköl kann unter die Haut dringen und schwere Verletzungen verursachen. Suchen Sie beim Einspritzen unter die Haut sofort einen Arzt auf.
Lassen Sie vor dem Abtrennen hydraulischer Anschlüsse oder dem Durchführen von Arbeiten an der Hydraulikanlage immer sämtlichen Druck aus dem System ab, indem Sie den Motor abstellen und die Anbaugeräte auf den Boden absenken.
Prüfen Sie regelmäßig den festen Sitz und den Verschleiß aller Kraftstoffleitungen. Ziehen Sie die Leitungen an oder reparieren Sie sie ggf.
Halten Sie, wenn der Motor zum Durchführen von Wartungseinstellungen laufen muss, Ihre Hände, Füße und Kleidungsstücke sowie alle Körperteile fern von den Anbaugeräten und allen beweglichen Teilen, besonders dem Drehgitter an der Motorenseite. Halten Sie alle anderen Personen von der Maschine fern.
Lassen Sie, um die Sicherheit und Genauigkeit zu gewährleisten, die maximale Motordrehzahl mit einem Drehzahlmesser von Ihrem Toro-Vertragshändler prüfen.
Wenden Sie sich an Ihren Toro-Vertragshändler, falls größere Reparaturen erforderlich werden oder Sie praktische Unterstützung benötigen.
Verwenden Sie, um die optimale Leistung und Sicherheit zu gewährleisten, nur Originalersatzteile und -zubehörteile von Toro. Ersatzteile und Zubehör anderer Hersteller können gefährlich sein und eine Verwendung könnte die Garantie ungültig machen.
Gehen Sie beim Laden und Abladen der Maschine auf einen/von einem Anhänger oder Pritschenwagen vorsichtig vor.
Laden Sie die Maschine nur mit über die gesamte Breite gehenden Rampen auf Anhänger oder Pritschenwagen.
Vergurten Sie die Maschine sicher mit Riemen, Ketten, Kabeln oder Seilen. Die vorderen und hinteren Gurte sollten nach unten und fort von der Maschine verlaufen
Dieses Gerät erzeugt einen Schalldruckpegel von 97 dBA (inkl. eines Unsicherheitswerts (K) von 1 dBA).
Der Schalldruckpegel wurde gemäß den Vorgaben in ISO 11094 gemessen.
Dieses Gerät erzeugt einen Schalldruckpegel, der am Ohr des Benutzers 83 dBA beträgt (inkl. eines Unsicherheitswerts (K) von 1 dBA.
Der Schalldruckpegel wurde gemäß den Vorgaben in EN ISO 11201 gemessen.
Tragen Sie einen Gehörschutz.
Hand/Arm
Das gemessene Vibrationsniveau für die rechte Hand beträgt 0.27 m/s2
Das gemessene Vibrationsniveau für die linke Hand beträgt 0.29 m/s2
Der Unsicherheitswert (K) beträgt 0,5 m/s2
Die Werte wurden nach den Vorgaben von EN 1032 gemessen.
Gesamtkörper
Gemessenes Vibrationsniveau = 0,5 m/s2
Der Unsicherheitswert (K) beträgt 0,5 m/s2
Die Werte wurden nach den Vorgaben von EN 1032 gemessen.
![]() |
Die Sicherheits- und Bedienungsaufkleber sind für den Bediener und befinden sich in der Nähe der möglichen Gefahrenbereiche. Tauschen Sie beschädigte oder verloren gegangene Aufkleber aus oder ersetzen Sie sie. |







Note: Bestimmen Sie die linke und rechte Seite der Maschine anhand der normalen Sitz- und Bedienposition.
Note: Nehmen Sie alle Versandhalterungen und -befestigungen ab und werfen Sie diese weg.
Für diesen Arbeitsschritt erforderliche Teile:
| Lenkrad | 1 |
| Schaumkragen | 1 |
| Scheibe | 1 |
| Sicherungsmutter | 1 |
| Abdeckung für Lenkrad | 1 |
Drehen Sie das Vorderrad, sodass es geradeaus zeigt.
Schieben Sie den Schaumkragen auf die Lenkwelle (Bild 2).

Schieben Sie das Lenkrad auf die Lenkwelle (Bild 2).
Befestigen Sie das Lenkrad mit einer Scheibe und Sicherungsmutter an der Lenkwelle (Bild 2).
Ziehen Sie die Sicherungsmutter bis auf 27-35 N·m an.
Drücken Sie die Abdeckung für das Lenkrad in der richtigen Position auf das Lenkrad (Bild 2).
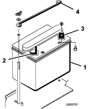
Nehmen Sie die zwei Flügelmuttern und die Scheiben ab, mit denen die obere Batteriebefestigungsplatte an den seitlichen Batteriebefestigungsplatten befestigt ist (Bild 3). Nehmen Sie die obere Batteriebefestigungsplatte ab. Nehmen Sie dann die Batterie heraus.

Für diesen Arbeitsschritt erforderliche Teile:
| Massenelektrolyt, 1,260 spezifisches Gewicht (nicht enthalten) | – |
Batteriepole, Klemmen und anderes Zubehör enthalten Blei und Bleibestandteile. Dabei handelt es sich um Chemikalien, die laut der Regierung von Kalifornien krebserregend sind und zu Erbschäden führen können. Waschen Sie nach dem Umgang mit Batterien Ihre Hände.
Beschaffen Sie Batteriesäure mit einem spezifischen Gewicht von 1,260 von Ihrem lokalen Batteriehändler und befüllen die Batterie damit, wenn die Batterie keine Säure enthält oder nicht aktiviert ist.
Die Batterieflüssigkeit enthält Schwefelsäure, die ein tödliches Gift ist und starke chemische Verbrennungen verursachen kann.
Trinken Sie nie Batteriesäure und vermeiden Sie den Kontakt mit Haut, Augen und Kleidungsstücken. Tragen Sie eine Schutzbrille, um Ihre Augen zu schützen sowie Gummihandschuhe, um Ihre Hände zu schützen.
Befüllen Sie die Batterie an einem Ort, an dem immer reines Wasser zum Spülen der Haut verfügbar ist.
Entfernen Sie die Zellenfülldeckel von der Batterie und füllen jede Zelle langsam, bis die Batteriesäure die Fülllinie erreicht.
Setzen Sie die Fülldeckel wieder auf die Zellen auf und schließen ein 3- bis 4-A-Batterieladegerät an die Batteriepole an. Laden Sie die Batterie mit drei bis vier Ampere für vier bis acht Stunden auf.
Beim Laden der Batterie werden Gase erzeugt, die explodieren können.
Rauchen Sie nie in der Nähe der Batterie und halten Sie Funken und offenes Feuer von der Batterie fern.
Ziehen Sie, wenn die Batterie voll geladen ist, den Netzstecker des Ladegeräts und klemmen dieses von den Batteriepolen ab. Lassen Sie die Batterie für 5 bis 10 Minuten ruhen.
Entfernen Sie die Fülldeckel.
Füllen Sie langsam Batteriesäure bis zum Füllring in alle Zellen nach.
Important: Füllen Sie die Batterie nicht zu voll. Sonst strömt Batteriesäure auf andere Fahrzeugteile aus, was zu schwerer Korrosion und Beschädigung führt.
Bringen Sie die Fülldeckel wieder an.
Für diesen Arbeitsschritt erforderliche Teile:
| Schraube (¼" x ⅝") | 2 |
| Sicherungsmutter (¼") | 2 |
Setzen Sie die Batterie ein. Die Minusklemme befindet sich hinten an der Maschine (Bild 4).

Das unsachgemäße Verlegen der Batteriekabel kann zu Schäden an der Maschine führen, und die Kabel können Funken erzeugen. Funken können zum Explodieren der Batteriegase führen, was Verletzungen zur Folge haben kann.
Trennen Sie immer das Minuskabel (Schwarz) ab, bevor Sie das Pluskabel (Rot) abtrennen.
Schließen Sie immer das Pluskabel (Rot) an, bevor Sie das Minuskabel (Schwarz) anschließen.
Batteriepole und Metallwerkzeuge können an metallischen Teilen Kurzschlüsse verursachen, was Funken erzeugen kann. Funken können zum Explodieren der Batteriegase führen, was Verletzungen zur Folge haben kann.
Vermeiden Sie, wenn Sie eine Batterie ein- oder ausbauen, dass die Batteriepole mit metallischen Maschinenteilen in Berührung kommen.
Vermeiden Sie Kurzschlüsse zwischen metallischen Werkzeugen, den Batteriepolen und metallischen Maschinenteilen.
Befestigen Sie das Pluskabel (rot) mit einer Schraube (¼" x ⅝") und einer Sicherungsmutter am Pluspol (+) (Bild 5).

Befestigen Sie den kleinen schwarzen Draht und das Minuskabel (schwarz) mit einer Schraube (¼" x ⅝") und einer Sicherungsmutter (¼") an der Minusklemme (-) der Batterie (Bild 5).
Schmieren Sie die Klemmen und Befestigungshalterungen mit Vaseline ein, um einer Korrosion vorzubeugen.
Ziehen Sie den Gummischuh über die Plusklemme (+), um Kurzschlüssen vorzubeugen.
Befestigen Sie die obere Batteriebefestigungsplatte mit den Scheiben und Flügelmuttern an den seitlichen Befestigungsplatten.
Für diesen Arbeitsschritt erforderliche Teile:
| Frontballast | – |
Diese Maschine erfüllt ANSI B71.4-2012. Wenn Anbaugeräte jedoch an der Maschine montiert sind, wird zusätzlicher Ballast benötigt, um diese Standards zu erfüllen.
Beziehen Sie sich beim Bestimmen der erforderlichen zusätzlichen Ballastkombination auf die nachstehende Liste. Bestellen Sie Ersatzteile und Zubehör bei Ihrem lokalen Toro-Vertragshändler.
| Anbaugerät | Zusätzlicher Frontballast erforderlich | Ballast, Bestellnummer | Ballastbezeichnung | Menge |
|---|---|---|---|---|
| Lüfter (08755) | 23 kg | 100-6442 | 8 x 3 kg Plattenballast | 1 |
| Rahn Groomer | 23 kg | 100-6442 | 8 x 3 kg Plattenballast | 1 |
| QAS-Werkzeugträger | 23 kg | 100-6442 | 8 x 3 kg Plattenballast | 1 |
Note: Zusätzlicher Ballast ist nicht erforderlich, wenn die Maschine mit dem vorderen Hydraulikhub, Modell 08712, ausgerüstet ist.

Das Fahrpedal (Bild 7) erfüllt drei Funktionen: Die Vorwärts- und die Rückwärtsbewegung und das Stoppen der Maschine. Drücken Sie den oberen Teil des Pedals mit den Zehen des rechten Fußes durch, um nach vorne zu fahren, und drücken Sie mit der Ferse auf den unteren Teil, um rückwärts zu fahren oder das Anhalten beim Vorwärtsfahren zu verkürzen (Bild 8). Lassen Sie das Pedal in die NEUTRAL-Stellung zurückgehen oder stellen Sie es auf Neutral, um die Maschine anzuhalten. Legen Sie aus Komfortgründen die Ferse des Fußes nicht auf dem Rückwärtspedal ab, wenn Sie vorwärts fahren.


Die Fahrgeschwindigkeit hängt davon ab, wie weit Sie das Fahrpedal durchtreten. Treten Sie für die maximale Fahrgeschwindigkeit das Pedal ganz durch, während die Gasbedienung in der Schnell-Stellung ist. Zum Erreichen der Maximalleistung oder beim Überwinden einer Steigung müssen Sie den Gasbedienungshebel in die Schnell-Stellung stellen und das Fahrpedal leicht durchtreten, damit die Motordrehzahl hoch bleibt. Reduzieren Sie den Druck auf das Fahrpedal geringfügig, wenn die Motordrehzahl zu sinken beginnt, damit die Motordrehzahl wieder steigen kann.
Important: Für maximale Zugkraft sollte die Gasbedienung in der Schnell-Stellung und das Fahrpedal fast nicht durchgetreten sein.
Setzen Sie die maximale Fahrgeschwindigkeit nur ein, wenn Sie von einem Bereich zu einem anderen fahren.
Die Höchstgeschwindigkeit wird nicht mit Zubehör oder Anbaugeräten empfohlen.
Important: Fahren Sie nicht rückwärts, wenn ein Anbaugerät abgesenkt (d. h. in der Einsatzstellung) ist, sonst kann das Anbaugerät beschädigt werden.
Die Zündung (Bild 9), mit der der Motor angelassen und abgestellt wird, hat drei Stellungen: Aus, Lauf und Start. Drehen Sie den Zündschlüssel nach rechts auf die Start-Stellung, um den Anlasser zu aktivieren. Lassen Sie den Schlüssel los, wenn der Motor anspringt. Der Schlüssel geht von selbst auf die On-Stellung zurück. Drehen Sie zum Abstellen des Motors den Schlüssel nach links auf die Off-Stellung.

Schieben Sie zum Anlassen eines kalten Motors den Chokehebel (Bild 9) bis auf die Stellung Geschlossen“, wodurch sich der Vergaserchoke schließt. Stellen Sie nach dem Anlassen des Motors den Choke so ein, dass der Motor ruhig läuft. Öffnen Sie den Choke, d. h. schieben Sie ihn nach unten in die geöffnete Stellung, so bald wie möglich, Ein bereits warmer Motor erfordert keine oder fast keine Starthilfe.
Der Gasbedienungshebel (Bild 9) ist mit dem Gaszug zum Vergaser verbunden und aktiviert diesen. Dieser Hebel hat zwei Stellungen: Schnell und Langsam. Die Motorgeschwindigkeit kann zwischen den zwei Einstellungen variiert werden.
Note: Sie können den Motor nicht mit dem Gasbedienungshebel abstellen.
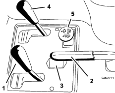
Ziehen Sie den Hubhebel (Bild 10) zurück, um das Anbaugerät anzuheben. Schieben Sie den Hebel nach vorne, um das Anbaugerät abzusenken. Für die SCHWEBE-Stellung muss der Hebel in der Detent-Stellung sein. Lassen Sie den Hebel los, wenn Sie die gewünschte Stellung erreicht haben. Der Hebel geht auf Neutral zurück.

Note: Die Maschine hat einen Hubzylinder mit Doppelfunktion. Sie können für bestimmte Einsatzbedingungen einen Niederhaltedruck auf das Anbaugerät ausüben.
Ziehen Sie zum Aktivieren der Feststellbremse (Bild 10) den Feststellbremshebel zurück. Schieben Sie zum Auskuppeln den Hebel nach vorne.
Note: Sie können das Fahrpedal langsam nach vorne und hinten drehen, um die Feststellbremse zu lösen.
Der Betriebsstundenzähler (Bild 10) zeigt die Stunden an, die der Motor gelaufen hat. Der Betriebsstundenzähler wird aktiviert, wenn das Zündschloss in die EIN-Stellung gedreht wird oder der Motor läuft.
Bewegen Sie den Hebel links am Sitz (Bild 11) nach vorne, schieben den Sitz in die gewünschte Stellung und lassen den Hebel zum Arretieren des Sitzes in dieser Position wieder los.

Schließen Sie vor der Einlagerung der Maschine oder vor dem Transport der Maschine auf einem Anhänger den Kraftstoffhahn (Bild 12).

Note: Technische und konstruktive Änderungen vorbehalten.
| Breite ohne Anbaugerät | 148 cm |
| Breite mit Rechen, Modell 08751 | 191 cm |
| Länge ohne Anbaugerät | 164 cm |
| Höhe | 115 cm |
| Radstand | 109 cm |
| Nettogewicht Modell 08703 Modell 08705 | 452 kg461 kg |
Ein Sortiment an Originalanbaugeräten und -zubehör von Toro wird für diese Maschine angeboten, um den Funktionsumfang des Geräts zu erhöhen und zu erweitern. Wenden Sie sich an einen offiziellen Vertragshändler oder navigieren Sie zu www.Toro.com für eine Liste der zugelassenen Anbaugeräte und des Zubehörs.
Sie sollten immer Originalersatzteile von Toro verwenden, um Ihre Investition zu schützen und die optimale Leistung zu erhalten. In puncto Zuverlässigkeit liefert Toro Ersatzteile, die genau gemäß den technischen Spezifikationen unserer Geräte entwickelt wurden. Bestehen Sie für sorglosen Einsatz auf Originalersatzteile von Toro.
Note: Bestimmen Sie die linke und rechte Seite der Maschine anhand der normalen Sitz- und Bedienposition.
Lesen Sie alle Sicherheitsanweisungen und Symbolerklärungen im Sicherheitsabschnitt gründlich durch. Kenntnis dieser Angaben kann Ihnen und Unbeteiligten dabei helfen, Verletzungen zu vermeiden.
Ein Einsatz auf nassem Gras oder auf steilen Hanglagen kann zu einem Rutschen und zu einem Verlust der Fahrzeugkontrolle führen.
Räder, die über Kanten abrutschen, können zum Überschlagen des Fahrzeugs und zu schweren oder tödlichen Verletzungen oder Ertrinken führen.
Lesen Sie die Sicherheitsanweisungen und -warnungen zum Überschlagen und halten Sie diese ein.
So vermeiden Sie einen Verlust der Fahrzeugkontrolle und ein mögliches Überschlagen:
Mähen Sie nicht in der Nähe von Abhängen oder Gewässern.
Verringern Sie auf Hängen die Geschwindigkeit und passen Sie besonders auf.
Vermeiden Sie abruptes Wenden oder ein schnelles Ändern der Geschwindigkeit.
Der Geräuschpegel dieser Maschine kann bei einem längeren Einsatz Gehörschäden verursachen.
Tragen Sie während des Einsetzen der Maschine einen Gehörschutz.
Wir empfehlen Ihnen das Tragen einer Schutzbrille, eines Gehörschutzes, von Handschuhen, Arbeitsschuhen und eines Schutzhelmes.

| Wartungsintervall | Wartungsmaßnahmen |
|---|---|
| Nach 20 Betriebsstunden |
|
| Bei jeder Verwendung oder täglich |
|
Der Motor wird vom Werk mit Öl im Kurbelgehäuse ausgeliefert. Überprüfen Sie jedoch den Ölstand, bevor Sie den Motor zum ersten Mal anlassen und dann danach.
Das Kurbelgehäuse fasst ungefähr 1,66 l mit Filter.
Verwenden Sie qualitativ hochwertiges Öl, dass die folgenden Spezifikationen erfüllt:
API-Klassifizierung: SL oder höher.
Bevorzugte Ölsorte: SAE 30 (über 4 Grad Celsius)
Stellen Sie die Maschine auf eine ebene Fläche.
Drehen Sie den Sitz vorwärts.
Ziehen Sie den Peilstab heraus (Bild 14) und wischen Sie ihn mit einem sauberen Lappen ab.

Stecken Sie den Peilstab in das Rohr und stellen Sie sicher, dass er vollständig eingeführt ist. Entfernen Sie den Peilstab und prüfen den Ölstand. Nehmen Sie bei einem niedrigen Ölstand den Fülldeckel von der Ventilabdeckung ab und gießen Sie genug Öl in die Öffnung, bis der Ölstand die Vollmarke am Peilstab erreicht.
Important: Achten Sie darauf, dass der Motorölstand zwischen den unteren und oberen Markierungen an der Ölmessanzeige liegt. Wenn Sie zu viel oder zu wenig Öl einfüllen, kann der Motor beschädigt werden.
Stecken Sie den Peilstab wieder fest ein.
Important: Der Ölpeilstab muss ganz in das Rohr eingesteckt werden, um das Motorkurbelgehäuse richtig abzudichten. Wenn das Kurbelgehäuse nicht abgedichtet ist, kann der Motor beschädigt werden.
Drehen Sie den Sitz nach unten.
Important: Prüfen Sie den Ölstand täglich oder alle 8 Stunden. Wechseln Sie das Öl anfänglich nach den ersten 20 Betriebsstunden. Danach ist ein Ölwechsel und ein Auswechseln des Filters nach jeweils 100 Betriebsstunden erforderlich. Wechseln Sie das Öl jedoch häufiger, wenn der Motor unter sehr staubigen oder schmutzigen Bedingungen eingesetzt wird.
Fassungsvermögen des Kraftstofftanks: 25 Liter
Empfohlener Kraftstoff:
Die besten Ergebnisse erhalten Sie, wenn Sie sauberes, frisches (höchstens 30 Tage alt), bleifreies Benzin mit einer Mindestoktanzahl von 87 (R+M)/2 verwenden.
Ethanol: Kraftstoff, der mit 10 % Ethanol oder 15 % MTBE (Methyl-tertiär-Butylether) per Volumenanteil angereichert ist, ist auch geeignet. Ethanol und MTBE sind nicht dasselbe. Benzin mit 15 % Ethanol (E15) per Volumenanteil kann nicht verwendet werden. Verwenden Sie nie Benzin, das mehr als 10 % Ethanol (Volumenanteil) enthält, z. B. E15 (enthält 15 % Ethanol), E20 (enthält 20 % Ethanol) oder E85 (enthält 85 % Ethanol). Die Verwendung von nicht zugelassenem Benzin kann zu Leistungsproblemen und/oder Motorschäden führen, die ggf. nicht von der Garantie abgedeckt sind.
Verwenden Sie kein Benzin mit Methanol.
Lagern Sie keinen Kraftstoff im Kraftstofftank oder in Kraftstoffbehältern über den Winter, wenn Sie keinen Kraftstoffstabilisator verwenden.
Vermischen Sie nie Benzin mit Öl.
Important: Verwenden Sie, abgesehen von Kraftstoffstabilisator, keine weiteren Kraftstoffzusätze. Verwenden Sie keine Kraftstoffstabilisatoren auf Alkoholbasis wie Ethanol, Methanol oder Isopropanol.
Benzin ist unter bestimmten Bedingungen extrem leicht entflammbar und hochexplosiv. Feuer und Explosionen durch Benzin können Verbrennungen und Sachschäden verursachen.
Befüllen Sie den Kraftstofftank im Freien auf, wenn der Motor kalt ist. Wischen Sie verschüttetes Benzin auf.
Befüllen Sie den Kraftstofftank nie in einem geschlossenen Anhänger.
Befüllen Sie den Kraftstofftank nicht ganz auf. Befüllen Sie den Kraftstofftank mit Benzin, bis der Stand 6-13 mm unter der Unterkante des Einfüllstutzens liegt. In diesem freien Platz im Tank kann sich Benzin ausdehnen.
Rauchen Sie nie beim Umgang mit Benzin und halten dieses von offenen Flammen und Bereichen fern, in denen Benzindämpfe durch Funken entzündet werden könnten.
Bewahren Sie Benzin in vorschriftsmäßigen Kanistern auf. Die Kanister sollten nicht für Kinder zugänglich sein. Kaufen Sie nie mehr als einen Monatsvorrat an Kraftstoff.
Setzen Sie das Gerät nicht ohne vollständig montiertes und betriebsbereites Auspuffsystem ein.
Unter gewissen Bedingungen kann beim Auftanken statische Elektrizität zu einer Funkenbildung führen, durch die Kraftstoffdämpfe entzündet werden. Feuer und Explosionen durch Kraftstoff können Verbrennungen und Sachschäden verursachen.
Stellen Sie Benzinkanister vor dem Auffüllen immer vom Fahrzeug entfernt auf den Boden.
Füllen Sie Benzinkanister nicht in einem Fahrzeug oder auf einer Ladefläche auf, da Teppiche im Fahrzeug oder Kraftstoffverkleidungen auf Ladeflächen den Kanister isolieren und den Abbau von statischen Ladungen verlangsamen können.
Nehmen Sie, soweit durchführbar, Geräte mit Benzinmotor vom Pritschenwagen bzw. vom Anhänger und stellen Sie sie zum Auffüllen mit den Rädern auf den Boden.
Falls dies nicht möglich ist, betanken Sie die betreffenden Geräte auf einem Pritschenwagen bzw. Anhänger mit einem tragbaren Kanister und nicht von einer Zapfsäule aus.
Wenn Sie von einer Zapfsäule aus tanken müssen, sollte der Einfüllstutzen immer den des Kraftstofftanks bzw. der Kanisteröffnung berühren, bis der Tankvorgang abgeschlossen ist.
Benzin wirkt bei Einnahme schädlich oder sogar tödlich. Wenn eine Person langfristig Benzindünsten ausgesetzt ist, kann dies zu schweren Verletzungen und Krankheiten führen.
Vermeiden Sie das langfristige Einatmen von Benzindünsten.
Halten Sie Ihr Gesicht vom Einfüllstutzen und dem Benzintank oder der Beimischöffnungen fern.
Halten Sie Benzin von Augen und der Haut fern.
Reinigen Sie den Bereich um den Tankdeckel (Bild 15).
Entfernen Sie den Tankdeckel.
Füllen Sie den Tank bis ungefähr 25 mm unter der Tankoberseite (der Unterseite des Füllstutzens). Füllen Sie nicht zu viel ein.

Schrauben Sie den Deckel wieder auf.
Wischen Sie verschütteten Kraftstoff immer auf, um einer Brandgefahr vorzubeugen.
Important: Verwenden Sie nie Methanol, methanolhaltiges Benzin oder Gasohol mit mehr als 10 % Ethanol, weil die Kraftstoffanlage dadurch beschädigt werden kann. Vermischen Sie nie Benzin mit Öl.
| Wartungsintervall | Wartungsmaßnahmen |
|---|---|
| Bei jeder Verwendung oder täglich |
|
Der Ölbehälter wird im Werk mit ca. 18.9 l Qualitätshydrauliköl gefüllt. Prüfen Sie den Stand des Hydrauliköls, wenn das Öl kalt ist. Die Maschine sollte in der Transportkonfiguration sein. Wenn der Ölstand unter der Nachfüll-Markierung am Peilstab liegt, gießen Sie Öl nach, bis der Ölstand in der Mitte des akzeptablen Stands liegt. Füllen Sie die Behälter nicht zu voll. Wenn der Ölstand zwischen der Voll- und Nachfüllen-Markierung liegt, muss kein Öl nachgefüllt werden. Prüfen Sie den Stand des Hydrauliköls vor dem ersten Anlassen des Motors und dann täglich.
Verwenden Sie die folgenden Flüssigkeiten zum Auffüllen:
| Toro Premium All Season-Hydrauliköl: (erhältlich in Behältern mit 19 Litern oder Fässern mit 208 Litern. Die Bestellnummern finden Sie in der Ersatzteildokumentation oder wenden Sie sich an den Toro Vertragshändler) |
Empfohlene Hydraulikölsorte: Toro Premium Ganzjahres Hydrauliköl
Ersatzölsorten: Wenn das Öl von Toro nicht erhältlich ist, können Sie andere konventionelle Ölsorten auf Petroleumbasis verwenden, solange die folgenden Materialeigenschaften und Industriestandards erfüllt werden. Wenden Sie sich an den Öllieferanten, um zu erfahren, ob das Öl diese technischen Angaben erfüllt.
Note: Toro haftet nicht für Schäden, die aus einer unsachgemäßen Substitution entstehen. Verwenden Sie also nur Erzeugnisse namhafter Hersteller, die für die Qualität ihrer Produkte garantieren.
| Hydrauliköl (hoher Viskositätsindex, niedriger Stockpunkt, abnutzungshemmend, ISO VG 46, mehrgradig | |
| Materialeigenschaften: | |
| Viskosität, ASTM D445 | cSt @ 40 °C 44 bis 48cSt @ 100°C 7,9 bis 9,1 |
| Viskositätsindex ASTM D2270 | 140 oder höher |
| Stockpunkt, ASTM D97 | -34 °C bis -45 °C |
| FZG, Defektphase | 11 oder höher |
| Wasseranteil (neue Flüssigkeit): | 500 ppm (Maximum) |
| Branchenspezifikationen: | |
| Vickers I-286-S, Vickers M-2950-S, Denison HF-0, Vickers 35 VQ 25 (Eaton ATS373-C) | |
Die richtigen Hydrauliköle müssen für Mobilgeräte (im Gegensatz zur industriellen Werksnutzung) angegeben werden, mehrgewichtiger Typ, mit abnutzungshemmenden ZnDTP- oder ZDDP-Paket (kein aschenloses Öl).
Important: Viele Hydraulikölsorten sind fast farblos, was das Erkennen von undichten Stellen erschwert. Als Beimischmittel für die Hydraulikanlage können Sie ein rotes Färbmittel in 20 ml Flaschen kaufen. Eine Flasche reicht für 15-22 l Hydrauliköl. Sie können es mit der Bestellnummer 44-2500 über den Toro Vertragshändler beziehen.
Synthetisches, biologisch abbaubares Hydrauliköl
(erhältlich in Behältern mit 19 Litern oder Fässern mit 208 Litern. Die Bestellnummern finden Sie in der Ersatzteildokumentation oder wenden Sie sich an den Toro-Vertragshändler)
Dieses synthetische, biologisch abbaubares Qualitätsöl wurde von Toro getestet und für dieses Modell zugelassen. Andere synthetische Ölsorten haben Abdichtungskompatibilitätsprobleme, und Toro übernimmt keine Verantwortung für nicht zugelassene Ersatzölsorten.
Note: Dieses synthetische Öl ist nicht mit den biologisch abbaubaren Ölsorten von Toro, die vorher verkauft wurden, kompatibel. Wenden Sie sich an den offiziellen Toro-Vertragshändler für weitere Informationen.
Ersatzöle:
Mobil EAL Envirosyn H 46 (USA)
Mobil EAL-Hydrauliköl 46 (international)
Stellen Sie die Maschine auf eine ebene Fläche, senken das Anbaugerät ab und stellen den Motor ab.
Reinigen Sie den Bereich um den Deckel des Hydraulikölbehälter, damit keine Rückstände in den Behälter gelangen (Bild 16).

Nehmen Sie den Deckel vom Behälter ab.
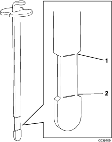
Entfernen Sie den Peilstab aus dem Füllstutzen und wischen ihn mit einem sauberen Lappen ab.
Stecken Sie den Peilstab in den Einfüllstutzen und ziehen ihn dann heraus, um den Ölstand zu prüfen.
Note: Der Ölstand muss zwischen der oberen und unteren Markierung (eingeengter Bereich) am Peilstab liegen (Bild 17).

Wenn der Ölstand niedrig ist, füllen Sie langsam das entsprechende Hydrauliköl ein, bis der Ölstand am eingeengten Bereich am Peilstab liegt.
Note: Füllen Sie die Behälter nicht zu voll.
Schrauben Sie den Behälterdeckel wieder auf.
Important: Reinigen Sie die Oberseiten der Hydraulikölbehälter, bevor Sie diese durchstechen, um eine Systemverunreinigung zu vermeiden. Achten Sie darauf, dass der Einfüllstutzen und der Trichter sauber sind.
| Wartungsintervall | Wartungsmaßnahmen |
|---|---|
| Bei jeder Verwendung oder täglich |
|
Prüfen Sie vor dem Einsetzen der Maschine den Reifendruck (Bild 18). Der korrekte Reifendruck für die Vorder- und Hinterreifen beträgt:
Profilreifen: 0,69 bar
Note: Wenn zusätzlicher Antrieb für das Messer benötigt wird, verringern Sie den Reifendruck auf 0,55 bar.
Rasenreifen: 0,55-0,69 bar

| Wartungsintervall | Wartungsmaßnahmen |
|---|---|
| Nach acht Betriebsstunden |
|
| Alle 100 Betriebsstunden |
|
Ziehen Sie die Radmuttern mit 61-75 N·m an.
Nehmen Sie den Fuß vom Fahrpedal und stellen sicher, dass es in die NEUTRAL-Stellung ist. Aktivieren Sie die Feststellbremse.
Schieben Sie den Chokehebel vorwärts auf die EIN-Stellung (beim Anlassen eines kalten Motors) und die Gasbedienung auf die LANGSAM-Stellung.
Important: Wenn Sie die Maschine in Temperaturen unter 0 °C einsetzen, sollten Sie die Maschine erst aufwärmen lassen. Dies verhindert eine Beschädigung des Hydrostat- und Antriebskreislaufes.
Stecken Sie den Schlüssel in das Zündschloss und drehen Sie ihn nach rechts, um den Motor anzulassen. Lassen Sie den Schlüssel los, wenn der Motor anspringt.
Note: Stellen Sie den Choke ein, damit der Motor gleichmäßig läuft.
Important: Aktivieren Sie den Anlasser nicht für mehr als 10 Sekunden, um ein Überhitzen zu vermeiden. Warten Sie 60 Sekunden ab, nachdem Sie den Anlasser 10 Sekunden lang betätigt haben, bevor Sie einen erneuten Startversuch unternehmen.
Schieben Sie zum Abstellen des Motors die Gasbedienung in die LANGSAM-Stellung und drehen Sie den Zündschlüssel auf die AUS-Stellung.
Note: Ziehen Sie den Zündschlüssel ab, um einem versehentlichen Anlassen vorzubeugen.
Schließen Sie vor der Einlagerung der Maschine den Kraftstoffhahn.
Wenn Sie die Maschine bei laufendem Motor prüfen, können Sie verletzt werden.
Stellen Sie den Motor ab und warten, bis alle beweglichen Bauteile zum Stillstand gekommen sind, bevor Sie Öllecks, lockeren Teilen oder anderen Defekten nachgehen.
Wenn die Sicherheitsschalter abgeklemmt oder beschädigt werden, setzt sich die Maschine möglicherweise von alleine in Bewegung, was Verletzungen verursachen kann.
An den Sicherheitsschaltern dürfen keine Veränderungen vorgenommen werden.
Prüfen Sie deren Funktion täglich und tauschen Sie alle defekten Schalter vor der Inbetriebnahme der Maschine aus.
Der Sicherheitsschalter stellt sicher, dass der Motor nur anspringt oder läuft, wenn das Fahrpedal in der NEUTRAL-Stellung ist. Der Motor sollte auch abstellen, wenn Sie das Fahrpedal nach vorne oder hinten bewegen, ohne dass ein Fahrer auf dem Sitz sitzt.
Fahren Sie die Maschine auf einen offenen Bereich ohne Rückstände und Unbeteiligte. Stellen Sie den Motor ab.
Setzen Sie sich auf den Sitz und aktivieren Sie die Feststellbremse.
Treten Sie das Fahrpedal nach vorne und hinten; versuchen Sie gleichzeitig, den Motor anzulassen.
Note: Wenn der Motor anspringt, besteht u. U. eine Fehlfunktion bei den Sicherheitsschaltern. Führen Sie sofort eine Reparatur aus. Wenn der Motor nicht anspringt, sind die Sicherheitsschalter in Ordnung.
Bleiben Sie auf dem Sitz, wenn das Fahrpedal in der NEUTRAL-Stellung und die Feststellbremse aktiviert ist, und lassen Sie den Motor an.
Stehen Sie vom Sitz auf und treten Sie das Fahrpedal langsam durch.
Note: Der Motor sollte innerhalb von einer bis drei Sekunden abstellen. Beheben Sie das Problem, wenn das System nicht einwandfrei funktioniert.
Im Notfall lässt sich die Maschine über kürzere Strecken abschleppen. Toro kann dies jedoch nicht als normale Vorgehensweise empfehlen.
Important: Schleppen Sie die Maschine höchstens mit 1,6 km/h ab, sonst kann der Antrieb beschädigt werden. Wenn Sie die Maschine mehr als 50 m abschleppen müssen, transportieren Sie die Maschine auf einem Pritschenwagen oder Anhänger. Die Reifen können blockieren, wenn Sie die Maschine zu schnell abschleppen. Sollte dies auftreten, halten Sie das Abschleppen der Maschine an und warten Sie, bis sich der Druck im Antriebskreislauf stabilisiert hat, bevor Sie das Abschleppen mit einer niedrigeren Geschwindigkeit fortsetzen.
Neue Motoren brauchen etwas Zeit, bevor sie die ganze Leistung erbringen. Neue Antriebssysteme haben einen höheren Abrieb und belasten den Motor mehr.
Die Einfahrzeit beträgt 8 Betriebsstunden.
Da die ersten Betriebsstunden für die zukünftige Zuverlässigkeit der Maschine sehr wichtig sind, überwachen Sie die Funktionen und die Leistung sorgfältig, damit Sie kleine Fehler, die zu großen Reparaturen führen können, erkennen und beheben. Prüfen Sie die Maschine in der Einfahrzeit oft auf Öllecks, lose Schrauben oder andere Fehlfunktionen.
In der Bedienungsanleitung für das Anbaugerät finden Sie relevante Anweisungen für das Anbaugerät.
Üben Sie das Fahren mit der Maschine, da sich die Einsatzmerkmale von anderen Nutzfahrzeugen unterscheiden. Sie sollten beim Einsatz des Fahrzeugs zwei Punkte berücksichtigen: Das Getriebe und die Motordrehzahl.
Treten Sie das Fahrpedal langsam durch, um eine ungefähr konstante Motordrehzahl zu erhalten. Der Motor kann dann mit der Fahrgeschwindigkeit des Fahrzeugs Schritt halten. Wenn Sie dagegen das Fahrpedal schnell durchtreten, wird die Motordrehzahl verringert, und das Drehmoment reicht nicht zum Bewegen des Fahrzeugs aus. Wenn Sie daher die maximale Leistung auf die Räder transferieren möchten, schieben Sie die Gasbedienung in die SCHNELL-Stellung und treten Sie leicht auf das Fahrpedal. Ohne Last erreichen Sie dagegen die höchste Fahrgeschwindigkeit, wenn die Gasbedienung in der SCHNELL-Stellung ist, und das Fahrpedal langsam ganz durchgetreten wird. Halten Sie daher die Motordrehzahl immer hoch genug, um den Rädern den höchsten Drehmoment bereitzustellen.
Beim Einsatz der Maschine müssen Sie aufpassen, um ein Umkippen oder einen Verlust der Fahrzeugkontrolle zu vermeiden.
Passen Sie auf, wenn Sie in Sandkuhlen einfahren oder aus ihnen herausfahren.
Passen Sie besonders in der Nähe von Gräben, Bächen oder anderen Gefahrenstellen auf.
Passen Sie besonders auf, wenn Sie die Maschine auf steilen Hängen einsetzen.
Verringern Sie die Geschwindigkeit, wenn Sie scharf oder auf Hangseiten wenden.
Vermeiden Sie es, unvermittelt abzubremsen oder loszufahren.
Schalten Sie nur bei komplettem Stillstand von Vorwärts auf Rückwärts oder umgekehrt.
Note: Wenn der Adapter für das Anbaugerät am Adapter der Zugmaschine feststeckt, stecken Sie einen Schraubenzieher oder eine Brechstange in den Schlitz, um die Teile zu trennen (Bild 19).

Note: Bestimmen Sie die linke und rechte Seite der Maschine anhand der normalen Sitz- und Bedienposition.
Wenn Sie den Zündschlüssel im Zündschloss stecken lassen, könnte eine andere Person den Motor versehentlich anlassen und Sie und Unbeteiligte schwer verletzen.
Ziehen Sie vor jeglichen Wartungsarbeiten den Zündschlüssel ab.
| Wartungsintervall | Wartungsmaßnahmen |
|---|---|
| Nach acht Betriebsstunden |
|
| Nach 20 Betriebsstunden |
|
| Bei jeder Verwendung oder täglich |
|
| Alle 25 Betriebsstunden |
|
| Alle 100 Betriebsstunden |
|
| Alle 200 Betriebsstunden |
|
| Alle 400 Betriebsstunden |
|
| Alle 800 Betriebsstunden |
|
| Alle 1500 Betriebsstunden |
|
Important: Beachten Sie für weitere Wartungsmaßnahmen die Bedienungsanleitung.
Kopieren Sie diese Seite für regelmäßige Verwendung.
| Wartungsprüfpunkt | Für KW: | ||||||
|---|---|---|---|---|---|---|---|
| Mo | Di | Mi | Do | Fr | Sa | So | |
| Prüfen Sie die Funktion der Sicherheitsschalter. | |||||||
| Prüfen Sie die Lenkfunktion. | |||||||
| Prüfen Sie den Kraftstoffstand. | |||||||
| Prüfen Sie den Stand des Motoröls. | |||||||
| Prüfen Sie den Zustand des Luftfilters. | |||||||
| Reinigen Sie die Kühlrippen am Motor. | |||||||
| Stellen Sie fest, ob der Motor abnormale Geräusche von sich gibt. | |||||||
| Achten Sie auf ungewöhnliche Betriebsgeräusche. | |||||||
| Prüfen Sie den Hydraulikölstand . | |||||||
| Prüfen Sie die Hydraulikschläuche auf Defekte. | |||||||
| Prüfen Sie die Dichtheit. | |||||||
| Prüfen Sie den Reifendruck. | |||||||
| Prüfen Sie die Funktion der Instrumente. | |||||||
| Bessern Sie alle Lackschäden aus. | |||||||
| Aufzeichnungen irgendwelcher Probleme | ||
| Inspiziert durch: | ||
| Punkt | Datum | Informationen |
Important: Die Befestigungen an den Abdeckungen dieser Maschine bleiben nach dem Entfernen an der Abdeckung. Lösen Sie alle Befestigungen an jeder Abdeckung um ein paar Umdrehungen, sodass die Abdeckungen lose aber noch verbunden sind; lösen Sie dann alle Befestigungen, bis die Abdeckung nicht mehr befestigt ist. Dies verhindert, dass die Schrauben aus Versehen aus den Halterungen herausgeschraubt werden.
Mechanische oder hydraulische Wagenheber können u. U. ausfallen und zu schweren Verletzungen führen.
Stützen Sie die Maschine mit Stützböcken ab.
Hebestellen:
Die Maschine hat Schmiernippel, die regelmäßig nach jeweils 100 Betriebsstunden mit Nr. 2 Allzweckschmierfett auf Lithiumbasis eingefettet werden müssen.
Schmieren Sie die folgenden Lager und Büchsen ein:
Vorderradlager (1) (Bild 22)

Fahrpedal-Drehzapfen (1) (Bild 23)

Hintere Anbauvorrichtung (5) (Bild 24)

Ende der Lenkzylinderstange (1) (nur Modell 08705) (Bild 25)

Lenkzapfen (Bild 26)
Note: Für den bündigen Nippel am Lenkzapfen (Bild 26) benötigen Sie einen Fettspritzenadapter. Erhältlich unter der Bestellnummer 107-1998 vom Toro-Vertragshändler.

| Wartungsintervall | Wartungsmaßnahmen |
|---|---|
| Alle 100 Betriebsstunden |
|
Wischen Sie die Schmiernippel ab, um das Eindringen von Fremdkörpern in die Lager oder Büchsen zu vermeiden.
Pressen Sie Fett in die Lager und Büchsen.
Wischen Sie überflüssiges Fett ab.
| Wartungsintervall | Wartungsmaßnahmen |
|---|---|
| Nach 20 Betriebsstunden |
|
| Alle 100 Betriebsstunden |
|
Stellen Sie die Maschine auf eine ebene Fläche und stellen den Motor ab.
Entfernen Sie die Ablassschraube (Bild 27) und lassen das Öl in ein Auffanggefäß ab. Schrauben Sie die Ablassschraube wieder ein, nachdem das Öl abgelaufen ist.

Entfernen Sie den Ölfilter (Bild 27).
Ölen Sie die neue Dichtung am Ölfilter leicht mit frischem Öl ein.
Drehen Sie den Filter per Hand ein, bis die Dichtung die Ansatzfläche berührt; ziehen Sie ihn dann um eine weitere 1/2 bis 3/4 Umdrehung fest.
Important: Ziehen Sie den Filter nicht zu fest.
Füllen Sie Öl in das Kurbelgehäuse, siehe Prüfen des Stands des Motoröls.
Entsorgen Sie Altöl vorschriftsmäßig.
| Wartungsintervall | Wartungsmaßnahmen |
|---|---|
| Alle 200 Betriebsstunden |
|
Prüfen Sie das Gehäuse des Luftfilters auf Schäden, die eventuell zu einem Luftleck führen könnten. Tauschen Sie beschädigte Teile aus. Prüfen Sie die ganze Ansauganlage auf Lecks, Beschädigungen oder lose Schlauchklemmen.
Das frühzeitige Auswechseln des Luftfilters erhöht nur die Gefahr, dass Schmutz in den Motor gelangt, wenn Sie den Filter entfernen.
Stellen Sie sicher, dass die Abdeckung richtig angebracht ist und das Luftfiltergehäuse abdichtet.
| Wartungsintervall | Wartungsmaßnahmen |
|---|---|
| Alle 200 Betriebsstunden |
|
Lösen Sie die Riegel, mit denen die Abdeckung des Luftfilters am Luftfiltergehäuse befestigt ist (Bild 28).

Nehmen Sie die Abdeckung vom Luftfiltergehäuse ab.
Bevor Sie den Filter entfernen, sollten Sie mit geringer Druckluft (2,76 bar, sauber und trocken) große Ablagerungen entfernen, die sich zwischen der Außenseite des Filters und dem Kanister befinden.
Important: Verwenden Sie keine hohe Druckluft, da Schmutz durch den Filter in den Einlass gedrückt werden könnte. Diese Reinigung verhindert, dass Rückstände in den Ansaugfilter gelangen, wenn Sie den Hauptfilter entfernen.
Nehmen Sie den Filter heraus und wechseln Sie ihn.
Note: Prüfen Sie den neuen Filter auf Versandschäden, prüfen Sie das Dichtungsende des Filters und des Körpers. Verwenden Sie nie beschädigte Filter. Setzen Sie den neuen Filter ein. Drücken Sie auf den äußeren Rand des Elements, um es im Kanister zu platzieren. Drücken Sie nie auf die flexible Mitte des Filters.
Note: Reinigen Sie keinen gebrauchten Einsatz, da die Gefahr einer Beschädigung des Filtermediums besteht.
Reinigen Sie den Schmutzauswurfanschluss in der abnehmbaren Abdeckung.
Nehmen Sie das Gummiablassventil von der Abdeckung ab, reinigen Sie den Hohlraum und wechseln Sie das Ablassventil aus.
Setzen Sie die Abdeckung ein, richten Sie das Gummiablassventil nach unten, ungefähr zwischen 17.00 Uhr und 19.00 Uhr (vom Ende her gesehen).
Befestigen Sie die Laschen.
| Wartungsintervall | Wartungsmaßnahmen |
|---|---|
| Alle 800 Betriebsstunden |
|
Typ: Champion RC14YC (oder gleichwertige)
Abstand: 0,76 mm
Note: Zündkerzen halten normalerweise lange. Prüfen Sie jedoch die Kerzen, wenn Motorprobleme auftreten.
Reinigen Sie den Bereich um die Zündkerzen, sodass keine Fremdkörper in den Zylinder fallen, wenn die Kerze entfernt wird.
Ziehen Sie die Zündkerzenstecker von den Zündkerzen ab und entfernen die Kerzen aus dem Zylinderkopf.
Überprüfen Sie den Zustand der Seitenelektrode, der mittleren Elektrode und der Isolierung, um sicherzustellen, dass keine Beschädigung besteht.
Important: Tauschen Sie angerissene, verrußte, verschmutzte oder auf eine andere Art problematische Zündkerzen aus. Elektroden dürfen nicht sandgestrahlt, abgekratzt oder mit einer Drahtbürste gereinigt werden, da sich Grobstaub so nach und nach von der Zündkerze lösen könnte und in den Zylinder fallen würde. Dies führt normalerweise zu Motorschäden.
Stellen Sie den Elektrodenabstand zwischen der mittleren und der Seitenelektrode auf 0,76 mm ein (Bild 29). Setzen Sie eine Zündkerze mit korrektem Elektrodenabstand und der Dichtung ein und ziehen sie bis auf 23 N·m an. Wenn Sie keinen Drehmomentschlüssel benutzen, ziehen Sie die Kerze fest an.

| Wartungsintervall | Wartungsmaßnahmen |
|---|---|
| Alle 800 Betriebsstunden |
|
Ein Inlinefilter ist in die Kraftstoffleitung integriert. Wenn ein Austausch erforderlich ist, führen Sie die folgenden Schritte durch:
Schließen Sie den Kraftstoffhahn, lockern die Schlauchklemme an der Vergaserseite des Filters und ziehen die Kraftstoffleitung vom Filter ab (Bild 30).

Stellen Sie eine Auffangwanne unter den Filter, lockern Sie die verbleibende Schlauchklemme und entfernen den Filter.
Setzen Sie den neuen Filter so ein, dass der Pfeil am Filtergehäuse vom Kraftstofftank weg zeigt (auf den Vergaser).
Schieben Sie die Schlauchklemmen auf die Enden der Kraftstoffleitungen.
Schieben Sie die Kraftstoffleitungen an den Kraftstofffilter heran und befestigen Sie sie mit Schlauchklemmen.
Note: Stellen Sie sicher, dass der Pfeil an der Seite des Filters auf den Vergaser zeigt.
Batteriepole, Klemmen und anderes Zubehör enthalten Blei und Bleibestandteile. Dabei handelt es sich um Chemikalien, die laut der Regierung von Kalifornien krebserregend sind und zu Erbschäden führen können. Waschen Sie nach dem Umgang mit Batterien Ihre Hände.
Wenn Sie die Maschine mit Starthilfe anlassen müssen, können Sie den zusätzlichen Pluspol (an der Anlasserstromspule) statt des Pluspols an der Batterie verwenden (Bild 31).

Der Sicherungsblock (Bild 32) befindet sich unter dem Sitz.

| Wartungsintervall | Wartungsmaßnahmen |
|---|---|
| Alle 25 Betriebsstunden |
|
Halten Sie den Säurestand in der Batterie auf dem richtigen Niveau und die Oberseite der Batterie sauber. Die Batterie entleert sich schneller, wenn sie an äußert heißen Orten gelagert wird, als wenn sie bei kühleren Umgebungstemperaturen gelagert wird.
Die Batterieflüssigkeit enthält Schwefelsäure, die ein tödliches Gift ist und starke chemische Verbrennungen verursachen kann.
Trinken Sie nie Batteriesäure.
Vermeiden Sie den Kontakt mit der Haut, mit Augen und Kleidungsstücken. Tragen Sie eine Schutzbrille, um Ihre Augen zu schützen sowie Gummihandschuhe, um Ihre Hände zu schützen.
Befüllen Sie die Batterie an einem Ort, an dem immer reines Wasser zum Spülen der Haut verfügbar ist.
Halten Sie die Oberseite der Batterie durch regelmäßiges Reinigen mit einer in Ammoniak oder Natronlauge getauchten Bürste sauber. Spülen Sie die Oberseite der Batterie nach der Reinigung mit Wasser. Entfernen Sie während der Reinigung nicht den Verschlussdeckel.
Um einen guten elektrischen Kontakt sicherzustellen, müssen die Batteriekabel fest mit den Polen verbunden sein.
Das unsachgemäße Verlegen der Batteriekabel kann zu Schäden an der Maschine und den Kabeln führen und Funken erzeugen. Funken können zum Explodieren der Batteriegase führen, was Verletzungen zur Folge haben kann.
Trennen Sie immer das Minuskabel (Schwarz) ab, bevor Sie das Pluskabel (Rot) abtrennen.
Schließen Sie immer das Pluskabel (Rot) an, bevor Sie das Minuskabel (Schwarz) anschließen.
Klemmen Sie, wenn die Batteriepole korrodieren, zuerst das Minuskabel (-) ab und kratzen die Klemmen und Pole getrennt ab. Klemmen Sie die Kabel wieder an (Pluskabel (+) zuerst) und überziehen die Pole mit Vaseline.
Prüfen Sie den Batteriefüllstand alle 25 Betriebsstunden oder, wenn die Maschine eingelagert wird, alle 30 Tage.
Halten Sie den Füllstand in den Zellen mit destilliertem oder entmineralisiertem Wasser aufrecht. Füllen Sie die Zellen nicht über der Fülllinie.
Wenn sich die Maschine bewegt, wenn das Fahrpedal in der Neutralstellung ist, müssen Sie die Antriebsnocke einstellen.
Stellen Sie die Maschine auf eine ebene Fläche und stellen den Motor ab.
Lösen Sie die zwei Schrauben, mit denen die mittlere Haube an der Maschine befestigt ist, und nehmen Sie die Haube ab (Bild 33).

Heben Sie das Vorderrad und ein Hinterrad vom Boden ab und stellen Sie Stützblöcke unter den Rahmen.
Ein Vorderrad und ein Hinterrad müssen aufgebockt sein, sonst bewegt sich die Maschine während der Einstellung. Dies kann dazu führen, dass die Maschine fällt und eine Person unter der Maschine verletzt.
Stellen Sie sicher, dass die Maschine richtig abgestützt ist, und dass das Vorderrad und ein Hinterrad Bodenfreiheit haben.
Lockern Sie die Sicherungsmutter an der Fahrantriebs-Einstellnocke (Bild 34).

Der Motor muss für die endgültige Einstellung der Fahrantriebs-Einstellnocke laufen. Der Kontakt mit beweglichen Teilen oder heißen Oberflächen kann zu Verletzungen führen.
Halten Sie Ihre Hände, Füße, das Gesicht, und andere Körperteile von sich drehenden Teilen, vom Auspuff und anderen heißen Oberflächen fern.
Lassen Sie den Motor an und drehen das Sechskant (Bild 34) der Nocke in beide Richtungen, um die zentrale Stellung im Neutralbereich ausfindig zu machen.
Ziehen Sie die Sicherungsmutter fest, um die Einstellung zu arretieren.
Stellen Sie den Motor ab.
Setzen Sie die mittlere Haube auf.
Entfernen Sie die Achsständer und bringen die Maschine wieder auf den Boden.
Machen Sie eine Testfahrt, um sicherzustellen, dass sich die Maschine nicht bewegt, wenn das Fahrpedal auf Neutral steht.
Stellen Sie das Getriebe auf Neutral, siehe Einstellen der Leerlaufstellung für den Fahrantrieb.
Betätigen Sie den Pumphebel, um sicherzustellen, dass alle Teile ordnungsgemäß funktionieren und richtig positioniert sind.
Stellen Sie die Schraube ein, bis der Abstand ± 0,8-2,3 mm beträgt, siehe Bild 34.
Prüfen Sie die richtige Funktion.
Das Fahrpedal wird im Werk auf die maximale Transport- und Rückwärtsgeschwindigkeit eingestellt. Eine Einstellung ist jedoch erforderlich, wenn das Pedal Vollgas erreicht, bevor der Pumphebel den ganzen Hub durchlaufen hat, oder wenn Sie eine verminderte Transportgeschwindigkeit wünschen.
Treten Sie das Fahrpedal durch, um die maximale Transportgeschwindigkeit zu erhalten. Wenn das Pedal den Anschlag erreicht (Bild 35), bevor der Pumphebel den ganzen Hub durchläuft, müssen Sie die Einstellung ändern:

Stellen Sie die Maschine auf einer ebenen Fläche ab, stellen Sie den Motor ab und aktivieren Sie die Feststellbremse.
Lösen Sie die Mutter, mit der der Pedalstopp befestigt ist.
Ziehen Sie den Pedalanschlag fest, bis er das Fahrpedal nicht mehr berührt.
Üben Sie weiterhin leichten Druck auf das Transportpedal aus und stellen Sie den Pedalanschlag so ein, dass er gerade berührt oder so, dass ein Abstand von 2,5 mm zwischen der Pedalstange und dem Anschlag besteht.
Ziehen Sie die Muttern fest.
Stellen Sie die Maschine auf einer ebenen Fläche ab, stellen Sie den Motor ab und aktivieren Sie die Feststellbremse.
Lösen Sie die Mutter, mit der der Pedalanschlag befestigt ist.
Drehen Sie den Pedalanschlag heraus, bis die gewünschte Transportgeschwindigkeit erreicht ist.
Ziehen Sie die Mutter an, mit der der Pedalanschlag befestigt ist.
Die Arretierungsplatte des Hubhebels (Bild 37) kann eingestellt werden, wenn das Anbaugerät beim Einsatz nicht richtig schwebt (d. h. der Bodenkontur folgt).
Stellen Sie die Maschine auf einer ebenen Fläche ab, stellen Sie den Motor ab, aktivieren Sie die Feststellbremse und blockieren Sie die Räder.
Nehmen Sie die vier 4 Schrauben ab, mit denen das Armaturenbrett am Rahmen befestigt ist (Bild 36).

Lösen Sie die zwei Schrauben, mit denen die Arretierungsplatte am Kotflügel und Rahmen befestigt ist.

Der Motor muss zum Einstellen der Arretierungsplatte laufen. Der Kontakt mit beweglichen Teilen oder heißen Oberflächen kann zu Verletzungen führen.
Halten Sie Ihre Hände, Füße, das Gesicht, und andere Körperteile von sich drehenden Teilen, vom Auspuff und anderen heißen Oberflächen fern.
Lassen Sie den Motor an.
Wenn der Motor läuft und der Hubhebel in der Schwebe-Stellung ist, schieben Sie die Detentplatte, bis der Hubzylinder mit der Hand aus- und eingefahren werden kann.
Ziehen Sie die zwei Befestigungsschrauben an, um die Einstellung zu arretieren.
Die Gasbedienung nur ordnungsgemäß, wenn der Gasbedienungshebel korrekt eingestellt ist. Stellen Sie sicher, dass der Gasbedienungshebel einwandfrei funktioniert, bevor Sie versuchen, den Vergaser einzustellen.
Drehen Sie den Sitz nach oben.
Lockern Sie die Klemmschraube des Bowdenzugs, mit der dieser am Motor befestigt ist (Bild 38).

Stellen Sie den Gasbedienungshebel im Schaltfeld ganz nach vorne auf Schnell“.
Ziehen Sie fest am Bowdenzug, bis die Rückseite der Schwenkplatte den Anschlag berührt (Bild 38).
Ziehen Sie Klemmschraube an und prüfen die Motordrehzahl.
Hoher Leerlauf: 3400 U/min ± 50 U/min
Niedriger Leerlauf: 1750 U/min ± 100 U/min
Drehen Sie den Sitz nach oben.
Lockern Sie die Klemmschraube des Chokezugs, mit der dieser am Motor befestigt ist (Bild 38).
Stellen Sie den Remotechokehebel ganz nach vorne auf Zu“.
Ziehen Sie fest am Chokezug (Bild 38), bis die Choke-Drosselklappe ganz geschlossen ist; ziehen Sie dann die Klemmschraube des Chokezugs fest.
Important: Stellen Sie vor dem Einstellen der Geschwindigkeitsregelung des Motordrehzahlreglers sicher, dass die Gasbedienungs- und Chokehebel einwandfrei eingestellt sind.
Während der Einstellung des Geschwindigkeitsbedienelements des Motordrehzahlreglers muss der Motor laufen. Der Kontakt mit beweglichen Teilen oder heißen Oberflächen kann zu Verletzungen führen.
Stellen Sie vor dem Durchführen der Schritte sicher, dass das Fahrpedal in Neutral und die Feststellbremse aktiviert ist.
Halten Sie Ihre Hände, Füße, Kleidung und andere Körperteile von sich drehenden Teilen, vom Auspuff und anderen heißen Oberflächen fern.
Note: Führen Sie alle Schritte durch, wenn der langsame Leerlauf eingestellt werden muss. Wenn nur der schnelle Leerlauf eingestellt werden muss, gehen Sie direkt auf Schritt 5.
Lassen Sie den Motor an und lassen Sie ihn ca. fünf Minuten lang mit halbem Vollgas warmlaufen.
Stellen Sie den Gasbedienungshebel auf Langsam“. Drehen Sie die Leerlauf-Anschlagschraube entgegen dem Uhrzeigersinn, bis sie nicht mehr den Gasbedienungshebel berührt.
Biegen Sie den Anker-Federmitnehmer (Bild 39), um eine Leerlaufgeschwindigkeit von 1725 ± 50 U/min zu erzielen.
Note: Prüfen Sie die Motordrehzahl mit einem Drehzahlmesser.

Stellen Sie die Anschlagschraube für den Leerlauf ein, bis die Leerlaufgeschwindigkeit 25-50 U/min über der Leerlaufgeschwindigkeit liegt, die Sie in Schritt 3 eingestellt haben.
Note: Die endgültige Leerlaufgeschwindigkeit muss 1750 U/min ±100 U/min betragen.
Stellen Sie den Gasbedienungshebel auf Schnell“.
Biegen Sie den Federankermitnehmer in der Vollgaseinstellung (Bild 39), bis Sie eine Vollgasdrehzahl von 3400 ± 50 U/min realisieren.
| Wartungsintervall | Wartungsmaßnahmen |
|---|---|
| Nach acht Betriebsstunden |
|
| Alle 400 Betriebsstunden |
|
Verwenden Sie nur Toro Originalfilter als Ersatz.
Stellen Sie die Maschine auf eine ebene Fläche und stellen den Motor ab.
Lösen Sie die zwei Schrauben, mit denen die mittlere Haube an der Maschine befestigt ist, und nehmen Sie die Haube ab (Bild 40).

Stellen Sie eine Auffangwanne unter den Hydraulikfilter, der sich links an der Maschine befindet (Bild 41).

Reinigen Sie den Anbaubereich des Filters. Stellen Sie eine Auffangwanne unter den Filter. Lösen Sie den Hydraulikfilter langsam (nehmen Sie ihn nicht ab), bis das Öl am Vergaser entlang fließt und an einer Seite des Filters ausläuft.
Note: Wenn die Maschine mit einer Remotehydraulik ausgestattet ist, können Sie den Ansaugschlauch von der Pumpe abnehmen, um das Hydrauliköl abzulassen.
Nehmen Sie den Filter ab, wenn das Öl langsam fließt.
Schmieren Sie die Dichtung am Ersatzfilter mit Hydrauliköl ein und schrauben Sie ihn mit der Hand ein, bis die Dichtung den Filterkopf berührt. Ziehen Sie ihn dann um 3/4 Umdrehung weiter fest.
Note: Jetzt müsste der Filter dicht sein.
Füllen Sie den Hydraulikbehälter mit Hydrauliköl, bis der Stand an den unteren Rand des Einfüllstutzens am Peilstab reicht. Überfüllen Sie den Tank nicht. Siehe Prüfen des Hydraulikölstands.
Lassen Sie den Motor an und lassen Sie ihn laufen. Betätigen Sie den Hubzylinder, bis er sich ausstreckt und einzieht und der Vor- und Rückwärtsantrieb herbeigeführt ist.
Stellen Sie den Motor ab und prüfen den Ölstand; füllen Sie bei Bedarf Öl nach.
Prüfen Sie alle Verbindungen auf Dichtheit.
Setzen Sie die mittlere Haube auf.
Entsorgen Sie Altöl vorschriftsmäßig.
| Wartungsintervall | Wartungsmaßnahmen |
|---|---|
| Bei jeder Verwendung oder täglich |
|
Prüfen Sie die Hydraulikleitungen und -schläuche täglich auf Dichtheit, abgeknickte Leitungen, lockere Befestigungsstützen, lose Anschlussstücke, Witterungseinflüsse und chemische Schäden. Führen Sie alle erforderlichen Reparaturen vor der Inbetriebnahme durch.
Unter Druck austretendes Hydrauliköl kann unter die Haut dringen und Verletzungen verursachen.
Stellen Sie sicher, dass alle Hydraulikschläuche und -leitungen in gutem Zustand sind, und dass alle Hydraulikverbindungen und -anschlussstücke fest angezogen sind, bevor Sie die Hydraulikanlage unter Druck setzen.
Halten Sie Ihren Körper und Ihre Hände von kleinen Lecks und Düsen fern, aus denen Hydrauliköl unter hohem Druck ausgestoßen wird.
Gehen Sie hydraulischen Undichtheiten nur mit Pappe oder Papier nach.
Lassen Sie den Druck in der Hydraulikanlage auf eine sichere Art und Weise ab, bevor Sie irgendwelche Arbeiten an der Anlage durchführen.
Konsultieren Sie beim Einspritzen unter die Haut sofort einen Arzt.
Wenn ein Bestandteil der Hydraulikanlage repariert oder ausgetauscht wurde, sollten Sie den Hydraulikfilter wechseln und die Hydraulikanlage laden.
Stellen Sie sicher, dass die Hydraulikbehälter und der Filter immer mit Öl gefüllt sind, wenn Sie die Hydraulikanlage laden.
Stellen Sie die Maschine auf eine ebene Fläche und stellen den Motor ab.
Lösen Sie die zwei Schrauben, mit denen die mittlere Haube an der Maschine befestigt ist, und nehmen Sie die Haube ab (Bild 42).

Heben Sie das Vorderrad und ein Hinterrad vom Boden ab und stellen Sie Stützblöcke unter den Rahmen.
Ein Vorderrad und ein Hinterrad müssen aufgebockt sein, sonst bewegt sich die Maschine während der Einstellung. Dies kann dazu führen, dass die Maschine fällt und eine Person unter der Maschine verletzt.
Stellen Sie sicher, dass die Maschine richtig abgestützt ist, und dass das Vorderrad und ein Hinterrad Bodenfreiheit haben.
Lassen Sie den Motor an uns stellen Sie das Gas so ein, dass der Motor mit ungefähr 1800 U/min läuft.
Betätigen Sie den Hebel des Hubventils, bis die Hubzylinderstange mehrmals ein- und ausgefahren ist. Wenn sich die Zylinderstange nach 10 bis 15 Sekunden nicht bewegt, oder die Pumpe ungewöhnliche Geräusche macht, stellen Sie sofort den Motor ab und ermitteln Sie die Ursache oder das Problem. Prüfen Sie Folgendes:
Loser Filter oder lose Saugleitungen
Lose oder defekte Kupplung an der Pumpe
Verstopfte Saugleitung
Defektes Ladeentlastungsventil
Defekte Ladepumpe
Wenn sich der Zylinder innerhalb von 10 bis 15 Sekunden bewegt, gehen Sie auf Schritt 6.
Betätigen Sie das Fahrpedal im Vorwärts- und Rückwärtsgang. Die Räder, die Bodenfreiheit haben, sollten sich in der richtigen Richtung drehen.
Wenn sich die Räder in der falschen Richtung drehen, stellen Sie den Motor ab, nehmen Sie die Leitungen hinten von der Pumpe ab und drehen Sie die Anschlussstellen um.
Wenn sich die Räder in der richtigen Richtung bewegen, stellen Sie den Motor ab und stellen Sie die Sicherungsmutter des federeinstellenden Stifts ein (Bild 43). Stellen Sie die Neutral-Stellung des Getriebes ein, siehe Einstellen der Leerlaufstellung für den Fahrantrieb.

Prüfen Sie die Einstellung des Fahrantrieb-Sicherheitsschalters, siehe Einstellen des Fahrantriebs-Sicherheitsschalters.
Setzen Sie die mittlere Haube auf.
| Wartungsintervall | Wartungsmaßnahmen |
|---|---|
| Bei jeder Verwendung oder täglich |
|
Reinigen Sie die Maschine nach dem Einsatz gründlich mit einem Gartenschlauch ohne Sprühdüse. Dadurch vermeiden Sie, dass ein zu hoher Wasserdruck zur Verunreinigung und Beschädigung der Dichtungen und Lager führt.
Achten Sie darauf, dass die Kühlrippen und der Bereich um das Ansauggitter keine Fremdkörper aufweisen.
Important: Das Reinigen des Ölkühlers mit Wasser kann zu frühzeitigem Verrosten, einer Beschädigung der Bauteile und einem Verdichten der Ablagerungen führen, siehe Reinigen des Ölkühlers.
Nach dem Reinigen sollten Sie die Maschine auf mögliche Öllecks und Beschädigungen oder Abnutzung der hydraulischen und mechanischen Komponenten prüfen.
| Wartungsintervall | Wartungsmaßnahmen |
|---|---|
| Alle 400 Betriebsstunden |
|
Reinigen Sie die Zugmaschine, Anbaugeräte und den Motor gründlich.
Überprüfen Sie den Reifendruck.
Prüfen Sie auf lockere Befestigungsteile und ziehen diese bei Bedarf fest.
Fetten und ölen Sie alle Schmiernippel und Drehpunkte. Wischen Sie überflüssiges Schmiermittel ab.
Schmirgeln Sie alle Lackschäden leicht und bessern Bereiche aus, die angekratzt, abgesprungen oder verrostet sind.
Warten Sie die Batterie und -kabel wie folgt:
Entfernen Sie die Batterieklemmen von den -polen.
Reinigen Sie die Batterie, -klemmen und -pole mit einer Drahtbürste und Natronlauge.
Überziehen Sie die Kabelklemmen und Batteriepole mit Grafo 112X-Fett (Toro-Bestellnummer 505-47) oder mit Vaseline, um einer Korrosion vorzubeugen.
Laden Sie die Batterie alle 60 Tage 24 Stunden lang langsam auf, um einer Bleisulfatierung der Batterie vorzubeugen.
Note: Das spezifische Gewicht einer voll geladenen Batterie beträgt 1,250.
Note: Lagern Sie die Batterie an einem kühlen Ort ein, um ein zu schnelles Entladen der Batterie zu vermeiden. Stellen Sie sicher, um einem Einfrieren der Batterie vorzubeugen, dass sie voll aufgeladen ist.
Wechseln Sie das Motoröl und den -filter. Siehe Wechseln des Motoröls und -filters.
Starten Sie den Motor, und lassen Sie ihn ca. zwei Minuten lang im Leerlauf laufen.
Reinigen und warten Sie den Luftfilter gründlich. Siehe Warten des Luftfilters.
Dichten Sie den Zulauf des Luftfilters sowie das Auspuffrohr mit witterungsbeständigem Band ab.
Prüfen Sie den Ölfüll- und den Tankdeckel auf festen Verschluss.