| 维护间隔时间 | 维护程序 |
|---|---|
| 初次使用20小时后 |
|
| 在每次使用之前或每日 |
|
本机器是一款驾乘式多功能设备,需由商业应用领域雇用的专业操作员进行操作。它主要为在保养良好的高尔夫球场和商用体育场地上修整沙坑障碍而设计。
请仔细阅读本手册,了解如何正确操作及维护您的产品,避免人身伤害和产品损坏。正确并安全地操作本产品是您的责任.
您可通过访问 www.Toro.com 直接联系 Toro,获取产品安全和操作培训材料、附件信息,查找代理商或注册产品。
当您需要关于维修保养、Toro 真品零件或其他方面的信息时,请联系授权服务经销商或 Toro 客户服务中心,并准备好有关您的产品的型号和序列号等资料。这些号码印制在位于机架左梁上的铭牌上。将型号、序列号写在提供的空白处。
本手册旨在确定潜在危险并列出安全警告标志(图 1)所标示的安全信息,该标志表明了在不遵循建议的预防措施进行操作时可能造成的严重伤害或死亡事故。

本手册使用两个词语来突出信息。重要事项唤起人们对特殊机械信息的注意,而注意则强调值得特别关注的一般信息。
此产品符合欧盟所有相关指令。详情请参阅另外提供的、特定产品的合格证明 (DOC) 单页。
如果该发动机的消火花消声器(定义见第 4442条)工作不正常,或发动机没有进行防火方面的隔离、装备或维护,根据《加利福尼亚州公共资源条例》(California Public Resource Code)第 4442 条或第 4443 条规定,在任何森林、灌木丛或草皮覆盖区域使用和操作该发动机均属违法。
此火花点火系统符合加拿大 ICES-002 标准。
随附的发动机用户手册介绍了美国环境保护局 (EPA) 和加州排放管制法中有关排放系统、维护和保修的信息。更换产品可通过发动机制造商订购。
加利福尼亚州
第65号提案中警告称:
本产品的发动机排出的废气含有加利福尼亚州已知的能致癌、致出生缺陷或损害生殖系统的化学物质。
要想提升牵引性能,可在机器前部添加配重块套件 100-6442。
Note: 如果机器带有前部提升或雪犁附件,则由于物理干扰,配重块套件将不适用。
不当使用或维护该机器可能导致人身伤害。若要减少潜在伤害,请遵循这些安全说明并始终注意安全警告标志
,即小心、警告或危险等个人安全指示。不遵循这些指示进行操作可能造成人身伤害甚至死亡事故。
请仔细阅读操作员手册和其他培训材料。熟悉控制装置、安全标记及设备的正确使用方法。
如果操作员或机修工不懂得本《操作员手册》的语言,产品所有者有责任向他们进行解释。
禁止儿童或不熟悉这些说明的人员使用或维修机器。当地法规可能对操作员的年龄有所限制。
作业区域附近有人(特别是儿童)或宠物时,禁止操作。
切勿搭载乘客。
所有驾驶员和机修工均应寻求并获得专业及实用的说明。产品所有人负责培训用户。此类说明应强调:
使用驾乘式机器时,需要多加小心并集中注意力;
使用刹车不会重新获得对于在斜坡上滑动的驾乘式机器的重新控制。失去控制的主要原因是:
车轮的抓地力不足;
驾驶速度过快;
刹车不足;
机器类型不适合其相关的工作;
没有意识到地面状况的影响,尤其是斜坡;
挂接和载荷分布错误。
所有者/用户应防止发生事故、人员人身伤害及财产损害,并对此承担全部责任。
穿戴适当的服装,包括护目镜、结实的防滑鞋和听力保护用具。扎好长发。不要佩戴珠宝首饰。
评估地形,确定正确安全地完成工作所需的附件和配件。仅使用制造商批准的附件和配件。
检查操作员到位控制装置、安全开关和挡板是否已安装,以及功能是否正常。 如果它们运行不正常,切勿进行操作。
为避免造成人身伤害或财产损坏,在处理汽油时应极其小心。汽油极度易燃,产生的蒸汽会发生爆炸。
应熄灭所有香烟、雪茄、烟斗及其他火源。
仅使用经批准的燃料容器。
在发动机运行时,切勿拆下油箱盖或添加燃油。
请等待发动机冷却后再加油。
切勿在室内给机器加油。
切勿将机器或燃油容器存放在有明火、火花或常明火的地方,例如热水器或其他电器上。
切勿在车内或在带塑料衬垫的卡车或拖车上加油。加油前,应始终将容器放在远离机器的空地上。
将设备从卡车或拖车上卸下,放在空地上再加油。如不可行,就用便携式容器给此类设备加油,尽量不使用燃料加油枪。
使用加油枪时,应始终使加油枪口与油箱或容器开口的边缘接触,直到完成加油过程。切勿使用加油枪锁定开锁装置。
如果燃油不小心溅在衣服上,应立即更换衣服。
切勿给油箱加过多的油。
装回油箱盖,牢固旋紧。
不要在可能积聚危险的一氧化碳及其它排放气体的狭小空间内操作发动机。
仅在白天或具有良好人工光源的条件下进行操作。
在尝试启动发动机之前,应分离所有附件,换入空档,然后刹好手刹。
切勿将手脚放在旋转部件附近或下方。
使用机器时需要特别专注。若要防止倾翻或失控:
当心坑洞或其他潜在危险。
在陡坡上操作机器时要特别小心。急转弯或在坡道上转弯时需减速行驶。
避免突然停止或起动。在没有完全停下来之前,切勿从后退突然转为全速前进。
倒退之前,先向后看,确保机器后面没有人。
靠近或穿过道路时,密切注意交通状况。应始终遵守交通规则。
如果机器安装了可选拖挂牵引杆(零件号 110-1375),请参阅附件《操作员手册》,了解最大拖挂负荷。
拖动装载物或使用重型设备时需小心谨慎。
仅使用经核准的挂接点。
将装载物的重量限制在您可以安全控制的范围。
切勿急转。后退时需小心谨慎。
穿过或靠近道路时、密切注意交通状况。
保护装置和挡板受到损坏,或者安全保护装置尚未就位时,禁止操作机器。确保所有联锁装置都已连接、经过正确调整并可以正常运行。
切勿更改发动机调速器设置,禁止发动机超速运转。超速状态下操作发动机可能加剧人身伤害危险。
离开操作员位置之前,请执行以下操作:
停在平地上;
松开驱动踏板,降下附件;
设定手刹;
停止发动机并拔下钥匙。
行驶中或未使用时,断开附件驱动。
停止发动机、并断开附件驱动。
加油之前;
检查、清洁或在机器上工作之前;
撞击外物或出现异常振动之后。检查机器是否受损,在重新启动和操作设备之前进行维修。
发动机熄火时先关小油门,如果发动机配备有燃油切断阀,请在完成操作后关闭阀门。
后退之前观察后面和下面的情况,确定道路无阻碍。
转向或穿越道路和人行道时,请放慢速度并保持谨慎。
在生病、疲劳或受酒精或药物影响时,切勿操作机器。
闪电可能造成严重伤害甚至死亡事故。如果在作业区域内看到闪电或听到打雷,切勿操作机器;请寻找躲避处。
从拖车或卡车装卸机器时需小心谨慎。
当接近可能遮挡视线的死角、灌木、树木或其他物体时需小心谨慎。
应拧紧所有螺母、螺栓和螺钉,确保设备处于安全工作状态。
切勿将油箱中仍有燃油的设备存放在烟气可能接触到明火或火花的建筑物内。
将机器存放在任何封闭区域之前,需先等发动机冷却。
要降低火灾危险,请清除发动机、消声器、电池盒及燃油存储区的草屑、树叶或过多的油脂。
确保所有零件都处于良好的工作状况,保持所有紧固件和液压接头拧紧。更换所有磨损或损坏的零件和标贴。
如果必须排空燃油箱,则应在室外进行。
调整机器时要小心,防止手指夹到机器的活动零件与固定零件之间。
分离任何驱动装置、降下附件、刹好手刹、停止发动机并拔下钥匙。等机器完全停止运动后、再进行调整、清洁或维修。
必要时,使用顶车架支撑组件。
小心释放储能组件中的压力。
断开电池连接,拔出火花塞电线,然后再进行任何维修。首先断开负极端子,最后断开正极端子。首先连接正极接线,然后连接负极接线。
确保手和脚远离活动件。可能的情况下,切勿在发动机运行时进行调整。
在开阔、通风良好的地方为电池充电,远离火花和明火。连接电池或断开电池连接之前,拔出充电器。穿上防护服并使用绝缘工具。
在对系统施加压力之前,请确保所有液压管道接头都已紧固,且所有液压软管和管道均处于良好状态。
请确保身体和双手远离喷射高压液压油的针孔泄漏点或喷嘴。使用纸板或纸张找出泄漏点,不能用手。压力下泄漏的液压油会产生强大的压力,渗透到皮肤中,造成严重伤害。如果任何液体穿透皮肤,请立即就医。
断开液压系统的连接或对该系统执行任何工作之前,必须先停止发动机,将附件放到地面上,从而释放出系统中的所有压力。
定期检查所有燃油管线是否紧密或发生磨损。必要时,拧紧或维修管线。
如果进行维护调整时必须运行发动机,请确保您的四肢、衣物和身体的任何部位远离附件及任何活动件,尤其是发动机一侧的滤网。请勿让任何人靠近。
为确保安全和准确,请要求 Toro 授权经销商使用转速计检查发动机的最高转速。
如果需要大修或帮助,请联系 Toro 授权经销商。
为保持机器的最佳性能和持续安全证明、请仅使用 Toro 真品更换零件和附件。其他制造商制造的更换件和附件可能引发危险、而且使用非真品可能使产品保修失效。
从拖车或卡车装卸机器时需小心谨慎。
将机器装入拖车或卡车时,请使用足够宽的斜面。
使用箍带、链条、缆绳或绳索牢牢系紧机器。前后箍带都应从机器的下方向外伸出
本机器的保证声强等级为 97dBA,其中包括不确定度 (K) 1dBA。
声强等级根据 ISO 11094 中列出的规程进行确定。
在操作员的耳朵里、本机器的声压等级为 83dBA、其中包括不确定度 (K) 1dBA。
声压等级根据 EN ISO 11201 中列出的规程进行确定。
佩戴听力防护装置。
手臂
测定的右手振动等级 = 0.27m/s2
测定的左手振动等级 = 0.29m/s2
不确定度 (K) = 0.5m/s2
测定值根据 EN 1032 中列出的规程进行确定。
整个身体
测定的振动等级 = 0.5m/s2
不确定度 (K) = 0.5m/s2
测定值根据 EN 1032 中列出的规程进行确定。
![]() |
任何潜在危险区附近均贴有操作员清晰可见的安全标贴和说明。更换受损或丢失的标贴。 |







Note: 请根据正常操作位置来判定机器的左侧和右侧。
Note: 拆下并丢弃所有运输支架和紧固件。
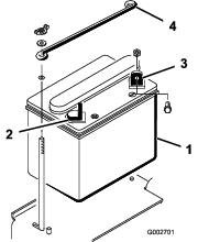
拆下将电池顶部压夹固定到电池侧面压夹的 2 个蝶形螺帽和垫圈 (图 3)。卸下电池顶部压夹,然后取出电池。

此程序中需要的物件:
| 散装电解液,比重为 1.260(未包括) | – |
加利福尼亚州认为电池接柱、接头以及相关配件含有已知的会引发癌症和造成生殖损害的铅或铅混合物、化合物。操作后请洗手。
如果电池没有加注电解液或激活,则必须从当地的电池供应商处购买比重为 1.260 的散装电解液,并添加到电池。
电池电解液含有硫酸,这是致命的有毒物质且可能导致严重灼伤。
切勿喝下电解液,避免接触皮肤、眼睛或衣服。佩戴护目镜保护眼睛,佩戴橡胶手套保护双手。
为电池加注电解液后,始终用清水冲洗皮肤。
卸下电池的加液颈盖,缓缓地为每个电池加注电解液,直至液位达到加注线。
装回加液颈盖,将 3~4A 电池充电器连接到电池电极。通过 3~4A 的电流给电池充电,时间为 4 至 8 小时。
给电池充电时会产生可爆炸的气体。
切勿在电池附近吸烟,而且附近不能有火花和明火。
电池充满电之后,把充电器从插座和电瓶电极上断开。让电池停放 5 至 10 分钟。
拆下加液颈盖。
为每个电池缓缓添加电解液,直到液位达到加注线。
Important: 切勿将电池加得过满。否则电解液会溢流到机器的其他部件上,将造成严重腐蚀和老化。
安装加液颈盖。
此程序中需要的物件:
| 螺栓(¼ x ⅝ 英寸) | 2 |
| 锁紧螺母(¼ 英寸) | 2 |
将电池放好,使电池的负极端子朝向机器后面(图 4)。

电池接线不准确会损坏机器和接线,且可能会产生火花。火花可引发电池气体爆炸,从而造成人身伤害。
应始终先断开负极(黑色)电池线,然后才能断开正极(红色)接线。
应始终先连接正极(红色)电池线,然后才能连接负极(黑色)接线。
电池端子或金属工具可能会与机器金属部件发生短路并产生火花。火花可引发电池气体爆炸,从而造成人身伤害。
拆下或安装电池时,切勿让电池端子接触到机器的任何金属部件。
切勿让金属工具短接电池端子和机器的金属部件。
用螺栓(¼ x ⅝ 英寸)和锁紧螺母将正极接线(红色)固定到正极(+)端子(图 5)。

用螺栓(¼ x ⅝ 英寸)和锁紧螺母(¼ 英寸)将小黑色接线和负极接线(黑色)固定到电池的负极(-)端子(图 5)。
在端子和安装紧固件上涂抹石油膏、防止腐蚀。
将橡皮套滑动到正极(+)电池端子上,防止可能发生的短路情况。
将电池顶部压夹安装到电池侧面压夹上,用垫圈和蝶形螺帽固定。
此程序中需要的物件:
| 前配重块套件(如需要) | – |
本机器的设计符合 ANSI B71.4-2012 规范。然而,当附件安装到机器上时,需要增加额外的配重块,才能符合该等标准。
使用下图确定需要的额外配重块的组合。从您当地的 Toro 授权经销商处订购零件。
| 附件 | 需要的额外前配重块 | 配重块套件零件号 | 配重块描述 | 要求数量 |
|---|---|---|---|---|
| 穿刺刀套件 (08755) | 23kg | 100-6442 | 8 x 3kg 平板配重块 | 1 |
| Rahn 修整器 | 23kg | 100-6442 | 8 x 3kg 平板配重块 | 1 |
| QAS 实用工具箱 | 23kg | 100-6442 | 8 x 3kg 平板配重块 | 1 |
Note: 如果机器配备了前液压提升套件(型号 08712),将不再需要额外的配重块。

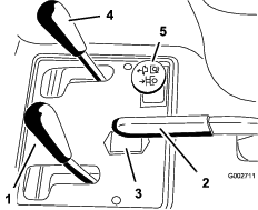
驱动踏板 (图 7) 有三个功能: 驱动机器前行、后退和停止机器。使用右脚的脚跟和脚尖踩压踏板的顶部可使机器向前移动,踩压踏板的底部可使机器向后移动,或在向前移动时帮助制动(图 8)。要停止机器,请移动踏板或将其移至空档位置。为了便于操作员操作, 机器向前行驶时不要将脚跟放在后退踏板上。


地面行驶速度与驱动踏板向下踩的距离成正比。要获得最大地面行驶速度,应在油门处于“快速”位置时完全踩下踏板。为了获得最大动力或在需要爬坡的情况下,应将油门设定至“快速”位置,并轻踩驱动踏板,使发动机保持高转速。当发动机转速开始降低时,稍稍松开踏板,可提高发动机转速。
Important: 若要获得最大的牵引力,应将油门设定至“快速”位置,而几乎是踩下驱动踏板一点点。
仅当从一个工作区行驶到另一工作区时使用最大地面行驶速度。
当使用安装的或拖曳的附件时,不建议使用最大速度。
Important: 当附件处于下方(操作)位置时切勿后退操作,否则附件可能受到严重损坏。
点火开关 (图 9) 用于启动和停止发动机,它有 3 个位置: 关闭、运行和启动。将钥匙顺时针旋转至启动位置,即可接合启动马达。发动机启动之后、松开钥匙。钥匙将自动移至“运行”位置。要关闭发动机,可将钥匙逆时针旋转至“关闭”位置。

要启动冷却的发动机,请将阻风门控制器(图 9)向上拉到“关闭”位置,关闭化油器阻风门。发动机启动之后,调节阻风门以保持发动机平稳运行。尽快将阻风门移至“打开”位置,打开阻风门。热发动机需要很小阻风或根本不需要阻风。
油门控制杆(图 9)连接到油门联动装置,以操控化油器。该控制杆有 2 个位置:“慢速”和“快速”。2 个设定之间的发动机转速是连续可变的。
Note: 油门控制杆不能用来将发动机熄火。
要提升附件,请向后拉提升杆(图 10);把附件降低,然后向前推提升杆。对于浮动位置,应将提升杆移入锁定位置。当达到所需的位置时,松开提升杆,它将回到“空档”位置。

Note: 机器有一个双作用提升油缸。在某些操作条件下,您可以向附件施加下压力。
要接合手刹(图 10),请向后拉手刹杆。要松开手刹,请向前推手刹杆。
Note: 要释放手刹,您还可能必须前后缓慢旋转驱动踏板。
小时表(图 10)用于显示机器操作的总小时数。将钥匙开关旋至开启位置时,小时表开始计时。
将座椅左侧的调节杆(图 11)向前移动,将座椅滑到所需位置,然后松开调节杆将座椅锁定。

存放或使用拖车运输机器时,应关闭燃油切断阀(图 12)。

Note: 规格与设计如有变更,恕不另行通知。
| 宽度(不带附件) | 148cm |
| 宽度(带耙子,型号 08751) | 191cm |
| 长度(不带附件) | 164cm |
| 高度 | 115cm |
| 轴距 | 109cm |
| 净重型号 08703型号 08705 | 452kg461kg |
Toro 批准的一系列附件和配件可与机器一同使用,以提升和扩大其能力。请联系您的授权服务代理商或经销商,或访问 请访问 www.Toro.com,获取所有经批准附件和配件的清单。
为最好地保护您的投资和保持 Toro 设备的最佳性能,请选择 Toro 真品零件。谈到可靠性,Toro 提供有根据我们设备的精密设计规格设计的更换零件。要想放心无虞,请坚持使用 Toro 真品零件。
Note: 请根据正常操作位置来判定机器的左侧和右侧。
请仔细阅读安全部分的所有安全说明和标志。了解这些安全信息,可帮助您或旁观者免受伤害。
在湿草或陡坡上操作机器可能导致打滑和失控。
机器沿边缘行驶可能导致翻滚,从而造成严重的人身伤害、死亡或溺水。
请阅读并遵循防翻滚保护说明和警告。
若要避免失控和翻滚可能,请遵守以下指导原则:
切勿在陡降处或水边操作。
在斜坡上操作时应减速并格外小心。
避免急转弯或快速变速。
操作员的耳朵若长时间暴露于该机所产生的噪音级别中,则可能造成听力丧失。
操作时请佩戴听力保护用具。
建议使用眼、耳、手、脚和头部防护装备。

| 维护间隔时间 | 维护程序 |
|---|---|
| 初次使用20小时后 |
|
| 在每次使用之前或每日 |
|
发货时发动机的曲轴箱内带有机油;但是,在首次启动发动机前后仍须检查机油油位。
带滤芯的曲轴箱容量约为 1.66L。
使用符合以下规格的高质量机油:
API 分类等级:SL 或更高
首选机油:SAE 30——4℃ 以上
将机器停在水平地面上。
向前翻转座椅。
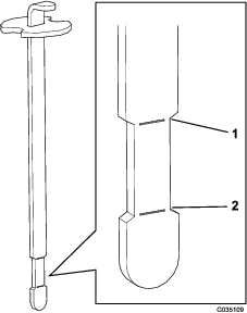
拉出量油尺(图 14),并用干净的抹布擦拭。

将量油尺插入量油尺管道中,并确保它完全插入。从量油尺管道取出量油尺,查看油位。如果油位较低,请从气门室盖上拆下加油颈盖,然后添加足够机油,将油位提高到量油尺上的“已满”标记。
Important: 确保机油油位保持在油量计的上限与下限之间。机油添加过量或不足可能导致发动机故障。
将量油尺固定到位。
Important: 量油尺必须完全固定到量油尺管道,确保发动机曲轴箱适当密封。发动机曲轴箱不密封可能导致发动机损坏。
向下翻转座椅。
Important: 每运行 8 小时或每天检查一次油位。最初在首次操作 20 个小时之后更换一次机油,随后每操作 100 个小时更换一次。但是,当发动机在异常多尘或肮脏的情况下运行时、需要更频繁地更换机油。
油箱容量: 25L。
建议的燃油:
为取得最佳效果,请仅使用干净新鲜(少于 30 天)的无铅汽油(辛烷值为 87 或更高)((R+M)/2 分等法)。
乙醇:在汽油最高可含10%体积的乙醇(乙醇汽油)或15%体积的甲基叔丁基醚 (MTBE) 。乙醇与 MTBE 并不相同。不得使用乙醇体积占15%的(E15)的汽油。切勿使用乙醇体积超过 10% 的汽油,例如 E15(含有 15% 的乙醇)、E20(含有 20% 的乙醇)或 E85(含有高达 85% 的乙醇)。使用未经批准的汽油可能导致超出保修范围的性能问题和/或发动机损坏。
切勿使用含有甲醇的汽油。
切勿在冬季将燃油存放于燃油箱或燃油容器内,除非使用了燃油稳定剂。
切勿将机油添加到汽油中。
Important: 切勿使用燃油稳定剂/调节剂以外的燃油添加剂。切勿使用基于酒精(如乙醇、甲醇或异丙醇)的燃油稳定剂。
在特定条件下,汽油极为易燃易爆。汽油起火或爆炸会灼伤您和他人,而且还会造成财产损失。
请在发动机已冷却的状况下,在室外的开阔区域添加燃油。擦干净溢出的汽油。
切勿在封闭的拖车内加注燃油箱。
切勿将油箱完全加满。汽油油位最高只能加到油箱加油颈底部以下 6~13mm 处。油箱中留出的这部分空间是为了预防汽油发生膨胀。
处理汽油时切勿吸烟,而且要远离明火或汽油烟气容易被火花点燃的场所。
将汽油存放在规定容器内,远离儿童。切勿购买超过 30 天的汽油供应量。
切勿在整个排气系统没有到位,及未在适当工作条件下时操作技巧。
在某些情况下,静电可能会引发能引燃汽油蒸气的火花。燃油起火或爆炸会灼伤您和他人,而且还会造成财产损失。
加油前,总是把燃油容器放在远离机器的空地上。
不要在车辆内或在卡车或拖车上加油,因为里面的地毯或卡车上的塑料衬垫的绝缘效果,会减缓静电的释放。
如果可行的话,把用燃油作动力的机器从卡车或拖车上卸下来,在其轮子着地后加油。
如果做不到,就用一个手提的容器给卡车或拖车上的机器加油,不要使用汽油加油枪喷嘴。
如果必须用汽油加油枪喷嘴,加油时要使喷嘴与油箱或容器开口的边缘接触,直到完成加油过程。
吞咽汽油可导致伤害或死亡。长期接触油气可导致严重的人身伤害及疾病。
避免长时间呼吸燃油蒸汽。
确保面部远离加油枪、油箱或容器开口。
确保汽油远离眼睛和皮肤。
清理燃油箱盖 (图 15) 附近的区域。
卸下燃油箱盖。
油箱加油至距油箱顶部(加油颈底部)以下大约 25mm 的位置。切勿过量添加。

盖好燃油箱盖。
擦干净溢出的任何燃油,防止出现火灾危险。
Important: 切勿使用甲醇、包含甲醇的汽油或包含超过 10% 乙醇的乙醇汽油、因为这样燃油系统可能受到损坏。切勿将机油与汽油混合。
| 维护间隔时间 | 维护程序 |
|---|---|
| 在每次使用之前或每日 |
|
液压油箱在出厂时已加满约 18.9L 的高品质液压油。检查液压油的最佳时间是液压油冷却时。机器应处于行驶配置中。如果液压油油位低于量油尺上的“添加”标记,请添加液压油,直至油位达到可接受范围的中间位置。切勿将油箱加得过满。如果液压油油位处于“已满”与“添加”标记之间,则无需添加。首次启动发动机之前请先检查液压油的液位,之后每天都要检查。
推荐的替代液压油为:
| Toro 优质全天候液压油(提供 19L 容器装或 208L 圆桶装——请查看零件文件或联系 Toro 经销商,获取零件号)。 |
推荐液压油:Toro 优质全天候液压油
备选液压油: 如果无法获得 Toro 液压油,可使用符合以下材料性能和行业规格的其他常规、石油基液压油来代替。请与您的液压油供应商核实该液压油是否符合这些规格。
Note: 对于因使用不当替代产品而造成的损坏,Toro 将不承担任何责任,因此,请仅使用信誉好的制造商的产品,他们会对其产品提供支持。
| 高粘度指数/低倾点耐磨液压油、ISO VG 46 多级 | |
| 材料属性: | |
| 粘度,ASTM D445 | cSt @ 40°C 44~48cSt @ 100°C 7.9~9.1 |
| 粘度指数 ASTM D2270 | 140 或更高 |
| 倾点,ASTM D97 | -37°C~-45°C |
| FZG,故障阶段 | 11 或更好 |
| 含水量(新液压油): | 500ppm(最大) |
| 行业规格: | |
| Vickers I-286-S、Vickers M-2950-S、Denison HF-0、Vickers 35 VQ 25 (Eaton ATS373-C) | |
正确的液压油应该是专为移动机械(相对于工业工厂用途)、多重量类型、带 ZnDTP 或 ZDDP 耐磨添加剂的封装液压油(非无灰型液压油)。
Important: 许多液压油都是近乎无色的,所以很难找出泄漏点。我们提供 20ml 瓶装的人造红色染色添加剂,可添加到液压系统的液压油中。一瓶足够添加到 15~22L 的液压油中。可从 Toro 授权经销商处订购零件 44-2500。
合成、可生物降解液压油
(提供 19L 容器装或 208L 圆桶装——请查看零件文件或联系 Toro 经销商,获取零件号)
这种高质量、合成、可生物降解液压油已经过测试,认定与本 Toro 机型兼容。其它品牌的合成液压油可能存在密封兼容性问题,Toro 对未授权的替代品概不承担任何责任。
Note: 此种合成液压油与之前出售的 Toro 可生物降解液压油不兼容。请联系 Toro 经销商,了解更多信息。
备选液压油:
Mobil EAL Envirosyn H 46(美国)
Mobil EAL Hydraulic Oil 46(国际)
| 维护间隔时间 | 维护程序 |
|---|---|
| 在每次使用之前或每日 |
|
操作机器之前,请检查胎压(图 18)。前后轮胎的正确气压如下所示:
花纹轮胎:0.7bar
Note: 如果推土板操作需要额外的牵引,请将压力减至 0.55bar。
光胎: 0.55~0.7bar

| 维护间隔时间 | 维护程序 |
|---|---|
| 初次使用8小时后 |
|
| 每100个小时 |
|
上紧车轮螺母扭矩至 61~75Nm。
将脚从驱动踏板上移开,确定踏板处于空档位置,然后接合手刹。
将阻风门控制杆向前推至开启位置(当启动冷却的发动机时),并将油门杆移动到慢速位置。
Important: 在 0°C (32°F) 以下操作机器时,使用前先让机器热机。这可以防止对静液压装置和驱动回路造成损坏。
将钥匙插入点火开关中,顺时针旋转启动发动机。发动机启动之后、松开钥匙。
Note: 调节阻风门,保持发动机平稳运行。
Important: 为防止启动马达过热、启动马达的接合时间切勿超过 10 秒。持续运转 10 秒后、等待 60 秒之后再接合启动马达。
要停止发动机,可将油门杆移动到慢速位置,并将点火钥匙旋转至关闭位置。
Note: 从点火开关上拔下钥匙,防止意外启动。
存放机器前应关闭燃油切断阀。
在发动机运行时检查机器可能会导致人身伤害。
关闭发动机,等到所有活动件都已停止,然后再检查是否存在漏油、零件松动及其他故障。
如果安全联锁开关断开或损坏,机器可能意外运转并造成人身伤害。
切勿随意改动联锁开关设置。
每日均应检查联锁开关的操作,更换任何损坏的开关,然后再操作机器。
联锁系统旨在防止发动机运转或启动,除非驱动踏板位于空档位置。此外,如果座椅上没有操作员,驱动踏板向前或向后移动时,发动机应停止。
将机器放置在没有杂物和旁观者的开阔区域。停止发动机。
坐到座椅上,并接合手刹。
尝试启动发动机时向前后踩压驱动踏板。
Note: 如果发动机转动,表明联锁系统可能存在故障。立即进行维修。如果发动机没有转动,表明系统功能正常。
保持坐在座椅上,驱动踏板处于空档位置,刹好手刹,然后启动发动机。
从座椅上站起,缓慢踩下驱动踏板。
Note: 发动机应在 1 至 3 秒钟内熄火。如果系统运转不正常,请解决问题。
如遇紧急情况,可以短距离拖曳机器。然而,我们不推荐将其作为标准程序。
Important: 拖曳机器的速度切勿超过 1.6km/h,因为过快可能令驱动系统受损。如果机器的移动距离必须超过 50 米,请使用卡车或拖车来运输。如果拖曳机器的速度过快,轮胎可能会锁死。如果轮胎锁死,请停止拖曳机器,等待驱动回路压力稳定,然后再开始以较低的速度拖曳。
新发动机要发挥出全部动力需要一定的时间。驱动系统在新的时候也有较多的摩擦,令发动机承受额外的负载。
最初8小时的操作作为磨合期。
由于机器最初几个小时的运行对未来的可靠性至关重要,因此请密切监控其功能和性能,从而注意到并纠正可能导致大问题的小困难。请在磨合期内经常检查机器是否有任何漏油、松动或任何其他故障的迹象。
参阅附件《操作员手册》,了解附件的具体操作说明。
练习驾驶机器,因为它的操作特性不同于一些多功能工作车。操作车辆时需要考虑的 2 点是变速箱速度和发动机转速。
要保持某一稳定的发动机转速,请缓慢踩下驱动踏板。这可以让发动机跟得上车辆的地面行驶速度。相反,快速踩下驱动踏板可降低发动机转速;结果,导致没有足够扭矩动力来移动车辆。因此,要向车轮传送最大的功率,请将油门移到快速位置,并轻轻踩下驱动踏板。相比之下,当油门处于快速位置,驱动踏板缓慢地完全踩下时,可实现没有负载的最大地面行驶速度。 始终保持足够高的发动机转速,以便向车轮传送最大的扭矩动力。
操作机器时需要特别专注,防止倾翻或失控。
进入和离开沙坑障碍时需小心谨慎。
要格外留意沟渠,小溪或其他障碍物。
在陡坡上操作机器时要特别小心。
急转弯或在坡道上转弯时需减速行驶。
避免突然停止或启动。
在没有完全停下来之前,切勿从后退突然转为全速前进。
Note: 如果附件连接器卡在主机连接器上,请在撬槽内插入撬棍或螺丝刀,将两者分开(图 19)。

Note: 请根据正常操作位置来判定机器的左侧和右侧。
如果将钥匙留在点火开关上,可能会有人无意中启动发动机,对您或其他旁观者造成严重伤害。
执行任何维护前,请拔下点火钥匙。
| 维护间隔时间 | 维护程序 |
|---|---|
| 初次使用8小时后 |
|
| 初次使用20小时后 |
|
| 在每次使用之前或每日 |
|
| 每25个小时 |
|
| 每100个小时 |
|
| 每200个小时 |
|
| 每400个小时 |
|
| 每800个小时 |
|
| 每1500个小时 |
|
Important: 请参阅您的发动机操作员手册,了解更多维护程序。
复印本页以供日常使用。
| 维护检查项 | 第____周: | ||||||
|---|---|---|---|---|---|---|---|
| 周一 | 周二 | 周三 | 周四 | 周五 | 周六 | 周日 | |
| 检查安全联锁操作。 | |||||||
| 检查转向操作。 | |||||||
| 检查燃油油位。 | |||||||
| 检查机油油位。 | |||||||
| 检查空气滤清器的状况。 | |||||||
| 清洁发动机的冷却翅片。 | |||||||
| 检查发动机是否有异常噪音。 | |||||||
| 检查是否有异常的操作噪音。 | |||||||
| 检查液压油油位。 | |||||||
| 检查液压软管是否受损。 | |||||||
| 检查漏液情况。 | |||||||
| 检查轮胎气压。 | |||||||
| 检查仪表工作情况。 | |||||||
| 为掉漆部分补漆。 | |||||||
| 疑点记录 | ||
| 检查人员: | ||
| 项目 | 日期 | 情况 |
| 维护间隔时间 | 维护程序 |
|---|---|
| 每200个小时 |
|
检查空气滤清器壳体是否存在可能导致空气泄漏的损坏。更换任何受损的组件。检查整个进气系统是否有泄漏、损坏或软管夹松动的情况。
不要等到必须更换之前才更换空气滤清器;因为这样只会增加拆下滤清器时灰尘进入发动机的几率。
确保空气滤清器盖正确盖好,并与空气滤清器壳体密合。
| 维护间隔时间 | 维护程序 |
|---|---|
| 每200个小时 |
|
松开将空气滤清器盖固定到空气滤清器壳体上的搭扣(图 28)。

从空气滤清器壳体上取下空气滤清器盖。
拆下滤清器之前,用低压空气(2.76bar,洁净干燥)去除主滤清器外部与过滤筒之间堆积的大量杂物。
Important: 避免使用会迫使灰尘通过滤清器进入进风管的高压空气。这一清洁过程可以防止杂物在主滤清器拆下时进入进风口。
拆下并更换滤清器。
Note: 检查新滤芯是否在运输途中受损,检查滤清器的密封端和壳体。切勿使用已损坏的滤芯。插入新滤芯,方法是按住滤芯的外缘,将它压入过滤筒中。切勿按压滤芯柔韧的中心部位。
Note: 由于过滤介体可能受损,因此不建议清洁用过的滤芯。
清洁可拆卸盖子上的灰尘弹射口。
拆下盖子上的橡胶排气阀,清洁凹洞并装回排气阀。
安装盖子时,橡胶排气阀要朝下向下的位置——即从末端看约 5 点钟至 7 点钟方向之间。
固定搭扣。
| 维护间隔时间 | 维护程序 |
|---|---|
| 每800个小时 |
|
类型: Champion RC14YC(或同类产品)
气隙:0.76mm
Note: 火花塞通常使用时间较长;但是,只要发动机出现故障,就应取下并检查火花塞。
清洁各个火花塞周围的部位,防止在取出火花塞时杂质落入气缸。
将火花塞电线从火花塞中拉出,将火花塞从气缸盖中取出。
检查侧电极、中心电极和绝缘体的状况,确保没有任何损坏。
Important: 必须更换破裂、污浊、肮脏或其他方面有故障的火花塞。切勿使用钢丝刷喷砂、刮擦或清洗电极,因为砂粒最终会从火花塞中上掉落,进入气缸。结果通常会损坏发动机。
将中心电极与侧电极之间的气隙设置为 0.76mm;请参阅图 29。安装已设定正确气隙、带密封垫片的火花塞,并将火花塞拧紧至 23Nm。如果没有使用扭矩扳手,请牢固拧紧火花塞。

| 维护间隔时间 | 维护程序 |
|---|---|
| 每800个小时 |
|
嵌入式滤芯是燃油管线的一部分。必须更换时,请采用以下程序:
关闭燃油切断阀,拧松滤芯化油器侧的软管夹,然后从滤芯上拔下燃油管线(图 30)。

在滤芯下面放置一个放油盘、拧松剩余的软管夹、然后拆下滤芯。
安装新的滤芯、确保滤芯壳体上的箭头指向油箱外面(朝向化油器)。
将软管夹滑到燃油管线的端头。
将燃油管线推入燃油滤芯,并用软管夹固定。
Note: 确保滤芯侧面的箭头指向化油器。
加利福尼亚州认为电池接柱、接头以及相关配件含有已知的会引发癌症和造成生殖损害的铅或铅混合物、化合物。操作后请洗手。
如果机器需要跳线启动,可使用替代正极电极(位于启动马达线圈上),而不是正极电池电极(图 31)。

保险丝盒(图 32)位于座椅的下面。

| 维护间隔时间 | 维护程序 |
|---|---|
| 每25个小时 |
|
必须适当保持电池的电解液液位,并保持电池顶部的清洁。如果机器存放在温度极高的地方,电池电量减弱的速度要比温度较凉爽的地方快。
电池电解液含有硫酸,这是致命的有毒物质且可能导致严重灼伤。
切勿误饮电解液。
避免接触皮肤、眼睛或衣物。佩戴护目镜保护眼睛,佩戴橡胶手套保护双手。
为电池加注电解液后,始终用清水冲洗皮肤。
定期用蘸有氨水或苏打溶液的刷子清洁电池顶部,保持电池顶部洁净。清洁后、用水冲洗顶部表面。清洁时切勿取下加液盖。
电池电缆必须固定在端子上,电气接触良好。
电池接线不正确会损坏机器,而且接线之间会产生火花。火花可引发电池气体爆炸,从而造成人身伤害。
应始终先断开负极(黑色)电池线,然后才能断开正极(红色)接线。
应始终先连接正极(红色)电池线,然后才能连接负极(黑色)接线。
如果电池端子被腐蚀、应断开电缆、首先断开负极 (-) 电缆,单独刮擦各个夹子和端子。连接电缆、首先连接正极 (+) 电缆、在端子上涂抹凡士林。
每运行 25 个小时或每 30 天(如果机器在存放)检查一次电解液液位。
使用蒸馏水或脱盐水维持电池液位。切勿将电解液添加到电池的加注线以上。
如果机器在驱动踏板处于空档位置时移动,则必须调节牵引凸轮。
将机器停在水平地面上并关闭发动机。
拧掉将中央护罩固定到机器的 2 个螺丝,然后取下护罩(图 33)。

将前轮和 1 个后轮抬离地面,在机架下放支撑块。
必须将前轮和 1 个后轮抬离地面,否则机器在调节过程中会发生移动。这可能会导致机器跌落,对机器下面的人造成伤害。
确保机器获得充分支撑,前轮和 1 个后轮被抬离地面。
拧松牵引调节凸轮上的锁紧螺母(图 34)。

对牵引调节凸轮进行最终调节时,发动机必须处于运行状态。接触到活动部件或热表面可能导致人身伤害。
确保手、脚、面部及其他身体部位远离旋转部件、消声器和其他热表面。
启动发动机并朝两个方向旋转凸轮六角螺栓(图 34),以确定中档范围的中点。
拧紧固定该调整的锁紧螺母。
停止发动机。
安装中央护罩。
拆下顶车架,把机器降低到地面上。
试驾机器,确保当驱动踏板处于空档位置时,机器不会发生移动。
调节驱动系统的空档;请参阅将牵引驱动装置调至空档。
活动一下泵杆,确保所有部件都可以自由运转,且安装稳固。
调节螺丝,直至气隙为 0.8~2.3mm;请参阅图 34。
检查操作是否正常。
驱动踏板的最大行驶和后退速度在出厂时已调节好,但如果踏板在泵杆达到全行程之前达到全行程或需要减慢行驶速度,则可能需要进行调整。
要获得最大行驶速度,请踩下驱动踏板。如果踏板在泵杆达到全行程之前接触到限位器(图 35),请调节:

将机器停放在水平地面上,关闭发动机,并接合手刹。
拧松固定踏板限位器的螺母。
拧紧踏板限位器,直至其不与驱动踏板接触。
继续对驱动踏板施加轻微力量并调节踏板限位器,使它接触到踏板杆或使踏板杆与限位器之间达到 2.5mm 的空隙。
拧紧螺母。
将机器停放在水平地面上,关闭发动机,并接合手刹。
拧松固定踏板限位器的螺母。
拧松踏板限位器,直至达到所需的行驶速度。
拧紧固定踏板限位器的螺母。
Important: 调节发动机调速器的速度控制之前,首先确保油门和阻风门控制调节适当。
在调节发动机调速器的速度控制时,发动机必须运行。接触到活动部件或热表面可能导致人身伤害。
在执行此程序之前,确保驱动踏板位于“空档”位置并接合手刹。
确保手脚、衣服和其他身体部位远离任何旋转部件、消声器和其他热表面。
Note: 要调节低怠速,请使用所有以下步骤。如果只有高怠速需要调节,请直接转至步骤 5。
| 维护间隔时间 | 维护程序 |
|---|---|
| 初次使用8小时后 |
|
| 每400个小时 |
|
使用真品 Toro 滤芯进行更换。
将机器停在水平地面上并关闭发动机。
拧掉将中央护罩固定到机器的 2 个螺丝,然后取下护罩(图 40)。

在位于机器左侧的液压油滤芯下方放置一个放油盘(图 41)。

清洁滤芯安装区域的周围,并在滤芯下面放置一个放油盘。缓慢旋松液压油滤芯,但不要卸下,直到油流过垫片并从滤芯侧面滴下。
Note: 如果机器配备了远程液压套件,为了排出液压油,可将吸油管从泵上拔下。
当油流动缓慢时,拆下滤芯。
用液压油润滑更换滤芯的密封垫片,并用手旋转直到垫片接触到滤芯头。然后再旋转 3/4 圈上紧。
Note: 现在,滤芯应该密封好了。
为液压油箱添加液压油,直到油位达到量油尺的颈缩区域。切勿将油箱加得过满。请参阅检查液压油油位。
启动和运行发动机。操作提升油缸,直至它可以自由伸缩,且车轮可以前后运动。
停止发动机,检查油箱中的液压油油位,必要时添加液压油。
检查所有连接是否存在泄漏情况。
安装中央护罩。
妥善处置废油。
| 维护间隔时间 | 维护程序 |
|---|---|
| 在每次使用之前或每日 |
|
每日检查液压管线和软管是否有泄漏、管线扭结、支撑架松脱、磨损、接头松开、日久老化及化学变质的情况。操作之前请执行所有必需的修理。
压力下泄漏的液压油可穿透皮肤,造成伤害。
在对液压系统施加压力之前,请确保所有液压油软管和管线均处于良好状态,且所有液压连接和接头均紧固到位。
请确保身体和双手远离喷射高压液压油的针孔泄漏点或喷嘴。
使用纸板或纸张找出液压泄漏点。
在对液压系统执行任何工作之前,请先安全释放液压系统中的所有压力。
如果液压油穿透皮肤,请立即就医。
在液压组件维修或更换后,请更换液压油滤芯并为液压系统补油。
在为液压系统补油时,应确保液压油箱和滤芯始终装满油。
将机器停在水平地面上并关闭发动机。
拧掉将中央护罩固定到机器的 2 个螺丝,然后取下护罩(图 42)。

将前轮和 1 个后轮抬离地面,在机架下放支撑块。
必须将前轮和 1 个后轮抬离地面,否则机器在调节过程中会发生移动。这可能会导致机器跌落,对机器下面的人造成伤害。
确保机器获充分支撑,前轮和 1 个后轮被抬离地面。
启动发动机并设置油门,使发动机能够以约 1800rpm 的转速运行。
操作提升阀杆,让提升油缸杆移入移出几次。如果油缸杆在 10 到 15 秒后没有移动,或者如果泵发出异常声音,请立即关闭发动机并确定原因或问题。检查是否存在以下情况:
滤芯或吸油管松动
泵上的连接器松动或出现故障
吸油管被堵塞
补油泄压阀故障
补油泵故障
如果油缸在 10 至 15 秒钟内发生移动 ,请转至步骤 6。
向前和向后踩动驱动踏板。离开地面的车轮应向正确的方向旋转。
如果车轮的旋转方向错误,请停止发动机,从泵的后面拔出管线,并掉转位置。
如果车轮的旋转方向正确,请停止发动机,并调节弹簧调节销锁紧螺母(图 43)。调节驱动空档位置;请参阅将牵引驱动装置调至空档。

检查驱动联锁开关的调节;请参阅调节牵引联锁开关。
安装中央护罩。
彻底清洁机器、附件和发动机。
检查轮胎气压。
请检查所有紧固件看有无松动;必要时请上紧。
为所有黄油嘴和枢轴添加润滑脂或上油。擦除任何多余的润滑脂。
用砂纸轻轻打磨划伤、碎裂或生锈的漆面、并补漆。
按照以下方式维护电池和电缆:
拆下电池电极上的电池端子。
用钢丝刷和小苏打溶液清洁电池、端子和电极。
为电缆端子和电池电极涂抹上 Grafo 112X 表面润滑脂(Toro 零件号:505-47)或凡士林,防止腐蚀。
每 60 天为电池缓慢充电 24 小时,防止电池出现铅硫化现象。
Note: 充满电的电池比重为 1.250。
Note: 将电池存放在凉爽的环境中,以免电池中的电量快速损耗。为了防止电池冻结,请确保它已充满电。