| Servisní interval | Postup při údržbě |
|---|---|
| Po prvních 20 hodinách |
|
| Při každém použití nebo denně |
|
Tento stroj je užitkové zařízení se sedačkou řidiče, které je určeno k použití najímanými profesionálními pracovníky pro komerční účely. Sloužit by měl především k úpravě písečných bunkrů na udržovaných golfových hřištích a komerčních pozemcích.
Přečtěte si pečlivě následující informace. Dozvíte se, jak správně výrobek používat a jak jej udržovat a jak zabránit poškození výrobku a úrazu při práci s ním. Za řádnou a bezpečnou obsluhu výrobku nesete odpovědnost vy.
Na adrese www.Toro.com můžete společnost Toro přímo požádat o poskytnutí informací o bezpečnosti výrobku, podkladů pro zaškolení obsluhy a informací o příslušenství, vyhledat prodejce výrobků Toro nebo zaregistrovat svůj výrobek.
Kdykoli budete potřebovat servis, originální náhradní díly Toro nebo další informace, kontaktujte autorizované servisní středisko nebo centrum zákaznických služeb Toro. Připravte si informace o názvu modelu a sériové číslo. Tato čísla jsou vyražena na štítku upevněném k levé liště rámu. Tyto údaje zapište do následujícího pole.
Tato příručka upozorňuje na potenciální rizika a obsahuje bezpečnostní sdělení s výstražným symbolem (Obrázek 1), který signalizuje nebezpečí vážného zranění nebo smrti v případě nedodržování doporučených bezpečnostních opatření.

Ke zdůraznění informací se v této příručce používají dva výrazy. Důležité upozorňuje na speciální technické informace a Poznámka zdůrazňuje obecné informace, které zasluhují zvláštní pozornost.
Tento výrobek splňuje všechny relevantní směrnice Evropské unie. Podrobné informace naleznete v Prohlášení o shodě k tomuto výrobku.
Použití nebo provoz motoru v zalesněných, křovinatých nebo travnatých místech bez řádně funkčního a udržovaného lapače jisker (jak je uvedeno v oddílu 4442) nebo motoru, který není vhodným způsobem zkonstruován, vybaven a udržován k zajištění prevence vzniku požáru, je porušením oddílu 4442 a 4443 zákona o veřejných zdrojích státu Kalifornie.
Tento systém jiskrového zapalování vyhovuje kanadskému předpisu ICES-002
Přiložená uživatelská příručka k motoru obsahuje informace o předpisech pro ochranu životního prostředí vydaných organizacemi EPA (US Environmental Protection Agency) a Řízení kontroly emisí státu Kalifornie (California Emission Control Regulation) a týkajících se emisních systémů, údržby a záruky. Náhradní uživatelskou příručku k motoru je možné objednat u výrobce motoru.
CALIFORNIA
Důležité upozornění, poučka 65
Výfukové plyny tohoto výrobku obsahují chemikálie, které podle znalostí státu Kalifornie mohou způsobit rakovinu, vrozené vady a jiná poškození spojená s reprodukčním systémem.
Pro zvýšení tahového výkonu lze na přední část stroje přidat sadu závaží 100-6442.
Note: Pokud je stroj vybaven předním zvedákem nebo pluhem, sadu závaží nelze kvůli omezenému prostoru namontovat.
Nesprávné používání
nebo údržba tohoto stroje mohou vést ke zranění.Z důvodu snížení rizika zranění
dodržujte tyto bezpečnostní pokyny a vždy
věnujte pozornost výstražnému symbolu
, který
znamená Upozornění, Výstrahu nebo Nebezpečí – pokyny k zajištění osobní
bezpečnosti. Nedodržení tohoto pokynu
může mít za následek zranění
osob nebo jejich usmrcení.
Pečlivě si přečtěte provozní příručku a další školicí materiály. Seznamte se s ovládáním, bezpečnostními symboly a řádným používáním zařízení.
Pokud obsluha či mechanici nerozumí jazyku této provozní příručky, majitel musí zajistit vysvětlení tohoto materiálu.
Nikdy nedovolte, aby stroj používaly či opravovaly děti nebo osoby, které nejsou obeznámeny s těmito pokyny. Místní předpisy mohou určovat věkovou hranici obsluhy.
Stroj nepoužívejte, jsou-li nablízku jiné osoby, zejména děti, nebo zvířata.
Nepřevážejte další osoby.
Všichni řidiči a mechanici musí mít k dispozici odborné a praktické pokyny. Za zaškolení uživatelů odpovídá majitel. Takové pokyny musí zdůrazňovat:
potřebu zvýšené pečlivosti a soustředění při práci na strojích obsluhovaných řidičem;
skutečnost, že stroj obsluhovaný řidičem, který začal klouzat po svahu, nikdy nelze dostat zpět pod kontrolu použitím brzd. Hlavními důvody ztráty kontroly nad strojem v takových případech jsou:
nedostatečný záběr kol;
příliš rychlý pojezd stroje;
nepřiměřené brzdění;
použití typu stroje, který není pro danou práci vhodný;
nedostatečné respektování vlivu stavu povrchu, zejména prudkosti stoupání;
nesprávné zavěšení nářadí a rozmístění zátěže na stroji.
Vlastník nebo uživatel nese odpovědnost za nehody nebo zranění osob a jejich prevenci, stejně jako za případné poškození majetku.
Používejte vhodný oděv, včetně ochrany zraku, pevné protiskluzové obuvi a chráničů sluchu. Svažte si dlouhé vlasy. Nenoste šperky.
Prozkoumáním terénu určete, jaké příslušenství a přídavná zařízení je třeba použít pro správné a bezpečné provedení práce. Používejte jen příslušenství a přídavná zařízení schválená výrobcem.
Zkontrolujte, zda jsou namontovány kontrolní prvky přítomnosti obsluhy, bezpečnostní spínače a ochranné kryty a zda správně fungují. Stroj nepoužívejte, pokud tyto prvky nefungují správně.
Abyste se vyhnuli zranění nebo poškození majetku, při manipulaci s benzínem buďte obzvláště opatrní. Benzín je vysoce hořlavý a jeho výpary jsou výbušné.
Vždy uhaste cigarety, doutníky, dýmky a ostatní zdroje vznícení.
Používejte jen schválený kanystr.
Nikdy nesundávejte uzávěr nádrže ani nedoplňujte palivo při spuštěném motoru.
Před doplňováním paliva nechejte motor vychladnout.
Nikdy nedoplňujte palivo do stroje uvnitř budov.
Nikdy neskladujte stroj nebo nádobu s palivem v blízkosti otevřeného ohně, zdroje jisker nebo tepla, například ohřívače vody a jiných zařízení.
Nikdy nádoby neplňte ve voze nebo na přívěsu či korbě automobilu s plastovým povrchem. Před tankováním vždy pokládejte nádoby na palivo na zem, stranou od vozidla.
Stroj vyložte z korby nebo přívěsu na zem a palivo doplňte na zemi. Jestliže to není možné, doplňte palivo do takového stroje z přenosného kanystru, nikoliv plnicí pistolí.
Dotýkejte se plnicí pistolí obruby palivové nádrže nebo hrdla kanystru po celou dobu až do úplného načerpání paliva. Nezamykejte pistoli v otevřené poloze.
Pokud si palivem potřísníte oděv, okamžitě se převlečte.
Palivovou nádrž nikdy nepřeplňujte.
Nasaďte uzávěr nádrže zpět a pevně jej utáhněte.
Nenechávejte běžet motor v uzavřeném prostoru, kde se může hromadit nebezpečný oxid uhelnatý nebo jiné výfukové plyny.
Stroj používejte pouze za denního světla nebo při vhodném umělém osvětlení.
Než se pokusíte spustit motor, vypněte veškeré příslušenství, přesuňte řadicí páku do neutrální polohy a zatáhněte parkovací brzdu.
Nepřibližujte ruce nebo nohy do blízkosti rotujících částí nebo pod ně.
Obsluha vozidla vyžaduje pozornost. Abyste zabránili převrácení nebo ztrátě kontroly:
Dávejte pozor na díry a jiná skrytá nebezpečí.
Při práci se strojem na strmém svahu dbejte zvýšené opatrnosti. Při ostrém zatáčení a při zatáčení na svahu snižte rychlost.
Vyhýbejte se prudkým zastavením a rozjezdům. Při jízdě vzad nepřeřazujte prudce na plný vchod vpřed, aniž byste stroj nejdříve zcela zastavili.
Před couváním se ohlédněte a ujistěte se, že za strojem nikdo nestojí.
Při přejíždění silnic nebo v jejich blízkosti dávejte pozor na provoz. Vždy dejte přednost jiným vozidlům.
Pokud je na stroji namontována doplňková tyč tažného zařízení (díl 110-1375), informace o maximální hmotnosti závěsu najdete v provozní příručce k tomuto příslušenství.
Buďte opatrní při tažení nákladu anebo používání těžkého nářadí.
Používejte pouze schválené závěsné body.
Omezte zátěž tak, abyste ji mohli bezpečně zvládnout.
Při jízdě prudce nezatáčejte. Při couvání dbejte zvýšené opatrnosti.
Při přejíždění silnic nebo v jejich blízkosti dávejte pozor na provoz.
Nikdy nepoužívejte stroj s poškozenými ochrannými kryty, štíty nebo bez bezpečnostních ochranných zařízení. Zkontrolujte, zda jsou všechny ochranné spínače připevněny, náležitě seřízeny a řádně fungují.
Neměňte nastavení regulátoru motoru a nepřekračujte normální otáčky motoru. Provoz motoru při nadměrných otáčkách může zvýšit riziko zranění.
Před opuštěním místa obsluhy:
zastavte na rovném povrchu;
uvolněte pedál ovládání pojezdu a spusťte příslušenství;
zajistěte stroj parkovací brzdou;
zastavte motor a vytáhněte klíček ze zapalování.
Při přepravě stroje a vždy, když stroj nepoužíváte, vyřaďte pohon přídavných zařízení.
Zastavte motor a vyřaďte pohon přídavných zařízení:
před doplňováním paliva;
budete-li provádět kontrolu stroje, čistit jej či na něm jinak pracovat;
po nárazu na cizí předmět nebo při výskytu abnormálních vibrací. Zkontrolujte, zda nedošlo k poškození stroje, a před spuštěním motoru a uvedením stroje do provozu proveďte nezbytnou opravu.
Při doběhu motoru uberte plyn, a jestliže je motor vybaven uzavíracím ventilem, po skončení činnosti přívod paliva uzavřete.
Před couváním se podívejte dozadu a ověřte, že je požadovaná dráha volná.
Při zatáčení a jízdě přes silnice nebo chodníky zpomalte a buďte opatrní.
Stroj neobsluhujte, jste-li nemocní, unaveni nebo pod vlivem alkoholu nebo drog.
Blesk může způsobit vážné zranění nebo smrt. Pokud vidíte, jak se blýská, nebo slyšíte hřmění, stroj nepoužívejte a vyhledejte úkryt.
Při nakládání a vykládání stroje z přepravního vozidla buďte opatrní.
Když se budete blížit k nepřehledným zatáčkám, keřům, stromům či jiným překážkám zakrývajícím výhled, buďte opatrní.
Všechny matice, svorníky a šrouby musejí být dotažené, aby zařízení bylo v bezpečném provozním stavu.
Zařízení s palivem v nádrži nikdy neskladujte uvnitř budov, kde výpary paliva mohou přijít do styku s otevřeným plamenem nebo jiskrou.
Před uskladněním v uzavřeném prostoru nechte vychladnout motor.
Kvůli snížení nebezpečí požáru je zapotřebí z motoru, tlumiče výfuku, prostoru pro baterii a prostoru palivové nádrže odstraňovat zbytky trávy, listí a přebytečného maziva.
Všechny díly udržujte v bezvadném provozním stavu a všechny mechanické části a hydraulické spoje správně utažené. Vyměňte všechny opotřebené nebo poškozené součásti a štítky.
Palivovou nádrž vyprazdňujte venku, nikoli uvnitř budov.
Při seřizování stroje dávejte pozor, aby vám prsty neuvízly mezi pohybujícími se součástmi a pevnými součástmi stroje.
Deaktivujte veškeré pohony, spusťte přídavné zařízení dolů, aktivujte parkovací brzdu, zastavte motor a vytáhněte klíček ze zapalování. Před nastavením, čištěním nebo opravou počkejte, až se veškeré pohyblivé části zastaví.
K podepření dílů použijte heverované stojany.
Opatrně uvolněte tlak z dílů s uloženou energií.
Před prováděním jakýchkoli oprav odpojte baterii a vymontujte zapalovací svíčku. Nejprve odpojte záporný konektor a potom kladný. Při opětovném zapojování připojte jako první kladný kabel a jako poslední kabel záporný.
Nepřibližujte ruce či nohy k pohyblivým dílům. Je-li to možné, neprovádějte nastavení se spuštěným motorem.
Dobíjejte akumulátory v dobře větraném prostoru a v dostatečné vzdálenosti od zdrojů jiskření nebo ohně. Před připojením nebo odpojením nabíječky od akumulátoru nejprve odpojte nabíječku od zdroje. Noste ochranný oděv a používejte izolované nástroje.
Před natlakováním soustavy zkontrolujte těsnost všech spojek hydraulického potrubí a bezvadný stav všech hydraulických hadic a potrubí.
Nepřibližujte tělo a ruce k netěsným otvorům nebo tryskám, ze kterých uniká hydraulická kapalina pod vysokým tlakem. K vyhledání těchto netěsností použijte papír nebo karton, nikoli ruce. Hydraulická kapalina unikající pod vysokým tlakem má dostatečnou sílu na to, aby pronikla kůží a způsobila vážné zranění. Pokud se kapalina dostane do kůže, vyhledejte okamžitě lékařskou pomoc.
Před prováděním jakýchkoli prací na hydraulické soustavě nebo před jejím odpojením musí být tlak v soustavě uvolněn zastavením motoru a spuštěním příslušenství na zem.
Pravidelně kontrolujte těsnost a opotřebení veškerého palivového potrubí. Podle potřeby je utáhněte nebo opravte.
Pokud při seřizování musí běžet motor, nepřibližujte ruce, nohy, žádné jiné části těla ani oděv k žacím jednotkám, příslušenství a jakýmkoli pohybujícím se součástem, zejména k mřížce na straně motoru. Všechny osoby musí být v bezpečné vzdálenosti od stroje.
Z důvodu zajištění bezpečnosti a přesnosti si u autorizovaného distributora Toro nechejte zkontrolovat maximální otáčky motoru pomocí otáčkoměru.
Pokud potřebujete rozsáhlejší opravu nebo pomoc, obraťte se na autorizovaného prodejce společnosti Toro.
K zajištění optimální výkonnosti a dodržení požadavků na bezpečnost stroje je nutné používat pouze originální náhradní díly a příslušenství společnosti Toro. Náhradní díly a příslušenství jiných výrobců mohou být nebezpečné a jejich použití může mít za následek zneplatnění záruky.
Při nakládání a vykládání stroje z přepravního vozidla buďte opatrní.
Při nakládání stroje na přívěs nebo nákladní automobil používejte rampy plné šíře.
Stroj bezpečně upevněte pomocí popruhů, řetězů, lan nebo provazů. Přední i zadní popruhy by měly směřovat dolů a směrem od stroje.
Garantovaná hladina akustického výkonu u tohoto zařízení činí 97 dBA s odchylkou (K) 1 dBA.
Hladina akustického výkonu byla stanovena v souladu s postupy uvedenými v normě ISO 11094.
Hladina akustického tlaku u tohoto zařízení v blízkosti ucha obsluhy činí 83 dBA s odchylkou (K) 1 dBA.
Hladina akustického tlaku byla stanovena v souladu s postupy uvedenými v normě EN ISO 11201.
Používejte ochranu sluchu.
Vibrace rukou a paží
Naměřená úroveň vibrací u pravé ruky = 0.27 m/s2
Naměřená úroveň vibrací u levé ruky = 0.29 m/s2
Přípustná odchylka (K) = 0,5 m/s2
Naměřené hodnoty byly stanoveny v souladu s postupy uvedenými v normě EN 1032.
Celé tělo
Naměřená hladina vibrací = 0,5 m/s2
Přípustná odchylka (K) = 0,5 m/s2
Naměřené hodnoty byly stanoveny v souladu s postupy uvedenými v normě EN 1032.
![]() |
Bezpečnostní štítky a pokyny jsou umístěny na viditelném místě v blízkosti každého prostoru představujícího potenciální nebezpečí. V případě ztráty nebo poškození původní nálepky nahraďte nálepku novou. |







Note: Levou a pravou stranu stroje určete vzhledem k běžné provozní poloze.
Note: Odstraňte a zlikvidujte všechny přepravní držáky a upevňovací prvky.
Díly potřebné k provedení tohoto kroku:
| Volant | 1 |
| Pěnový prstenec | 1 |
| Podložka | 1 |
| Pojistná matice | 1 |
| Kryt volantu | 1 |
Otočte přední kolo tak, aby směřovalo přímo dopředu.
Nasaďte pěnový prstenec menším koncem dopředu na hřídel volantu (Obrázek 2).

Nasaďte volant na hřídel volantu (Obrázek 2).
Upevněte volant k hřídeli volantu pomocí podložky a pojistné matice (Obrázek 2).
Matici utáhněte momentem 27–35 N·m.
Přitlačením nasaďte kryt volantu do původní polohy na volant (Obrázek 2).
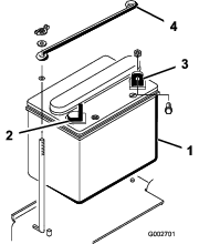
Demontujte 2 křídlaté matice a podložky upevňující horní přídržný prvek baterie k bočním přídržným prvkům (Obrázek 3). Odstraňte horní přídržný prvek baterie a baterii vyjměte.

Díly potřebné k provedení tohoto kroku:
| Tekutý elektrolyt, specifická hustota 1,260 (není dodáván se strojem) | – |
Póly akumulátoru, svorky a související příslušenství obsahují olovo a sloučeniny olova, což jsou chemické látky, které jsou ve státě Kalifornie známé jako látky způsobující rakovinu a poškozující reprodukční systém. Po manipulaci s akumulátorem si umyjte ruce.
Pokud není baterie naplněna elektrolytem nebo aktivována, zakupte tekutý elektrolyt se specifickou hustotou 1,260 od místního prodejce baterií a baterii naplňte.
Elektrolyt v baterii obsahuje kyselinu sírovou, která je smrtelně jedovatá a může způsobit velmi vážné popáleniny.
Nepožívejte elektrolyt a dbejte na to, aby nepřišel do styku s pokožkou a zrakem a nepotřísnil oděv. Chraňte si oči brýlemi a ruce gumovými rukavicemi.
Akumulátor doplňujte na místě, kde je za všech okolností k dispozici čistá voda pro opláchnutí pokožky.
Sejměte uzávěry plnicího otvoru z baterie a pomalu naplňte jednotlivé články, dokud elektrolyt nedosáhne k rysce naplnění.
Osaďte zpět plnicí uzávěry a k pólům baterie připojte nabíječku dodávající proud 3–4 A. Baterii nabíjejte proudem 3–4 A po dobu 4 až 8 hodin.
Při nabíjení akumulátoru vznikají plyny, které mohou explodovat.
V blízkosti akumulátoru nikdy nekuřte a neuchovávejte akumulátor v blízkosti jisker a otevřeného ohně.
Jakmile je baterie nabitá, odpojte nabíječku z elektrické zásuvky a od pólů baterie. Nechte baterii v klidu po dobu 5 až 10 minut.
Vyjměte uzávěry plnicích otvorů.
Pomalu doplňte elektrolyt do každého článku po rysku naplnění.
Important: Baterii nepřeplňujte. Elektrolyt může přetéct na jiné součásti stroje a způsobit vážnou korozi a znehodnocení zařízení.
Osaďte uzávěry plnicích otvorů.
Díly potřebné k provedení tohoto kroku:
| Šroub (1/4 x 5/8 in) | 2 |
| Pojistná matice (1/4 in) | 2 |
Uložte baterii na místo záporným vývodem směrem k zadní straně stroje (Obrázek 4).

Nesprávné vedení kabelů akumulátoru by mohlo způsobit poškození vozidla a kabely by mohly zapříčinit jiskření. Jiskry by mohly zapříčinit explozi plynů z akumulátoru a následné zranění osob.
Vždy odpojujte nejprve záporný (černý) kabel akumulátoru a teprve potom kladný (červený) kabel akumulátoru.
Vždy připojujte nejdříve kladný (červený) kabel akumulátoru a až potom záporný (černý) kabel.
Svorky baterie a kovové nástroje mohou způsobit zkrat při kontaktu s kovovými součástmi, a tím způsobit jiskření. Jiskry by mohly zapříčinit explozi plynů z baterie a následné poranění osob.
Při vyjímání nebo montáži akumulátoru dbejte na to, aby se vývody akumulátoru nedotýkaly žádných kovových částí stroje.
Dejte pozor, abyste kovovým nástrojem nezkratovali vývody akumulátoru proti kovovým částem stroje.
Upevněte kladný kabel (červený) ke kladnému vývodu (+) šroubem (¼ x ⅝ palce) a pojistnou maticí (Obrázek 5).

Upevněte malý černý kabel a záporný kabel (černý) k zápornému (-) vývodu akumulátoru pomocí šroubu (1/4 x 5/8 in) a pojistné matice (1/4 in) (Obrázek 5).
Potřete vývody a montážní prvky vazelínou, aby nedošlo ke korozi.
Nasuňte gumový návlek na kladný (+) vývod, aby nedošlo k případnému zkratu.
Namontujte horní přídržný prvek baterie na boční přídržné prvky a zajistěte jej pomocí podložek a křídlatých matic.
Díly potřebné k provedení tohoto kroku:
| Sady předních závaží podle potřeby | – |
Tento stroj byl vyroben v souladu s normou ANSI B71.4-2012. Při použití příslušenství se strojem je však nutné použít další závaží, aby byly splněny požadavky norem.
Následující tabulka slouží k určení kombinací dalších požadovaných závaží. Díly objednejte u autorizovaného distributora Toro.
| Příslušenství | Další požadované přední závaží | Obj. číslo sady závaží | Popis závaží | Počet |
|---|---|---|---|---|
| Sada Spiker (08755) | 23 kg | 100-6442 | Ploché závaží 8 x 3 kg | 1 |
| Groomer Rahn pro úpravu trávníku | 23 kg | 100-6442 | Ploché závaží 8 x 3 kg | 1 |
| Víceúčelový box QAS | 23 kg | 100-6442 | Ploché závaží 8 x 3 kg | 1 |
Note: Další závaží není požadováno, pokud je stroj vybaven sadou předního hydraulického zvedáku, model 08712.

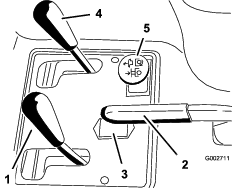
Pedál ovládání pojezdu (Obrázek 7) slouží ke 3 úkonům: pohyb stroje dopředu, pohyb stroje dozadu a zastavení stroje. Při ovládání pojezdu používejte špičku a patu pravé nohy; sešlápnutím horní části pedálu zahájíte jízdu dopředu, sešlápnutím dolní části pedálu zahájíte jízdu dozadu nebo pomůžete k zabrzdění při jízdě vpřed (Obrázek 8). Při zastavení stroje nechte pedál vrátit se do NEUTRáLNí polohy nebo jej přesuňte sami. Při jízdě se strojem vpřed nepokládejte pro své pohodlí patu na pedál zpátečky.


Pojezdová rychlost je přímo závislá na míře sešlápnutí pedálu pojezdu. Maximální rychlosti pojezdu dosáhnete úplným sešlápnutím pedálu, když je škrticí klapka v poloze pro rychlý běh. Chcete-li dosáhnout maximálního výkonu nebo jedete-li do kopce, přemístěte škrticí klapku do polohy pro rychlý běh a sešlápněte mírně pedál, abyste udrželi vysoké otáčky motoru. Když se otáčky motoru začnou snižovat, uvolněte mírně pedál, aby se otáčky zvýšily.
Important: Chcete-li dosáhnout maximálního tažného výkonu, musí být škrticí klapka v poloze pro rychlý běh a pedál ovládání pojezdu pouze lehce sešlápnutý.
Maximální pojezdovou rychlost použijte pouze při přejezdu z jednoho místa na druhé.
Maximální rychlost se nedoporučuje při použití namontovaného nebo vlečeného přídavného zařízení.
Important: Nejezděte dozadu, když je příslušenství v dolní (provozní) poloze, jinak hrozí jeho vážné poškození.
Spínač zapalování (Obrázek 9) sloužící ke spuštění a zastavení motoru má tři polohy: Vypnuto, Zapnuto a Start. Otočením klíčku ve směru hodinových ručiček do polohy Start zapnete motor startéru. Po spuštění motoru klíček uvolněte. Klíček se automaticky přemístí do polohy Zapnuto. Motor vypnete otočením klíčku spínače zapalování proti směru hodinových ručiček do polohy Vypnuto.

Chcete-li nastartovat studený motor, zavřete sytič karburátoru přesunutím páčky sytiče (Obrázek 9) nahoru do zavřené polohy. Po spuštění motoru nastavte sytič tak, aby motor běžel plynule. Jakmile je to možné, otevřete sytič přesunutím páčky dolů do otevřené polohy. Zahřátý motor vyžaduje použití sytiče jen minimálně nebo vůbec.
Ovládací páka škrticí klapky (Obrázek 9) se připojuje k táhlu mezi škrticí klapkou a karburátorem, které ovládá. Tato páčka má 2 polohy: Pomalý běh a Rychlý běh. Otáčky motoru lze přepínat mezi těmito dvěma nastaveními.
Note: Pomocí páčky škrticí klapky nelze motor zastavit.
Chcete-li zvednout příslušenství, zatáhněte páku ovládání zdvihu (Obrázek 10) dozadu. Chcete-li příslušenství spustit dolů, zatlačte páku dopředu. PLOVOUCí polohu nastavíte přesunutím páky do aretované polohy. Jakmile je dosažena požadovaná poloha, uvolněte páku. Páka se vrátí do neutrální polohy.

Note: Stroj je vybaven dvojčinným zvedacím válcem. Za některých provozních podmínek lze na přídavné zařízení vyvinout tlak směrem dolů.
Chcete-li zajistit parkovací brzdu (Obrázek 10), zatáhněte páku parkovací brzdy dozadu. Chcete-li brzdu uvolnit, zatlačte páku dopředu.
Note: K uvolnění parkovací brzdy může být nutné pomalu přesunout pedál pojezdu dopředu a dozadu.
Počitadlo provozních hodin (Obrázek 10) udává celkový počet provozních hodin stroje. Počitadlo provozních hodin začíná načítat po každém otočení klíčem spínače zapalování do ZAPNUTé polohy.
Přesuňte páku na levé straně sedačky (Obrázek 11) dopředu, posuňte sedačku do požadované polohy a uvolněním páky zajistěte sedačku v dané poloze.

Pokud stroj uskladňujete nebo jej přepravujete na přívěsu, zavřete uzavírací ventil paliva (Obrázek 12).

Note: Specifikace a design se mohou bez upozornění změnit.
| Šířka bez příslušenství | 148 cm |
| Šířka se shrnovačem, model 08751 | 191 cm |
| Délka bez příslušenství | 164 cm |
| Výška | 115 cm |
| Rozvor kol | 109 cm |
| Čistá hmotnost Model 08703 Model 08705 | 452 kg461 kg |
Pro stroj je k dispozici řada přídavných zařízení a příslušenství schválených společností Toro, která vylepšují a rozšiřují možnosti stroje. Seznam schválených přídavných zařízení a příslušenství můžete získat u svého autorizovaného prodejce nebo distributora nebo na stránkách www.Toro.com.
Chcete-li co nejlépe chránit svou investici a udržet maximální výkon svého zařízení Toro, spoléhejte se pouze na originální díly společnosti Toro. Pokud jde o spolehlivost, společnost Toro dodává náhradní díly, jež jsou vyrobeny pro přesné technické specifikace našeho zařízení. Chcete-li vsadit na jistotu, používejte originální díly Toro.
Note: Levou a pravou stranu stroje určete vzhledem k běžné provozní poloze.
Pozorně si přečtěte všechny bezpečnostní pokyny a seznamte se se symboly v části věnované bezpečnosti. Tyto informace mohou pomoci zabránit vašemu zranění či zranění okolostojících osob.
Při práci na mokré trávě nebo na strmých svazích může dojít ke klouzání a ztrátě kontroly nad strojem.
Pokud kola přejedou za okraj, hrozí převrácení s následkem vážného zranění, smrti či utopení.
Přečtěte si a dodržujte následující pokyny a varování, jež se týkají ochrany stroje před převrácením.
Chcete-li předejít ztrátě kontroly a možnému převrácení:
Nepoužívejte stroj blízko srázů nebo vodních ploch.
Na svazích snižte rychlost a pracujte se zvýšenou opatrností.
Vyhýbejte se prudkému zatáčení nebo náhlým změnám rychlosti.
Tento stroj je zdrojem hluku a při dlouhodobé práci s ním může dojít ke ztrátě sluchu.
Při práci se strojem používejte ochranu sluchu.
Doporučujeme používat vybavení pro ochranu zraku, sluchu, rukou, nohou a hlavy.

| Servisní interval | Postup při údržbě |
|---|---|
| Po prvních 20 hodinách |
|
| Při každém použití nebo denně |
|
Motor je dodáván s klikovou skříní naplněnou olejem; před prvním spuštěním motoru a vzápětí po něm je však nutné hladinu oleje zkontrolovat.
Kapacita klikové skříně je přibližně 1,66 l včetně filtru.
Používejte vysoce kvalitní motorový olej, který splňuje následující požadavky:
Požadovaná úroveň klasifikace API: SL nebo vyšší
Preferovaný olej: SAE 30 – nad 4 °C
Zaparkujte vozidlo na rovném povrchu.
Vyklopte sedačku dopředu.
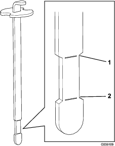
Vytáhněte měrku (Obrázek 14) a otřete ji čistým hadrem.

Zasuňte měrku do trubice a ujistěte se, že je zcela usazena. Vyjměte měrku z trubice a zkontrolujte hladinu oleje. Pokud je hladina oleje nízká, sejměte uzávěr plnicího otvoru oleje z krytu ventilu a doplňte dostatečné množství oleje tak, aby hladina dosahovala ke značce horní meze na měrce.
Important: Hladina oleje musí být mezi značkou horní a dolní meze na olejové měrce. Při přeplnění nebo nedostatečném naplnění motorovým olejem může dojít k poruše motoru.
Pevně osaďte měrku zpět na místo.
Important: Měrka musí být v trubici zcela usazena, aby bylo zajištěno správné utěsnění klikové skříně. Není-li kliková skříň správně utěsněna, hrozí poškození motoru.
Sklopte sedačku dolů.
Important: Hladinu oleje kontrolujte vždy po 8 hodinách provozu nebo každý den. Olej vyměňte poprvé po prvních 20 hodinách provozu. Poté provádějte za normálních podmínek výměnu oleje a filtru po každých 100 hodinách provozu. Pokud je však motor provozován za extrémně prašných podmínek či při velkém znečištění, měňte olej častěji.
Objem palivové nádrže: 25 l
Doporučené palivo:
Nejlepších výsledků dosáhnete, když budete používat pouze čistý, čerstvý (ne starší než 30 dnů) bezolovnatý benzín s oktanovým číslem kolem 87 nebo vyšším (metoda stanovení (R+M)/2).
Etanol: Přijatelná jsou i paliva s až 10 % etanolu nebo 15 % MTBE (metyltercbutyléter). Etanol a MTBE jsou různé látky. Paliva s více než 15 % etanolu (E15) nejsou schválena k použití. Nikdy nepoužívejte paliva obsahující více než 10 % etanolu, například E15 (obsahuje 15 % etanolu), E20 (obsahuje 20 % etanolu) nebo E85 (obsahuje až 85 % etanolu). Použití neschváleného paliva může mít za následek problémy s výkonem nebo poškození motoru, na které se nevztahuje záruka.
Nepoužívejte benzín obsahující metanol.
Neuchovávejte palivo přes zimu v palivové nádrži nebo nádobách na palivo bez použití stabilizátoru paliva.
Nepřidávejte do benzínu olej.
Important: Nepoužívejte jiná aditiva než stabilizační aditivum. Nepoužívejte stabilizátory paliva na bázi alkoholu, například etanolu, metanolu nebo izopropanolu.
Za určitých podmínek je motorový benzin extrémně hořlavý a vysoce výbušný. Požár nebo výbuch způsobený motorovým benzinem může popálit vás i jiné osoby a způsobit škody na majetku.
Palivo doplňujte do nádrže venku na otevřeném prostranství a při studeném motoru. Rozlitý benzin ihned utřete.
Nikdy nedoplňujte palivovou nádrž uvnitř uzavřeného přívěsu.
Neplňte palivovou nádrž až po horní okraj. Doplňujte palivo, dokud jeho hladina v nádrži nesahá 6 až 13 mm pod spodní hranu hrdla palivové nádrže. Tento volný prostor umožní expanzi paliva uvnitř nádrže.
Při manipulaci s benzinem nikdy nekuřte a držte se stranou od otevřeného ohně nebo míst, kde se benzinové výpary mohou vznítit od jiskry.
Benzin skladujte v nádobách schváleného typu a zabraňte přístupu dětí k takto uskladněnému palivu. Nekupujte zásobu benzínu na dobu přesahující 30 dní.
Nepoužívejte stroj bez kompletní výfukové soustavy v bezvadném stavu.
Během tankování může za určitých podmínek v důsledku statické elektřiny vzniknout jiskra, od které se mohou vznítit palivové výpary. Požár nebo výbuch způsobený palivem může popálit vás i jiné osoby a způsobit škody na majetku.
Před tankováním vždy pokládejte nádoby na palivo na zem, stranou od vozidla.
Neplňte nádoby palivem uvnitř vozidla nebo na korbě nákladního vozu nebo návěsu, protože koberce v interiéru nebo plastové obložení korby mohou izolovat kontejner a zpomalit vybití elektrostatického náboje.
Pokud je to možné, sjeďte z nákladního vozidla nebo podvalníku a natankujte zařízení tak, aby jeho kola byla na zemi.
Jestliže to není možné, doplňte palivo do stroje umístěného na nákladním vozidle nebo návěsu z kanystru, nikoli plnicí pistolí.
Pokud je nutné použít plnicí pistoli paliva, dotýkejte se pistolí po celou dobu obruby palivové nádrže nebo hrdla kanystru až do úplného načerpání paliva.
Požití benzínu může přivodit zranění nebo smrt. Dlouhodobé vystavení výparům může způsobit vážné zranění a onemocnění.
Vyhněte se dlouhodobému vdechování výparů.
Nepřibližujte obličej k trysce a palivové nádrži ani k otvoru pro aditiva.
Zabraňte, aby výpary vnikly do očí nebo se dostaly do kontaktu s kůží.
Očistěte oblast kolem uzávěru palivové nádrže (Obrázek 15).
Sejměte uzávěr palivové nádrže.
Nádrž plňte do úrovně asi 25 mm pod horní okraj nádrže (spodní okraj plnicího hrdla). Nepřeplňujte.

Namontujte uzávěr.
Otřete veškeré rozlité palivo, aby nevznikl požár.
Important: Nikdy nepoužívejte metanol, palivo obsahující metanol nebo palivovou směs obsahující více než 10 % etanolu; mohlo by dojít k poškození palivového systému. Nemíchejte do paliva olej.
| Servisní interval | Postup při údržbě |
|---|---|
| Při každém použití nebo denně |
|
Nádrž je při výrobě naplněna přibližně 18,9 litry vysoce kvalitní hydraulické kapaliny. Kontrolu hladiny hydraulického oleje je nejlepší provádět, je-li olej studený. Stroj by měl být v přepravní poloze. Pokud je hladina oleje pod značkou dolní meze na měrce oleje, doplňte olej tak, aby hladina oleje sahala do středu přijatelného rozmezí. Nádrž nepřeplňujte. Pokud je hladina oleje mezi značkou horní a dolní meze, není potřeba olej doplňovat. Zkontrolujte hladinu hydraulické kapaliny před prvním nastartováním motoru a poté každý den.
Jako náhradní kapalina se doporučuje:
| Toro Premium All Season Hydraulic Fluid (je k dispozici v 19litrových nádobách nebo 208litrových sudech; čísla dílů zjistíte v dokumentaci dodávané s díly nebo u svého dodavatele Toro) |
Doporučená hydraulická kapalina: Toro Premium All Season Hydraulic Fluid
Alternativní kapaliny: Není-li k dispozici kapalina Toro, lze použít jiné běžné kapaliny na bázi ropy, pokud splňují následující materiálové vlastnosti a průmyslové specifikace. Ověřte si u prodejce olejů, zda daný olej těmto specifikacím odpovídá.
Note: Společnost Toro nepřebírá žádnou odpovědnost za škody způsobené nevhodnými náhražkami, proto používejte jen výrobky od osvědčených výrobců, kteří zaručují kvalitu svých produktů.
| Vysoký index viskozity / hydraulická kapalina s ochranou proti opotřebení a nízkým bodem tuhnutí, ISO VG 46 | |
| Materiálové vlastnosti: | |
| Viskozita, ASTM D445 | cSt při 40 °C 44 až 48cSt při 100 °C 7,9 až 9,1 |
| Index viskozity ASTM D2270 | 140 nebo vyšší |
| Bod tání, ASTM D97 | -37 °C až -45 °C |
| FZG, stupeň opotřebení | 11 nebo vyšší |
| Obsah vody (nová kapalina): | 500 miliontin (maximum) |
| Oborové specifikace: | |
| Vickers I-286-S, Vickers M-2950-S, Denison HF-0 a Vickers 35 VQ 25 (Eaton ATS373-C) | |
Vhodné hydraulické kapaliny musí mít specifikaci pro mobilní stroje (nikoli pro použití v továrnách), různé hmotnosti a musí obsahovat aditiva proti opotřebení ZnDTP nebo ZDDP (nikoli bezpopelovou kapalinu).
Important: Mnoho hydraulických kapalin je téměř čirých, takže zjišťování úniků může být obtížné. Pro hydraulický olej je k dispozici přísada s červeným barvivem v lahvičkách o objemu 20 ml. Jedna lahvička dostačuje na 15 až 22l hydraulické kapaliny. Opatřete si díl s objednacím číslem 44-2500 od autorizovaného distributora Toro.
Syntetická, biologicky rozložitelná hydraulická kapalina
(je k dispozici v 19litrových nádobách nebo 208litrových sudech; čísla dílů zjistíte v dokumentaci dodávané s díly nebo u svého dodavatele Toro)
Testování této kvalitní syntetické biologicky odbouratelné kapaliny prokázalo, že je vhodná pro tento model stroje Toro. U jiných značek syntetických kapalin může nastat problém s kompatibilitou těsnění; společnost Toro v takovém případě nemůže převzít zodpovědnost za neschválené náhrady.
Note: Tato syntetická kapalina není kompatibilní s dříve prodávanou biologicky odbouratelnou kapalinou Toro. Další informace získáte od distributora společnosti Toro.
Alternativní kapaliny:
Mobil EAL Envirosyn H 46 (USA)
Mobil EAL Hydraulic Oil 46 (mezinárodní)
Odstavte stroj na rovném povrchu, spusťte přídavné zařízení dolů a vypněte motor.
Očistěte oblast kolem uzávěru nádrže hydraulické kapaliny, aby do nádrže nevnikly nečistoty (Obrázek 16).

Sejměte uzávěr z nádrže.
Vytáhněte měrku z plnicího hrdla a otřete ji čistým hadrem.
Zasuňte měrku do plnicího hrdla; poté ji vytáhněte a zkontrolujte hladinu kapaliny.
Note: Hladina musí být mezi značkami horní a dolní meze hladiny (prohloubená část) na měrce (Obrázek 17).

Pokud je hladina nízká, pomalu doplňte nádrž příslušnou hydraulickou kapalinou, dokud hladina nedosáhne do prohloubené části na měrce.
Note: Nádrž nepřeplňujte.
Nasaďte uzávěr nádrže.
Important: Aby nedošlo ke znečištění systému, očistěte před propíchnutím horní stranu nádob s hydraulickou kapalinou. Hubice a trychtýř musí být čisté.
| Servisní interval | Postup při údržbě |
|---|---|
| Při každém použití nebo denně |
|
Před uvedením stroje do provozu zkontrolujte tlak vzduchu v pneumatikách (Obrázek 18). Správný tlak vzduchu v předních a zadních pneumatikách je následující:
Pneumatiky se vzorkem: 0,69 baru
Note: Je-li vyžadován vyšší tahový výkon pro práci s radlicí, snižte tlak na hodnotu 0,55 baru.
Hladké pneumatiky: 0,55 až 0,69 baru

| Servisní interval | Postup při údržbě |
|---|---|
| Po prvních 8 hodinách |
|
| Po každých 100 hodinách provozu |
|
Utáhněte upevňovací matice na utahovací moment 61 až 75 N·m.
Sundejte nohu z pedálu ovládání pojezdu, ujistěte se, že je pedál v NEUTRáLNí poloze, a zatáhněte parkovací brzdu.
Přesuňte páku sytiče dopředu do ZAPNUTé polohy (při startování studeného motoru) a páku škrticí klapky do polohy pro POMALý běh.
Important: Při provozu stroje při teplotách do 0 ℃ nechte stroj před použitím zahřát. Zabráníte tak poškození hydrostatu a okruhu pohonu.
Vložte klíč do zapalování a otočením doprava nastartujte motor. Po spuštění motoru klíček uvolněte.
Note: Nastavte sytič tak, aby motor běžel plynule.
Important: Aby nedošlo k přehřívání startéru, nespínejte startér na dobu delší než 10 sekund. Po 10 sekundách souvislého startování vyčkejte 60 sekund před opětovným sepnutím.
Chcete-li motor zastavit, přesuňte páčku škrticí klapky do polohy pro POMALý běh a otočte klíčkem zapalování do VYPNUTé polohy.
Note: Vytáhněte klíček ze spínače zapalování, aby nedošlo k náhodnému nastartování.
Před odstavením stroje uzavřete uzavírací ventil paliva.
Při provádění kontroly stroje při spuštěném motoru může dojít ke zranění.
Před kontrolou úniku oleje, uvolněných součástí a dalších závad vypněte motor a vyčkejte, až se všechny pohybující se součásti zastaví.
Jsou-li ochranné spínače odpojené nebo poškozené, vozidlo se může za provozu chovat neočekávaně a způsobit zranění.
S ochrannými spínači nemanipulujte.
Denně funkci ochranných spínačů kontrolujte a každý poškozený spínač před použitím vozidla vyměňte.
Účelem bezpečnostního blokovacího systému je zabránit nastartování nebo protáčení motoru, pokud není pedál ovládání pojezdu v NEUTRáLNí poloze. Motor musí rovněž vypnout, pokud je pedál ovládání pojezdu sešlápnut dopředu nebo dozadu a řidič nesedí na sedačce.
Odstavte stroj na volné ploše bez překážek a zajistěte, aby se v blízkosti nevyskytovaly další osoby. Vypněte motor.
Sedněte si na sedačku a zatáhněte parkovací brzdu.
Sešlápněte pedál ovládání pojezdu dopředu a dozadu a zkuste přitom nastartovat motor.
Note: Pokud motor startuje, znamená to možnou závadu bezpečnostního blokování. Závadu okamžitě opravte.Pokud motor nestartuje, znamená to, že systém funguje správně.
Zůstaňte sedět na sedadle, uveďte pedál do NEUTRáLNí polohy, zatáhněte parkovací brzdu a nastartujte motor.
Nadzvedněte se ze sedadla a pomalu sešlápněte pedál ovládání pojezdu.
Note: Motor se musí zastavit během 1 až 3 sekund. V případě nesprávné funkce poruchu odstraňte.
V případě nouze lze stroj vléct na krátkou vzdálenost. Tento postup nicméně nedoporučujeme jako standardní.
Important: Při vlečení nepřekračujte rychlost 1,6 km/h, jinak hrozí nebezpečí poškození hnacího systému. Pokud potřebujete stroj přepravit na vzdálenost větší než 50 m, naložte jej na nákladní automobil nebo přívěs. Při vlečení stroje příliš vysokou rychlostí se pneumatiky mohou zablokovat. Pokud k tomu dojde, přestaňte stroj vléct a vyčkejte, než se stabilizuje tlak v okruhu pojezdu. Poté lze stroj opět vléct pomalou rychlostí.
U nových motorů trvá nějaký čas, než dosáhnou maximálního výkonu. V systémech pohonu je větší tření, jsou-li nové; v důsledku toho je větší i zatížení motoru.
Během prvních 8 hodin provozu nechte stroj zaběhnout.
Jelikož první hodiny provozu jsou klíčové pro budoucí spolehlivost stroje, pozorně sledujte jeho funkce a výkon, abyste rozpoznali a odstranili mírné nedostatky, které by mohly vést k závažným problémům. Během záběhu často kontrolujte, zda u stroje nejsou patrné známky úniku oleje, uvolněné upevňovací prvky nebo jiné závady.
Konkrétní provozní pokyny k příslušenství naleznete v provozní příručce přídavného zařízení.
Vyzkoušejte si jízdu se strojem, protože jeho provozní vlastnosti se liší od jiných užitkových vozidel. Dva aspekty, kterým je při provozu vozidla nutné věnovat pozornost, jsou otáčky převodovky a otáčky motoru.
Chcete-li udržovat přibližně konstantní otáčky motoru, sešlápněte mírně pedál ovládání pojezdu. Tím zajistíte, že motor bude udržovat otáčky v souladu s pojezdovou rychlostí vozidla. Naopak rychlým sešlápnutím pedálu ovládání pojezdu otáčky motoru snížíte; v důsledku toho nebude točivý moment motoru poskytovat dostatečný výkon pro pohyb vozidla. Chcete-li tedy kola pohánět maximálním výkonem, přesuňte škrticí klapku do polohy pro RYCHLý chod a mírně sešlápněte pedál ovládání pojezdu. Minimální pojezdové rychlosti bez zatížení naopak dosáhnete, pokud je škrticí klapka v poloze pro RYCHLý chod a pedál ovládání pojezdu sešlápnete pomalu až na doraz. Vždy je nutné udržovat otáčky motoru patřičně vysoké, aby byl na kola přenášen dostatečný točivý moment.
Provoz stroje vyžaduje vaši plnou pozornost, aby nedošlo k převrácení stroje nebo ztrátě kontroly nad ním.
Při najíždění do písečných bunkrů a výjezdu z nich dbejte zvýšené opatrnosti.
Extrémní opatrnost je nutná v blízkosti příkopů, strží a dalších nebezpečných míst.
Při práci se strojem na strmém svahu dbejte zvýšené opatrnosti.
Při ostrém zatáčení a při zatáčení na svahu snižte rychlost.
Vyhýbejte se prudkým zastavením a rozjezdům.
Při jízdě vzad nepřeřazujte prudce na plný vchod vpřed, aniž byste stroj nejdříve zcela zastavili.
Note: Pokud adaptér příslušenství uvízne v adaptéru hnací jednotky, zasuňte páčidlo nebo šroubovák do uvolňovacího otvoru a díly uvolněte (Obrázek 19).

Note: Levou a pravou stranu stroje určete vzhledem k běžné provozní poloze.
Jestliže ponecháte klíček ve spínači zapalování, může kdokoli spustit motor a způsobit vám nebo okolostojícím osobám vážné zranění.
Před prováděním jakékoli údržby vytáhněte klíček ze spínače zapalování.
| Servisní interval | Postup při údržbě |
|---|---|
| Po prvních 8 hodinách |
|
| Po prvních 20 hodinách |
|
| Při každém použití nebo denně |
|
| Po každých 25 hodinách provozu |
|
| Po každých 100 hodinách provozu |
|
| Po každých 200 hodinách provozu |
|
| Po každých 400 hodinách provozu |
|
| Po každých 800 hodinách provozu |
|
| Po každých 1500 hodinách provozu |
|
Important: Další pokyny k údržbě najdete v provozní příručce k motoru.
Tuto stránku si zkopírujte pro každodenní použití.
| Úkon kontrolní údržby | Týden: | ||||||
|---|---|---|---|---|---|---|---|
| Pondělí | Úterý | Středa | Čtvrtek | Pátek | Sobota | Neděle | |
| Zkontrolujte činnost ochranných spínačů. | |||||||
| Zkontrolujte funkci řízení. | |||||||
| Zkontrolujte hladinu paliva. | |||||||
| Zkontrolujte hladinu motorového oleje. | |||||||
| Zkontrolujte stav vzduchového filtru. | |||||||
| Vyčistěte chladicí žebra na motoru. | |||||||
| Kontrola nezvyklé hlučnosti motoru | |||||||
| Kontrola neobvyklých provozních zvuků | |||||||
| Zkontrolujte hladinu hydraulické kapaliny. | |||||||
| Zkontrolujte, zda nedošlo k poškození hydraulických hadic. | |||||||
| Zkontrolujte, zda nedochází k úniku kapalin. | |||||||
| Zkontrolujte tlak vzduchu v pneumatikách. | |||||||
| Zkontrolujte správnou funkci nástrojů. | |||||||
| Opravte poškozený lak. | |||||||
| Zápis problematických oblastí | ||
| Kontrolu provedl(a): | ||
| Položka | Datum | Informace |
Important: Upevňovací prvky na krytech stroje musí po demontáži zůstat na krytech. Povolte všechny upevňovací prvky na všech krytech o několik otáček, aby kryty byly volné, ale zůstaly na místě. Poté je opět povolte, aby se kryty uvolnily. Tím zabráníte nežádoucímu vyšroubování šroubů z upevňovacích prvků..
Stroj je vybaven maznicemi, které je třeba pravidelně po každých 100 hodinách provozu promazávat univerzálním mazivem č. 2 na bázi lithia.
Promažte následující ložiska a pouzdra:
Ložisko předního kola (1) (Obrázek 22)

Otočný čep pedálu ovládání pojezdu (1) (Obrázek 23)

Zadní závěs (5) (Obrázek 24)

Konec tyče válce řízení (1) (pouze model 08705) (Obrázek 25)

Svislý čep řízení (Obrázek 26)
Note: Zapuštěný upevňovací prvek na svislém čepu řízení (Obrázek 26) vyžaduje použití adaptéru trysky mazací pistole. Opatřete si díl obj. č. Toro 107-1998 od autorizovaného distributora Toro.

| Servisní interval | Postup při údržbě |
|---|---|
| Po každých 100 hodinách provozu |
|
Očistěte maznice tak, aby do ložiska ani pouzdra nemohly proniknout cizí částice.
Naplňte mazivem ložisko nebo pouzdro.
Přebytečné mazivo otřete.
| Servisní interval | Postup při údržbě |
|---|---|
| Po prvních 20 hodinách |
|
| Po každých 100 hodinách provozu |
|
Zaparkujte stroj na rovném povrchu a zastavte motor.
Sejměte vypouštěcí zátku (Obrázek 27) a nechte olej vytéci do vypouštěcí nádoby. Jakmile olej přestane téci, zašroubujte zátku vypouštěcího otvoru.

Demontujte olejový filtr (Obrázek 27).
Těsnění nového filtru lehce potřete čistým olejem.
Našroubujte filtr rukou tak, aby se těsnění dotýkalo adaptéru filtru; poté jej utáhněte o další ½ až ¾ otáčky.
Important: Filtr nadměrně neutahujte.
Doplňte olej do klikové skříně; postupujte podle pokynů v části Kontrola hladiny motorového oleje.
Použitý olej zlikvidujte předepsaným způsobem.
| Servisní interval | Postup při údržbě |
|---|---|
| Po každých 200 hodinách provozu |
|
Zkontrolujte, zda není kryt vzduchového filtru poškozen, což by mohlo způsobit únik vzduchu. Vyměňte všechny poškozené součásti. Zkontrolujte v celém sacím systému, zda se v něm nevyskytují netěsnosti, poškození nebo uvolněné hadicové svorky.
Předčasná výměna vzduchového filtru pouze zvyšuje nebezpečí vniknutí nečistot do motoru v okamžiku demontáže filtru.
Kryt musí být správně usazen a utěsněn s krytem vzduchového filtru.
| Servisní interval | Postup při údržbě |
|---|---|
| Po každých 200 hodinách provozu |
|
Uvolněte západky upevňující kryt vzduchového filtru k pouzdru vzduchového filtru (Obrázek 28).

Sejměte kryt z pláště vzduchového filtru.
Před vyjmutím filtru odstraňte pomocí nízkotlakého vzduchu (čistý a suchý vzduch o tlaku 2,76 baru) větší nahromadění nečistot mezi vnější stranou primárního filtru a nádobou.
Important: Nepoužívejte vysokotlaký vzduch, který by mohl nečistoty protlačit přes filtr do sacího potrubí. Tento postup čištění zabrání vniknutí nečistot do systému sání, je-li primární filtr demontován.
Vyjměte a vyměňte filtr.
Note: Kontrolou těsnicího konce filtru a pláště zjistěte, zda nový filtr nebyl poškozen při přepravě. Nepoužívejte poškozený filtr. Zasuňte nový filtr tlakem na vnější obrubu a usaďte jej v nádobě. Netlačte na pružný střed filtru.
Note: Čištění použité filtrační vložky se nedoporučuje vzhledem k možnému poškození filtračního média.
Očistěte otvor pro vypuzování nečistot ve snímatelném krytu.
Vyjměte z krytu pryžový výtlačný ventil, vyčistěte dutinu a výtlačný ventil nasaďte zpět.
Nasaďte kryt tak, aby gumový výtlačný ventil směřoval dolů, přibližně do polohy mezi 5. a 7. hodinou při pohledu směrem od konce.
Zajistěte západky.
| Servisní interval | Postup při údržbě |
|---|---|
| Po každých 800 hodinách provozu |
|
Typ: Champion RC14YC (nebo odpovídající)
Vzdálenost elektrod: 0,76 mm
Note: Životnost zapalovacích svíček je zpravidla dlouhá. Je však nutné je demontovat a zkontrolovat při každé poruše motoru.
Očistěte okolí každé zapalovací svíčky, aby se po demontáži nedostaly do válce žádné nečistoty.
Odpojte kabely zapalovacích svíček a svíčky vyšroubujte z hlavy válců.
Zkontrolujte stav vnější elektrody, střední elektrody a izolátoru, abyste si byli jisti, že nedošlo k jejich poškození.
Important: Prasklou, zanesenou, znečištěnou nebo jinak vadnou svíčku je nutno vyměnit. Při čištění svíček nepoužívejte tryskání pískem, škrabku ani drátěný kartáč, protože do válce by mohla napadat drť uvolněná ze svíčky. Důsledkem je zpravidla poškození motoru.
Nastavte vzdálenost mezi střední a vnější elektrodou na 0,76 mm, viz Obrázek 29. Správně seřízenou zapalovací svíčku nasaďte společně s těsněním zpět a utáhněte utahovacím momentem 23 N·m. Pokud nepoužijete momentový klíč, utáhněte svíčku pevně.

| Servisní interval | Postup při údržbě |
|---|---|
| Po každých 800 hodinách provozu |
|
Palivový filtr je integrován do palivového potrubí. Jakmile je nutné provést výměnu, postupujte následovně:
Zavřete uzavírací filtr paliva, povolte svorku hadice na straně filtru směrem ke karburátoru a odpojte palivové potrubí od filtru (Obrázek 30).

Umístěte pod filtr vypouštěcí nádobu, povolte zbývající svorku hadice a filtr odstraňte.
Namontujte nový filtr tak, aby šipka na tělese filtru směřovala od palivové nádrže (směrem ke karburátoru).
Nasaďte hadicové svorky na konce palivového potrubí.
Zasuňte hadice do palivového filtru a připevněte je hadicovými svorkami.
Note: Šipka na boku filtru musí směřovat ke karburátoru.
Póly akumulátoru, svorky a související příslušenství obsahují olovo a sloučeniny olova, což jsou chemické látky, které jsou ve státě Kalifornie známé jako látky způsobující rakovinu a poškozující reprodukční systém. Po manipulaci s akumulátorem si umyjte ruce.
Pokud je nutné nastartovat stroj pomocí startovacích kabelů, použijte alternativní kladný vývod (na elektromagnetu startéru) namísto kladného vývodu baterie (Obrázek 31).

Blok pojistek (Obrázek 32) se nachází pod sedačkou.

| Servisní interval | Postup při údržbě |
|---|---|
| Po každých 25 hodinách provozu |
|
Je nutné udržovat správnou hladinu elektrolytu v baterii a uchovávat horní část baterie v čistotě. Pokud odstavujete stroj na místech s extrémně vysokými teplotami, baterie se vybije mnohem rychleji, než pokud je stroj uložen na mírně chladném místě.
Elektrolyt v akumulátoru obsahuje kyselinu sírovou, která je smrtelně jedovatá a může způsobit velmi vážné popáleniny.
Elektrolyt nepijte.
Dejte pozor, aby nepřišel do kontaktu s kůží a oděvem a nevnikl do očí. Chraňte si oči brýlemi a ruce gumovými rukavicemi.
Akumulátor doplňujte na místě, kde je za všech okolností k dispozici čistá voda pro opláchnutí pokožky.
Horní část baterie udržujte v čistotě pravidelným umýváním pomocí kartáče namočeného v roztoku amoniaku nebo jedlé sody. Po čištění opláchněte horní plochu akumulátoru vodou. Během čištění akumulátoru nesundávejte uzávěr plnicího otvoru.
Kabely akumulátoru musí být těsně upevněny ke svorkám, aby byl zajištěn dostatečný elektrický kontakt.
Nesprávné vedení kabelů akumulátoru by mohlo způsobit poškození vozidla a kabely by mohly zapříčinit jiskření. Jiskry by mohly způsobit explozi plynů z akumulátoru a následné zranění osob.
Vždy odpojujte nejprve záporný (černý) kabel akumulátoru a teprve potom kladný (červený) kabel akumulátoru.
Vždy připojujte nejdříve kladný (červený) kabel akumulátoru a až potom záporný (černý) kabel.
Pokud se na svorkách akumulátoru vyskytne koroze, odpojte kabely (záporný kabel (-) nejdříve) a oškrábejte zvlášť svorky a kontakty. Připojte kabely, kladný kabel (+) nejdříve, a potřete svorky vazelínou.
Hladinu elektrolytu kontrolujte v intervalu 25 provozních hodin nebo každých 30 dnů, je-li vozidlo uskladněno.
Udržujte hladinu elektrolytu v článcích pomocí destilované nebo demineralizované vody. Nenaplňujte články nad rysku.
Pokud se stroj pohybuje, když je pedál ovládání pojezdu v neutrální poloze, seřiďte vačkový mechanismus ovládání pojezdu.
Zaparkujte stroj na rovném povrchu a zastavte motor.
Povolte 2 šrouby upevňující prostřední kryt ke stroji a kryt odstraňte (Obrázek 33).

Zvedněte přední kolo a jedno zadní kolo nad zem a podepřete rám pomocí bloků.
Přední kolo a jedno zadní kolo musí být zvednuty nad zem, jinak během seřízení dojde k pohybu stroje. Mohlo by dojít k pádu stroje a zranění osoby pod ním.
Přesvědčte se, zda je stroj správně podepřen a přední a jedno zadní kolo je zdviženo nad zemí.
Povolte pojistnou matici vačkového mechanismu pro seřízení pohonu (Obrázek 34).

Motor musí být spuštěn, abyste mohli provést konečné nastavení vačky pro seřízení pohonu. Kontakt s pohybujícími se součástmi nebo horkým povrchem může způsobit zranění.
Nepřibližujte ruce, nohy, obličej ani jiné části těla k pohybujícím se součástem, výfuku ani jiným horkým povrchům.
Nastartujte motor a otáčením šestihranným koncem vačky (Obrázek 34) v obou směrech určete střední polohu neutrálního pásma.
Zajistěte seřízení utažením pojistné matice.
Vypněte motor.
Nasaďte prostřední kryt.
Odstraňte hevery a spusťte stroj na zem.
Proveďte zkoušku pojezdu stroje a ověřte, zda nedochází k pohybu, když je pedál ovládání pojezdu v neutrální poloze.
Nastavte převodovku na neutrál, viz Seřízení pohonu pojezdu pro neutrální polohu.
Použijte páku čerpadla a ujistěte se, že se všechny součásti pohybují volně a jsou správně usazeny.
Nastavujte šroub, dokud nebude dosažena vzduchová mezera 0,8 až 2,3 mm, viz Obrázek 34.
Zkontrolujte správnou činnost.
Pedál ovládání pojezdu je ve výrobě seřízen na maximální přepravní rychlost a jízdu dozadu, může však být nutné seřízení, pokud pedál dosáhne plného zdvihu dříve, než dojde k plnému zdvihu páky čerpadla, nebo pokud požadujete snížení přepravní rychlosti.
Chcete-li dosáhnout maximální přepravní rychlosti, sešlápněte pedál ovládání pojezdu. Pokud se pedál dotkne dorazu (Obrázek 35) dříve, než páka čerpadla dosáhne plného zdvihu, seřiďte jej:

Zaparkujte stroj na rovném povrchu, vypněte motor a zatáhněte parkovací brzdu.
Povolte matici upevňující doraz pedálu.
Utahujte doraz pedálu, dokud se nepřestane dotýkat pedálu ovládání pojezdu.
Nadále sešlapujte pedál ovládání pojezdu mírným tlakem a seřiďte doraz pedálu tak, aby se jemně dotýkal nebo aby mezi tyčí pedálu a dorazem byla mezera 2,5 mm.
Utáhněte matice.
Zaparkujte stroj na rovném povrchu, vypněte motor a zatáhněte parkovací brzdu.
Povolte matici upevňující doraz pedálu.
Vyšroubujte doraz pedálu, dokud nedosáhnete požadované přepravní rychlosti.
Utáhněte matici upevňující doraz pedálu.
Vodicí desku páky ovládání zdvihu (Obrázek 37) seřiďte v okamžiku, když plovoucí poloha příslušenství nepracuje správně (příslušenství nekopíruje terénní nerovnosti).
Zaparkujte stroj na rovném povrchu, vypněte motor, zatáhněte parkovací brzdu a zablokujte kola.
Odšroubujte 4 šrouby upevňující ovládací panel k rámu (Obrázek 36).

Povolte 2 šrouby, jež zajišťují vodicí desku k blatníku a rámu.

Aby bylo možné seřídit vodicí desku, motor musí být spuštěn. Kontakt s pohybujícími se součástmi nebo horkým povrchem může způsobit zranění.
Nepřibližujte ruce, nohy, obličej ani jiné části těla k pohybujícím se součástem, výfuku ani jiným horkým povrchům.
Spusťte motor.
Když motor běží a páka ovládání zdvihu je v plovoucí poloze, posuňte vodicí desku páky ovládání zdvihu tak, aby bylo možné vysunout a zasunout zvedací válec rukou.
Utažením obou upevňovacích šroubů zajistěte nastavení.
Správná funkce škrticí klapky je závislá na správném seřízení ovladače škrticí klapky. Před seřízením karburátoru zkontrolujte, zda škrticí klapka funguje správně.
Vyklopte sedačku nahoru.
Povolte upínací šroub svorky lanka škrticí klapky, jenž připevňuje lanko k motoru (Obrázek 38).

Přesuňte páku dálkového ovládání škrticí klapky dopředu do polohy pro rychlý běh.
Zatáhněte silně za lanko škrticí klapky, až se zadní strana otočného mechanismu dotkne dorazu (Obrázek 38).
Utáhněte šroub svorky lanka a zkontrolujte nastavení otáček motoru:
Vysoké volnoběžné otáčky: 3 400 ± 50 ot/min
Nízké volnoběžné otáčky: 1 750 ± 100 ot/min
Vyklopte sedačku nahoru.
Povolte upínací šroub svorky lanka sytiče, jenž připevňuje lanko k motoru (Obrázek 38).
Přesuňte páku dálkového ovládání sytiče dopředu do zavřené polohy.
Zatáhněte silně za lanko sytiče (Obrázek 38), až se klapka sytiče zcela uzavře. Poté utáhněte upínací šroub svorky lanka.
Important: Před nastavením otáček regulátoru motoru se přesvědčte, zda jsou správně nastaveny ovládací prvky škrticí klapky a sytiče.
Při seřizování nastavení otáček regulátoru motoru musí motor běžet. Kontakt s pohybujícími se součástmi nebo horkým povrchem může způsobit zranění.
Před prováděním tohoto postupu zkontrolujte, zda je pedál ovládání pojezdu v neutrální poloze, a zatáhněte parkovací brzdu.
Nepřibližujte ruce, nohy, jiné části těla ani oděv k pohybujícím se součástem, výfuku ani jiným horkým povrchům.
Note: Při seřízení nízkých volnoběžných otáček proveďte všechny následující kroky. Pokud chcete seřídit pouze vysoké volnoběžné otáčky, přejděte ke kroku 5.
Spusťte motor a nechte jej běžet na půl plynu po dobu přibližně pěti minut, aby se zahřál.
Přesuňte páčku ovládání škrticí klapky do polohy pro pomalý běh. Posuňte šroub dorazu volnoběžných otáček proti směru hodinových ručiček tak, aby se nedotýkal páčky škrticí klapky.
Ohněte kotvu regulovaných volnoběžných otáček (Obrázek 39) tak, abyste dosáhli volnoběžných otáček 1 725 ± 50 ot./min.
Note: Zkontrolujte otáčky pomocí otáčkoměru.

Posuňte šroub dorazu volnoběžných otáček tak, aby se otáčky zvýšily o 25 až 50 ot./min oproti nastavení volnoběžných otáček v kroku 3.
Note: Koncové volnoběžné otáčky musí být 1 750 ± 100 ot/min.
Přesuňte páčku ovládání škrticí klapky do polohy pro rychlou jízdu.
Ohněte kotvu vysokých volnoběžných otáček (Obrázek 39) tak, abyste dosáhli vysokých otáček 3 400 ± 50 ot/min.
| Servisní interval | Postup při údržbě |
|---|---|
| Po prvních 8 hodinách |
|
| Po každých 400 hodinách provozu |
|
Při výměně použijte originální olejový filtr společnosti Toro.
Zaparkujte stroj na rovném povrchu a zastavte motor.
Povolte 2 šrouby upevňující prostřední kryt ke stroji a kryt odstraňte (Obrázek 40).

Umístěte nádobu pod filtr hydraulické kapaliny, který se nachází na levé straně stroje (Obrázek 41).

Vyčistěte montážní oblast filtru. Umístěte pod filtr nádobu na zachycení oleje. Filtr hydraulického oleje pomalu povolujte, aniž byste jej odstranili, až začne olej vytékat kolem těsnění a stékat okolo filtru.
Note: Pokud je stroj vybaven externí hydraulickou sadou, lze při vypouštění hydraulické kapaliny odpojit sací hadici od čerpadla.
Když průtok kapaliny zeslábne, filtr odstraňte.
Namažte těsnění nového filtru hydraulickou kapalinou a utáhněte jej rukou tak, aby těsnění dosedlo k hlavě filtru. Poté filtr utáhněte o další ¾ otáčky.
Note: Filtr je nyní utěsněný.
Naplňte hydraulickou nádrž hydraulickou kapalinou, až bude hladina dosahovat k zúžené části měrky. Nádrž nepřeplňujte. Viz Kontrola hladiny hydraulické kapaliny.
Nastartujte motor a nechte jej spuštěný. Pohybujte zvedacím válcem tak, aby se vysunul a zasunul a aby došlo k pohybu kol dopředu a dozadu.
Zastavte motor a zkontrolujte hladinu kapaliny v nádrži. Je-li to nutné, kapalinu doplňte.
Zkontrolujte těsnost všech spojení.
Nasaďte prostřední kryt.
Použitý olej zlikvidujte předepsaným způsobem.
| Servisní interval | Postup při údržbě |
|---|---|
| Při každém použití nebo denně |
|
Denně kontrolujte, zda se u hydraulického potrubí a hadic nevyskytují netěsnosti, zlomené potrubí, uvolněné montážní držáky, opotřebení, volné spoje nebo narušení vlivem počasí a chemikálií. Před zahájením provozu proveďte všechny nezbytné opravy.
Hydraulická kapalina unikající pod tlakem může proniknout kůží, a způsobit tak poranění.
Před natlakováním hydraulického systému zkontrolujte bezvadný stav všech hydraulických hadic a potrubí a utažení všech hydraulických spojek a přípojek.
Mějte tělo a ruce v dostatečné vzdálenosti od malých prasklin nebo trysek, ze kterých pod vysokým tlakem uniká hydraulická kapalina.
K nalezení úniků hydraulické kapaliny použijte karton nebo papír.
Před prováděním jakékoli práce na hydraulické soustavě bezpečně uvolněte tlak v této soustavě.
Pokud kapalina pronikne kůží, vyhledejte okamžitě lékařskou pomoc.
Při každé opravě nebo výměně součástí hydraulické soustavy je nutné vyměnit filtr hydraulické kapaliny a naplnit hydraulickou soustavu.
Před plněním hydraulické soustavy musí být hydraulická nádrž a filtr naplněny kapalinou.
Zaparkujte stroj na rovném povrchu a zastavte motor.
Povolte 2 šrouby upevňující prostřední kryt ke stroji a kryt odstraňte (Obrázek 42).

Zvedněte přední kolo a jedno ze zadních kol nad zem a podepřete rám pomocí bloků.
Přední kolo a jedno zadní kolo musí být zvednuty nad zem, jinak během seřízení dojde k pohybu stroje. Mohlo by dojít k pádu stroje a zranění osoby pod ním.
Přesvědčte se, zda je stroj správně podepřen a přední a jedno zadní kolo je zdviženo nad zemí.
Nastartujte motor a nastavte škrticí klapku na otáčky motoru přibližně 1 800 ot./min.
Použijte páku zvedacího ventilu, aby se tyč zvedacího válce několikrát vysunula a zasunula. Pokud se tyč zvedacího válce nepohne do 10 až 15 sekund nebo z čerpadla vycházejí neobvyklé zvuky, vypněte ihned motor a pokuste se zjistit příčinu problému. Zkontrolujte následující možné závady:
povolený filtr nebo sací hadice,
povolená nebo vadná spojka čerpadla,
ucpaná sací hadice,
vadný přetlakový ventil,
vadné plnicí čerpadlo.
Pokud do 10 až 15 sekund dojde k pohybu válce, pokračujte krokem 6.
Použijte pedál ovládání pojezdu pro jízdu dopředu a dozadu. Kola, která jsou zvednutá nad zem, se musí otáčet správným směrem.
Pokud se kola otáčejí nesprávným směrem, zastavte motor, odpojte vedení na zadní straně čerpadla a zaměňte umístění.
Pokud se kola otáčejí správným směrem, zastavte motor a seřiďte pojistnou matici seřizovacího čepu pružiny (Obrázek 43). Nastavte neutrální polohu pojezdu, viz Seřízení pohonu pojezdu pro neutrální polohu.

Zkontrolujte seřízení ochranného spínače pojezdu, viz Seřízení blokovacího spínače pohonu pojezdu.
Nasaďte prostřední kryt.
| Servisní interval | Postup při údržbě |
|---|---|
| Při každém použití nebo denně |
|
Po dokončení činnosti stroj důkladně omyjte pomocí zahradní hadice bez trysky, aby příliš silný proud vody nezpůsobil znečištění a poškození těsnění a ložisek.
Chladicí žebra motoru a oblast sání chladicího vzduchu musí být neustále udržovány v naprosté čistotě.
Important: Čištění olejového chladiče vodou povede k rychlejšímu vzniku koroze a poškození součástí a také ke stlačení nečistot, viz Čištění olejového chladiče.
Po čištění zkontrolujte, zda u stroje není patrný únik hydraulické kapaliny a poškození či opotřebení hydraulických a mechanických součástí.
| Servisní interval | Postup při údržbě |
|---|---|
| Po každých 400 hodinách provozu |
|
Pečlivě očistěte stroj, přídavné zařízení a motor.
Zkontrolujte tlak vzduchu v pneumatikách.
Zkontrolujte, zda nejsou uvolněné upevňovací prvky; podle potřeby je utáhněte.
Namažte nebo potřete olejem všechny maznice a otočné čepy. Přebytečné mazivo otřete.
Lehce přebruste a přelakujte poškrábané, popraskané nebo zkorodované lakované plochy.
Následujícím způsobem proveďte údržbu baterie a kabelů:
Sejměte svorky akumulátoru z vývodů akumulátoru.
Baterii, svorky a vývody očistěte kovovým kartáčem a roztokem jedlé sody.
Na svorky kabelů a vývody baterie naneste tenkou vrstvu maziva Grafo 112X (obj. č. Toro 505-47) nebo vazelíny, abyste zabránili korozi.
Každých 60 dnů baterii pomalu nabíjejte po dobu 24 hodin, aby nedošlo k vylučování síranu olovnatého.
Note: Specifická hustota elektrolytu plně nabité baterie je 1,250.
Note: Uložte baterii v chladném prostředí, aby nedocházelo k jejímu rychlému vybití. Aby nedošlo k zamrznutí akumulátoru, ujistěte se, že je zcela nabitý.
Vyměňte motorový olej a filtr. Viz Výměna motorového oleje a filtru.
Nastartujte motor a nechejte jej běžet přibližně dvě minuty ve volnoběžných otáčkách.
Pečlivě vyčistěte sestavu vzduchového filtru a proveďte jeho údržbu. Viz Údržba vzduchového filtru.
Vstup vzduchového filtru a výstup výfuku utěsněte voděodolnou krycí páskou.
Zkontrolujte uzávěry plnicích otvorů oleje a palivové nádrže a ujistěte se, že jsou pevně nasazeny.