| Onderhoudsinterval | Onderhoudsprocedure |
|---|---|
| Bij elk gebruik of dagelijks |
|
Deze machine is een werkvoertuig dat bedoeld is voor gebruik door professionele bestuurders en voor commerciële toepassingen. De machine is voornamelijk ontworpen voor het bijwerken van bunkers op goed onderhouden golfbanen en sportvelden. Het gebruik van dit product voor andere doeleinden dan het bedoelde gebruik kan gevaarlijk zijn voor u en voor omstanders.
Lees deze informatie zorgvuldig door, zodat u weet hoe u dit product op de juiste wijze moet gebruiken en onderhouden en om letsel en schade aan de machine te voorkomen. U bent verantwoordelijk voor het juiste en veilige gebruik van de machine.
Ga naar www.Toro.com voor documentatie over productveiligheid en bedieningsinstructies, informatie over accessoires, hulp bij het vinden van een dealer of om uw product te registreren.
Als u service, originele Toro onderdelen of aanvullende informatie nodig hebt, kunt u contact opnemen met een erkende servicedealer of met de klantenservice van Toro. U dient hierbij altijd het modelnummer en het serienummer van het product te vermelden. De locatie van het plaatje met het modelnummer en het serienummer van het product is aangegeven op Figuur 1. U kunt de nummers noteren in de ruimte hieronder.
Important: U kunt met uw mobiel apparaat de QR-code (indien aanwezig) op het plaatje met het serienummer scannen om toegang te krijgen tot de garantie, onderdelen en andere productinformatie.

Het waarschuwingssymbool (Figuur 2) dat wordt getoond in deze handleiding en op de machine geeft belangrijke veiligheidsinformatie aan die u moet opvolgen om ongelukken te voorkomen.

Het waarschuwingssymbool wordt weergegeven boven de informatie die u waarschuwt voor onveilige acties of situaties en wordt gevolgd door het woord GEVAAR, WAARSCHUWING, of VOORZICHTIG.
GEVAAR: een direct gevaarlijke situatie die, indien niet voorkomen, altijd zal leiden tot ernstig of fataal letsel.
WAARSCHUWING: een mogelijk gevaarlijke situatie die, indien niet voorkomen, kan leiden tot ernstig of fataal letsel.
VOORZICHTIG: een mogelijk gevaarlijke situatie die, indien niet voorkomen, kan leiden tot licht of middelmatig letsel.
Er worden in deze handleiding nog twee woorden gebruikt om uw aandacht op bijzondere informatie te vestigen. Belangrijk attendeert u op bijzondere technische informatie en Opmerking duidt op algemene informatie die bijzondere aandacht verdient.
Dit product voldoet aan alle relevante Europese richtlijnen. Lees de aparte productspecifieke conformiteitsverklaring voor meer informatie.
Als de machine zonder een goed werkende vonkenvanger, zoals omschreven in sectie 4442, of een goed onderhouden, brandveilige motor wordt gebruikt in een bosgebied of op een met dicht struikgewas of gras begroeid terrein, handelt de bestuurder in strijd met de bepalingen van sectie 4442 of 4443 van de Wet op de Openbare Hulpbronnen (Public Resources Code) van de Staat Californië.
De bij deze motor geleverde Gebruikershandleiding bevat informatie over het Environmental Protection Agency (EPA) in de Verenigde Staten en de California Emission Control Regulation voor emissiesystemen, onderhoud en garantie. Bestel vervangingsonderdelen bij de fabrikant van de motor.
CALIFORNIË
Proposition 65 Waarschuwing
De uitlaatgassen van de motor van dit product bevatten chemische stoffen waarvan bekend is dat ze kanker, geboorteafwijkingen of andere schade aan de voortplantingsorganen kunnen veroorzaken.
Accuklemmen, accupolen en dergelijke onderdelen bevatten lood en loodverbindingen. Van deze stoffen is bekend dat ze kanker en schade aan de voortplantingsorganen veroorzaken. Was altijd uw handen nadat u met deze onderdelen in aanraking bent geweest.
Gebruik van dit product kan leiden tot blootstelling aan chemische stoffen waarvan de Staat Californië weet dat ze kanker, geboorteafwijkingen en andere schade aan het voortplantingssysteem veroorzaken.
Voor extra tractie kan de gewichtenset 100-6442 worden toegevoegd aan de voorzijde van de machine.
Note: Als de machine is uitgerust met een fronthefwerktuig of een ploeg, kan de gewichtenset niet worden gemonteerd omdat de set en het werktuig elkaar fysiek zouden hinderen.
Dit product kan lichamelijk letsel veroorzaken. Volg altijd alle veiligheidsinstructies op om ernstig letsel te voorkomen.
Lees deze Gebruikershandleiding en zorg ervoor dat u deze begrijpt voordat u de motor start. Zorg dat alle gebruikers van dit product weten hoe ze het dienen te gebruiken en dat ze de waarschuwingen begrijpen.
Geef uw volledige aandacht als u de machine gebruikt. Zorg ervoor dat u met niets anders bezig bent waardoor u kunt worden afgeleid, anders kan er letsel ontstaan of kan eigendom worden beschadigd.
Houd handen en voeten uit de buurt van de bewegende onderdelen van de machine.
Gebruik de machine enkel als de nodige schermen en andere beveiligingsmiddelen aanwezig zijn en naar behoren werken.
Blijf met een rijdende machine steeds uit de buurt van omstanders.
Laat geen kinderen het werkgebied betreden. Laat kinderen nooit de machine bedienen.
Laat de machine tot stilstand komen en schakel de motor uit voordat u onderhoudswerkzaamheden uitvoert of brandstof bijtankt.
Onjuist gebruik of onderhoud van deze machine kan letsel tot
gevolg hebben. Om het risico op letsel te verkleinen, dient u zich
aan de volgende veiligheidsinstructies te houden en altijd op het
veiligheidssymbool
te letten, dat betekent Voorzichtig, Waarschuwing
of Gevaar – instructie voor persoonlijke veiligheid. Niet-naleving
van deze instructies kan leiden tot lichamelijk of dodelijk letsel.
U vindt bijkomende veiligheidsinformatie op de betreffende plaatsen in deze handleiding.
![]() |
Veiligheidsstickers en veiligheidsinstructies zijn gemakkelijk zichtbaar voor de bestuurder en bevinden zich bij plaatsen waar gevaar kan ontstaan. Vervang alle beschadigde of ontbrekende stickers. |







Note: Bepaal vanuit de normale bedieningspositie de linker- en rechterzijde van de machine.
Note: Verwijder de transportbeugels en bevestigingen en gooi deze weg.
Benodigde onderdelen voor deze stap:
| Stuurwiel | 1 |
| Schuimrubberen kraag | 1 |
| Ring | 1 |
| Borgmoer | 1 |
| Stuurwielkap | 1 |
Laat het voorwiel recht naar voren wijzen.
Schuif de schuimrubberen kraag op de stuuras (Figuur 3).

Schuif het stuurwiel op de stuuras (Figuur 3).
Zet het stuurwiel vast aan de stuuras met een ring en een borgmoer (Figuur 3).
Draai de borgmoer vast met een torsie van 27 tot 35 N·m.
Druk de stuurwielkap op zijn plaats op het stuurwiel (Figuur 3).
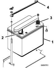
Verwijder de 2 vleugelmoeren en ringen waarmee de bovenste accuhouder is bevestigd aan de accuhouders op de zijkant (Figuur 4). Verwijder de bovenste accuhouder en verwijder de accu.

Benodigde onderdelen voor deze stap:
| Accuzuur met soortelijk gewicht van 1,260 (niet meegeleverd) | – |
Als de accu niet gevuld is met accuzuur of in gebruik is genomen, moet u accuzuur met soortelijk gewicht van 1,260 bijvullen.
Note: U kunt accuzuur in bulk kopen bij een plaatselijk accuverkooppunt.
Accuzuur bevat zwavelzuur; deze stof is dodelijk bij inname en veroorzaakt ernstige brandwonden.
U mag accuzuur nooit inslikken en moet elk contact met huid, ogen of kleding vermijden. Draag een veiligheidsbril en rubberhandschoenen om uw ogen en handen te beschermen.
Vul de accu alleen bij op plaatsen waar schoon water aanwezig is om indien nodig uw huid af te spoelen.
Verwijder de vuldoppen van de accu en giet langzaam accuzuur in elke cel totdat het zuurpeil tot aan de vulstreep staat.
Plaats de vuldoppen terug en sluit een acculader van 3-4 A aan op de accupolen. Laad de accu op gedurende 4 tot 8 uur bij 3-4 A.
Bij het opladen produceert de accu gassen die tot ontploffing kunnen komen.
Rook nooit in de buurt van de accu en zorg ervoor dat er geen vonken of vlammen vlakbij de accu komen.
Als de accu is opgeladen, haalt u de acculader uit het stopcontact en maakt u deze los van de accupolen. Laat de accu 5-10 minuten op zijn plaats zitten.
Verwijder de vuldoppen.
Giet langzaam accuzuur in elke cel totdat het peil tot aan de vulstreep staat.
Important: Laat de accu niet te vol worden. Er zal dan accuzuur naar buiten stromen over andere delen van de machine. Dit kan ernstige corrosie en beschadiging veroorzaken.
Plaats de vuldoppen terug.
Benodigde onderdelen voor deze stap:
| Bout (¼" x ⅝") | 2 |
| Borgmoer (¼") | 2 |
Plaats de accu met de minpool naar de achterkant van de machine gericht (Figuur 5).

Als accukabels verkeerd worden verbonden, kan dit schade aan de machine en de kabels tot gevolg hebben en vonken veroorzaken. Hierdoor kunnen accugassen tot ontploffing komen en lichamelijk letsel veroorzaken.
Maak altijd de minkabel (zwart) van de accu los voordat u de pluskabel (rood) losmaakt.
Sluit altijd de pluskabel (rood) van de accu aan voordat u de minkabel (zwart) aansluit.
Accupolen of metalen gereedschappen kunnen kortsluiting maken met metalen onderdelen van de machine, waardoor vonken kunnen ontstaan. Hierdoor kunnen accugassen tot ontploffing komen en lichamelijk letsel veroorzaken.
Zorg ervoor dat bij het verwijderen of installeren van de accu de accupolen niet in aanraking komen met metalen onderdelen van de machine.
Voorkom dat metalen gereedschappen kortsluiting veroorzaken tussen de accupolen en metalen onderdelen van de machine.
Bevestig de pluskabel (rood) aan de pluspool (+) met een bout van ¼" x ⅝" en een borgmoer (Figuur 6).

Bevestig het zwarte kabeltje en de minkabel (zwart) aan de minpool (-) van de accu met een bout (¼" x ⅝") en een borgmoer (¼") (Figuur 6).
Smeer vaseline op de accupolen en de bevestigingen om corrosie te voorkomen.
Schuif het rubberen stofkapje over de pluspool (+) om eventuele kortsluiting te voorkomen.
Monteer de bovenste accuhouder op de accuhouders op de zijkant met ringen en vleugelmoeren.
Benodigde onderdelen voor deze stap:
| Voorgewichtset(s) indien nodig | – |
Deze machine werd ontworpen in overeenstemming met B71.4-2017 van het ANSI (American National Standards Institute). Als de volgende werktuigen op de machine worden gemonteerd, kan er echter extra gewicht moeten worden geplaatst om te voldoen aan de normen.
Gebruik de onderstaande tabel om te bepalen welke gewichtscombinaties moeten worden toegevoegd. Bestel onderdelen bij uw erkende Toro distributeur.
| Werktuig | Vereist gewicht | Gewichtenset | Aantal sets |
|---|---|---|---|
| Spikerset | 23 kg | Onderdeelnr. 100-6442 | 1 |
| Rahn-bezem |
Note: Voor machines van model 08705: monteer de gewichtenset niet als uw machine uitgerust is met de set met frontliftframe.
Monteer de gewichtenset; raadpleeg de Montage-instructies van de gewichtenset.
Benodigde onderdelen voor deze stap:
| Sticker productiejaar | 1 |
Breng de sticker met het productiejaar aan op de machine op de plaats die is afgebeeld (Figuur 7).

Benodigde onderdelen voor deze stap:
| Waarschuwingssticker | 1 |
Op machines die dienen te voldoen aan de CE-voorschriften moet u de CE-waarschuwingssticker (onderdeelnr. 136-6164) aanbrengen over het onderste gedeelte van de sticker van het bedieningspaneel (onderdeelnr. 132-4422).

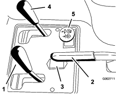
Het tractiepedaal (Figuur 9) heeft 3 functies: de machine vooruit en achteruit laten rijden en tot stilstand brengen. Om vooruit te rijden, moet u de bovenkant van het pedaal intrappen en om achteruit te rijden de onderkant van het pedaal. Gebruik hierbij de hiel en tenen van uw rechtervoet (Figuur 10). Daarnaast kunt u het pedaal in de NEUTRAALSTAND zetten om de machine te stoppen.
Important: Laat uw hiel op de voetsteun rusten wanneer u vooruitrijdt; laat uw hiel niet rusten op het achteruitgedeelte van het tractiepedaal.


De rijsnelheid hangt af van hoever het tractiepedaal wordt ingetrapt. Voor de maximale rijsnelheid trapt u het pedaal volledig in terwijl de gashendel op SNEL staat. Voor maximaal vermogen of heuvelopwaarts moet u de gashendel op SNEL zetten en het tractiepedaal iets intrappen om ervoor te zorgen dat het motortoerental hoog blijft. Als het motortoerental lager wordt, moet u het pedaal iets laten opkomen om het toerental te verhogen.
Important: Voor maximaal trekvermogen moet u de gashendel op SNEL zetten en het tractiepedaal iets intrappen.
Important: Gebruik de maximale rijsnelheid alleen wanneer u van het ene werkterrein naar het andere rijdt.Rijden niet op maximale snelheid met een aangekoppeld of getrokken werktuig.
Important: Rij niet met de machine in de achteruit-stand als het werktuig is neergelaten in de bedrijfsstand of als de kans bestaat dat het werktuig ernstige schade oploopt.
De contactschakelaar (Figuur 11) waarmee u de motor start en uitzet, heeft drie standen: UIT, LOPEN en START. Draai het sleuteltje naar rechts op START om het voertuig te starten. Laat het sleuteltje los als de motor start; het zal naar de stand AAN bewegen. Om de motor af te zetten, draait u het sleuteltje linksom naar de stand UIT.

Om een koude motor te starten, sluit u de choke van de carburator door de chokehendel (Figuur 11) omhoog te trekken naar de gesloten stand. Nadat de motor is gestart, kunt u met behulp van de choke de motor regelmatig laten lopen. Zodra dit mogelijk is, opent u de choke door de chokehendel omhoog te trekken en op OPEN te zetten. Als de motor warm is, hoeft de choke niet of nauwelijks te worden gebruikt.
Met behulp van de gashendel (Figuur 11) regelt u de gastoevoer naar de carburateur. De gashendel heeft 2 standen: LANGZAAM en SNEL. Het motortoerental kan op een van deze 2 standen worden gezet.
Note: U kunt de motor niet stoppen met de gashendel.
Om het werktuig omhoog te brengen, trekt u de hefhendel (Figuur 12) naar achteren; om het werktuig neer te laten, zet u de hendel naar voren. Voor de ZWEEFSTAND zet u de hendel in de inkeping. Als u de gewenste stand bereikt, laat u de hendel los die dan terugkeert naar de neutraalstand.

Note: De machine heeft een dubbelwerkende hefcilinder. Voor bepaalde werkomstandigheden kunt u tegendruk uitoefenen op het werktuig.
Om de parkeerrem in werking te stellen (Figuur 12), moet u de hendel naar achteren trekken. Om de parkeerrem vrij te zetten, moet u de hendel naar voren duwen.
Note: U moet het tractiepedaal soms langzaam naar voren en naar achteren draaien om de parkeerrem vrij te zetten.
De urenteller (Figuur 12) toont het aantal uren dat de machine in bedrijf is geweest. De urenteller gaat lopen als de contactschakelaar in de stand AAN wordt gezet.
Beweeg de hendel op de zijkant van de stoel (Figuur 13) naar voren, schuif de stoel in de gewenste stand en laat de hendel los om de stoel in deze stand te vergrendelen.

Sluit de brandstofafsluitklep (Figuur 14) voordat u de machine stalt of op een aanhanger vervoert.

Note: Specificaties en ontwerp kunnen zonder voorafgaande kennisgeving worden gewijzigd.
| Breedte zonder werktuig | 148 cm |
| Breedte met hark, model 08751 | 191 cm |
| Lengte zonder werktuig | 164 cm |
| Hoogte | 115 cm |
| Wielbasis | 109 cm |
| Nettogewicht | |
| Model 08703 | 452 kg |
| Model 08705 | 461 kg |
Een selectie van door Toro goedgekeurde werktuigen en accessoires is verkrijgbaar voor gebruik met de machine om de mogelijkheden daarvan te verbeteren en uit te breiden. Neem contact op met een erkende servicedealer of een erkende Toro-distributeur, of bezoek www.Toro.com voor een lijst van alle goedgekeurde werktuigen en accessoires.
Om de beste prestaties te verkrijgen en ervoor te zorgen dat de veiligheidscertificaten van de machine blijven gelden, moet u ter vervanging altijd originele onderdelen en accessoires van Toro aanschaffen. Gebruik ter vervanging nooit onderdelen en accessoires van andere fabrikanten, omdat dit gevaarlijk kan zijn en de productgarantie kan tenietdoen.
Parkeer de machine op een horizontaal vlak, stel de parkeerrem in werking, zet de motor af, verwijder het contactsleuteltje en wacht totdat alle bewegende onderdelen tot stilstand zijn gekomen voordat u de machine verlaat.
Laat kinderen of personen die geen instructie hebben ontvangen, de machine nooit gebruiken of onderhoudswerkzaamheden daaraan verrichten. Plaatselijke voorschriften kunnen nadere eisen stellen aan de leeftijd van degene die met de machine werkt. De eigenaar is verantwoordelijk voor de instructie van alle bestuurders en technici.
Zorg ervoor dat u vertrouwd raakt met de bedieningsorganen en de veiligheidssymbolen, en weet hoe u de machine veilig kunt gebruiken.
Zorg ervoor dat u weet hoe u de machine en de motor snel kunt stoppen.
Controleer of de dodemansknoppen, de veiligheidsschakelaars en de veiligheidsschermen zijn bevestigd en naar behoren werken. Gebruik de machine uitsluitend als deze naar behoren werken.
Controleer voordat u begint te werken altijd de machine om zeker te zijn dat de onderdelen en al het bevestigingsmateriaal in goede staat zijn. Vervang versleten of beschadigde onderdelen en bevestigingen.
Inspecteer het terrein waarop u de machine gaat gebruiken en verwijder voorwerpen die de machine kan uitwerpen.
Wees uiterst voorzichtig bij het omgaan met brandstof. Brandstof is ontvlambaar en de dampen kunnen tot ontploffing komen.
Doof alle sigaretten, sigaren, pijpen en andere ontstekingsbronnen.
Gebruik uitsluitend een goedgekeurd vat of blik voor de brandstof.
Wanneer de motor loopt of heet is, mag u de brandstofdop niet verwijderen of brandstof toevoegen.
Geen brandstof bijvullen of aftappen in een afgesloten ruimte.
Bewaar de machine en het brandstofvat niet op plaatsen waar open vlammen, vonken of waakvlammen (bv. van een boiler of een ander toestel) aanwezig kunnen zijn.
Probeer de motor niet te starten als u brandstof hebt gemorst; voorkom elke vorm van open vuur of vonken totdat de brandstofdampen volledig zijn verdwenen.
Inhoud brandstoftank: 25 liter
Aanbevolen brandstof:
Gebruik voor de beste resultaten uitsluitend schone, verse (minder dan 30 dagen oud), loodvrije benzine met een octaangetal van 87 of hoger (indelingsmethode (R+M)/2).
Ethanol: Benzine met maximaal 10% ethanol (gasohol) of 15% MTBE (methyl-tertiair-butylether) per volume is aanvaardbaar. Ethanol en MTBE zijn niet hetzelfde. Benzine met 15% ethanol (E15) per volume is niet geschikt voor gebruik. Gebruik nooit benzine die meer dan 10% ethanol per volume bevat, zoals E15 (bevat 15% ethanol), E20 (bevat 20% ethanol), of E85 (bevat tot 85% ethanol). Ongeschikte benzine gebruiken kan leiden tot verminderde prestaties en/of motorschade die mogelijk niet gedekt wordt door de garantie.
Geen benzine gebruiken die methanol bevat.
In de winter geen brandstof bewaren in de brandstoftank of in vaten, tenzij u een brandstofstabilisator gebruikt.
Meng nooit olie door benzine.
Important: Gebruik nooit andere brandstofadditieven dan een brandstofstabilisator/conditioner. Gebruik geen stabilizers op basis van alcohol zoals ethanol, methanol, of isopropanol.
Maak de omgeving van de dop van de brandstoftank schoon (Figuur 15).
Verwijder de dop van de brandstoftank.
Vul de benzinetank tot ongeveer 25 mm vanaf de bovenkant van de tank (de onderkant van de vulbuis). Niet te vol vullen.

Plaats de dop terug.
Om brandgevaar te voorkomen, moet u gemorste brandstof opnemen.
Important: Gebruik nooit methanol, benzine die methanol bevat, gasohol die meer dan 10% ethanol bevat, benzine-additieven, superbenzine of wasbenzine omdat dit kan leiden tot schade aan het brandstofsysteem. Geen olie bij de benzine mengen.
Voer dagelijks de volgende procedures uit voordat u met de machine aan de slag gaat:
| Onderhoudsinterval | Onderhoudsprocedure |
|---|---|
| Bij elk gebruik of dagelijks |
|
Niet-aangesloten of beschadigde interlockschakelaars kunnen onverwachte gevolgen hebben op de werking van de machine. Dit kan lichamelijk letsel veroorzaken.
Laat de interlockschakelaars ongemoeid.
Controleer elke dag de werking van de interlockschakelaars en vervang beschadigde schakelaars voordat u de machine weer in gebruik neemt.
Het veiligheidssysteem zorgt ervoor dat de motor niet aanslaat of start, tenzij het koppelingspedaal in de NEUTRAALSTAND staat. Verder moet de motor afslaan als het tractiepedaal naar voren of naar achter wordt bewogen zonder dat de bestuurder op de stoel zit.
Plaats de machine op een open terrein dat vrij van voorwerpen en omstanders is. Zet de motor af.
Neem plaats op de bestuurdersstoel en stel de parkeerrem in werking.
Trap het tractiepedaal in de vooruit- en de achteruit-stand terwijl u de motor probeert te starten.
Note: Als de motor start, is er misschien een defect in het veiligheidssysteem. U moet het veiligheidssysteem onmiddellijk repareren.Als de motor niet start, functioneert het veiligheidssysteem naar behoren.
Blijf op de stoel zitten met het tractiepedaal in de NEUTRAALSTAND en met de parkeerrem ingeschakeld, en start de machine.
Kom omhoog uit de stoel terwijl u het tractiepedaal indrukt.
Note: De motor moet binnen 1 tot 3 seconden afslaan. Verhelp het probleem als het systeem niet naar behoren werkt.
Note: Bepaal vanuit de normale bedieningspositie de linker- en rechterzijde van de machine.
De eigenaar/bestuurder is verantwoordelijk voor ongevallen die kunnen leiden tot lichamelijk letsel en materiële schade, en hij kan zulke ongevallen voorkomen.
Draag geschikte kleding, zoals een veiligheidsbril, gripvaste, stevige veilgheidsschoenen, een lange broek en gehoorbescherming. Draag lang haar niet los en draag geen loshangende juwelen.
Gebruik de machine niet als u ziek, moe of onder de invloed van alcohol, medicijnen of drugs bent.
Vervoer nooit passagiers op de machine en houd omstanders en huisdieren tijdens het werk uit de buurt van de machine.
Gebruik de machine uitsluitend bij goede zichtbaarheid zodat u uit de buurt van kuilen en verborgen gevaren kunt blijven.
Gebruik de machine niet op nat gras. Als de wielen hun grip verliezen, kan de machine gaan glijden.
Voordat u de motor start: zorg dat alle aandrijvingen in de neutraalstand staan, de parkeerrem in werking is gesteld en u zich in de bestuurderspositie bevindt.
Kijk achterom en omlaag voordat u achteruitrijdt om er zeker van te zijn dat de weg vrij is.
Wees voorzichtig bij het naderen van blinde hoeken, struiken, bomen, en andere objecten die uw zicht kunnen belemmeren.
Werk niet in de buurt van steile hellingen, greppels of dijken. De machine kan plotseling omslaan als een wiel over de rand komt, of als de rand afbrokkelt.
Stop de machine en controleer het werktuig als u een vreemd voorwerp heeft geraakt of als de machine abnormaal begint te trillen. Voer alle noodzakelijke reparaties uit voordat u de machine weer in gebruik neemt.
Verminder uw snelheid en wees voorzichtig als u een bocht maakt of wegen en voetpaden oversteekt met de machine. Verleen altijd voorrang.
Laat de motor nooit lopen in een ruimte waar uitlaatgassen zich kunnen verzamelen.
U mag een machine met draaiende motor nooit onbeheerd achterlaten.
Doe het volgende voordat u de bestuurdersstoel verlaat:
Parkeer de machine op een horizontaal oppervlak.
Laat de werktuigen neer.
Stel de parkeerrem in werking.
Zet de motor af en haal het sleuteltje uit het contact.
Wacht totdat alle bewegende onderdelen tot stilstand zijn gekomen.
Gebruik de machine niet als het kan bliksemen.
De machine niet gebruiken als sleepvoertuig.
Maak indien nodig het werkterrein eerst nat om stofvorming tot een minimum te beperken.
Gebruik alleen door Toro goedgekeurde accessoires, werktuigen en reserveonderdelen.
Stel uw eigen procedures en voorschriften op voor werken op hellingen. Als onderdeel van deze procedures moet u zeker het terrein onderzoeken om na te gaan op welke hellingen u de machine veilig kunt gebruiken. Gebruik altijd uw gezond verstand en uw beoordelingsvermogen wanneer u dit onderzoek uitvoert.
Het maaien op hellingen is een belangrijke factor bij ongelukken waarbij de controle over de machine wordt verloren of deze omkantelt. Dit kan ernstig of dodelijk letsel veroorzaken. De bestuurder is verantwoordelijk voor een veilig gebruik van de machine op hellingen. Gebruik van de machine op hellingen vereist altijd extra voorzichtigheid.
Hellingen zijn de belangrijkste oorzaak dat de bestuurder de macht over de machine verliest en deze omkantelt. Dit kan leiden tot ernstig of dodelijke letsel. Gebruik van de machine op hellingen vereist altijd extra voorzichtigheid.
Vertraag de machine wanneer u zich op een helling bevindt.
Als u zich ongemakkelijk voelt wanneer u de machine op een helling gebruikt, maai die helling dan niet.
Kijk uit voor gaten, geulen, hobbels, stenen of andere verborgen objecten. De machine kan omslaan op oneffenheden in het terrein. In hoog gras zijn obstakels niet altijd zichtbaar.
Kies een lage rijsnelheid zodat u op een helling niet hoeft te stoppen of schakelen.
De machine kan omrollen voordat de wielen grip verliezen.
Gebruik de machine niet op een nat gazon. De wielen kunnen grip verliezen, ook als de remmen naar behoren werken.
Zorg dat u de machine niet moet starten, stoppen of keren op een helling.
Voer alle bewegingen op hellingen langzaam en geleidelijk uit. Verander niet plots de snelheid of rijrichting van de machine.
Gebruik de machine niet in de buurt van steile hellingen, greppels, oevers of water. De machine kan plotseling omslaan als een wiel over de rand komt, of als de rand instort. Zorg voor een veilige afstand tussen de machine en een gevarenzone (2 keer de breedte van de machine).
Haal uw voet van het tractiepedaal en let erop dat het pedaal in de NEUTRAALSTAND staat. Stel de parkeerrem in werking.
Duw de chokehendel naar voren op AAN (uitsluitend als u een koude motor start) en zet de gashendel op LANGZAAM.
Important: Als u de machine bij temperaturen beneden 0 °C gebruikt, moet u de motor eerst warm laten worden. Dit voorkomt schade aan de hydrostaat en het regelcircuit van de aandrijving.
Steek het sleuteltje in het contact en draai dit naar rechts om de motor te starten. Laat het sleuteltje los zodra de motor start.
Note: Laat de motor regelmatig lopen met behulp van de choke.
Important: Om te voorkomen dat de startmotor oververhit raakt, mag u de startmotor niet langer dan 10 seconden in werking stellen. Als u de motor 10 seconden achtereen hebt gestart, moet u 60 seconden wachten voordat u een nieuwe startpoging doet.
Om de motor af te zetten, moet u de gashendel op LANGZAAM zetten en het contactsleuteltje op UIT draaien.
Note: Verwijder het sleuteltje uit het contact om te voorkomen dat de motor per ongeluk start.
Sluit de brandstofafsluitklep voordat u de machine stalt.
Het controleren van de machine terwijl de motor loopt kan letsel tot gevolg hebben.
Zet de motor af en wacht totdat alle bewegende delen tot stilstand gekomen zijn voordat u controleert op olielekken, losse onderdelen en andere waarneembare defecten.
Een nieuwe motor heeft tijd nodig om vol vermogen te ontwikkelen. Nieuwe aandrijvingssystemen ondervinden meer wrijving, wat de motor extra belast.
Besteed de eerste 8 werkuren aan het inrijden van de machine.
Aangezien de eerste bedrijfsuren van cruciaal belang zijn voor de betrouwbaarheid van de machine in de toekomst, moet u de werking en de prestaties van de machine scherp in het oog houden. Zo kunt u kleine gebreken opmerken en verhelpen voordat ze later ernstige problemen veroorzaken. Controleer de machine tijdens de inrijperiode veelvuldig op olielekken, losse bevestigingen of andere gebreken.
Raadpleeg de Gebruikershandleiding van het werktuig voor specifieke instructies voor het werktuig.
Oefen u in het rijden met de machine, omdat de gebruikseigenschappen ervan anders zijn dan die van een aantal andere bedrijfsvoertuigen. Twee punten waarop u moet letten bij het gebruik van deze machine, zijn de transmissie en het motortoerental.
Om het motortoerental constant te houden, moet u het tractiepedaal langzaam intrappen. Hierdoor kan de motor zich aanpassen aan de rijsnelheid van de machine. Als u in plaats daarvan het tractiepedaal snel intrapt, vermindert het motortoerental en zal er daardoor niet genoeg koppelvermogen zijn om de machine voort te bewegen. Om daarom maximaal vermogen naar de wielen over te brengen, moet u de gashendel op SNEL zetten en het tractiepedaal licht intrappen. U kunt echter met maximale snelheid zonder belasting rijden als u de gashendel op SNEL zet en het tractiepedaal langzaam maar volledig intrapt. Houd altijd het motortoerental hoog genoeg voor maximaal koppelvermogen naar de wielen.
Het gebruik van de machine vereist oplettendheid en om te voorkomen dat u omkantelt of de controle over het stuur verliest.
Wees voorzichtig als u bunkers in- en uitrijdt.
Ga zeer voorzichtig te werk in de buurt van greppels, sloten of andere gevaarlijke punten.
Ga voorzichtig te werk als u op een steile helling werkt.
Verminder uw snelheid als u een scherpe bocht maakt of draait op een helling.
Vermijd plotseling stoppen en starten.
Zet de machine niet van de achteruit-stand in de vooruit-stand voordat de machine volledig tot stilstand is gekomen.
Note: Als de werktuigkoppeling blijft vastzitten aan de koppeling van de tractie-eenheid, moet u een wringijzer/schroevendraaier in de sleuf steken om beide delen van elkaar los te maken (Figuur 16).

Parkeer de machine op een horizontaal vlak, stel de parkeerrem in werking, zet de motor af, verwijder het contactsleuteltje en wacht totdat alle bewegende onderdelen tot stilstand zijn gekomen voordat u de machine verlaat.
Verwijder gras en vuil van de demper en het motorcompartiment om brand te voorkomen. Veeg gemorste olie en brandstof op.
Laat de motor afkoelen voordat u de machine in een afgesloten ruimte stalt.
Zorg ervoor dat de brandstofafsluitklep is gesloten voordat u de machine stalt of transporteert.
Bewaar de machine of brandstofhouder nooit bij een open vlam, vonk of waakvlam bij bijv. een geiser of andere apparaten.
Zorg ervoor dat alle onderdelen van de machine in goede staat verkeren en alle bevestigingselementen stevig vastzitten.
Vervang versleten, beschadigde en ontbrekende stickers.
In noodgevallen mag het voertuig over een korte afstand worden gesleept. Toro adviseert echter hiervan geen standaardprocedure te maken.
Important: U mag de machine niet sneller dan 1,6 km/uur slepen omdat hierdoor het aandrijfsysteem kan worden beschadigd. Als de machine meer dan 50 m moet verplaatsen, moet u deze vervoeren op een vrachtwagen of een aanhanger. De wielen kunnen blokkeren als de machine met te hoge snelheid wordt gesleept. Als dit gebeurt, moet u stoppen met slepen en wachten totdat de druk in het circuit van de aandrijving is gestabiliseerd voordat u de machine met een lagere snelheid verder sleept.
Gebruik een oprijplaat van volledige breedte bij het laden van de machine op een aanhanger of vrachtwagen.
Maak de machine stevig vast.
Note: Om een elektrisch of hydraulisch schema van uw machine te verkrijgen, kunt u terecht op www.Toro.com.
Doe het volgende voordat u de machine gaat afstellen, schoonmaken of repareren:
Parkeer de machine op een horizontaal oppervlak.
Zet de gashendel op laag stationair.
Werktuig neerlaten.
Zorg dat de tractie in neutraal staat.
Stel de parkeerrem in werking.
Zet de motor af en haal het sleuteltje uit het contact.
Wacht totdat alle bewegende onderdelen tot stilstand zijn gekomen.
Laat de onderdelen van de machine afkoelen voordat u onderhoudswerkzaamheden uitvoert.
Voer indien mogelijk geen onderhoudswerkzaamheden uit als de motor draait. Blijf uit de buurt van bewegende onderdelen.
Plaats de machine of onderdelen ervan op assteunen indien dit nodig is.
Haal voorzichtig de druk van onderdelen met opgeslagen energie.
| Onderhoudsinterval | Onderhoudsprocedure |
|---|---|
| Na de eerste 8 bedrijfsuren |
|
| Bij elk gebruik of dagelijks |
|
| Na elk gebruik |
|
| Om de 25 bedrijfsuren |
|
| Om de 100 bedrijfsuren |
|
| Om de 200 bedrijfsuren |
|
| Om de 500 bedrijfsuren |
|
| Om de 800 bedrijfsuren |
|
| Om de 1000 bedrijfsuren |
|
| Om de 1500 bedrijfsuren |
|
| Om de 2000 bedrijfsuren |
|
Note: Bepaal vanuit de normale bedieningspositie de linker- en rechterzijde van de machine.
Als u het sleuteltje in het contact laat, bestaat de kans dat iemand de motor per ongeluk start waardoor u en andere omstanders ernstig letsel kunnen oplopen.
Verwijder het sleuteltje uit het contact voordat u onderhoudswerkzaamheden uitvoert aan de machine.
Important: De bevestigingen op de deksels van deze machine zijn zo ontworpen dat ze op het deksel blijven zitten nadat de bevestiging is losgemaakt. Draai alle bevestigingen op een deksel een paar slagen losser zodat het deksel loszit maar nog wel bevestigd is en draai de bevestigingen daarna pas helemaal los zodat u het deksel kunt verwijderen. Hiermee voorkomt u dat u per ongeluk de bouten van de borgringen losdraait.
Het kan gebeuren dat een mechanische of hydraulische krik een machine niet ondersteunt. Als de machine dan valt, kan dit ernstig letsel veroorzaken.
Plaats de machine altijd op kriksteunen.
De assteunpunten zijn:
De machine is voorzien van smeerpunten die om de 100 bedrijfsuren moeten worden gesmeerd met nr. 2 smeervet op lithiumbasis.
Smeer de volgende lagers en lagerbussen:
Lager van voorwiel (1) (Figuur 19)

Draaipunt van tractiepedaal (1) (Figuur 20)

Achterste trekhaak (5) (Figuur 21)

Stangeinde van stuurcilinder (1) – uitsluitend Model 08705 (Figuur 22)

Fusee (Figuur 23)
Note: Om vet in de verzonken nippel op de fusee te spuiten (Figuur 23), moet u een verloopstuk op de vetspuit plaatsen. U kunt deze kleurstof bestellen bij een erkende Toro-dealer, onderdeelnr. 107-1998.

| Onderhoudsinterval | Onderhoudsprocedure |
|---|---|
| Om de 100 bedrijfsuren |
|
Veeg de smeernippel schoon zodat er geen ongerechtigheden kunnen binnendringen in het lager of de lagerbus.
Pomp vet in het lager of de lagerbus.
Veeg overtollig vet af.
U moet de motor afzetten voordat u het oliepeil controleert of het carter bijvult met olie.
Verander nooit de stand van de toerenregelaar van de motor en laat de motor niet te snel draaien.
Gebruik hoogwaardige motorolie die moet beantwoorden aan de volgende specificaties:
Vereiste onderhoudsclassificatie van API: SL of hoger
Olieviscositeit: SAE 30 – boven 4 °C
| Onderhoudsinterval | Onderhoudsprocedure |
|---|---|
| Bij elk gebruik of dagelijks |
|
De motor wordt geleverd met olie in het carter; u dient echter het oliepeil te controleren voor- en nadat u de motor voor het eerst start.
Plaats de machine op een horizontaal oppervlak, zet de motor af, stel de parkeerrem in werking en verwijder het sleuteltje.
Kantel de stoel naar voren.
Verwijder de peilstok (Figuur 24) en veeg deze af met een schone doek.

Steek de peilstok in de buis. Let erop dat de peilstok er volledig in schuift. Haal de peilstok uit de buis en controleer het oliepeil. Als het oliepeil te laag is, moet u de vuldop losmaken van het klepdeksel en met de aanbevolen olie bijvullen totdat het peil de Vol-markering op de peilstok bereikt.
Important: Zorg ervoor dat het oliepeil tussen de markeringen voor het minimum- en het maximumpeil op de peilstok staat. Als u te veel of te weinig motorolie toevoegt, kan de motor tijdens bedrijf beschadigd raken.
Plaats de peilstok weer stevig op zijn plaats.
Important: U dient de peilstok zo ver mogelijk in de buis te brengen om het motorcarter goed af te sluiten. Als het carter niet goed is afgesloten, kan de motor schade oplopen.
Draai de stoel omlaag.
| Onderhoudsinterval | Onderhoudsprocedure |
|---|---|
| Om de 100 bedrijfsuren |
|
Oliecapaciteit carter: ongeveer 1,66 liter met filter.
Plaats de machine op een horizontaal oppervlak, zet de motor af, stel de parkeerrem in werking en verwijder het sleuteltje.
Verwijder de aftapplug (Figuur 25) en laat de olie in een opvangbak lopen. Als er geen olie meer naar buiten stroomt, plaatst u de aftapplug terug.

Verwijder het oliefilter (Figuur 25).
Smeer een dun laagje schone olie op de pakking van het filter.
Draai het filter met de hand vast totdat de pakking contact maakt met het filtertussenstuk. Draai het filter vervolgens nog eens ½ tot ¾ slag.
Important: Draai het filter niet te vast.
Vul het carter met de voorgeschreven olie; zie Het motoroliepeil controleren.
U moet gebruikte vloeistof op de juiste wijze afvoeren.
| Onderhoudsinterval | Onderhoudsprocedure |
|---|---|
| Om de 200 bedrijfsuren |
|
Controleer de luchtfilterbehuizing op schade die een luchtlek kan veroorzaken. Vervang beschadigde onderdelen. Controleer het gehele luchtinlaatsysteem op lekken, beschadiging of losse slangklemmen.
Vervang het luchtfilter niet voordat dit nodig is, hierdoor vergroot u alleen maar de kans dat er vuil in de motor komt op het moment dat het filter wordt verwijderd.
Zorg ervoor dat het deksel goed vastzit en de luchtfilterbehuizing helemaal afsluit.
| Onderhoudsinterval | Onderhoudsprocedure |
|---|---|
| Om de 200 bedrijfsuren |
|
Maak de sluitingen los waarmee het deksel van het luchtfilter is bevestigd aan de luchtfilterbehuizing (Figuur 26).

Verwijder het deksel van de luchtfilterbehuizing.
Alvorens het filter weg te halen, moet u met schone en droge perslucht onder lage druk (2,76 bar) grote hoeveelheden aangekoekt vuil verwijderen dat tussen de buitenkant van het voorfilter en de filterbus zit.
Important: Gebruik geen perslucht onder hoge druk, omdat hierdoor vuil via het filter in het inlaatkanaal kan worden geblazen. Deze reiniging voorkomt dat er vuil in de inlaat terechtkomt als het voorfilter wordt verwijderd.
Verwijder en vervang het filter.
Note: Inspecteer het nieuwe filter op transportschade en controleer het uiteinde van het filter (dit moet goed aansluiten) en de filterbehuizing. Een beschadigd element mag niet worden gebruikt. Plaats het nieuwe filter door de buitenring van het element aan te drukken om dit vast te zetten in de filterbus. Druk niet op het flexibele midden van het filter.
Note: Het wordt afgeraden het gebruikte element te reinigen omdat dit kan leiden tot beschadiging van de filtermedia.
Reinig de opening van de vuiluitlaat in het afneembare deksel.
Verwijder de rubberen uitlaatklep van het deksel, maak de holte schoon en plaats de klep terug.
Monteer het deksel met de rubberen uitlaatklep naar beneden gericht, in een stand tussen ongeveer 5 tot 7 uur, gezien vanaf het uiteinde.
Maak de sluitingen vast.
| Onderhoudsinterval | Onderhoudsprocedure |
|---|---|
| Om de 100 bedrijfsuren |
|
Type: Champion RC14YC (of equivalent type)
Elektrodenafstand: 0,76 mm
Note: De bougies hebben doorgaans een lange levensduur. U moet ze echter verwijderen en controleren als de motor slecht functioneert.
Maak de omgeving van elke bougie schoon zodat er geen vuil in de cilinder kan terechtkomen op het moment dat u de bougie verwijdert.
Maak de kabels los van de bougies en verwijder de bougies uit de cilinderkop.
Controleer de staat van de massa-elektrode, de centrale elektrode en de isolator op beschadigingen.
Important: Als de bougie gebarsten of vuil is of niet goed werkt, moet deze worden vervangen. U mag de elektroden niet zandstralen, afkrabben of reinigen met een staalborstel omdat hierdoor gruis kan losraken, in de cilinder terechtkomen en de motor beschadigen.
Zorg ervoor dat de elektrodenafstand tussen de centrale elektrode en de massa-elektrode 0,76 mm bedraagt, zie Figuur 27. Plaats de bougie met de juiste elektrodenafstand en monteer deze met de pakkingafdichting. Draai de bougie vast met een torsie van 23 N·m. Als u geen momentsleutel gebruikt, moet u de bougie stevig vastdraaien.

| Onderhoudsinterval | Onderhoudsprocedure |
|---|---|
| Om de 500 bedrijfsuren |
|
Er bevindt zich een leidingfilter in de brandstofleiding. Ga als volgt te werken als het brandstoffilter moet worden vervangen:
Sluit de brandstofafsluitklep, maak de slangklem op het filter aan de kant van de carburateur los en verwijder de brandstofslang van het filter (Figuur 28).

Plaats een opvangbak onder het filter, maak de andere slangklem los en verwijder het filter.
Monteer het nieuwe filter. Let erop dat de pijl op de filterbehuizing van de brandstoftank af wijst (in de richting van de carburator).
Schuif de slangklemmen op de uiteinden van de brandstofslangen.
Druk de brandstofslangen op het brandstoffilter en zet deze vast met de slangklemmen.
Note: Let erop dat de pijl op de zijkant van het filter in de richting van de carburateur wijst.
| Onderhoudsinterval | Onderhoudsprocedure |
|---|---|
| Om de 500 bedrijfsuren |
|
Breng het rechter achterwiel van de grond en zet de machine op kriksteunen.
Verwijder de 4 wielmoeren waarmee het wiel aan de machine bevestigd is en verwijder het wiel en de band (Figuur 29).

Verwijder de 4 flenskopschroeven (¼" x ⅝") waarmee het scherm van het wiel bevestigd is aan het frame van de machine (Figuur 30).

Reik rond de onderste rand aan de binnenboordzijde van het bedieningspaneel. Trek het koolstofhouderfilter naar achteren en uit de slang aan het uiteinde van de koolstofhouder (Figuur 31).

Breng een nieuw koolstofhouderfilter aan in de slang aan het uiteinde van de koolstofhouder (Figuur 31).
Breng de openingen in het wielscherm op een lijn met het frame van de machine (Figuur 30) en bevestig het scherm aan het frame; gebruik hierbij de 4 flenskopschroeven (¼" x ⅝") die u verwijderd hebt in stap 3.
Monteer de band en het wiel op de wielbouten van de wielnaaf (Figuur 29); gebruik de 4 wielmoeren die u verwijderd hebt in stap 2 en draai de moeren handmatig vast.
Haal de kriksteun weg en laat de machine neer op de grond.
Draai de wielmoeren aan; zie De wielmoeren aandraaien..
Koppel de accu af voordat u reparaties aan de machine verricht. Maak eerst de minpool van de accu los en daarna de pluspool. Bevestig eerst de pluspool van de accu en daarna de minpool.
Laad de accu op in een open, goed geventileerde ruimte, uit de buurt van vonken en open vuur. Haal de oplader uit het stopcontact voordat u de accu aan- of loskoppelt. Draag beschermende kleding en gebruik geïsoleerd gereedschap.
Als u de machine met startkabels moet starten, kunt u de tweede positieve aansluiting (op het startrelais) gebruiken in plaats van de pluspool van de accu (Figuur 32).

De zekeringhouder (Figuur 33) bevindt zich onder het bedieningspaneel.

| Onderhoudsinterval | Onderhoudsprocedure |
|---|---|
| Om de 25 bedrijfsuren |
|
Zorg ervoor dat het accuzuur op het juiste peil wordt gehouden en de bovenkant van de accu schoon blijft. Indien de machine wordt opgeslagen in een zeer hete omgeving, ontlaadt de accu sneller dan wanneer de machine in een koele omgeving wordt opgeslagen.
Houd de bovenkant van de accu schoon door deze af en toe te reinigen met een borstel die in een oplossing van ammoniak of zuiveringszout is gedompeld. Spoel de bovenkant na het reinigen af met water. Verwijder nooit de vuldop bij het reinigen.
De accukabels moeten stevig op de accupolen zitten zodat ze goed contact maken.
Als er op de accupolen corrosie ontstaat, moet u de kabels losmaken, de min (-) kabel eerst, en de klemmen en polen afzonderlijk schoonkrabben. Zet de kabels vast, de plus (+) kabel eerst, en smeer de accupolen in met vaseline.
Controleer het peil van het accuzuur om de 25 bedrijfsuren of om de 30 dagen, wanneer het voertuig is opgeslagen.
U kunt het peil in de cellen bijhouden met gedestilleerd of gedemineraliseerd water. Vul de cellen niet hoger dan de vulstreep.
| Onderhoudsinterval | Onderhoudsprocedure |
|---|---|
| Bij elk gebruik of dagelijks |
|
Controleer de bandenspanning voordat u de machine in gebruik neemt (Figuur 34). De correcte spanning van de voor- en achterbanden is:
Profielbanden: 0,69 bar
Note: Indien er extra tractie vereist is voor de werking van de messen, vermindert u de druk tot 0,55 bar.
Banden zonder profiel: 0,55 tot 0,69 bar

| Onderhoudsinterval | Onderhoudsprocedure |
|---|---|
| Na de eerste 8 bedrijfsuren |
|
| Om de 100 bedrijfsuren |
|
Draai de wielmoeren vast met een torsie van 95 tot 122 N·m.
Als de machine beweegt wanneer het tractiepedaal in de neutraalstand staat, moet u de afstelnok van de tractie afstellen.
Plaats de machine op een horizontaal oppervlak, zet de motor af, stel de parkeerrem in werking en verwijder het sleuteltje.
Draai de 2 schroeven los waarmee het middelste scherm is bevestigd aan de machine en verwijder het scherm (Figuur 35).

Krik het voorwiel en één achterwiel omhoog zodat deze vrijkomen van de grond, en plaats steunblokken onder het frame.
Het voorwiel en één achterwiel moeten vrijkomen van de grond, omdat anders de machine tijdens de afstelling zal bewegen. Hierdoor kan de machine vallen, wat tot lichamelijk letsel kan leiden.
Krik de machine omhoog totdat het voorwiel en 1 achterwiel los komen van de grond.
Draai de borgmoer op de afstelnok van de tractie los (Figuur 36).

De motor moet lopen zodat u de laatste afstelling van de afstelnok van de tractie kunt uitvoeren. Contact met bewegende onderdelen of hete oppervlakken kan lichamelijk letsel veroorzaken.
Houd uw gezicht, handen, voeten en andere lichaamsdelen uit de buurt van de draaiende onderdelen, de geluiddemper en andere hete oppervlakken.
Start de motor en draai de zeskantige moer van de afstelnok (Figuur 36) in beide richtingen om het middelpunt van het bereik van de neutraalstand te bepalen.
Draai de borgmoer vast om de afstelling te borgen.
Zet de motor af.
Monteer het middelste scherm.
Haal de assteunen weg en laat de machine neer op de grond.
Maak een proefrit met de machine om er zeker van te zijn dat deze niet beweegt als het tractiepedaal in de neutraalstand staat.
De transmissie afstellen voor de neutraalstand, zie De tractieaandrijving afstellen voor de neutraalstand.
Zorg er met behulp van de pomphefboom voor dat alle onderdelen onbelemmerd werken en zich op de juiste plaats bevinden.
Stel de schroef af tot de tussenruimte 0,8 mm tot 2,3 mm bedraagt, zie Figuur 36.
Controleer of de interlockschakelaar goed functioneert.
De maximale transportsnelheid en de achteruit worden in de fabriek ingesteld, maar de snelheid moet worden bijgesteld als het tractiepedaal een volledige slag heeft afgelegd voordat de pomphefboom een volledige slag heeft afgelegd, of als de transportsnelheid moet worden verminderd.
Om de maximale transportsnelheid te verkrijgen, moet u het tractiepedaal intrappen. Als het pedaal contact maakt met de pedaalaanslag (Figuur 37) voordat de pomphefboom een volledige slag heeft afgelegd, moet u deze afstellen:

Plaats de machine op een horizontaal oppervlak, zet de motor af, stel de parkeerrem in werking en verwijder het sleuteltje.
Draai de borgmoer van de pedaalaanslag los.
Draai de pedaalaanslag vast totdat deze niet meer tegen het tractiepedaal aan komt.
Houd het transportpedaal licht ingetrapt en stel de pedaalaanslag zodanig af dat deze licht contact maakt met de pedaalstang of de afstand tussen de pedaalstang en de pedaalaanslag 2,5 mm bedraagt.
Draai de moeren vast.
Plaats de machine op een horizontaal oppervlak, zet de motor af, stel de parkeerrem in werking en verwijder het sleuteltje.
Draai de borgmoer van de pedaalaanslag los.
Draai de pedaalaanslag losser totdat u de gewenste transportsnelheid hebt verkregen.
Draai de borgmoer vast om de pedaalaanslag vast te zetten.
Stel de palplaat van de hefhendel (Figuur 39) af als het werktuig tijdens de werkzaamheden niet goed zweeft (het grondoppervlak volgt).
Plaats de machine op een horizontaal oppervlak, zet de motor af, stel de parkeerrem in werking en blokkeer de wielen.
Verwijder de (4) schroeven waarmee het bedieningspaneel is bevestigd aan het frame (Figuur 38).

Draai de 2 bouten waarmee de borgplaat aan het spatscherm en het frame bevestigd is.

De motor moet lopen om de afstelling van de borgplaat uit te voeren. Contact met bewegende onderdelen of hete oppervlakken kan lichamelijk letsel veroorzaken.
Houd uw gezicht, handen, voeten en andere lichaamsdelen uit de buurt van de draaiende onderdelen, de geluiddemper en andere hete oppervlakken.
De motor starten.
Laat de motor lopen, zet de hefhendel in de ZWEEFSTAND en verschuif de palplaat totdat de hefcilinder met de hand naar binnen en naar buiten kan worden getrokken.
Draai beide bevestigingsschroeven vast om de afstelling te borgen.
Een goed werkende gasklep is afhankelijk van een correcte afstelling van de gashendel. Voordat u de carburateur afstelt, moet u controleren of de gashendel goed werkt.
Draai de stoel omhoog.
Draai de kabelklemschroef los waarmee de gaskabel is bevestigd aan de motor (Figuur 40).

Zet de gashendel naar voren op SNEL.
Trek stevig aan de gaskabel totdat de achterzijde van de wartel tegen de aanslag aankomt (Figuur 40).
Draai de kabelklemschroef aan en controleer het toerental van de motor:
Hoog stationair: 3,350 tot 3,450 tpm
Laag stationair: 1,650 tot 1,850 tpm
Important: Voordat u de motortoerentalregelaar afstelt, moet u controleren of de gashendel en de chokehendel goed zijn afgesteld.
De motor moet lopen als de motortoerentalregelaar wordt afgesteld. Contact met bewegende onderdelen of hete oppervlakken kan lichamelijk letsel veroorzaken.
Zet het tractiepedaal in de neutraalstand en stel de parkeerrem in werking voordat u deze procedure uitvoert.
Houd uw kleding, handen, voeten en andere lichaamsdelen uit de buurt van de draaiende onderdelen, de geluiddemper en andere hete oppervlakken.
Note: Om het laag stationair toerental af te stellen, moet u alle onderstaande stappen uitvoeren. Als u alleen maar het hoog stationair toerental hoeft af te stellen gaat u direct verder met stap 5.
Start de motor en laat deze ongeveer 5 minuten op halfgas lopen om warm te worden.
Zet de gashendel op LANGZAAM. Draai de regelschroef voor het stationair toerental linksom totdat deze niet meer tegen de gashendel aan komt.
Buig het ankerlipje van de veer voor het afgeregelde stationair toerental (Figuur 41) totdat het stationair toerental 1.675 tot 1.175 tpm bedraagt.
Note: Controleer het toerental met een toerenteller.

Draai aan de regelschroef voor het stationair toerental totdat het stationair toerental 25 tot 50 tpm hoger is dan het toerental dat is ingesteld in stap 3.
Note: Het uiteindelijke toerental moet 1650 tot 1850 tpm bedragen.
Zet de gashendel op SNEL.
Buig het ankerlipje van de veer voor het hoge toerental (Figuur 41) totdat het hoge toerental 3350 tot 3450 tpm bedraagt.
Waarschuw onmiddellijk een arts als er hydraulische vloeistof is geïnjecteerd in de huid. Geïnjecteerde vloeistof moet binnen enkele uren operatief worden verwijderd door een arts.
Controleer of alle hydraulische slangen en leidingen in goede staat verkeren en alle hydraulische aansluitingen en fittings stevig vastzitten voordat u druk zet op het hydraulische systeem.
Houd lichaam en handen uit de buurt van kleine lekgaten of spuitmonden waaruit onder hoge druk hydraulische vloeistof ontsnapt.
U kunt lekken in het hydraulische systeem opsporen met behulp van karton of papier.
Hef alle druk in het hydraulische systeem op veilige wijze op, voordat u werkzaamheden gaat verrichten aan het hydraulische systeem.
| Onderhoudsinterval | Onderhoudsprocedure |
|---|---|
| Bij elk gebruik of dagelijks |
|
Controleer dagelijks de hydraulische leidingen en slangen op lekkages, kinken, loszittende steunen, slijtage, loszittende aansluitingen, slijtage door weersinvloeden en de inwerking van chemicaliën. Voer alle noodzakelijke reparaties uit voordat u de machine weer in gebruik neemt.
Het reservoir is in de fabriek gevuld met hoogwaardige hydraulische vloeistof. Controleer het peil van de hydraulische vloeistof voordat u de motor voor het eerst start, en vervolgens dagelijks; zie Het peil van de hydraulische vloeistof controleren.
Aanbevolen hydraulische vloeistof: Toro PX Extended Life hydraulische vloeistof; verkrijgbaar in emmers van 19 liter of vaten van 208 liter.
Note: Een machine waarin de aanbevolen bijvulvloeistof wordt gebruikt, moet minder vaak bijgevuld worden en het filter moet minder vaak worden vervangen.
Andere hydraulische vloeistoffen: Als de Toro PX Extended Life hydraulische vloeistof niet verkrijgbaar is, kunt u een andere conventionele, petroleumgebaseerde hydraulische vloeistof gebruiken die aan de volgende materiaaleigenschappen en de industrienormen voldoet. Gebruik geen synthetische vloeistof. Vraag uw smeermiddelenleverancier naar een geschikt product.
Note: Toro aanvaardt geen enkele aansprakelijkheid voor schade die wordt veroorzaakt door gebruik van verkeerde vervangende vloeistoffen. Gebruik daarom uitsluitend producten van gerenommeerde fabrikanten die garant staan voor de door hen aanbevolen vloeistoffen.
| Materiaaleigenschappen: | ||
| Viscositeit, ASTM D445 | cSt bij 40 °C 44 tot 48 | |
| Viscositeitsindex ASTM D2270 | 140 of hoger | |
| Stolpunt, ASTM D97 | -37 °C tot -45 °C | |
| Industriespecificaties: | Eaton Vickers 694 (I-286-S, M-2950-S/35VQ25 of M-2952-S) | |
Note: Veel hydraulische vloeistoffen zijn bijna kleurloos, zodat het moeilijk is lekkages op te sporen. Er is een rode kleurstof voor de hydraulische vloeistof verkrijgbaar in flesjes van 20 ml. Eén flesje is voldoende voor 15 tot 22 l hydraulische vloeistof. U kunt deze kleurstof bestellen bij een erkende Toro dealer (onderdeelnr. 44-2500).
Important: Toro Premium synthetische, biologisch afbreekbare hydraulische vloeistof is de enige biologisch afbreekbare vloeistof die door Toro is goedgekeurd. Deze vloeistof is compatibel met de elastomeren die worden gebruikt in hydraulische systemen van Toro, en is geschikt voor een groot aantal temperatuursomstandigheden. Deze vloeistof is compatibel met gangbare minerale olie, maar met het oog op maximale biologische afbreekbaarheid en goede prestaties moet gewone vloeistof grondig uit het hydraulische systeem worden gespoeld. De olie is verkrijgbaar in emmers van 19 liter of vaten van 208 liter bij een erkende Toro distributeur.
| Onderhoudsinterval | Onderhoudsprocedure |
|---|---|
| Bij elk gebruik of dagelijks |
|
Het reservoir is in de fabriek gevuld met de aanbevolen hydraulische vloeistof. U controleert de hydraulische vloeistof het beste als ze koud is.
Breng alle hydraulische werktuigen helemaal omhoog tot de transportstand.
Plaats de machine op een horizontaal oppervlak, zet de motor af, stel de parkeerrem in werking en verwijder het sleuteltje.
Reinig de omgeving van de dop van het hydraulische reservoir om te voorkomen dat er vuil in het reservoir komt (Figuur 42).

Verwijder de dop van het reservoir.
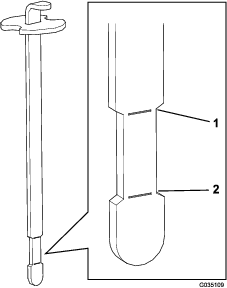
Verwijder de peilstok uit de vulbuis en veeg deze af met een schone doek.
Steek de peilstok in de vulbuis. Verwijder deze daarna en controleer het vloeistofpeil (Figuur 43).
Als het reservoir naar behoren is gevuld met hydraulische vloeistof, moet de vloeistof tussen de bovenste en onderste markering (versmalde stuk) van de peilstok staan.
Important: Als het vloeistofniveau tussen de bovenste en onderste markering ligt, hoeft geen vloeistof te worden bijgevuld.

Als het vloeistofpeil te laag is, vult u het reservoir langzaam bij met de aanbevolen hydraulische vloeistof totdat het peil het versmalde stuk van de peilstok bereikt.
Important: Om verontreiniging van het systeem te voorkomen, moet u de bovenzijde van de containers met hydraulische vloeistof reinigen voordat u deze openmaakt. Zorg ervoor dat de tuit en de trechter schoon zijn.
Important: Giet niet te veel hydraulische vloeistof in het reservoir.
Plaats de dop weer op het reservoir.
| Onderhoudsinterval | Onderhoudsprocedure |
|---|---|
| Om de 800 bedrijfsuren |
|
| Om de 1000 bedrijfsuren |
|
Plaats de machine op een horizontaal oppervlak, zet de motor af, stel de parkeerrem in werking en verwijder het sleuteltje.
Draai de 2 schroeven los waarmee het middelste scherm is bevestigd aan de machine en verwijder het scherm (Figuur 44).

Smeer de pakking van het vervangfilter met schone hydraulische vloeistof.
Plaats een opvangbak onder het hydraulische filter dat zich bevindt aan de linkerzijde van de machine (Figuur 45).

Reinig de omgeving van de plaats waar het filter wordt gemonteerd.
Note: Zorg dat u een vervangfilter bij de hand hebt voordat u het oude filter verwijdert.
Verwijder het hydraulisch filter van de filterkop.
Monteer het nieuwe hydraulische filter (Figuur 45) door het met de hand vast te draaien totdat de pakking contact maakt met de filterkop. Draai het filter vervolgens nog eens ¾ slag.
Controleer het peil van de hydraulische vloeistof en voeg indien nodig de aanbevolen hydraulische vloeistof toe; zie Het peil van de hydraulische vloeistof controleren.
Monteer het middelste scherm.
| Onderhoudsinterval | Onderhoudsprocedure |
|---|---|
| Om de 800 bedrijfsuren |
|
| Om de 2000 bedrijfsuren |
|
Inhoud van reservoir: 18,9 liter
Gebruik ter vervanging een origineel Toro filter; raadpleeg de Onderdelencatalogus voor uw machine.
Verwijder de dop van het hydraulische reservoir (Figuur 46).

Pomp de hydraulische vloeistof uit het hydraulische reservoir (Figuur 46).
Vul het hydraulische reservoir met de aanbevolen hydraulische vloeistof totdat het peil tot aan het versmalde stuk van de peilstok komt; zie Het peil van de hydraulische vloeistof controleren.
Important: Giet niet te veel hydraulische vloeistof in de tank.
Start en stop de motor. Stel de hefcilinder in werking totdat de hefcilinder naar binnen en naar buiten schuift en de wielen vooruit en achteruit kunnen draaien.
Zet de motor af en controleer het peil van de hydraulische vloeistof in het reservoir. Vul olie bij indien dit nodig is.
Controleer op lekkages.
Herstel eventuele hydraulische lekkages.
Monteer het middelste scherm.
Telkens wanneer een onderdeel van het hydraulische systeem is gerepareerd of vervangen, moet u het hydraulische filter vervangen en het hydraulische systeem opladen.
Zorg ervoor dat het hydraulische reservoir en het filter altijd zijn gevuld met vloeistof als u het hydraulische systeem controleert.
Plaats de machine op een horizontaal oppervlak, zet de motor af, stel de parkeerrem in werking en verwijder het sleuteltje.
Draai de 2 schroeven los waarmee het middelste scherm is bevestigd aan de machine en verwijder het scherm (Figuur 47).

Krik het voorwiel en één achterwiel omhoog zodat deze vrijkomen van de grond, en plaats steunblokken onder het frame.
Het voorwiel en één achterwiel moeten vrijkomen van de grond, omdat anders de machine tijdens de afstelling zal bewegen. Hierdoor kan de machine vallen, wat tot lichamelijk letsel kan leiden.
Krik de machine omhoog totdat het voorwiel en 1 achterwiel los komen van de grond.
Start de motor, geef gas en laat de motor op ongeveer 1.800 tpm lopen.
Bedien de hendel van de hefklep totdat de stang van de hefcilinder verscheidene keren naar binnen en naar buiten schuift. Als de cilinderstang na 10–15 seconden niet beweegt of de pomp abnormale geluiden maakt, moet u de motor onmiddellijk afzetten en vaststellen wat de oorzaak of het probleem is. Controleer op de volgende zaken:
Los filter of losse aanzuigleidingen
Los of defect koppelstuk op pomp
Verstopte aanzuigleiding
Defecte ontlastklep
Defecte laadpomp
Als de cilinder binnen 10 tot 15 seconden beweegt, gaat u verder met stap 6.
Zet het tractiepedaal in de vooruit- en achteruit-stand. De wielen die vrij zijn van de grond, moeten in de goede richting draaien.
Als de wielen in de verkeerde richting draaien, moet u de motor afzetten en de leidingen aan de achterkant van de pomp afkoppelen en verwisselen.
Als de wielen in de juiste richting draaien, schakel dan de motor uit en stel de borgmoer van de veerafstelpen af (Figuur 48). Stel de neutraalstand van de tractie af, zie De tractieaandrijving afstellen voor de neutraalstand.

Controleer de afstelling van de interlockschakelaar van de tractie; zie De interlockschakelaar van de tractie afstellen.
Monteer het middelste scherm.
| Onderhoudsinterval | Onderhoudsprocedure |
|---|---|
| Na elk gebruik |
|
Spoel de machine grondig schoon met een tuinslang zonder spuitmond, zodat bij een te hoge waterdruk de afdichtingen en lagers niet worden beschadigd en verontreinigd raken.
Zorg ervoor dat de koelribben en de omgeving van de luchtinlaat van de motorkoeling vrij blijven van vuil.
Important: Als u de oliekoeler met water reinigt, kan hierdoor voortijdig corrosie optreden, kunnen onderdelen schade oplopen en kan vuil gaan aankoeken, zie De oliekoeler reinigen.
Controleer de machine op eventuele lekken in het hydraulische systeem, beschadiging, of slijtage van de hydraulische en mechanische onderdelen.
| Onderhoudsinterval | Onderhoudsprocedure |
|---|---|
| Om de 500 bedrijfsuren |
|
Reinig de machine, werktuigen en motor grondig.
Parkeer de machine op een horizontaal vlak, stel de parkeerrem in werking, zet de motor af, verwijder het contactsleuteltje en wacht totdat alle bewegende onderdelen tot stilstand zijn gekomen voordat u de machine verlaat.
Controleer de bandenspanning; zie Bandenspanning controleren.
Controleer of alle bevestigingen vastzitten; zet ze vast indien nodig.
Smeer of olie alle smeer- en draaipunten; zie De machine smeren.
Plaatsen waar de lak is bekrast, beschadigd of geroest, moeten licht geschuurd en bijgewerkt worden.
Ververs de motorolie en vervang het filter; zie Motorolie verversen en filter vervangen.
Start de motor en laat deze twee minuten stationair lopen.
Zet de motor af; verwijder het sleuteltje en wacht totdat alle bewegende onderdelen tot stilstand zijn gekomen voordat u de machine verlaat.
Zorg ervoor dat het luchtfilter grondig wordt gereinigd en een onderhoudsbeurt krijgt; zie Onderhoud van het luchtfilter.
Plak de luchtfilterinlaat en de uitlaat af. Gebruik hiervoor weerbestendige afplakband.
Controleer de olievuldop en de tankdop om er zeker van te zijn dat deze goed vastzitten.
Haal de accuklemmen los van de accupolen.
Reinig de accu, de klemmen en de polen met behulp van een staalborstel en een oplossing van zuiveringszout (natriumbicarbonaat).
Smeer een dun laagje Grafo 112X-vet (Toro onderdeel 505-47) op de kabelklemmen en de accupolen om corrosie te voorkomen.
Laad de accu om de 60 dagen 24 uur langzaam op om loodsulfatie van de accu te voorkomen.
Note: Het soortelijk gewicht van een volledig opgeladen accu meet 1,250.
Note: Sla de accu op in een koele omgeving om te voorkomen dat de batterij snel ontlaadt. Om te voorkomen dat de accu bevriest, moet deze volledig zijn opgeladen.