| Servisní interval | Postup při údržbě |
|---|---|
| Při každém použití nebo denně |
|
Tento stroj je užitkové zařízení se sedačkou řidiče, které je určeno k použití najímanými profesionálními pracovníky pro komerční účely. Sloužit by měl především k úpravě písečných bunkrů na udržovaných golfových hřištích a komerčních pozemcích. Používání tohoto výrobku pro jiné účely, než ke kterým je určen, může být nebezpečné uživateli i okolostojícím osobám.
Přečtěte si pečlivě následující informace. Dozvíte se, jak správně výrobek používat a jak jej udržovat a jak zabránit poškození výrobku a úrazu při práci s ním. Za řádnou a bezpečnou obsluhu výrobku nesete odpovědnost vy.
Na stránkách www.Toro.com najdete informace o bezpečnosti výrobku, podklady pro zaškolení obsluhy a informace o příslušenství. Můžete zde také vyhledat prodejce výrobků Toro nebo zaregistrovat svůj výrobek.
Kdykoli budete potřebovat servis, originální díly Toro nebo doplňující informace, obraťte se na autorizovaného servisního prodejce nebo zákaznický servis Toro a uveďte model a sériové číslo svého výrobku. Obrázek 1 znázorňuje umístění modelového a sériového čísla na výrobku. Tyto údaje zapište na příslušné místo.
Important: Potřebujete-li informace o záruce, náhradních dílech a jiných údajích o výrobku, pomocí mobilního telefonu můžete naskenovat QR kód (dle výbavy) na štítku sériového čísla.

Varovný bezpečnostní symbol (Obrázek 2), který je uveden jak v této příručce, tak na stroji, označuje důležité bezpečnostní zprávy, které v zájmu předcházení nehodám musíte dodržovat.

Varovný bezpečnostní symbol se zobrazuje nad informacemi, které vás upozorňují na nebezpečné činnosti nebo situace, za kterým následuje slovo NEBEZPEČÍ, VAROVÁNÍ nebo UPOZORNĚNÍ.
NEBEZPEČÍ označuje bezprostředně nebezpečnou situaci, která povede k nebezpečí vážného zranění nebo smrti, pokud jí nebude zabráněno.
VAROVÁNÍ označuje potenciálně nebezpečnou situaci, která může vést k vážnému zranění nebo smrti, pokud jí není zabráněno.
UPOZORNĚNÍ označuje potenciálně nebezpečnou situaci, která může vést k lehkému nebo mírnému zranění, pokud jí není zabráněno.
V této příručce jsou pro zdůraznění informací používána další dvě slova. Důležité upozorňuje na speciální technické informace a Poznámka zdůrazňuje obecné informace, které stojí za zvláštní pozornost.
Tento výrobek splňuje všechny relevantní směrnice Evropské unie. Podrobné informace naleznete v Prohlášení o shodě k tomuto výrobku.
Použití nebo provoz motoru na zalesněných, křovinatých nebo travnatých plochách bez řádně funkčního a udržovaného lapače jisker (jak je uvedeno v oddílu 4442) nebo motoru, který není vhodným způsobem zkonstruován, vybaven a udržován k zajištění prevence vzniku požáru, je porušením oddílu 4442 a 4443 zákona o veřejných zdrojích státu Kalifornie.
Přiložená uživatelská příručka k motoru obsahuje informace o předpisech pro ochranu životního prostředí vydaných organizacemi EPA (US Environmental Protection Agency) a Řízení kontroly emisí státu Kalifornie (California Emission Control Regulation) a týkajících se emisních systémů, údržby a záruky. Náhradní uživatelskou příručku k motoru je možné objednat u výrobce motoru.
CALIFORNIA
Důležité upozornění, poučka 65
Výfukové plyny tohoto výrobku obsahují chemikálie, které podle znalostí státu Kalifornie mohou způsobit rakovinu, vrozené vady a jiná poškození spojená s reprodukčním systémem.
Vývody baterie, svorky a související príslušenství obsahují olovo a slouceniny olova, tj. chemikálie, které jsou ve státe Kalifornie známy jako látky škodlivé pro reprodukcní orgány a vyvolávající rakovinu. Po manipulaci s baterií si rádne omyjte ruce.
Používání tohoto výrobku může způsobit vystavení účinkům chemikálií, které jsou státu Kalifornie známy jako karcinogenní, mutagenní nebo reprotoxické.
Pro zvýšení tahového výkonu lze na přední část stroje přidat sadu závaží 100-6442.
Note: Pokud je stroj vybaven předním zvedákem nebo pluhem, sadu závaží nelze kvůli omezenému prostoru namontovat.
Tento výrobek může způsobit zranění. Vždy dodržujte všechny bezpečnostní pokyny, abyste zamezili vážnému úrazu.
Před spuštěním motoru si přečtěte tuto provozní příručku, abyste porozuměli jejímu obsahu. Každá osoba, jež používá tento výrobek, musí znát správný způsob jeho používání a rozumět všem výstrahám.
Při práci se strojem buďte maximálně opatrní. Neprovádějte žádné činnosti, jež by odváděly vaši pozornost, neboť byste mohli způsobit zranění nebo poškození majetku.
Mějte ruce a nohy v dostatečné vzdálenosti od pohybujících se částí stroje.
Nikdy neprovozujte stroj, pokud nejsou všechny jeho kryty a jiná bezpečnostní ochranná zařízení funkční a ve správné poloze.
Během sekání udržujte stroj v bezpečné vzdálenosti od okolostojících osob.
Do pracovního prostoru nesmí vstupovat děti. Nikdy nedovolte, aby děti se strojem pracovaly.
Před prováděním údržby nebo doplňováním paliva zastavte stroj a vypněte motor.
Nesprávné používání
nebo údržba stroje mohou vést ke zranění.
Abyste snížili riziko zranění, dodržujte
tyto bezpečnostní pokyny a vždy věnujte
pozornost výstražnému symbolu
, který označuje
upozornění, výstrahu nebo nebezpečí –
pokyny k zajištění osobní bezpečnosti.
Nedodržení těchto pokynů může
mít za následek zranění osob nebo jejich
usmrcení.
Více doplňujících informací o bezpečnosti je uvedeno v této příručce tam, kde jsou potřebné.
![]() |
Bezpečnostní štítky a pokyny nemůže pracovník obsluhy přehlédnout, neboť jsou viditelně umístěny v blízkosti každého místa představujícího potenciální nebezpečí. Poškozené nebo chybějící štítky nahraďte novými. |







Note: Levou a pravou stranu stroje určete vzhledem k běžné provozní poloze.
Note: Odstraňte a zlikvidujte všechny přepravní držáky a upevňovací prvky.
Díly potřebné k provedení tohoto kroku:
| Volant | 1 |
| Pěnový prstenec | 1 |
| Podložka | 1 |
| Pojistná matice | 1 |
| Kryt volantu | 1 |
Otočte přední kolo tak, aby směřovalo přímo dopředu.
Nasaďte pěnový prstenec menším koncem dopředu na hřídel volantu (Obrázek 3).

Nasaďte volant na hřídel volantu (Obrázek 3).
Upevněte volant k hřídeli volantu pomocí podložky a pojistné matice (Obrázek 3).
Pojistnou matici utáhněte na utahovací moment 27 až 35 N·m.
Přitlačením nasaďte kryt volantu do původní polohy na volant (Obrázek 3).
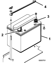
Demontujte 2 křídlaté matice a podložky upevňující horní přídržný prvek baterie k bočním přídržným prvkům (Obrázek 4). Odstraňte horní přídržný prvek baterie a baterii vyjměte.

Díly potřebné k provedení tohoto kroku:
| Tekutý elektrolyt, specifická hustota 1,260 (není dodáván se strojem) | – |
Pokud není akumulátor naplněn elektrolytem nebo aktivován, doplňte do něj elektrolyt s měrnou hmotností 1,260.
Note: Tekutý elektrolyt můžete zakoupit od místního dodavatele akumulátoru.
Elektrolyt akumulátoru obsahuje kyselinu sírovou, která je v případě požití smrtelně jedovatá a může způsobit velmi vážné popáleniny.
Nepožívejte elektrolyt a dbejte, aby nepřišel do styku s pokožkou a nepotřísnil oči ani oděv. Chraňte si oči brýlemi a ruce gumovými rukavicemi.
Akumulátor doplňujte na místě, kde je za všech okolností k dispozici čistá voda pro opláchnutí pokožky.
Sejměte uzávěry plnicího otvoru z baterie a pomalu naplňte jednotlivé články, dokud elektrolyt nedosáhne k rysce naplnění.
Osaďte zpět plnicí uzávěry a k pólům baterie připojte nabíječku dodávající proud 3–4 A. Baterii nabíjejte proudem 3–4 A po dobu 4 až 8 hodin.
Při nabíjení akumulátoru vznikají plyny, které mohou explodovat.
V blízkosti akumulátoru nikdy nekuřte a neuchovávejte akumulátor v blízkosti jisker a otevřeného ohně.
Jakmile je baterie nabitá, odpojte nabíječku z elektrické zásuvky a od pólů baterie. Nechte baterii v klidu po dobu 5 až 10 minut.
Vyjměte uzávěry plnicích otvorů.
Pomalu doplňte elektrolyt do každého článku po rysku naplnění.
Important: Baterii nepřeplňujte. Elektrolyt může přetéct na jiné součásti stroje a způsobit vážnou korozi a znehodnocení zařízení.
Osaďte uzávěry plnicích otvorů.
Díly potřebné k provedení tohoto kroku:
| Šroub (1/4 x 5/8 in) | 2 |
| Pojistná matice (1/4 in) | 2 |
Uložte baterii na místo záporným vývodem směrem k zadní straně stroje (Obrázek 5).

Nesprávné vedení kabelů akumulátoru by mohlo způsobit poškození vozidla a kabely by mohly zapříčinit jiskření. Jiskry by mohly zapříčinit explozi plynů z akumulátoru a následné zranění osob.
Vždy odpojujte nejprve záporný (černý) kabel akumulátoru a teprve potom kladný (červený) kabel akumulátoru.
Vždy připojujte nejdříve kladný (červený) kabel akumulátoru a až potom záporný (černý) kabel.
Vývody akumulátoru nebo kovové nástroje by mohly způsobit zkrat proti kovovým součástem stroje a způsobit jiskření. Jiskry by mohly zapříčinit explozi plynů z akumulátoru a následné zranění osob.
Při vyjímání nebo montáži akumulátoru dbejte na to, aby se vývody akumulátoru nedotýkaly žádných kovových částí stroje.
Dejte pozor, abyste kovovým nástrojem nezkratovali vývody akumulátoru proti kovovým částem stroje.
Upevněte kladný kabel (červený) ke kladnému vývodu (+) šroubem (¼ x ⅝ palce) a pojistnou maticí (Obrázek 6).

Upevněte malý černý kabel a záporný kabel (černý) k zápornému (-) vývodu akumulátoru pomocí šroubu (1/4 x 5/8 in) a pojistné matice (1/4 in) (Obrázek 6).
Potřete vývody a montážní prvky vazelínou, aby nedošlo ke korozi.
Nasuňte gumový návlek na kladný (+) vývod, aby nedošlo k případnému zkratu.
Namontujte horní přídržný prvek baterie na boční přídržné prvky a zajistěte jej pomocí podložek a křídlatých matic.
Díly potřebné k provedení tohoto kroku:
| Sady předních závaží podle potřeby | – |
Tento stroj byl vyroben v souladu s normou ANSI B71.4-2017. Při použití příslušenství se strojem však může být potřebné použít další závaží, aby byly splněny požadavky norem.
Následující tabulka slouží k určení kombinací dalších požadovaných závaží. Díly si objednejte od autorizovaného distributora Toro.
| Příslušenství | Potřebné závaží | Sada závaží | Počet sad |
|---|---|---|---|
| Sada Spiker | 23 kg | Č. dílu 100-6442 | 1 |
| Groomer Rahn pro úpravu trávníku |
Note: U strojů modelové řady 08705 sadu závaží nemontujte, pokud je stroj vybaven soupravou předního zvedacího rámu.
Sadu závaží namontujte podle montážních pokynů k sadě závaží.
Díly potřebné k provedení tohoto kroku:
| Štítek s rokem výroby | 1 |
Upevněte štítek s rokem výroby ke stroji do vyobrazeného místa (Obrázek 7).

Díly potřebné k provedení tohoto kroku:
| Výstražný štítek | 1 |
U strojů vyžadujících osvědčení o souladu s požadavky na označení CE upevněte CE výstražný štítek (díl č. 136-6164) na spodní plochu štítku konzoly (díl č. 132-4422).

Pedál ovládání pojezdu (Obrázek 9) slouží ke 3 úkonům: pohyb stroje dopředu, pohyb stroje dozadu a zastavení stroje. Při ovládání pojezdu používejte špičku a patu pravé nohy; sešlápnutím horní části pedálu zahájíte jízdu dopředu, sešlápnutím dolní části pedálu zahájíte jízdu dozadu nebo pomůžete k zabrzdění při jízdě vpřed (Obrázek 10). Při zastavení stroje nechte pedál vrátit se do NEUTRáLNí polohy nebo jej přesuňte sami.
Important: Při jízdě se strojem vpřed opřete patu o opěrku nohy, nikoli o pedál zpátečky pojezdového pedálu.


Pojezdová rychlost je přímo závislá na míře sešlápnutí pedálu pojezdu. Maximální rychlosti pojezdu dosáhnete úplným sešlápnutím pedálu, když je škrticí klapka v poloze pro rychlý CHOD. Chcete-li dosáhnout maximálního výkonu nebo jedete-li do kopce, přemístěte škrticí klapku do polohy pro RYCHLý chod a sešlápněte mírně pedál, abyste udrželi vysoké otáčky motoru. Když se otáčky motoru začnou snižovat, uvolněte mírně pedál, aby se otáčky zvýšily.
Important: Chcete-li dosáhnout maximálního tažného výkonu, posuňte škrticí klapku do polohy pro RYCHLý chod a mírně sešlápněte pedál ovládání pojezdu.
Important: Maximální pojezdovou rychlostí jezděte pouze mezi pracovišti.Maximální rychlostí nejezděte při použití namontovaného nebo vlečeného přídavného zařízení.
Important: Nejezděte se strojem dozadu, když je příslušenství ve spuštěné (provozní) poloze, jinak hrozí jeho vážné poškození.
Spínač zapalování (Obrázek 11) pro spuštění a vypnutí motoru má tři polohy: VYPNUTO, PROVOZ a START. Otočením klíčku ve směru hodinových ručiček do polohy START zapnete motor startéru. Jakmile motor nastartuje, klíček uvolněte; klíč se vrátí do polohy PROVOZ. Motor vypnete otočením klíčku proti směru hodinových ručiček do polohy VYPNUTO.

Chcete-li nastartovat studený motor, zavřete sytič karburátoru přesunutím páčky sytiče (Obrázek 11) nahoru do zavřené polohy. Po spuštění motoru nastavte sytič tak, aby motor běžel plynule. Jakmile je to možné, přesunutím páčky dolů do OTEVřENé polohy otevřete sytič. Zahřátý motor vyžaduje použití sytiče jen minimálně nebo vůbec.
Ovládací páka škrticí klapky (Obrázek 11) se připojuje k táhlu mezi škrticí klapkou a karburátorem, které ovládá. Tato páčka má 2 polohy: POMALý a RYCHLý chod. Otáčky motoru lze přepínat mezi těmito dvěma nastaveními.
Note: Motor nemůžete vypnout pomocí ovladače škrticí klapky.
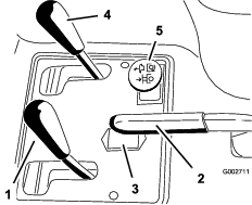
Chcete-li zvednout příslušenství, zatáhněte páku ovládání zdvihu (Obrázek 12) dozadu. Chcete-li příslušenství spustit dolů, zatlačte páku dopředu. PLOVOUCí polohu nastavíte přesunutím páky do aretované polohy. Jakmile dosáhnete požadované polohy, páku uvolněte; ta se vrátí do neutrální polohy.

Note: Stroj je vybaven dvojčinným zvedacím válcem. Za některých provozních podmínek lze na přídavné zařízení vyvinout tlak směrem dolů.
Chcete-li zajistit parkovací brzdu (Obrázek 12), zatáhněte páku parkovací brzdy dozadu. Chcete-li brzdu uvolnit, zatlačte páku dopředu.
Note: K uvolnění parkovací brzdy může být nutné pomalu přesunout pedál pojezdu dopředu a dozadu.
Počitadlo provozních hodin (Obrázek 12) udává celkový počet provozních hodin stroje. Počitadlo provozních hodin začíná načítat po každém otočení klíčem spínače zapalování do ZAPNUTé polohy.
Přesuňte páku na levé straně sedačky (Obrázek 13) dopředu, posuňte sedačku do požadované polohy a uvolněním páky zajistěte sedačku v dané poloze.

Pokud stroj uskladňujete nebo jej přepravujete na přívěsu, zavřete uzavírací ventil paliva (Obrázek 14).

Note: Specifikace a design se mohou bez upozornění změnit.
| Šířka bez příslušenství | 148 cm |
| Šířka se shrnovačem, model 08751 | 191 cm |
| Délka bez příslušenství | 164 cm |
| Výška | 115 cm |
| Rozvor kol | 109 cm |
| Čistá hmotnost | |
| Model 08703 | 452 kg |
| Model 08705 | 461 kg |
Pro stroj je k dispozici řada přídavných zařízení a příslušenství schválených společností Toro, která vylepšují a rozšiřují možnosti stroje. Seznam schválených přídavných zařízení a příslušenství můžete získat od svého autorizovaného servisního prodejce nebo distributora Toro nebo na stránkách www.Toro.com.
K zajištění optimální výkonnosti a dodržení požadavků na bezpečnost stroje je nutné používat pouze originální náhradní díly a příslušenství společnosti Toro. Náhradní díly a příslušenství jiných výrobců mohou být nebezpečné a jejich použití může mít za následek zneplatnění záruky.
Než opustíte stroj, odstavte jej na rovném povrchu, vypněte motor, vytáhněte klíč a počkejte, až se zastaví všechny pohybující se části.
Nikdy nedovolte, aby nezaškolené osoby nebo děti obsluhovaly stroj nebo na něm prováděly servis. Věkovou hranici obsluhy mohou omezovat místní předpisy. Za proškolení všech operátorů a mechaniků je odpovědný majitel.
Důkladně se seznamte s bezpečným použitím zařízení, ovládacími prvky a významem bezpečnostních nápisů.
Naučte se, jak stroj a motor rychle vypnout.
Přesvědčte se, zda jsou namontovány kontrolní prvky přítomnosti obsluhy, bezpečnostní spínače a ochranné kryty a zda správně fungují. Stroj nepoužívejte, pokud tyto prvky nepracují správně.
Před obsluhou vždy zkontrolujte stroj a přesvědčte se, zda jeho součásti a upevňovací prvky jsou v dobrém provozním stavu. Opotřebené nebo poškozené součásti a upevňovací prvky neprodleně vyměňte.
Zkontrolujte prostor, kde budete stroj používat, a odstraňte všechny předměty, jež mohou být strojem vymrštěny.
Při manipulaci s palivem buďte velmi opatrní. Palivo je vysoce hořlavé a jeho výpary jsou výbušné.
Uhaste cigarety, doutníky, dýmky a ostatní zdroje vznícení.
Používejte jen schválený kanystr.
Neodstraňujte uzávěr palivové nádrže ani nedoplňujte nádrž palivem při spuštěném nebo horkém motoru.
Nedoplňujte ani nevypouštějte palivo v uzavřeném prostoru.
Neskladujte stroj nebo nádobu s palivem v blízkosti otevřeného ohně, zdroje jisker nebo tepla, například u ohřívače vody nebo jiného zařízení.
V případě rozlití paliva se nepokoušejte nastartovat motor a vyhýbejte se použití jakéhokoli zdroje vznícení, dokud se palivové výpary nerozptýlí.
Objem palivové nádrže: 25 l
Doporučené palivo:
Nejlepších výsledků dosáhnete, když budete používat pouze čistý, čerstvý (ne starší než 30 dnů) bezolovnatý benzín s oktanovým číslem kolem 87 nebo vyšším (metoda stanovení (R+M)/2).
Etanol: Přijatelná jsou i paliva s až 10 % etanolu nebo 15 % MTBE (metyltercbutyléter). Etanol a MTBE jsou různé látky. Paliva s více než 15 % etanolu (E15) nejsou schválena k použití. Nikdy nepoužívejte paliva obsahující více než 10 % etanolu, například E15 (obsahuje 15 % etanolu), E20 (obsahuje 20 % etanolu) nebo E85 (obsahuje až 85 % etanolu). Použití neschváleného paliva může mít za následek problémy s výkonem nebo poškození motoru, na které se nevztahuje záruka.
Nepoužívejte benzín obsahující metanol.
Neuchovávejte palivo přes zimu v palivové nádrži nebo nádobách na palivo bez použití stabilizátoru paliva.
Nepřidávejte do benzínu olej.
Important: Nepoužívejte jiná aditiva než stabilizační aditivum. Nepoužívejte stabilizátory paliva na bázi alkoholu, například etanolu, metanolu nebo izopropanolu.
Očistěte oblast kolem uzávěru palivové nádrže (Obrázek 15).
Sejměte uzávěr palivové nádrže.
Nádrž plňte do úrovně asi 25 mm pod horní okraj nádrže (spodní okraj plnicího hrdla). Nepřeplňujte.

Namontujte uzávěr.
Otřete veškeré rozlité palivo, aby nevznikl požár.
Important: Nikdy nepoužívejte metanol, palivo obsahující metanol nebo palivovou směs obsahující více než 10 % etanolu; mohlo by dojít k poškození palivového systému. Nemíchejte do paliva olej.
Před uvedením stroje do provozu proveďte každý den následující kroky:
| Servisní interval | Postup při údržbě |
|---|---|
| Při každém použití nebo denně |
|
Jsou-li ochranné spínače odpojené nebo poškozené, vozidlo se může za provozu chovat neočekávaně a způsobit zranění.
S ochrannými spínači nemanipulujte.
Denně funkci ochranných spínačů kontrolujte a každý poškozený spínač před použitím vozidla vyměňte.
Účelem bezpečnostního blokovacího systému je zabránit nastartování nebo protáčení motoru, pokud není pedál ovládání pojezdu v NEUTRáLNí poloze. Motor musí rovněž vypnout, pokud je pedál ovládání pojezdu sešlápnut dopředu nebo dozadu a řidič nesedí na sedátku.
Odstavte stroj na volné ploše bez překážek a zajistěte, aby se v blízkosti nevyskytovaly další osoby. Vypněte motor.
Sedněte si na sedačku a zatáhněte parkovací brzdu.
Sešlápněte pedál ovládání pojezdu dopředu a dozadu a zkuste přitom nastartovat motor.
Note: Pokud motor startuje, znamená to možnou závadu bezpečnostního blokování. Závadu okamžitě opravte.Pokud motor nestartuje, znamená to, že systém funguje správně.
Zůstaňte sedět na sedadle, uveďte pedál ovládání pojezdu do NEUTRáLNí polohy, zatáhněte parkovací brzdu a nastartujte motor.
Nadzvedněte se ze sedadla a pomalu sešlápněte pedál ovládání pojezdu.
Note: Motor se musí během 1 až 3 sekund vypnout. V případě nesprávné funkce poruchu odstraňte.
Note: Levou a pravou stranu stroje určete z pohledu běžné pozice obsluhy.
Majitel nebo obsluha odpovídá za nehody, jež mohou vést ke zranění osob nebo poškození majetku, a má jim předcházet.
Používejte vhodný oděv, včetně ochrany zraku, pevné protiskluzové ochranné obuvi, dlouhých kalhot a chráničů sluchu. Svažte si dlouhé vlasy a nenoste volné šperky.
Stroj neobsluhujte, jste-li nemocní, unaveni nebo pod vlivem alkoholu nebo drog.
Nikdy na stroji nepřevážejte spolujezdce a během provozu stroje zajistěte, aby byly přihlížející osoby nebo zvířata v bezpečné vzdálenosti od stroje.
Se strojem pracujte jen za dobré viditelnosti, abyste se mohli vyhnout výmolům a skrytému nebezpečí.
Nepracujte na mokré trávě. Stroj se může smekat v důsledku snížené tahové síly.
Před spuštěním motoru se přesvědčte, zda jsou všechny pohony v neutrální poloze, zda je zatažena parkovací brzda a zda zaujímáte správnou pracovní pozici.
Před couváním se podívejte dozadu a dolů a ověřte si, že máte volnou cestu.
Buďte opatrní, pokud se blížíte k nepřehledným zatáčkám, křovinám, stromům nebo jiným objektům, jež vám mohou bránit ve výhledu.
Stroj nepoužívejte blízko srázů, příkopů či nábřeží. V případě přejetí kola přes okraj nebo propadnutí okraje se stroj může náhle převrhnout.
Pokud zasáhnete nějaký předmět nebo jestliže stroj nadměrně vibruje, zastavte jej a zkontrolujte přídavné zařízení. Před obnovením provozu proveďte všechny nezbytné opravy.
Při zatáčení a jízdě přes silnice nebo chodníky stroj zpomalte a počínejte si opatrně. Vždy dávejte přednost jiným vozidlům.
Nikdy nespouštějte motor v prostoru, kde se mohou hromadit výfukové plyny.
Nikdy nenechávejte stroj se spuštěným motorem bez dozoru.
Před opuštěním pracovní pozice proveďte následující:
Zaparkujte stroj na rovném povrchu.
Spusťte přídavná zařízení.
Zatáhněte parkovací brzdu.
Vypněte motor a vyjměte klíč.
Počkejte, dokud se nezastaví všechny pohybující se části.
Nepracujte se strojem, pokud hrozí nebezpečí zásahu bleskem.
Nepoužívejte stroj jako vlečné vozidlo.
V případě nutnosti povrch před úpravou navlhčete, abyste minimalizovali tvorbu prachu.
Používejte pouze příslušenství, přídavná zařízení a náhradní díly schválené společností Toro.
Pro práci ve svazích si stanovte vlastní postupy a pravidla. Tyto postupy musí zahrnovat průzkum pracoviště, kde je třeba stanovit, které svahy jsou bezpečné pro provoz stroje. Při provádění průzkumu se vždy řiďte zdravým rozumem a dobrým úsudkem.
Svahy jsou významným faktorem při nehodách způsobených ztrátou kontroly nebo převrácením. Takové nehody mohou vést k vážnému poranění nebo usmrcení. Při práci na svahu odpovídá za bezpečnost pracovník obsluhy. Při práci se strojem na jakémkoli svahu je třeba dbát zvýšené pozornosti.
Svahy jsou významným faktorem při nehodách způsobených ztrátou kontroly nebo převrácením, které mohou vést k vážnému poranění nebo smrti. Při práci se strojem na jakémkoli svahu je třeba dbát zvýšené pozornosti.
Jste-li na svahu, pracujte se strojem se sníženou rychlostí.
Pokud se při práci ve svahu necítíte bezpečně, práci přerušte.
Věnujte pozornost dírám, vyjetým kolejím, hrbolům, kamenům a jiným skrytým předmětům. Stroj se může na nerovném terénu převrhnout. Vysoká tráva může překážky skrýt.
Volte nízkou pojezdovou rychlost, abyste ve svahu nemuseli zastavovat nebo řadit.
K převrácení může dojít ještě dříve, než kola ztratí trakci.
Vyvarujte se práce se strojem na mokré trávě. Pneumatiky mohou ztratit tahový výkon bez ohledu na to, zda jsou dostupné a funkční brzdy.
Na svahu stroj nerozjíždějte, nezastavujte ani jej neotáčejte.
Na svahu se pohybujte pomalu a plynule. Neměňte náhle rychlost ani směr jízdy se strojem.
Nepracujte se strojem v blízkosti prudkých svahů, příkopů, náspů nebo vodních toků. Při přejetí kola přes okraj nebo propadnutí okraje se stroj může náhle převrhnout. Mezi strojem a jakýmkoliv nebezpečím ponechte bezpečnou vzdálenost (šířka 2 strojů).
Sundejte nohu z pedálu ovládání pojezdu, přesvědčte se, že je pedál v NEUTRáLNí poloze, a zatáhněte parkovací brzdu.
Přesuňte páčku sytiče dopředu do ZAPNUTé polohy (při startování studeného motoru) a páčku škrticí klapky do polohy pro POMALý chod.
Important: Při provozu stroje při teplotách do 0 ℃ nechte stroj před použitím zahřát. Zabráníte tak poškození hydrostatu a okruhu pohonu.
Vložte klíč do zapalování a otočením doprava nastartujte motor. Po spuštění motoru klíček uvolněte.
Note: Nastavte sytič tak, aby motor běžel plynule.
Important: Aby nedošlo k přehřívání motoru startéru, nespínejte startér na dobu delší než 10 sekund. Po 10 sekundách souvislého startování vyčkejte 60 sekund před opětovným sepnutím.
Chcete-li motor vypnout, přesuňte páčku škrticí klapky do polohy pro POMALý chod a otočte klíčem zapalování do VYPNUTé polohy.
Note: Vytáhněte klíček ze spínače zapalování, aby nedošlo k náhodnému nastartování.
Před odstavením stroje uzavřete uzavírací ventil paliva.
Při provádění kontroly stroje při spuštěném motoru může dojít ke zranění.
Před kontrolou úniku oleje, uvolněných součástí a dalších závad vypněte motor a vyčkejte, až se všechny pohybující se součásti zastaví.
U nových motorů trvá nějaký čas, než dosáhnou maximálního výkonu. V systémech pohonu je větší tření, jsou-li nové; v důsledku toho je větší i zatížení motoru.
Během prvních 8 hodin provozu nechte stroj zaběhnout.
Jelikož první hodiny provozu jsou klíčové pro budoucí spolehlivost stroje, pozorně sledujte jeho funkce a výkon, abyste rozpoznali a odstranili mírné nedostatky, které by mohly vést k závažným problémům. Během záběhu často kontrolujte, zda u stroje nejsou patrné známky úniku oleje, uvolněné upevňovací prvky nebo jiné závady.
Konkrétní provozní pokyny k příslušenství naleznete v provozní příručce přídavného zařízení.
Vyzkoušejte si jízdu se strojem, protože jeho provozní vlastnosti se liší od jiných užitkových vozidel. Dva aspekty, kterým je při provozu vozidla nutné věnovat pozornost, jsou otáčky převodovky a otáčky motoru.
Chcete-li udržovat konstantní otáčky motoru, pedál ovládání pojezdu sešlapujte pomalu. Tím zajistíte, že motor bude udržovat otáčky v souladu s pojezdovou rychlostí vozidla. Naopak rychlým sešlápnutím pedálu ovládání pojezdu otáčky motoru snížíte; v důsledku toho nebude točivý moment motoru poskytovat dostatečný výkon pro pohyb vozidla. Chcete-li tedy kola pohánět maximálním výkonem, přesuňte škrticí klapku do polohy pro RYCHLý chod a mírně sešlápněte pedál ovládání pojezdu. Minimální pojezdové rychlosti bez zatížení naopak dosáhnete, pokud je škrticí klapka v poloze pro RYCHLý chod a pedál ovládání pojezdu sešlápnete pomalu až na doraz. Vždy je nutné udržovat otáčky motoru patřičně vysoké, aby byl na kola přenášen dostatečný točivý moment.
Provoz stroje vyžaduje vaši plnou pozornost, aby nedošlo k převrácení stroje nebo ztrátě kontroly nad ním.
Při najíždění do písečných bunkrů a výjezdu z nich dbejte zvýšené opatrnosti.
Extrémní opatrnost je nutná v blízkosti příkopů, strží a dalších nebezpečných míst.
Při práci se strojem na strmém svahu dbejte zvýšené opatrnosti.
Při ostrém zatáčení a při zatáčení na svahu snižte rychlost.
Vyhýbejte se prudkým zastavením a rozjezdům.
Při jízdě vzad nepřeřazujte prudce na plný vchod vpřed, aniž byste stroj nejdříve zcela zastavili.
Note: Pokud adaptér příslušenství uvízne v adaptéru hnací jednotky, zasuňte páčidlo nebo šroubovák do uvolňovacího otvoru a díly uvolněte (Obrázek 16).

Než opustíte stroj, odstavte jej na rovném povrchu, vypněte motor, vytáhněte klíč a počkejte, až se zastaví všechny pohybující se části.
V zájmu předejití vzniku požáru odstraňujte z tlumiče výfuku a motoru trávu a jiné nečistoty. Místa potřísněná uniklým olejem nebo palivem vždy očistěte.
Před uskladněním stroje v jakýchkoli uzavřených prostorech nechejte vždy vychladnout motor.
Před odstavením nebo převozem stroje zavřete přívod paliva.
Nikdy neskladujte stroj nebo nádobu s palivem v blízkosti otevřeného ohně, zdroje jisker nebo tepla, například ohřívače vody a jiných zařízení.
Udržujte všechny díly stroje v dobrém provozním stavu a dbejte na to, aby byly utaženy všechny upevňovací prvky.
Veškeré opotřebené, poškozené nebo chybějící štítky nahraďte novými.
V případě nouze lze stroj vléct na krátkou vzdálenost. Tento postup nicméně nedoporučujeme jako standardní.
Important: Při vlečení nepřekračujte rychlost 1,6 km/h, jinak hrozí nebezpečí poškození hnacího systému. Pokud potřebujete stroj přepravit na vzdálenost větší než 50 m, naložte jej na nákladní automobil nebo přívěs. Při vlečení stroje příliš vysokou rychlostí se pneumatiky mohou zablokovat. Pokud k tomu dojde, přestaňte stroj vléct a vyčkejte, než se stabilizuje tlak v okruhu pojezdu. Poté lze stroj opět vléct pomalou rychlostí.
Při nakládání stroje na přívěs nebo nákladní vozidlo používejte nájezdové plošiny stejně široké jako stroj.
Stroj bezpečně upevněte.
Note: Pokud potřebujete elektrické schéma nebo hydraulické schéma svého stroje, navštivte www.Toro.com.
Před nastavováním, čištěním, opravou nebo opuštěním stroje proveďte následující:
Zaparkujte vozidlo na rovné ploše.
Přesuňte spínač ovládání škrticí klapky do polohy pro nízké volnoběžné otáčky.
Spuštění přídavného zařízení
Přesvědčte se, zda je pohon v neutrálu.
Zatáhněte parkovací brzdu.
Vypněte motor a vyjměte klíč.
Počkejte, dokud se nezastaví všechny pohybující se části.
Před prováděním údržby nechejte vychladnout všechny součásti stroje.
Je-li to možné, neprovádějte údržbu se spuštěným motorem. Nepřibližujte se k pohybujícím se částem.
Pokud je třeba stroj nebo jeho součásti podepřít, použijte zvedáky.
Opatrně uvolněte tlak z dílů s akumulovanou energií.
| Servisní interval | Postup při údržbě |
|---|---|
| Po prvních 8 hodinách |
|
| Při každém použití nebo denně |
|
| Po každém použití |
|
| Po každých 25 hodinách provozu |
|
| Po každých 100 hodinách provozu |
|
| Po každých 200 hodinách provozu |
|
| Po každých 500 hodinách provozu |
|
| Po každých 800 hodinách provozu |
|
| Po každých 1000 hodinách provozu |
|
| Po každých 1500 hodinách provozu |
|
| Po každých 2000 hodinách provozu |
|
Note: Levou a pravou stranu stroje určete vzhledem k běžné provozní poloze.
Jestliže ponecháte klíček ve spínači zapalování, může kdokoli spustit motor a způsobit vám nebo okolostojícím osobám vážné zranění.
Před prováděním jakékoli údržby vytáhněte klíček ze spínače zapalování.
Important: Upevňovací prvky na krytech stroje musí po demontáži zůstat na krytech. Povolte všechny upevňovací prvky na všech krytech o několik otáček, aby kryty byly volné, ale zůstaly na místě. Poté je opět povolte, aby se kryty uvolnily. Tím zabráníte nežádoucímu vyšroubování šroubů z upevňovacích prvků.
Stroj je vybaven maznicemi, které je třeba pravidelně po každých 100 hodinách provozu promazávat mazivem č. 2 na bázi lithia.
Promažte následující ložiska a pouzdra:
Ložisko předního kola (1) (Obrázek 19)

Otočný čep pedálu ovládání pojezdu (1) (Obrázek 20)

Zadní závěs (5) (Obrázek 21)

Konec tyče válce řízení (1) – pouze model 08705 (Obrázek 22)

Svislý čep řízení (Obrázek 23)
Note: Zapuštěný upevňovací prvek na svislém čepu řízení (Obrázek 23) vyžaduje použití adaptéru trysky mazací pistole. Od autorizovaného distributora Toro si opatřete díl obj. č. Toro 107-1998.

| Servisní interval | Postup při údržbě |
|---|---|
| Po každých 100 hodinách provozu |
|
Očistěte maznice tak, aby do ložiska ani pouzdra nemohly proniknout cizí částice.
Naplňte mazivem ložisko nebo pouzdro.
Přebytečné mazivo otřete.
Před kontrolou hladiny oleje a doplňováním oleje do klikové skříně vypněte motor.
Neměňte otáčky regulátoru a nepřekračujte maximální otáčky motoru.
Používejte vysoce kvalitní motorový olej, který splňuje následující požadavky:
Požadovaná úroveň klasifikace API: SL nebo vyšší
Viskozita oleje: SAE 30 – nad 4 °C
| Servisní interval | Postup při údržbě |
|---|---|
| Při každém použití nebo denně |
|
Motor je dodáván s klikovou skříní naplněnou olejem; před prvním spuštěním motoru a vzápětí po něm je však nutné hladinu oleje zkontrolovat.
Odstavte stroj na rovném povrchu, vypněte motor, zatáhněte parkovací brzdu a vyjměte klíč.
Vyklopte sedačku dopředu.
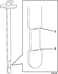
Vytáhněte měrku (Obrázek 24) a otřete ji čistým hadrem.

Zasuňte měrku do trubice a ujistěte se, že je zcela usazena. Vyjměte měrku z trubice a zkontrolujte hladinu oleje. Pokud je hladina oleje nízká, sejměte uzávěr plnicího otvoru oleje z krytu ventilu a doplňte dostatečné množství specifikovaného oleje tak, aby hladina dosahovala ke značce horní meze na měrce.
Important: Hladina oleje musí být mezi značkou horní a dolní meze na měrce. Je-li hladina oleje příliš vysoko nebo nízko, může se motor za chodu poškodit.
Pevně osaďte měrku zpět na místo.
Important: Aby bylo zajištěno řádné utěsnění klikové skříně motoru, měrka musí být v trubici zcela zasunuta. Není-li kliková skříň správně utěsněna, hrozí poškození motoru.
Sklopte sedačku dolů.
| Servisní interval | Postup při údržbě |
|---|---|
| Po každých 100 hodinách provozu |
|
Kapacita klikové skříně: přibližně 1,66 l včetně filtru.
Odstavte stroj na rovném povrchu, vypněte motor, zatáhněte parkovací brzdu a vyjměte klíč.
Vyšroubujte zátku vypouštěcího otvoru (Obrázek 25) a nechte olej vytékat do sběrné nádoby. Jakmile olej přestane téci, zašroubujte zátku vypouštěcího otvoru.

Demontujte olejový filtr (Obrázek 25).
Těsnění nového filtru lehce potřete čistým olejem.
Našroubujte filtr rukou tak, aby se těsnění dotýkalo adaptéru filtru; poté jej utáhněte o další ½ až ¾ otáčky.
Important: Filtr nadměrně neutahujte.
Do klikové skříně doplňte specifikovaný olej; postupujte podle pokynů v části Kontrola hladiny motorového oleje.
Použitý olej zlikvidujte předepsaným způsobem.
| Servisní interval | Postup při údržbě |
|---|---|
| Po každých 200 hodinách provozu |
|
Zkontrolujte, zda není kryt vzduchového filtru poškozen, což by mohlo způsobit únik vzduchu. Vyměňte všechny poškozené součásti. Zkontrolujte v celém sacím systému, zda se v něm nevyskytují netěsnosti, poškození nebo uvolněné hadicové svorky.
Předčasná výměna vzduchového filtru pouze zvyšuje nebezpečí vniknutí nečistot do motoru v okamžiku demontáže filtru.
Kryt musí být správně usazen a utěsněn s krytem vzduchového filtru.
| Servisní interval | Postup při údržbě |
|---|---|
| Po každých 200 hodinách provozu |
|
Uvolněte západky upevňující kryt vzduchového filtru k pouzdru vzduchového filtru (Obrázek 26).

Sejměte kryt z pláště vzduchového filtru.
Před vyjmutím filtru odstraňte pomocí nízkotlakého vzduchu (čistý a suchý vzduch o tlaku 2,76 baru) větší nahromadění nečistot mezi vnější stranou primárního filtru a nádobou.
Important: Nepoužívejte vysokotlaký vzduch, který by mohl nečistoty protlačit přes filtr do sacího potrubí. Tento postup čištění zabrání vniknutí nečistot do systému sání, je-li primární filtr demontován.
Vyjměte a vyměňte filtr.
Note: Kontrolou těsnicího konce filtru a pláště zjistěte, zda nový filtr nebyl poškozen při přepravě. Nepoužívejte poškozený filtr. Zasuňte nový filtr tlakem na vnější obrubu a usaďte jej v nádobě. Netlačte na pružný střed filtru.
Note: Čištění použité filtrační vložky se nedoporučuje vzhledem k možnému poškození filtračního média.
Očistěte otvor pro vypuzování nečistot ve snímatelném krytu.
Vyjměte z krytu pryžový výtlačný ventil, vyčistěte dutinu a výtlačný ventil nasaďte zpět.
Nasaďte kryt tak, aby gumový výtlačný ventil směřoval dolů, přibližně do polohy mezi 5. a 7. hodinou při pohledu směrem od konce.
Zajistěte západky.
| Servisní interval | Postup při údržbě |
|---|---|
| Po každých 100 hodinách provozu |
|
Typ: Champion RC14YC (nebo odpovídající)
Vzdálenost elektrod: 0,76 mm
Note: Životnost zapalovacích svíček je zpravidla dlouhá. Je však nutné je demontovat a zkontrolovat při každé poruše motoru.
Očistěte okolí každé zapalovací svíčky, aby se po demontáži nedostaly do válce žádné nečistoty.
Odpojte kabely zapalovacích svíček a svíčky vyšroubujte z hlavy válců.
Zkontrolujte stav vnější elektrody, střední elektrody a izolátoru, abyste si byli jisti, že nedošlo k jejich poškození.
Important: Prasklou, zanesenou, znečištěnou nebo jinak poškozenou svíčku vyměňte. K čištění elektrod svíček nepoužívejte tryskání pískem, škrabku ani drátěný kartáč, protože drť uvolněná ze svíčky by mohla napadat do válce a poškodit motor.
Nastavte vzdálenost mezi střední a vnější elektrodou na 0,76 mm, viz Obrázek 27. Správně seřízenou zapalovací svíčku nasaďte společně s těsněním zpět a utáhněte na utahovací moment 23 Nm. Pokud nepoužijete momentový klíč, utáhněte svíčku pevně.

| Servisní interval | Postup při údržbě |
|---|---|
| Po každých 500 hodinách provozu |
|
Palivový filtr je integrován do palivového potrubí. Jakmile je nutné provést výměnu, postupujte následovně:
Zavřete uzavírací filtr paliva, povolte svorku hadice na straně filtru směrem ke karburátoru a odpojte palivové potrubí od filtru (Obrázek 28).

Umístěte pod filtr vypouštěcí nádobu, povolte zbývající svorku hadice a filtr odstraňte.
Namontujte nový filtr tak, aby šipka na tělese filtru směřovala od palivové nádrže (směrem ke karburátoru).
Nasaďte hadicové svorky na konce palivového potrubí.
Zasuňte hadice do palivového filtru a připevněte je hadicovými svorkami.
Note: Šipka na boku filtru musí směřovat ke karburátoru.
| Servisní interval | Postup při údržbě |
|---|---|
| Po každých 500 hodinách provozu |
|
Zvedněte pravou zadní pneumatiku nad zem a podepřete stroj montážními podstavci.
Demontujte 4 matice upevňující kola k náboji a kolo s pneumatikou sejměte (Obrázek 29).

Demontujte 4 šrouby s přírubovou hlavou (¼ x ⅝ palce), jež upevňují kryt kola k rámu stroje (Obrázek 30).

Sáhněte rukou kolem spodního vnitřního okraje konzoly a z hadice na konci nádrže s aktivním uhlím vyjměte filtr nádrže s aktivním uhlím (Obrázek 31).

Do hadice na konci nádrže s aktivním uhlím zasuňte nový filtr nádrže s aktivním uhlím (Obrázek 31).
Vyrovnejte otvory v krytu kola s rámem stroje (Obrázek 30) a připevněte kryt k rámu pomocí 4 šroubů s přírubovou hlavou (¼ x ⅝ palce), které jste demontovali v kroku 3.
Nasaďte kolo s pneumatikou na šrouby náboje kola (Obrázek 29), namontujte 4 matice kol, jež jste demontovali v kroku 2, a matice rukou utáhněte.
Odstraňte montážní podstavec a spusťte stroj na zem.
Utáhněte matice kola, viz Utahování upevňovacích matic kol.
Před opravou odpojte akumulátor. Jako první odpojte záporný vývod a pak teprve kladný vývod. Jako první připojte kladný vývod a pak teprve záporný vývod.
Akumulátor dobíjejte v dobře větraném otevřeném prostoru a v dostatečné vzdálenosti od zdroje jiskření nebo ohně. Před připojením nebo odpojením akumulátoru nejprve odpojte nabíječku. Oblečte si ochranný oděv a používejte izolované nástroje.
Pokud je nutné nastartovat stroj pomocí startovacích kabelů, použijte alternativní kladný vývod (na elektromagnetu startéru) namísto kladného vývodu akumulátoru (Obrázek 32).

Blok pojistek (Obrázek 33) se nachází pod sedačkou.

| Servisní interval | Postup při údržbě |
|---|---|
| Po každých 25 hodinách provozu |
|
Hladinu elektrolytu v akumulátoru udržujte ve správné výši. Horní část akumulátoru uchovávejte v čistotě. Pokud je stroj odstaven na místě s extrémně vysokými teplotami, akumulátor se vybije mnohem rychleji, než kdyby byl stroj uložen na mírně chladném místě.
Horní část akumulátoru udržujte v čistotě pravidelným umýváním pomocí kartáče namočeného v roztoku amoniaku nebo jedlé sody. Po čištění opláchněte horní plochu akumulátoru vodou. Během čištění akumulátoru nesundávejte uzávěr plnicího otvoru.
Kabely akumulátoru musí být těsně upevněny ke svorkám, aby byl zajištěn dostatečný elektrický kontakt.
Pokud se na svorkách akumulátoru vyskytne koroze, odpojte kabely (záporný kabel (-) nejdříve) a oškrábejte zvlášť svorky a kontakty. Připojte kabely, kladný kabel (+) nejdříve, a potřete svorky vazelínou.
Hladinu elektrolytu kontrolujte v intervalu 25 provozních hodin nebo každých 30 dnů, je-li vozidlo uskladněno.
Udržujte hladinu elektrolytu v článcích pomocí destilované nebo demineralizované vody. Nenaplňujte články nad rysku.
| Servisní interval | Postup při údržbě |
|---|---|
| Při každém použití nebo denně |
|
Před uvedením stroje do provozu zkontrolujte tlak vzduchu v pneumatikách (Obrázek 34). Správný tlak vzduchu v předních a zadních pneumatikách je následující:
Pneumatiky se vzorkem: 0,69 baru
Note: Je-li vyžadován vyšší tahový výkon pro práci s radlicí, snižte tlak na hodnotu 0,55 baru.
Hladké pneumatiky: 0,55 až 0,69 baru

| Servisní interval | Postup při údržbě |
|---|---|
| Po prvních 8 hodinách |
|
| Po každých 100 hodinách provozu |
|
Utáhněte upevňovací matice na utahovací moment 95 až 122 N·m.
Pokud se stroj pohybuje, když je pedál ovládání pojezdu v neutrální poloze, seřiďte vačkový mechanismus ovládání pojezdu.
Odstavte stroj na rovném povrchu, vypněte motor, zatáhněte parkovací brzdu a vyjměte klíč.
Povolte 2 šrouby upevňující prostřední kryt ke stroji a kryt odstraňte (Obrázek 35).

Zvedněte přední kolo a jedno zadní kolo nad zem a podepřete rám pomocí bloků.
Přední kolo a jedno zadní kolo musí být zvednuty nad zem, jinak během seřízení dojde k pohybu stroje. Mohlo by dojít k pádu stroje a zranění osoby pod ním.
Přesvědčte se, zda je stroj správně podepřen a přední a jedno zadní kolo je zdviženo nad zemí.
Povolte pojistnou matici vačkového mechanismu pro seřízení pohonu (Obrázek 36).

Motor musí být spuštěn, abyste mohli provést konečné nastavení vačky pro seřízení pohonu. Kontakt s pohybujícími se součástmi nebo horkým povrchem může způsobit zranění.
Nepřibližujte ruce, nohy, obličej ani jiné části těla k pohybujícím se součástem, výfuku ani jiným horkým povrchům.
Nastartujte motor a otáčením šestihranným koncem vačky (Obrázek 36) v obou směrech určete střední polohu neutrálního pásma.
Zajistěte seřízení utažením pojistné matice.
Vypněte motor.
Nasaďte prostřední kryt.
Odstraňte hevery a spusťte stroj na zem.
Proveďte zkoušku pojezdu stroje a přesvědčte se, zda nedochází k pohybu, když je pedál ovládání pojezdu v neutrální poloze.
Nastavte převodovku na neutrál, viz Seřízení pohonu pojezdu pro neutrální polohu.
Použijte páku čerpadla a ujistěte se, že se všechny součásti pohybují volně a jsou správně usazeny.
Nastavujte šroub, dokud nebude dosažena vzduchová mezera 0,8 až 2,3 mm, viz Obrázek 36.
Zkontrolujte správnou činnost.
Pedál ovládání pojezdu je ve výrobě seřízen na maximální přepravní rychlost a jízdu dozadu, může však být nutné seřízení, pokud pedál dosáhne plného zdvihu dříve, než dojde k plnému zdvihu páky čerpadla, nebo pokud požadujete snížení přepravní rychlosti.
Chcete-li dosáhnout maximální přepravní rychlosti, sešlápněte pedál ovládání pojezdu. Pokud se pedál dotkne dorazu (Obrázek 37) dříve, než páka čerpadla dosáhne plného zdvihu, seřiďte jej:

Odstavte stroj na rovném povrchu, vypněte motor, zatáhněte parkovací brzdu a vyjměte klíč.
Povolte matici upevňující doraz pedálu.
Utahujte doraz pedálu, dokud se nepřestane dotýkat pedálu ovládání pojezdu.
Nadále sešlapujte pedál ovládání pojezdu mírným tlakem a seřiďte doraz pedálu tak, aby se jemně dotýkal nebo aby mezi tyčí pedálu a dorazem byla mezera 2,5 mm.
Utáhněte matice.
Odstavte stroj na rovném povrchu, vypněte motor, zatáhněte parkovací brzdu a vyjměte klíč.
Povolte matici upevňující doraz pedálu.
Vyšroubujte doraz pedálu, dokud nedosáhnete požadované přepravní rychlosti.
Utáhněte matici upevňující doraz pedálu.
Vodicí desku páky ovládání zdvihu (Obrázek 39) seřiďte v okamžiku, když plovoucí poloha příslušenství nepracuje správně (příslušenství nekopíruje terénní nerovnosti).
Odstavte stroj na rovném povrchu, vypněte motor, zatáhněte parkovací brzdu a založte kola klíny.
Odšroubujte 4 šrouby upevňující ovládací panel k rámu (Obrázek 38).

Povolte 2 šrouby, jež zajišťují vodicí desku k blatníku a rámu.

Aby bylo možné seřídit vodicí desku, motor musí být spuštěn. Kontakt s pohybujícími se součástmi nebo horkým povrchem může způsobit zranění.
Nepřibližujte ruce, nohy, obličej ani jiné části těla k pohybujícím se součástem, výfuku ani jiným horkým povrchům.
Nastartujte motor.
Když motor běží a páka ovládání zdvihu je v PLOVOUCí poloze, posuňte vodicí desku páky ovládání zdvihu tak, aby bylo možné vysunout a zasunout zvedací válec rukou.
Utažením obou upevňovacích šroubů zajistěte nastavení.
Správná funkce škrticí klapky je závislá na správném seřízení ovladače škrticí klapky. Před seřízením karburátoru zkontrolujte, zda škrticí klapka funguje správně.
Vyklopte sedačku nahoru.
Povolte upínací šroub svorky lanka škrticí klapky, jenž připevňuje lanko k motoru (Obrázek 40).

Přesuňte páčku dálkového ovládání škrticí klapky dopředu do polohy pro RYCHLý chod.
Zatáhněte silně za lanko škrticí klapky, až se zadní strana otočného mechanismu dotkne dorazu (Obrázek 40).
Utáhněte šroub svorky lanka a zkontrolujte nastavení otáček motoru:
Vysoké volnoběžné otáčky: 3 350 až 3 450 ot/min
Nízké volnoběžné otáčky: 1 650 až 1 850 ot/min
Vyklopte sedačku nahoru.
Povolte upínací šroub svorky lanka sytiče, jenž připevňuje lanko k motoru (Obrázek 40).
Přesuňte páčku dálkového ovládání sytiče dopředu do ZAVřENé polohy.
Zatáhněte silně za lanko sytiče (Obrázek 40), až se klapka sytiče zcela uzavře. Poté utáhněte upínací šroub svorky lanka.
Important: Před nastavením otáček regulátoru motoru se přesvědčte, zda jsou správně nastaveny ovládací prvky škrticí klapky a sytiče.
Při seřizování nastavení otáček regulátoru motoru musí motor běžet. Kontakt s pohybujícími se součástmi nebo horkým povrchem může způsobit zranění.
Před prováděním tohoto postupu zkontrolujte, zda je pedál ovládání pojezdu v neutrální poloze, a zatáhněte parkovací brzdu.
Nepřibližujte ruce, nohy, jiné části těla ani oděv k pohybujícím se součástem, výfuku ani jiným horkým povrchům.
Note: Při seřízení nízkých volnoběžných otáček proveďte všechny následující kroky. Pokud chcete seřídit pouze vysoké volnoběžné otáčky, přejděte ke kroku 5.
Spusťte motor a nechte jej běžet na půl plynu po dobu přibližně pěti minut, aby se zahřál.
Přesuňte páčku ovládání škrticí klapky do polohy pro POMALý chod. Posuňte šroub dorazu volnoběžných otáček proti směru hodinových ručiček tak, aby se nedotýkal páčky škrticí klapky.
Ohněte kotvu regulovaných volnoběžných otáček (Obrázek 41) tak, abyste dosáhli volnoběžných otáček 1 675 až 1 175 ot/min.
Note: Zkontrolujte otáčky pomocí otáčkoměru.

Posuňte šroub dorazu volnoběžných otáček tak, aby se otáčky zvýšily o 25 až 50 ot/min oproti nastavení volnoběžných otáček v kroku 3.
Note: Koncové volnoběžné otáčky musí být 1 650 až 1 850 ot/min.
Přesuňte páčku ovládání škrticí klapky do polohy pro VYSOKé OTáčKY.
Ohněte kotvu vysokých volnoběžných otáček (Obrázek 41) tak, abyste dosáhli vysokých otáček 3 350 až 3 450 ot/min.
Pokud kapalina vnikne do kůže, vyhledejte okamžitě lékařskou pomoc. Vstříknutou kapalinu musí lékař chirurgicky odstranit do několika hodin.
Před natlakováním hydraulické soustavy zkontrolujte bezvadný stav všech hydraulických hadic a potrubí a utažení všech hydraulických spojek a přípojek.
Tělo a ruce mějte v dostatečné vzdálenosti od netěsnících míst nebo trysek, ze kterých uniká hydraulická kapalina pod vysokým tlakem.
K nalezení úniků hydraulické kapaliny použijte karton nebo papír.
Před prováděním jakékoli práce na hydraulické soustavě bezpečně uvolněte tlak v této soustavě.
| Servisní interval | Postup při údržbě |
|---|---|
| Při každém použití nebo denně |
|
Denně kontrolujte, zda se u hydraulického potrubí a hadic nevyskytují netěsnosti, zlomené potrubí, uvolněné montážní držáky, opotřebení, volné spoje nebo narušení vlivem počasí a chemikálií. Před zahájením provozu proveďte všechny nezbytné opravy.
Nádrž je z výroby naplněna vysoce kvalitní hydraulickou kapalinou. Zkontrolujte hladinu hydraulické kapaliny před prvním nastartováním motoru a poté každý den, viz Kontrola hladiny hydraulické kapaliny.
Doporučená hydraulická kapalina: Toro PX Extended Life Hydraulic Fluid, k dispozici v 19litrových kbelících nebo 208litrových sudech.
Note: Pokud ve stroji používáte doporučenou náhradní kapalinu, prodloužíte interval výměny kapaliny a filtru.
Alternativní hydraulické kapaliny: Pokud kapalinu Toro PX Extended Life Hydraulic Fluid nemáte k dispozici, můžete použít jinou běžnou hydraulickou kapalinu na ropné bázi za předpokladu, že její specifikace spadají u všech materiálových vlastností do uvedeného rozsahu a že kapalina odpovídá průmyslovým normám. Nepoužívejte syntetickou kapalinu. Požádejte distributora maziv o doporučení vhodného výrobku.
Note: Společnost Toro nepřebírá odpovědnost za žádné škody způsobené nevhodnými náhražkami, proto používejte jen produkty osvědčených výrobců, kteří si za svými doporučeními stojí.
| Materiálové vlastnosti: | ||
| Viskozita, ASTM D445 | cSt při 40 °C: 44 až 48 | |
| Index viskozity ASTM D2270 | 140 nebo vyšší | |
| Bod tání, ASTM D97 | -37 °C až -45 °C | |
| Oborové specifikace: | Eaton Vickers 694 (I-286-S, M-2950-S/35VQ25 nebo M-2952-S) | |
Note: Mnohé hydraulické kapaliny jsou téměř bezbarvé, takže je obtížné lokalizovat netěsnosti. Pro hydraulickou kapalinu je k dispozici přísada s červeným barvivem v lahvičkách o objemu 20 ml. Lahvička dostačuje pro 15 až 22 l hydraulické kapaliny. Od autorizovaného prodejce Toro si opatřete díl s objednacím číslem 44-2500.
Important: Toro Premium Synthetic Biodegradable Hydraulic Fluid je jediná syntetická biologicky rozložitelná hydraulická kapalina schválená společností Toro. Tato kapalina je kompatibilní s elastomery použitými v hydraulických soustavách společnosti Toro a je vhodná pro široké rozmezí teplot. Tato kapalina je kompatibilní s běžnými minerálními oleji, avšak z důvodu maximální biologické odbouratelnosti a výkonnosti je nutné z hydraulické soustavy důkladně vypláchnout běžnou kapalinu. Olej je k dispozici u autorizovaného prodejce Toro v 19litrových kbelících nebo 208litrových sudech.
| Servisní interval | Postup při údržbě |
|---|---|
| Při každém použití nebo denně |
|
Nádrž je z výroby naplněna doporučenou hydraulickou kapalinou. Kontrolu hladiny hydraulické kapaliny je nejlepší provádět, je-li kapalina studená.
Zcela zvedněte veškerá hydraulická přídavná zařízení do přepravní polohy.
Odstavte stroj na rovném povrchu, vypněte motor, zatáhněte parkovací brzdu a vyjměte klíč.
Očistěte oblast kolem uzávěru nádrže hydraulické kapaliny, aby do nádrže nevnikly nečistoty (Obrázek 42).

Sejměte uzávěr z nádrže.
Vytáhněte měrku z plnicího hrdla a otřete ji čistým hadrem.
Zasuňte měrku do plnicího hrdla; poté ji vytáhněte a zkontrolujte hladinu kapaliny (Obrázek 43).
Je-li nádrž hydraulickou kapalinou správně naplněna, její hladina by měla sahat mezi značku horní a dolní meze (zúžená část) na měrce.
Important: Pokud je hladina kapaliny mezi značkou horní a dolní meze, není potřeba kapalinu doplňovat.

Pokud je hladina kapaliny nízká, pomalu doplňujte nádrž specifikovanou hydraulickou kapalinou, dokud její hladina nedosáhne k zúžené části na měrce.
Important: Aby nedošlo ke znečištění systému, před otevřením nádrže s hydraulickou kapalinou očistěte její povrch. Hubice a trychtýř musí být čisté.
Important: Nádrž hydraulickou kapalinou nepřeplňujte.
Nasaďte uzávěr nádrže.
| Servisní interval | Postup při údržbě |
|---|---|
| Po každých 800 hodinách provozu |
|
| Po každých 1000 hodinách provozu |
|
Odstavte stroj na rovném povrchu, vypněte motor, zatáhněte parkovací brzdu a vyjměte klíč.
Povolte 2 šrouby upevňující prostřední kryt ke stroji a kryt odstraňte (Obrázek 44).

Potřete těsnění na náhradním filtru čistou hydraulickou kapalinou.
Pod filtr hydraulické kapaliny, který se nachází na levé straně stroje, umístěte vypouštěcí nádobu (Obrázek 45).

Vyčistěte montážní oblast filtru.
Note: Před demontáží starého filtru mějte náhradní filtr v dosahu.
Demontujte hydraulický filtr z hlavy filtru.
Rukou namontujte nový hydraulický filtr (Obrázek 45) tak, aby se těsnění dotklo hlavy filtru, a poté jej utáhněte o další ¾ otáčky.
Zkontrolujte hladinu hydraulické kapaliny a v případě potřeby specifikovanou hydraulickou kapalinu doplňte, viz Kontrola hladiny hydraulické kapaliny
Nasaďte prostřední kryt.
| Servisní interval | Postup při údržbě |
|---|---|
| Po každých 800 hodinách provozu |
|
| Po každých 2000 hodinách provozu |
|
Objem nádrže: 18,9 l
Při výměně použijte originální filtr společnosti Toro, viz katalog dílů k vašemu stroji.
Sejměte uzávěr z nádrže hydraulické kapaliny (Obrázek 46).

Přečerpejte hydraulickou kapalinu z nádrže hydraulické kapaliny (Obrázek 46).
Naplňte nádrž specifikovanou hydraulickou kapalinou, až bude hladina dosahovat k zúžené části měrky; viz Kontrola hladiny hydraulické kapaliny.
Important: Nádrž hydraulickou kapalinou nepřeplňujte.
Nastartujte motor a nechte jej spuštěný. Pohybujte zvedacím válcem tak, aby se vysunul a zasunul a aby došlo k pohybu kol dopředu a dozadu.
Vypněte motor a zkontrolujte hladinu hydraulické kapaliny v nádrži. Je-li to nutné, kapalinu doplňte.
Zkontrolujte možné netěsnosti.
Místa případného úniku hydraulické kapaliny opravte.
Nasaďte prostřední kryt.
Při každé opravě nebo výměně součástí hydraulické soustavy je nutné vyměnit filtr hydraulické kapaliny a naplnit hydraulickou soustavu.
Před plněním hydraulické soustavy musí být hydraulická nádrž a filtr vždy naplněny kapalinou.
Odstavte stroj na rovném povrchu, vypněte motor, zatáhněte parkovací brzdu a vyjměte klíč.
Povolte 2 šrouby upevňující prostřední kryt ke stroji a kryt odstraňte (Obrázek 47).

Zvedněte přední kolo a jedno ze zadních kol nad zem a podepřete rám pomocí bloků.
Přední kolo a jedno zadní kolo musí být zvednuty nad zem, jinak během seřízení dojde k pohybu stroje. Mohlo by dojít k pádu stroje a zranění osoby pod ním.
Přesvědčte se, zda je stroj správně podepřen a přední a jedno zadní kolo je zdviženo nad zemí.
Nastartujte motor a nastavte škrticí klapku na otáčky motoru přibližně 1 800 ot/min.
Použijte páku zvedacího ventilu, aby se tyč zvedacího válce několikrát vysunula a zasunula. Pokud se tyč zvedacího válce nepohne do 10 až 15 sekund nebo z čerpadla vycházejí neobvyklé zvuky, vypněte ihned motor a pokuste se zjistit příčinu problému. Zkontrolujte následující možné závady:
povolený filtr nebo sací hadice,
povolená nebo vadná spojka čerpadla,
ucpaná sací hadice,
vadný přetlakový ventil,
vadné plnicí čerpadlo.
Pokud do 10 až 15 sekund dojde k pohybu válce, pokračujte krokem 6.
Použijte pedál ovládání pojezdu pro jízdu dopředu a dozadu. Kola, která jsou zvednutá nad zem, se musí otáčet správným směrem.
Pokud se kola otáčejí nesprávným směrem, vypněte motor, odpojte vedení na zadní straně čerpadla a zaměňte umístění.
Pokud se kola otáčejí správným směrem, vypněte motor a seřiďte pojistnou matici seřizovacího čepu pružiny (Obrázek 48). Nastavte neutrální polohu pojezdu, viz Seřízení pohonu pojezdu pro neutrální polohu.

Zkontrolujte seřízení ochranného spínače pojezdu, viz Seřízení blokovacího spínače pohonu pojezdu.
Nasaďte prostřední kryt.
| Servisní interval | Postup při údržbě |
|---|---|
| Po každém použití |
|
Důkladně stroj omyjte pomocí zahradní hadice bez trysky, aby příliš silný proud vody nezpůsobil znečištění a poškození těsnění a ložisek.
Chladicí žebra motoru a oblast sání chladicího vzduchu musí být neustále udržovány v naprosté čistotě.
Important: Čištění olejového chladiče vodou povede k rychlejšímu vzniku koroze a poškození součástí a také ke stlačení nečistot, viz Čištění olejového chladiče.
Zkontrolujte, zda u stroje není patrný únik hydraulické kapaliny a poškození či opotřebení hydraulických a mechanických součástí.
| Servisní interval | Postup při údržbě |
|---|---|
| Po každých 500 hodinách provozu |
|
Pečlivě očistěte stroj, přídavné zařízení a motor.
Než opustíte stroj, odstavte jej na rovném povrchu, vypněte motor, vytáhněte klíč a počkejte, až se zastaví všechny pohybující se části.
Zkontrolujte tlak vzduchu v pneumatikách; postupujte podle pokynů v části Kontrola tlaku v pneumatikách.
Zkontrolujte, zda nejsou uvolněné upevňovací prvky; podle potřeby je utáhněte.
Namažte nebo potřete olejem všechny maznice a otočné čepy, viz Mazání stroje.
Lehce přebruste a přelakujte poškrábané, popraskané nebo zkorodované lakované plochy.
Vyměňte motorový olej a filtr, viz Výměna motorového oleje a filtru.
Nastartujte motor a nechejte jej běžet přibližně dvě minuty ve volnoběžných otáčkách.
Před opuštěním stroje vypněte motor, vyjměte klíč a počkejte, až se všechny pohybující se části zastaví.
Pečlivě vyčistěte sestavu vzduchového filtru a proveďte jeho údržbu; viz Údržba vzduchového filtru.
Vstup vzduchového filtru a výstup výfuku utěsněte voděodolnou krycí páskou.
Zkontrolujte uzávěry plnicích otvorů oleje a palivové nádrže a ujistěte se, že jsou pevně nasazeny.
Sejměte svorky akumulátoru z vývodů akumulátoru.
Akumulátor, svorky a vývody očistěte kovovým kartáčem a roztokem jedlé sody.
Na svorky kabelů a vývody akumulátoru naneste tenkou vrstvu maziva Grafo 112X (obj. č. Toro 505-47), abyste zabránili korozi.
Každých 60 dnů akumulátor pomalu dobíjejte po dobu 24 hodin, aby nedošlo k vylučování síranu olovnatého.
Note: Specifická hustota elektrolytu plně nabitého akumulátoru je 1,250.
Note: Uložte akumulátor v chladném prostředí, aby nedocházelo k jeho rychlému vybití. Aby nedošlo k zamrznutí akumulátoru, ujistěte se, že je zcela nabitý.