| Intervalo de mantenimiento y servicio | Procedimiento de mantenimiento |
|---|---|
| Cada vez que se utilice o diariamente |
|
Esta máquina es un equipo utilitario de asiento, diseñado para ser usado por operadores profesionales contratados en aplicaciones comerciales. Está diseñado principalmente para acondicionar trampas de arena en campos de golf y zonas verdes comerciales bien mantenidos. El uso de este producto para otros propósitos que los previstos podría ser peligroso para usted y para otras personas.
Lea este manual detenidamente para aprender a utilizar y mantener correctamente su producto, y para evitar lesiones y daños al producto. Usted es responsable de utilizar el producto de forma correcta y segura.
Visite www.Toro.com para buscar materiales de formación y seguridad o información sobre accesorios, para localizar un distribuidor o para registrar su producto.
Cuando necesite asistencia técnica, piezas genuinas Toro o información adicional, póngase en contacto con un Servicio Técnico Autorizado o con Asistencia al Cliente Toro, y tenga a mano los números de modelo y serie de su producto. Figura 1 identifica la ubicación de los números de modelo y serie en el producto. Escriba los números en el espacio provisto.
Important: Con su dispositivo móvil, puede escanear el código QR (en su caso) de la pegatina del número de serie para acceder a información sobre la garantía, las piezas, y otra información sobre el producto.

El símbolo de alerta de seguridad (Figura 2) que aparece en este manual y en la máquina identifica mensajes de seguridad importantes que usted debe observar para evitar accidentes.

El símbolo de alerta de seguridad aparece encima de información que le alerta ante acciones o situaciones inseguras, y va seguido de la palabra PELIGRO, ADVERTENCIA, o CUIDADO.
PELIGRO: Indica una situación peligrosa inminente, que si no se evita, causará la muerte o lesiones graves.
ADVERTENCIA: indica una situación potencialmente peligrosa que si no se evita, podría causar la muerte o lesiones graves.
CUIDADO: Indica una situación potencialmente peligrosa que si no se evita, podría causar lesiones menores o moderadas.
Este manual utiliza dos palabras más para resaltar información. Importante llama la atención sobre información mecánica especial, y Nota resalta información general que merece una atención especial.
Este producto cumple todas las directivas europeas aplicables. Para obtener más detalles, consulte la Declaración de conformidad (DOC) de cada producto.
El uso o la operación del motor en cualquier terreno forestal, de monte o cubierto de hierba a menos que el motor esté equipado con parachispas (conforme a la definición de la sección 4442) correctamente mantenido en buenas condiciones de funcionamiento, o que el motor haya sido fabricado, equipado y mantenido para la prevención de incendios, constituye una infracción de la legislación de California (California Public Resource Code Section 4442 o 4443).
El manual del propietario del motor (adjunto) ofrece información sobre las normas de la US Environmental Protection Agency (EPA) y de la California Emission Control Regulation sobre sistemas de emisiones, mantenimiento y garantía. Puede solicitarse un manual nuevo al fabricante del motor.
CALIFORNIA
Advertencia de la Propuesta 65
Los gases de escape de este producto contienen productos químicos que el Estado de California sabe que causan cáncer, defectos congénitos u otros peligros para la reproducción.
Los bornes, terminales y otros accesorios de la batería contienen plomo y compuestos de plomo, productos químicos reconocidos por el Estado de California como causantes de cáncer y daños reproductivos. Lávese las manos después de manejar el material.
El uso de este producto puede provocar la exposición a sustancias químicas que el Estado de California considera causantes de cáncer, defectos congénitos u otros trastornos del sistema reproductor.
Para aumentar el rendimiento de la tracción, puede añadirse el kit de contrapesos 100-6442 a la parte delantera de la máquina.
Note: Si la máquina está equipada con un implemento de elevación delantera o quitanieves, el kit de contrapesos no puede instalarse porque no cabe en el espacio disponible.
Este producto puede producir lesiones personales. Siga siempre todas las instrucciones de seguridad con el fin de evitar lesiones personales graves.
Lea y comprenda el contenido de este Manual del operador antes de arrancar el motor. Asegúrese de que todas las personas que utilicen este producto sepan cómo utilizarlo y comprendan las advertencias.
Dedique toda su atención al manejo de la máquina. No realice ninguna actividad que pudiera distraerle; de lo contrario, podrían producirse lesiones o daños materiales.
No ponga las manos o los pies cerca de los componentes móviles de la máquina.
No haga funcionar la máquina si no están colocados y funcionando todos los protectores y dispositivos de seguridad.
Mantenga la máquina alejada de otras personas mientras está en movimiento.
Mantenga a los niños alejados de la zona de trabajo. Nunca permita que la máquina sea utilizada por niños.
Pare la máquina y apague el motor antes de realizar tareas de mantenimiento o de repostar la máquina.
El uso o mantenimiento incorrecto de esta máquina puede
causar lesiones. Para reducir el peligro de lesiones, cumpla estas
instrucciones de seguridad y preste atención siempre al símbolo
de alerta de seguridad
, que significa: Cuidado, Advertencia o Peligro
– instrucción relativa a la seguridad personal. El incumplimiento
de estas instrucciones puede dar lugar a lesiones personales o la
muerte.
Puede encontrar información de seguridad adicional en todo este manual, en las secciones pertinentes.
![]() |
Las pegatinas de seguridad e instrucciones están a la vista del operador y están ubicadas cerca de cualquier zona de peligro potencial. Sustituya cualquier pegatina que esté dañada o que falte. |







Note: Los lados derecho e izquierdo de la máquina se determinan desde la posición normal del operador.
Note: Retire y deseche todos los soportes y fijaciones de transporte.
Piezas necesarias en este paso:
| Volante | 1 |
| Collar de gomaespuma | 1 |
| Arandela | 1 |
| Contratuerca | 1 |
| Embellecedor del volante | 1 |
Gire la rueda delantera hasta que esté orientada directamente hacia adelante.
Deslice el collar de gomaespuma (empezando por el extremo más pequeño) sobre la columna de dirección (Figura 3).

Deslice el volante sobre la columna de dirección (Figura 3).
Fije el volante a la columna de dirección con una arandela y una contratuerca (Figura 3).
Apriete la contratuerca a 27–35 N·m.
Coloque el embellecedor en su posición en el volante y presione para sujetarlo (Figura 3).
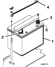
Retire las 2 tuercas de orejeta y arandelas que fijan la varilla de sujeción superior de la batería a las varillas de sujeción laterales (Figura 4). Retire la pletina de sujeción superior de la batería, y retire la batería.

Piezas necesarias en este paso:
| Electrolito a granel, gravedad específica 1,260 (no incluido) | – |
Si la batería no está activada o no está llena con electrolito, añada a la batería electrolito con una gravedad específica de 1,260.
Note: Puede comprar electrolito a granel en un establecimiento local de baterías.
El electrolito de la batería contiene ácido sulfúrico, que es un veneno mortal si se ingiere y causa quemaduras graves.
No beba electrolito y evite el contacto con la piel, los ojos y la ropa. Lleve gafas de seguridad para proteger sus ojos, y guantes de goma para proteger sus manos.
Llene la batería en un lugar que tenga disponible agua limpia para enjuagar la piel.
Retire los tapones de llenado de la batería y llene cada celda lentamente hasta que el nivel de electrolito llegue a la línea de llenado.
Vuelva a colocar los tapones de llenado y conecte un cargador de baterías de 3 a 4 amperios a los bornes de la batería. Cargue la batería a un ritmo de 3 a 4 amperios durante 4—8 horas.
El proceso de carga de la batería produce gases que pueden explotar.
No fume cerca de la batería, y mantenga alejada de la batería cualquier chispa o llama.
Cuando la batería esté cargada, desconecte el cargador de la toma de electricidad, luego de los bornes de la batería. Deje que la batería descanse durante 5–10 minutos.
Retire los tapones de llenado.
Vierta lentamente electrolito en cada celda hasta que el nivel llegue a la línea de llenado.
Important: No llene la batería demasiado. El electrolito rebosará a otras zonas de la máquina, causando corrosión y deterioros importantes.
Coloque los tapones de llenado.
Piezas necesarias en este paso:
| Perno (¼" x ⅝") | 2 |
| Contratuerca (¼") | 2 |
Coloque la batería en su sitio, con el borne negativo hacia la parte trasera de la máquina (Figura 5).

Un enrutado incorrecto de los cables de la batería podría dañar la máquina y los cables, causando chispas. Las chispas podrían hacer explotar los gases de la batería, causando lesiones personales.
Desconecte siempre el cable negativo (negro) de la batería antes de desconectar el cable positivo (rojo).
Conecte siempre el cable positivo (rojo) de la batería antes de conectar el cable negativo (negro).
Los bornes de la batería o una herramienta metálica podrían hacer cortocircuito si entran en contacto con los componentes metálicos de la máquina, causando chispas. Las chispas podrían hacer explotar los gases de la batería, causando lesiones personales.
Al retirar o colocar la batería, no deje que los bornes toquen ninguna parte metálica de la máquina.
No deje que las herramientas metálicas hagan cortocircuito entre los bornes de la batería y las partes metálicas de la máquina.
Conecte el cable positivo (rojo) al borne positivo (+) con un perno (¼" x ⅝") y una contratuerca (Figura 6).

Conecte el cable negro pequeño y el cable negativo (negro) al borne negativo (-) de la batería con un perno (¼" x ⅝") y una contratuerca (¼") (Figura 6).
Unte los bornes y los herrajes de montaje con vaselina para evitar la corrosión.
Deslice la cubierta de goma sobre el terminal positivo (+) para evitar posibles cortocircuitos.
Conecte la varilla de sujeción superior de la batería a las varillas de sujeción laterales y fije el conjunto con arandelas y tuercas de orejeta.
Piezas necesarias en este paso:
| Kits de contrapesos traseros, según necesidad | – |
Esta máquina ha sido diseñada con arreglo a lo estipulado en la norma ANSI B71.4-2017. No obstante, cuando hay accesorios instalados en la máquina, pueden ser necesarios contrapesos adicionales para cumplir las normas citadas.
Utilice la tabla siguiente para determinar las combinaciones de peso adicional necesarias. Solicite las piezas a su distribuidor Toro autorizado.
| Accesorio | Peso necesario | Kit de pesos | Cantidad de kits |
|---|---|---|---|
| Kit de aireador de púas | 23 kg | Pieza N.º 100-6442 | 1 |
| Groomer Rahn |
Note: En las máquinas modelo 08705, no instale el kit de pesos si la máquina está equipada con el kit de chasis de elevación delantera.
Instale el kit de pesos; consulte las Instrucciones de instalación del kit de pesos.
Piezas necesarias en este paso:
| Pegatina del año de producción | 1 |
Coloque la pegatina con el año de producción en la máquina en la zona mostrada (Figura 7).

Piezas necesarias en este paso:
| Pegatina de advertencia | 1 |
En máquinas que deban cumplir la norma CE, coloque la pegatina de advertencia para CE (Pieza N.º 136-6164) en la zona inferior de la pegatina de la consola (Pieza N.º 132-4422).

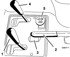
El pedal de tracción (Figura 9) tiene 3 funciones: desplazar la máquina hacia adelante, desplazarla hacia atrás, y parar la máquina. Usando el talón y la punta del pie derecho, pise la parte superior del pedal para desplazarse hacia adelante, o la parte inferior del pedal para desplazarse hacia atrás o para ayudar a parar la máquina al desplazarse hacia adelante (Figura 10). Deje que el pedal se desplace, o desplácelo, a la posición de PUNTO MUERTO para detener la máquina.
Important: Al conducir la máquina hacia delante, apoye el talón en el punto de apoyo; no apoye el talón en la almohadilla de marcha atrás del pedal de tracción.


La velocidad de avance es proporcional al recorrido del pedal de tracción. Para obtener la velocidad máxima de avance, pise a fondo el pedal con el acelerador en la posición de RáPIDO. Para obtener la máxima potencia o para subir una cuesta, ponga el acelerador en la posición de RáPIDO y presione suavemente el pedal de tracción, con el fin de mantener alta la velocidad del motor. Si la velocidad del motor empieza a decaer, suelte un poco el pedal y deje que aumente la velocidad.
Important: Para obtener la máxima potencia, mueva el acelerador a la posición de RáPIDO y pise ligeramente el pedal de tracción.
Important: Utilice la velocidad sobre el terreno máxima solo al conducir entre lugares de trabajo.No utilice la máxima velocidad al utilizar un apero acoplado o remolcado.
Important: No conduzca la máquina en marcha atrás con el accesorio bajado (posición de operación), porque el accesorio podría resultar seriamente dañado.
El interruptor de encendido (Figura 11), que se utiliza para arrancar y apagar el motor, tiene 3 posiciones: PARADA, MARCHA y ARRANQUE. Gire la llave en sentido horario a la posición de ARRANQUE para accionar el motor de arranque. Suelte la llave cuando el motor arranque; la llave se desplazará a la posición de CONECTADO. Para apagar el motor, gire la llave en sentido antihorario a la posición de DESCONECTADO.

Para arrancar el motor cuando está frío, cierre el estárter del carburador desplazando el control del estárter (Figura 11) hacia arriba, a la posición Cerrado. Después de que el motor arranque, regule el estárter para que el motor siga funcionando suavemente. Lo antes posible, abra el estárter moviéndolo hacia abajo a la posición de ABIERTO. Si el motor está caliente, no será necesario usar el estárter, o sólo muy poco.
La palanca de control del acelerador (Figura 11) está conectada a, y acciona, el acoplamiento del acelerador del carburador. El control tiene 2 posiciones: LENTO y RáPIDO. La velocidad del motor es variable entre las 2 posiciones.
Note: No es posible apagar el motor usando el control del acelerador.
Para elevar el apero, tire hacia atrás de la palanca de elevación (Figura 12); para bajar el apero, mueva la palanca hacia adelante. Para seleccionar la posición de FLOTACIóN, mueva la palanca a la posición de trinquete. Cuando obtenga el ajuste deseado, suelte la palanca y volverá a punto muerto.

Note: La máquina dispone de un cilindro de elevación de doble efecto. Puede aplicar una presión descendente al implemento para determinadas condiciones de operación.
Para poner el freno de estacionamiento (Figura 12), tire hacia atrás de la palanca del freno de estacionamiento. Para quitarlo, empuje la palanca hacia adelante.
Note: Puede ser necesario presionar lentamente el pedal de tracción hacia adelante y hacia atrás para quitar el freno de estacionamiento.
El horímetro (Figura 12) muestra el número total de horas de operación de la máquina. El horímetro empieza a funcionar cada vez que la llave de contacto es girada a la posición de CONECTADO.
Mueva la palanca situada en el lado izquierdo del asiento (Figura 13) hacia delante, deslice el asiento hasta la posición deseada y suelte la palanca para fijar el asiento en esa posición.

Cierre la válvula de cierre de combustible (Figura 14) antes de almacenar la máquina o transportarla en un remolque.

Note: Las especificaciones y el diseño están sujetos a modificación sin previo aviso.
| Anchura sin accesorio | 148 cm |
| Anchura con rastrillo, Modelo 08751 | 191 cm |
| Longitud sin accesorio | 164 cm |
| Altura | 115 cm |
| Distancia entre ejes | 109 cm |
| Peso neto | |
| Modelo 08703 | 452 kg |
| Modelo 08705 | 461 kg |
Está disponible una selección de implementos y accesorios homologados por Toro que pueden utilizarse con la máquina a fin de potenciar y aumentar sus prestaciones. Póngase en contacto con su Servicio Técnico Autorizado o con su distribuidor Toro autorizado, o bien visite www.Toro.com para obtener una lista de todos los implementos y accesorios homologados.
Para asegurar un rendimiento óptimo y la continuada certificación de seguridad de la máquina, utilice únicamente piezas y accesorios genuinos Toro. Las piezas de repuesto y accesorios de otros fabricantes podrían ser peligrosos, y su uso podría invalidar la garantía del producto.
Aparque la máquina en una superficie nivelada, accione el freno de estacionamiento, apague el motor, retire la llave y espere a que se detenga todo movimiento antes de abandonar la máquina.
No deje nunca que la máquina la utilicen o mantengan niños o personas que no hayan recibido la formación adecuada. La normativa local puede imponer límites sobre la edad del operador. El propietario es responsable de proporcionar formación a todos los operarios y mecánicos.
Familiarícese con la operación segura del equipo, los controles del operador y las señales de seguridad.
Sepa cómo parar rápidamente la máquina y el motor.
Compruebe que los controles de presencia del operador, los interruptores de seguridad y los protectores de seguridad están colocados y que funcionan correctamente. No utilice la máquina si no funcionan correctamente.
Antes de utilizar la máquina, inspecciónela siempre para asegurarse de que los componentes y las fijaciones se encuentren en buenas condiciones de funcionamiento. Sustituya los componentes y las fijaciones desgastados o dañados.
Inspeccione la zona en la que va a utilizar la máquina y retire cualquier objeto que pudiera arrojar la máquina.
Extreme las precauciones al manejar combustible. Es inflamable y sus vapores son explosivos.
Apague cualquier cigarrillo, cigarro, pipa u otra fuente de ignición.
Utilice solamente un recipiente de combustible homologado.
No retire el tapón de combustible ni rellene de combustible el depósito mientras el motor está en marcha o está caliente.
No añada ni drene combustible en un lugar cerrado.
No guarde la máquina o un recipiente de combustible en un lugar donde pudiera haber una llama desnuda, chispas o una llama piloto, por ejemplo en un calentador de agua u otro electrodoméstico.
Si se derrama combustible, no intente arrancar el motor; evite crear fuentes de ignición hasta que los vapores del combustible se hayan disipado.
Capacidad del depósito de combustible: 25 litros
Combustible recomendado:
Para obtener los mejores resultados, utilice solamente gasolina fresca (comprada hace menos de 30 días), sin plomo, de 87 o más octanos (método de cálculo (R+M)/2).
Etanol: Es aceptable el uso de gasolina con hasta el 10% de etanol (gasohol) o el 15% de MTBE (éter metil tert-butílico) por volumen. El etanol y el MTBE no son lo mismo. No está autorizado el uso de gasolina con el 15 % de etanol (E15) por volumen. No utilice nunca gasolina que contenga más del 10% de etanol por volumen, como por ejemplo la E15 (contiene el 15% de etanol), la E20 (contiene el 20% de etanol) o la E85 (contiene hasta el 85% de etanol). El uso de gasolina no autorizada puede causar problemas de rendimiento o daños en el motor que pueden no estar cubiertos bajo la garantía.
No utilice gasolina que contenga metanol.
No guarde combustible en el depósito de combustible o en recipientes de combustible durante el invierno a menos que haya añadido un estabilizador.
No añada aceite a la gasolina.
Important: No utilice aditivos de combustible salvo un estabilizador/acondicionador de combustible. No use estabilizadores a base de alcohol, tales como etanol, metanol o isopropanol.
Limpie la zona alrededor del tapón del depósito de combustible (Figura 15).
Retire el tapón del depósito de combustible.
Llene el depósito hasta unos 25 mm por debajo de la parte superior del depósito (la parte inferior del cuello de llenado). No lo llene demasiado.

Coloque el tapón.
Para evitar el riesgo de incendio, limpie cualquier combustible que se haya derramado.
Important: Nunca use metanol, gasolina que contenga metanol o gasohol con más de 10% etanol porque se podrían producir daños en el sistema de combustible del motor. No mezcle aceite con la gasolina.
Realice los siguientes procedimientos diarios antes de utilizar la máquina:
| Intervalo de mantenimiento y servicio | Procedimiento de mantenimiento |
|---|---|
| Cada vez que se utilice o diariamente |
|
Si los interruptores de seguridad son desconectados o están dañados, la máquina podría ponerse en marcha inesperadamente, causando lesiones personales.
No manipule los interruptores de seguridad.
Compruebe la operación de los interruptores de seguridad cada día, y sustituya cualquier interruptor dañado antes de utilizar la máquina.
El propósito del sistema de interruptores de seguridad es impedir que el motor gire o arranque a menos que el pedal de tracción esté en posición de PUNTO MUERTO. Asimismo, el motor debe apagarse si el pedal de tracción se desplaza hacia adelante o hacia atrás sin que el operador esté sentado en el asiento.
Coloque la máquina en una zona amplia y abierta, libre de residuos y de otras personas. Apague el motor.
Siéntese en el asiento y ponga el freno de estacionamiento.
Pise el pedal de tracción hacia adelante y hacia atrás y al mismo tiempo intente arrancar el motor.
Note: Si el motor gira, puede haber un problema con el sistema de seguridad. Repárelo inmediatamente.Si el motor no gira, el sistema funciona correctamente.
Manténgase en el asiento, con el pedal de tracción en la posición de PUNTO MUERTO y el freno de estacionamiento puesto, y arranque el motor.
Levántese del asiento y pise lentamente el pedal de tracción.
Note: El motor debe apagarse en 1 – 3 segundos. Corrija el problema si el sistema no funciona correctamente.
Note: Los lados derecho e izquierdo de la máquina se determinan desde la posición normal del operador.
El propietario/operador puede prevenir, y es responsable de, cualquier accidente que pueda causar lesiones personales o daños materiales.
Lleve ropa adecuada, incluyendo protección ocular, calzado resistente y antideslizante, pantalón largo, y protección auditiva. Si tiene el pelo largo, recójaselo, y no lleve joyas o bisutería sueltas.
No utilice la máquina si está enfermo, cansado o bajo la influencia de alcohol o drogas.
Nunca lleve pasajeros en la máquina y mantenga a otras personas y a animales domésticos alejados de la máquina durante el funcionamiento.
Utilice la máquina solamente en condiciones óptimas de visibilidad y evite baches u otros peligros ocultos.
Evite utilizar la máquina sobre hierba mojada. Una reducción en la tracción podría hacer que la máquina derrape.
Antes de arrancar el motor, asegúrese de que todas las transmisiones están en punto muerto, de que el freno de estacionamiento está accionado y de que usted se encuentra en la posición del operador.
Mire hacia atrás y hacia abajo antes de conducir hacia atrás para asegurarse de que el camino está despejado.
Tenga cuidado al acercarse a esquinas ciegas, arbustos, árboles u otros objetos que puedan dificultar la visión.
No utilice la máquina cerca de terraplenes, fosas o taludes. La máquina podría volcar repentinamente si una rueda pasa por un borde o si el borde se desploma.
Pare la máquina e inspeccione el implemento después de golpear un objeto, o si se produce una vibración anormal en la máquina. Realice todas las reparaciones necesarias antes de volver a utilizar la máquina.
Vaya más despacio y tenga cuidado al girar y al cruzar calles y aceras con la máquina. Ceda el paso siempre.
No haga funcionar nunca un motor en un lugar cerrado donde no puedan liberarse los gases de escape.
No deje nunca desatendida la máquina si está en marcha.
Antes de abandonar el puesto del operador, haga lo siguiente:
Aparque la máquina en una superficie nivelada.
Baje los implementos.
Accione el freno de estacionamiento.
Apague el motor y retire la llave.
Espere a que se detengan todas las piezas móviles.
No utilice la máquina cuando exista riesgo de caída de rayos.
No utilice la máquina como vehículo de remolque.
Cuando sea necesario, humedezca las superficies antes del acondicionado para reducir al mínimo la generación de polvo.
Utilice solamente los accesorios, aperos y las piezas de repuesto aprobados por Toro.
Establezca sus propios procedimientos y reglas para trabajar en pendientes. Estos procedimientos deben incluir un estudio del lugar de trabajo para determinar en qué cuestas o pendientes es seguro trabajar con la máquina. Utilice siempre el sentido común y el buen juicio al realizar este estudio.
Las pendientes son una de las principales causas de accidentes por pérdida de control y vuelcos, que pueden causar lesiones graves o la muerte. El operador es responsable de la seguridad cuando trabaja en pendientes. El uso de la máquina en cualquier pendiente exige un cuidado especial.
Las pendientes son una de las principales causas de accidentes por pérdida de control y vuelcos, que pueden causar lesiones graves o la muerte. El uso de la máquina en cualquier pendiente exige un cuidado especial.
Utilice la máquina a una velocidad menor cuando esté en una pendiente.
Si no se siente cómodo usando la máquina en una pendiente, no lo haga.
Esté alerta a agujeros, surcos, montículos, rocas u otros objetos ocultos. Un terreno irregular puede hacer que la máquina vuelque. La hierba alta puede ocultar obstáculos.
Seleccione una velocidad de avance baja para que no tenga que parar o cambiar de marcha mientras esté en la pendiente.
Puede producirse un vuelco antes de que los neumáticos pierdan tracción.
Evite utilizar la máquina sobre hierba mojada. Los neumáticos pueden perder la tracción, incluso si los frenos están disponibles y funcionan correctamente.
Evite arrancar, parar o girar la máquina en una pendiente.
Haga todos los movimientos en cuestas y pendientes de forma lenta y gradual. No cambie repentinamente la velocidad o la dirección de la máquina.
No utilice la máquina cerca de terraplenes, fosas, taludes o masas de agua. La máquina podría volcar repentinamente si una rueda pasa por el borde de un terraplén o fosa, o si se socava un talud. Establezca un área de seguridad entre la máquina y cualquier peligro (equivalente al doble del ancho de la máquina).
Retire el pie del pedal de tracción, asegúrese de que el pedal está en la posición de PUNTO MUERTO y ponga el freno de estacionamiento.
Mueva la palanca del estárter hacia adelante a la posición de CONECTADO (para arrancar un motor frío) y la palanca del acelerador a la posición de LENTO.
Important: Si utiliza la máquina en temperaturas inferiores a los 0 °C, deje que la máquina se caliente antes de usarla. Esto evita daños al hidrostato y al circuito de tracción.
Inserte la llave en el interruptor de encendido y gírela en sentido horario para arrancar el motor. Suelte la llave cuando el motor arranque.
Note: Regule el estárter para que el motor siga funcionando suavemente.
Important: Para evitar que se sobrecaliente el motor de arranque, no lo haga funcionar durante más de 10 segundos. Después de 10 segundos de arranque continuo, espere 60 segundos antes de utilizar el motor de arranque de nuevo.
Para apagar el motor, ponga el acelerador en la posición de LENTO y gire la llave de contacto a DESCONECTADO.
Note: Retire la llave de contacto para evitar un arranque accidental.
Cierre la válvula de cierre de combustible antes de almacenar la máquina.
La inspección de la máquina mientras el motor está en marcha podría dar lugar a lesiones.
Pare el motor y espere a que se detengan todas las piezas en movimiento antes de comprobar que no hay fugas de aceite, piezas sueltas u otros desperfectos.
Los motores nuevos necesitan tiempo para desarrollar toda su potencia. Los sistemas de tracción generan mayor fricción cuando son nuevos, lo que supone una carga adicional para el motor.
Las primeras 8 horas de funcionamiento deben considerarse como periodo de rodaje.
Puesto que las primeras horas de operación son de vital importancia para la fiabilidad futura de la máquina, debe vigilar de cerca su rendimiento y sus funciones para poder observar y corregir pequeñas dificultades que podrían convertirse en problemas importantes. Inspeccione la máquina frecuentemente durante el rodaje, buscando señales de fugas de aceite, fijaciones sueltas o cualquier otra señal de funcionamiento anómalo.
Consulte las instrucciones de uso específicas de cada accesorio en el Manual del operador correspondiente.
Practique la conducción de la máquina, porque sus características de funcionamiento son diferentes a las de algunos vehículos utilitarios. Dos puntos a tener en cuenta al conducir el vehículo son la velocidad de la transmisión y la velocidad del motor.
Para mantener una velocidad de motor relativamente constante, pise el pedal de tracción lentamente. Esto permite que el motor se ajuste a la velocidad de avance del vehículo. Por el contrario, si se pisa rápidamente el pedal de tracción la velocidad del motor disminuye; como resultado, no habrá suficiente potencia para desplazar el vehículo. Por tanto, para transferir la máxima potencia a las ruedas, mueva el acelerador a RáPIDO y presione suavemente el pedal de tracción. Por el contrario, la velocidad máxima de avance sin carga se obtiene poniendo el acelerador en la posición de RáPIDO y presionando el pedal de tracción lentamente pero a fondo. En resumen, mantenga siempre la velocidad del motor lo suficientemente alta para que transmita la máxima potencia a las ruedas.
El uso de la máquina exige atención para evitar vuelcos o pérdidas del control.
Tenga cuidado al entrar y salir de trampas de arena.
Extreme las precauciones alrededor de zanjas, arroyos y otros obstáculos.
Extreme las precauciones cuando utilice la máquina en una pendiente pronunciada.
Reduzca la velocidad al hacer giros cerrados y al girar en pendientes.
Evite arrancar o detener la máquina de forma repentina.
No pase de marcha atrás a marcha adelante sin antes detener el vehículo completamente.
Note: Si el adaptador del accesorio se adhiere al adaptador de la unidad de tracción, introduzca una palanca o un destornillador en la ranura para separar las piezas (Figura 16).

Aparque la máquina en una superficie nivelada, accione el freno de estacionamiento, apague el motor, retire la llave y espere a que se detenga todo movimiento antes de abandonar la máquina.
Limpie la hierba y los residuos del silenciador y del compartimento del motor para prevenir incendios. Limpie cualquier aceite o combustible derramado.
Espere a que se enfríe el motor antes de guardar la máquina en un recinto cerrado.
Cierre el combustible antes de almacenar o transportar la máquina.
No guarde nunca la máquina o un recipiente de combustible cerca de una llama desnuda, chispa o llama piloto, por ejemplo en un calentador de agua u otro electrodoméstico.
Mantenga todas las piezas de la máquina en buenas condiciones de funcionamiento y todas las fijaciones bien apretadas.
Substituya todas las pegatinas desgastadas, deterioradas o que falten.
En caso de emergencia, es posible remolcar la máquina una corta distancia. Sin embargo, no recomendamos esto como procedimiento de serie.
Important: No remolque la máquina a una velocidad mayor que 1,6 km/h porque puede dañarse el sistema de transmisión. Si es necesario trasladar la máquina más de 50 m, transpórtela sobre un camión o un remolque. Las ruedas pueden bloquearse si se remolca la máquina a una velocidad demasiado elevada. Si esto ocurre, deje de remolcar la máquina y espere hasta que se estabilice la presión del circuito de tracción antes de remolcar de nuevo a una velocidad más lenta.
Utilice rampas de ancho completo para cargar la máquina en un remolque o un camión.
Amarre la máquina firmemente.
Note: Para obtener un esquema eléctrico o un esquema hidráulico de su máquina, visite www.Toro.com.
Antes de ajustar, limpiar, reparar o abandonar la máquina, siga estos pasos:
Aparque la máquina en una superficie nivelada.
Mueva el interruptor del acelerador a la posición de ralentí bajo.
Baje el implemento.
Asegúrese de que la tracción está en punto muerto.
Accione el freno de estacionamiento.
Apague el motor y retire la llave.
Espere a que se detengan todas las piezas móviles.
Deje que se enfríen los componentes de la máquina antes de realizar cualquier tarea de mantenimiento.
Si es posible, no realice tareas de mantenimiento con el motor en marcha. Manténgase alejado de las piezas en movimiento.
Utilice caballetes para apoyar la máquina o los componentes cuando sea necesario.
Alivie con cuidado la tensión de aquellos componentes que tengan energía almacenada.
| Intervalo de mantenimiento y servicio | Procedimiento de mantenimiento |
|---|---|
| Después de las primeras 8 horas |
|
| Cada vez que se utilice o diariamente |
|
| Después de cada uso |
|
| Cada 25 horas |
|
| Cada 100 horas |
|
| Cada 200 horas |
|
| Cada 500 horas |
|
| Cada 800 horas |
|
| Cada 1000 horas |
|
| Cada 1500 horas |
|
| Cada 2000 horas |
|
Note: Los lados derecho e izquierdo de la máquina se determinan desde la posición normal del operador.
Si deja la llave en el interruptor de encendido, alguien podría arrancar el motor accidentalmente y causar lesiones graves a usted o a otras personas.
Retire la llave de contacto antes de realizar cualquier operación de mantenimiento.
Important: Las fijaciones de las cubiertas de esta máquina están diseñadas para que queden sujetas a la cubierta después de retirarse ésta. Afloje todas las fijaciones de cada cubierta unas cuantas vueltas hasta que la cubierta esté suelta pero aún sujeta y luego vuelva a aflojarlas hasta que la cubierta quede libre. Esto evita la posibilidad de retirar accidentalmente los pernos de los retenedores.
Los gatos mecánicos o hidráulicos pueden no aguantar el peso de la máquina y pueden dar lugar a lesiones graves.
Utilice caballetes para apoyar la máquina.
Los puntos de apoyo son los siguientes:
La máquina tiene engrasadores que deben lubricarse regularmente con grasa de litio No. 2 cada 100 horas de funcionamiento.
Lubrique los siguientes cojinetes y casquillos:
Cojinete de la rueda delantera (1) (Figura 19)

Pivote del pedal de tracción (1) (Figura 20)

Enganche trasero (5) (Figura 21)

Extremo de la biela de la dirección (1) – Modelo 08705 solamente (Figura 22)

Pivote de dirección (Figura 23)
Note: El acoplamiento enrasado del pivote de dirección (Figura 23) requiere el uso de un adaptador de boquilla en la pistola de engrasar. Solicite la Pieza Toro N.º 107–1998 a su Distribuidor Autorizado Toro.

| Intervalo de mantenimiento y servicio | Procedimiento de mantenimiento |
|---|---|
| Cada 100 horas |
|
Limpie los puntos de engrase para evitar que penetre materia extraña en el cojinete o casquillo.
Bombee grasa en el cojinete o casquillo.
Limpie cualquier exceso de grasa.
Apague el motor antes de comprobar el aceite o añadir aceite al cárter.
No cambie la velocidad del regulador ni haga funcionar el motor a una velocidad excesiva.
Utilice aceite para motores de alta calidad que cumpla las siguientes especificaciones:
Nivel de clasificación API: SL o superior
Viscosidad del aceite: SAE 30, por encima de 4 °C
| Intervalo de mantenimiento y servicio | Procedimiento de mantenimiento |
|---|---|
| Cada vez que se utilice o diariamente |
|
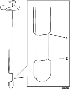
El motor se suministra con aceite en el cárter; sin embargo, es necesario comprobar el nivel de aceite antes y después de la primera puesta en marcha del motor.
Aparque la máquina en una superficie nivelada, apague el motor, ponga el freno de estacionamiento y retire la llave.
Incline el asiento hacia adelante.
Saque la varilla (Figura 24) y límpiela con un paño limpio.

Introduzca la varilla en el tubo asegurándose de que entre a fondo. Retire la varilla del tubo y verifique el nivel de aceite. Si el nivel de aceite es bajo, retire el tapón de llenado de la cubierta de la válvula y añada suficiente aceite del tipo especificado para elevar el nivel a la marca Lleno de la varilla.
Important: Asegúrese de mantener el nivel del aceite entre la marca superior e inferior de la varilla. Si el nivel del aceite del motor es demasiado alto o demasiado bajo, puede dañar el motor al ponerlo en marcha.
Coloque la varilla firmemente.
Important: Debe introducir a fondo la varilla en el tubo para sellar correctamente el cárter del motor. El no sellar el cárter puede causar daños en el motor.
Incline el asiento hacia abajo.
| Intervalo de mantenimiento y servicio | Procedimiento de mantenimiento |
|---|---|
| Cada 100 horas |
|
Capacidad de aceite del cárter: 1,66 litros aproximadamente con el filtro.
Aparque la máquina en una superficie nivelada, apague el motor, ponga el freno de estacionamiento y retire la llave.
Retire el tapón de vaciado (Figura 25) y deje fluir el aceite a un recipiente apropiado. Cuando el aceite deje de fluir, coloque el tapón de vaciado.

Retire el filtro de aceite (Figura 25).
Aplique una capa ligera de aceite limpio a la junta del filtro nuevo.
Enrosque el filtro a mano hasta que la junta toque el adaptador del filtro, luego apriete entre 1/2 y 3/4 de vuelta más.
Important: No apriete el filtro demasiado.
Añada aceite del tipo especificado al cárter; consulte Comprobación del nivel de aceite del motor.
Elimine correctamente el aceite usado.
| Intervalo de mantenimiento y servicio | Procedimiento de mantenimiento |
|---|---|
| Cada 200 horas |
|
Inspeccione la carcasa del limpiador de aire en busca de cualquier daño que pudiera causar una fuga de aire. Sustituya cualquier componente dañado. Compruebe todo el sistema de admisión en busca de fugas, daños o abrazaderas sueltas.
No cambie el filtro antes de que sea necesario; esto sólo aumenta la posibilidad de que entre suciedad en el motor al retirar el filtro.
Asegúrese de que la tapa está bien asentada y que hace un buen sello con la carcasa del limpiador de aire.
| Intervalo de mantenimiento y servicio | Procedimiento de mantenimiento |
|---|---|
| Cada 200 horas |
|
Abra los enganches que sujetan la tapa del limpiador de aire a la carcasa del limpiador de aire (Figura 26).

Retire la tapa de la carcasa del limpiador de aire.
Antes de retirar el filtro, utilice aire a baja presión (2,76 bar, limpio y seco) para retirar cualquier gran acumulación de residuos que se haya acumulado entre el exterior del filtro primario y el cartucho.
Important: Evite utilizar aire a alta presión, porque podría obligar a la suciedad a penetrar a través del filtro a la entrada. Este proceso de limpieza evita que los residuos migren a la entrada de aire al retirar el filtro primario.
Retire y cambie el filtro.
Note: Asegúrese de que el filtro nuevo no ha sido dañado durante el transporte, comprobando el extremo sellante del filtro y la carcasa. No utilice el elemento si está dañado. Introduzca el filtro nuevo presionando el borde exterior del elemento para asentarlo en el cartucho. No aplique presión al centro flexible del filtro.
Note: No se recomienda limpiar el elemento usado debido a la posibilidad de causar daños al medio filtrante.
Limpie el orificio de expulsión de suciedad situado en la tapa extraíble.
Retire la válvula de salida de goma de la cubierta, limpie el hueco y cambie la válvula de salida.
Instale la tapa orientando la válvula de salida de goma hacia abajo – aproximadamente entre las 5 y las 7, visto desde el extremo.
Cierre los enganches.
| Intervalo de mantenimiento y servicio | Procedimiento de mantenimiento |
|---|---|
| Cada 100 horas |
|
Tipo: Champion RC14YC (o equivalente)
Hueco entre electrodos: 0,76 mm
Note: Las bujías suelen durar mucho tiempo; no obstante debe retirarlas y revisarlas si el motor no funciona correctamente.
Limpie la zona alrededor de cada bujía para que no caiga suciedad en el cilindro cuando se retire la bujía.
Retire los cables de las bujías y retire las bujías de la culata.
Compruebe la condición del electrodo lateral, el electrodo central y el aislamiento para verificar que no están dañados.
Important: Sustituya la bujía si está agrietada, deteriorada, sucia o funciona de forma incorrecta. No limpie los electrodos con chorro de arena, ni los rasque ni utilice un cepillo de alambre, porque pueden desprenderse partículas de la bujía que caerán dentro del cilindro y pueden dañar el motor.
Ajuste la distancia entre el electrodo central y el electrodo lateral a 0,76 mm; consulte Figura 27. Tras ajustar correctamente los electrodos, coloque la bujía con su junta y apriétela a 23 N·m. Si no utiliza una llave dinamométrica, apriete la bujía firmemente.

| Intervalo de mantenimiento y servicio | Procedimiento de mantenimiento |
|---|---|
| Cada 500 horas |
|
El tubo de combustible incorpora un filtro en línea. Utilice los siguientes procedimientos para cambiarlo:
Cierre la válvula de cierre de combustible, afloje la abrazadera en el lado del carburador del filtro y retire del filtro el tubo de combustible (Figura 28).

Coloque un recipiente debajo del filtro, afloje la otra abrazadera y retire el filtro.
Instale el filtro nuevo con la flecha del filtro apuntando en la dirección opuesta al depósito de combustible (hacia el carburador).
Deslice las abrazaderas sobre los extremos de los tubos de combustible.
Empuje los tubos hasta que encajen en el filtro y sujételos con las abrazaderas.
Note: Asegúrese de que la flecha marcada en el lateral del filtro apunta hacia el carburador.
| Intervalo de mantenimiento y servicio | Procedimiento de mantenimiento |
|---|---|
| Cada 500 horas |
|
Eleve el neumático trasero derecho para que no toque el suelo y apoye la máquina con caballetes.
Retire las 4 tuercas de rueda que fijan la rueda en el cubo y retire la rueda y el neumático (Figura 29).

Retire los 4 tornillos de caperuza con arandela prensada (¼" x ⅝") que sujetan la cubierta de la rueda al bastidor de la máquina (Figura 30).

En la parte alrededor del borde interior inferior de la consola, tire del filtro del cartucho de carbón hacia atrás para sacarlo de la manguera en el extremo del cartucho de carbón (Figura 31).

Inserte un filtro del cartucho de carbón nuevo en la manguera al final del cartucho de carbón (Figura 31).
Alinee los taladros en la cubierta de la rueda con el bastidor de la máquina (Figura 30) y fije la cubierta al bastidor con los 4 tornillos de caperuza con arandela prensada (1/4" x 5/8") que retiró en el paso 3.
Monte el neumático y la rueda en los espárragos del cubo de la rueda (Figura 29) con las 4 tuercas de rueda que retiró en el paso 2 y apriete las tuercas a mano.
Retire los caballetes y baje la máquina al suelo.
Apriete las tuercas de rueda; consulte Apriete las tuercas de las ruedas.
Desconecte la batería antes de realizar reparaciones en la máquina. Desconecte primero el terminal negativo y luego el positivo. Conecte primero el terminal positivo y luego el negativo.
Cargue la batería en una zona abierta y bien ventilada, lejos de chispas y llamas. Desenchufe el cargador antes de conectar o desconectar la batería. Lleve ropa protectora y utilice herramientas aisladas.
Si es necesario arrancar la máquina con la batería de otro vehículo, puede utilizarse el borne positivo alternativo (situado en el solenoide del motor de arranque) en lugar del borne positivo de la batería (Figura 32).

El bloque de fusibles (Figura 33) se encuentra debajo del asiento.

| Intervalo de mantenimiento y servicio | Procedimiento de mantenimiento |
|---|---|
| Cada 25 horas |
|
Debe mantenerse el nivel correcto de electrolito, y la parte superior de la batería debe estar siempre limpia. Si la máquina se guarda en un sitio con temperaturas extremadamente altas, la batería se descargará más rápidamente que si se guarda en un sitio con temperaturas más bajas.
Mantenga limpia la superficie superior de la batería lavándola periódicamente con una brocha mojada en una solución de amoniaco o bicarbonato. Enjuague la superficie con agua después de limpiarla. No retire el tapón durante la limpieza.
Los cables de la batería deben estar bien apretados en los bornes para proporcionar un buen contacto eléctrico.
Si hay corrosión en los bornes de la batería, desconecte los cables (primero el cable negativo (–)) y rasque por separado los bornes y las abrazaderas. Conecte los cables (primero el cable positivo (+)) y aplique una capa de vaselina a los bornes.
Compruebe el nivel de electrolito cada 25 horas de operación, o si la máquina está inactiva, cada 30 días.
Mantenga el nivel de electrolito con agua destilada o desmineralizada. No llene las celdas por encima de la línea de llenado.
| Intervalo de mantenimiento y servicio | Procedimiento de mantenimiento |
|---|---|
| Cada vez que se utilice o diariamente |
|
Compruebe la presión de los neumáticos antes de utilizar la máquina (Figura 34). La presión de aire correcta de los neumáticos delanteros y traseros es:
Neumáticos con dibujo: 0,7 bar
Note: Si se necesita una tracción mayor para trabajar con determinados accesorios, reduzca la presión a 0,55 bar.
Neumáticos lisos: 0,55–0,7 bar

| Intervalo de mantenimiento y servicio | Procedimiento de mantenimiento |
|---|---|
| Después de las primeras 8 horas |
|
| Cada 100 horas |
|
Apriete las tuercas de las ruedas a 95–122 N∙m.
Si la máquina se desplaza cuando el pedal de tracción está en punto muerto, ajuste la leva de tracción.
Aparque la máquina en una superficie nivelada, apague el motor, ponga el freno de estacionamiento y retire la llave.
Afloje los 2 tornillos que fijan la cubierta central a la máquina y retire la cubierta (Figura 35).

Levante la rueda delantera y una rueda trasera del suelo y coloque soportes debajo del bastidor.
Deben levantarse del suelo la rueda delantera y una rueda trasera o la máquina se desplazará durante el ajuste. La máquina podría caer al suelo y lesionar a cualquier persona que estuviera debajo.
Asegúrese de que la máquina está correctamente apoyada, con la rueda delantera y una rueda trasera levantadas del suelo.
Afloje la contratuerca de la leva de ajuste de tracción (Figura 36).

El motor debe estar en marcha para poder realizar el ajuste final de la leva de ajuste de tracción. El contacto con piezas en movimiento o superficies calientes puede causar lesiones personales.
Mantenga las manos, los pies, la cara y otras partes del cuerpo alejados de las piezas en movimiento, el tubo de escape y otras superficies calientes.
Arranque el motor y gire la sección hexagonal de la leva (Figura 36) en ambos sentidos para determinar la posición central del intervalo de punto muerto.
Apriete la contratuerca para afianzar el ajuste.
Apague el motor.
Instale la cubierta central.
Retire los soportes y baje la máquina al suelo.
Haga una prueba de la máquina para asegurarse de que no se desplaza cuando el pedal de tracción está en punto muerto.
Ajuste del punto muerto de la transmisión; consulte Ajuste del punto muerto de la transmisión de tracción.
Accione la palanca de la bomba para asegurarse de que todas las piezas funcionan libremente y están bien asentadas.
Ajuste el tornillo hasta que el hueco sea de 0,8 a 2,3 mm; consulte Figura 36.
Compruebe que funciona correctamente.
El pedal de tracción viene ajustado de fábrica para la velocidad máxima de transporte y en marcha atrás, pero puede ser necesario ajustarlo si el pedal hace su recorrido completo antes de que la palanca de la bomba llegue al tope, o si se desea reducir la velocidad de transporte.
Para obtener la máxima velocidad de transporte, pise el pedal de tracción. Si el pedal toca el tope (Figura 37) antes de que la palanca de la bomba termine su recorrido, ajústelo.

Aparque la máquina en una superficie nivelada, apague el motor, ponga el freno de estacionamiento y retire la llave.
Afloje la tuerca que sujeta el tope del pedal.
Apriete el tope del pedal hasta que no esté en contacto con el pedal de tracción.
Siga aplicando una carga ligera sobre el pedal de transporte y ajuste el tope hasta que apenas entre en contacto con la varilla del pedal, o hasta obtener un hueco de 2,5 mm entre la varilla del pedal y el tope.
Apriete las tuercas.
Aparque la máquina en una superficie nivelada, apague el motor, ponga el freno de estacionamiento y retire la llave.
Afloje la tuerca que sujeta el tope del pedal.
Desenrosque el tope del pedal (hacia fuera) hasta obtener la velocidad de transporte deseada.
Apriete la tuerca que sujeta el tope del pedal.
Ajuste la placa de retención de la palanca de elevación (Figura 39) si el accesorio no flota correctamente (no sigue los contornos del terreno) durante el uso.
Aparque la máquina en una superficie nivelada, apague el motor, ponga el freno de estacionamiento y calce las ruedas.
Retire los 4 pernos que fijan el panel de control al bastidor (Figura 38).

Afloje los 2 pernos que sujetan la placa de retención al guardabarros y al bastidor.

El motor debe estar en marcha para ajustar la placa de retención. El contacto con piezas en movimiento o superficies calientes puede causar lesiones personales.
Mantenga las manos, los pies, la cara y otras partes del cuerpo alejados de las piezas en movimiento, el tubo de escape y otras superficies calientes.
Arranque el motor.
Con el motor en marcha y la palanca de elevación en la posición de FLOTACIóN, desplace la placa de retención hasta que pueda extender y retraer el cilindro de elevación con la mano.
Apriete ambos tornillos de montaje para afianzar el ajuste.
El funcionamiento correcto del acelerador depende de un ajuste correcto del control del acelerador. Antes de ajustar el carburador, asegúrese de que el control del acelerador funciona correctamente.
Incline el asiento hacia arriba.
Afloje el tornillo de la abrazadera que fija el cable del acelerador al motor (Figura 40).

Mueva la palanca de control remoto del acelerador hacia adelante a la posición de RáPIDO.
Tire firmemente del cable del acelerador hasta que la parte trasera del pivote entre en contacto con el tope (Figura 40).
Apriete el tornillo de la abrazadera y compruebe la velocidad del motor.
Ralentí alto: 3,350 a 3,450 rpm
Ralentí bajo: 1,650 a 1,850 rpm
Incline el asiento hacia arriba.
Afloje el tornillo de la abrazadera que fija el cable del estárter al motor (Figura 40).
Mueva la palanca de control remoto del estárter hacia adelante a la posición de CERRADO.
Tire firmemente del cable del estárter (Figura 40) hasta que la palomilla esté cerrada del todo, luego apriete el tornillo de la abrazadera.
Important: Antes de ajustar el control de velocidad del regulador del motor, compruebe que los controles del acelerador y del estárter están ajustados correctamente.
El motor debe estar en marcha durante el ajuste del control de velocidad del regulador del motor. El contacto con piezas en movimiento o superficies calientes puede causar lesiones personales.
Asegúrese de que el pedal de tracción está en punto muerto y ponga el freno de estacionamiento antes de realizar este procedimiento.
Mantenga las manos, los pies, la ropa y otras partes del cuerpo alejados de las piezas en movimiento, el tubo de escape y otras superficies calientes.
Note: Para ajustar el ralentí bajo, siga todos estos pasos. Si solamente se va a ajustar el ralentí alto, vaya directamente al paso 5.
Arranque el motor y déjelo funcionar a velocidad media durante unos cinco minutos para que se caliente.
Mueva el control del acelerador a la posición de LENTO. Gire el tornillo de ajuste del ralentí en el sentido contrario a las agujas del reloj hasta que no toque la palanca del acelerador.
Doble la pestaña de anclaje del muelle de regulación del ralentí (Figura 41) hasta obtener una velocidad de ralentí de 1675–1175 rpm.
Note: Compruebe la velocidad con un tacómetro.

Ajuste el tornillo de tope de ralentí hasta que la velocidad de ralentí aumente de 25 a 50 rpm por encima de la velocidad de ralentí establecida en el paso 3.
Note: La velocidad de ralentí final debe ser de 1650 – 1850 rpm.
Mueva el control del acelerador a la posición de RáPIDO.
Doble la pestaña de anclaje del muelle de alta velocidad (Figura 41) hasta obtener una velocidad alta de 3350 – 3450 rpm.
Busque atención médica inmediatamente si el fluido penetra en la piel. Un médico deberá eliminar quirúrgicamente el fluido inyectado en pocas horas.
Asegúrese de que todas las mangueras y líneas de fluido hidráulico están en buenas condiciones de uso, y que todos los acoplamientos y conexiones hidráulicos están apretados, antes de aplicar presión al sistema hidráulico.
Mantenga el cuerpo y las manos alejados de fugas pequeñas o de boquillas que liberan fluido hidráulico a alta presión.
Utilice un cartón o un papel para buscar fugas hidráulicas.
Alivie de manera segura toda la presión del sistema hidráulico antes de realizar trabajo alguno en el sistema hidráulico.
| Intervalo de mantenimiento y servicio | Procedimiento de mantenimiento |
|---|---|
| Cada vez que se utilice o diariamente |
|
Cada día, compruebe que las líneas y mangueras hidráulicas no tienen fugas, que no están dobladas, que los soportes no están sueltos, y que no hay desgaste, elementos sueltos, o deterioro causado por agentes ambientales o químicos. Haga todas las reparaciones necesarias antes de operar la máquina.
El depósito se llena en la fábrica con fluido hidráulico de alta calidad. Compruebe el nivel del fluido hidráulico antes de arrancar el motor por primera vez y luego a diario; consulte Comprobación del nivel de fluido hidráulico.
Fluido hidráulico recomendado: fluido hidráulico Toro PX Extended Life, disponible en recipientes de 19 litros o en bidones de 208 litros.
Note: Una máquina que utilice el fluido de recambio recomendado necesita menos cambios de filtro y de fluido.
Fluidos hidráulicos alternativos: si no se encuentra disponible el fluido hidráulico Toro PX Extended Life, puede utilizar otro fluido hidráulico convencional basado en petróleo cuyas especificaciones referentes a todas las propiedades materiales estén dentro de los intervalos relacionados a continuación y que cumpla las normas industriales. No utilice fluido sintético. Consulte a su distribuidor de lubricantes para identificar un producto satisfactorio.
Note: Toro no asume responsabilidad alguna por daños causados por sustituciones no adecuadas, por lo que debe utilizar solamente productos de fabricantes reputados que respalden sus recomendaciones.
| Propiedades de materiales: | ||
| Viscosidad, ASTM D445 | cSt a 40 °C 44 a 48 | |
| Índice de viscosidad ASTMD2270 | 140 o más | |
| Punto de descongelación, ASTMD97 | -37 °C a -45 °C | |
| Especificaciones industriales: | Eaton Vickers 694 (I-286-S, M-2950-S/35VQ25 o M-2952-S) | |
Note: Muchos fluidos hidráulicos son casi incoloros, por lo que es difícil detectar fugas. Está disponible un aditivo de tinte rojo para el fluido hidráulico, en botellas de 20 ml. Una botella es suficiente para 15-22 litros de fluido hidráulico. Solicite la Pieza 44-2500 a su Distribuidor Autorizado Toro.
Important: El fluido hidráulico biodegradable Toro Premium Synthetic es el único fluido sintético biodegradable homologado por Toro. Este fluido es compatible con los elastómeros usados en los sistemas hidráulicos Toro, y es apropiado para un amplio intervalo de temperaturas. Este fluido es compatible con aceites minerales convencionales, pero para obtener la máxima biodegradabilidad y rendimiento es necesario purgar el sistema hidráulico completamente de fluido convencional. Su distribuidor Toro autorizado dispone de este aceite en recipientes de 19 litros o en bidones de 208 litros.
| Intervalo de mantenimiento y servicio | Procedimiento de mantenimiento |
|---|---|
| Cada vez que se utilice o diariamente |
|
El depósito se llena en la fábrica con el fluido hidráulico recomendado. El mejor momento para comprobar el fluido hidráulico es cuando está frío.
Eleve totalmente todos los accesorios hidráulicos a la posición de transporte.
Aparque la máquina en una superficie nivelada, apague el motor, ponga el freno de estacionamiento y retire la llave.
Limpie la zona alrededor del tapón del depósito hidráulico para evitar que entre suciedad en el depósito (Figura 42).

Retire el tapón del depósito.
Retire la varilla del cuello de llenado y límpiela con un paño limpio.
Inserte la varilla en el cuello de llenado; luego retírela y compruebe el nivel del fluido (Figura 43).
Cuando el depósito está cargado correctamente con fluido hidráulico, debe ver el nivel del fluido entre las marcas de superior e inferior (área rebajada) en la varilla.
Important: Si el nivel del fluido está entre las marcas superior e inferior, no es necesario añadir fluido.

Si el nivel de fluido es demasiado bajo, añada lentamente el fluido hidráulico especificado en el depósito hasta que el nivel de fluido llegue al área rebajada en la varilla.
Important: Para evitar la contaminación del sistema, limpie la superficie de los envases de fluido hidráulico antes de abrirlos. Asegúrese de que el vertedor y el embudo están limpios.
Important: No llene demasiado el depósito con fluido hidráulico.
Coloque el tapón del depósito.
| Intervalo de mantenimiento y servicio | Procedimiento de mantenimiento |
|---|---|
| Cada 800 horas |
|
| Cada 1000 horas |
|
Aparque la máquina en una superficie nivelada, apague el motor, ponga el freno de estacionamiento y retire la llave.
Afloje los 2 tornillos que fijan la cubierta central a la máquina y retire la cubierta (Figura 44).

Lubrique la junta en el filtro de sustitución con fluido hidráulico limpio.
Coloque un recipiente debajo del filtro hidráulico, que está situado en el lado izquierdo de la máquina (Figura 45).

Limpie la zona de montaje del filtro.
Note: Tenga el filtro de sustitución a mano antes de retirar el filtro antiguo.
Retire el filtro hidráulico del cabezal del filtro.
Instale el nuevo filtro hidráulico (Figura 45) girándolo a mano hasta que la junta entre en contacto con el cabezal del filtro y, a continuación, apriete el filtro 3/4 de vuelta más.
Compruebe el nivel de fluido hidráulico y añada el fluido hidráulico especificado tal y como sea necesario; consulte Comprobación del nivel de fluido hidráulico
Instale la cubierta central.
| Intervalo de mantenimiento y servicio | Procedimiento de mantenimiento |
|---|---|
| Cada 800 horas |
|
| Cada 2000 horas |
|
Capacidad del depósito: 19 litros
Utilice un filtro genuino Toro para sustituirlo; consulte el Catálogo de piezas de su máquina.
Retire el tapón del depósito hidráulico (Figura 46).

Bombee el fluido hidráulico del depósito hidráulico (Figura 46).
Llene el depósito hidráulico con el fluido hidráulico especificado hasta que el nivel llegue a la parte rebajada de la varilla; consulte Comprobación del nivel de fluido hidráulico.
Important: No llene el depósito con demasiado fluido hidráulico.
Arranque el motor y déjelo funcionar. Accione el cilindro de elevación hasta que se extienda y se retraiga, y las ruedas se muevan hacia adelante y hacia atrás.
Apague el motor y compruebe el nivel de fluido hidráulico en el depósito; añada fluido si es necesario.
Compruebe si existen fugas.
Repare cualquier fuga de fluido hidráulico.
Instale la cubierta central.
Cada vez que se repare o cambie un componente hidráulico, debe cambiar el filtro hidráulico y cargar el sistema hidráulico.
Asegúrese de que el depósito hidráulico y el filtro hidráulico están llenos de fluido en todo momento durante la carga del sistema hidráulico.
Aparque la máquina en una superficie nivelada, apague el motor, ponga el freno de estacionamiento y retire la llave.
Afloje los 2 tornillos que fijan la cubierta central a la máquina y retire la cubierta (Figura 47).

Levante la rueda delantera y una rueda trasera del suelo y coloque soportes debajo del bastidor.
Deben levantarse del suelo la rueda delantera y una rueda trasera o la máquina se desplazará durante el ajuste. La máquina podría caer al suelo y lesionar a cualquier persona que estuviera debajo.
Asegúrese de que la máquina está correctamente apoyada, con la rueda delantera y una rueda trasera levantadas del suelo.
Arranque el motor y ajuste el acelerador hasta que el motor esté funcionando a aproximadamente 1.800 rpm.
Accione la palanca de la válvula de elevación hasta que la biela del cilindro de elevación haya entrado y salido varias veces. Si la biela no se mueve en 10–15 segundos o la bomba emite sonidos anormales, pare el motor inmediatamente y determine la causa o el problema. Algunas posibles causas son:
Los tubos del filtro o de aspiración están sueltos
El acoplamiento de la bomba está suelto
El tubo de aspiración está obstruido
La válvula de alivio de carga es defectuosa
La bomba de carga es defectuosa
Si el cilindro se mueve en 10–15 segundos, vaya al paso 6.
Pise el pedal de tracción hacia adelante y hacia atrás. Las ruedas que están levantadas del suelo deben girar en la dirección correcta.
Si las ruedas giran en la dirección incorrecta, apague el motor, retire los tubos de la parte trasera de la bomba e invierta las posiciones.
Si las ruedas giran en la dirección correcta, apague el motor y ajuste la contratuerca del pasador de ajuste del muelle (Figura 48). Ajuste la posición de punto muerto de la tracción; consulte Ajuste del punto muerto de la transmisión de tracción.

Compruebe el ajuste del interruptor de seguridad de la tracción; consulte Ajuste del interruptor de seguridad de tracción.
Instale la cubierta central.
| Intervalo de mantenimiento y servicio | Procedimiento de mantenimiento |
|---|---|
| Después de cada uso |
|
Lave la máquina a fondo con una manguera de jardín, sin boquilla, para que la presión excesiva del agua no contamine ni dañe juntas y cojinetes.
Asegúrese de que las aletas de refrigeración y la zona de alrededor de la entrada de aire de refrigeración están libres de residuos.
Important: La limpieza del enfriador de aceite con agua favorece la corrosión prematura, causa daños a los componentes y compacta los residuos; consulte Limpieza del enfriador de aceite.
Inspeccione la máquina y compruebe que no hay fugas de fluido hidráulico, daños o desgaste en los componentes mecánicos e hidráulicos.
| Intervalo de mantenimiento y servicio | Procedimiento de mantenimiento |
|---|---|
| Cada 500 horas |
|
Limpie a fondo la máquina, los accesorios y el motor.
Aparque la máquina en una superficie nivelada, accione el freno de estacionamiento, apague el motor, retire la llave y espere a que se detenga todo movimiento antes de abandonar la máquina.
Compruebe la presión de los neumáticos; consulte Comprobación de la presión de los neumáticos.
Compruebe que todas las fijaciones están bien apretadas; apriételas si es necesario.
Aplique grasa o aceite a todos los puntos de engrase y de pivote; consulte Engrasado de la máquina.
Lije suavemente y aplique pintura de retoque a cualquier zona pintada que esté rayada, desconchada u oxidada.
Cambie el aceite del motor y el filtro; consulte Cómo cambiar el aceite de motor y el filtro.
Arranque el motor y déjelo funcionar al ralentí durante 2 minutos.
Apague el motor, retire la llave y espere a que se detengan todas las piezas en movimiento antes de dejar la máquina.
Realice una limpieza y un mantenimiento completos del conjunto del limpiador de aire; consulte Mantenimiento del limpiador de aire.
Selle la entrada del limpiador de aire y la salida del tubo de escape con cinta impermeabilizante.
Compruebe que el tapón de llenado de aceite y el del depósito de combustible están firmemente colocados.
Retire los terminales de los bornes de la batería.
Limpie la batería, los terminales y los bornes con un cepillo de alambre y una solución de bicarbonato.
Aplique una capa de grasa Grafo 112X (pieza Toro 505-47) a los terminales de los cables y a los bornes de la batería para evitar la corrosión.
Cargue la batería lentamente durante 24 horas cada 60 días para evitar el sulfatado de plomo de la batería.
Note: La gravedad específica de una batería totalmente cargada es de 1250.
Note: Guarde la batería en un ambiente fresco para evitar el rápido deterioro de la carga. Para evitar que la batería se congele, asegúrese de que está totalmente cargada.