| Huoltoväli | Huoltotoimenpide |
|---|---|
| Aina ennen käyttöä tai päivittäin |
|
Tämä kone on ajettava hyötyajoneuvo, joka on tarkoitettu ammattimaiseen kaupalliseen käyttöön. Se on tarkoitettu pääasiassa hiekkaesteiden kunnostukseen golfkentillä ja kaupallisten kiinteistöjen viheralueilla. Tuotteen käyttäminen muuhun kuin sen aiottuun käyttötarkoitukseen voi olla vaarallista käyttäjälle ja sivullisille.
Lue nämä tiedot huolellisesti, jotta opit käyttämään ja huoltamaan laitetta asianmukaisesti sekä välttämään tapaturmia ja laitevaurioita. Olet itse vastuussa tuotteen asianmukaisesta ja turvallisesta käytöstä.
Vieraile osoitteessa www.Toro.com, jos tarvitset tuoteturvallisuuteen ja käyttökoulutukseen liittyviä materiaaleja tai tietoja lisävarusteista tai lähimmästä jälleenmyyjästä tai jos haluat rekisteröidä tuotteesi.
Aina kun tarvitset huoltoa, alkuperäisiä Toro-varaosia tai lisätietoja, ota yhteys valtuutettuun huoltoliikkeeseen tai Toron asiakaspalveluun. Ota tällöin tuotteesi malli- ja sarjanumerot valmiiksi esiin. Kuva 1 näyttää laitteen malli- ja sarjanumeron sijainnin. Kirjoita numerot annettuun tilaan.
Important: Skannaamalla sarjanumerokilvessä olevan QR-koodin (jos varusteena) mobiililaitteella saat tuotetietoja sekä takuu- ja varaosatietoja.

Tässä käyttöoppaassa ja koneessa oleva varoitusmerkintä (Kuva 2) ilmaisee tärkeitä turvallisuuteen liittyviä tietoja, joita on noudatettava onnettomuuksien estämiseksi.

Varoitusmerkintä näkyy vaarallisista toimista tai tilanteista varoittavien tietojen yläpuolella, ja sitä seuraa sana HENGENVAARA, VAROITUS tai HUOMIO.
HENGENVAARA tarkoittaa välitöntä vaaratilannetta, joka johtaa kuolemaan tai vakavaan loukkaantumiseen, jos varoitusmerkintää ei noudateta.
VAROITUS tarkoittaa mahdollista vaaratilannetta, joka voi johtaa kuolemaan tai vakavaan loukkaantumiseen, jos varoitusmerkintää ei noudateta.
HUOMIO tarkoittaa mahdollista vaaratilannetta, joka voi aiheuttaa lievän tai kohtalaisen loukkaantumisen, jos varoitusmerkintää ei noudateta.
Lisäksi tässä käyttöoppaassa käytetään kahta seuraavaa termiä tietojen korostamiseksi. Tärkeää kiinnittää huomiota mekaanisiin erikoistietoihin ja Huomautus korostaa erityishuomion ansaitsevia yleistietoja.
Tämä tuote on soveltuvien eurooppalaisten direktiivien mukainen. Lisätietoja on erillisessä tuotekohtaisessa vaatimustenmukaisuusvakuutuksessa.
Kalifornian laki (California Public Resource Code, pykälät 4442 ja 4443) kieltää tämän moottorin käytön metsä-, pensaikko- tai ruohopeitteisillä mailla, jos moottoria ei ole varustettu pykälässä 4442 mainitulla hyvässä käyttökunnossa pidetyllä kipinänsammuttimella tai jos moottoria ei ole suojattu, varustettu ja huollettu palovaaran ehkäisemiseksi.
Mukana toimitettavassa moottorin käyttöoppaassa on Yhdysvaltojen ympäristönsuojeluelimeen EPA:han (Environmental Protection Agency) ja Kalifornian päästöjärjestelmien päästöjen valvontasääntöihin sekä kunnossapitoon ja takuuseen liittyviä tietoja. Käyttöoppaita voi tilata moottorin valmistajalta.
KALIFORNIA
Lakiesityksen 65 mukainen varoitus
Tämän tuotteen moottorin tuottamat pakokaasut sisältävät kemikaaleja, jotka Kalifornian osavaltion tietojen mukaan aiheuttavat syöpää, synnynnäisiä epämuodostumia tai muuta lisääntymiseen liittyvää haittaa.
Akun liitännät, navat ja niihin liittyvät lisävarusteet sisältävät lyijyä ja lyijy-yhdisteitä, joiden tiedetään aiheuttavan syöpää ja haittaavan lisääntymistä. Pese kädet, kun olet käsitellyt näitä osia.
Tämän tuotteen käyttäminen voi altistaa kemikaaleille, jotka Kalifornian osavaltion tietojen mukaan aiheuttavat syöpää, synnynnäisiä epämuodostumia tai muuta lisääntymiseen liittyvää haittaa.
Painosarja 100-6442 voidaan lisätä koneen etuosaan parantamaan pitoa.
Note: Jos koneeseen on asennettu etunosto- tai auralisälaite, painosarja ei sovi, koska laitteet osuvat toisiinsa.
Tämä tuote voi aiheuttaa henkilövahingon. Noudata aina kaikkia turvallisuusohjeita, jotta vakavilta loukkaantumisilta vältytään.
Lue ja sisäistä tämän käyttöoppaan sisältö ennen moottorin käynnistämistä. Huolehdi siitä, että kaikki tuotteen käyttäjät tietävät, miten sitä käytetään, ja ymmärtävät varoitukset.
Koneen käyttö vaatii käyttäjän täyden huomion. Jos käyttäjän huomio keskittyy muualle, saattaa seurata henkilö- tai omaisuusvahinko.
Älä laita käsiä tai jalkoja koneen liikkuvien osien lähelle.
Älä käytä konetta ilman paikallaan olevia ja toimivia suojuksia ja muita suojalaitteita.
Pidä kone etäällä sivullisista sen ollessa liikkeessä.
Älä päästä lapsia käyttöalueelle. Älä koskaan anna lasten käyttää tätä laitetta.
Pysäytä kone ja sammuta moottori ennen huoltoa tai polttoainesäiliön täyttämistä.
Laitteen asiaton käyttö tai huolto voi aiheuttaa tapaturman.
Vähennä loukkaantumisriskiä noudattamalla näitä
turvallisuusohjeita ja huomioimalla aina varoitusmerkki
, joka tarkoittaa varoitusta,
vaaraa tai hengenvaaraa – henkilöturvallisuusohjeet. Ohjeiden
noudattamatta jättäminen saattaa johtaa henkilövahinkoon
tai kuolemaan.
Lisää turvallisuusohjeita on tämän oppaan eri kohdissa.
![]() |
Turva- ja ohjetarrat on sijoitettu hyvin näkyville paikoille mahdollisten vaara-alueiden lähettyville. Korvaa vioittuneet tai kadonneet tarrat uusilla. |







Note: Koneen vasen ja oikea puoli määritellään normaalista käyttöasennosta käsin.
Note: Irrota ja hävitä kaikki kuljetustuet ja -kiinnikkeet.
Vaiheeseen tarvittavat osat:
| Ohjauspyörä | 1 |
| Vaahtomuoviolake | 1 |
| Aluslaatta | 1 |
| Lukkomutteri | 1 |
| Ohjauspyörän suojus | 1 |
Siirrä etupyörää niin, että se osoittaa suoraan eteenpäin.
Liu’uta vaahtomuoviolake pienempi pää edellä ohjausakseliin (Kuva 3).

Liu’uta ohjauspyörä ohjausakseliin (Kuva 3).
Kiinnitä ohjauspyörä ohjausakseliin aluslaatalla ja lukkomutterilla (Kuva 3).
Kiristä lukkomutteri momenttiin 27–35 N·m.
Paina ohjauspyörän suojus paikalleen ohjauspyörän päälle (Kuva 3).
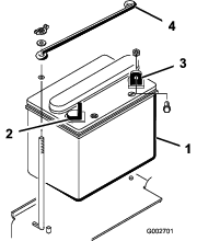
Irrota kaksi siipimutteria ja aluslaattaa, jotka kiinnittävät akun yläpidikkeen sen sivupidikkeisiin (Kuva 4). Irrota akun yläpidike ja poista akku.

Vaiheeseen tarvittavat osat:
| Akkunestettä, ominaispaino 1,260 (hankittava erikseen) | – |
Jos akkua ei ole täytetty akkunesteellä tai sitä ei ole otettu käyttöön, lisää akkuun akkunestettä, jonka ominaispaino on 1,260.
Note: Akkunestettä voi ostaa paikallisesta akkuliikkeestä.
Akkuneste sisältää rikkihappoa, joka on tappavaa nieltynä ja aiheuttaa vakavia kemiallisia palovammoja.
Akkunestettä ei saa juoda eikä päästää kosketuksiin ihon, silmien tai vaatteiden kanssa. Käytä suojalaseja ja kumikäsineitä.
Akku on täytettävä paikassa, jossa on aina saatavilla puhdasta vettä ihon huuhtelua varten.
Irrota täyttöaukkojen korkit akusta ja täytä hitaasti kaikki kennot, kunnes akkunesteen pinta ulottuu täyttöviivaan asti.
Asenna täyttöaukkojen korkit ja kytke 3–4 A:n akkulaturi akun napoihin. Lataa akkua 3–4 A:n virralla 4–8 tunnin ajan.
Akun latauksen yhteydessä syntyy räjähdysherkkiä kaasuja.
Älä tupakoi akun lähettyvillä. Älä päästä kipinöitä tai liekkejä kosketuksiin akun kanssa.
Kun akku on latautunut, irrota laturi virtalähteestä ja akun navoista. Anna akun olla 5–10 minuuttia.
Irrota täyttöaukkojen korkit.
Lisää jokaiseen kennoon hitaasti akkunestettä, kunnes nesteen pinta ulottuu täyttöviivaan asti.
Important: Älä ylitäytä akkua. Akkuneste vuotaa yli koneen muihin osiin ja aiheuttaa vakavaa ruostumista ja muita vaurioita.
Asenna täyttöaukkojen korkit.
Vaiheeseen tarvittavat osat:
| Pultti (¼ × ⅝ tuumaa) | 2 |
| Lukkomutteri (¼ tuumaa) | 2 |
Aseta akku paikalleen siten, että miinusnapa on koneen takaosaan päin (Kuva 5).

Akun kaapeleiden virheellinen asennus voi vahingoittaa konetta ja kaapeleita ja aiheuttaa kipinöitä. Kipinät voivat saada akun kaasut räjähtämään ja aiheuttaa siten henkilövahingon.
Irrota aina akun miinuskaapeli (musta) ennen pluskaapelin (punainen) irrottamista.
Kytke aina akun pluskaapeli (punainen) ennen miinuskaapelia (musta).
Akun navat tai metallityökalut voivat aiheuttaa oikosulun koskettaessaan koneen metalliosia, mistä voi seurata kipinöitä. Kipinät voivat saada akun kaasut räjähtämään ja aiheuttaa siten henkilövahingon.
Kun irrotat tai asennat akun, älä anna akun napojen koskettaa koneen metalliosia.
Älä päästä metallityökaluja aiheuttamaan oikosulkua akun napojen ja laitteen metalliosien välille.
Kiinnitä pluskaapeli (punainen) akun plusnapaan (+) pultilla (¼ × ⅝ tuumaa) ja lukkomutterilla (Kuva 6).

Kiinnitä pieni musta johto ja miinuskaapeli (musta) akun miinusnapaan (–) pultilla (¼ × ⅝ tuumaa) ja lukkomutterilla (¼ tuumaa) (Kuva 6).
Voitele navat ja kiinnittimet vaseliinilla ruostumisen ehkäisemiseksi.
Työnnä kumisuojus plusnavan (+) päälle mahdollisen oikosulun ehkäisemiseksi.
Asenna akun yläpidike sen sivupidikkeisiin, ja kiinnitä se siipimuttereilla ja aluslaatoilla.
Vaiheeseen tarvittavat osat:
| Etupainosarjat tarpeen mukaan | – |
Tämä kone on suunniteltu standardin ANSI B71.4-2017 mukaisesti. Jos koneeseen lisätään lisälaitteita, standardien vaatimusten täyttyminen voi edellyttää lisäpainoja.
Määritä tarvittavat lisäpainoyhdistelmät seuraavan taulukon avulla. Tilaa osat valtuutetulta Toro-jälleenmyyjältä.
| Lisälaite | Tarvittava paino | Painosarja | Sarjan määrä |
|---|---|---|---|
| Piikkirullasarja | 23 kg | Osanro 100-6442 | 1 |
| Rahn-tasaaja |
Note: Mallin 08705 koneet: älä asenna painosarjaa, jos koneessa on etunostorunkosarja.
Asenna painosarja. Lisätietoja painosarjasta on asennusohjeissa.
Vaiheeseen tarvittavat osat:
| Valmistusvuoden tarra | 1 |
Kiinnitä valmistusvuoden tarra koneeseen kuvan mukaiselle alueelle (Kuva 7).

Vaiheeseen tarvittavat osat:
| Varoitustarra | 1 |
Koneissa, joiden on täytettävä CE-vaatimukset, CE-varoitustarra (osanro 136-6164) on kiinnitettävä konsolitarran (osanro 132-4422) alaosan päälle.

Ajopolkimella (Kuva 9) on kolme toimintoa: eteenpäin ajo, peruutus ja koneen pysäytys. Käytä poljinta oikean jalan varpailla ja kantapäällä. Kun haluat liikkua eteenpäin, paina polkimen yläosaa. Kun haluat liikkua taaksepäin tai nopeuttaa pysähtymistä eteenpäin ajettaessa, paina polkimen alaosaa (Kuva 10). Kun päästät tai siirrät polkimen VAPAALLE, kone pysähtyy.
Important: Kun ajat koneella eteenpäin, pidä kantapäätä jalkatuella; älä pidä kantapäätä peruutuspolkimella.


Ajonopeus riippuu siitä, kuinka syvälle painat ajopoljinta. Jos haluat enimmäisajonopeuden, säädä kaasu NOPEALLE ja paina poljin pohjaan. Jos haluat enimmäistehon tai ajat ylämäkeen, säädä kaasu NOPEALLE ja paina ajopoljinta kevyesti, jotta moottorin nopeus pysyy korkeana. Jos moottorin nopeus alkaa laskea, vapauta ajopoljinta hieman, jotta moottorin nopeus nousee.
Important: Suurin vetoteho saadaan säätämällä kaasu NOPEALLE ja painamalla kevyesti ajopoljinta.
Important: Käytä suurinta ajonopeutta vain siirtyessäsi työalueelta toiselle.Enimmäisnopeutta ei suositella käytettäessä kiinnitettyä tai hinattavaa lisälaitetta.
Important: Älä peruuta konetta lisälaitteen ollessa alhaalla käyttöasennossa. Lisälaite saattaa vaurioitua vakavasti.
Moottori käynnistetään ja sammutetaan virtalukosta (Kuva 11). Siinä on kolme asentoa: PYSäYTYS, KäYNNISSä ja KäYNNISTYS. Kytke käynnistysmoottori kääntämällä avainta myötäpäivään KäYNNISTYS-asentoon. Vapauta avain moottorin käynnistyttyä, jolloin avain siirtyy KäYNNISSä-asentoon. Sammuta moottori kääntämällä avain vastapäivään PYSäYTYS-asentoon.

Kun käynnistät kylmää moottoria, sulje kaasuttimen rikastin siirtämällä rikastimen vipu (Kuva 11) ylös KIINNI-asentoon. Kun moottori on käynnistynyt, pidä moottorin käynti tasaisena rikastinta säätämällä. Avaa rikastin mahdollisimman pian siirtämällä sen vipu alas AUKI-asentoon. Lämmin moottori vaatii vain vähän tai ei ollenkaan rikastinta.
Kaasuvipu (Kuva 11) yhdistää kaasuvivuston kaasuttimeen ja käyttää sitä. Vivussa on kaksi asentoa: HIDAS ja NOPEA. Moottorin nopeutta voidaan vaihdella näiden kahden asetuksen välillä.
Note: Kaasuvivulla ei voi sammuttaa moottoria.
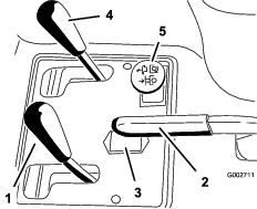
Kun haluat nostaa lisälaitteen, vedä nostovipua (Kuva 12) taaksepäin. Kun haluat laskea lisälaitteen, työnnä vipua eteenpäin. KELLUNTA-asentoa varten vipu on siirrettävä pidäkkeeseen. Kun haluttu asento saavutetaan, vapauta vipu, niin se palautuu vapaalle.

Note: Tässä koneessa on kaksitoiminen nostosylinteri. Lisälaitteen painetta voidaan lisätä tiettyjä käyttöolosuhteita varten.
Seisontajarru (Kuva 12) kytketään vetämällä seisontajarruvivusta. Vapauta seisontajarru työntämällä vipua eteenpäin.
Note: Saatat joutua kiertämään ajopoljinta hitaasti eteen- ja taaksepäin seisontajarrun vapauttamiseksi.
Tuntilaskuri (Kuva 12) ilmoittaa koneen käyttötuntien kokonaismäärän. Tuntilaskuri käynnistyy aina, kun käännät virta-avaimen KäYNNISSä-asentoon (On).
Siirrä istuimen vasemmalla puolella olevaa vipua (Kuva 13) eteenpäin, liu'uta istuin haluamaasi asentoon ja vapauta vipu, niin istuin lukittuu asentoonsa.

Sulje polttoaineen sulkuventtiili (Kuva 14) koneen varastoinnin ja perävaunulla kuljetuksen ajaksi.

Note: Ominaisuuksia ja rakennetta voidaan muuttaa ilmoittamatta.
| Leveys ilman lisälaitetta | 148 cm |
| Leveys harava asennettuna (malli 08751) | 191 cm |
| Pituus ilman lisälaitetta | 164 cm |
| Korkeus | 115 cm |
| Akseliväli | 109 cm |
| Nettopaino | |
| Malli 08703 | 452 kg |
| Malli 08705 | 461 kg |
Koneeseen on saatavana valikoima Toron hyväksymiä lisälaitteita ja -varusteita, joiden avulla voidaan parantaa ja laajentaa sen ominaisuuksia. Ota yhteys valtuutettuun huoltoliikkeeseen tai valtuutettuun Toro-jälleenmyyjään tai siirry osoitteeseen www.Toro.com, jossa on luettelo hyväksytyistä lisälaitteista ja -varusteista.
Käytä vain aitoja Toro-varaosia ja -lisävarusteita, jotta kone toimisi parhaalla mahdollisella tavalla ja sen turvasertifiointi pysyisi voimassa. Muiden valmistajien varaosat ja lisävarusteet voivat osoittautua vaarallisiksi, ja niiden käyttö voi johtaa tuotteen takuun raukeamiseen.
Pysäköi kone tasaiselle alustalle, kytke seisontajarru, sammuta moottori, irrota virta-avain ja odota, että kaikki liikkuvat osat ovat pysähtyneet, ennen kuin poistut koneen luota.
Älä anna lasten tai kouluttamattomien henkilöiden käyttää tai huoltaa laitetta. Paikalliset säännökset saattavat asettaa rajoituksia käyttäjän iälle. Omistaja vastaa käyttäjien ja mekaanikkojen koulutuksesta.
Tutustu laitteen turvallisen käytön ohjeisiin, ohjauslaitteisiin ja turvamerkintöihin.
Selvitä, kuinka koneen saa pysäytettyä ja moottorin sammutettua nopeasti.
Tarkista, että käyttäjän pitokytkimet, turvakytkimet ja suojalevyt ovat paikoillaan ja toimivat oikein. Älä käytä konetta, mikäli ne eivät toimi kunnolla.
Tarkasta kone aina ennen käyttöä ja varmista, että komponentit ja kiinnittimet ovat hyvässä käyttökunnossa. Vaihda kuluneet tai vaurioituneet komponentit ja kiinnittimet.
Tarkasta koneen käyttöalue ja poista siltä kaikki esineet, joita kone voi singota.
Käsittele polttoainetta erittäin varovasti. Se on tulenarkaa, ja höyryt räjähtävät herkästi.
Sammuta savukkeet, sikarit, piiput ja muut sytytyslähteet.
Käytä vain hyväksyttyä polttoaineastiaa.
Älä irrota polttoainesäiliön korkkia tai täytä polttoainesäiliötä moottorin ollessa käynnissä tai kuuma.
Älä lisää tai tyhjennä polttoainetta suljetussa tilassa.
Älä säilytä konetta tai polttoainesäiliötä tilassa, jossa on avotuli, kipinöitä tai varmistusliekki (esimerkiksi vedenlämmitin tai muu vastaava laite).
Jos polttoainetta roiskuu, älä yritä käynnistää moottoria. Vältä luomasta minkäänlaisia kipinälähteitä, ennen kuin polttoainehöyryt ovat hälvenneet.
Polttoainesäiliön tilavuus: 25 litraa
Suositeltu polttoaine:
Moottori toimii parhaiten, kun käytetään vain puhdasta ja uutta (korkeintaan 30 päivää vanhaa) lyijytöntä bensiiniä, jonka tieoktaaniluku (pumppuoktaaniluku) on vähintään 87 (RON + MON / 2).
Etanoli: Enintään 10 % etanolia (bensiinin ja etanolin seosta) tai 15 % MTBE:tä (metyyli-tertiääri-butyylieetteriä) sisältävää polttoainetta voidaan käyttää. Etanoli ja MTBE eivät ole sama asia. Bensiiniä, jonka tilavuudesta enemmän kuin 15 % (E15) on etanolia, ei ole hyväksytty käyttöön. Älä käytä bensiiniä, jonka tilavuudesta enemmän kuin 10 % on etanolia (kuten 15 % etanolia sisältävä E15, 20 % etanolia sisältävä E20 tai enintään 85 % etanolia sisältävä E85). Muun kuin hyväksytyn bensiinin käyttö voi aiheuttaa toimintaongelmia ja/tai moottorivaurioita, joita takuu ei ehkä kata.
Metanolia sisältävää bensiiniä ei saa käyttää.
Polttoainetta ei saa säilyttää talven yli polttoainesäiliössä tai -astioissa, ellei polttoaineeseen ole lisätty stabilointiainetta.
Bensiiniin ei saa lisätä öljyä.
Important: Älä käytä muita polttoaineen lisäaineita kuin stabilointiainetta tai varastointia parantavaa ainetta. Älä käytä alkoholipohjaisia stabilointiaineita, kuten etanolia, metanolia tai isopropanolia.
Puhdista polttoainesäiliön korkin ympäristö (Kuva 15).
Irrota polttoainesäiliön korkki.
Täytä säiliö noin 25 mm säiliön yläreunan (täyttökaulan alareunan) alapuolelle. Älä täytä liikaa.

Asenna korkki.
Pyyhi läikkynyt polttoaine pois palovaaran välttämiseksi.
Important: Älä koskaan käytä metanolia, metanolia sisältävää bensiiniä tai bensiinin ja alkoholin seosta, jonka etanolipitoisuus on yli 10 %, koska ne voivat vaurioittaa moottorin polttoainejärjestelmää. Älä sekoita bensiiniin öljyä.
Suorita seuraavat päivittäiset toimenpiteet ennen koneen käyttöä:
| Huoltoväli | Huoltotoimenpide |
|---|---|
| Aina ennen käyttöä tai päivittäin |
|
Jos turvakytkimet ovat irronneet tai vaurioituneet, kone saattaa toimia odottamattomalla tavalla ja aiheuttaa henkilövahinkoja.
Älä kajoa turvakytkimiin.
Tarkista turvakytkimien toimivuus päivittäin ja vaihda mahdolliset vaurioituneet kytkimet ennen koneen käyttämistä.
Turvajärjestelmän tehtävänä on estää moottoria pyörimästä tai käynnistymästä, ellei ajopoljin ole VAPAA-asennossa. Lisäksi moottorin pitäisi sammua, jos ajopoljinta siirretään joko eteen- tai taaksepäin, kun käyttäjä ei ole istuimella.
Aseta kone laajalle ja avoimelle alueelle, jossa ei ole esteitä tai sivullisia. Sammuta moottori.
Istuudu istuimelle ja kytke seisontajarru.
Paina ajopoljinta eteen- ja taaksepäin yrittäessäsi käynnistää moottoria.
Note: Jos moottori käynnistyy, turvajärjestelmässä saattaa olla vika. Vika on korjattava välittömästi.Jos moottori ei käynnisty, järjestelmä toimii oikein.
Istu ajoistuimella ajopoljin VAPAALLA ja seisontajarru kytkettynä ja käynnistä sitten moottori.
Nouse istuimelta ja paina ajopoljinta hitaasti.
Note: Moottorin tulisi sammua 1–3 sekunnin kuluessa. Korjaa vika, jos järjestelmä ei toimi kunnolla.
Note: Koneen vasen ja oikea puoli määritellään normaalista käyttöasennosta käsin.
Omistaja ja käyttäjä voivat estää loukkaantumisia tai omaisuusvahinkoja aiheuttavat tapaturmat ja ovat siksi vastuussa niistä.
Pukeudu asianmukaisesti. Käytä silmäsuojaimia, tukevia liukastumisen estäviä kenkiä, pitkiä housuja ja kuulosuojaimia. Pitkät hiukset eivät saa roikkua vapaina. Älä käytä riippuvia koruja.
Älä käytä konetta sairaana, väsyneenä tai alkoholin tai huumausaineiden vaikutuksen alaisena.
Älä kuljeta matkustajia koneessa ja pidä sivulliset ja lemmikit poissa koneen luota käytön aikana.
Käytä konetta vain hyvän näkyvyyden vallitessa, jotta vältät kuopat ja muut piilevät vaarat.
Vältä käyttöä märällä ruoholla. Heikentynyt pito voi aiheuttaa koneen luisumisen.
Varmista ennen moottorin käynnistämistä, että kaikki käytöt ovat vapaalla ja että seisontajarru on kytketty. Käynnistä moottori ollessasi käyttäjän paikalla.
Katso taakse ja alas ennen peruuttamista ja varmista, että reitti on vapaa.
Ole varovainen lähestyessäsi kulmia, joissa on huono näkyvyys, pensaita, puita tai muita näköesteitä.
Älä käytä konetta pudotusten, ojien tai vallien lähettyvillä. Kone voi kaatua yllättäen, jos pyörä menee reunan yli tai jos reuna sortuu.
Pysäytä kone ja tarkasta lisälaite, jos kone osuu esteeseen tai jos kone tärisee epätavallisesti. Suorita tarvittavat korjaukset ennen käytön jatkamista.
Hidasta ja ole varovainen kääntyessäsi koneella ja ylittäessäsi teitä ja jalkakäytäviä. Anna muille aina etuajo-oikeus.
Älä koskaan käytä moottoria tilassa, johon voi kertyä pakokaasuja.
Älä jätä käynnissä olevaa konetta ilman valvontaa.
Tee seuraavat toimet ennen käyttäjän paikalta poistumista:
Pysäköi kone tasaiselle alustalle.
Laske lisälaitteet.
Kytke seisontajarru.
Sammuta moottori ja irrota virta-avain.
Odota, kunnes kaikki liikkuvat osat ovat pysähtyneet.
Älä käytä konetta ukonilman aikana.
Älä käytä konetta hinaukseen.
Kostuta pinnat tarvittaessa ennen kunnostusta, jotta pölyä muodostuu vähemmän.
Käytä vain Toron hyväksymiä lisävarusteita, lisälaitteita ja varaosia.
Laadi omat toimintatavat ja ohjeet rinnekäyttöä varten. Ohjeissa on mainittava käyttöpaikan tarkastus, jonka aikana määritetään, missä rinteissä konetta voi käyttää turvallisesti. Tämä tarkastus on tehtävä huolellisesti ja harkiten.
Rinteissä on huomattava koneen hallinnan menettämisen ja kaatumisen vaara. Tällaiset onnettomuudet voivat aiheuttaa vakavan tapaturman tai kuoleman. Käyttäjä on vastuussa turvallisesta käytöstä rinteissä. Koneen käyttö rinteissä edellyttää erityistä huolellisuutta.
Rinteissä on huomattava koneen hallinnan menettämisen ja kaatumisen vaara. Tällaiset onnettomuudet voivat aiheuttaa vakavan tapaturman tai kuoleman. Koneen käyttö rinteissä edellyttää erityistä huolellisuutta.
Käytä konetta rinteissä pienemmällä nopeudella.
Jos koneen käyttö rinteessä ei vaikuta turvalliselta työskentelyn aikana, älä käytä konetta rinteessä.
Varo kuoppia, uria, töyssyjä, kiviä ja muita piileviä vaaroja. Maaston epätasaisuudet voivat kaataa koneen. Korkea ruoho voi peittää esteet.
Valitse alhainen ajonopeus, jotta rinteessä ei tarvitse pysähtyä tai vaihtaa vaihdetta.
Kone voi kaatua jo ennen kuin renkaat menettävät pidon.
Vältä koneen käyttöä märällä ruoholla. Renkaat voivat menettää pidon, vaikka jarrut toimivat oikein.
Vältä koneen käynnistämistä, pysäyttämistä tai kääntämistä rinteissä.
Liiku rinteissä hitaasti ja varovasti. Älä muuta koneen nopeutta tai suuntaa äkillisesti.
Älä käytä konetta pudotusten, ojien, maavallien tai vesialueiden lähellä. Kone voi kaatua yllättäen, jos pyörä menee reunan yli tai jos reuna sortuu. Määritä suoja-alue koneen ja mahdollisen vaaran välille (kaksi koneen leveyttä).
Ota jalka pois ajopolkimelta, varmista, että poljin on VAPAALLA, ja kytke seisontajarru.
Siirrä rikastin PääLLä-asentoon (kylmää moottoria käynnistettäessä) ja kaasuvipu HITAALLE.
Important: Kun konetta käytetään alle 0 °C:n lämpötiloissa, anna sen lämmetä ennen käyttöä. Näin estetään hydrostaatin ja vetosilmukan vaurioituminen.
Käynnistä moottori työntämällä avain virtalukkoon ja kiertämällä sitä myötäpäivään. Vapauta avain, kun moottori käynnistyy.
Note: Pidä moottorin käynti tasaisena rikastinta säätämällä.
Important: Käytä käynnistysmoottoria korkeintaan kymmenen sekuntia, jotta se ei ylikuumene. Odota kymmenen sekunnin yhtäjaksoisen käynnistämisen jälkeen minuutin verran, ennen kuin yrität uudelleen.
Sammuta moottori siirtämällä kaasuvipu HITAALLE ja kääntämällä virta-avain PYSäYTYS-asentoon.
Note: Irrota avain virtalukosta, jotta moottori ei käynnisty vahingossa.
Sulje polttoaineventtiili ennen koneen varastoimista.
Koneen tarkastaminen moottorin ollessa käynnissä voi johtaa loukkaantumiseen.
Sammuta moottori ja odota, että kaikki liikkuvat osat ovat pysähtyneet ennen kuin tarkistat öljyvuodot, irtonaiset osat tai muut viat.
Uusissa moottoreissa täyden voiman saavuttaminen kestää jonkin aikaa. Uuden laitteen vetojärjestelmissä on enemmän moottoria kuormittavaa kitkaa.
Sisäänajoon tarvitaan noin kahdeksan käyttötuntia.
Koska ensimmäiset käyttötunnit ovat erittäin tärkeitä koneen tulevan luotettavuuden kannalta, seuraa sen toimintoja ja toimintaa tarkkaavaisesti, jotta mahdolliset pienet viat voidaan korjata ennen kuin ne pahenevat. Tarkasta kone usein sisäänajojakson aikana öljynvuodon merkkien, löysien kiinnittimien tai muiden vikojen varalta.
Lisätietoja lisälaitteen käytöstä on lisälaitteen käyttöoppaassa.
Harjoittele koneella ajamista, koska sen käyttöominaisuudet poikkeavat joistain hyötyajoneuvoista. Ajoneuvoa käytettäessä on huomioitava vaihteisto ja moottorin nopeus.
Kun moottorin nopeus halutaan pitää tasaisena, ajopoljinta on painettava hitaasti. Näin moottori pysyy ajoneuvon ajonopeuden tahdissa. Vastaavasti jos ajopoljin painetaan alas nopeasti, moottorin nopeus laskee, minkä seurauksena vääntövoimaa ei ole riittävästi ajoneuvon liikuttamiseen. Pyöriin saadaan suurin mahdollinen teho siirtämällä kaasu NOPEALLE ja painamalla ajopoljinta hieman. Toisaalta suurin mahdollinen ajonopeus ilman kuormaa saavutetaan, kun kaasu on NOPEALLA ja ajopoljin painetaan hitaasti kokonaan alas. Moottorin nopeus on siis pidettävä aina riittävän suurena, jotta pyöriin saadaan suurin mahdollinen vääntövoima.
Ajoneuvon käyttö vaatii valppautta, ettei ajoneuvo kaadu ja ettet menetä sen hallintaa.
Ole varovainen siirtyessäsi hiekkaesteille ja poistuessasi niiltä.
Ole erittäin varovainen ojien, purojen ja muiden vaarallisten paikkojen ympärillä.
Käytä konetta jyrkissä rinteissä erityisen varovasti.
Hidasta vauhtia, kun teet jyrkkiä käännöksiä tai käännyt rinteissä.
Vältä äkkilähtöjä ja -pysäytyksiä.
Älä vaihda peruutuksesta eteenpäin ajoon, ennen kuin olet pysähtynyt ensin kokonaan.
Note: Jos lisälaitteen sovitin juuttuu kiinni ajoyksikön sovittimeen, irrota osat vääntöaukkoon asetetulla sorkkaraudalla tai ruuvitaltalla (Kuva 16).

Pysäköi kone tasaiselle alustalle, kytke seisontajarru, sammuta moottori, irrota virta-avain ja odota, että kaikki liikkuvat osat ovat pysähtyneet, ennen kuin poistut koneen luota.
Vähennä tulipalon vaaraa poistamalla ruoho ja leikkuujäte äänenvaimentimesta ja moottoritilasta. Puhdista öljy- ja polttoaineroiskeet.
Anna moottorin jäähtyä, ennen kuin varastoit laitteen suljettuun tilaan.
Sulje polttoaineen sulkuventtiili ennen koneen varastointia tai kuljetusta.
Älä säilytä konetta tai polttoainesäiliötä tilassa, jossa on avotuli, kipinöitä tai varmistusliekki (esimerkiksi vedenlämmitin tai muu vastaava laite).
Pidä kaikki koneen osat hyvässä kunnossa ja kaikki kiinnitykset tiukalla.
Vaihda kaikki kuluneet, vaurioituneet tai puuttuvat tarrat.
Hätätapauksessa konetta voidaan hinata lyhyen matkaa. Sitä ei kuitenkaan suositella tavanomaiseksi käytännöksi.
Important: Koneen suurin hinausnopeus on 1,6 km/h, jotta vetojärjestelmä ei voi vahingoittua. Jos konetta on siirrettävä yli 50 metriä, käytä kuljetukseen perävaunua tai lava-autoa. Renkaat saattavat lukittua, jos konetta hinataan liian nopeasti. Jos näin käy, lopeta koneen hinaus ja odota, että vetopiirin paine vakiintuu, ennen kuin jatkat hinaamista alhaisemmalla nopeudella.
Käytä täysleveää ramppia lastatessasi konetta perävaunuun tai lavalle.
Kiinnitä kone tiukasti.
Note: Koneen kytkentäkaavio ja hydraulikaavio ovat saatavissa osoitteesta www.Toro.com.
Tee ennen koneen säätämistä, puhdistamista tai korjaamista ja ennen koneelta poistumista seuraavat toimenpiteet:
Pysäköi kone tasaiselle alustalle.
Siirrä kaasun säätökytkin alhaisen joutokäynnin asentoon.
Laske lisälaite.
Varmista, että veto on vapaalla.
Kytke seisontajarru.
Sammuta moottori ja irrota virta-avain.
Odota, kunnes kaikki liikkuvat osat ovat pysähtyneet.
Anna koneen osien jäähtyä ennen huoltoa.
Jos mahdollista, älä huolla konetta moottorin ollessa käynnissä. Pysy etäällä liikkuvista osista.
Tue kone tai sen osat tarvittaessa pukkien avulla.
Vapauta paine huolellisesti osista, joihin on varastoitunut energiaa.
| Huoltoväli | Huoltotoimenpide |
|---|---|
| 8 ensimmäisen käyttötunnin jälkeen |
|
| Aina ennen käyttöä tai päivittäin |
|
| Jokaisen käytön jälkeen |
|
| 25 käyttötunnin välein |
|
| 100 käyttötunnin välein |
|
| 200 käyttötunnin välein |
|
| 500 käyttötunnin välein |
|
| 800 käyttötunnin välein |
|
| 1000 käyttötunnin välein |
|
| 1500 käyttötunnin välein |
|
| 2000 käyttötunnin välein |
|
Note: Koneen vasen ja oikea puoli määritellään normaalista käyttöasennosta käsin.
Jos jätät avaimen virtalukkoon, joku voi vahingossa käynnistää moottorin ja vahingoittaa vakavasti lähellä olijoita.
Irrota avain virtalukosta ennen huollon aloitusta.
Important: Tämän koneen suojusten kiinnikkeiden on tarkoitus pysyä kiinni suojuksessa sen irrotuksen jälkeen. Löysää kunkin suojuksen kaikkia kiinnikkeitä muutama kierros niin, että suojus on löysällä mutta kuitenkin yhä paikallaan. Löysää sitten kiinnikkeitä lisää, kunnes suojus irtoaa. Näin vältetään pulttien irtoaminen vahingossa pidikkeistä.
Koneessa on rasvanippoja, jotka on voideltava säännöllisesti litiumpohjaisella rasvalla nro 2 sadan käyttötunnin välein.
Voitele seuraavat laakerit ja holkit:
Etupyörän laakeri (1) (Kuva 19).

Ajopolkimen tappi (1) (Kuva 20)

Takakoukku (5) (Kuva 21)

Ohjaussylinterin tangon pää (1) – vain malli 08705 (Kuva 22)

Ohjauslaakeri (Kuva 23)
Note: Ohjauslaakerin tasonipan (Kuva 23) rasvaamiseen tarvitaan voitelupistoolin adapteri. Tilaa valtuutetulta Toro-jälleenmyyjältä (Toro-osanro 107-1998).

| Huoltoväli | Huoltotoimenpide |
|---|---|
| 100 käyttötunnin välein |
|
Pyyhi rasvanippa puhtaaksi, ettei epäpuhtauksia pääse laakeriin tai holkkiin.
Pumppaa laakeriin tai holkkiin rasvaa.
Pyyhi pois ylimääräinen rasva.
Moottori on sammutettava ennen öljyn tarkistusta tai lisäystä kampikammioon.
Älä muuta kierrosnopeussäätimen nopeutta tai käytä moottoria ylikierroksilla.
Käytä seuraavien määritysten mukaista korkealaatuista moottoriöljyä:
API-luokitus: SL tai korkeampi
Öljyn viskositeetti: SAE 30 (yli 4 °C)
| Huoltoväli | Huoltotoimenpide |
|---|---|
| Aina ennen käyttöä tai päivittäin |
|
Moottori toimitetaan kampikammio öljyllä täytettynä. Öljymäärä on kuitenkin tarkistettava ennen moottorin ensimmäistä käynnistystä ja sen jälkeen.
Pysäköi kone tasaiselle alustalle, sammuta moottori, kytke seisontajarru ja irrota virta-avain.
Käännä istuinta eteenpäin.
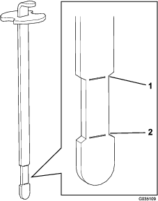
Vedä mittatikku (Kuva 24) esiin ja pyyhi se puhtaalla liinalla.

Asenna mittatikku putkeen ja varmista, että se asettuu kokonaan paikalleen. Irrota mittatikku putkesta ja tarkista öljymäärä. Jos öljyä on vähän, irrota täyttökorkki venttiilikopasta ja lisää määritettyä öljyä sen verran, että öljyn pinta nousee mittatikun Full-merkin tasalle.
Important: Pidä öljyn määrä mittatikun ylä- ja alamerkin välissä. Jos moottoriöljyä täytetään liikaa tai liian vähän, moottori saattaa vaurioitua sen käytön aikana.
Asenna mittatikku tukevasti paikalleen.
Important: Mittatikun on oltava täysin paikallaan putkessa, jotta moottorin kampikammion tiivistys on riittävä. Jos kampikammion tiivistys on huono, seurauksena voi olla moottorivaurio.
Käännä istuin alas.
| Huoltoväli | Huoltotoimenpide |
|---|---|
| 100 käyttötunnin välein |
|
Kampikammion öljytilavuus: noin 1,66 l suodattimen kanssa.
Pysäköi kone tasaiselle alustalle, sammuta moottori, kytke seisontajarru ja irrota virta-avain.
Irrota tyhjennystulppa (Kuva 25) ja anna öljyn valua tyhjennysastiaan. Kun öljyä ei enää valu, asenna tyhjennystulppa takaisin.

Irrota öljynsuodatin (Kuva 25).
Levitä ohut kerros puhdasta öljyä uuden suodattimen tiivisteeseen.
Kierrä suodatinta käsin paikalleen, kunnes tiiviste koskettaa suodattimen istukkaa. Kiristä sitten vielä 0,5–0,75 kierrosta.
Important: Älä kiristä suodatinta liikaa.
Lisää määrityksen mukaista öljyä kampikammioon. Katso kohta Moottoriöljyn määrän tarkistus.
Hävitä käytetty öljy asianmukaisesti.
| Huoltoväli | Huoltotoimenpide |
|---|---|
| 200 käyttötunnin välein |
|
Tarkista, ettei ilmanpuhdistimen rungossa ole vaurioita, jotka voivat aiheuttaa ilmavuodon. Vaihda vaurioituneet osat. Tarkista, että ilmanottojärjestelmässä ei ole vuotoja, vaurioita tai löysiä letkunkiristimiä.
Älä vaihda ilmansuodatinta tarpeettomasti. Se kasvattaa mahdollisuutta, että moottoriin pääsee likaa suodattimen irrotuksen yhteydessä.
Tarkista, että suojus on asetettu oikein ja että se on tiiviisti ilmanpuhdistimen rungon ympärillä.
| Huoltoväli | Huoltotoimenpide |
|---|---|
| 200 käyttötunnin välein |
|
Vapauta lukitsimet, joilla ilmanpuhdistimen suojus on kiinni ilmanpuhdistimen rungossa (Kuva 26).

Irrota ilmanpuhdistimen rungon suojus.
Ennen kuin irrotat suodattimen, poista pääsuodattimen ja kotelon väliin kertynyt lika matalapaineisella (2,76 bar, puhdas ja kuiva) ilmalla.
Important: Älä käytä korkeapaineista ilmaa, sillä se voi työntää lian suodattimen läpi ilmanottokanavaan. Puhdistaminen estää lian joutumisen ilmanottoon pääsuodattimen irrottamisen yhteydessä.
Irrota ja vaihda suodatin.
Note: Tarkista, että uudessa suodattimessa ei ole kuljetusvaurioita tarkastamalla suodattimen tiivistetty pää ja runko. Älä käytä viallista elementtiä. Työnnä uusi suodatin paikoilleen puristamalla samalla elementin ulkokehää, jotta se asettuu koteloon. Älä paina suodattimen joustavaa keskikohtaa.
Note: Älä puhdista käytettyä elementtiä, sillä elementin materiaali saattaa vaurioitua.
Puhdista irrotettavassa suojuksessa oleva lianpoistoaukko.
Irrota kuminen poistoventtiili suojuksesta, puhdista ontelo ja asenna poistoventtiili takaisin.
Asenna suojus siten, että kuminen poistoventtiili osoittaa alaspäin, eli noin kello viiden ja kello seitsemän välille päästä katsottuna.
Kiinnitä lukitsimet.
| Huoltoväli | Huoltotoimenpide |
|---|---|
| 100 käyttötunnin välein |
|
Tyyppi: Champion RC14YC (tai vastaava)
Kärkiväli: 0,76 mm
Note: Sytytystulpat kestävät yleensä pitkään, mutta ne on irrotettava ja tarkistettava, jos moottorissa on toimintahäiriöitä.
Puhdista kunkin sytytystulpan ympäristö, jotta sylinteriin ei pääse epäpuhtauksia, kun tulppa irrotetaan.
Vedä johdot irti sytytystulpista ja irrota tulpat sylinterin kannesta.
Tarkista, että sivu- ja keskielektrodit sekä eriste eivät ole vahingoittuneet.
Important: Vaihda säröinen, likainen tai muuten viallinen sytytystulppa. Älä hiekkapuhalla, raaputa tai puhdista elektrodeja teräsharjalla, sillä tulpasta saattaa myöhemmin irrota hiukkasia sylinteriin, mikä vahingoittaa moottoria.
Aseta keski- ja sivuelektrodien kärkiväliksi 0,76 mm (katso Kuva 27). Asenna oikealla kärkivälillä varustettu sytytystulppa tiivisteineen ja kiristä tulppa momenttiin 23 N·m. Jos käytössä ei ole momenttiavainta, kiristä tulppa tiukasti.

| Huoltoväli | Huoltotoimenpide |
|---|---|
| 500 käyttötunnin välein |
|
Polttoaineletkussa on rivisuodatin. Toimi seuraavasti, kun suodatin on vaihdettava:
Sulje polttoaineen sulkuventtiili, löysää kaasuttimen puolella olevaa suodattimen letkuliitintä ja irrota polttoaineputki suodattimesta (Kuva 28).

Aseta tyhjennysastia suodattimen alle, löysää jäljellä olevaa letkunkiristintä ja irrota suodatin.
Asenna uusi suodatin siten, että suodattimessa oleva nuoli osoittaa pois polttoainesäiliöstä (kaasuttimeen päin).
Työnnä letkunkiristimet polttoaineletkujen päihin.
Työnnä polttoaineletkut polttoainesuodattimeen ja kiinnitä ne letkukiristimillä.
Note: Tarkista, että suodattimen sivulla oleva nuoli osoittaa kaasuttimeen päin.
| Huoltoväli | Huoltotoimenpide |
|---|---|
| 500 käyttötunnin välein |
|
Nosta oikea takarengas maasta ja tue kone pukeilla.
Irrota neljä pyöränmutteria, joilla pyörä on kiinnitetty napaan, ja irrota pyörä ja rengas (Kuva 29).

Irrota neljä laippakantaruuvia (¼ × ⅝ tuumaa), joilla pyörän suojapeite on kiinnitetty koneen runkoon (Kuva 30).

Kurota konsolin alemman, sisäpuolisen reunan ympäri ja vedä hiilisäiliön suodatinta taaksepäin ja ulos hiilisäiliön päässä olevasta letkusta (Kuva 31).

Aseta uusi hiilisäiliön suodatin hiilisäiliön päässä olevaan letkuun (Kuva 31).
Kohdista pyörän suojapeitteen reiät koneen runkoon (Kuva 30) ja kiinnitä suojapeite runkoon neljällä laippakantaruuvilla (¼ × ⅝ tuumaa), jotka irrotettiin vaiheessa 3.
Kiinnitä rengas ja pyörä pyörännavan tappeihin (Kuva 29) neljällä pyöränmutterilla, jotka irrotettiin vaiheessa2, ja kiristä mutterit käsin.
Poista pukki ja laske kone maahan.
Kiristä pyöränmutterit. Katso kohta Pyöränmuttereiden kiristäminen.
Irrota akun kytkennät ennen kuin korjaat konetta. Irrota kaapeli ensin miinusnavasta ja vasta sitten plusnavasta. Kytke ensin plusnavan akkukenkä ja vasta sitten miinusnavan akkukenkä.
Lataa akku avoimessa tilassa, jossa on hyvä ilmanvaihto, kaukana kipinöistä ja avotulesta. Irrota laturin virtajohto ennen kuin kytket laturin akkuun tai irrotat sen akusta. Käytä suojavaatetusta ja eristettyjä työkaluja.
Jos kone on käynnistettävä kaapeleilla, vaihtoehtoista plusnapaa (käynnistyssolenoidissa) voidaan käyttää akun plusnavan sijaan (Kuva 32).

Sulakerasia (Kuva 33) sijaitsee istuimen alla.

| Huoltoväli | Huoltotoimenpide |
|---|---|
| 25 käyttötunnin välein |
|
Pidä akkunesteen määrä oikeana ja akun yläosa puhtaana. Jos kone varastoidaan erityisen lämpimään paikkaan, akku tyhjenee nopeammin kuin viileässä.
Pidä akun yläosa puhtaana pesemällä se ajoittain ammoniakkiin tai ruokasoodaliuokseen kastetulla harjalla. Huuhtele yläosan pinta vedellä puhdistuksen jälkeen. Älä irrota täyttöaukon korkkia puhdistuksen ajaksi.
Akun kaapeleiden on oltava tiukasti kiinni akun navoissa, jotta sähkökytkentä toimii hyvin.
Jos akun navat ruostuvat, irrota kaapelit – miinuskaapeli (–) ensin – ja raaputa liittimiä ja napoja erikseen. Kytke kaapelit – pluskaapeli (+) ensin – ja levitä napojen päälle vaseliinia.
Tarkista akkunesteen määrä 25 käyttötunnin välein tai koneen ollessa varastoituna 30 päivän välein.
Pidä akkunesteen pinta kennojen tasolla tislatulla vedellä tai vedellä, josta on poistettu suolat. Älä täytä kennoja täyttöviivan yli.
| Huoltoväli | Huoltotoimenpide |
|---|---|
| Aina ennen käyttöä tai päivittäin |
|
Tarkista rengaspaine ennen koneen käyttöä (Kuva 34). Etu- ja takapyörien oikeat rengaspaineet ovat seuraavanlaiset:
Kuviorenkaat: 0,7 bar
Note: Jos terien käyttöön tarvitaan lisäkitkaa, vähennä paine 0,55 bariin.
Sileät renkaat: 0,55–0,7 bar

| Huoltoväli | Huoltotoimenpide |
|---|---|
| 8 ensimmäisen käyttötunnin jälkeen |
|
| 100 käyttötunnin välein |
|
Kiristä pyöränmutterit momenttiin 95–122 N·m.
Jos kone liikkuu, kun ajopoljin on vapaalla, vetonokka kaipaa säätöä.
Pysäköi kone tasaiselle alustalle, sammuta moottori, kytke seisontajarru ja irrota virta-avain.
Löysää kaksi ruuvia, jotka kiinnittävät keskimmäisen suojapeitteen koneeseen ja irrota suojapeite (Kuva 35).

Nosta etupyörä ja toinen takapyöristä irti maasta ja aseta rungon alle tukipölkyt.
Etupyörä ja toinen takapyöristä on nostettava irti maasta, ettei kone pääse liikkumaan säädön aikana. Tämä saattaa aiheuttaa koneen kaatumisen ja vahingoittaa sen alla olevaa henkilöä.
Varmista, että kone on tuettu riittävästi, niin että etupyörä ja yksi takapyörä on kohotettu maasta.
Löysää vedon säätönokan lukkomutteria (Kuva 36).

Moottorin on oltava käynnissä vedon säätönokan lopullista säätöä varten. Kosketus liikkuviin osiin tai kuumiin pintoihin voi aiheuttaa tapaturman.
Pidä kädet, jalat, kasvot ja muut ruumiinosat etäällä pyörivistä osista, äänenvaimentimesta ja muista kuumista osista.
Käynnistä moottori ja kierrä nokan päätä (Kuva 36) kumpaankin suuntaan, jotta löydät vapaa-alueen keskikohdan.
Lukitse säätö kiristämällä lukkomutteri.
Sammuta moottori.
Asenna keskimmäinen suojapeite.
Poista tunkit ja laske kone maahan.
Koeaja kone ja varmista, ettei se kulje, kun ajopoljin on vapaalla.
Säädä vaihteiston vapaa-asento (katso Vetopyörän säätö vapaalle).
Käytä pumpun vipua ja varmista, että kaikki osat toimivat vapaasti ja ovat kunnolla paikoillaan.
Säädä ruuvia, kunnes kärkiväli on 0,8–2,3 mm (katso Kuva 36).
Tarkista toiminta.
Ajopoljin on säädetty tehtaalla enimmäiskuljetusnopeudelle ja peruutukselle, mutta säätö voi olla tarpeen, jos poljin saavuttaa täyden iskunpituuden ennen kuin pumpun vipu saavuttaa täyden iskunpituuden tai jos kuljetusnopeutta halutaan vähentää.
Enimmäiskuljetusnopeus saavutetaan painamalla ajopoljin alas. Jos poljin koskettaa pysäytintä (Kuva 37) ennen kuin pumpun vipu saavuttaa täyden iskunpituuden, säädä sitä:

Pysäköi kone tasaiselle alustalle, sammuta moottori, kytke seisontajarru ja irrota virta-avain.
Löysää mutteri, joka pitää polkimen pysäyttimen paikallaan.
Kiristä polkimen pysäytintä, kunnes se ei kosketa ajopolkimeen.
Paina ajopoljinta edelleen kevyesti ja säädä polkimen pysäytintä siten, että se koskettaa juuri ja juuri polkimen tankoon tai kun polkimen tangon ja pysäyttimen välissä on 2,5 mm:n rako.
Kiristä mutterit.
Pysäköi kone tasaiselle alustalle, sammuta moottori, kytke seisontajarru ja irrota virta-avain.
Löysää mutteri, joka pitää polkimen pysäyttimen paikallaan.
Kierrä polkimen pysäytintä ulos, kunnes haluttu kuljetusnopeus on saavutettu.
Kiristä mutteri, joka pitää polkimen pysäyttimen paikallaan.
Säädä nostovivun pidätinlevyä (Kuva 39), jos lisälaite ei kellu oikein (seuraa maan muotoja) käytön aikana.
Pysäköi kone tasaiselle alustalle, sammuta moottori, kytke seisontajarru ja kiilaa pyörät.
Irrota neljä ruuvia, joilla ohjauspaneeli on kiinni rungossa (Kuva 38).

Löysää kaksi pulttia, joilla pidätinlevy on kiinni lokasuojassa ja rungossa.

Moottorin on oltava käynnissä pidätinlevyn säätöä varten. Kosketus liikkuviin osiin tai kuumiin pintoihin voi aiheuttaa tapaturman.
Pidä kädet, jalat, kasvot ja muut ruumiinosat etäällä pyörivistä osista, äänenvaimentimesta ja muista kuumista osista.
Käynnistä moottori.
Kun moottori on käynnissä ja nostovipu KELLUNTA-asennossa, liu’uta pidätinlevyä, kunnes nostosylinteriä voidaan ojentaa ja vetää käsin.
Lukitse säätö kiristämällä molemmat asennusruuvit.
Kaasu toimii oikein vain, jos kaasuvipu on oikein säädetty. Ennen kuin säädät kaasutinta, varmista, että kaasuvipu toimii asianmukaisesti.
Käännä istuin ylös.
Löysää kaasuvaijerin pidätinruuvia, joka kiinnittää vaijerin moottoriin (Kuva 40).

Siirrä kaasuvipu eteenpäin NOPEA-asentoon.
Vedä tiukasti kaasuvaijeria, kunnes kiertolaakerin takaosa ottaa kiinni pysäyttimeen (Kuva 40).
Kiristä vaijerin pidätinruuvi ja tarkista moottorin nopeus:
Korkea joutokäyntinopeus: 3 350 – 3 450 kierr./min
Alhainen joutokäyntinopeus: 1 650 – 1 850 kierr./min
Important: Varmista ennen moottorin kierrosnopeuden säätimen säätöä, että kaasuvipu ja rikastimen vipu on säädetty asianmukaisesti.
Moottorin pitää olla käynnissä moottorin kierrosnopeuden säätimen säädön aikana. Kosketus liikkuviin osiin tai kuumiin pintoihin voi aiheuttaa tapaturman.
Varmista, että ajopoljin on vapaalla ja seisontajarru kytkettynä ennen tämän toimenpiteen aloittamista.
Pidä vaatteet, kädet, jalat ja muut ruumiinosat etäällä pyörivistä osista, äänenvaimentimesta ja muista kuumista osista.
Note: Alhainen joutokäyntinopeus säädetään tekemällä kaikki seuraavat vaiheet. Jos halutaan säätää vain korkein joutokäyntinopeus, säätäminen aloitetaan vaiheesta 5.
Käynnistä moottori ja anna sen lämmetä puolella kaasulla noin viiden minuutin ajan.
Siirrä kaasuvipu HIDAS-asentoon. Säädä joutokäynnin sulkuruuvia vastapäivään, kunnes se ei enää kosketa kaasuvipua.
Taivuta joutokäynnin kiinnitysjousen kieltä (Kuva 41), kunnes joutokäyntinopeus on 1 675 – 1 175 kierr./min.
Note: Varmista nopeus kierrosnopeusmittarilla.

Säädä joutokäynnin sulkuruuvia, kunnes joutokäynti ylittää vaiheessa 3 asetetun joutokäyntinopeuden 25–50 kierroksella minuutissa.
Note: Lopullisen joutokäyntinopeuden on oltava 1 650 – 1 850 kierr./min.
Siirrä kaasuvipu NOPEA-asentoon.
Taivuta enimmäisnopeuden kiinnitysjousen kieltä (Kuva 41), kunnes enimmäiskäyntinopeus on 3 350 – 3 450 kierr./min.
Jos nestettä pääsee ihon alle, hakeudu välittömästi lääkäriin. Lääkärin on poistettava neste kirurgisesti muutaman tunnin sisällä.
Varmista, että kaikki hydrauliletkut ja -putket ovat hyvässä kunnossa ja että kaikki hydrauliliitokset ja -liittimet ovat tiukalla, ennen kuin lisäät hydraulijärjestelmän painetta.
Pidä keho ja kädet kaukana vuotavista rei’istä ja suuttimista, joista suihkuaa korkeapaineista hydraulinestettä.
Etsi hydraulinestevuotoja pahvin tai paperin avulla.
Poista paine varovasti hydraulijärjestelmästä, ennen kuin huollat järjestelmää.
| Huoltoväli | Huoltotoimenpide |
|---|---|
| Aina ennen käyttöä tai päivittäin |
|
Tarkista päivittäin, ettei hydrauliletkuissa ja -putkissa ole vuotoja, kulumia, säävahinkoja tai kemiallisia vaurioita ja etteivät letkut ole kiertyneet eivätkä kiinnitykset tai liitännät löystyneet. Suorita kaikki tarvittavat korjaukset ennen koneen käyttöä.
Säiliö on täytetty tehtaalla korkealaatuisella hydraulinesteellä. Tarkista hydraulinesteen taso ennen moottorin ensimmäistä käynnistystä ja sen jälkeen päivittäin. Katso kohta Hydraulinesteen määrän tarkistus.
Suositettu hydraulineste: Toro PX Extended Life Hydraulic Fluid, saatavana 19 litran astioissa tai 208 litran tynnyreissä.
Note: Kun koneessa käytetään suosituksen mukaista nestettä, nesteen ja suodattimien vaihtovälit pitenevät.
Vaihtoehtoiset hydraulinesteet: Jos Toro PX Extended Life Hydraulic Fluid -nestettä ei ole saatavana, voidaan käyttää muita tavallisia öljypohjaisia hydraulinesteitä, jotka täyttävät kaikki jäljempänä luetellut vaatimukset (ominaisuudet ja standardit). Älä käytä synteettistä nestettä. Pyydä voiteluaineiden jälleenmyyjältä neuvoja sopivan tuotteen valitsemiseen.
Note: Toro ei vastaa vääränlaisten nesteiden käytöstä aiheutuneista vaurioista, joten käytä vain sellaisten tunnettujen valmistajien tuotteita, joiden luokituksiin voi luottaa.
| Ominaisuudet: | ||
| Viskositeetti, ASTM D445 | cSt / 40 °C 44–48 | |
| Viskositeetti-indeksi, ASTM D2270 | 140 tai korkeampi | |
| Jähmepiste, ASTM D97 | –37 °C...–45 °C | |
| Standardit: | Eaton Vickers 694 (I-286-S, M-2950-S/35VQ25 tai M-2952-S) | |
Note: Monet hydraulinesteet ovat lähes värittömiä, mikä vaikeuttaa vuotojen toteamista. Hydraulinesteelle tarkoitettua punaista värilisäainetta on saatavana 20 ml:n pulloissa. Yksi pullo riittää 15–22 litralle hydraulinestettä. Tilaa valtuutetulta Toro-jälleenmyyjältäsi (osanro 44-2500).
Important: Toro Premium Synthetic Biodegradable Hydraulic Fluid on ainoa Toron hyväksymä luonnossa hajoava synteettinen neste. Neste on yhteensopiva Toro-hydraulijärjestelmissä käytettyjen elastomeerien kanssa, ja sitä voidaan käyttää useissa lämpötiloissa. Neste on yhteensopiva perinteisten mineraaliöljyjen kanssa, mutta paras mahdollinen luonnossa hajoavuus ja suorituskyky saavutetaan huuhtelemalla perinteinen neste perusteellisesti pois hydraulijärjestelmästä. Öljyä on saatavana 19 litran astioissa tai 208 litran tynnyreissä valtuutetulta Toro-jälleenmyyjältä.
| Huoltoväli | Huoltotoimenpide |
|---|---|
| Aina ennen käyttöä tai päivittäin |
|
Säiliö on täytetty tehtaalla suositellulla hydraulinesteellä. Hydraulineste on parasta tarkistaa, kun se on viileää.
Nosta kaikki hydrauliset lisälaitteet kokonaan Kuljetus-asentoon.
Pysäköi kone tasaiselle alustalle, sammuta moottori, kytke seisontajarru ja irrota virta-avain.
Puhdista hydraulisäiliön korkkia ympäröivä alue, jotta säiliöön ei pääse likaa (Kuva 42).

Irrota korkki säiliöstä.
Vedä mittatikku ulos täyttökaulasta ja pyyhi tikku puhtaalla liinalla.
Työnnä mittatikku täyttökaulaan, vedä se taas ulos ja tarkista nesteen pinta (Kuva 43).
Kun säiliö on täytetty oikein hydraulinesteellä, nesteen pinta näkyy mittatikun ylemmän ja alemman merkin (lovettu alue) välissä.
Important: Jos nesteen taso on mittatikun ylemmän ja alemman merkin välissä, nestettä ei tarvitse lisätä.

Jos nestettä on liian vähän, lisää säiliöön hitaasti määritettyä hydraulinestettä, kunnes nesteen pinta on mittatikun lovetun alueen tasalla.
Important: Jotta järjestelmä ei likaantuisi, puhdista hydraulinesteastioiden pinta ennen niiden avaamista. Tarkista, että kaatonokka ja suppilo ovat puhtaat.
Important: Älä ylitäytä säiliötä hydraulinesteellä.
Laita säiliön korkki paikalleen.
| Huoltoväli | Huoltotoimenpide |
|---|---|
| 800 käyttötunnin välein |
|
| 1000 käyttötunnin välein |
|
Pysäköi kone tasaiselle alustalle, sammuta moottori, kytke seisontajarru ja irrota virta-avain.
Löysää kaksi ruuvia, jotka kiinnittävät keskimmäisen suojapeitteen koneeseen ja irrota suojapeite (Kuva 44).

Voitele vaihtosuodattimen tiivisterengas puhtaalla hydraulinesteellä.
Aseta tyhjennysastia koneen vasemmalla puolella sijaitsevan hydraulisuodattimen alle (Kuva 45).

Puhdista suodattimen kiinnitysalueen ympäristö.
Note: Pidä uusi suodatin käden ulottuvilla ennen vanhan suodattimen irrottamista.
Irrota hydraulisuodatin suodatinpäästä.
Asenna uusi hydraulisuodatin (Kuva 45) kääntämällä sitä käsin paikalleen, kunnes tiiviste koskettaa suodatinpäätä, ja kiristä suodatinta sitten vielä 0,75 kierrosta.
Tarkista hydraulinesteen määrä ja lisää määritettyä hydraulinestettä tarvittaessa. Katso kohta Hydraulinesteen määrän tarkistus.
Asenna keskimmäinen suojapeite.
| Huoltoväli | Huoltotoimenpide |
|---|---|
| 800 käyttötunnin välein |
|
| 2000 käyttötunnin välein |
|
Säiliön tilavuus: 18,9 litraa
Käytä aina aitoa Toro-suodatinta. Lisätietoja on koneen osaluettelossa.
Irrota korkki hydraulisäiliöstä (Kuva 46).

Pumppaa hydraulineste hydraulisäiliöstä (Kuva 46).
Lisää hydraulisäiliöön määritettyä hydraulinestettä, kunnes sitä on mittatikun lovettuun alueeseen asti. Katso kohta Hydraulinesteen määrän tarkistus.
Important: Älä lisää hydraulinestettä säiliöön liikaa.
Käynnistä ja moottori ja anna sen käydä. Käytä nostosylinteriä, kunnes se alkaa toimia ja kone liikkuu eteen- ja taaksepäin.
Sammuta moottori ja tarkista säiliön hydraulinestetaso. Lisää nestettä tarvittaessa.
Tarkista vuodot.
Korjaa kaikki hydraulivuotokohdat.
Asenna keskimmäinen suojapeite.
Aina kun jokin hydraulijärjestelmän osa korjataan tai vaihdetaan, hydraulisuodatin on vaihdettava ja hydraulijärjestelmä ladattava.
Varmista, että hydraulisäiliössä ja suodattimessa on nestettä aina, kun hydraulijärjestelmää ladataan.
Pysäköi kone tasaiselle alustalle, sammuta moottori, kytke seisontajarru ja irrota virta-avain.
Löysää kaksi ruuvia, jotka kiinnittävät keskimmäisen suojapeitteen koneeseen ja irrota suojapeite (Kuva 47).

Nosta etupyörä ja toinen takapyöristä irti maasta ja aseta rungon alle tukipölkyt.
Etupyörä ja toinen takapyöristä on nostettava irti maasta, ettei kone pääse liikkumaan säädön aikana. Tämä saattaa aiheuttaa koneen kaatumisen ja vahingoittaa sen alla olevaa henkilöä.
Varmista, että kone on tuettu riittävästi, niin että etupyörä ja yksi takapyörä on kohotettu maasta.
Käynnistä moottori ja säädä kaasu niin, että moottorin pyörintänopeus on noin 1 800 kierrosta minuutissa.
Käytä nostoventtiilin vipua, kunnes nostosylinterin tanko liikkuu sisään ja ulos useita kertoja. Jos sylinterin tanko ei liiku 10–15 sekunnin jälkeen tai jos pumpusta kuuluu epätavallisia ääniä, sammuta moottori välittömästi ja määritä ongelman syy. Tarkasta seuraavat:
Löysä suodatin tai imuputki
Pumpussa löysä tai viallinen liitin
Tukkeutunut imuputki
Viallinen latauksen rajoitusventtiili
Viallinen latauspumppu
Jos sylinteri liikkuu 10–15 sekunnin kuluessa, siirry vaiheeseen 6.
Käytä ajopoljinta eteenpäin ja taaksepäin. Maasta irrallaan olevien pyörien pitäisi pyöriä oikeaan suuntaan.
Jos pyörät pyörivät väärään suuntaan, sammuta moottori, irrota letkut pumpun takaosasta ja vaihda niiden paikkaa.
Jos pyörät pyörivät oikeaan suuntaan, sammuta moottori ja säädä jousen säätötapin lukkomutteria (Kuva 48). Säädä vedon vapaa-asento (katso Vetopyörän säätö vapaalle).

Tarkista ajon turvakytkimen säätö (katso Ajon turvakytkimen säätö).
Asenna keskimmäinen suojapeite.
| Huoltoväli | Huoltotoimenpide |
|---|---|
| Jokaisen käytön jälkeen |
|
Pese kone huolellisesti vain puutarhaletkun avulla (ilman suutinta), jotta liiallinen vedenpaine ei aiheuta veden pääsyä laitteen osien sisälle tai vaurioita tiivisteitä tai laakereita.
Varmista, ettei jäähdytysrivoissa ja jäähdytysilmanoton ympärillä ole likaa tai roskia.
Important: Öljynjäähdyttimen puhdistaminen vedellä edistää ruostumista ja osien vaurioitumista sekä pakkaa roskia järjestelmään (katso Öljynjäähdyttimen puhdistus).
Tarkasta kone mahdollisten hydraulinestevuotojen ja hydrauliosien tai mekaanisten osien vaurioiden tai kulumien varalta.
Puhdista laite, lisälaitteet ja moottori huolellisesti.
Pysäköi kone tasaiselle alustalle, kytke seisontajarru, sammuta moottori, irrota virta-avain ja odota, että kaikki liikkuvat osat ovat pysähtyneet, ennen kuin poistut koneen luota.
Tarkista rengaspaine. Katso kohta Rengaspaineen tarkistus.
Tarkista, etteivät kiinnikkeet ole löysällä, ja kiristä tarvittaessa.
Rasvaa tai öljyä kaikki rasvanipat ja nivelet. Katso kohta Koneen voitelu.
Hio varovasti ja maalaa korjausmaalilla maalipinnat, jotka ovat naarmuuntuneet, lohkeilleet tai ruostuneet.
Vaihda moottoriöljy ja suodatin. Katso kohta Moottoriöljyn ja suodattimen vaihto.
Käynnistä moottori ja käytä sitä joutokäynnillä kahden minuutin ajan.
Sammuta moottori, irrota virta-avain ja odota, että kaikki liikkuvat osat ovat pysähtyneet, ennen kuin poistut koneelta.
Puhdista ja huolla ilmanpuhdistinjärjestelmä perusteellisesti. Katso kohta Ilmanpuhdistimen huolto.
Tiivistä ilmanpuhdistimen imuaukko sekä pakoaukko säänkestävällä suojateipillä.
Tarkista öljyntäyttökorkki ja polttoainesäiliön kansi ja varmista, että ne ovat tiukasti paikoillaan.
Irrota akkuliittimet akun navoista.
Puhdista akku, liittimet ja navat teräsharjalla ja ruokasoodaliuoksella.
Voitele kaapeliliittimet ja akun navat Grafo 112X -suojarasvalla (Toro-osa 505-47) ruostumisen ehkäisemiseksi.
Lataa akku hitaasti 60 päivän välein 24 tunnin ajan, jotta akkuun ei muodostu lyijysulfaattia.
Note: Täysin ladatun akun ominaispaino on 1,250.
Note: Varastoi akku viileään tilaan, jotta sen lataus purkautuu mahdollisimman hitaasti. Varmista, että akku on ladattu täyteen, jotta se ei jäädy.