| Vedlikeholdsintervall | Vedlikeholdsprosedyre |
|---|---|
| For hver bruk eller daglig |
|
Maskinen er et kjøretøy som er beregnet for bruk av profesjonelle, innleide operatører i kommersielle applikasjoner. Det er hovedsakelig utformet for å behandle sandbunkere-/fang på godt vedlikeholde golfbaner og kommersielle områder. Hvis du bruker dette produktet til andre formål enn det er beregnet på, kan du utsette deg selv eller andre for fare.
Les denne håndboken nøye, slik at du lærer å bruke og vedlikeholde produktet på riktig måte og unngår person- eller produktskade. Du har ansvar for å bruke produktet på en riktig og sikker måte.
Gå til www.Toro.com for materialer for produktsikkerhet og opplæring i bruk, og informasjon om tilbehør, hjelp til å finne en forhandler eller for å registrere produktet ditt.
Hvis maskinen må repareres eller du trenger originale Toro-deler eller mer informasjon, kan du kontakte et autorisert forhandlerverksted eller Toros kundeserviceavdeling. Ha modell- og serienummer for hånden når du tar kontakt. Figur 1 viser hvor på produktet modell- og serienumrene er plassert. Skriv inn numrene i de tomme feltene.
Important: Skann QR-koden på serienummermerket med en mobil enhet for å få tilgang til garantien, deler og annen produktinformasjon.

Dette sikkerhetsvarselssymbolet (Figur 2) som vises i denne håndboken og på maskinen, identifiserer viktige sikkerhetsmeldinger som du må følge for å unngå ulykker.

Sikkerhetsvarselsymbolet vises over informasjon som varsler deg om farlige handlinger eller situasjoner, og følges av ordene FARE, ADVARSEL eller FORSIKTIG.
FARE indikerer en overhengende faresituasjon som, hvis den ikke unngås, vil resultere i død eller alvorlig personskade.
ADVARSEL indikerer en potensielt farlig situasjon som, hvis den ikke unngås, kan resultere i død eller alvorlig personskade.
FORSIKTIG indikerer en potensielt farlig situasjon som, hvis den ikke unngås, kan føre til mindre eller moderat personskade.
Denne brukerhåndboken bruker i tillegg to ord til for å utheve informasjon. Viktig gjør oppmerksom på spesiell mekanisk informasjon og Obs henviser til generell informasjon som er verdt å huske.
Dette produktet er i samsvar med alle relevante europeiske direktiver. Se eget samsvarserklæringsskjema for produktet for detaljert informasjon.
Det er i strid med Californias Public Resource Code, avsnitt 4442 eller 4443, å bruke denne motoren i skogs-, busk- eller gressområder med mindre motoren er utstyrt med en fungerende gnistfanger, som definert i avsnitt 4442, eller en motor som er beregnet, utstyrt og vedlikeholdt for å unngå brann.
Den vedlagte brukerhåndboken for motoren inneholder informasjon om amerikanske miljømyndigheters (EPA) og Californias utslippskontrollreguleringer for utslippssystemer, vedlikehold og garanti. Du kan bestille nye brukerhåndbøker fra motorprodusenten.
CALIFORNIA
Proposition 65-advarsel
Staten California kjenner til at motoreksosen fra dette produktet inneholder kjemikalier som kan forårsake kreft, fosterskader eller skade forplantningsevnen på andre måter.
Batteriklemmer og -poler og tilknyttet tilbehør inneholder bly og blysammensetninger. Dette er kjemikalier som kan forårsake kreft og forplantningsskader. Vask hendene etter håndtering.
Bruk av dette produktet kan forårsake eksponering for kjemikalier som staten California vet forårsaker kreft, fødselsdefekter eller annen forplantningsskade.
For ekstra trekkraft kan vektsettet (100-6442) legges til på maskinens forside.
Note: Hvis maskinen er utstyrt med frontløft- eller plogtilbehør, vil tilbehøret være i veien slik at vektsettet ikke passer.
Dette produktet kan forårsake personskade. Følg alltid alle sikkerhetsinstruksjoner for å unngå alvorlige skader.
Les og forstå innholdet i denne brukerhåndboken før du starter motoren. Sørg for at alle som bruker dette produktet, vet hvordan de skal bruke det og forstår advarslene.
Vær alltid fokusert på oppgaven når du bruker maskinen. Ikke delta i aktiviteter som forårsaker distraksjoner, da dette kan føre til personskade eller materiell skade.
Hold hender og føtter borte fra roterende deler på maskinen.
Bruk aldri maskinen uten at alle verneplater og andre sikkerhetsanordninger sitter på plass og fungerer.
Hold tilskuere på trygg avstand fra maskinen når den er i bevegelse.
Hold barn borte fra arbeidsområdet. La aldri barn få bruke maskinen.
Stopp maskinen og slå av motoren før du utfører service på eller fyller drivstoff på maskinen.
Feilaktig bruk og vedlikehold av maskinen kan føre til
personskade. For å redusere muligheten for skader må du
følge disse sikkerhetsinstruksjonene og alltid være oppmerksom
på sikkerhetsvarselssymbolet (
) som betyr Forsiktig, Advarsel eller Fare –
personsikkerhetsinstruks. Hvis ikke disse instruksjonene tas hensyn
til, kan dette føre til at noen blir alvorlig skadet eller
drept.
Du finner mer sikkerhetsinformasjon i denne håndboken ved behov.
![]() |
Sikkerhetsmerker og -instruksjoner er lett synlige for føreren og er plassert i nærheten av alle områder som representerer en potensiell fare. Skift ut alle merker som er ødelagte eller mangler. |







Note: Angi hva som er høyre og venstre side på maskinen ved å sitte i normal arbeidsstilling.
Note: Fjern og kast alle transportbraketter og -fester.
Deler som er nødvendige for dette trinnet:
| Ratt | 1 |
| Skumkrage | 1 |
| Skive | 1 |
| Låsemutter | 1 |
| Rattdeksel | 1 |
Flytt forhjulet slik at det peker rett fremover.
Før skumkragen, den minste enden først, på rattstangen (Figur 3).

Før rattet på rattstangen (Figur 3).
Fest rattet på rattstangen med en skive og en låsemutter (Figur 3).
Trekk til låsemutteren med et moment på 27–35 N·m.
Trykk rattdekslet på plass på rattet (Figur 3).
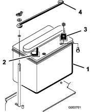
Fjern de to vingemutrene og skivene som fester batteriholderen på toppen til sidebatteriholderne (Figur 4). Fjern batteriholderen på toppen, og fjern batteriet.

Deler som er nødvendige for dette trinnet:
| Elektrolytt med egenvekt på 1.260 (ikke inkludert) | – |
Hvis batteriet ikke er fylt med elektrolytt eller ikke er aktivert, tilsett elektrolytt med 1,260 egenvekt på batteriet.
Note: Du kan kjøpe elektrolytt en gros fra en lokal batteriforhandler.
Elektrolytten i batteriet inneholder svovelsyre, en dødelig gift hvis den inntas, og som også kan forårsake alvorlige brannskader.
Ikke drikk elektrolytt, og unngå kontakt med hud, øyne eller klær. Bruk vernebriller for å beskytte øynene og gummihansker for å beskytte hendene.
Fyll batteriet i nærheten av rent vann som kan brukes til å skylle huden.
Fjern påfyllingslokkene fra batteriet, og fyll forsiktig hver celle med elektrolytt til nivået er like over påfyllingslinjen.
Sett på igjen påfyllingslokkene, og koble en batterilader på 3–4 A til batteripolene. Lad batteriet med 3 til 4 A i 4 til 8 timer.
Når batteriet lades, utvikles det gasser som kan eksplodere.
Røyk aldri i nærheten av batteriet og hold gnister og åpen ild borte fra batteriet.
Når batteriet er oppladet, kobler du laderen fra strømuttaket og batteripolene. La batteriet sitte i 5–10 minutter.
Fjern påfyllingslokkene.
Fyll elektrolytt forsiktig på hver celle til nivået når opp til påfyllingslinjen.
Important: Ikke fyll for mye på batteriet. Elektrolytt kan renne ned i andre deler av maskinen, noe som fører til korrosjon og ødeleggelse.
Sett på påfyllingslokkene.
Deler som er nødvendige for dette trinnet:
| Bolt (1/4 x 5/8 tomme) | 2 |
| Låsemutter (¼ tomme) | 2 |
Sett batteriet på plass, med den negative terminalen plassert mot baksiden av maskinen (Figur 5).

Feilaktig ruting av batterikabler kan skade maskinen og kablene og forårsake gnister. Gnistene kan føre til at batterigassene eksploderer, noe som kan forårsake personskade.
Ta alltid av den negative (svarte) batterikabelen før du kobler fra den positive (røde) kabelen.
Koble alltid til den positive (røde) batterikabelen før du setter på den negative (svarte) kabelen.
Batteripolene eller metallverktøy kan kortslutte mot metallkomponenter og forårsake gnister. Gnistene kan føre til at batterigassene eksploderer, noe som kan forårsake personskade.
Når du fjerner eller monterer batteriet, må du passe på at batteripolene ikke berører metalldeler på maskinen.
La ikke metallverktøy kortslutte mellom batteripolene og metalldeler på maskinen.
Fest den positive kabelen (rød) til den positive polen (+) med en bolt (1/4 x 5/8 tommer) og en låsemutter (Figur 6).

Fest den lille, svarte ledningen og den negative kabelen (svart) ved batteriets negative pol (-) med en bolt (1/4 x 5/8 tomme) og låsemutter (1/4 tomme) (Figur 6).
Smør klemmene og monteringsfestene med vaselin for å forhindre korrosjon.
Skyv gummihetten over den positive polen (+) for å forhindre muligheten for kortslutning.
Installer den øverste batteriholderen mot sidebatteriholderne, og fest den med skiver og vingemutre.
Deler som er nødvendige for dette trinnet:
| Frontvekt(er) etter behov | – |
Denne maskinen har blitt designet i henhold til standardene ANSI B71.4-2017. Når det er montert tilbehør på maskinen, er det imidlertid nødvendig med ekstra vekt for å være i overensstemmelse med standardene.
Bruk diagrammet nedenfor for å bestemme kombinasjon av tilleggsvekt. Bestill deler fra en autorisert Toro-forhandler.
| Tilbehør | Vekt påkrevd | Vektsett | Settkvantitet |
|---|---|---|---|
| Piggersett | 23 kg | Delenr. 100-6442 | 1 |
| Rahn-trimsats |
Note: For maskiner av modell 08705: Ikke monter vektsettet hvis maskinen er utstyrt med frontløfterammesettet.
Monter vektsettet. Se installasjonsinstruksjonene for vektsettet.
Deler som er nødvendige for dette trinnet:
| Produksjonsårmerke | 1 |
Sett produksjonsårsmerket på maskinen i området vist (Figur 7).

Deler som er nødvendige for dette trinnet:
| Varselmerke | 1 |
På maskiner som krever CE-samsvar, fester du CE-varselmerket (delenr. 136-6164) over nedre del av konsollmerket (delenr. 132-4422).

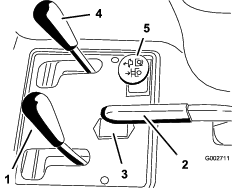
Trekkpedalen (Figur 9) har tre funksjoner: bevege maskinen forover, bakover og stanse maskinen. Bruk hæl og tå på høyre fot til å trykke ned fremre del av pedalen for å kjøre fremover og bakre del av pedalen for å kjøre bakover eller for å hjelpe til med å stoppe under fremoverkjøring (Figur 10). La pedalen bevege seg, eller beveg den til NøYTRAL posisjon for å stoppe maskinen.
Important: Hvil hælen på fotstøtten når du kjører maskinen fremover; ikke hvil hælen på trekkpedalens ryggepute.


Bakkehastigheten er proporsjonal med hvor langt ned du trykker pedalen. Hvis du vil oppnå maksimal bakkehastighet, trykker du pedalen helt ned når gassen er i HURTIG-stillingen. For å oppnå maksimal kraft når du kjører i oppoverbakke, sett gassen i HURTIG-stillingen, mens du trykker pedalen litt ned for å opprettholde høyt turtall. Når motorhastigheten begynner å reduseres, slipp pedalen litt opp for å øke motorhastigheten.
Important: For å oppnå maksimal trekkraft, flytt gassen til HURTIG-stillingen, og trykk trekkpedalen lett ned.
Important: Bruk maksimum kjørehastighet kun når du kjører mellom jobbsteder.Ikke bruk maksimal hastighet når du har et montert eller tauet tilbehør.
Important: Ikke bruk maskinen i revers med tilbehøret i senket stilling (driftsstilling). Dette kan påføre tilbehøret alvorlig skade.
Tenningsbryteren (Figur 11), som brukes til å starte og stoppe motoren, har tre stillinger: AV, KJøR og START. Vri deretter nøkkelen med urviseren til START-stillingen for å starte motoren. Slipp nøkkelen når motoren starter, og la den gå tilbake til På-stillingen. Når du har stanset motoren, vrir du nøkkelen mot urviseren til AV-stillingen.

For å starte en kald motor må du lukke forgasserchoken ved å flytte chokekontrollen (Figur 11) opp til LUKKET-stillingen. Når motoren er startet, regulerer du choken slik at motoren går jevnt. Åpne choken så raskt som mulig ved å flytte den ned til ÅPEN-stillingen. En varm motor trenger lite eller ingen choke.
Gasskontrollspaken (Figur 11)er forbundet til og betjener gasskoblingen til forgasseren. Kontrollen har to stillinger: HURTIG og LANGSOM. Motorhastigheten kan varieres mellom de to innstillingene.
Note: Du kan ikke stoppe motoren ved bruk av gasspaken.
For å heve tilbehøret, trekk løftespaken (Figur 12) tilbake; for å senke tilbehøret skyv spaken fremover. For å gå til FLYTE-stilling beveger du spaken til sperrestillingen. Når ønsket stilling blir nådd, slipp spaken og den går tilbake til nøytral.

Note: Maskinen har en dobbeltvirkende løftesylinder. Du kan påføre nedovertrykk på tilbehøret for visse driftsforhold.
For å aktivere parkeringsbremsen (Figur 12), trekk spaken for parkeringsbremsen bakover. Når du vil koble den fra, skyver du spaken fremover.
Note: Du må kanskje bevege trekkpedalen sakte forover og bakover for å løse parkeringsbremsen.
Timetelleren (Figur 12) viser hvor mange timer motoren har vært i drift. Timemåleren starter når du roterer nøkkelbryteren til På-stilling.
Flytt spaken på venstre side av setet (Figur 13) fremover, skyv setet til ønsket stilling og frigjør spaken slik at setet låses i denne stillingen.

Lukk drivstoffavstengingsventilen (Figur 14) under lagring eller transport av maskinen på tilhenger.

Note: Spesifikasjoner og konstruksjon kan forandres uten varsel.
| Bredde uten tilbehør | 148 cm |
| Bredde med rake, modell 08751 | 191 cm |
| Lengde uten tilbehør | 164 cm |
| Høyde | 115 cm |
| Akselavstand | 109 cm (42-3/4 tommer) |
| Nettovekt | |
| Modell 08703 | 452 kg |
| Modell 08705 | 461 kg |
Et utvalg av Toro-godkjent tilbehør som kan brukes sammen med maskinen for å forbedre og utvide dens funksjoner er tilgjengelig. Ta kontakt med en autorisert serviceforhandler eller autorisert Toro-forhandler, eller gå til www.Toro.com for å få en liste over godkjent tilbehør og utstyr.
For å oppnå optimal ytelse og holde maskinen i sikkerhetsgodkjent stand, bruker du bare ekte Toro-reservedeler og -tilbehør. Reservedeler og tilbehør som er laget av andre produsenter kan være farlige, og de kan derfor føre til at garantien blir ugyldig.
Parker maskinen på en jevn flate, aktiver parkeringsbremsen, slå av motoren, ta ut nøkkelen, og vent til alle bevegelige deler har stanset, før du forlater maskinen.
Ikke la barn eller personer som ikke er opplært, kjøre eller utføre vedlikehold på maskinen. Det kan hende at lokale forskrifter setter en aldersgrense for bruk. Eieren er ansvarlig for opplæring av alle operatører og mekanikere.
Gjør deg kjent med sikker bruk av utstyret, driftskontrollene og sikkerhetssymbolene.
Lær deg å stanse maskinen og motoren raskt.
Kontroller at brukerens kontroller, sikkerhetsbryterne og verneplatene er montert og virker riktig. Ikke bruk maskinen dersom disse ikke fungerer som de skal.
Før du bruker maskinen, må du alltid undersøke den for å sikre at komponentene og festene er i god stand. Skift ut slitte og skadede komponenter og fester.
Undersøk området der du skal bruke maskinen, og fjern alle gjenstander som kan slynges ut av maskinen.
Vær svært forsiktig når du håndterer drivstoff. Det er brannfarlig, og dampen er eksplosiv.
Slukk alle sigaretter, sigarer, piper og andre tennkilder.
Bruk kun en godkjent drivstoffkanne.
Ta aldri lokket av drivstofftanken eller fyll på drivstofftanken mens motoren går eller er varm.
Ikke fyll eller tøm drivstofftanken i et innelukket rom.
Oppbevar aldri maskinen eller bensinkannen i nærheten av åpen ild, gnister eller kontrollampe, som på en varmtvannstank eller andre apparater.
Hvis du søler drivstoff, må du ikke prøve å starte motoren. Unngå alt som kan antennes, til all drivstoffdamp er forsvunnet.
Drivstofftankkapasitet: 25 liter
Anbefalt drivstoff:
For å få best resultat anbefales det å bruke kun ren, fersk (mindre enn 30 dager gammel) og blyfri bensin med oktankvalitet på 87 eller høyere (vurderingsmetode (R+M)/2)).
Etanol: Bensin med opptil 10 % etanol (alkoholbensin) eller 15 % MTBE (metyltertiærbutyleter) i volum er akseptabelt. Etanol og MTBE er ikke det samme. Bensin med 15 % etanol (E15) i volum er ikke godkjent for bruk. Ikke bruk bensin som inneholder mer enn 10 % etanol i volum, som f.eks. E15 (inneholder 15 % etanol), E20 (inneholder 20 % etanol) eller E85 (inneholder opptil 85 % etanol). Bruk av bensin som ikke er godkjent kan forårsake problemer og/eller motorskade som kanskje ikke dekkes av garanti.
Ikke bruk bensin som inneholder metanol.
Ikke oppbevar drivstoff i drivstofftanken eller i drivstoffbeholdere over vinteren, med mindre du bruker drivstoffstabilisator.
Ikke bland olje i bensinen.
Important: Ikke bruk andre tilsetningsstoffer i bensinen enn drivstoffstabilisator/kondisjoneringsmiddel. Ikke bruk alkoholbaserte drivstoffstabilisatorer som for eksempel etanol, metanol eller isopropanol.
Rengjør området rundt drivstofftanklokket (Figur 15).
Fjern drivstofftanklokket.
Fyll på tanken til om lag 25 mm under toppen av tanken (bunnen av påfyllingshalsen). Ikke fyll på for mye.

Sett på lokket.
Tørk opp eventuelt bensinsøl for å unngå brannfare.
Important: Bruk aldri metanol, bensin som inneholder metanol, eller gasohol som inneholder mer enn 10 % etanol, da dette kan skade motorens drivstoffsystem. Bensinen må ikke blandes med olje.
Utfør følgende daglige prosedyre før du bruker maskinen:
| Vedlikeholdsintervall | Vedlikeholdsprosedyre |
|---|---|
| For hver bruk eller daglig |
|
Hvis sikkerhetssperrebryterne blir frakoblet eller skadet, kan maskinen uventet settes i gang og forårsake personskader.
Ikke rør sperrebryterne.
Kontroller sperrebryterne daglig, og bytt ut ødelagte brytere før du bruker maskinen.
Formålet med sperresystemet er å hindre motoren i å kjøre eller starte med mindre trekkpedalen står i NøYTRAL stilling. Motoren skal dessuten stoppe hvis trekkpedalen flyttes enten fremover eller bakover uten en operatør i setet.
Sett maskinen på et åpent område uten gjenstander og tilskuere. Slå av motoren.
Sitt i førersetet, og koble inn parkeringsbremsen.
Trykk ned trekkpedalen frem- og bakover mens du prøver å starte motoren.
Note: Hvis motoren ikke starter, kan det være en feil i sperresystemet. Reparer feilen umiddelbart.Hvis motoren starter, fungerer systemet som det skal.
Forbli sittende på setet, med trekkpedalen i NøYTRAL posisjon og parkeringsbremsen på, og start motoren.
Reis deg fra setet, og trykk trekkpedalen sakte ned.
Note: Motoren skal nå stoppe i løpet av ett til tre sekunder. Finn årsaken til problemet hvis systemet ikke fungerer riktig.
Note: Angi hva som er høyre og venstre side på maskinen ved å stå i normal arbeidsstilling.
Eieren/brukeren kan forhindre og er ansvarlig for ulykker som kan forårsake personskader eller materielle skader.
Ha på deg passende klær, inkludert vernebriller, sklisikkert og kraftig fottøy, langbukser og hørselsvern. Sett opp langt hår og ikke bruk løstsittende smykker.
Ikke bruk maskinen når du er syk, trett eller påvirket av alkohol eller andre rusmidler.
Ha aldri med passasjerer på maskinen, og hold tilskuere og kjæledyr borte fra maskinen under drift.
Bruk maskinen bare når det er god sikt, for å unngå hull eller skjulte farer.
Unngå å bruke maskinen på vått gress. Redusert veigrep kan føre til at maskinen glir.
Påse at alle drivverk står i nøytral stilling, at parkeringsbremsen er aktivert og at du er i førerposisjon før du starter motoren.
Se bak- og nedover før du rygger, slik at du ikke kjører på noen.
Vær forsiktig når du nærmer deg hjørner, busker, trær eller annet som reduserer synsfeltet ditt.
Ikke bruk i nærheten av kanter, grøfter eller voller. Maskinen kan plutselig velte hvis et hjul går over kanten eller hvis kanten gir etter.
Stopp maskinen og undersøk tilbehøret hvis du har kjørt over gjenstander, eller hvis maskinen begynner å vibrere unormalt. Foreta alle nødvendige reparasjoner før du gjenopptar bruk.
Kjør sakte, og vær forsiktig når du svinger og krysser veier og fortau med maskinen. Overhold alltid vikeplikten.
La aldri motoren gå i et lukket rom hvor eksosen ikke slipper ut.
La aldri maskinen stå uten tilsyn når den er i gang.
Gjør følgende før du forlater førersetet:
Parker maskinen på et jevnt underlag.
Senk tilbehøret.
Sett på parkeringsbremsen.
Slå av motoren og ta ut nøkkelen.
Vent til alle bevegelige deler har stanset.
Ikke bruk maskinen hvis det er fare for lynnedslag.
Ikke bruk maskinen til tauing.
Når nødvendig, fukt overflater før service for å minimere støvdannelse.
Bruk kun utstyr, tilbehør og reservedeler som er godkjent av Toro.
Fastsett egne prosedyrer og regler for bruk i skråninger. Disse prosedyrene skal inkludere kontroll av området for å avgjøre hvilke skråninger som er trygge for maskindrift. Bruk alltid sunn fornuft og god dømmekraft når du utfører denne kontrollen.
Skråninger er en ledende årsak til tap av kontroll og velting. Dette kan føre til alvorlige skader eller dødsfall. Føreren har ansvar for sikker bruk i skråninger. Bruk av maskinen i skråninger krever ekstra forsiktighet.
Hellinger er en hovedårsak til tap av kontroll og velting. Dette kan føre til alvorlige skader eller dødsfall. Bruk av maskinen i skråninger krever ekstra forsiktighet.
Kjør maskinen i en lavere hastighet når du kjører i en skråning.
Hvis du føler deg utrygg når du bruker maskinen i skråninger, skal du ikke gjøre det.
Vær oppmerksom på hull, steiner eller andre skjulte objekter. Maskinen kan velte i ujevnt terreng. Gjenstander kan ligge skjult i høyt gress.
Kjør med lav hastighet, slik at du slipper å stoppe eller gire mens du kjører i en skråning.
Velting kan oppstå før dekkene mister grepet.
Ikke bruk maskinen på vått gress. Dekk kan miste grepet, uavhengig av om bremsene er tilgjengelige og fungerer.
Ikke start, stopp eller sving maskinen i skråninger.
Kjør sakte i skråninger, og øk og reduser hastigheten gradvis. Ingen brå endringer av maskinens hastighet eller retning.
Ikke bruk maskinen nær kanter, grøfter, voller eller vannmasser. Maskinen kan plutselig velte hvis et hjul går over kanten eller kanten gir etter. Fastsett et sikkerhetsområde mellom maskinen og eventuelle farer (to maskinbredder).
Ta foten av trekkpedalen, kontroller at den står i NøYTRAL, og sett på parkeringsbremsen.
Skyv chokespaken forover til På-posisjon (ved oppstart av kald motor), og sett gasspaken til SAKTE-posisjon.
Important: Varm maskinen opp før bruk ved bruk i temperaturer under 0 °C. Dette forhindrer skade på hydrostaten og trekkløkken.
Sett nøkkelen inn i tenningsbryteren, og vri den med klokken for å starte motoren. Slipp nøkkelen når motoren starter.
Note: Juster choke så motoren kjører jevnt.
Important: Starteren må ikke tilkobles lengre enn 10 sekunder å unngå overoppheting av startmotoren. Etter 10 sekunder sammenhengende omdreining må du vente 60 sekunder før du aktiverer startmotoren igjen.
For å stoppe motoren flytter du gasskontrollen til SAKTE-stillingen og dreier tenningsnøkkelen til AV.
Note: Ta nøkkelen ut av tenningen for å unngå at kjøretøyet startes ved et uhell.
Steng drivstoffavstengingskranen før du setter maskinen til oppbevaring.
Inspeksjon av maskinen mens motoren er i gang kan føre til personskade.
Slå av motoren, og vent til alle bevegelige deler har stoppet før du kontrollerer om maskinen har oljelekkasjer, løse deler eller andre feil.
Nye motorer trenger tid til å utvikle full styrke. Drivsystemer har mer friksjon når de er nye og legger ekstra belastning på motoren.
Regn med de første åtte driftstimene i innkjøringsperioden.
Ettersom de første driftstimene er avgjørende for hvor driftssikker maskinen blir i fremtiden, bør du følge nøye med på funksjonene og ytelsen slik at små feil oppdages og rettes opp før de blir store. Undersøk maskinen ofte under innkjøringsfasen for å kontrollere om det finnes oljelekkasje, løse fester eller andre feil.
Se brukerhåndboken for tilbehøret for spesifikke driftsinstruksjoner for tilbehøret.
Øv deg på å kjøre maskinen, den har ulike driftsegenskaper enn noen tjenestekjøretøyer. To ting det er viktig å tenke på under betjening av maskinen, er girhastighet og turtall.
For å holde konstant turtall, trykker du trekkpedalen sakte ned. På denne måten kan motoren holde tritt med kjøretøyets kjørehastighet. Hvis du trykker trekkpedalen for raskt ned, vil du redusere turtallet slik at du ikke har nok momentkraft til å bevege kjøretøyet. For å overføre maksimal kraft til hjulene, bør du derfor sette gassen til HURTIG og trykke trekkpedalen lett ned. Med gassen i HURTIG-posisjonen og trekkpedalen sakte, men helt trykket ned, får du til sammenligning maksimal bakkehastighet uten belastning. Hold alltid turtallet høyt nok til å overføre maksimal momentkraft til hjulene.
Påse at maskinen ikke velter under bruk eller at du mister kontroll over den.
Vær forsiktig når du kjører inn og ut av sandfang/-bunkere.
Utvis ekstra forsiktighet rundt grøfter, bekker eller andre farer.
Vær svært forsiktig når du bruker kjøretøyet i bratte hellinger.
Reduser hastigheten når du tar skarpe svinger eller svinger i en helling.
Unngå å starte og stoppe plutselig.
Ikke gå fra revers til full hastighet fremover uten å stoppe helt i mellomtiden.
Note: Hvis tilbehørsadapteren setter seg fast i adapteren til trekkenheten, føres et brekkjern eller en skrutrekker inn i åpningssporet for å koble delene fra hverandre (Figur 16).

Parker maskinen på en jevn overflate, aktiver parkeringsbremsen, slå av motoren, ta ut nøkkelen, og vent til alle bevegelige deler har stanset, før du forlater maskinen.
Fjern gress og rusk fra lyddemperen og motorrommet for å unngå at det begynner å brenne. Tørk opp eventuelt olje- eller drivstoffsøl.
La motoren bli kald før maskinen settes på et lukket sted.
Steng drivstofftilførselen før oppbevaring eller transport av maskinen.
Oppbevar aldri maskinen eller drivstoffkannen hvor det er åpen ild, gnist eller kontrollampe som på en varmtvannstank eller andre apparater.
Hold alle deler av maskinen i god stand, og sørg for at de er godt festet.
Skift ut slitte, skadde eller manglende merker.
I nødstilfeller kan du taue kjøretøyet over korte avstander. Vi anbefaler imidlertid ikke å bruke dette som standardprosedyre.
Important: Ikke tau maskinen raskere enn 1,6 km/t, da drivsystemet kan bli skadet. Hvis du må flytte maskinen mer enn 50 m, bør den transporteres på en lastebil eller tilhenger. Dekkene kan låse seg hvis maskinen taues for raskt. Hvis dette oppstår, stopp tauingen av maskinen og vent til trekkretsen har stabilisert seg før du gjenopptar tauingen ved langsommere hastighet.
Bruk en bred rampe når du laster maskinen på en tilhenger eller lastebil.
Fest maskinen godt.
Note: Hvis du vil ha tak i elektronikkskjema eller hydraulikkskjema for maskinen din, går du til www.Toro.com.
Før du justerer, rengjør, reparerer eller forlater maskinen, må du gjøre følgende:
Parker maskinen på en jevn flate.
Flytt gassbryteren til stillingen for lavt tomgangsturtall.
Senk tilbehøret.
Sjekk at trekkenheten er i fri.
Sett på parkeringsbremsen.
Slå av motoren og ta ut nøkkelen.
Vent til alle bevegelige deler har stanset.
La maskinen kjøle seg ned før du utfører vedlikehold.
Ikke utfør vedlikehold når motoren er i gang hvis du kan unngå det. Hold deg borte fra bevegelige deler.
Bruk jekkstøtter for å støtte maskinen eller komponenter når det er nødvendig.
Vær forsiktig når du reduserer trykket i komponenter under trykk.
| Vedlikeholdsintervall | Vedlikeholdsprosedyre |
|---|---|
| Etter de 8 første timene |
|
| For hver bruk eller daglig |
|
| Etter hver bruk |
|
| Hver 25. driftstime |
|
| Hver 100. driftstime |
|
| Hver 200. driftstime |
|
| Hver 500. driftstime |
|
| Hver 800. driftstime |
|
| Hver 1000. driftstime |
|
| Hver 1500. driftstime |
|
| Hver 2000. driftstime |
|
Note: Angi hva som er høyre og venstre side på maskinen ved å sitte i normal arbeidsstilling.
Dersom du lar nøkkelen stå i tenningsbryteren, kan noen starte motoren uten at det er tilsiktet, noe som kan påføre deg eller andre personer alvorlige skader.
Fjern nøkkelen fra tenningen før du begynner med vedlikeholdsarbeid.
Important: Festene på maskinens deksler er utformet for å sitte på dekselet når dekselet er fjernet. Løsne alle festene på hvert deksel noen omdreininger, slik at dekselet sitter løsere, men ikke er helt løst, og gå så tilbake og løsne dem helt slik at dekselet løsner. Dette forhindrer at du stripper boltene fra holderne.
Mekaniske eller hydrauliske jekker klarer kanskje ikke å støtte maskinen og kan forårsake alvorlige personskade.
Bruk jekkstøtter når du støtter maskinen.
Jekkepunktene er som følger:
Maskinen har smørenipler som må smøres med litiumbasert smørefett nr. 2 etter hver 100. driftstime.
Smør følgende lagre og bøssinger:
Forhjulslager (1) (Figur 19)

Dreieledd for trekkpedal (1) (Figur 20)

Bakre kobling (5) (Figur 21)

Styresylinderstagende (1) – kun modell 08705 (Figur 22)

Akselstyretapper (Figur 23)
Note: Smøreniplene på styringsdreietappen (Figur 23) krever en adapter for munnstykke på smørepistol. Bestill Toro-delenr. 107–1998 fra en autorisert Toro-forhandler.

| Vedlikeholdsintervall | Vedlikeholdsprosedyre |
|---|---|
| Hver 100. driftstime |
|
Tørk av smøreniplene slik at fremmedmateriale ikke kan komme inn i lagrene eller hylsene.
Pump smørefett inn i lageret eller hylsen.
Tørk bort overflødig fett.
Slå av motoren før du sjekker oljen eller tilsetter olje til veivhuset.
Du må ikke endre hastighetsregulatoren eller ruse motoren.
Bruk motorolje av høy kvalitet som overholder følgende spesifikasjoner:
API-klassifiseringsnivå: SL eller høyere
Oljeviskositet: SAE 30SAE 30 – over 4 °C
| Vedlikeholdsintervall | Vedlikeholdsprosedyre |
|---|---|
| For hver bruk eller daglig |
|
Motoren leveres med olje i veivhuset. Oljenivået må imidlertid kontrolleres før og etter at motoren startes for første gang.
Parker maskinen på en jevn overflate, slå av motoren, sett på parkeringsbremsen og ta ut nøkkelen.
Vipp setet fremover.
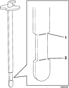
Trekk ut peilestaven (Figur 24) og tørk den med en ren fille.

Sett peilestaven inn i røret, og pass på at den når helt ned. Fjern peilestaven fra røret og sjekk oljenivået. Hvis oljenivået er lavt, må du ta av tanklokket fra ventildekslet og fylle på nok av den spesifiserte olje til nivået når opp til Full-merket på peilestaven.
Important: Kontroller at oljenivået holdes mellom øvre og nedre merke på peilestaven. Hvis du overfyller eller underfyller motorolje, kan du skade motoren når du kjører den.
Sett peilestaven på plass.
Important: Du må sette peilestaven helt ned i røret slik at motorveivhuset er ordentlig tett. Hvis man ikke forsegler veivhuset kan det føre til skade på motoren.
Vipp setet ned.
| Vedlikeholdsintervall | Vedlikeholdsprosedyre |
|---|---|
| Hver 100. driftstime |
|
Veivhusets oljekapasitet: ca. 1,66 l med filter.
Parker maskinen på en jevn overflate, slå av motoren, sett på parkeringsbremsen og ta ut nøkkelen.
Fjern tappepluggen (Figur 25) og la oljen renne ut i en beholder. Når oljen slutter å renne, setter du tappepluggen på igjen.

Ta av oljefilteret (Figur 25).
Stryk et tynt lag med ren olje på den nye filterpakningen.
Træ på filteret til pakningen kommer i kontakt med filteradapteren. Stram deretter filteret med ytterligere en ½ til ¾ omdreining.
Important: Filteret må ikke trekkes til for hardt.
Fyll spesifisert olje på veivhuset. Se Kontrollere motoroljenivået.
Kasser oljen på en forsvarlig måte.
| Vedlikeholdsintervall | Vedlikeholdsprosedyre |
|---|---|
| Hver 200. driftstime |
|
Kontroller om huset til luftrenseren er skadet, da dette kan føre til luftlekkasje. Skift eventuelle ødelagte komponenter. Kontroller hele inntakssystemet for lekkasje, skade eller løse slangeremmer.
Ikke skift luftfilteret før det er nødvendig, da dette bare vil øke faren for at det kommer smuss inn i motoren når filteret er fjernet.
Pass på at dekselet sitter korrekt på og er forseglet rundt huset til luftrenseren.
| Vedlikeholdsintervall | Vedlikeholdsprosedyre |
|---|---|
| Hver 200. driftstime |
|
Utløs låsene som fester luftrenserdekslet til luftrenserhuset (Figur 26).

Fjern dekslet fra luftrenserens kropp.
Før du tar av filteret bruker du luft under lavt trykk (2,76 bar, ren og tørr) for å fjerne store oppsamlinger av smuss mellom utsiden av det primære filteret og boksen.
Important: Unngå bruk av luft under høyt trykk, som kan presse smuss gjennom filteret og inn i inntakstrakten. Denne rengjøringprosessen forhindrer at smuss flyttes til inntaket når hovedfilteret fjernes.
Ta ut og skift ut filteret.
Note: Inspiser det nye filteret for transportskade, kontroller forseglingsenden av filteret og kroppen. Ikke bruk et ødelagt filter. Sett inn det nye filteret ved å påføre trykk på den utvendige kanten av elementet for å sette det på plass i boksen. Ikke trykk på det elastiske midtpunktet til filteret.
Note: Det anbefales ikke at det brukte elementet rengjøres, da det er mulighet for at filtermediet blir skadet.
Rengjør smussutstøtingsporten i det avtakbare dekslet.
Fjern uttaksventilen i gummi fra dekslet, rengjør hulrommet og sett inn igjen uttaksventilen.
Monter dekselet med uttaksventilen i gummi vendt nedover – mellom urviserstillingene kl. 5 til kl. 7 sett fra enden.
Fest låsene.
| Vedlikeholdsintervall | Vedlikeholdsprosedyre |
|---|---|
| Hver 100. driftstime |
|
Type: Champion RC14YC (eller tilsvarende)
Luftgap: 0,76 mm
Note: Tennpluggene varer vanligvis lenge, men du bør fjerne og kontrollere dem hvis motoren svikter.
Rengjør området rundt hver tennplugg slik at fremmedlegemer ikke faller ned i sylinderen når tennpluggen er fjernet.
Trekk tennpluggledningene av tennpluggene, og fjern tennpluggene fra topplokket.
Kontroller tilstanden til elektroden på siden, elektroden i midten og isolatoren for å sikre det ikke er skader.
Important: En tennplugg som er sprukket, skitten eller svikter på annen måte må skiftes ut. Elektrodene må ikke sandblåses, skrapes eller rengjøres ved bruk av stålbørste fordi partikler kan løsne fra tennpluggen, falle inn i sylinderen og skade motoren.
Angi elektrodeavstand mellom den midtre elektroden og elektrodene på siden til 0,76 mm. Se Figur 27. Monter den riktig innstilte tennpluggen med pakning, og stram pluggen til 23 N·m. Hvis du ikke bruker momentnøkkel, trekker du pluggen godt til.

| Vedlikeholdsintervall | Vedlikeholdsprosedyre |
|---|---|
| Hver 500. driftstime |
|
Det finnes et innebygd filter i drivstoffledningen. Bruk den følgende prosedyren ved utskifting:
Steng drivstoffavstengingsventilen, løsne slangeklemmen på forgassersiden av filteret og fjern drivstoffslangen fra filteret (Figur 28).

Plasser et tappefat under filteret, løsne den gjenværende slangeklemmen og ta ut filteret.
Monter det nye filteret slik at pilen på filteret peker bort fra drivstofftanken (mot forgasseren).
Skyv slangeklemmer på begge endene av drivstoffslangene.
Skyv drivstoffslangene på drivstoffilteret, og fest dem med slangeklemmene.
Note: Kontroller at pilen på siden av filteret peker mot forgasseren.
| Vedlikeholdsintervall | Vedlikeholdsprosedyre |
|---|---|
| Hver 500. driftstime |
|
Jekk opp høyre bakhjul fra bakken og støtt maskinen med jekkstøtter.
Fjern de 4 hjulmutterne som fester hjulet til navet og fjern hjulet og dekket (Figur 29).

Fjern de fire flenshodeskruene (¼ x ⅝ tomme) som fester hjuldeksel til maskinens ramme (Figur 30).

Trekk karbonsylinderfilteret bakover, rundt den nedre, innvendige kanten av konsollet, og ut av slangen ved enden av karbonsylinderen (Figur 31).

Sett et nytt karbonsylinderfilter inn på slangen på enden av karbonsylinderen (Figur 31).
Innrett hullene i hjuldeksel med maskinens ramme (Figur 30) og fest dekselet til rammen med fire flenshodeskruer (¼ x ⅝ tomme) som du fjernet i trinn 3.
Sett dekket og hjulet inn på boltpinnene på hjulfestet (Figur 29) med de fire hjulmutterne som du fjernet i trinn 2og stram mutrene for hånd.
Ta bort jekkstøttene, og senk maskinen ned på bakken.
Stram hjulmutterne, se Stramme hjulenes hakemuttere.
Koble fra batteriet før du reparerer maskinen. Koble kabelen fra den negative klemmen først, og deretter den andre kabelen fra den positive klemmen. Koble til den positive polen først og den negative polen sist.
Lad opp batteriet på et åpent sted med god ventilasjon og borte fra gnister eller åpen ild. Koble laderen fra strømuttaket før du kobler den til eller fra batteriet. Ha på deg beskyttelsesklær og bruk verktøy som er isolert.
Hvis maskinen må kaldstartes, kan du bruke den alternative positive polen (på startsolenoiden) i stedet for den positive batteripolen (Figur 32).

Sikringblokken (Figur 33) er plassert under setet.

| Vedlikeholdsintervall | Vedlikeholdsprosedyre |
|---|---|
| Hver 25. driftstime |
|
Batteriets elektrolyttnivå må vedlikeholdes, og toppen av batteriet holdes rent. Hvis du oppbevarer maskinen på et sted der temperaturene er ekstremt høye, vil batteriet tappes raskere enn hvis du oppbevarer maskinen på et kjølig sted.
Hold toppen av batteriet rent ved å vaske det regelmessig med en børste dyppet i ammoniakk eller natron. Skyll overflaten med vann etter rengjøring. Ikke ta av påfyllingslokket mens du rengjør.
For å oppnå god elektrisk kontakt, må batterikablene sitte fast på batteripolene.
Hvis det er rust på batteripolene, kobler du fra kablene, den negative (-) kabelen først, og skraper av klemmene og polene hver for seg. Koble kablene til igjen, den positive (+) kabelen først, og smør deretter vaselin på polene.
Kontroller elektrolyttnivået hver 25. driftstime eller, hvis maskinen er på lager, hver 30. dag.
Oppretthold cellenivået med destillert vann eller vann uten mineraler. Ikke fyll cellene over fyllelinjen.
| Vedlikeholdsintervall | Vedlikeholdsprosedyre |
|---|---|
| For hver bruk eller daglig |
|
Sjekk dekktrykket før du bruker maskinen (Figur 34). Korrekt lufttrykk i for- og bakdekkene er:
Profilerte dekk: 0,7 bar
Note: Hvis det kreves ekstra trekkraft til drift av kniv, bør du redusere trykket til 0,55 bar.
Glatte dekk: 0,55 til 0,7 bar

| Vedlikeholdsintervall | Vedlikeholdsprosedyre |
|---|---|
| Etter de 8 første timene |
|
| Hver 100. driftstime |
|
Stram hakemutterne til 95–122 N·m.
Dersom maskinen beveger seg når trekkpedalen står i nøytral stilling, må trekkammen justeres.
Parker maskinen på en jevn overflate, slå av motoren, sett på parkeringsbremsen og ta ut nøkkelen.
Løsne de to skruene som fester senterdekselet til maskinen og fjern dekselet (Figur 35).

Hev forhjulet og et bakhjul fra bakken, og plasser støtteblokker under rammen.
Forhjulet og et bakhjul må være hevet fra bakken, for å unngå at maskinen beveger seg når den justeres. Dette kan føre til at maskinen faller og skader noen under maskinen.
Pass på at maskinen støttes tilstrekkelig, med forhjulet og ett bakhjul hevet fra bakken.
Løsne låsemutteren på trekkjusteringskammen (Figur 36).

Motoren må være i gang slik at du kan utføre den endelige justeringen av trekkjusteringskammen. Kontakt med bevegelige deler eller varme overflater kan føre til personskade.
Hold hender, føtter og andre kroppsdeler borte fra roterende deler, lyddemperen og andre varme overflater.
Start motoren, og roter den sekskantede kambolten (Figur 36) i begge retninger for å finne midtstillingen på det nøytrale spennet.
Stram låsemutteren for å sikre justeringen.
Slå av motoren.
Monter senterdekselet.
Ta bort jekkstøttene, og senk maskinen ned på verkstedsgulvet.
Prøvekjør maskinen for å forsikre deg om at den ikke beveger seg når trekkpedalen står i nøytral.
Juster girkassen for frigiret; se Justere trekkdrivet for nøytral.
Bruk pumpespaken til å kontrollere at alle delene virker som de skal, og at de er godt festet.
Juster skruen til elektrodeavstanden er 0,8 til 2,3 mm. Se Figur 36.
Sjekk at det fungerer som det skal.
Trekkpedalen er justert for maksimal transporthastighet og rygging ved fabrikken. Det kan imidlertid være nødvendig med en justering hvis pumpespaken når fullt stempelslag før du har tråkket pedalen helt inn, eller hvis du vil redusere transporthastigheten.
For å oppnå maksimal transporthastighet, trykk ned trekkpedalen. Juster pedalen hvis den kommer i kontakt med sperren (Figur 37) før pumpespaken når fullt stempelslag:

Parker maskinen på en jevn overflate, slå av motoren, sett på parkeringsbremsen og ta ut nøkkelen.
Løsne mutteren som sikrer pedalstopperen.
Stram pedalstopperen helt til den ikke lenger kommer i kontakt med pedalen.
Fortsett å legge lett trykk på transportpedalen og juster pedalsperren slik at den såvidt kommer i kontakt eller det en avstand på 0,25 mm mellom pedalstangen og sperren.
Trekk til mutterene.
Parker maskinen på en jevn overflate, slå av motoren, sett på parkeringsbremsen og ta ut nøkkelen.
Løsne mutteren som sikrer pedalstopperen.
Skru pedalstopperen inn til du har oppnådd ønsket transporthastighet.
Stram mutteren som sikrer pedalstopperen.
Juster sperreplaten for løftespaken (Figur 39) hvis tilbehøret ikke flyter som det skal (følger bakkekonturene) under betjening.
Parker maskinen på en jevn overflate, slå av motoren, sett på parkeringsbremsen og blokker hjulene.
Fjern de fire skruene som fester kontrollpanelet til rammen (Figur 38).

Løsne de to boltene som fester sperreplaten til skjermen og rammen.

Motoren må være i gang slik at du kan justere sperreplaten. Kontakt med bevegelige deler eller varme overflater kan føre til personskade.
Hold hender, føtter og andre kroppsdeler borte fra roterende deler, lyddemperen og andre varme overflater.
Start motoren.
Med motoren i gang og løftespaken i SVEVE-stillingen, skyv sperreplaten til løftesylinderen kan strekkes ut og trekkes tilbake for hånd.
Stram begge monteringsskruene for å feste justeringen.
Det er viktig at gasskontrollen er riktig justert for at gassen skal fungere som den skal. Kontroller at gasskontrollen fungerer som den skal før du justerer forgasseren.
Vipp setet opp.
Løsne klemskruen som fester gasskabelen til motoren (Figur 40).

Flytt gasskontrollen fremover til HURTIG-stillingen.
Dra kraftig i gasskabelen til bakdelen av svivelen kommer i kontakt med stopperen (Figur 40).
Trekk til klemskruen til kabelen og kontroller turtallet:
Høyt tomgangsturtall: 3350 til 3450 o/min
Lavt tomgangsturtall: 1650 til 1850 o/min
Important: Før du justerer turtallsregulatoren, sørg for at gass- og chokekontroller er riktig justert.
Motoren må være i gang mens du justerer motorhastighetsregulatoren. Kontakt med bevegelige deler eller varme overflater kan føre til personskade.
Påse at trekkpedalen er i nøytral og aktiver parkeringsbremsen før du utfører denne prosedyren.
Hold klær, hender, føtter og andre kroppsdeler borte fra roterende deler, lyddemperen og andre varme overflater.
Note: For å justere tomgang på lavt turtall, utfør de følgende trinnene. Hvis du bare skal justere tomgang på høyt turtall, gå direkte til trinn 5.
Start motoren og la den gå med halv gass i omtrent fem minutter for å bli varm.
Flytt gasskontrollen til SAKTE-innstillingen. Juster anslagsskruen for tomgang mot klokken til den ikke lenger kommer i kontakt med gasspaken.
Bøy ankerspissens blindfjær (Figur 41) for å oppnå en hastighet på 1675 til 1175 o/min.
Note: Kontroller hastigheten med en turteller.

Juster anslagsskruen for tomgang til tomgangshastigheten er 25 til 50 o/min. mer enn tomgangshastigheten som er angitt i trinn 3.
Note: Den endelige tomgangshastigheten skal være 1650 til 1850 o/min.
Sett gasspaken i HURTIG-stillingen.
Bøy ankerspissen for høyhastighetsfjæren (Figur 41) for å oppnå en topphastighet på 3350 til 3450 o/min.
Oppsøk legehjelp øyeblikkelig hvis olje sprøytes inn under huden. Innsprøytet væske må fjernes kirurgisk innen få timer av en lege.
Kontroller at alle hydraulikkslanger og ledninger er i god stand, og at alle hydrauliske koblinger og beslag er tette, før det hydrauliske systemet settes under trykk.
Hold kropp og hender borte fra hull eller dyser som sprøyter ut hydraulisk olje under høyt trykk.
Bruk kartong eller papir til å finne lekkasjer.
Før du utfører vedlikehold eller reparasjoner på det hydrauliske systemet, må du forsiktig slippe ut alt trykket.
| Vedlikeholdsintervall | Vedlikeholdsprosedyre |
|---|---|
| For hver bruk eller daglig |
|
Undersøk hydrauliske ledninger og slanger daglig for å kontrollere at det ikke er lekkasjer, at det ikke er knekk på dem, at ingen monteringsstøtter er løse, at ingen beslag er løse og at de ikke er slitt på grunn av værforhold eller kjemisk forringelse. Foreta alle nødvendige reparasjoner før bruk.
Beholderen fylles på fabrikken med høykvalitets hydraulikkvæske. Kontroller nivået på hydraulikkvæsken før du starter maskinen for første gang, og deretter hver dag. Se Kontrollere nivået på den hydrauliske væsken.
Anbefalte hydraulikkvæsker: Toro PX Extended Life-hydraulikkvæske, tilgjengelig i spann på 19 liter eller fat på 208 liter.
Note: På en maskin som bruker den anbefalte erstatningsvæsken trenger man ikke utføre væske- og filterskift så ofte.
Alternative hydraulikkvæsker: Hvis Toro PX Extended Life-hydraulikkvæske ikke er tilgjengelig, kan du bruke andre konvensjonelle hydraulikkvæsker med petroleumsbase, forutsatt at spesifikasjonene faller innenfor oppgitt område for følgende materialegenskaper og oppfyller bransjestandarder. Syntetisk væske må ikke benyttes. Forhør deg med smøremiddelleverandøren for å finne et egnet produkt.
Note: Toro er ikke ansvarlig for skader som skyldes bruk av uegnede alternativer. Bruk kun produkter fra anerkjente produsenter, som står for sine anbefalinger.
| Materielle egenskaper: | ||
| Viskositet, ASTM D445 | cSt ved 40 °C: 44 til 48 | |
| Viskositetsindeks ASTM D2270 | 140 eller høyere | |
| Flytepunkt, ASTM D97 | -37 °C til -45 °C | |
| Bransjespesifikasjoner: | Eaton Vickers 694 (I-286-S, M-2950-S/35VQ25 eller M-2952-S) | |
Note: Mange hydraulikkvæsker er nesten fargeløse, noe som gjør det vanskelig å oppdage lekkasjer. Et rødt fargestoff for hydraulikkvæsken er tilgjengelig i flasker på 20 ml. Én flaske er nok til 15–22 liter med hydraulikkvæske. Bestill delenr. 44-2500 fra en autorisert Toro-forhandler.
Important: Toro Premium Synthetic Biodegradable-hydraulikkvæske er den eneste syntetiske nedbrytbare væsken som godkjennes av Toro. Denne oljen er kompatibel med elastomerne som benyttes i Toros hydraulikksystemer, og er egnet til en rekke temperaturforhold. Denne oljen er kompatibel med tradisjonelle mineraloljer, men for å oppnå maksimal biologisk nedbrytbarhet og ytelse, må det hydrauliske systemet tømmes fullstendig for tradisjonell olje. Oljen er tilgjengelig i spann på 19 liter eller fat på 208 liter fra en autorisert Toro-forhandler.
| Vedlikeholdsintervall | Vedlikeholdsprosedyre |
|---|---|
| For hver bruk eller daglig |
|
Beholderen fylles på fabrikken med den anbefalte hydraulikkvæsken. Den er best å sjekke hydraulikkvæsken når den er kald.
Hev alle hydrauliske tilbehør helt opp til transportstilling.
Parker maskinen på en jevn overflate, slå av motoren, sett på parkeringsbremsen og ta ut nøkkelen.
Rengjør området rundt lokket på hydraulikkvæsketanken slik at det ikke kommer rusk inn i tanken (Figur 42).

Ta lokket av tanken.
Fjern peilestaven fra påfyllingshalsen, og tørk av den med en ren fille.
Før peilestaven ned i påfyllingshalsen før du tar den ut og kontroller oljenivået (Figur 43).
Når beholderen er korrekt fylt med hydraulisk olje, skal du se væskenivået mellom de øvre og nedre merkene (innsnevret område) på peilestaven.
Important: Hvis væskenivået er mellom øvre og nedre merker, trenger du ikke fylle på mer væske.

Hvis væskenivået er for lavt, fyller du sakte på med spesifisert hydraulisk olje i beholderen til væskenivået når det innsnevrede området på peilestaven.
Important: For å forhindre at systemet forurenses, rengjør du overflaten på hydraulikkvæskebeholderen før du åpner den. Pass på at påfyllingstuten og trakten er rene.
Important: Ikke overfyll tanken med hydraulikkvæske.
Sett lokket på beholderen.
| Vedlikeholdsintervall | Vedlikeholdsprosedyre |
|---|---|
| Hver 800. driftstime |
|
| Hver 1000. driftstime |
|
Parker maskinen på en jevn overflate, slå av motoren, sett på parkeringsbremsen og ta ut nøkkelen.
Løsne de to skruene som fester senterdekselet til maskinen og fjern dekselet (Figur 44).

Smør pakningen på reservefilteret med ren hydraulikkvæske.
Plasser et tappefat under hydraulikkfilteret på venstre side av maskinen (Figur 45).

Rengjør området rundt der filteret skal festes.
Note: Ha det nye filteret klart innen rekkevidde før du fjerner det gamle filteret.
Fjern hydraulikkfilteret fra filterhodet.
Monter det nye hydraulikkfilteret (Figur 45) ved å skru det på for hånd til pakningen kommer i kontakt med filterhodet. Stram deretter filteret ytterligere en ¼ vridning.
Sjekk hydraulikkvæskenivået og tilsett spesifisert hydraulikkvæske etter behov. Se Kontrollere nivået på den hydrauliske væsken
Monter senterdekselet.
| Vedlikeholdsintervall | Vedlikeholdsprosedyre |
|---|---|
| Hver 800. driftstime |
|
| Hver 2000. driftstime |
|
Beholderkapasitet: 18,9 liter
Bytt ut med et originalt Toro-filter. Se delekatalogen for din maskin.
Ta lokket av beholderen for hydraulikkvæske (Figur 46).

Pump hydraulikkvæsken fra hydraulikkbeholderen (Figur 46).
Fyll hydraulikktanken med spesifisert hydraulikkvæske til nivået når det innsnevrede området på peilestaven. Se Kontrollere nivået på den hydrauliske væsken.
Important: Ikke fyll på for mye hydraulikkvæske.
Start motoren og la den gå. Driv løftesylinderen til den strekker seg ut til bake og det er frem- og tilbakebevegelse i hjulet.
Stopp motoren og kontroller hydraulikkvæskenivået i beholderen. Tilsett væske om nødvendig.
Kontroller om det har oppstått lekkasjer.
Reparer eventuelle hydraulikklekkasjer.
Monter senterdekselet.
Når en hydraulisk komponent blir reparert eller skiftet ut, skal hydraulikkfilteret også skiftes og hydraulikksystemet fylles opp.
Kontroller at hydraulikktanken og -filteret alltid er fylt med væske når hydraulikksystemet fylles.
Parker maskinen på en jevn overflate, slå av motoren, sett på parkeringsbremsen og ta ut nøkkelen.
Løsne de to skruene som fester senterdekselet til maskinen og fjern dekselet (Figur 47).

Hev forhjulet og et bakhjul fra bakken, og plasser støtteblokker under rammen.
Forhjulet og et bakhjul må være hevet fra bakken, for å unngå at maskinen beveger seg når den justeres. Dette kan føre til at maskinen faller og skader noen under maskinen.
Pass på at maskinen støttes tilstrekkelig, med forhjulet og ett bakhjul hevet fra bakken.
Start motoren, og still gassen slik at motoren går med ca. 1800 o/min.
Aktiver løfteventilspaken til løfteventilstangen beveger seg inn og ut flere ganger. Hvis sylinderstangen ikke flytter seg etter 10–15 sekunder eller det kommer unormale lyder fra pumpen, slå av motoren umiddelbart og finn årsaken eller problemet. Kontroller det følgende:
Løst filter eller sugeledning
Løs eller defekt kobling på pumpen
Blokkert sugeledning
Defekt fyllavlastningsventil
Defekt fyllepumpe
Hvis sylinderen beveger seg i løpet av 10–15 sekunder fortsett du til trinn 6.
Betjen trekkpedalen frem- og bakover. Hjulene som er hevet fra bakken skal rotere i riktig retning.
Hvis hjulene roterer i feil retning stopper du motoren, fjerner ledningene fra baksiden av pumpen og bytter om på plasseringen.
Hvis hjulene roterer i riktig retning, stopper du motoren og justerer låsemutteren for fjærtappen (Figur 48). Juster trekkpedalens nøytrale stilling. Se Justere trekkdrivet for nøytral.

Kontroller justeringen av trekksperrebryteren. Se Justere sperrebryteren for trekkdrivet.
Monter senterdekselet.
| Vedlikeholdsintervall | Vedlikeholdsprosedyre |
|---|---|
| Etter hver bruk |
|
Vask maskinen godt ved hjelp av en hageslange uten munnstykke for at overflødig vanntrykk ikke skal forurense eller skade forseglingene og lagrene.
Påse at kjøleribbene og området rundt luftinntaket holdes fritt for rusk.
Important: Hvis du rengjør oljekjøleren med vann, vil dette føre til korrosjon og skader på komponenter, og vil presse sammen rusk. Se Rengjøre oljekjøleren.
Inspiser maskinen for mulige hydraulikklekkasjer, skade eller slitasje på de hydrauliske og mekaniske komponentene.
Rengjør maskinen, tilbehøret og motoren grundig.
Parker maskinen på et jevnt underlag, aktiver parkeringsbremsen, slå av motoren, ta ut nøkkelen, og vent til alle bevegelige deler har stanset, før du forlater maskinen.
Kontroller trykket i dekkene. Se Kontrollere trykket i dekkene.
Kontroller alle festene. Stram dem om nødvendig.
Smør alle smørenipler og omdreiningspunkter. Se Smøre maskinen.
Bruk litt sandpapir på og mal malte områder som har fått riper eller rust.
Skift motoroljen og oljefilteret. Se Skifte motorolje og filter.
Start motoren, og la den gå på tomgang i to minutter.
Slå av motoren, ta ut nøkkelen, og vent til alle bevegelige deler har stanset, før du forlater maskinen.
Rengjør og overhal luftrenseren grundig. Se Overhale luftrenseren.
Forsegl inntaket til luftrenseren og eksosåpningen med værbestandig maskeringsteip.
Kontroller at oljelokket og tanklokket er godt skrudd til.
Ta batteriklemmene av batteripolene.
Rengjør batteriet, klemmene og polene med en stålbørste og en oppløsning av natron.
Smør batteripolene og kabelklemmene med Grafo 112X-smørefett (Toro-delenummer 505-47) for å forhindre korrosjon.
Lad batteriet sakte opp i 24 timer hver 60. dag for å forhindre blysulfatering av batteriet.
Note: Egenvekten til et fulladet batteri måler 1,250.
Note: Lagre batteriet på et kjølig sted for å hindre at batteriladningen forringes raskt. Pass på at batteriet er fulladet, for å forhindre at det fryser.