| 유지보수 서비스 간격 | 유지보수 절차 |
|---|---|
| 매번 사용하기 전 또는 매일 |
|
본 장비는 다용도 승용 장비이며 전문 작업자가 상업용으로 사용해야 합니다. 주로 잘 관리된 골프 코스 및 상업용 구장의 벙커를 길들이기 위해 제작되었습니다. 이 제품을 지정되지 않은 용도로 사용하면 작업자나 주변 사람들이 위험해질 수 있습니다.
이 정보를 주의 깊게 읽고 제품을 제대로 조작 및 유지관리하는 방법과 부상 및 제품 손상을 방지하는 방법에 대해 익히십시오. 사용자는 제품을 제대로 안전하게 조작해야 할 책임이 있습니다.
제품 안전성과 사용법 교육 자료, 액세서리 관련 정보 등이 필요하거나 판매점 연락처 정보를 얻거나 제품을 등록하려면 www.Toro.com을 방문하십시오.
서비스, Toro 순정 부품 또는 추가 정보가 필요하면 지정 서비스점 또는 Toro 고객 서비스에 연락하여 제품의 모델 번호와 일련 번호를 알려 주십시오. 그림 1은 제품의 모델 번호와 일련번호의 위치를 보여 줍니다. 마련된 빈칸에 이 번호를 적어 두십시오.
Important: 모바일 기기에서는 일련번호 전사지의 QR 코드(장착한 경우)를 스캔하여 보증, 부품 및 기타 제품 정보를 액세스할 수 있습니다.

본 설명서 및 장비에 표시된 안전 경고 기호(그림 2)는 사고를 예방하기 위해 지켜야 하는 중요한 안전 메시지를 식별합니다.

안전 경고 기호는 안전하지 않은 행동이나 상황을 경고하는 정보 위에 표시되며 기호 밑에 위험, 경고 또는 주의라는 단어가 기재되어 있습니다.
위험은 피하지 않을 경우 사망이나 심각한 부상으로 이어지는 위험한 상황이 임박했음을 의미합니다.
경고는 피하지 않을 경우 사망이나 심각한 부상으로 이어질 수 있는 잠재적인 위험한 상황을 의미합니다.
주의는 피하지 않을 경우 사소하거나 경미한 부상으로 이어질 수 있는 잠재적인 위험한 상황을 의미합니다.
본 설명서에서는 내용의 중요성을 강조하기 위해 두 가지 단어를 사용합니다. 중요는 특별한 기계적 정보에 대한 주의를 환기시키며 참고는 특별한 주의를 기울일 필요가 있는 일반 정보를 강조합니다.
이 제품은 모든 관련 유럽 지침을 준수합니다. 자세한 내용은 각 제품별 적합성 선언서(DOC)를 참조하십시오.
Section 4442에 정의되어 있는 스파크 방지 머플러가 엔진에 장착되어 있고 정상적으로 유지관리하는 경우 또는 엔진이 화재를 방지할 수 있도록 구성, 장착 및 유지관리되는 경우 외에는, 산림, 덤불 또는 목초 지대에서 엔진을 사용하거나 작동하는 것은 캘리포니아 Public Resource Code Section 4442 또는 4443 위반입니다.
동봉된 엔진 사용 설명서는 미국 환경 보호국(EPA) 및 배기 시스템, 유지보수 및 보증에 대한 캘리포니아 배기가스 관리 규정에 대해 알려드리기 위한 것입니다. 교체 부품은 엔진 제조사를 통해 주문할 수 있습니다.
캘리포니아
Proposition 65 경고
본 제품의 엔진에서 나오는 배기가스에는 캘리포니아 주에서 암, 선천성 기형 및 기타 생식 기능 장애를 일으키는 것으로 알려진 화학 물질이 들어 있습니다.
배터리 포스트, 터미널 및 관련 액세서리에는 캘리포니아 주에서 암과 생식 기능 장애를 일으키는 것으로 알려진 납과 납 화합물, 화학 물질이 들어 있습니다. 취급 후에는 손을 씻으십시오.
본 제품의 사용으로 캘리포니아 주에서 암, 선천성 기형 및 기타 생식 기능 장애를 일으키는 것으로 알려진 화학 물질이 들어 있습니다.
추가적인 트랙션 성능을 위해, 장비 전면에 웨이트 키트 100-6442를 추가할 수 있습니다.
Note: 장비에 전방 리프트 또는 플로우 부속장치가 달린 경우, 물리적 간섭으로 인해 웨이트 키트를 장착하면 안 됩니다.
이 제품으로 인해 사람이 다칠 수 있습니다. 항상 모든 안전 지침을 준수하여 중상을 방지하십시오.
엔진을 시동하기 전에 이 사용 설명서의 내용을 읽고 숙지하십시오. 이 제품을 사용하는 모든 사람이 사용법을 알고 있고 경고 내용을 이해하는지 확인하십시오.
장비를 작동하는 동안에는 온전히 주의를 기울이십시오. 주의력을 산만하게 하는 활동을 하면, 부상 또는 재산 피해가 발생할 수 있습니다.
장비의 움직이는 부품 근처에 손이나 발을 두지 마십시오.
모든 보호 장치 및 기타 안전 보호 장치가 제자리에 장착되어 제대로 작동하지 않는 상태에서는 장비를 운전하지 마십시오.
장비가 움직이는 동안 주변 사람들로부터 거리를 유지하십시오.
아이들이 작업 영역에 들어오지 못하게 하십시오. 아이들이 장비를 작동하는 것은 절대로 허용하지 마십시오.
장비를 정비하거나 주유하기 전에 장비를 정지하고 엔진을 끄십시오.
이 장비를 잘못 사용하거나 정비하면 사람이 다치는 사고가 생길 수 있습니다. 부상 위험을 줄이려면 여기에 나와
있는 안전 지침을 따르고 주의, 경고 또는 위험과 같은 개인 안전 지침을 의미하는 안전 경고 기호(
)에 항상 주의를 기울이십시오. 이 지침을
따르지 않으면 사람이 다치거나 사망하는 사고가 발생할 수 있습니다.
이 설명서 전체의 필요한 위치에 추가 안전 정보가 나옵니다.
![]() |
안전 문구 데칼과 지침은 작업자의 눈에 쉽게 보이며 잠재적인 위험이 있는 모든 부분에 부착되어 있습니다. 손상되거나 유실된 데칼은 교체하십시오. |







Note: 정상 운전 위치에서 장비의 좌측과 우측을 판단하십시오.
Note: 모든 배송 브래킷 및 패스너를 제거하고 폐기하십시오.
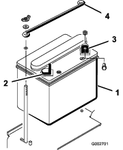
2개의 와이어 너트 및 와셔를 제거하여 측면 배터리 홀드 다운에 대해 상단 배터리 홀드 다운을 고정합니다(그림 4). 상단 배터리 홀드 다운을 제거하고 배터리를 분리합니다.

이 절차를 수행하는 데 필요한 부품:
| 벌크 전해액, 비중 1.260(포함되지 않음) | – |
배터리에 전해액이 충전되지 않았거나 활성화되지 않았으면 배터리에 비중 1.260 전해액을 첨가합니다.
Note: 지역 배터리 공급업체 매장에서 벌크 전해액을 구입할 수 있습니다.
배터리 전해액에 포함된 황산은 치명적인 독극물이며, 심한 화상을 입힐 수 있습니다.
전해액을 마시거나 피부, 눈 또는 옷에 닿지 않도록 하십시오. 보안경과 고무 재질의 장갑을 착용하여 눈과 손을 보호하십시오.
배터리는 피부를 씻을 수 있는 깨끗한 물이 항상 있는 곳에서 충전하십시오.
배터리에서 주입구 캡을 제거하고 전해액이 주입 라인에 도달할 때까지 각 셀에 천천히 보충합니다.
주입구 캡을 다시 끼우고 배터리 포스트에 3~4 A 배터리 충전기를 연결합니다. 4~8시간 동안 3~4 A로 배터리를 충전합니다.
배터리를 충전하면 폭발성 가스가 생성됩니다.
배터리 근처에서는 절대 흡연하지 않아야 하며 불꽃이나 화염에서 배터리를 멀리 하십시오.
배터리가 충전되면 전해액 출구 및 배터리 포스트에서 충전기를 분리합니다. 5~10분 동안 배터리를 안정시킵니다.
주입구 캡을 제거합니다.
높이가 주입 라인에 도달할 때까지 각 셀에 전해액을 천천히 보충합니다.
Important: 배터리에 과다하게 주입하지 마십시오. 전해액이 장비의 다른 부품으로 넘치면 심각한 부식과 열화가 발생할 수 있습니다.
주입구 캡을 장착합니다.
이 절차를 수행하는 데 필요한 부품:
| 볼트(¼ x ⅝ 인치) | 2 |
| 록너트(¼ 인치) | 2 |
음극 단자가 장비 후방을 보도록 놓고 배터리를 제자리에 끼웁니다(그림 5).

배터리 케이블 배선이 잘못되면 장비 및 케이블을 손상시켜 불꽃이 발생할 수 있습니다. 불꽃이 튀면 배터리 가스가 폭발하여 부상을 당할 수 있습니다.
항상 음극(검은색) 배터리 케이블을 분리한 다음 양극(적색) 케이블을 분리하십시오.
항상 양극(적색) 배터리 케이블을 연결한 다음 음극(검은색) 케이블을 연결하십시오.
배터리 단자 또는 금속 공구는 금속 장비 부품에 합선을 일으켜 불꽃이 튈 수 있습니다. 불꽃이 튀면 배터리 가스가 폭발하여 부상을 당할 수 있습니다.
배터리를 제거하거나 설치할 때 배터리 단자가 장비의 금속 부품에 접촉하지 않도록 하십시오.
금속 공구가 배터리 단자와 장비의 금속 부품 사이에서 합선을 유발하지 않도록 하십시오.
볼트(¼ x ⅝ 인치) 및 록너트로 양극 케이블(적색)을 양극(+) 단자에 고정합니다(그림 6).

볼트(¼ x ⅝ 인치) 및 록너트(¼ 인치)로 작은 검정색 와이어 및 음극 케이블(검정색)을 배터리의 음극(-) 단자에 고정합니다(그림 6).
부식이 생기지 않도록 단자와 장착 패스너를 바셀린으로 코팅합니다.
양극(+) 단자 위로 고무 부츠를 밀어 넣어 단락 가능성을 방지합니다.
상단 배터리 홀드 다운을 측면 배터리 홀드 다운에 설치하고 와셔 및 윙 너트로 고정합니다.
이 절차를 수행하는 데 필요한 부품:
| 필요 시 전방 웨이트 키트 | – |
이 장비는 ANSI B71.4-2017에 따라 설계되었습니다. 그러나, 장비에 부착 장치가 설치된 경우, 표준을 준수하기 위해 추가 웨이트가 필요할 수 있습니다.
아래 차트를 이용하여 필요한 추가 웨이트 조합을 결정합니다. Toro 공식 판매 대리점에 부품을 주문합니다.
| 부착 장치 | 필요 웨이트 | 웨이트 키트 | 키트 수량 |
|---|---|---|---|
| 스파이커 키트 | 23 kg | 부품 번호 100-6442 | 1 |
| Rahn 그루머 |
Note: 모델 08705 장비에 전방 리프트 프레임 키트가 장착된 경우 웨이트 키트를 설치하지 마십시오.
웨이트 키트 설치. 웨이트 키트 설치 지침을 참조하십시오.
이 절차를 수행하는 데 필요한 부품:
| 경고 데칼 | 1 |
CE 규정 준수가 필요한 장비의 경우 콘솔 데칼(부품 번호 132-4422)의 하단 부위에 CE 경고 데칼(부품 번호 136-6164)을 부착합니다.

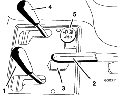
트랙션 페달(그림 9)은 장비 전진, 장비 후진, 장비를 정지시키는 3가지 기능이 있습니다. 우측 풋 페달의 힐과 토를 사용하여 페달의 상단을 밟으면 전진하고 페달의 하단을 밟으면 후진하거나 전진 중 정지하도록 돕습니다(그림 10). 페달을 이동하거나 중립 위치로 이동하여 장비를 정지시킵니다.
Important: 장비를 앞으로 운전할 때, 풋 레스트에 뒤꿈치를 놓으십시오. 트랙션 페달의 후진 패드에 뒤꿈치를 놓지 마십시오.


트랙션 페달을 밟는 정도에 따라 이동 속도가 변합니다. 최고 이동 속도로 주행하려면, 스로틀을 FAST(고속) 위치에 놓고 페달을 완전히 밟습니다. 최고의 출력을 얻으려는 경우 또는 언덕을 오를 경우, 페달을 약간 밟으면서 스로틀을 FAST(고속) 위치에 놓아 엔진을 고속으로 유지하십시오. 엔진 속도가 줄어들 때 페달을 살짝 놓으면 속도가 증가합니다.
Important: 출력을 최대로 높이려면 스로틀을 FAST(고속) 위치로 이동하고 트랙션 페달을 살짝 밟으십시오.
Important: 작업 구역 사이를 운전할 경우에만 최고 이동 속도를 사용하십시오.부착 장치가 장착되어 있거나 견인할 경우 최고 속도를 사용하지 마십시오.
Important: 부착 장치를 내린 상태(작동 위치)에서 장비를 후진시키지 마십시오. 부착 장치가 심각하게 손상될 수 있습니다.
엔진 시동과 정지에 사용되는 시동 스위치(그림 11)의 위치는 OFF(꺼짐), RUN(작동) 및 START(시동)의 3곳입니다. 키를 시계 방향으로 START(시동) 위치로 돌리면 시동 모터가 작동합니다. 엔진이 시동될 때 키를 놓으면, 키가 ON(켜짐) 위치로 이동합니다. 엔진을 멈추려면 키를 시계 반대 방향으로 꺼짐 위치까지 돌립니다.

엔진을 냉간 시동하려면 초크 컨트롤(그림 11)을 CLOSED(닫힘) 위치로 이동해 카뷰레터 초크를 닫습니다. 엔진을 시동한 다음 초크를 조정하여 엔진이 부드럽게 작동하도록 합니다. 최대한 빨리 초크를 OPEN(열림) 위치로 내려 초크를 엽니다. 열간 엔진에는 초킹이 거의 필요하지 않습니다.
스로틀 컨트롤 레버(그림 11)는 스로틀 연결 장치를 카뷰레터에 연결하고 작동시킵니다. 컨트롤에는 SLOW(저속) 및 FAST(고속)의 2가지 위치가 있습니다. 2개의 설정을 사용하여 엔진 속도를 변경할 수 있습니다.
Note: 스로틀 컨트롤을 사용하여 엔진을 정지시킬 수 없습니다.
부착 장치를 들어 올리려면 리프트 레버(그림 12)를 뒤로 당깁니다. 부착 장치를 내리려면 레버를 앞으로 밉니다. FLOAT(플로팅) 위치로 놓으려면 레버를 멈춤쇠 위치로 이동시킵니다. 원하는 위치를 얻으려면 레버를 놓고 중립으로 되돌립니다.

Note: 장비에는 복동 리프트 실린더가 있습니다. 특정 작동 조건을 위해 부착 장치를 아래로 누를 수 있습니다.
주차 브레이크(그림 12)를 체결하려면 주차 브레이크 레버를 뒤로 당깁니다. 해제하려면 레버를 앞으로 밉니다.
Note: 트랙션 페달을 천천히 앞뒤로 돌려 주차 브레이크를 해제해야 할 수도 있습니다.
아워 미터(그림 12)는 장비의 총 작동 시간을 표시합니다. 키 스위치를 ON(켜짐) 위치로 돌리면 아워 미터가 작동을 시작합니다.
시트 전방의 좌측 레버를 움직여 시트를 원하는 위치로 밀고(그림 13) 레버를 놓아 시트를 제자리에 고정합니다.

트레일러에 장치를 보관하거나 이동시키려면 연료 차단 밸브(그림 14)를 닫습니다.

Note: 규격과 설계는 통보 없이 변경될 수 있습니다.
| 부착 장치 제외 폭 | 148 cm |
| 레이크 포함 폭, 08751 모델 | 191 cm |
| 부착 장치 제외 길이 | 164 cm |
| 높이 | 115 cm |
| 휠베이스 | 109 cm |
| 순중량 | |
| 08703 모델 | 452 kg |
| 08705 모델 | 461 kg |
Toro가 승인한 부착 장치와 액세서리를 사용하여 장비의 성능을 확장하거나 향상시킬 수 있습니다. 승인된 부착 장치와 액세서리 전체 목록을 보려면 지정 서비스점이나 Toro 지정 판매 대리점에 연락하거나 www.Toro.com을 방문하십시오.
장비를 최적 성능으로 사용하거나 안전 인증을 계속 보장 받으려면 순정 Toro 교체 부품과 액세서리만 사용하십시오. 다른 제조사에서 만든 교체 부품 및 액세서리는 위험할 수 있으며, 그러한 제품을 사용하면 제품 보증이 무효가 될 수 있습니다.
장비를 평지에 주차하고, 주차 브레이크를 체결하고, 엔진을 끕니다. 그런 다음 키를 빼고 모든 움직임이 멈출 때까지 기다려 장비에서 내립니다.
아이들이나 교육받지 않은 사람이 장비를 운전하거나 정비하는 것은 절대로 허용하지 마십시오. 현지 규정에 의해 작업자의 나이가 제한될 수 있습니다. 소유자는 모든 작업자 및 기술자를 교육할 책임이 있습니다.
장비 안전 운전, 작업자 제어 장치 및 안전 표시를 잘 알아 두십시오.
장비를 정지하고 엔진을 즉시 멈추는 방법을 숙지하십시오.
운전자 감지 제어 장치, 안전 스위치 및 차폐 장치가 제대로 부착되어 작동하고 있는지 확인하십시오. 이들 장치가 제대로 작동하지 않으면 운전하지 마십시오.
작동하기 전에, 항상 장비를 점검하여 부품 및 패스너가 양호한 작동 상태에 있는지 확인하십시오. 마모되거나 손상된 부품 및 패스너를 교환하십시오.
장비를 사용할 장소를 점검하고 장비에서 튀어나올 수 있는 모든 물체를 제거하십시오.
연료를 다룰 때에는 특히 주의하십시오. 가연성이 있고 증기가 폭발할 수 있기 때문입니다.
일반 담배, 시가, 파이프 담배 및 그 밖의 점화원을 모두 제거하십시오.
승인된 연료 용기만 사용하십시오.
엔진이 작동 중이거나 뜨거운 상태에서 연료 캡을 제거하거나 연료 탱크에 급유하지 마십시오.
밀폐된 공간에서는 연료를 추가하거나 비우지 마십시오.
온수기나 기타 기구 등 노출된 화염, 불꽃, 점화용 불씨 등이 있는 곳에는 장비나 연료통을 보관하지 마십시오.
연료를 엎질렀을 때에는 엔진을 시동하지 말고 연료 증기가 사라질 때까지 발화원이 생기지 않도록 하십시오.
연료 탱크 용량: 25 L
권장 연료:
최상의 결과를 얻으려면 깨끗하고 오래되지 않은(30일 이내), 옥탄가가 87 이상((R+M)/2 평가 방식)인 무연 휘발유만 사용하십시오.
에탄올: 부피를 기준으로 최대 10% 에탄올(휘발유) 또는 15% MTBE(메틸 t-부틸 에테르)를 함유한 가솔린만 허용됩니다. 에탄올과 MTBE는 동일한 물질이 아닙니다. 부피 기준으로 15% 에탄올(E15)이 포함된 가솔린은 사용하도록 승인되지 않았습니다. E15(15% 에탄올 함유), E20(20% 에탄올 함유), E85(85% 에탄올 함유) 등과 같이 체적당 에탄올이 10% 이상 함유된 휘발유는 절대로 사용하지 마십시오. 승인되지 않은 가솔린을 사용하면 성능 문제 및/또는 엔진 손상의 원인이 될 수 있으며 이러한 엔진 손상은 보증 수리를 받을 수 없습니다.
메탄올을 함유한 가솔린은 사용하지 마십시오.
겨울철에는 절대로 연료 탱크나 연료 컨테이너에 연료를 보관하지 마십시오(단, 연료 안정제를 사용한 경우는 예외임).
오일을 가솔린에 첨가하지 마십시오.
Important: 연료 안정제/컨디셔너 이외의 연료 첨가제는 사용하지 마십시오. 연료 안정제를 에탄올, 메탄올, 이소프로판올 등의 알코올 기반 물질과 함께 사용하지 마십시오.
연료 탱크 캡 주변을 청소합니다(그림 15).
연료 탱크 캡을 제거합니다.
탱크 상단 약 25 mm 아래까지 탱크를 채웁니다(주입구 하단). 오일을 과도하게 보충하지 마십시오.

캡을 장착합니다.
화재 위험을 방지하기 위해 흘린 연료를 닦아 내십시오.
Important: 연료 시스템이 손상될 수 있으므로 메탄올, 메탄올 함유 휘발유, 에탄올 10% 이상 함유 휘발유를 절대로 사용하지 마십시오. 오일을 휘발유에 혼합하지 마십시오.
장비를 운전하기 전에 다음과 같은 일상 절차를 수행하십시오.
| 유지보수 서비스 간격 | 유지보수 절차 |
|---|---|
| 매번 사용하기 전 또는 매일 |
|
안전 인터록 스위치가 분리되거나 손상될 경우, 장비가 예상치 않게 작동하고 부상을 유발할 수 있습니다.
인터록 스위치를 함부로 만지지 마십시오.
인터록 스위치의 작동 상태를 매일 점검하고 손상된 스위치가 있으면 장비를 운전하기 전에 교체하십시오.
인터록 시스템의 목적은 트랙션 페달이 NEUTRAL(중립) 위치에 있지 않는 한 엔진이 크랭킹 또는 시동되지 않도록 하는 것입니다. 또한 트랙션 페달이 전진 또는 후진 위치에 있지만 운전자가 착석하지 않으면 엔진을 정지시킵니다.
장비를 잔해물 및 주변 사람이 없는 넓은 구역에 놓습니다. 엔진을 끕니다.
운전석에 앉아 주차 브레이크를 겁니다.
엔진의 시동을 걸면서 트랙션 페달을 전진 및 후진 위치로 누릅니다.
Note: 엔진이 크랭킹되면 인터록 시스템 고장일 수 있습니다. 즉시 수리하십시오.엔진이 크랭킹되지 않으면 시스템이 정상 작동하는 것입니다.
시트에 않은 상태에서 트랙션 페달을 NEUTAL(중립) 위치에 놓고, 주차 브레이크를 체결하고, 엔진을 시동합니다.
시트에서 일어나서 트랙션 페달을 천천히 밟습니다.
Note: 1~3초 후에 엔진이 꺼져야 합니다. 시스템이 적절하게 작동하지 않으면 문제를 수정합니다.
Note: 정상 운전 위치에서 장비의 좌측과 우측을 판단하십시오.
소유자/작업자는 사람이 다치거나 재산이 손상되는 사고를 막을 수 있으며, 이에 대해 책임이 있습니다.
보안경, 잘 미끄러지지 않는 튼튼한 안전화, 긴 바지, 청력 보호구 등을 포함하여, 적절한 의복을 착용하십시오. 긴 머리는 뒤로 묶고 헐렁한 보석류는 착용하지 마십시오.
아프거나 지친 상태, 또는 음주나 약물 복용 후에는 장비를 운전하지 마십시오.
장비에 탑승자를 태우지 말고, 작업 중에는 지나가는 사람이나 애완 동물이 장비에 가까이 오지 못하게 하십시오.
시야가 잘 보이는 곳에서만 장비를 운전하고 움푹 패인 곳이나 숨겨진 위험 요소를 피하십시오.
젖은 잔디에서 작동하지 마십시오. 구동력이 감소하여 장비가 미끌어질 수 있습니다.
엔진을 시동하기 전에 모든 구동 장치가 중립 위치에 있고 주차 브레이크가 걸려 있는지 확인하고, 운전 위치에 앉으십시오.
후진 시에는 후방과 아래쪽을 주시하여 장애물이 없는지 확인하십시오.
사각 지대, 관목, 나무 또는 그 외의 시야를 방해하는 물체에 접근할 때에는 주의하십시오.
급경사면, 도랑 또는 둑 근처에서는 작동하지 마십시오. 바퀴가 가장자리를 넘어가거나 가장자리가 함몰하면 장비가 갑자기 뒤집힐 수 있습니다.
물체와 충돌하거나 장비에서 비정상적인 진동이 느껴지면 장비를 정지시키고 부착 장치를 점검합니다. 다시 작동하기 전에 필요한 모든 수리를 시행하십시오.
방향을 바꾸거나 장비를 가지고 차도나 인도를 건널 때에는 속도를 줄이고 주의를 기울이십시오. 항상 다른 차량에 양보하십시오.
배기 가스가 갇혀 있는 공간에서는 엔진을 작동하지 마십시오.
장비를 작동한 채 자리를 뜨지 마십시오.
운전석을 떠나기 전에 다음 절차를 수행하십시오.
장비를 평지에 주차합니다.
부속 장치를 아래로 내립니다.
주차 브레이크를 체결합니다.
엔진을 끄고 키를 뺍니다.
움직이는 모든 부품이 정지할 때까지 기다립니다.
번개가 칠 위험이 있는 상태에서는 장비를 운전하지 마십시오.
장비를 견인 차량으로 사용하지 마십시오.
먼지 발생을 최소화하기 위해 필요한 경우 컨디셔닝 작업 전에 표면에 물을 뿌립니다.
Toro가 승인한 액세서리, 부착 장치 및 교체 부품만 사용하십시오.
경사로 작업을 위한 자체 작업 절차 및 규칙을 정하십시오. 이런 절차에는 시설을 측량하여 경사지가 장비 운전에 안전한지 판단하는 것이 포함되어야 합니다. 측량할 때 항상 상식과 좋은 판단력을 사용하십시오.
통제력을 잃거나 뒤집혀서 심하게 다치거나 사망하는 사고는 주로 비탈길에서 일어납니다. 작업자는 경사로 작업을 안전하게 할 책임이 있습니다. 비탈길에서 장비를 운전할 때에는 특별히 주의해야 합니다.
통제력을 잃거나 넘어져 심하게 다치거나 사망하는 사고는 주로 비탈길에서 일어납니다. 비탈길에서 장비를 운전할 때에는 특별히 주의해야 합니다.
경사로에서는 장비를 운전하는 속도를 줄이십시오.
비탈길에 장비를 운전하는 데 불안을 느끼면 운전하지 마십시오.
파인 부분, 바퀴 자국, 융기, 돌, 그 밖의 숨겨진 물체에 주의하십시오. 지형이 고르지 않으면 장비가 뒤집힐 수 있습니다. 잔디가 길어서 장애물이 보이지 않을 수 있습니다.
저속으로 이동하면 경사로에서 멈추거나 기어를 변속할 필요가 없습니다.
타이어가 구동력을 잃기 전에 전복될 수 있습니다.
젖은 잔디에서는 장비를 운전하지 마십시오. 타이어가 구동력을 잃을 수 있습니다. 브레이크를 사용할 수 있고 제대로 작동될 경우에도 마찬가지입니다.
경사로에서는 장비를 시동하거나 정지하거나 회전하지 마십시오.
경사로에서는 모든 움직임은 천천히 점진적으로 하십시오. 장비의 속도나 방향은 갑자기 변경하지 마십시오.
급경사면, 도랑, 둑 또는 물 근처에서는 장비를 작동하지 마십시오. 바퀴가 가장자리를 넘어가거나 가장자리가 함몰하면 장비가 갑자기 뒤집힐 수 있습니다. 장비와 위험 요소 사이에 안전 영역을 정하십시오(장비의 양쪽 폭).
트랙션 페달에서 발을 떼고 페달을 NEUTRAL(중립) 위치에 놓고 주차 브레이크를 체결합니다.
초크 레버를 ON(켜짐) 위치로 앞으로 밀고(냉간 엔진 시동 시), 스로틀 레버를 SLOW(저속) 위치로 밉니다.
Important: 0°C 이하에서 장비를 운전할 때 사용하기 전에 장비를 워밍업시킵니다. 이렇게 하면 누수 검출기 및 트랙션 루프의 손상을 방지합니다.
키를 점화 스위치에 꽂고 시계 방향으로 돌려 엔진을 시동합니다. 엔진이 시동되면 키를 놓습니다.
Note: 초크를 조정하여 엔진이 부드럽게 작동하도록 합니다.
Important: 스타터 모터의 과열을 방지하려면 스타터를 10초 이상 돌리지 마십시오. 10초 동안 연속 크랭킹을 했다면 60초 정도 기다린 다음 스타터 모터를 다시 체결하십시오.
엔진을 끄려면 스로틀 컨트롤을 SLOW(저속) 위치로 이동하고 OFF(꺼짐) 위치로 점화 키를 돌립니다.
Note: 시동 스위치에서 키를 빼서 우발적으로 시동이 걸리는 것을 방지합니다.
장비를 보관하기 전에 연료 차단 밸브를 닫습니다.
엔진이 작동하는 중에 장비를 점검하면 손상을 유발할 수 있습니다.
엔진을 끄고 움직이는 모든 부품이 정지할 때까지 기다린 다음 오일 누출, 느슨한 부품, 기타 고장을 점검하십시오.
새로운 엔진이 최대 출력을 제공하려면 시간이 필요합니다. 새로운 구동 시스템은 마찰력이 더 높으므로 엔진에 추가적인 부하를 가합니다.
처음 8시간 동안 장비를 길들입니다.
초기 작동 시간은 미래 장비의 신뢰성에 매우 중요하기 때문에 기능 및 성능을 긴밀하게 모니터링하면 심각한 문제로 이어질 수 있는 사소한 문제를 감지하고 수정할 수 있습니다. 장비를 길들이는 동안, 오일 누출 흔적은 없는지 패스너가 느슨하지는 않은지 그 밖의 다른 고장은 없는지 자주 점검하십시오.
부착 장치의 특정 작동 지침과 관련하여 부착 장치 사용 설명서를 참조하십시오.
일부 다목적 차량과는 작동 특성이 다르므로 장비 운전을 연습하십시오. 차량을 운전할 때 고려해야 할 2가지 요소는 변속기 속도 및 엔진 속도입니다.
일정한 엔진 속도를 유지하려면 트랙션 페달을 천천히 밟으십시오. 이렇게 하면 엔진이 차량의 이동 속도를 유지할 수 있습니다. 반대로 트랙션 페달을 빠르게 누르면 엔진 속도가 줄어들어 차량을 움직이기에 충분한 토크 파워를 얻지 못합니다. 따라서 휠에 최대 출력을 전달하려면 스로틀을 FAST(고속) 위치에 놓고 트랙션 페달을 천천히 밟으십시오. 반대로 스로틀이 FAST(고속) 위치에 있을 때 트랙션 페달을 천천히 그렇지만 끝까지 밟으면 부하가 없는 최고 이동 속도를 얻습니다. 최대치 토크 출력을 휠에 전달하기에 충분하도록 항상 엔진 속도를 높게 유지하십시오.
장비를 운전할 때에는 차량이 전복되거나 제어력을 상실하지 않도록 주의를 기울여야 합니다.
벙커에 들어가고 나올 때에는 조심하십시오.
도랑, 개울 또는 기타 위험 지대에서는 매우 조심하십시오.
가파른 경사로에서 장비를 운전할 때 주의하십시오.
갑자기 방향을 바꾸거나 경사로에서 방향을 바꿀 때는 속도를 줄이십시오.
급정지나 급출발을 피하십시오.
완전히 멈출 때까지 기다린 다음 후진에서 완전한 전진으로 바꾸십시오.
Note: 부속 장치 어댑터가 트랙션 유닛 어댑터에 걸리면 프라이 슬롯에 쇠지레 또는 드라이버를 끼워서 부품을 분리하십시오(그림 16).

장비를 평지에 주차하고, 주차 브레이크를 체결하고, 엔진을 끕니다. 그런 다음 키를 빼고 모든 움직임이 멈출 때까지 기다려 장비에서 내립니다.
머플러 및 엔진 구획에서 잔디와 잔해물을 청소하여 화재를 방지하십시오. 흘린 오일이나 연료를 청소하십시오.
장비를 밀폐된 곳에 보관하기 전에 엔진을 식히십시오.
장비를 보관하거나 운송하기 전에 연료를 차단하십시오.
노출된 화염, 불꽃, 온수기나 기타 기구의 점화용 불씨가 있는 곳에는 절대로 장비나 연료통을 보관하지 마십시오.
장비의 모든 부품을 양호한 작동 상태로 관리하고 모든 하드웨어를 조여진 상태로 관리하십시오.
닳거나 손상되거나 없는 데칼은 교체하십시오.
긴급 상황 시, 장비를 단거리 견인할 수 있습니다. 그러나 이를 표준 절차로 간주하면 안 됩니다.
Important: 구동 시스템이 손상될 수 있으므로 장비를 시속 1.6 km 이상으로 견인하지 마십시오. 장비를 50 m 이상 운반할 경우 트럭이나 트레일러로 운반하십시오. 장비를 너무 빨리 견인하면 타이어가 잠길 수 있습니다. 타이어가 잠기면 장비의 견인을 중단하고 저속 견인을 재개하기 전에 트력션 회로 압력이 안정화될 때까지 기다립니다.
트레일러나 트럭에 장비를 싣는 경우 전폭 램프를 사용하십시오.
장비를 단단히 결박하십시오.
Note: 장비의 전기 도면이나 유압 도면을 구하려면, www.Toro.com을 방문하십시오.
장비를 조정하거나 청소하거나 수리하기 전에, 또는 장비에서 내리기 전에 다음을 하십시오.
장비를 평지에 주차합니다.
스로틀 레버를 저속 공회전 위치로 이동합니다.
부속 장치를 아래로 내립니다.
트랙션이 중립인지 확인합니다.
주차 브레이크를 체결합니다.
엔진을 끄고 키를 뺍니다.
움직이는 모든 부품이 정지할 때까지 기다립니다.
장비를 관리하기 전에 장비 구성 부품을 식히십시오.
가능하다면, 엔진 작동 중에는 장비를 정비하지 마십시오. 움직이는 부품에서 떨어지십시오.
필요 시 잭 스탠드를 사용하여 장비나 구성품을 받치십시오.
에너지가 축적된 부품의 압력을 조심스럽게 해제하십시오.
| 유지보수 서비스 간격 | 유지보수 절차 |
|---|---|
| 처음 8시간 후 |
|
| 매번 사용하기 전 또는 매일 |
|
| 매번 사용 후 |
|
| 매 25시간 |
|
| 매 100시간 |
|
| 매 200시간 |
|
| 매 500시간 |
|
| 매 800시간 |
|
| 매 1,000시간 |
|
| 매 1,500시간 |
|
| 매 2,000시간 |
|
Note: 정상 운전 위치에서 장비의 좌측과 우측을 판단하십시오.
시동 스위치에 키를 꽂아 두면 누군가 우발적으로 엔진을 작동시켜 운전자나 주변에 있는 사람에게 중상을 입힐 수 있습니다.
유지보수 작업을 하기 전에 점화 장치에서 키를 빼십시오.
Important: 이 장비 커버의 패스너는 분리 후 커버에 남아 있도록 제작되었습니다. 몇 바퀴 돌려 각 커버의 모든 패스너를 풀어서 커버가 느슨해지지만 여전히 부착되어 상태로 만든 다음 커버가 분리될 때까지 다시 풉니다. 이렇게 하면 리테이너에서 볼트가 실수로 벗겨지지 않습니다.
본 장비에는 작동 100시간마다 No.2 리튬계 그리스로 정기적으로 윤활해야 하는 그리스 피팅이 있습니다.
다음 베어링 및 부싱을 윤활 처리하십시오.
전방 휠 베어링(1)(그림 19)

트랙션 페달 피벗(1)(그림 20)

후방 히치(5)(그림 21)

스티어링 실린더 로드 엔드(1) - 08705 모델 전용(그림 22)

스티어링 피벗(그림 23)
Note: 스티어링 피벗의 플러시 피팅(그림 23)에는 그리스 검 노즐 어댑터가 필요합니다. Toro 공식 판매 대리점에서 Toro 부품 번호가 107-1998인 부품을 주문하십시오.

| 유지보수 서비스 간격 | 유지보수 절차 |
|---|---|
| 매 100시간 |
|
그리스 피팅을 깨끗하게 닦아 이물질이 베어링이나 부싱에 밀려 들어가지 못하게 합니다.
베어링이나 부싱에 그리스를 주입합니다.
삐져나온 그리스를 닦아냅니다.
오일을 점검하거나 크랭크케이스에 오일을 보충하기 전에 엔진을 끄십시오.
엔진 조속기 속도를 변경하거나 엔진 속도를 과도하게 올리지 마십시오.
다음 규격을 충족하는 고품질 엔진 오일을 사용하십시오.
API 분류 등급: SL 등급 이상
오일 점도: SAE 30— 4°C 이상
| 유지보수 서비스 간격 | 유지보수 절차 |
|---|---|
| 매번 사용하기 전 또는 매일 |
|
엔진은 크랭크케이스에 오일을 채운 상태로 출하됩니다. 하지만, 엔진을 처음 시동하기 전과 후에 반드시 오일 레벨을 점검해야 합니다.
평지에 장비를 주차하고, 엔진을 끄고, 주차 브레이크를 체결한 다음 키를 뺍니다.
시트를 앞으로 돌려서 올립니다.
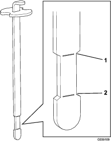
계량봉을 빼서 깨끗한 천으로 닦습니다(그림 24).

튜브에 계량봉을 넣고 완전히 안착시킵니다. 계량봉을 튜브에서 빼내서 오일 레벨을 확인합니다. 오일 레벨이 낮으면 밸브 커버에서 주입구 캡을 제거한 다음 충분한 지정 오일을 보충하여 오일 레벨이 계량봉의 Full(가득) 표시까지 올라가도록 합니다.
Important: 계량봉의 상단 및 하단 마크 사이에 오일이 유지되도록 하십시오. 엔진 오일을 과도 주입 또는 과소 주입하면 작동 중 엔진이 손상될 수 있습니다.
계량봉을 제자리에 끼웁니다.
Important: 튜브에 계량봉을 완전히 끼워서 엔진 크랭크케이스를 적절하게 밀봉해야 합니다. 크랭크케이스를 밀봉하지 않으면 엔진 손상을 유발할 수 있습니다.
시트를 뒤로 돌려서 내립니다.
| 유지보수 서비스 간격 | 유지보수 절차 |
|---|---|
| 매 100시간 |
|
크랭크케이스 오일 용량: 필터 포함 약 1.66 L.
평지에 장비를 주차하고, 엔진을 끄고, 주차 브레이크를 체결한 다음 키를 뺍니다.
드레인 플러그(그림 25)를 제거하여 오일을 드레인 팬으로 흘려 보냅니다. 오일이 멈추면 드레인 플러그를 설치합니다.

오일 필터를 제거합니다(그림 25).
새로운 필터 개스킷에 깨끗한 오일을 가볍게 바릅니다.
개스킷이 필터 어댑터에 완전히 닿을 때까지 손으로 필터를 끼운 다음 1/2~3/4 바퀴 더 돌려 조입니다.
Important: 필터를 과도하게 조이지 마십시오.
지정 오일을 크랭크케이스 보충합니다. 엔진 오일 레벨 점검을 참조하십시오.
사용한 오일을 적절하게 폐기합니다.
| 유지보수 서비스 간격 | 유지보수 절차 |
|---|---|
| 매 200시간 |
|
공기 누출을 유발할 수 있는 손상이 없는지 에어 클리너 바디를 점검하십시오. 손상된 부품을 교체하십시오. 흡입 시스템 전체에 걸쳐 누출, 손상 또는 느슨한 호스 클램프 유무를 점검하십시오.
필요하지 않으면 에어 필터를 교환하지 마십시오. 필터를 제거하면 엔진에 먼지가 들어갈 가능성이 있는 경우에만 교환하십시오.
커버가 올바르게 장착되고 에어 클리너 바디를 밀봉하는지 확인하십시오.
| 유지보수 서비스 간격 | 유지보수 절차 |
|---|---|
| 매 200시간 |
|
에어 클리너 커버를 에어 클리너 바디에 고정하는 래치를 풉니다(그림 26).

에어 클리너 바디에서 커버를 분리합니다.
필터를 빼기 전에 저압의 공기(2.75 bar, 깨끗하고 건조함)로 기본 필터 바깥쪽과 캐니스터 사이에 들어찬 커다란 잔해물 덩어리를 제거합니다.
Important: 먼지가 필터를 통해 유입관에 들어갈 수 있으므로 고압 에어를 사용하지 마십시오. 이렇게 청소하면 기본 필터를 제거했을 때 잔해물이 유입구로 흘러가는 것을 방지합니다.
필터를 제거하고 교환합니다.
Note: 새 필터에 운송 중 손상이 없는지 검사하고 필터 및 본체의 밀봉 말단을 점검합니다. 손상된 엘리먼트는 사용하지 마십시오. 엘리먼트 외부 림에 압력을 가하여 새로운 필터를 끼우고 캐니스터에 안착시킵니다. 필터 가운데 부분은 변형될 수 있으므로 압력을 가하지 마십시오.
Note: 사용한 에어 필터 엘리먼트를 청소하는 것은 필터 여과재를 손상시킬 수 있기 때문에 권장하지 않습니다.
분리형 커버에 있는 먼지 배출 포트를 청소합니다.
덮개에서 고무 배출 밸브를 분리한 다음 구멍을 청소하고 배출 밸브를 교체합니다.
끝에서 볼 때 약 5시에서 7시 사이에서 고무 유출 밸브를 보도록 커버를 아래쪽으로 장착합니다.
래치를 고정합니다.
| 유지보수 서비스 간격 | 유지보수 절차 |
|---|---|
| 매 100시간 |
|
유형: Champion RC14YC(또는 동종품)
공극: 0.76 mm
Note: 일반적으로 점화 플러그는 장시간 견디지만 엔진이 고장나면 항상 분리하여 점검해야 합니다.
점화 플러그를 분리할 때 실린더에 이물질이 떨어지지 않도록 모든 점화 플러그 주변을 청소합니다.
점화 플러그 와이어를 점화 플러그에서 당겨 빼낸 후 실린더 헤드에서 플러그를 제거합니다.
측면 전극, 중앙 전극 및 절연체의 상태를 점검하여 손상되지 않았는지 확인합니다.
Important: 금이 가거나, 상태가 안 좋거나, 더럽거나 기타 고장난 점화 플러그를 교체하십시오. 플러그에서 모래가 실린더로 떨어져 엔진이 고장날 수 있으므로 전극을 샌드 블라스팅하거나, 긁거나, 와이어 브러시를 이용하여 청소하지 마십시오.
중앙 전극과 측면 전극 사이의 공극을 0.76 mm로 설정하십시오. 그림 27을 참조하십시오. 개스킷 씰로 정확한 공극을 지닌 점화 플러그를 장착하고 23 N∙m로 플러그를 조입니다. 토그 렌치를 사용하지 많으며 플러그를 견고하게 고정합니다.

| 유지보수 서비스 간격 | 유지보수 절차 |
|---|---|
| 매 500시간 |
|
인라인 필터가 연료 라인에 통합되어 있습니다. 교환이 필요하면 다른 절차를 따르십시오.
연료 차단 밸브를 닫고, 필터의 카뷰레터 측면에 있는 호스 클램프를 풀고 필터에서 연료 라인을 분리합니다(그림 28).

필터 아래에 드레인 팬을 놓고, 나머지 호스 클램프를 느슨하게 한 다음 필터를 제거합니다.
필터 바디의 화살표가 연료 탱크의 반대쪽을 가리키도록 하여 새 필터를 장착합니다(카뷰레터 방향).
연료 라인의 끝에 호스 클램프를 밀어 넣습니다.
연료 필터에 연료 라인을 밀어 넣고 호스 클램프로 고정합니다.
Note: 필터 측면의 화살표가 카뷰레터 쪽을 향하도록 하십시오.
| 유지보수 서비스 간격 | 유지보수 절차 |
|---|---|
| 매 500시간 |
|
지면에서 우측 후방 타이어를 들어 올리고 잭 스탠드로 장비를 지지합니다.
휠을 허브에 고정하는 휠 너트 4개를 제거하고 휠과 타이어를 분리합니다(그림 29).

휠 보호판을 장비 프레임에 고정하는 플랜지 캡나사(¼ x ⅝ 인치) 4개를 제거합니다(그림 30).

콘솔 하단 안쪽 모서리에 접근하여 카본 캐니스터 필터를 후방으로 당기고 카본 캐니스터 끝에서 호스를 당겨 빼냅니다(그림 31).

카본 캐니스터 끝에 있는 호스에 새로운 카본 캐니스터 필터를 끼웁니다 (그림 31).
휠 보호판의 구멍을 장비 프레임과 맞추고(그림 30) 3단계에서 제거한 플랜지 캡나사(¼ x ⅝ 인치) 4개로 보호판을 프레임에 고정합니다.
2단계에서 제거한 휠 너트 4개로 타이어 및 휠을 휠 허브의 스터드에 조립하고(그림 29) 손으로 너트를 조입니다.
잭 스탠드를 분리하고 지면으로 장비를 내립니다.
휠 너트를 조입니다. 휠 러그 너트의 토크 조임을 참조하십시오.
장비를 수리하기 전에 배터리 연결을 해제하십시오. 먼저 음극 단자의 연결을 해제한 다음 양극 단자의 연결을 해제하십시오. 먼저 양극 단자를 연결한 다음 음극 단자를 마지막으로 연결하십시오.
불똥이나 화염이 없으며 통풍이 잘 되는 개방된 곳에서 배터리를 충전하십시오. 충전기를 배터리에 연결하거나 연결 해제하기 전에 충전기 플러그를 뽑으십시오. 보호복을 입고 절연된 도구를 사용하십시오.
장비의 점프 시동을 걸어야 할 경우, 배터리 양극(+) 포스트 대신에 대체 양극(+) 포스트(스타터 솔레노이드에 위치)를 사용할 수 있습니다(그림 32).

시트 아래에 퓨즈 블록이 있습니다(그림 33).

| 유지보수 서비스 간격 | 유지보수 절차 |
|---|---|
| 매 25시간 |
|
적절한 배터리 전해질 레벨을 유지하고 배터리 상부를 청결하게 관리하십시오. 온도가 매우 높은 곳에 장비를 보관하면 서늘한 곳에 장비를 보관하는 경우에 비해 배터리가 더 빨리 방전됩니다.
암모니아 또는 베이킹 소다 용액에 적신 브러시로 정기적으로 세척하여 배터리 상부를 깨끗하게 유지하십시오. 청소 후 물로 상부 표면을 세척하십시오. 청소 중 주입구 캡을 제거하지 마십시오.
배터리 케이블을 단자에 잘 고정하여 전기 접촉을 양호하게 유지하십시오.
배터리 단자가 부식되면 케이블을 (음극(–) 케이블 먼저) 분리하고, 클램프와 단자를 따로따로 긁어 내십시오. 케이블을 연결하고(양극(+) 케이블 먼저 연결) 단자에 바셀린을 바르십시오.
25시간마다 전해액 레벨을 점검하거나 장비를 보관할 경우 30일마다 점검하십시오.
증류수 또는 탈염수로 셀 레벨을 유지하십시오. Fill(가득 참) 라인 이상으로 셀을 충전하지 마십시오.
| 유지보수 서비스 간격 | 유지보수 절차 |
|---|---|
| 매번 사용하기 전 또는 매일 |
|
장비를 작동하기 전에 타이어 공기압을 점검합니다(그림 34). 전방 및 후방 타이어의 정확한 공기압은 다음과 같습니다.
트레드 타이어: 70 kPa
Note: 블레이드 작업을 위한 추가 구동력이 필요할 경우, 압력을 55 kPa로 줄입니다.
스무스 타이어: 55~70 kPa

| 유지보수 서비스 간격 | 유지보수 절차 |
|---|---|
| 처음 8시간 후 |
|
| 매 100시간 |
|
95~122 N·m로 러그 너트를 조입니다.
트랜션 페달이 중립 위치에 있을 때 장비가 움직이면 트랙션 캠을 조정합니다.
평지에 장비를 주차하고, 엔진을 끄고, 주차 브레이크를 체결한 다음 키를 뺍니다.
중앙 보호판을 장비에 고정하는 나사 2개를 풀고 보호판을 분리합니다(그림 35).

전방 휠과 후방 휠 1개를 바닥에서 들어 올리고 프레임 아래에 지지 블록을 놓습니다.
전방 휠 및 후방 휠 1개를 지면에서 들어 올리지 않으면 조정 중에 장비가 움직입니다. 장비가 움직여서 떨어지면 장비 아래의 작업자가 다칠 수 있습니다.
전방 휠 및 후방 휠 1개를 지면에서 들어 올린 상태에서 장비를 적절하게 지탱해야 합니다.
트랙션 조정 캠의 록너트를 풉니다(그림 36).

엔진을 작동시켜야 트랙션 조정 캠의 최종 조정을 수행할 수 있습니다. 움직이는 부품이나 뜨거운 표면을 만지면 부상을 당할 수 있습니다.
손, 발, 얼굴 등 신체 부위를 회전 부품, 머플러 및 기타 뜨거운 표면에 가까이 하지 마십시오.
엔진을 시동하걸고 캠 헥스(그림 36)를 양쪽으로 회전시켜 중립 스팬의 중심점을 판단합니다.
록너트를 조여 조정치를 고정합니다.
엔진을 끕니다.
중앙 보호판을 장착합니다.
잭 스탠드를 제거하여 장비를 정비소 바닥에 내려놓습니다.
장비를 시운전하여 트랙션 페달이 중립 상태일 때 움직이지 않는지 확인합니다.
변속기를 중립으로 조정합니다. 트랙션 드라이브를 중립으로 조정을 참조하십시오.
펌프 레버를 활성화하여 모든 부품이 자유롭고 작동하고 적절하게 안착되었는지 확인합니다.
공극이 0.8~2.3 mm가 될 때까지 나사를 조정합니다. 그림 36을 참조하십시오.
적절하게 작동하는지 확인합니다.
트랙션 페달은 최고 이동 속도 및 후진 속도로 조정되어 출고되지만, 펌프 레버가 최대 스트로크에 도달하기 전에 페달이 최대 스트로크에 도달할 경우, 또는 이동 속도 감소를 원햘 경우 조정이 필요할 수 있습니다.
최고 이동 속도를 얻으려면 트랙션 페달을 밟으십시오. 펌프 레버가 최대 스트로크에 도달하기 전에 페달이 스톱(그림 37)에 닿으면 다음과 같이 조정하십시오.

평지에 장비를 주차하고, 엔진을 끄고, 주차 브레이크를 체결한 다음 키를 뺍니다.
페달 스톱을 고정하는 너트를 풉니다.
페달 스톱을 트랙션 페달에 닿지 않을 때까지 조입니다.
트랙션 페달에 가벼운 부하를 계속 가하고 페달 스톱을 조정하여 거의 닿기 전까지 만들거나, 페달 로드와 스톱 사이의 간격이 2.5 mm가 되도록 합니다.
너트를 조입니다.
평지에 장비를 주차하고, 엔진을 끄고, 주차 브레이크를 체결한 다음 키를 뺍니다.
페달 스톱을 고정하는 너트를 풉니다.
원하는 이동 속도를 얻을 때까지 페달 스톱을 돌려서 뺍니다.
페달 스톱을 고정하는 너트를 조입니다.
작동 중 부착 장치가 적절하게 부동하지 않으면(지면 윤곽을 따라) 리트프 레버의 디텐트 플레이트를 조정합니다(그림 39).
평지에 장비를 주차하고, 엔진을 끄고, 주차 브레이크를 체결한 다음 휠을 굄목으로 지지합니다.
제어판을 프레임에 고정하는 나사 4개를 풉니다(그림 38).

디텐트 플레이트를 펜더와 프레임에 고정하는 볼트 2개를 풉니다.

엔진을 작동시켜야 디텐트 플레이트를 조정할 수 있습니다. 움직이는 부품이나 뜨거운 표면을 만지면 부상을 당할 수 있습니다.
손, 발, 얼굴 등 신체 부위를 회전 부품, 머플러 및 기타 뜨거운 표면에 가까이 하지 마십시오.
엔진을 시동합니다.
엔진을 작동시키고 리프트 레버를 FLOAT(플로팅) 위치에 놓은 다음 손으로 리프트 실린더를 늘렸다 줄였다 할 수 있을 때까지 디텐트 플레이트를 밀어 넣습니다.
양쪽 장착 나사를 조여 조정 위치를 고정합니다.
적절한 스로틀 작동은 스로틀 제어장치의 적절한 조정 위치에 따라 달라집니다. 카뷰레터를 조정하기 전에 스로틀 컨트롤이 올바르게 작동하는지 확인하십시오.
Important: 엔진 조속기 속도 제어장치를 조정하기 전에 스로틀 컨트롤과 초크 컨트롤을 적절하게 조정하십시오.
엔진 조속기 속도 제어장치를 조정하는 동안 엔진을 작동시켜야 합니다. 움직이는 부품이나 뜨거운 표면을 만지면 부상을 당할 수 있습니다.
이 절차를 수행하기 전에 트랙션 페달을 중립으로 놓고 주차 브레이크를 체결합니다.
손, 발, 옷 등 신체 부위를 회전 부품, 머플러 및 기타 뜨거운 표면에 가까이 하지 마십시오.
Note: 저속 공회전을 조정하려면 다음 절차를 모두 실행하십시오. 고속 공회전만 조정할 경우, 5단계를 바로 진행하십시오.
엔진을 시동하고 약 5분간 하프 스로틀로 작동시켜 워밍업합니다.
스로틀 컨트롤을 SLOW(저속) 위치로 이동합니다. 스로틀 레버와 접촉하지 않을 때까지 공회전 스톱 나사를 반시계 방향으로 조정합니다.
공회전 속도 1,675~1,175 rpm에 도달할 때까지 조속형 공회전 스프링 앵커 탱(그림 41)을 굽힙니다.
Note: 타코미터로 속도를 확인합니다.

공회전 속도가 3단계에서 설정한 공회전 속도에서 25~50 rpm 정도 초과할 때까지 공회전 스톱 나사를 조정합니다.
Note: 최종 공회전 속도는 1,650~1,850 rpm이 되어야 합니다.
스로틀 컨트롤을 FAST(고속) 위치로 이동합니다.
공회전 속도 3,350~3,450 rpm에 도달할 때까지 고속공회전 스프링 앵커 탱(그림 41)을 굽힙니다.
유압 오일이 피부에 침투하면 즉시 의학적 치료를 받으십시오. 주입된 오일은 몇 시간 내에 의사가 수술 방식으로 제거해야 합니다.
모든 유압 오일 호스 및 라인의 상태가 양호하고 모든 유압 연결부 및 피팅이 단단히 조여 있는지 확인한 후에 유압 시스템에 압력을 가하십시오.
고압의 유압 오일이 분출되는 핀 홀 누출 부위나 노즐에 손이나 신체 부위가 닿지 않게 하십시오.
유압 오일 누출 지점은 판지나 종이를 사용하여 찾으십시오.
유압 시스템에서 작업을 하는 경우 먼저 유압 시스템의 모든 압력을 배출하십시오.
| 유지보수 서비스 간격 | 유지보수 절차 |
|---|---|
| 매번 사용하기 전 또는 매일 |
|
유압 라인과 호스의 누출, 꼬인 라인, 느슨한 장착 지지대, 마모, 느슨한 부품, 기상 악화 및 화학적 노화 여부를 매일 점검하십시오. 작동 전에 필요한 모든 수리를 수행하십시오.
출고 시 유압 오일 탱크는 고품질 유압 오일로 채워져 있습니다. 엔진을 처음 시동하기 전, 그리고 그 후에는 매일 유압 오일량을 점검하십시오. 유압 오일 레벨 점검을 참조하십시오.
권장 유압 오일: Toro PX 수명 연장 유압 오일. 19 L들이 통이나 208 L들이 드럼으로 구입할 수 있습니다.
Note: 권장 교체 오일을 사용하는 장비는 오일과 필터를 교체해야 하는 빈도가 적습니다.
대체 유압 오일: Toro PX 수명 연장 유압 오일을 구할 수 없는 경우, 다음 모든 물질 속성에 대해 명시된 범위 내이며 산업 표준을 충족하는 규격의 기존에 사용하던 다른 석유계 유압 오일을 사용할 수 있습니다. 합성유는 사용하지 마십시오. 적절한 제품을 알아보려면 오일 판매 대리점에 문의하십시오.
Note: Toro는 부적절한 대체 제품으로 인해 발생하는 손상에 대해 책임지지 않습니다. 따라서 권장 제품을 보증하는 유명 제조사의 제품만 사용하십시오.
| 물질 속성: | ||
| 점도, ASTM D445 | cSt @ 40°C 44~48 | |
| 점도 지수 ASTM D2270 | 140 이상 | |
| 유동점, ASTM D97 | -37°C ~ -45°C | |
| 업계 표준: | Eaton Vickers 694(I-286-S, M-2950-S/35VQ25 또는 M-2952-S) | |
Note: 많은 유압 오일이 거의 무색이어서 누출 여부를 알기 어렵습니다. 유압 오일용 붉은색 첨가제는 20 ml 들이 병으로 판매됩니다. 한 병이면 유압 오일 15~22 L에 충분히 사용할 수 있습니다. Toro 공식 판매 대리점에서 부품 번호가 44-2500인 부품을 주문하십시오.
Important: Toro 프리미엄 합성 생분해성 유압 오일은 Toro에서 승인한 유일한 합성 생분해성 오일입니다. 이 유압 오일은 Toro 유압 시스템에 사용되는 엘라스토머와 호환이 가능하며, 다양한 온도 조건에 적합합니다. 이 유압 오일은 기존의 광유와도 호환이 가능하지만, 최고의 생분해성과 성능을 내기 위해서는 유압 시스템에서 기존 오일을 완전히 씻어내야 합니다. 이 오일은 Toro 공식 판매 대리점에서 19 L들이 통이나 208 L들이 드럼으로 구입하실 수 있습니다.
| 유지보수 서비스 간격 | 유지보수 절차 |
|---|---|
| 매번 사용하기 전 또는 매일 |
|
출고 시 유압 오일 탱크는 권장 유압 오일로 채워져 있습니다. 식었을 때 유압 오일을 점검하는 것이 가장 좋습니다.
모든 유압 부착 장치를 이동 위치로 완전히 들어 올립니다.
평지에 장비를 주차하고, 엔진을 끄고, 주차 브레이크를 체결한 다음 키를 뺍니다.
유압 오일 탱크 캡 주변을 청소하여 탱크에 잔해물이 들어가지 않도록 합니다(그림 42).

탱크의 캡을 엽니다.
주입구에서 계량봉을 꺼내 깨끗한 천으로 닦아 냅니다.
주입구에 계량봉을 삽입한 뒤 빼서 오일 레벨을 확인합니다(그림 43).
탱크에 유압 오일이 적절하게 주입되었다면 계량봉의 상단 및 하단 마크 사이(넥 아래 부분)에 오일 레벨이 표시되어야 합니다.
Important: 오일 레벨이 상단 및 하단 마크 사이에 있으면 오일을 보충할 필요가 없습니다.

오일 레벨이 너무 낮으면 오일 레벨이 계량봉의 넥 아래 구역에 도달할 때까지 지정 유압 오일을 탱크에 천천히 보충합니다.
Important: 시스템 오염을 방지하려면 열기 전에 유압 오일 컨테이너의 표면을 청소합니다. 주입 스파우트와 깔때기가 청결한지 확인하십시오.
Important: 유압 오일을 오일 탱크에 과다하게 주입하지 마십시오.
탱크 캡을 장착합니다.
| 유지보수 서비스 간격 | 유지보수 절차 |
|---|---|
| 매 800시간 |
|
| 매 1,000시간 |
|
평지에 장비를 주차하고, 엔진을 끄고, 주차 브레이크를 체결한 다음 키를 뺍니다.
중앙 보호판을 장비에 고정하는 나사 2개를 풀고 보호판을 분리합니다(그림 44).

깨끗한 유압 오일로 교환 필터의 밀봉 개스킷을 윤활 처리합니다.
장비의 좌측에 있는 유압 필터 아래에 드레인 팬을 놓습니다(그림 45).

필터 장착 부위를 청소합니다.
Note: 기존 필터를 제거하기 전에 가까운 곳에 교환 필터를 둡니다.
유압 필터를 필터 헤드에서 분리합니다.
개스킷이 필터 헤드에 닿을 때까지 손으로 새로운 유압 필터(그림 45)를 돌려서 장착한 다음 ¾ 바퀴 더 돌려 조입니다.
유압 오일 레벨을 확인하고 필요 시 지정 유압 오일을 보충합니다. 유압 오일 레벨 점검을 참조하십시오.
중앙 보호판을 장착합니다.
| 유지보수 서비스 간격 | 유지보수 절차 |
|---|---|
| 매 800시간 |
|
| 매 2,000시간 |
|
오일 탱크 용량: 18.9 L
교환 시 Toro 순정 필터를 사용하십시오. 장비에 대한 부품 카탈로그를 참조하십시오.
유압 탱크의 캡을 엽니다(그림 46).

유압 오일 탱크에서 유압 오일을 펌핑합니다(그림 46).
계량봉의 넥 아래 부분에 도달할 때까지 유압 오일 탱크에 지정 유압 오일을 주입합니다. 유압 오일 레벨 점검을 참조하십시오.
Important: 유압 오일을 오일 탱크에 과다하게 주입하지 마십시오.
엔진의 시동을 걸고 작동시킵니다. 확장과 수축, 전진 및 후진 휠 동작을 달성할 때까지 리프트 실린더를 작동합니다.
엔진을 끄고, 탱크의 유압 오일 레벨을 점검한 다음 필요 시 오일을 보충합니다.
누출 여부를 점검합니다.
유압 누출이 있다면 수리합니다.
중앙 보호판을 장착합니다.
유압 부품을 수리하거나 교환할 때마다 유압 필터를 교환하고 유압 시스템을 충전합니다.
유압 시스템을 충전할 경우 항상 유압 오일 탱크 및 필터에 오일을 채웁니다.
평지에 장비를 주차하고, 엔진을 끄고, 주차 브레이크를 체결한 다음 키를 뺍니다.
중앙 보호판을 장비에 고정하는 나사 2개를 풀고 보호판을 분리합니다(그림 47).

전방 휠과 후판 휠 1개를 바닥에서 들어 올리고 프레임 아래에 지지 블록을 받칩니다.
전방 휠 및 후방 휠 1개를 지면에서 들어 올리지 않으면 조정 중에 장비가 움직입니다. 장비가 움직여서 떨어지면 장비 아래의 작업자가 다칠 수 있습니다.
전방 휠 및 후방 휠 1개를 지면에서 들어 올린 상태에서 장비를 적절하게 지탱해야 합니다.
엔진의 시동을 걸고 스로틀을 설정하여 엔진을 약 1,800 rpm으로 작동합니다.
리프트 실린더 로드가 몇 번 안밖으로 움직일 때까지 리프트 밸브 레버를 작동시킵니다. 10~15초 후에, 또는 펌프가 이상한 소리를 내며 실린더 로드가 움직이지 않으면 엔진을 즉시 끄고 원인이나 문제를 판단합니다. 다음 문제를 점검합니다.
느슨한 필터 또는 흡입 라인
느슨해지거나 고장난 펌프 커플러
흡인 라인이 막힘
충전 릴리프 밸브 고장
충전 펌프 고장
10~15초 후에 실린더가 움직이면 6단계를 진행합니다.
트랙션 페달을 전진 및 후진으로 작동합니다. 바닥 위에 떠 있는 휠이 올바른 방향으로 회전해야 합니다.
휠이 잘못된 방향으로 회전하면 엔진을 끄고, 펌프 후방의 라인을 제거한 다음 위치를 반대로 바꿉니다.
휠이 올바른 방향으로 회전하면 엔진을 끄고 스프링 조정 핀 록너트를 조정합니다(그림 48). 트랙션을 중립 위치로 조정합니다. 트랙션 드라이브를 중립으로 조정을 참조하십시오.

트랙션 인터록 스위치의 조정값을 점검합니다. 트랙션 인터록 스위치 조정을 참조하십시오.
중앙 보호판을 장착합니다.
| 유지보수 서비스 간격 | 유지보수 절차 |
|---|---|
| 매번 사용 후 |
|
과도한 수압으로 씰이나 베어링이 오염 및 손상되지 않도록 노즐이 없는 정원용 호스를 사용하여 장비를 꼼꼼히 세척합니다.
냉각 핀과 냉각 공기 흡입부 주변에서 잔해물을 제거합니다.
Important: 오일 쿨러를 물로 청소하면 부품을 조기 부식시키고 손상시킬 수 있으며, 잔해물이 뭉쳐질 수 있습니다. 오일 쿨러 청소을 참조하십시오.
유압 및 기계 부품에서 유압 오일 누출, 손상, 마모된 부분이 있는지 장비를 검사합니다.
장비, 부착 장치 및 엔진을 철저히 청소합니다.
장비를 평지에 주차하고, 주차 브레이크를 체결하고, 엔진을 끕니다. 그런 다음 키를 빼고 모든 움직임이 멈출 때까지 기다려 장비에서 내립니다.
타이어 공기압을 점검합니다. 타이어 공기압 점검을 참조하십시오.
모든 패스너에 대해 느슨한지 여부를 점검하고 필요에 따라 조입니다.
모든 그리스 피팅과 피벗 지점에 그리스 또는 오일을 바릅니다. 장비 윤활을 참조하십시오.
긁히거나 벗겨지거나 녹슨 페인트칠 부분을 사포로 가볍게 문지른 다음 수정 페인트를 칠합니다.
엔진 오일 및 필터를 교환합니다. 엔진 오일 및 필터 교환을 참조하십시오.
엔진을 시동하고 2분간 공회전 속도로 가동합니다.
엔진을 끄고, 키를 제거하고, 모든 움직임이 멈출 때까지 기다린 다음 장비를 떠납니다.
에어 클리너 어셈블리를 철저하게 청소하고 정비합니다. 에어 클리너 정비를 참조하십시오.
내후성 마스킹 테이프를 사용하여 에어 클리너 흡입구와 배기구를 밀봉합니다.
오일 주입구 캡 및 연료 탱크 캡이 제자리에 잘 고정되었는지 점검합니다.
배터리 포스트에서 배터리 단자를 분리합니다.
와이어 브러시와 베이킹 소다 용액으로 배터리, 단자 및 포스트를 청소합니다.
부식 방지를 위해 Grafo 112X 스킨오버 그리스(Toro 부품 505-47)를 케이블 단자와 배터리 포스트에 바릅니다.
60일마다 24시간 동안 배터리를 서서히 충전하여 배터리의 납 황산화를 방지합니다.
Note: 완전히 충전된 배터리의 비중은 1.250입니다.
Note: 배터리의 빠른 방전을 방지하기 위해 차가운 환경에서 배터리를 보관하십시오. 배터리가 어는 것을 방지하기 위해 완전히 충전하십시오.