Mantenimiento
Note: Los lados derecho e izquierdo de la máquina se determinan desde la posición normal del operador.
Seguridad en el mantenimiento
Cuidado
Si deja la llave en el interruptor de encendido, alguien podría arrancar la máquina accidentalmente y causar lesiones graves a usted o a otras personas.
Retire la llave del interruptor antes de realizar cualquier operación de mantenimiento.
-
Aparque la máquina en una superficie nivelada, desengrane el sistema hidráulico auxiliar, baje el implemento, asegúrese de que el freno de estacionamiento esté accionado, apague la máquina y retire la llave. Espere a que se detengan todas las piezas en movimiento y deje que se enfríe la máquina antes de hacer trabajos de ajuste, limpieza, almacenamiento o reparación.
-
No permita que personas que no hayan recibido formación realicen mantenimiento en la máquina.
-
Utilice caballetes para apoyar los componentes cuando sea necesario.
-
Alivie con cuidado la tensión de aquellos componentes que tengan energía almacenada; consulte Alivio de presión hidráulica.
-
Desconecte la batería antes de efectuar cualquier reparación; consulte Uso del interruptor de desconexión de la batería.
-
Mantenga las manos y los pies alejados de las piezas en movimiento. Si es posible, no haga ajustes mientras la máquina está funcionando.
-
Mantenga todas las piezas en buenas condiciones de funcionamiento y todos los herrajes bien apretados. Sustituya cualquier calcomanía desgastada o deteriorada.
-
No manipule los dispositivos de seguridad.
-
Utilice solamente implementos homologados por Toro. Los implementos pueden cambiar la estabilidad y las características operativas de la máquina. La garantía puede quedar anulada si se utiliza la máquina con implementos no autorizados.
-
Utilice solamente piezas de repuesto genuinas de Toro.
-
Si alguna operación de mantenimiento o reparación requiere que los brazos de carga estén en posición elevada, bloquee los brazos en la posición elevada usando el/los bloqueo(s) del/de los cilindro(s) hidráulico(s).
-
Consulte la normativa local respecto al mantenimiento seguro de la máquina, y conecte una etiqueta de advertencia al panel de control para informar a otras personas que la máquina está en mantenimiento.
Calendario recomendado de mantenimiento
| Intervalo de mantenimiento y servicio | Procedimiento de mantenimiento |
|---|---|
| Después de las primeras 8 horas |
|
| Después de las primeras 50 horas |
|
| Cada vez que se utilice o diariamente |
|
| Cada 25 horas |
|
| Cada 50 horas |
|
| Cada 100 horas |
|
| Cada 400 horas |
|
| Cada 500 horas |
|
| Cada 1000 horas |
|
| Cada 1500 horas o cada 2 años, lo que ocurra primero |
|
| Cada año o antes del almacenamiento |
|
Procedimientos previos al mantenimiento
Uso de los bloqueos de los cilindros
Advertencia
Los brazos de carga pueden bajarse accidentalmente cuando están en posición elevada, aplastando a cualquier persona que se encuentre debajo de ellos.
Instale los bloqueos de los cilindros antes de realizar cualquier operación de mantenimiento que requiera que los brazos de carga estén elevados.
Instalación de los bloqueos de los cilindros
-
Retire el implemento.
-
Lleve los brazos de carga a su posición de elevación máxima.
-
Apague la máquina y retire la llave.
-
Coloque un bloqueo de cilindro sobre la varilla de cada cilindro de elevación.

-
Fije cada bloqueo de cilindro con 2 pasadores.
-
Baje los brazos de carga lentamente hasta que los bloqueos de los cilindros toquen los cuerpos de los cilindros y los extremos de las varillas.
Retirada y almacenamiento de los bloqueos de los cilindros
Important: Retire los bloqueos de los cilindros de las varillas y sujételos en la posición de almacenamiento antes de operar la máquina.
-
Arranque la máquina.
-
Lleve los brazos de carga a su posición de elevación máxima.
-
Apague la máquina y retire la llave.
-
Retire los pasadores que fijan cada bloqueo de cilindro.
-
Retire los bloqueos de cilindro.
-
Coloque los bloqueos de cilindro sobre las barras de los laterales de la máquina y sujételos con los pasadores.
-
Baje los brazos de carga.
Acceso a los componentes internos
Advertencia
Si abre o retira una cubierta, un capó, o una rejilla con la máquina en marcha, podría tocar alguna pieza en movimiento y sufrir graves lesiones.
Antes de abrir una cubierta, un capó o una rejilla, apague la máquina, retire la llave del interruptor y deje que la máquina se enfríe.
Retirada del cojín trasero
-
Aparque la máquina en una superficie nivelada.
-
Apague el motor, retire la llave y espere a que se detengan todas las piezas en movimiento.
-
Baje la plataforma.
-
Afloje los pomos en cada lado del cojín.

-
Baje el cojín sobre la plataforma.

-
Realice el mantenimiento o los reglajes necesarios en la máquina.
-
Levante el cojín y deslícelo sobre los pasadores en cada lado de la máquina.
-
Apriete los pomos.
Retirada de la cubierta trasera
-
Aparque la máquina en una superficie nivelada.
-
Apague el motor, retire la llave y espere a que se detengan todas las piezas en movimiento.
-
Baje la plataforma.
-
Desenganche el cojín trasero.
-
Retire los pernos que sujetan la cubierta trasera y retire la cubierta.

Lubricación
Engrasado de la máquina
| Intervalo de mantenimiento y servicio | Procedimiento de mantenimiento |
|---|---|
| Cada vez que se utilice o diariamente |
|
Tipo de grasa: Grasa de propósito general
-
Aparque la máquina en una superficie nivelada y baje los brazos de carga.
-
Apague la máquina y retire la llave.
-
Limpie con un trapo los puntos de engrase.
-
Conecte una pistola de engrasar a cada punto de engrase.

-
Bombee grasa hasta que empiece a rezumar grasa de los cojinetes (3 aplicaciones aproximadamente)
-
Limpie cualquier exceso de grasa.
Mantenimiento del sistema eléctrico
Seguridad del sistema eléctrico
-
Desconecte la batería antes de efectuar cualquier reparación; consulte Uso del interruptor de desconexión de la batería.
-
Cargue la batería en una zona abierta y bien ventilada, lejos de chispas y llamas. Desenchufe el cargador antes de conectar o desconectar la batería. Lleve ropa protectora y utilice herramientas aisladas.
-
El ácido de la batería es venenoso y puede causar quemaduras. Evite el contacto con la piel, los ojos y la ropa. Protéjase la cara, los ojos y la ropa cuando trabaje con una batería.
-
Los gases de la batería pueden explotar. Mantenga alejados de la batería los cigarrillos, las chispas y las llamas.
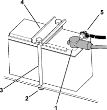
Uso del interruptor de desconexión de la batería
-
Aparque la máquina en una superficie nivelada y baje los brazos de carga.
-
Apague la máquina y retire la llave.
-
Gire el interruptor de desconexión de la batería a la posición de ENCENDIDO o APAGADO.
-
Para que la máquina reciba energía eléctrica, gire el interruptor de desconexión de la batería en sentido horario hasta la posición de ENCENDIDO.
-
Para que la máquina deje de recibir energía eléctrica, gire el interruptor de desconexión de la batería en sentido antihorario hasta la posición de APAGADO.

-
Mantenimiento de la batería de plomo-ácido
| Intervalo de mantenimiento y servicio | Procedimiento de mantenimiento |
|---|---|
| Cada 50 horas |
|
Retirada de la batería
Advertencia
Un enrutado incorrecto de los cables de la batería podría dañar la máquina y los cables, causando chispas. Las chispas pueden hacer explotar los gases de la batería, lo que podría producir lesiones graves o la muerte.
Desconecte siempre el cable negativo (negro) de la batería antes de desconectar el cable positivo (rojo).
-
Aparque la máquina en una superficie nivelada y baje los brazos de carga.
-
Apague la máquina y retire la llave.
-
Retire la cubierta superior.

-
Desconecte el cable negativo de tierra (negro) del borne de la batería. Guarde las fijaciones.

-
Levante la cubierta de goma del cable positivo (rojo).
-
Desconecte el cable positivo (rojo) del borne de la batería. Guarde las fijaciones.
-
Retire la brida de la batería.
-
Retire la batería.
Carga de la batería
Advertencia
La carga de la batería genera gases que pueden explotar, lo que podría producir lesiones graves o la muerte.
No fume cerca de la batería, y mantenga alejada de la batería cualquier chispa o llama.
Important: Mantenga siempre la batería completamente cargada (densidad de 1.265). Esto es especialmente importante para evitar daños a la batería cuando la temperatura está por debajo de los 0 °C.
-
Retire la batería de la máquina; consulte Retirada de la batería.
-
Cargue la batería durante 4 a 8 horas a un ritmo de 3 a 4 A (Figura 38). No sobrecargue la batería.

-
Cuando la batería esté completamente cargada, desconecte el cargador de la toma de electricidad, luego desconecte los cables del cargador de los bornes de la batería (Figura 38).
Limpieza de la batería
Note: Mantenga limpios los terminales y toda la carcasa de la batería para alargar la vida de la batería.
-
Aparque la máquina en una superficie nivelada, baje los brazos de carga y ponga el freno de estacionamiento.
-
Apague el motor y retire la llave.
-
Retire la batería de la máquina; Retirada de la batería.
-
Lave toda la caja con una solución de bicarbonato y agua.
-
Enjuague la batería con agua clara.
-
Aplique una capa de grasa Grafo 112X o de vaselina a los conectores de los cables y a los bornes de la batería para evitar la corrosión.
-
Instale la batería; consulte Instalación de la batería.
Instalación de la batería
Advertencia
Un enrutado incorrecto de los cables de la batería podría dañar la máquina y los cables, causando chispas. Las chispas pueden hacer explotar los gases de la batería, lo que podría producir lesiones graves o la muerte.
Conecte siempre el cable positivo (rojo) de la batería antes de conectar el cable negativo (negro).
-
Coloque la batería en la bandeja de la batería y sujétela con la brida.

-
Con las fijaciones que retiró antes, conecte el cable positivo (rojo) de la batería en el borne positivo (+) de la batería.
-
Deslice el protector de borne rojo sobre el borne positivo de la batería.
-
Con las fijaciones que retiró antes, conecte el cable negativo (negro) en el borne negativo (-) de la batería.
-
Instale la cubierta superior.

Mantenimiento de una batería de recambio
La batería original no requiere mantenimiento. Consulte las instrucciones del fabricante de la batería respecto al mantenimiento de una batería de recambio.
Mantenimiento de las baterías de ion litio
Note: La máquina está equipada con 10 baterías de ion litio.
Una batería de ion litio debe eliminarse o reciclarse de acuerdo con la normativa local y federal. Si una batería necesita mantenimiento, póngase en contacto con su Servicio Técnico Autorizado.
No abra la batería. Si tiene problemas con una batería, póngase en contacto con su Servicio Técnico Autorizado para obtener ayuda.
Mantenimiento de las baterías de ion litio
Advertencia
Las baterías contienen altos voltajes que podrían causar quemaduras o descargas eléctricas.
-
No intente abrir las baterías.
-
Extreme las precauciones al manejar una batería con la caja agrietada.
-
Utilice únicamente el cargador diseñado para las baterías.
Las baterías de ion litio mantienen una carga suficiente para realizar el trabajo previsto durante su vida útil.
Para obtener la máxima vida útil de sus baterías, siga estas pautas:
-
No abra la batería.
-
Guarde/aparque la máquina en un garaje o almacén seco y limpio, alejada de la luz solar directa y otras fuentes de calor, la lluvia y la humedad en general. No la guarde en un lugar donde la temperatura supere el rango especificado en Requisitos de almacenamiento de la batería.
Important: Si la temperatura está fuera de este rango, se dañarán las baterías. Una temperatura alta durante el almacenamiento, sobre todo en un estado de carga elevado, acorta la vida de las baterías.
-
Antes de almacenar la máquina durante más de 10 días, asegúrese de que está en un lugar fresco y seco, protegida de la luz solar, la lluvia y la humedad.
-
Si utiliza la máquina en condiciones de alta temperatura o a pleno sol, la batería puede sobrecalentarse. Si esto ocurre, aparece una alerta de alta temperatura en el InfoCenter y podría reducirse la funcionalidad de la máquina.
Conduzca la máquina inmediatamente hasta un lugar fresco y protegido del sol, apague la máquina y deje que las baterías se enfríen totalmente antes de continuar trabajando. Si las baterías siguen sobrecalentándose, aparece otra alerta en el InfoCenter y la máquina se apagará.
-
Utilice las luces únicamente cuando sea necesario.
Mantenimiento del cargador de baterías
Important: Cualquier reparación eléctrica debe ser realizada únicamente por un Servicio Técnico Autorizado.
El cargador requiere poco mantenimiento, aparte de protegerlo de daños y de las inclemencias del tiempo.
-
Enrolle el cable y colóquelo en el compartimiento de almacenamiento cuando no se use.
-
Examine el cable periódicamente en busca de daños y, si es necesario, cámbielo por piezas homologadas por Toro.
Mantenimiento de los fusibles
El sistema eléctrico está protegido con fusibles. No requiere mantenimiento. Consulte el Manual de mantenimiento de la unidad de tracción para obtener información sobre la revisión y el mantenimiento de los fusibles atornillados

-
Aparque la máquina en una superficie nivelada y baje los brazos de carga.
-
Apague la máquina y retire la llave.
-
Gire el interruptor de desconexión de la batería a la posición de APAGADO.
-
Desenganche el cojín trasero y retire la cubierta trasera; consulte Retirada de la cubierta trasera.
-
Cambie los fusibles según sea necesario.


-
Gire el interruptor de desconexión de la batería hasta la posición de ENCENDIDO.
-
Instale la cubierta trasera y el cojín.
Mantenimiento del sistema de transmisión
Mantenimiento de las orugas
| Intervalo de mantenimiento y servicio | Procedimiento de mantenimiento |
|---|---|
| Después de las primeras 8 horas |
|
| Después de las primeras 50 horas |
|
| Cada vez que se utilice o diariamente |
|
| Cada 50 horas |
|
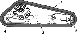
Limpieza de las orugas
-
Aparque la máquina en una superficie nivelada.
-
Con el cazo instalado y orientado hacia abajo, bájelo al suelo para que la parte delantera de la unidad de tracción se levante unos centímetros del suelo.
-
Apague la máquina y retire la llave.
-
Usando una manguera de agua o un sistema de lavado a presión, retire la suciedad de cada conjunto de oruga.
Important: Solamente lave con agua a alta presión la zona de las orugas. No utilice un sistema de lavado a alta presión para limpiar el resto de la unidad de tracción. No utilice agua a alta presión entre la rueda motriz y la unidad de tracción, porque podría dañar las juntas del motor. El lavado a alta presión puede dañar el sistema eléctrico y las válvulas hidráulicas, o eliminar grasa.
Important: Asegúrese de limpiar completamente las ruedas de rodaje, la rueda delantera, la rueda trasera y el piñón de arrastre. Las ruedas de rodaje deben rodar libremente cuando están limpias.

Comprobación y ajuste de la tensión de las orugas
Eleve/apoye 1 lado de la máquina y, aprovechando el peso de la oruga, compruebe que el espacio entre la parte inferior del reborde de la rueda de rodaje y la oruga es de 19 mm. Si no es así, ajuste la tensión de las orugas usando el procedimiento siguiente.

-
Aparque la máquina en una superficie nivelada y baje los brazos de carga.
-
Apague la máquina y retire la llave.
-
Eleve el lateral de la máquina que está ajustando hasta que la oruga no toque el suelo.
-
Afloje los pernos de la cubierta y retírela.

-
Afloje la contratuerca y ajuste el tornillo tensor hasta que la flexión de la oruga sea de 19 mm.

-
Apriete la contratuerca.
-
Instale la cubierta y apriete los pernos.
-
Repita el procedimiento en la otra oruga.
-
Conduzca la máquina, luego aparque la máquina en una superficie nivelada, apague la máquina y retire la llave.
-
Compruebe que la flexión de la oruga es de 19 mm. Ajústelo si es necesario.
Cómo cambiar las orugas
Retirada de las orugas
-
Retire todos los implementos.
-
Aparque la máquina en una superficie nivelada y asegúrese de que solo 1 mitad de piñón está acoplada con la oruga.

-
Baje los brazos de carga.
-
Apague la máquina y retire la llave.
-
Eleve la máquina del suelo, de modo que la parte inferior de la oruga esté al menos a 10,2 cm levantada del suelo. Apoye la máquina con caballetes.
Note: Utilice caballetes con capacidad suficiente para el peso de su máquina.
Advertencia
Los gatos mecánicos o hidráulicos pueden no aguantar el peso de la máquina y pueden dar lugar a lesiones graves.
Utilice caballetes para apoyar la máquina.
-
Retire y guarde los 4 pernos que sujetan el guardabarros al bastidor, y retire el guardabarros.

-
Afloje los pernos de la cubierta y retírela.

-
Afloje la contratuerca y gire el tornillo tensor para liberar la tensión.

-
Retire el segmento del piñón de arrastre que no esté acoplado con la oruga.
Important: Si no retira el segmento del piñón, puede que sea difícil instalar una nueva oruga sin dañarla.

-
Arranque la máquina y habilite el control de tracción.
-
Mueva el control de tracción hacia delante hasta que la otra mitad del piñón de arrastre no esté acoplada con la oruga

-
Apague la máquina y retire la llave.
-
Retire la oruga del bastidor de la oruga, el cubo de la transmisión y, a continuación, la rueda delantera.
Instalación de las orugas
-
Coloque la nueva oruga alrededor de la rueda delantera.

-
Presione la oruga debajo y entre las ruedas de rodaje y colóquela alrededor de la rueda trasera.
-
Haga palanca para colocar la oruga sobre el cubo de la transmisión.
-
Arranque la máquina.
-
Mueva el control de tracción hacia delante hasta que la mitad del piñón de arrastre se acople con la oruga.

-
Apague la máquina y retire la llave.
-
Aplique fijador de roscas en los pernos de la mitad del piñón de arrastre que retiró e instale la mitad del piñón. Apriete los pernos a 80-99 N∙m.

-
Ajuste el tornillo tensor hasta que la flexión de la oruga sea de 19 mm.

-
Apriete la contratuerca.
-
Instale la cubierta y apriete los pernos.

-
Instale el guardabarros en la máquina usando los pernos guardados.

-
Repita el procedimiento para sustituir la otra oruga.
-
Baje la máquina al suelo.
-
Conduzca la máquina, luego aparque la máquina en una superficie nivelada, apague la máquina y retire la llave.
-
Compruebe que la tensión de la oruga es correcta; consulte Comprobación y ajuste de la tensión de las orugas.
Especificaciones del aceite de los engranajes del motor de tracción
Tipo de aceite: Mobil SHC 75W-90
Capacidad: 0,18 litros en cada caja de engranajes
Cambio del aceite de engranajes del motor de tracción
-
Retire todos los implementos.
-
Aparque la máquina en una superficie nivelada y asegúrese de que solo 1 mitad de piñón está acoplada con la oruga.

-
Apague la máquina y retire la llave.
-
Eleve la máquina del suelo de modo que las orugas no toquen el suelo. Apoye la máquina con caballetes.
Note: Utilice caballetes con capacidad suficiente para el peso de su máquina. Consulte Especificaciones para conocer el peso.
Advertencia
Los gatos mecánicos o hidráulicos pueden no aguantar el peso de la máquina y pueden dar lugar a lesiones graves.
Utilice caballetes para apoyar la máquina.
-
Retire el segmento del piñón de arrastre que no está acoplado con la oruga.

-
Retire el tapón de verificación y compruebe que el aceite llega al borde inferior del orificio.

-
Si el nivel es bajo, añada fluido como se indica a continuación:
-
Retire la oruga; consulte Retirada de las orugas.
-
Retire el segundo piñón.
-
Retire el tapón de llenado.

-
Llene el motor de tracción con aceite para engranajes hasta que llegue al borde inferior del orificio de verificación.
-
Coloque los tapones de llenado y verificación.
-
-
Repita los pasos 5 a 7 con el otro motor de tracción.
-
Arranque la máquina y accione el control de tracción durante unos minutos.
-
Apague la máquina y retire la llave.
-
Retire los tapones de llenado de ambos motores de tracción y compruebe que el nivel de aceite llega al borde inferior del orificio.
-
Instale los tapones y apriételos a 5-6 N·m.
-
Aplique fijador de roscas a los pernos del piñón de arrastre inferior e instale el piñón. Apriete los pernos a 80-99 N∙m.
-
Instale las orugas, si se retiraron; consulte Instalación de las orugas.
-
Baje la máquina al suelo.
Cambio del aceite de los engranajes del motor de tracción
| Intervalo de mantenimiento y servicio | Procedimiento de mantenimiento |
|---|---|
| Después de las primeras 50 horas |
|
| Cada 500 horas |
|
-
Retire todos los implementos.
-
Arranque el motor y conduzca la máquina durante 5 minutos.
Note: De esta forma, el aceite de los engranajes se calentará y será más fácil drenarlo.
-
Aparque la máquina en una superficie nivelada y asegúrese de que solo 1 mitad de piñón está acoplada con la oruga.

-
Apague la máquina y retire la llave.
-
Retire la oruga; consulte Retirada de las orugas.
-
Retire el segundo piñón.
-
Coloque un recipiente de vaciado debajo del motor de tracción.
-
Retire los tapones de llenado y vaciado y deje que se drene el aceite de los engranajes.

-
Instale el tapón de vaciado.
-
Retire el tapón de llenado y llene el motor de tracción con aceite para engranajes hasta que empiece a gotear aceite por el orificio de verificación; consulte Especificaciones del aceite de los engranajes del motor de tracción.
-
Coloque el tapón de llenado y los tapones de verificación.
-
Repita el procedimiento en los otros motores de transmisión.
-
Arranque la máquina y accione el control de tracción durante unos minutos.
-
Apague la máquina y retire la llave.
-
Retire los tapones de llenado de ambos motores de tracción y compruebe que el nivel de aceite llega al borde inferior del orificio.
-
Instale los tapones y apriételos a 5-6 N·m.
-
Aplique fijador de roscas a los pernos de la mitad inferior del piñón de arrastre, e instale la mitad del piñón. Apriete los pernos a 80-99 N∙m.
-
Instale las orugas; consulte Instalación de las orugas.
-
Baje la máquina al suelo.
Mantenimiento del sistema de control
Ajuste de los controles
Los controles son ajustados en fábrica antes del envío de la máquina. No obstante, tras muchas horas de uso, es posible que usted necesite ajustar la alineación del control de tracción, la posición de PUNTO MUERTO del control de tracción y el desplazamiento del control de tracción en posición hacia adelante a velocidad máxima.
Póngase en contacto con su Servicio Técnico Autorizado para que ajuste los controles de la máquina.
Mantenimiento del sistema hidráulico
Seguridad del sistema hidráulico
-
Busque atención médica inmediatamente si el fluido penetra en la piel. Un médico deberá eliminar quirúrgicamente el fluido inyectado en pocas horas.
-
Asegúrese de que todas las mangueras y líneas de fluido hidráulico están en buenas condiciones de uso, y que todos los acoplamientos y conexiones hidráulicos están apretados, antes de aplicar presión al sistema hidráulico.
-
Mantenga el cuerpo y las manos alejados de fugas pequeñas o de boquillas que liberan fluido hidráulico a alta presión.
-
Utilice un cartón o un papel para buscar fugas hidráulicas.
-
Alivie de manera segura toda la presión del sistema hidráulico antes de realizar trabajo alguno en el sistema hidráulico.
Alivio de presión hidráulica
Para aliviar la presión hidráulica con la máquina en marcha, desengrane el sistema hidráulico auxiliar y baje totalmente los brazos de carga; gire el interruptor de encendido a la posición de ALIVIO DE LA HIDRáULICA AUXILIAR y presione el interruptor de la hidráulica auxiliar hacia adelante y hacia atrás.

Para aliviar la presión hidráulica con la máquina apagada, gire el interruptor de encendido a la posición de ALIVIO DE LA HIDRáULICA AUXILIAR y presione el interruptor de la hidráulica auxiliar hacia adelante y hacia atrás.
Bajada de los brazos de carga sin potencia
-
Aparque la máquina en una superficie nivelada.
-
Apague la máquina y retire la llave.
-
Desenganche el cojín y retire la cubierta trasera; consulte Retirada de la cubierta trasera.
-
Afloje la válvula de desvío.

-
Baje los brazos de carga.
-
Apriete la válvula de desvío.
-
Instale la cubierta trasera y el cojín.
Especificación del fluido hidráulico
| Intervalo de mantenimiento y servicio | Procedimiento de mantenimiento |
|---|---|
| Cada 100 horas |
|
Capacidad del depósito hidráulico: 22,7 litros
Fluido hidráulico recomendado: Fluido hidráulico Toro PX Extended Life
Note: Una máquina que utilice el fluido de recambio recomendado necesita menos cambios de filtro y de fluido.
Fluidos hidráulicos alternativos: si no se encuentra disponible el fluido hidráulico Toro PX Extended Life, puede utilizar otro fluido hidráulico convencional basado en petróleo cuyas especificaciones referentes a todas las propiedades materiales estén dentro de los intervalos relacionados a continuación y que cumpla las normas industriales. No utilice fluido sintético. Consulte a su distribuidor de lubricantes para identificar un producto satisfactorio.
Note: Toro no asume responsabilidad alguna por daños causados por sustituciones no adecuadas, por lo que debe utilizar solamente productos de fabricantes reputados que respalden sus recomendaciones.
| Propiedades de materiales: | ||
| Viscosidad, ASTM D445 | cSt a 40 °C 44 a 48 | |
| Índice de viscosidad ASTMD2270 | 140 o más | |
| Punto de descongelación, ASTMD97 | -37 °C a -45 °C | |
| Especificaciones industriales: | Eaton Vickers 694 (I-286-S, M-2950-S/35VQ25 o M-2952-S) | |
Note: Muchos fluidos hidráulicos son casi incoloros, por lo que es difícil detectar fugas. Está disponible un aditivo de tinte rojo para el fluido hidráulico, en botellas de 20 ml. Una botella es suficiente para 15 a 22 litros de fluido hidráulico. Solicite la pieza N.º 44-2500 a su servicio técnico autorizado.
Comprobación del nivel de fluido hidráulico
| Intervalo de mantenimiento y servicio | Procedimiento de mantenimiento |
|---|---|
| Cada 25 horas |
|
Compruebe el nivel del fluido hidráulico antes de arrancar la máquina por primera vez y después cada 25 horas de operación.
Consulte Especificación del fluido hidráulico.
Important: Utilice siempre el tipo correcto de fluido hidráulico. Los fluidos que no cumplan las especificaciones dañarán el sistema hidráulico.
-
Aparque la máquina en una superficie nivelada y baje los brazos de carga.
-
Apague la máquina, retire la llave y deje que la máquina se enfríe.
-
Mire la burbuja de vidrio cerca de la plataforma. Si el fluido hidráulico llena menos de la mitad de la burbuja, añada fluido como se indica a continuación:

-
Retire la cubierta trasera; consulte Retirada de la cubierta trasera.
-
Limpie la zona alrededor del tapón de llenado y retírelo.

-
Añada fluido hidráulico hasta que llene la mitad de la burbuja de vidrio.
-
Coloque el tapón de llenado.
-
Instale la cubierta trasera.
-
Cambio del filtro hidráulico
| Intervalo de mantenimiento y servicio | Procedimiento de mantenimiento |
|---|---|
| Cada 500 horas |
|
-
Aparque la máquina en una superficie nivelada y baje los brazos de carga.
-
Apague la máquina, retire la llave y deje que la máquina se enfríe.
-
Retire la cubierta trasera; consulte Retirada de la cubierta trasera.
-
Retire y deseche el filtro usado.

-
Instale el filtro hidráulico de recambio y el tapón de llenado y apriete el perno del tapón a 13-15,5 N·m.
-
Limpie cualquier fluido derramado.
-
Arranque la máquina y déjelo funcionar durante unos dos minutos para purgar el aire del sistema.
-
Apague la máquina y compruebe que no hay fugas.
-
Compruebe el nivel de fluido del depósito hidráulico; consulte Comprobación del nivel de fluido hidráulico. Añada fluido hidráulico hasta que se vea en la burbuja de vidrio.
-
Instale la cubierta trasera.
Cambio del fluido hidráulico
| Intervalo de mantenimiento y servicio | Procedimiento de mantenimiento |
|---|---|
| Cada 400 horas |
|
| Cada 1000 horas |
|
-
Aparque la máquina en una superficie nivelada y baje los brazos de carga.
-
Apague la máquina, retire la llave y deje que la máquina se enfríe.
-
Retire la cubierta trasera; consulte Retirada de la cubierta trasera.
-
Coloque un recipiente de vaciado grande bajo la máquina con capacidad para recoger el fluido indicado en la Especificación del fluido hidráulico.
-
Retire el tapón de vaciado de la parte inferior del depósito hidráulico y deje que se drene completamente el fluido.

-
Instale el tapón de vaciado.
-
Llene el depósito hidráulico con fluido hidráulico; consulte Especificación del fluido hidráulico.
Note: Elimine el fluido usado en un centro de reciclaje homologado.
-
Instale la cubierta trasera.
Limpieza
Eliminación de residuos
| Intervalo de mantenimiento y servicio | Procedimiento de mantenimiento |
|---|---|
| Cada vez que se utilice o diariamente |
|
Advertencia
El uso incorrecto del aire comprimido para limpiar la máquina podría producir lesiones graves.
-
Lleve equipos de protección personal idóneos, como protección ocular, protección auditiva y una mascarilla para el polvo.
-
No dirija el aire comprimido a alguna parte del cuerpo o hacia otra persona.
-
Consulte las instrucciones del fabricante del compresor de aire para conocer la información sobre funcionamiento y seguridad.
-
Aparque la máquina en una superficie nivelada, retire cualquier implemento, eleve los brazos de carga e instale los bloqueos de los cilindros.
-
Apague la máquina y retire la llave.
-
Limpie cualquier residuo de la máquina.
Important: Es preferible eliminar la suciedad con un soplador, en lugar de lavar con agua. Si se utiliza agua, manténgala lejos de los componentes eléctricos y de las válvulas hidráulicas. Limpie los conectores eléctricos con aire comprimido; no utilice un limpiador de contactos.
-
Retire y guarde los bloqueos de los cilindros y baje los brazos de carga.
Cómo lavar la máquina
Si debe lavar a presión la máquina, realice lo siguiente:
Important: No limpie la máquina con agua mientras se esté cargando. Asegúrese de que la máquina esté seca antes de cargarla.
-
Lleve equipos de protección personal apropiados para la lavadora a presión.
-
Mantenga colocados todos los protectores en la máquina.
-
Evite dirigir el agua hacia los componentes electrónicos.
-
Evite dirigir el agua hacia los bordes de las calcomanías.
-
Pulverice el exterior de la máquina solamente. No pulverice directamente en los orificios de la máquina.
-
Pulverice únicamente las partes sucias de la máquina.
-
Utilice una boquilla de 40 grados o más. Las boquillas de 40 grados suelen ser blancas.
-
Mantenga la punta de la lavadora a presión a una distancia mínima de 60 cm de la superficie a lavar.
-
Utilice únicamente lavadoras con una presión inferior a 137,9 bar y un caudal inferior a 7,6 litros por minuto.
-
Cambie cualquier calcomanía que esté dañada o que se esté despegando.
-
Engrase todos los puntos de engrase después del lavado; consulte Engrasado de la máquina.


, que significa: Cuidado, Advertencia o Peligro
– instrucción relativa a la seguridad personal. El incumplimiento
de estas instrucciones puede dar lugar a lesiones personales o la
muerte.




















































en la pantalla principal.
Aparecerá el menú principal. Las tablas siguientes contienen
un resumen de las opciones disponibles en cada menú.












